Изучение эффективности гидрофитов, как биофильтраторов сточных вод
Министерство просвещения ПМР
Приднестровский государственный университет им. Т.Г. Шевченко
Кафедра: ботаники и экологии
Допустить к защите
Зав. кафедрой д.с.-х.н.
профессор _________ В.Ф. Хлебников
«_____» _______________ 2003 г.
Дипломная работА
Изучение эффективности гидрофитов, как биофильтраторов сточных вод
И
Научные руководители:
канд.тех.наук, доцент
В.В. Минкин
_____________________
Зав.произв.химико-бак.
лабор. очистных сооружений
А.Ф. Голубова
_____________________
сполнитель:Студент 502 группы
Кравченко О.П.
Тирасполь – 2003 г.
Содержание:
Введение 2
I. Литературный обзор 2
II. Общая технологическая схема очистки сточных вод на комплексе очистных сооружений 2
2.1. Назначение канализации и виды сточных вод 2
Общие сведения об очистке сточных вод 2
Состав и свойства сточных вод и осадков 2
Методы очистки городских сточных вод 2
2.2. Сооружения для механической очистки сточных вод 2
2.3. Биологическая очистка производственных сточных вод 2
2.4. Дезинфекция сточных вод 2
III. Экспериментальная часть 2
3.1. Исследование условий содержания водного гиацинта для очистки сточных вод в условиях Приднестровья 2
3.2. Применение эйхорнии для очистки сточных вод 2
3.3. Исследования по содержанию и размножению эйхорнии на прудах очистных сооружений 2
3.4. Использование зеленой массы эйхорнии после очистки сточных вод 2
3.5. Применение тростника обыкновенного и рогоза узколистного для очистки сточных вод 2
Заключение 2
Список литературы: 2
Приложение: таблицы и рисунки
Введение
Неустойчивый рост народонаселения Земли, улучшение его культурно-бытового обслуживания, развития промышленности и сельского хозяйства связаны с потреблением огромного количества пресной воды, которая, будучи использованной, через определенный период вновь сбрасывается в водоемы.
В любом технологическом процессе используемая вода в большей или меньшей степени загрязняется и не может быть использованной ни в одном производстве, ни для утоления жажды, пищевых и технических целей без восстановления ее прежнего качества чистой природной воды. Очистка сточных вод представляет трудную технологическую и методическую задачу по разработке эффективных способов регенерации, то есть восстановления отработанных производственных и хозяйственно-бытовых стоков. Состояние и поведение различных примесей в водной среде определяются не только их химической природой, но и размерами частиц, а также способностью образовывать с водой либо однообразную (гетерогенную) смесь или систему. Поэтому удаление какого-либо загрязняющего вещества требует в каждом конкретном случае индивидуального подхода.
В настоящее время для лучшей доочистки сточных вод все больше начинают обращать внимание на использование для этой цели биологических объектов.
В процессе литературного изучения технической литературы установлено, что высшей водной растительности под силу конкурировать с современными инженерными сооружениями по очистке сточных вод.
Актуальность проблемы
О
чистка
сточных вод по известным на сегодняшний
день технологиям – дело не только
непростое, но и экономически невыгодное.
Исследователи продолжают искать новые, возможно менее дорогие методы переработки стоков. Одним из решений проблемы, надеемся станет применение высшей водной растительности.
Исследования возможности применения высшей водной растительности для очистки сточных вод в условиях ПМР может позволить нам утверждать, что эти растения действительно могут служить в качестве «биофильтра» и использоваться для очистки сточных вод различных хозяйственных объектов республики, где имеются биологические пруды, емкости-накопители, локальная очистка дачных домиков, пионерских лагерей.
Цели и задачи
- изучение возможности акклиматизации растений к местным условиям, сохранение и размножение растений в холодный период года;
- применение высшей водной растительности для очистки сточных вод;
- изучение свойств растений применительно к использованию их в качестве добавки к кормам для животных.
Апробация работы
Результаты исследований докладывались на научной студенческой конференции Приднестровского государственного университета им. Т.Г. Шевченко 17 апреля 2003 года.
I. Литературный обзор
В процессе изучения литературы было обнаружено и изучено свыше 20 источников.
В последнее время стали уделять внимание строительству очистных сооружений, в основу которых положены физические и физико-химические процессы, а также использование микроорганизмов. [13]
Лет 30-40 назад, когда основными загрязнителями среды были бытовые и хозяйственные отходы, стоки пропускали через специальные поля фильтрации и орошения, где почвенные микроорганизмы разрушали органические вещества, загрязняющие среду. Потом появились окислительные пруды, аэротенки, биофильтры, в которых очищение стоков ведут сообщества микроорганизмов, образующие так называемый активный ил. Теперь по мере развития химической промышленности и родственных ей отраслей, особенно синтетической химии, в промышленные стоки попадают такие вещества, которые губят микроорганизмы активного ила, тем самым прерывая процесс биологической очистки. [15]
Сточные воды можно очищать и с помощью таких высших растений, как водный гиацинт, рогоз, тростник.
Во многих тропических странах ведется беспощадная борьба с водным гиацинтом как с опасным сорняком. Но ученым США удалось установить, что водный гиацинт способен удалять вредные примеси из воды. Подобные «ботанические» отстойники внедряются в практику. [13]
В Румынии в местечке Мартинешти специалисты межкооперативной ассоциации попробовали разводить водный гиацинт в бассейнах уездных станций водоочистки. Выяснилось, что гиацинт не только способствует биологической очистке воды, но и дает возможность собирать до 2 тысяч тон зеленой массы, пригодной на корм скоту. [19]
Также эйхорния прекрасно адаптировалась на стоках целлюлозно-бумажной промышленности в Сыктывкаре, справляясь не только с биогенными элементами, но и со значительным количеством дубительных веществ. [18]
Так что же это за растение, которое пришло к нам из глубины веков со столь полезными качествами?
Ботаническое название – эйхорния (crassipes), семейства понтедериевых. Очень эффективное плавающее водное растение, надводная часть которого состоит из листьев и цветка, напоминающего гиацинт (что послужило причиной его второго названия – водный гиацинт). В воде находятся нитевидные корни, опущенные ресничками, между которыми и происходит основной процесс очистки. Произрастает эйхорния в естественных условиях в странах с тропическим и субтропическим климатом. [19]
Высшая водная растительность, особенно крупная вводно-воздушные макрофиты (тростник, рогоз) в отличие от суходольных растений способные успешно расти и развиваться при недостаче и даже полном отсутствии кислорода в почвенно-водной среде благодаря аэренхименому строению тканей корней и других органов. [7]
Тростник обыкновенный (Phragmites communis) многолетний гигантский злак. Побеги тонкостенные, толщиной в палец, с центральной воздухоносной полостью, максимальная высота 5-7 метров заканчивающаяся метелкой. Побеги ежегодно отмирают осенью и отрастают весной от полых трубчатых корневищ. [11]
Тростник обыкновенный, рогоз узколистный способны эффективно поглощать как нитраты, так и аммиачный азот.
Аммиачная форма азота в значительных количествах всегда присутствует в хозяйственно-бытовых городских сточных водах, а также многих промышленных и сельскохозяйственных предприятиях. Для их очистки с большим успехом могут применять тростник и рогоз. [7]
Рогоз узколистный (Typha angustifolia) растет по всей Европе, Северной Америке и на Канарских островах. Высота растения 100-180 см. Корневище толстое, ползучее. Стебель простой без узлов. Листья двухрядные, собранные при основании стебля, продолговато-линейные, 0,4-1 см. шириной, полуцилиндрические. Цветы очень мелкие, собранные в мужские и женские соцветия на одном цветке. Женские цветы образуют плотный пушистый початок в нижней части соцветия. Предпочитает глинистые питательные почвы. Размножается делением корневищ (только концевыми их отрезками) ранней весной, а также семенами. [11]
Анализ имеющейся литературы показывает, что для лучшей доочистки сточных вод экологи начинают обращать внимание на использование для этой цели биологических объектов, таких как: водный гиацинт, тростник и рогоз.
II. Общая технологическая схема очистки сточных вод на комплексе очистных сооружений
2.1. Назначение канализации и виды сточных вод
В населенных пунктах и на промышленных предприятиях образуются загрязнения, связанные с повседневной деятельностью человека. К загрязнениям относятся физиологические отбросы, получающиеся в результате обменных процессов в организме человека и животных, а также загрязненные воды от бань, прачечных, душен, мытья продуктов питания, посуды, помещений, улиц и пр.
Загрязнения по своему происхождению могут быть органические и минеральные. Органические загрязнения способны разрушаться до конечного продукта распада, превращаясь в минеральные соли. Органические вещества — хорошая питательная среда для различных бактерий, в том числе болезнетворных (патогенных), вызывающих инфекционные заболевания, поэтому нельзя допускать, чтобы отбросы органического происхождения накапливались на поверхности или в глубине почвы и в водоемах. Необходимо своевременно удалять эти отбросы с территории населенного пункта или промышленного предприятия и обезвреживать их. Сточные воды перед спуском в водоем следует очищать и обезвреживать, иначе водоем загрязняется на значительном расстоянии от места их сброса.
Канализационные сети и сооружения служат для приема, транспортирования, очистки сточных вод до необходимой степени утилизации полезных веществ, содержащихся в них и в осадке (получаемом при очистке сточных вод), и сброса очищенных вод в водоем.
Сточные воды подразделяются на бытовые (хозяйственно-фекальные), производственные (промышленные) и дождевые (атмосферные).
К бытовым сточным водам относятся воды, поступающие от раковин, умывальников, ванн, трапов и пр. (хозяйственные воды); из санитарных узлов, т. е. загрязненные в основном физиологическими отбросами (фекальные воды); из бань, прачечных, душевых помещений, после мытья помещений и т. д.
Бытовые воды содержат крупные нерастворенные вещества – остатки пищи, овощей, тряпки, песок, фекалии, загрязнения органического и минерального происхождения в нерастворенном, коллоидном и растворенном состояниях, а также различные бактерии, в том числе болезнетворные, поэтому они наиболее опасны с санитарной точки зрения. Количество загрязнений, приходящееся на единицу объема бытовой воды, зависит от степени их разбавления водопроводной водой: чем больше воды расходует один житель, пользующийся канализацией, тем меньше концентрация загрязнений сточных вод.
К производственным сточным водам относятся воды, использованные в процессах производства и загрязненные теми или иными примесями. По составу они могут быть весьма разнообразными. В зависимости от вида обрабатываемого сырья и технологического процесса производства количество загрязнений в этих водах резко изменяется. Производственные сточные воды подразделяются на загрязненные и незагрязненные. Загрязненные производственные сточные воды могут содержать примеси органического или минерального происхождения; незагрязненные содержат мало примесей, поэтому их можно без очистки спускать в водоемы или дождевую сеть либо использовать повторно, если позволяют условия технологии производства.
Дождевые воды образуются вследствие выпадения атмосферных осадков в виде дождя или таяния снега, которые смывают загрязнения на территории города или промышленного предприятия. Воды после поливки улиц и зеленых насаждений по составу загрязнений близки к атмосферным и поэтому удаляются вместе с ними.
В настоящее время от населенных пунктов и промышленных предприятий приходится отводить смесь бытовых и производственных, а иногда и дождевых вод. Такие воды называются городскими сточными водами.
Общие сведения об очистке сточных вод
В настоящее время весьма серьезное внимание уделяется проблеме предотвращения загрязнения водоемов сбрасываемыми в них бытовыми и производственными сточными водами. В последние годы принят ряд постановлений правительства, направленных на улучшение санитарного состояния водоемов.
К качеству очищенных сточных вод, сбрасываемых в водоемы, предъявляются все более высокие требования. Намечено осуществить следующие основные мероприятия, способствующие улучшению санитарного состояния водоемов:
1) глубокая очистка сточных вод, обеспечивающая высокое их качество;
2) максимальное повторное или многократное использование очищенных производственных сточных вод в технологических процессах производств;
3) создание полностью замкнутых систем водного хозяйства промышленных предприятий без сброса сточных вод в водоём;
4) использование глубоко очищенных сточных вод для целей орошения и обводнения при условии соблюдения санитарной безопасности;
5) перевод водных технологических процессов на предприятиях на безводные.
Состав и свойства сточных вод и осадков
В канализационную сеть поступают загрязнения минерального, органического и бактериального происхождения. К минеральным загрязнениям относятся: песок, глинистые частицы, частицы руды, шлака, растворенные в воде соли, кислоты, щелочи и другие вещества.
Органические загрязнения бывают растительного и животного происхождения. К растительным относятся остатки растений, плодов, овощей и злаков, бумага, растительные масла, гуминовые вещества и др. Основной химический элемент, входящий в состав этих загрязнений, — углерод. К загрязнениям животного происхождения относятся физиологические выделения людей и животных, остатки тканей животных, органические кислоты и др. Основной химический элемент этих загрязнений – азот. В бытовых водах содержится примерно 60 % загрязнений органического происхождения и 40 % минерального. В производственных сточных водах это соотношение может быть иным и изменяется в зависимости от вида обрабатываемого сырья и технологического процесса производства.
К бактериальным загрязнениям относятся живые микроорганизмы – дрожжевые и плесневые грибки и различные бактерии. В бытовых сточных водах содержатся также болезнетворные бактерии (патогенные) – возбудители заболеваний брюшного тифа, паратифа, дизентерии, сибирской язвы и др., а также яйца гельминтов и т.д.
Методы очистки городских сточных вод
Городские сточные воды обрабатываются на сооружениях механической и биохимической (биологической) очистки. Технология очистки сточных вод развивается в направлении интенсификации процессов биохимической очистки, проведения последовательно процессов биохимической и физико-химической очистки, конечной целью которых является повторное использование глубоко очищенных сточных вод на промышленных предприятиях.
При механической очистке из сточной воды удаляются загрязнения, находящиеся в ней главным образом в нерастворенном и частично коллоидном состоянии. Крупные отбросы, тряпки, бумага, остатки овощей и фруктов и различные производственные отходы задерживаются решетками. Отбросы, задержанные на решетках, направляются в дробилки. Применяют также решетки-дробилки, в которых одновременно задерживаются и дробятся крупные отбросы.
Основная масса загрязнений минерального происхождения (песок), удельный вес частиц которых значительно выше удельного веса воды, осаждается в песколовках. Песок из песколовок направляется обычно в виде песчаной пульпы на песковые площадки, где он обезвоживается и периодически удаляется.
Основная масса загрязнений органического происхождения, находящаяся во взвешенном состоянии, выделяется из сточной жидкости в отстойниках. Вещества, удельный вес которых больше удельного веса воды, падают на дно. Вещества более легкие, чем вода (жиры, масла, нефть, смолы), всплывают на поверхность и их отделяют от сточной жидкости. На некоторых станциях перед отстойниками устраивают специальные сооружения – реаэраторы, в которых сточные воды кратковременно аэрируют, чтобы повысить эффект осветления в отстойниках. Отстойники можно заменять биокоагуляторами, в которых осуществляются кратковременная аэрация и отстаивание. Применяются также осветлители с естественной аэрацией.
Биохимические методы очистки основаны на использовании жизнедеятельности микроорганизмов, которые окисляют органические вещества, находящиеся в сточных водах в коллоидном и растворенном состояниях. Биохимическим методом удается почти полностью освободиться от органических загрязнений, остающихся вводе после механической очистки.
Сооружения для биологической (биохимической) очистки сточных вод могут быть разделены на два основных типа:
1) сооружения, в которых биологическая очистка осуществляется в условиях, близких к естественным (поля фильтрации и биологические пруды). Сточная жидкость очищается на них довольно медленно за счет запаса кислорода в почве и в воде биологических прудов, а также вследствие жизнедеятельности микроорганизмов-минерализаторов, окисляющих попадающие в почву и воду органические загрязнения;
2) сооружения, в которых очистка сточных вод осуществляется в искусственно созданных условиях (биологические фильтры и аэротенки). В этих сооружениях искусственно создаются условия, при которых процессы очистки сточных вод идут значительно интенсивнее.
Очищенную сточную воду для обезвреживания и уничтожения оставшихся болезнетворных микроорганизмов перед спуском в водоем следует дезинфицировать. Так как требования к степени очистки сточных вод повышаются, их подвергают доочистке. Для этой цели применяют двух- и многослойные песчаные фильтры, контактные осветлители, микрофильтры. Для доочистки используют также биологические пруды. Для снижения ХПК биологически очищенных сточных вод можно применять сорбцию на активированных углях или химическое окисление путем озонирования.
В процессе очистки сточных вод в сооружениях механической и биологической очистки скапливаются большие массы осадка. Осадок из первичных отстойников подвержен гниению, поэтому в комплексе очистных сооружений предусматривают специальные сооружения для обработки осадков (септики, двухъярусные отстойники и осветлители-перегниватели, а также метантенки, в которых осадок только перегнивает). Так как обработанный осадок имеет высокую влажность, его подсушивают на иловых площадках. Осадки также обезвоживают механическими способами на вакуум-фильтрах, центрифугах или фильтр-прессах, затем применяют термическую сушку.
В настоящее время наряду со сбраживанием осадка в метантенках все большее распространение находит аэробная стабилизация осадков. Сброженные и обезвоженные осадки применяют преимущественно в качестве органоминерального удобрения в сельском хозяйстве. Имеется опыт использования таких осадков как белково-витаминных добавок к рациону питания сельскохозяйственных животных.
Для очистки производственных сточных вод применяют механическую, физико-химическую, химическую и биохимическую очистку. Для извлечения из сточных вод главным образом минеральных загрязнений, а также для предварительной очистки используют механическую очистку (процеживание, отстаивание, осветление в гидроциклонах и фильтрование). После механической очистки применяют биохимическую очистку для извлечения или разрушения главным образом органических загрязнений.
2.2. Сооружения для механической очистки сточных вод
Решетки
Решетки, предназначенные для задержания крупных загрязнений в сточной воде, устанавливают на пути движения жидкости. Решетка состоит из наклонно или вертикально установленных параллельных металлических стержней, укрепленных на металлической раме. Наклон решетки чаще всего составляет 60—80° к горизонту.
В прозорах решетки движутся зубцы граблей, укрепляемых на подвижной шарнирно-пластинчатой цепи. Цепь приводится в движение двигателем через привод с, шестеренчатой передачей. Отбросы, снятые со стержней решетки поднятые граблями на подвижную ленту, направляются в дробилку для их размельчения. По действующим нормативам, механическую очистку решетки и дробление отбросов требуется производить при количестве отходов более 0,1 м3/сут.
На станциях для очистки городских сточных вод устанавливают решетки со стержнями, расположенными на расстоянии 16 мм друг от друга. Стержни решетки обычно выполняют из металлических полос круглой, квадратной, прямоугольной или другой формы. Наибольшее распространение получили стержни прямоугольного сечения из полосовой стали 60х10 мм, так как отбросы на них не заклиниваются и легко снимаются граблями.
Решетки-дробилки, которые одновременно задерживают твердые частицы, находящиеся в воде, и перемалывают их. Принцип действия установки состоит в следующем. Решетку-дробилку устанавливают в камере с круговым движением сточных вод или на трубопроводе. Барабан, приводимый в движение электродвигателем через коробку передач, задерживает отбросы в прозорах шириной 8-10 мм. Затем эти отбросы подаются вращающимся барабаном к режущим гребням, которые и перемалывают твердые частицы. Последние в измельченном виде поступают снова в сточную воду.
Песколовки
Песколовки предназначены для задержания минеральных примесей, содержащихся в сточной воде. Необходимость предварительного выделения минеральных примесей обусловливается тем, что при раздельном выделении из сточной жидкости минеральных и органических загрязнений облегчаются условия эксплуатации сооружений, предназначенных для дальнейшей обработки воды и осадка – отстойников, метантенков и др.
Принцип действия песколовки основан на том, что под влиянием сил тяжести частицы, удельный вес которых больше, чем удельный вес воды, по мере движения их вместе с водой в резервуаре выпадают на дно. Песколовки должны быть рассчитаны на такую скорость движения воды, при которой выпадают только наиболее тяжелые минеральные загрязнения, мелкие же органические частицы не должны осесть. Песколовки обычно рассчитываются на задержание песка крупностью 0,25 мм и более. Установлено, что при горизонтальном движении воды в песколовке скорость должна быть не более 0,3 и не менее 0,15 м/с. При скорости движения более 0,3 м/с песок не будет успевать осаждаться в песколовке, при скорости менее 0,15 м/с в песколовке будут осаждаться органические примеси, что крайне нежелательно.
Горизонтальные песколовки в которых вода движется в горизонтальном направлении, с прямолинейным или круговым движением воды.
Горизонтальная песколовка состоит из рабочей части, где движется поток, и осадочной, назначение которой – собирать и хранить выпавший песок до его удаления.
Как показал опыт, в хорошо работающих горизонтальных песколовках можно задержать 65-75 % всех минеральных загрязнений, содержащихся в сточной воде.
При поступлении в песколовку городских сточных вод, в составе которых находятся преимущественно бытовые воды, количество задержанного в песколовке песка на одного человека составляет 0,02 л/сут. при влажности осадка 60% и объемной массе его 1,5 т/м3.
Песколовки очищают различными способами. При незначительных расходах сточных вод, поступающих на станцию, песколовки можно очищать насосом, который откачивает песок с водой из приямка, расположенного в головной части песколовки. На очистных станциях песок из песколовки обычно удаляют с помощью гидроэлеваторов и специальных механизмов – шнеков, скребков и др.
Отстойники
Отстойники применяют для предварительной очистки сточных вод, если по местным условиям требуется их биологическая очистка, или как самостоятельные сооружения, если по санитарным условиям вполне достаточно выделить из сточных вод только механические примеси.
В зависимости от назначения отстойники подразделяются на первичные, которые устанавливают до сооружений биологической обработки сточных вод, и вторичные, которые устанавливают после этих сооружений.
По конструктивным признакам отстойники подразделяются на горизонтальные, вертикальные и радиальные. К отстойникам условно могут быть отнесены и осветлители, в которых одновременно с отстаиванием происходит фильтрация сточных вод через слой взвешенных веществ.
Радиальные отстойники. Разновидностью горизонтального отстойника является радиальный отстойник, представляющий собой круглый неглубокий резервуар, вода в котором движется от центра к периферии. Радиальные отстойники устраивают с выпуском воды снизу или сверху; и в том, и в другом случае вода поступает в отстойник по центральной трубе, а осветленная вода сливается в круговой желоб, откуда она отводится по трубам или лоткам. Выпавший на дно осадок сгребается к центру скребками, укрепленными на подвижной ферме, и поступает в приямок, из которого под давлением столба воды высотой 1,5 м удаляется по трубам или отсасывается плунжерными насосами.

Радиальный отстойник с периферийным выпуском диаметром 18м.
1 – подводящий канал; 2 – трубопровод для отвода плавающих веществ; 3 – отводящий трубопровод;
4 – затвор с подвижным водосливом для выпуска плавающих веществ; 5 – струенаправляющие трубки;
6 – распределительный лоток; 7 – полупогруженная доска для задержания плавающих веществ;
8 – иловая труба.
Продолжительность отстаивания в зависимости от способа последующей биологической очистки колеблется от 0,5 до 1,5 ч. Влажность выгружаемого осадка равна 95 % при самотечном удалении и 93 % при удалении насосами. Обычно радиальные отстойники компонуются в блоки из четырех отстойников.
Иловые площадки
Сброженный осадок, выгружаемый из метантенков, двухъярусных отстойников или других сооружений, имеет высокую влажность; например, из двухъярусных отстойников осадок выходит с влажностью около 90 %, из метантенков – 96-97 %. Для дальнейшего использования осадок должен быть подвергнут сушке. Существуют различные приемы сушки осадка; самый распространенный – сушка на иловых площадках, где осадок должен быть подсушен в среднем до влажности 75%, вследствие чего его объем уменьшается в 3-8 раз.
Используют иловые площадки на естественном основании, естественном основании с дренажем, на искусственном асфальтобетонном основании с дренажем с отстаиванием и поверхностным удалением иловой воды, площадки-уплотнители.
Иловые площадки состоят из спланированных участков земли (карт), окруженных со всех сторон земляными валками. Осадок наливается на карты иловых площадок периодически слоями 0,2-0,25 м. По мере подсыхания осадок теряет часть влаги в основном за счет испарения, а часть влаги фильтруется через грунт. Осадок, подсушенный до влажности 75%, легко погружается на транспортные средства и отвозится к месту использования.
Иловые площадки установлены на естественном основании. Уровень грунтовых вод залегает на глубине не менее 1,5 м от поверхности карт и в тех случаях, когда по санитарным условиям допускается проникание иловой воды в грунт. При меньшей глубине залегания грунтовых вод следует понижать их уровень.
Размеры карт принимают в зависимости от местных условий, обеспечивая удобства для эксплуатации. Ширину отдельных карт назначают 10-40, длину – 100-150, рабочую глубину слоя осадка – 0,7-1 м, а высоту оградительных валов на 0,3 м выше рабочего уровня. Размеры одной карты назначают с таким расчетом, чтобы при выпуске осадка за один раз вся карта была заполнена слоем осадка не более 0,25 м в летнее время и 0,5 м в зимнее.
Высушенный осадок погружают в машины и отвозят для использования в качестве удобрения в близлежащие фермерские хозяйства.
Выделившаяся иловая вода собирается и перекачиваемся на очистные сооружения. Количество иловой воды составляет 30-50 % объема обезвоживаемого осадка.
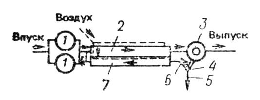
Аэротенки
Аэротенк представляет собой резервуар, в котором медленно движется смесь активного ила и очищаемой сточной жидкости. Для лучшего и непрерывного контакта они постоянно перемешиваются путем подачи сжатого воздуха или с помощью специальных приспособлений. Для нормальной жизнедеятельности микроорганизмов-минерализаторов в аэротенк должен непрерывно поступать кислород воздуха. Активный ил представляет собой биоценоз микроорганизмов-минерализаторов, способных сорбировать на своей поверхности и окислять в присутствии кислорода воздуха органические вещества сточной жидкости. Хороший активный ил имеет компактные хлопья средней крупности.
Эффект очистки в аэротенках, качество и окислительная способность активного ила определяются составом и свойствами сточных вод, гидродинамическими условиями перемешивания, температурой и активной реакцией среды, наличием элементов питания и другими факторами.
Качество ила обусловливается многими факторами. При прочих равных условиях оно зависит от соотношения между массой активного ила (по сухому веществу) и массой загрязняющих веществ, находящихся в очищаемой воде. Это соотношение характеризует нагрузку на ил, которая выражается количеством извлеченных из сточных вод загрязнений по ВПК, приходящихся на 1 г. беззольного вещества активного ила. Как правило, 1 г ила сохраняет свою нормальную активность при нагрузке на него 200-400 мг кислорода. При более высоких нагрузках (1000-1200 мг/л), т. е. при работе аэротенков на неполную очистку, активный ил обязательно регенерируют.
Различают понятия нагрузка на ил и окислительная способность ила. Нагрузка на ил характеризует количество поданных загрязнений, а окислительная способность – количество снятых (переработанных) загрязнений.
Показатель качества активного ила – его способность к оседанию, которая оценивается иловым индексом, представляющим собой объем активного ила, мл, после 30-минутного отстаивания 100 мл иловой смеси, отнесенный к 1 г сухого вещества ила.
Смесь сточной жидкости с активным илом должна аэрироваться на всем протяжении аэротенка. Это необходимо не только для того, чтобы обеспечить микроорганизмы-минерализаторы достаточным количеством кислорода воздуха, но и для поддержания ила во взвешенном состоянии. Кислород нагнетается в аэротенк воздуходувками или засасывается из атмосферы при сильном перемешивании содержимого аэротенка.
Отличительная особенность аэротенка как сооружения биологической очистки в том, что процесс очистки можно регулировать до необходимой по местным условиям степени. Чем продолжительнее процессы аэрации, чем больше воздуха и активного ила, тем лучше очищается вода.

Технологическая схема работы аэротенков на частичную очистку
1 – первичный отстойник; 2 – аэротенк; 3 – вторичный отстойник; 4 – насосная станция;
5 – избыточный активный ил; 6 – циркулирующий активный ил; 7 – регенератор.
Четырехкоридорный аэротенк может работать с отдельной регенерацией ила и без нее. Если аэротенк работает без отдельной регенерации, то сточная вода из первичных отстойников поступает в распределительный канал 1 перед аэротенками, затем при открытом шибере на водосливе 2 проходит через аэротенк и по каналу 5 – в распределительный канал 8 за аэротенками, после чего подается через водослив или затопленное отверстие 10 в коридор I. Возвратный ил из вторичных отстойников подается в коридор I по трубопроводу. Иловая смесь, пройдя последовательно коридоры I, II, III и IV, дюкером отводится во вторичные отстойники.

Четырехкоридорный аэротенк
1 – распределительный канал; 2, 3, 7, 10 – водосливы; 4 – шибер на канале;
5 – средний канал; 6 – дюкер; 8 – распределительный канал за аэротенками;
9 – трубопровод возвратного активного ила.
Если аэротенк работает с 25 %-ной регенерацией ила, то сточная вода из канала I через водослив (или затопленное отверстие) 2 подается в начало коридора II. Возвратный ил по трубопроводу подается в коридор I. В этом случае коридор I называется регенератором, а коридоры – II-IV – собственно аэротенком. Если регенерация ила 25%-ная, то для нее отводится 25% расчетного объема аэротенков (коридор I); при 50%-ной регенерации – 50% расчетного объема аэротенков (коридоры I и II), при 75%-ной регенерации – 75% расчетного объема аэротенков (коридоры I-III). При 50 %-ной регенерации ила сточная вода подается в начало коридора III через водослив 7, а иловая смесь отводится в конце коридора IV дюкером. При 75%-ной регенерации ила сточная вода подается в коридор IV через водослив 3. Под регенерацию ила отводятся коридоры I-III.
Вторичные отстойники и илоуплотнители
Сточная вода, обработанная на станциях с биологической очисткой, содержит активный ил (после аэротенков) или отработавшую биологическую пленку (после биофильтров). Для выделения из сточной воды этих масс применяют вторичные отстойники, которые как и первичные подразделяются на горизонтальные, вертикальные, радиальные. Для очистных станций небольшой пропускной способности обычно применяют вертикальные, а для средних и больших станций – горизонтальные и радиальные отстойники. Продолжительность отстаивания и максимальную скорость движения сточной жидкости в отстойниках принимают в зависимости от назначения отстойника.
Осадок из вторичных отстойников всех типов удаляют под гидростатическим напором не менее 0,9-1,2 м. Объем иловой камеры принимают равным объему выпадающего осадка: для вторичных отстойников после биофильтров – за период не более 2 сут, а для вторичных отстойников после аэротенков – не более 2ч.
Илоуплотнители. Основная масса активного ила, осаждающегося во вторичном отстойнике, должна перекачиваться снова в аэротенк – это так называемый циркуляционный активный ил. Количество этого ила по объему составляет в среднем 30-50 % расхода очищаемой в аэротенке сточной жидкости. Следует иметь в виду, что во вторичном отстойнике осаждается активного ила больше, чем это необходимо для циркуляции. Этот излишек – избыточный активный ил – нужно отделять от общей массы циркуляционного ила. Количество избыточного активного ила также относительно велико и при его влажности 99,2 % составляет 4 л/сут на одного человека. Прежде чем направить ил на обработку в метантенки, необходимо уменьшить его влажность и объем в специальных сооружениях – илоуплотнителях.
Для уплотнения избыточного активного ила обычно применяют вертикальные и радиальные илоуплотнители. Разделение воды и ила происходит за счет гравитационных сил. Продолжительность уплотнения, скорость движения жидкости в отстойной зоне и влажность уплотненного ила принимают в соответствии со СНиП 2.04.03-85.
Для активного ила после полной биологической очистки не рекомендуется применять вертикальные илоуплотнители. В высотном отношении илоуплотнители должны располагаться так, чтобы сливная вода из них подавалась в аэротенки самотеком.
2.3. Биологическая очистка производственных сточных вод
Биологическая очистка необходима для производственных сточных вод, содержащих органические примеси, которые после предварительной обработки могут окисляться в результате биохимических процессов. С биологической точки зрения окисляются почти все органические загрязнения. Следует, однако, иметь в виду, что для окисления некоторых органических веществ, содержащихся в сточных водах в больших количествах (например, фенола), потребуется весьма длительный период, вследствие чего биологическая очистка при этих условиях будет экономически нецелесообразной. Поэтому иногда предварительно уменьшают содержание органических веществ (например, путем разбавления водой). Последующая биологическая очистка сточных вод становится в таких случаях уже экономически оправданной. Производственные сточные воды разбавляют обычно бытовыми водами.
Для биологической очистки производственных сточных вод может быть использован любой из существующих способов биологической очистки бытовых сточных вод. Производственные сточные воды по характеру загрязнений весьма разнообразны. Скорости окисления органических загрязнений зависят от состава сточных вод и обычно определяются экспериментально. В этом состоит особенность расчета биофильтров и аэротенков, применяемых для очистки производственных сточных вод.
Возможна аэробная и анаэробная биологическая очистка. Для аэробной очистки используют аэротенки различных конструкций: окситенки, фильтротенки, флототенки, биодиски и биологические пруды. Для полной очистки высококонцентрированных производственных сточных вод применяется двухступенчатое анаэробно-аэробное окисление. Первой ступенью служат метантенки, а второй – аэротенки.
При пуске сооружений для биологической очистки производственных сточных вод необходимо соблюдать правило «постепенного привыкания» микроорганизмов к специфическим загрязнениям этих вод. Если позволяют условия, то биологические сооружения вначале должны работать на бытовых водах, а затем к ним постепенно добавляют производственные сточные воды. Обычно после некоторого пускового периода, когда микроорганизмы в очистных сооружениях в достаточной степени разовьются, подачу бытовых сточных вод можно уменьшить или даже прекратить совсем.
Производственные сточные воды имеют специфический состав, поэтому их необходимо искусственно подпитывать биогенными элементами и разбавлять, дифференцировать подачу воздуха, активного ила и сточной жидкости в аэротенки, чтобы обеспечить оптимальное соотношение между количеством вводимых загрязнений, воздухом и активным илом.
Для очистки производственных сточных вод чаще используются аэротенки, так как они лучше других сооружений могут регулировать режим работы при изменении состава стока и имеют большую пропускную способность на единицу объема сооружения. При БПК>полн> менее 500 мг/л применяют обычные аэротенки с подачей сточной воды и активного ила в начало аэротенка. При содержании ядовитых и трудно окисляемых веществ в сточных водах, а также при БПК>полн> более 500 мг/л применяют аэротёнки-смесители. Их конструкция позволяет выравнивать скорость потребления кислорода и концентрацию загрязнений подлине аэротенка.
2.4. Дезинфекция сточных вод
После биологической очистки количество бактерий в сточных водах значительно уменьшается. Так, при биологической очистке на искусственных сооружениях (на биофильтрах или аэротенках) общее содержание бактерий уменьшается на 95 %, при очистке на полях орошения – на 99%. Однако полностью уничтожить болезнетворные бактерии можно только обеззараживанием сточных вод. Сточные воды обеззараживают различными способами: хлорированием, электролизом, бактерицидными лучами и др.
Наибольшее распространение получил способ хлорирования сточных вод. Хлор вводят в сточную воду или в виде хлорной извести, или в газообразном виде. Количество активного хлора, вводимого на единицу объема сточной воды, называется дозой хлора и выражается в граммах на 1 м3 (г/м3).
По СНиП 2.04.03-85 расчетную дозу активного хлора следует принимать: после механической очистки сточных вод – 10 г/м3; после полной искусственной биологической очистки – 3 г/м3; после неполной искусственной биологической очистки – 5 г/м3. Хлор, добавленный к сточной воде, должен быть тщательно перемешан с ней. Для того чтобы обеспечить бактерицидный эффект, хлор следует держать в контакте со сточной водой до 30 мин, после чего воду можно спустить в водоем.
Установка для хлорирования газообразным хлором состоит из хлораторной, смесителя и контактных резервуаров. В хлораторной устанавливают хлораторы для приготовления раствора хлорной воды из хлоргаза. Хлораторы разделяются на две основные группы: напорные и вакуумные.
Отбор хлора производится из стальных баллонов объемом 30-55 л. Баллон снабжен сифонной трубкой, опущенной почти до дна, через которую хлор выходит из баллона. В хлоратор подается газообразный хлор. Хлоропровод, идущий к дозатору, присоединяют к промежуточному баллону для впуска жидкого и выпуска газообразного хлора. Расход хлора из баллонов определяют с помощью весов, на которых размещают баллоны с жидким хлором. Из хлоратора выходит хлорная вода с определенной дозой хлора и смешивается со сточной водой. Для смешения используют смесители различных конструкций.
Выпуск сточных вод в водоем
Очищенные сточные воды при искусственной очистке отводят по каналу к месту спуска их в водоем. Отводной канал обычно заканчивается береговым колодцем, из которого очищенные сточные воды через выпуск сбрасываются в водоем. Чем благоприятнее условия для перемешивания спускаемых сточных вод с водами водоема, чем лучше используется самоочищающая способность водоема, тем более загрязненные сточные воды могут быть сброшены в него.
Выпуски сточных вод классифицируются по типу водоема (речные, озерные и морские), по месту расположения (береговые, русловые и глубинные) и по конструкции (сосредоточенные и рассеивающие).
Береговые сосредоточенные выпуски проектируются в виде открытых каналов, быстротоков, консольных сбросов, оголовков. При этом происходит весьма незначительное разбавление сбрасываемых сточных вод с водой водоема, поэтому использование самоочищающей способности водоемов очень низко. Такие выпуски применяют для сброса дождевых или малозагрязненных сточных вод. Чаще устраивают русловые рассеивающие выпуски, обеспечивающие наилучшее смешение сточных вод с речными. Глубинные выпуски применяют при сбросе сточных вод в озера, водохранилища, моря.
Выпуск представляет собой стальную перфорированную трубу с металлической обоймой со щелями. Обойма заполнена гравием или щебнем. Площадь щелевых отверстий решетчатого дна обоймы составляет 40-50 % его площади. Выход воды в виде вертикальных струй обеспечивает эффективное смешение с водой водоема.
III. Экспериментальная часть
3.1. Исследование условий содержания водного гиацинта для очистки сточных вод в условиях Приднестровья
Республиканским НИИ экологических исследований была составлена программа и начаты практические исследования по применению эйхорнии для глубокой очистки сточных вод.
Из литературных источников мы узнали, что эйхорния в естественных условиях произрастает в странах с тропическим климатом, то есть при температуре 16-32°С. Поэтому нам было интересно узнать, как она перенесет зиму в климатических условиях ПМР.
Для этой цели одна часть растений была помещена на вторичном отстойнике Тираспольских очистных сооружений МУП ТУВКХ г. Тирасполя. В ходе наблюдений было установлено, что растения не только успешно перезимовали, но и не прекратили своего вегетативного размножения. Заложили 200 дочерних растений, на 25 февраля растений было уже 400 штук, на 22 марта – 600 штук крупных особей.
Другая часть крупных растений, где осенью наблюдалось активное цветение и семяобразование была оставлена в открытой емкости. При понижении температуры атмосферного воздуха до -3°С все растения погибли.
Третью часть растений поместили в ваннах в лаборатории. Для эйхорнии необходимо яркое освещение (световой день должен быть продлен до 12 часов). Растение сохранилось, но такое сохранение растений экономически нецелесообразно.
3.2. Применение эйхорнии для очистки сточных вод
За последние 10-летия исследователи, заинтересовавшиеся эйхорнией отмечали у этой древней представительницы высшей водной растительности (ВВР) совершенно неуемный аппетит и полное равнодушие к меню, просто маниакальная прожорливость: прекрасный реликт съедает любой загрязнитель. Появились данные, что эйхорнии под силу конкурировать с современными инженерными сооружениями по очистке сточных вод.
В связи с этим возникла актуальная возможность использования водного гиацинта для доочистки сточных вод различных хозяйственных объектов в ПМР.
А. Условия и методы проводимых исследований на Тираспольских очистных сооружениях
С целью постановки экспериментов по очистке сточных вод, растения эйхорнии были перевезены из прудов г. Краснодара на очистные сооружения МУП ТУВКХ г. Тирасполя, где проводились исследования.
Исследования проводились в 2 этапа:
1 этап: с августа по сентябрь 2002 года;
2 этап: с марта по апрель 2003 года.
Отбор проб проводился ежедневно.
В целях определения эффективности очистки эйхорнией сточных вод различной степени загрязненности было рассажено по 50 растений в емкости с сточной водой с различным содержанием химических компонентов:
1. В сточные воды поступающие на очистные сооружения;
2. В сточные воды после механической очистки (первичные отстойники);
3. В сточные воды после биологической очистки (вторичные отстойники);
4. В избыточный активный ил и в сооружения с сырым осадком.
Наиболее важным этапом очистки сточных вод является аэрация кислородом воздуха и биологическая доочистка воды микроорганизмами активного ила. Эта стадия очистки требует наибольших финансовых и энергетических вложений. Наши исследования показали целесообразность применения водного гиацинта именно на этом этапе.
Поэтому для повторных экспериментов в 2003 году была использована вода идущая а аэротенк, то есть после механической очистки.
Эффективность очистки сточной воды определялась по предложенной нами формуле:
,
где с>1> – концентрация данного компонента до очистки; с>2> – концентрация после очистки и выражалась в процентах.
Б. Результаты исследований и их обсуждение
Поставленный нами эксперимент по очистке сточных вод на базе очистных сооружений МУП УВКХ г. Тирасполя показал, что после очистки сточных вод эйхорнией, содержание в воде ингредиентов, по которым проводился анализ значительно уменьшилось. При наличии оптимальной температуры воды и воздуха были получены следующие показатели:
Таблица 1. Эффективность очистки сточной воды эйхорнией.
|
Контролируемый показатель |
I этап. август-сентябрь 2002 г. |
Эффективность отчистки, % |
II этап. март-апрель 2003 г. |
Эффективность отчистки, % |
||
|
на день отбора |
после 10 дней очистки |
на день отбора |
после 10 дней очистки |
|||
|
ХПК, М>2>О>2>/л |
50,3 |
10,0 |
80 |
53,4 |
18,0 |
66,0 |
|
БПК, М>2>О>2>/л |
13,7 |
6,4 |
53 |
14,0 |
8,1 |
42 |
|
Щелочность, мг-экв/л |
2,4 |
2,0 |
16 |
2,5 |
2,1 |
16 |
|
Жесткость, мг-экв/л |
1,6 |
1,0 |
37,5 |
2,0 |
1,5 |
25 |
|
Хлориды, мг/л |
37,9 |
14,5 |
62 |
37,0 |
16,4 |
56 |
|
Сульфаты, мг/л |
98,0 |
42,1 |
57 |
98,0 |
49,1 |
50 |
|
Фосфаты, мг/л |
1,4 |
0,3 |
79 |
1,4 |
1,0 |
28 |
|
Нитраты, мг/л |
6,2 |
0,25 |
96 |
6,4 |
1,2 |
81 |
|
Аммонийный азот, мг/л |
6,9 |
0,94 |
86 |
6,9 |
1,4 |
80 |
|
Общее микробное число |
2,310 |
0,410 |
83 |
2,410 |
0,410 |
83 |
|
Coli - индекс |
1563,0 |
420,0 |
73 |
1450,0 |
580,0 |
60 |
Результаты очистки воды было видно «невооруженным глазом»: вода стала прозрачной, специфический запах нечистот исчез. Причем эффективность очистки выше, чем при использовании обычных технологий.
Как видно из таблицы 1 наиболее эффективно эйхорния очищает воду от фосфатов, их содержание уменьшается в 5 раз; нитратов – в 25 раз; азота аммонийного – в 7 раз; поточных микроорганизмов – в 4 раза.
В меньшей степени эйхорния поглощает хлориды и сульфаты (степень очистки до 60%), а также соли жесткости (степень очистки до 37%).
Одновременно ХПК уменьшается на 80%, а БПК – на 53%.
При сравнении результатов испытаний эйхорнии на I этапе (летне-осеннее время) и на II этапе (весеннее время) видно, что во втором случае эффективность очистки заметно (на 10-20%) ниже, что можно объяснить снижением эффективности фотосинтеза и низкими температурами воздуха в весеннее время.
3.3. Исследования по содержанию и размножению эйхорнии на прудах очистных сооружений
Эксперимент начавшийся 2 августа 2002 года проходил в нормальных условиях, так как темпера воды и воздуха была оптимальной для роста и размножения эйхорнии.
В отстойниках, где вода была значительно чище и меньше ила, растения чувствовали себя хуже. Поэтому пришлось их пересадить в более загрязненный I отстойник. Следовательно, для нормальной вегетации эйхорнии необходим не только подходящий температурный режим, но и обильная питательная среда (активный ил и др.). Интересно, что эйхорния, в зависимости от степени загрязненности сточных вод, в которых она произрастает, различается по внешним морфологическим признакам. Так, эйхорния, растущая на прудах в относительно чисто воде, имеет более развитую корневую систему, с помощью которой она перерабатывает ил.
На основе визуальных наблюдений было видно, что растение успешно адаптировались к данным условиям, так как оно хорошо росло и размножалось.
Последующее похолодание вызвало необходимость часть растений перенести в камерные условия, а часть оставить в отстойниках и накрыть их пленкой (типа теплица плавающая).
Эйхорния, оставшаяся в камерных условиях развивалась достаточно хорошо. Как следует из результатов эксперимента, содержание эйхорнии в камерных условиях при температуре воды 20-30°С, воздуха 20-36°С, регулярной подкормке растений через каждые два дня активным илом, является оптимальным для успешной вегетации и размножения эйхорнии.
3.4. Использование зеленой массы эйхорнии после очистки сточных вод
Кроме сточной воды исследовали растения
одно-, двух- и трехмесячного возраста с
целью определения их качества в виде
кормов травяных по ГОСТ 18691-88. Было
установлено содержание сырого протеина
от 30 до 40%, сырой клетчатки от 8,3 до 11,4%,
что соответствует нормам 1-го класса.
Растения при проверке на токсичность
показали содержание
ниже ПДК, что позволяет сделать вывод
о возможности применения растений после
сушки и соответствующей обработки в
качестве добавки к кормам животным и
птицам при разработке рациона их питания.
Таблица 2. Результаты анализов по определению качества эйхорнии.
|
Показатели качества |
Результаты анализов |
||
|
№1 |
№2 |
№3 |
|
|
Влажность, % |
26,0 |
26,9 |
22,0 |
|
Сырой протеин, % |
33,7 |
33,98 |
29,83 |
|
Фосфор, % |
1,31 |
1,38 |
1,11 |
|
Кальций, % |
1,53 |
1,69 |
1,61 |
|
Сырая зола, % |
20,11 |
23,10 |
20,76 |
|
Минеральная примесь, нерастворимая в НCl, % |
1,07 |
2,57 |
2,20 |
|
Каротин, мг/кг |
10,41 |
24,60 |
59,06 |
|
Сырая клетчатка, % |
8,31 |
11,24 |
11,39 |
|
Нитраты, мг/кг |
89,40 |
82,80 |
79,20 |
|
Сырой жир, % |
1,73 |
1,70 |
1,47 |
Исследования проводились на образцах, предварительно высушенных до сухого состояния – результаты анализов даны на сухое вещество.
Возраст растений в образцах №1 – 1 месяц; №2 – 2 месяца; №3 – 3 месяца.
3.5. Применение тростника обыкновенного и рогоза узколистного для очистки сточных вод
Крупные гидрофиты тростник и рогоз и др. способны извлекать из воды в больших количествах биогенные элементы – N, P, Ca, K, Na, S, Fe – и этим значительно снижать степень эвтрофикации водоемов. [1]
Густая зрелая заросль тростника может аккумулировать в урожае биомассы на 1 га до 6 т различных минеральных веществ, в том числе К – 859 кг, N – 167 кг, Р – 122 кг, Na – 451 кг, S – 277 кг и кремния – 3672 кг, что указывает на специфическую потребность тростника в этих элементах, придающих прочность стеблю и другим тканям.
Таблица 3. Химические элементы, аккумулируемые водными растениями (по Черникову В.А., 2000г.).
|
Растение |
Орган растения |
Химический элемент |
|
Тростник обыкновенный |
листья |
N, K, Cl, Si, Ca, Mg, Mn |
|
Рогоз узколистный |
листья |
N, Ca, Cl, K, P, Mg, Mn, Na |
Методика эксперимента
Загрязненные сточные воды после механической очистки, идущие на аэротэнки, закачивались в пруд-отстойник обсаженный совместно тростником и рогозом (исследование проводилось в августе 2002 года). Предварительно делали химический анализ сточной воды на наиболее важные химические элементы: хлориды, сульфаты, взвешенные вещества, фосфаты, нитраты и патогенные микроорганизмы (Coli-индекс)
Через 10 дней брали пробы воды из пруда-отстойника и делали соответствующие химические анализы после отчистки. Затем рассчитывали эффективность очистки по формуле, указанной в п. 3.2. (а).
Результаты исследований и их обсуждение
Полученные результаты по очистке воды тростником и рогозом иллюстрируются в таблицей 4.
Таблица 4. Эффективность очистки сточной воды тростником и рогозом.
|
Контролируемый показатель |
Содержание до очистки, мг/л |
Содержание после очистки, мг/л |
Эффективность очистки, % |
|
Взвешенные вещества |
172 |
8,3 |
95,2 |
|
Хлориды |
38,5 |
19,2 |
50,1 |
|
Сульфаты |
99,3 |
48,1 |
51,5 |
|
Фосфаты |
1,6 |
0,83 |
48,1 |
|
Нитраты |
8,4 |
4,2 |
50,0 |
|
Coli-индекс |
1480 |
740 |
50,0 |
Как видно из таблицы 4 наиболее эффективно тростник и рогоз при совместном присутствии очищают воду от взвешенных веществ, их содержание уменьшается в 21 раз. Эффективность очистки от хлоридов, сульфатов, фосфатов, нитратов и патогенных микроорганизмов составляет в среднем 50%.
Выводы:
1) Применение эйхорнии в климатических условиях ПМР возможно только в безморозный период при температуре воды от 20 до 27 °С;
2) Морфологические признаки растений эйхорнии различаются в зависимости от степени загрязнения воды, вероятно образуются различные экотипы вида;
3) Эффективность очистки воды эйхорнией в летне-осенний период значительно выше, чем в весенний период, что можно объяснить более высокой степенью вегетации растения;
4) Оптимальными условиями для успешной вегетации и размножения эйхорнии являются камерные условия (вторичный отстойник) при температуре воды от 20 до 31°С, воздуха от 20 до 36 °С и регулярной подпитки растений через 2 дня активным илом;
5) Наиболее эффективно эйхорния очищает сточную воду от хлоридов, сульфатов, нитратов, азота аммонийного и патогенных микроорганизмов, одновременно значительно (в 5 раз) снижается ХПК и в 2 раза снижается БПК.
6) Эйхорния нейтрализует поглощенные токсичные ингредиенты, ее зеленая масса после очистки содержит ценные питательные вещества и пригодна на корм сельскохозяйственным животным и птице.
7) Тростник и рогоз при совместном присутствии в водоеме наиболее эффективно очищают воду от взвешенных веществ (степень очистки – 95%), а также различных солей: хлоридов, сульфатов, фосфатов, нитратов и патогенных микроорганизмов (степень очистки примерно 50%).
Заключение
В данной работе изложены современные научные взгляды и данные о роли высших водных растений в очистке воды. Освящены научные и практические основы фитофильтрационного способа очистки и доочистки промышленных, сельскохозяйственных вод, поступающих в водоемы с помощью водных растений.
Особое значение имеет деминерализация (обессоливание) сточных вод благодаря жизнедеятельности высших водных растений, так как наиболее распространенные биохимические способы очистки сточных вод практически не способны осуществлять этот процесс. А без обессоливания трудно решить задачу замкнутых бессточных систем водообеспечения промышленных предприятий.
Частичная деминерализация воды, достигаемая при помощи растений, - наиболее доступный и наиболее дешевый прием, так как другие способы обессоливания (дестиляция, ультрофильтрация и т.п.) связаны с затратой большого количества энергии, очень дороги, экономически невыгодны и могут применяться лишь в некоторых случаях при сравнительно небольших объемах регенерируемой воды.
Многочисленные литературные данные о возможностях применения ВВР в отчистке сточных вод полностью подтвердились нашими исследованиями в условиях Приднестровья.
Уничтожение эйхорнией практически всех болезнетворных микроорганизмов позволит отказаться от неизбежной на последнем этапе обработки стоков хлорной водой. Рабочие не будут травить себя вредными испарениями хлора. А его токсичные соединения не попадут в реку Днестр, на берегах которой любят отдыхать горожане.
Санатории, дома отдыха, детские лагеря возле запущенных прудов и озер (плавательные бассейны и другие водоемы) имеют прекрасную перспективу привести их в порядок за весенние месяцы. Еще до наступления лета эйхорния способна любую загрязненную воду довести до санитарных норм качества водоемов I категории.
Список литературы:
1. Агроэкология. Черников В.А., М.: Каюс, 2000 г.
2. Борщ З.Т. Химический состав массовых видов водных растений Кучурганского лимана. Кишинев.: Биологические ресурсы водоемов Молдавии, 1974г.
3. Волеваха М.М. Вода и воздух нашей планеты. Киев: Наукова душка, 1974 г.
4. Горский Н.Н. Вода – чудо природы. М.: АН СССР, 1962 г.
5. Жуков А.И. Методы очистки производственных сточных вод. М.: Наука, 1977г.
6. Катанская В.М. Растительность водохранилищ – охладителей тепловых электростанций Советского Союза. Ленинград.: Наука, 1979 г.
7. Кроткевич П.Г. Роль растений в охране водоемов. М.: Наука, 1982 г.
8. Кульский Л.А., Даль В.В. Проблема чистой воды. Киев.: Наукова душка, 1974г.
9. Мережко А.И. Роль высших водных растений в самоочищении водоемов. Биологический журнал. т.9 №4, 1973 г.
10. Паутова В.Н., Гамемулин М.Г. Высшие водные прибрежно-водные растения. Киев.: Наука, 1977 г.
11. Пашкевич В.Ю., Юдин Б.С. Водные растения и жизнь животных. Новгород.: Наука, 1978 г.
12. Смирнова-Гараева Н.В. Прибрежно-водная растительность низовьев Днестра. АН СССР, Серия биол. и хим. наук., 1972 г.
13. Тышкевич Г.Л. Растения и проблемы века. М.: Наука, 1989 г.
14. Федченко Б.А. Биология водных растений. Ленинград-Москва.: Наука, 1925 г.
15. Хаммер М. Технология обработки природных и сточных вод. М.: Наука, 1977 г.
16. Эйхер В. Яды в нашей пище. М.: Мир, 1985 г.
17. Яковлев С.В., Носков Ю.М. Канализация. М.: Наука, 1978 г.
18. http://www.rusmet.ru/ecology/articles
19. http://ecaposelok.narod.ru/eihorn.htm
20. http://www.esstel.ru/~fito

Эффективность очистки сточной воды эйхорнией
(ХПК, М>2>О>2>/л)

Эффективность очистки сточной воды эйхорнией
(
БПК,
М>2>О>2>/л)

Эффективность очистки сточной воды эйхорнией
(Щелочность, мг-экв/л)

Эффективность очистки сточной воды эйхорнией
(Жесткость, мг-экв/л)


Эффективность очистки сточной воды эйхорнией
(Хлориды, мг/л)

Эффективность очистки сточной воды эйхорнией
(Сульфаты, мг/л)


Эффективность очистки сточной воды эйхорнией
(Фосфаты, мг/л)

Эффективность очистки сточной воды эйхорнией
(Нитраты, мг/л)


Эффективность очистки сточной воды эйхорнией
(Аммонийный азот, мг/л)
Эффективность очистки сточной воды эйхорнией
(Общее микробное число, х10)


Эффективность очистки сточной воды эйхорнией
(Сoli-нидекс)

Эффективность очистки сточной воды тростником и рогозом
(Взвешенные вещества, мг/л)


Эффективность очистки сточной воды тростником и рогозом
(Хлориды, мг/л)

Эффективность очистки сточной воды тростником и рогозом
(Сульфаты, мг/л)


Эффективность очистки сточной воды тростником и рогозом
(Фосфаты, мг/л)

Эффективность очистки сточной воды тростником и рогозом
(Нитраты, мг/л)


Эффективность очистки сточной воды тростником и рогозом
(Coli-индекс, мг/л)


Тростник обыкновенный (Т. южный) - Phragmites australis = Phragmites communis

Эйхорния толстоногая, или водяной гиацинт - Eichornia crassipes


Рогоз узколистный - Typha angustifolia
