Оптимизация организационной структуры управления
Министерство образования Российской Федерации
СЕВЕРО-ЗАПАДНЫЙ ЗАОЧНЫЙ ТЕХНИЧЕСКИЙ УНИВЕРСИТЕТ
Кафедра экономики и управления на автомобильном транспорте
КУРСОВАЯ РАБОТА
По дисциплине: «Менеджмент»
На тему: «Оптимизация организационной структуры управления»
Выполнили: студенты V курса
Факультета ЭМ и АТ
Специальность 2401
Проверила: Дягилева Н.В.
г. Рыбница
2001г.
СОДЕРЖАНИЕ
Введение
Анализ управленческой структуры предприятия
1.1. Исходные данные
1.1.1. Главные и сопутствующие цели предприятия
1.1.2. Материальные связи объекта
Информационные связи объекта
1.2. Характеристика объекта управления
1.2.1. Схема структуры управления
1.2.2. Количество уровней управления и информационные связи между ними
2. Внутренняя среда организации
2.1. Осуществляемый технологический процесс
2.2. Кадровый состав
2.3. Планирование
2.4. Мотивация деятельности
2.5. Отношения к нововведениям
2.6. Осуществление функций контроля
3. Внешняя среда организации
3.1. Анализ факторов прямого воздействия
3.2. Анализ факторов косвенного воздействия
4. Оптимизация управленческой структуры
4.1. Анализ структуры по признакам оптимальности
4.2. Рекомендации по совершенствованию структуры управления
5. Выводы
Список используемой литературы
ВВЕДЕНИЕ
В настоящее время, в условиях рыночной экономики для упрочения положения АТП на рынке транспортных услуг необходимо наладить такую коммерческую деятельность, которая обеспечивала бы ему получение достаточного размера дохода в течение продолжительного периода времени. Такое положение может быть достигнуто за счет развития коммерческой деятельности самого предприятия на основе передовых маркетинговых методов и менеджмента.
"Структура управления организацией", или "организационная структура управления" (ОСУ) - одно из ключевых понятий менеджмента, тесно связанное с целями, функциями, процессом управления, работой менеджеров и распределением между ними полномочий. В рамках этой структуры протекает весь управленческий процесс (движение потоков информации и принятие управленческих решений), в котором участвуют менеджеры всех уровней, категорий и профессиональной специализации. Структуру можно сравнить с каркасом здания управленческой системы, построенным для того, чтобы все протекающие в ней процессы осуществлялись своевременно и качественно. Отсюда то внимание, которое руководители организаций уделяют принципам и методам построения структур управления, выбору их типов и видов, изучению тенденций изменения и оценкам соответствия задачам организаций.
Под структурой управления понимается необходимое построение взаимоотношений уровней управления, функциональных служб и производственных подразделений, в форме позволяющей организации достигать главной цели наиболее эффективным способом.
Переход на рыночные отношения кардинально меняет взгляды на организационную структуру, создающую условия для наилучшего использования техники и людей в процессе производства и тем самым повышающую его эффективность.
В процессе управления происходит делегирование прав и обязанностей для организации взаимодействия различных органов управления и распределения задач, решаемых различными работниками. Руководители должны передавать сотрудникам свои права и обязанности, иначе требуемая работа просто не будет выполнена. Поэтому организация работ - это функция, которую должны осуществлять все руководители - независимо от их ранга. Однако, хотя смысл этой концепции состоит в делегировании прав и обязанностей для разделения труда по горизонтали и вертикали, решение о выборе структуры организации в целом почти всегда принимается руководством высшего звена. Руководители низового и среднего звеньев лишь помогают ему, предоставляя необходимую информацию, а в более крупных организациях и предлагая структуру подчиненных им подразделений, соответствующую общей структуре организации, выбранной высшим руководством.
В широком смысле задача менеджеров при этом состоит в том, чтобы выбрать ту структуру, которая лучше всего отвечает целям и задачам организации, а также воздействующим на нее внутренним и внешним факторам. «Наилучшая» структура - это та, которая наилучшим образом позволяет организации эффективно взаимодействовать с внешней средой, продуктивно и целесообразно распределять и направлять усилия своих сотрудников и, таким образом, удовлетворять потребности клиентов и достигать своих целей с высокой эффективностью.
Цель данной курсовой работы - оптимизация организационной структуры управления автотранспортного предприятия, анализ управления предприятия.
АНАЛИЗ УПРАВЛЕНЧЕСКОЙ СТРУКТУРЫ ПРЕДПРИЯТИЯ
1.1. Исходные данные
В качестве исследуемого предприятия взято автотранспортное предприятие АО «Такси сервиче». Оно образовано 1997 г. Фирма осуществляет таксомоторные перевозки пассажиров. Численность работающих на АТП - 300 человек, количество автомобилей на балансе предприятия - 136. АО «Такси сервиче» обслуживает население г. Кишинева и его пригороды.
1.1.1. Главная и сопутствующие цели предприятия
Конечная цель любого предприятия - обеспечение наибольшей экономической эффективности производственной и предпринимательской деятельности.
Главной задачей АТП является удовлетворение потребностей населения в автомобильных перевозках пассажиров, обеспечение сохранности и своевременной доставки пассажиров к месту назначения. АТП должно строго соблюдать выполнение договорных обязательств по транспортному обслуживанию населения, реализовывать необходимые мероприятия, направленные на предотвращение дорожно-транспортных происшествий.
Предприятие возглавляет генеральный директор. Он организует работу коллектива предприятия, несет полную ответственность за состояние предприятия и его деятельность.
Научная организация транспортного процесса и эффективное использование транспортных средств зависят прежде всего от совершенства работы эксплуатационной службы, степени подготовленности се кадров и оснащенности необходимыми вычислительными и другими техническими средствами.
Техническая служба АТП уделяет главное внимание вопросам поддержания транспортных средств в технически исправном состоянии и обеспечения развития производственной базы, а также осуществляет руководство материально-техническим снабжением предприятия.
Важное место в хозяйственном руководстве, в улучшении качественных показателей работы предприятия отводится экономической службе. На основе систематического анализа работы предприятия, автоколонн и других подразделений и исходя из объемных показателей перевозок, их ресурсного обеспечения, экономическая служба определяет пути, по которым должны разрабатываться технические и организационные мероприятия, направленные на повышение технической готовности подвижного состава и совершенствование эксплуатационной и коммерческой деятельности АТП.
Для достижения главной цели, необходимо, чтобы все вспомогательные службы работали в нужном графике и в соответствии с потребностями рынка, т.е. должны быть гибкими.
1.1.2. Материальные связи объекта
Для нормальной и бесперебойной работы АТП требуется его постоянное обеспечение транспортными средствами, топливом, запасными частями и др. Для этого необходимо иметь постоянные договора с поставщиками. Необходимо быть уверенными, что поставщик обеспечит АТП необходимыми поставками.
Схема материальных связей объекта представлена на рис. 1.

1.1.3. Информационные связи объекта
В процессе деятельности люди обмениваются информацией. Этот процесс называется коммуникацией. Информация – содержание, передаваемое в процессе коммуникаций. Основным требованием для принятия эффективного объективного решения является наличие точной информации. Для планирования деятельности необходимо собирать и обрабатывать так называемую вторичную информацию.
Вторичная информация представляет собой данные, собранные ранее для целей, отличных от связанных с решением исследуемой проблемы.
До того как начать расходовать время и средства на поиск внешней вторичной информации или сбор первичных данных, исследователь должен изучить информацию, имеющуюся внутри компании: бюджеты, данные о сбыте, данные о прибылях и убытках, счета клиентов, данные о запасах, результаты предыдущих исследований и написанные сообщения.
Информационные связи объекта представлены на рис. 2.
Комитет по транспорту
г. Кишинева
Первичные данные представляют собой только что полученную информацию для решения конкретной исследуемой проблемы или вопроса. Они необходимы в тех случаях, когда доскональный анализ вторичных сведений не в состоянии обеспечить необходимую информацию.
Первичные данные собираются в соответствии с точными целями данной исследовательской задачи, методология сбора данных контролируется и известна компании, компания может обеспечить и секретность для конкурентов. Однако сбор первичных данных может занять много времени и потребовать больших затрат.
1.2. Характеристика объекта управления
Построение структуры системы управления является частью процесса создания управляющей подсистемы на предприятиях автомобильного транспорта.
От рационального состава подразделений органов управления, их связи между собой и взаимодействия с производственными подразделениями в значительной степени зависит эффективность работы системы управления и функционирования всей производственной системы.
Организационная структура управления характеризуется звеньями управления, связями и ступенями управления.
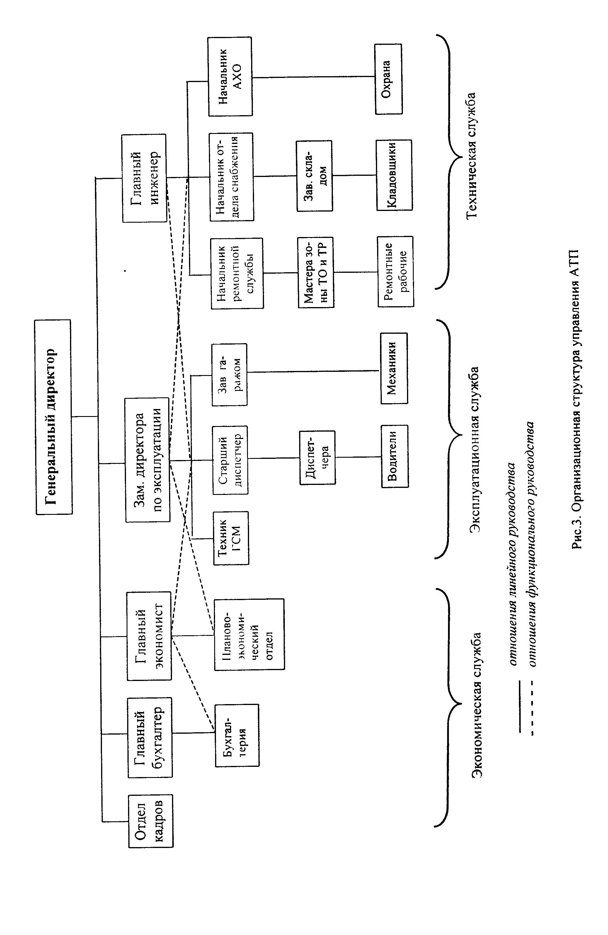
1.2.1. Структура управления
В организационной системе управления автотранспортным предприятием можно выделить три самостоятельных блока управления: эксплуатационный, технический и экономический, каждый из которых подчиняется соответствующему руководителю.
Для АТП характерна бесцеховая организационная структура, при которой все функции по управлению сосредоточены в аппарате управления предприятия.
На АТП действует централизованная система, при которой мастерские и весь ремонтно-обслуживающий персонал находятся в ведении ремонтной службы предприятия. В этом случае мастерские выполняют весь комплекс работ по техническому обслуживанию и ремонту автомобилей, имея в своем составе зоны ЕО, TO-1, TO-2 и производственно-вспомогательные участки. В подчинении начальника ремонтной службы находятся сменные старшие механики, руководящие работами по ТО и ремонту автомобилей, мастера производственно-вспомогательных участков, техник-нормировщик, осуществляющие контроль за приемом автомобилей, качеством ТО и ремонта и выпуском подвижного состава на линию.
Схема структуры управления представлена на рис. 3.
Как видно на схеме. ОСУ АТП является линейно-функциональной. На линейные звенья управления возлагаются функции и права командования и принятия решений, а на функциональные подразделения (планово-экономический отдел к примеру) – методическое руководство при подготовке и реализации решений по планированию, организации, учету, контролю и анализу по всем функциям производственно-хозяйственной деятельности. Эта структура - механистическая, характеризующаяся использованием формальных процедур и правил, жесткой иерархией власти в организации, централизацией принятия решений.
Структура системы управления строится таким образом, чтобы каждый исполнитель подчинялся только одному руководителю. Все указания и решения по функциям управления исполнитель получает от непосредственного руководителя. Между исполнителем и функциональными подразделениями остаются информационные связи

методического и консультационного характера. Для того чтобы решение функционального подразделения стало директивным, оно должно быть утверждено руководителем.
Структура АО «Такси сервиче» включает в себя следующие отделы и подразделения:
Общее руководство - 4 человека;
Служба технического обслуживания и ремонта подвижного состава - 24 человека;
Отдел материально-технического снабжения - 6 человек;
Служба эксплуатации - 7 человек;
Водители - 140 человек;
Бухгалтерия - б человек;
Планово-экономический отдел - 4 человека;
Отдел кадров - 2 человека;
Юрист - 1 человек;
Охрана - 6 человек;
Секретарь - 1 человек.
1.2.2. Количество уровней управления и информационные связи между ними
Несмотря на то, что все руководители организации выполняют управленческий действия, нельзя сказать, что все они занимаются одним и тем же видом трудовой деятельности. Отдельным руководителям приходится затрачивать время на координирование работы других руководителей, которые в свою очередь координируют работу сотрудников более низкого уровня и т.д. до уровня руководителя, который координирует неуправленческого персонала - людей, физически производящих продукцию или оказывающих услуги. Такое вертикальное развертывание разделения труда и образует уровни управления. Как показано на рис. 4 на АТП существует четыре уровня управления.
В организации, состоящей из многих частей, должна осуществляться определенным образом координация их деятельности. Данная координация выступает основой структуры организации, которая обычно определяют как совокупность устойчивых связей в организации. Связь - это выражение отношений, а не какое-то действие. Связи различаются не тем, что делается в их рамках, а тем, как реализуются отношения координации, что в свою очередь определяется тем, какие отношения лежат в основе связи. Посредством связей в организации осуществляется координация ролей и деятельностей. Эффективная координация является функцией двух переменных: прав и информации.
В организации выделяются различные типы связей. Наиболее часто анализу подвергаются следующие пары связей в организации: вертикальные и горизонтальные; линейные и функциональные.
Вертикальные связи соединяют иерархические уровни в организации и ее частях. Они формализуются в процессе проектирования организации, действуют постоянно и изображаются на всех возможных схемах, отражая распределение полномочий или указывая на то, «кто есть кто» в организационной иерархии. Данные связи служат каналами передачи распорядительной и отчетной информации, создавая тем самым стабильность в организации. В рамках вертикальных связей решаются проблемы власти и влияния, т.е. реализуется «вертикальная загрузка» работы. Обычно рост организации сопровождается ростом вертикальных связей, так что по количеству этих связей можно судить о размере организации.
Горизонтальные связи – это связи между двумя или более равными по положению в иерархии или статусу частями или членами организации. Их главное предназначение – способствовать наиболее эффективному взаимодействию частей организации при решении возникающих между ними проблем. Они помогают укреплять вертикальные связи и
делают организацию в целом более устойчивой при различных внешних и внутренних изменениях. Горизонтальные связи создают ряд важных преимуществ. Они экономят время и повышают качество взаимодействия. Горизонтальные связи развивают у руководителей самостоятельность, инициативность и мотивированность, ослабляют боязнь риска. Поэтому особый интерес представляет анализ практики и изучение способов установления таких связей. В случае, когда горизонтальные связи устанавливаются на неформальной основе вышестоящим руководителем, они обычно имеют привязку ко времени, к событию или к людям. Так, например, в ходе заседания директор может предложить главному экономисту и начальнику отдела кадров самостоятельно решать вопросы установления окладов для работников, поскольку он доверяет им. Но, как только один из них оставит пост по каким-то причинам, руководитель скорее всего вернет это право себе назад и будет им пользоваться до тех пор, пока начальник не заслужит у него доверия
Еще одной парой связей, устанавливаемых в организации, являются линейные и функциональные связи. Линейные – это отношения, в которых начальник реализует свои властные права и осуществляет прямое руководство подчиненными, т.е. связи идут в организационной иерархии сверху вниз и выступают как правило, в форме приказа, распоряжения, команды, указания. Природа функциональных связей - совещательная, и реализуется посредством этих связей информационное обеспечение координации.
Представленная организационная структура имеет ряд недостатков.
При данной структуре отсутствуют тесные взаимосвязи и взаимодействия на горизонтальном уровне между производственными отделениями.
Необходимость согласования действий разных функциональных служб резко увеличивает объем работы руководителя организации и его заместителей, т. е. высшего эшелона управления.
Чрезмерная развитая система взаимодействия по вертикали, а именно: подчинение по иерархии управления, т.е. тенденция к чрезмерной централизации.
Допускается несоответствие между ответственностью и полномочиями у руководителей разных уровней и подразделений; превышаются нормы управляемости, особенно у директора и его заместителей; формируются нерациональные информационные потоки;
чрезмерно централизуется оперативное управление производством; не учитывается специфика работы различных подразделений; отсутствуют необходимые при этом типе структуры нормативные и регламентирующие документы.
2. ВНУТРЕННЯЯ СРЕДА ОРГАНИЗАЦИИ
Внутренняя среда организации - это та часть общей среды, которая находится в рамках организации. Она оказывает постоянное и самое непосредственное воздействие на функционирование организации.
Она оказывает постоянное и самое непосредственное воздействие на функционирование организации.
2.1. Осуществляемый технологический процесс
Транспортный процесс - это процесс перемещения пассажиров.
Подача пассажирского подвижного состава, обеспечение удобной посадки людей, перемещение пассажиров с необходимым комфортом, организация выхода пассажиров из подвижного состава по окончании поездки составляют транспортный процесс перевозки пассажиров.
При пассажирских перевозках законченным циклом транспортного процесса является рейс, в который включен весь комплекс транспортных операций за пробег автомобиля от начального до конечного пункта маршрута.
Схема технологического процесса представлена на рис. 5.

Перед началом работы автомобиль проходит ежедневный осмотр, и если он исправен, выходит на линию. Водитель получает все необходимые документы у диспетчера. Диспетчер принимает заказы на таксомоторные перевозки от клиентуры, руководит работой автомобилей на линии. После окончания работы, при возвращении водителей в гараж, диспетчер проверяет путевые листы, передает документы в кассу бухгалтерии для принятия выручки от водителей.
2.2. Кадровый состав
Кадровое планирование – это предоставление людям рабочих мест в нужный момент времени и необходимом количестве в соответствии с их способностями, склонностями и требованиями производства. Рабочие места с точки зрения производительности и мотивации должны позволить работающим оптимальным образом развивать свои способно-
сти, повышать эффективность труда, отвечать требованиям создания достойных человека условий труда и обеспечения занятости.
Кадровое планирование осуществляется как в интересах организации, так и интересах ее персонала. Для организации важно располагать в нужное время, в нужном количестве и с соответствующей квалификацией таким персоналом, который необходим для решения производственных задач, достижения ее целей. Кадровое планирование должно создавать условия для мотивации более высокой производительности труда и удовлетворенности работой. Людей привлекают в первую очередь те рабочие места, где созданы условия для развития их способностей и гарантирован высокий и постоянный заработок. Одной из задач кадрового планирования является учет интересов всех работников организации. Кадровое планирование тогда эффективно, когда оно интегрировано в общий процесс планирования организации.
Задачи кадрового планирования: обеспечение организации в нужное время, в нужном месте, в нужном количестве и с соответствующей квалификацией таким персоналом, который необходим для достижения целей. Эти задачи на предприятии призвана решать кадровая служба.
На АТП укомплектованность кадрами соответствует нормальной работе предприятия. Хотя, при увеличении выпуска машин на линию необходимо будет произвести необходимый набор водителей.
Генеральный директор имеет право распоряжаться средствами и имуществом предприятия, заключать договоры, открывать счета и распоряжаться ими, издавать приказы по предприятию, принимать и увольнять работников, применять к ним меры поощрения и налагать взыскания. Вместе с тем генеральный директор отвечает за правильное и эффективное использование материальных и трудовых ресурсов предприятия, улучшение условий и охрану труда.
Эксплуатационная служба АТП организует свою работу на основе плана пассажирских перевозок. Она изыскивает возможности для наиболее рационального осуществления этих перевозок с наименьшими затратами. На АТП служба эксплуатации на основе всестороннего изучения потребностей призвана обеспечить более полное удовлетворение нужд населения в таксомоторных перевозках
Для выполнения задач снабжения, ремонта подвижного состава в ведении технической службы, возглавляемой главным инженером есть мастерские, в составе которых имеются производственные участки и бригады по ТО и ремонту подвижного состава. Главными задачами технической службы предприятия являются:
• организация надлежащего хранения подвижного состава, обеспечивающего высокую техническую готовность его к работе, своевременность выпуска автомобилей на линию и прием их (гаражная служба);
• разработка и решение вопросов, связанных с укреплением производственно-технической базы предприятия (главный инженер);
• оперативное планирование всех видов ТО и ремонта автомобилей и автомобильных шин, организация выполнения этих работ и контроля за их качеством, проведение технического учета и отчетности по подвижному составу, автомобильным шинам и другим производственным фондам (начальник ремонтной службы);
• руководство всей совокупностью работ по обеспечению нормального материально-технического снабжения предприятия, организации хранения, выдачи и учета топлива, запасных частей и других материальных ресурсов, разработка и осуществление мероприятий по более рациональному их использованию (отдел снабжения);
• разработка и проведение организационно-технических мероприятий по совершенствованию процессов производства, внедрению новой техники, охране труда и предупреждению аварийности.
В состав экономической службы входит бухгалтерия. Этот отдел во главе с главным бухгалтером проводит учет наличия средств, выделенных в распоряжение АТП, их сохранности и уровня использования, организует выполнение финансового плана, проверяет финансовое состояние предприятия, проводит большую оперативную работу по организации расчетов с клиентурой, поставщиками и финансовыми органами, организует первичный учет расходования материальных ресурсов и денежных средств. Главный бухгалтер несет ответственность за целесообразность и законность расходования средств, и соблюдение финансовой дисциплины.
На АТП экономическую службу возглавляет главный экономист – заместитель директора. Он руководит работой планово-экономического отдела, а также осуществляет методическое руководство бухгалтерией (в области организации учета и совершенствования первичной документации), которая подчиняется непосредственно директору.
На всех уровнях управления руководители выполняют не только чисто управленческие, но и исполнительные функции. Однако с повышением уровня руководства (с 4-го до 1-го) удельный вес исполнительских функций понижается. Это значит, что руководитель любого уровня управления определенный процент времени тратит на принятие управленческих решений и определенный - на принятие решений по специальности. С повышением уровня управления удельный вес заданий по специальности падает, а по менеджменту возрастает. Отсюда руководители предприятия должны обладать высокими профессиональными навыками. Для работников аппарата управления процесс труда представляет собой выполнение совокупности функций, к основным из которых следует отнести планирование, организацию, координацию, контроль, учет, анализ, регулирование.
Оценка результатов деятельности некоторых работников АО «Такси сервиче» представлена в таблице 1.
Таблица 1
Оценка результатов деятельности некоторых работников АО «Такси сервиче»
|
Должность |
Кол-во |
Проф.подготовка |
Загруженность в % |
Оценка деятельности (по 10-бальной шкале) |
|
Генеральный директор |
1 |
Высшее техническое |
90 |
9,8 |
|
Главный инженер |
1 |
Высшее техническое |
85 |
9,4 |
|
Зам. директора по эксплуатации |
1 |
Высшее техническое |
70 |
8 |
|
Главный бухгалтер |
1 |
Высшее экономическое |
86 |
9 |
|
Зав. гаражом |
1 |
Высшее |
75 |
8,5 |
|
Старший диспетчер |
1 |
Среднее специальное |
50 |
6 |
|
Мастера зоны ТО и ТР |
2 |
Среднее специальное |
95 |
10 |
|
Диспетчера |
1 |
Среднее специальное |
70 |
9 |
|
Водители |
140 |
Среднее специальное |
85 |
8 |
Анализ данной таблицы показывает, большинство сотрудников получили необходимое образование в соответствующих высших и средних специальных заведениях. Загруженность в зависимости от занимаемой должности неравномерна. Так, главный инженер несет большую нагрузку, чем зам. директора по эксплуатации, что говорит в пользу перераспределения обязанностей между ними. При анализе работы старшего диспетчера возникает вопрос о целесообразности этой должности, т.к. всю основную нагрузку несут диспетчера. Следует обратить внимание и на работу мастеров зоны ТО и ТР, которые делают все возможное для увеличения коэффициента выпуска автомобилей на линию. Работа остальных не требует никаких изменений.
Также на АТП проводятся мероприятия по улучшению подготовки и повышению квалификации кадров. Повышая квалификацию и приобретая новые навыки и знания, работники становятся более конкурентоспособными на рынке труда и получают дополнительные возможности для профессионального роста как внутри своего предприятия, так и вне его. Начальники служб, мастерских отвечают за выполнение плана по всем показателям, надлежащее техническое состояние и использование подвижного состава, организацию труда водителей, ремонтных и других рабочих, состояние трудовой дисциплины, проводят работу по улучшению условий труда. Они наделены и определенными правами. прежде всего в части поощрения и наказания работников мастерских, присвоения рабочим квалификационного разряда. По их представлению решаются вопросы найма и увольнения рабочих и других работников. Водители – ведущая профессия рабочих на автомобильном транспорте. Поэтому одной из важнейших задач является правильная организация труда водителей, так как от их работы во многом зависит выполнение плана перевозок.
2.3 Планирование
Планирование – вид управленческой деятельности, связанной с составлением планов организации и ее составных частей.
Успешное функционирование пассажирских АТП во многом зависит от качества планирования и организации пассажирских перевозок. Система планирования пассажирских перевозок определяет качественные и количественные параметры развития и функционирования отдельных элементов системы городского пассажирского транспорта с целью полного удовлетворения потребностей населения в перевозках. Главным требованием в организации таксомоторных перевозок является предоставление пассажирам автомобилей-такси после минимального времени ожидания. Это достигается за счет установления правильного режима работы автомобилей-такси на линии, оптимального распределения их стоянок на территории города, организации быстрого выполнения заказов на перевозку, принятых по телефону.
Правильное определение графика выпуска и возврата автомобилей-такси, а следовательно, и обеспечение их необходимого количества на линии в различные часы суток должно осуществляться при постоянном изучении потребности в таксомоторных перевозках.
Повышению качества обслуживания пассажиров таксомоторными перевозками способствует расширение использования метода обслуживания населения по заказам. Эффективность этого метода зависит от уровня диспетчеризации, применения оперативной радиосвязи между диспетчерскими пунктами и водителями.
Любое предприятие, в том числе и автотранспортное, имеет своей конечной целью получение прибыли. Достичь этой цели можно, только максимально удовлетворяя спрос клиентов на перевозки. На предприятии и разрабатываются стратегические, тактические и оперативные планы, подчиненные главной цели предприятия.
Стратегическое планирование (высший уровень руководства) - это попытка взглянуть в долгосрочной перспективе на основополагающие составляющие организации;
оценить какие тенденции наблюдаются в ее окружении; определить, каким вероятнее всего будет поведение конкурентов. Главная задача планирования на этом уровне состоит в том, чтобы определить, как организация будет вести себя в своей рыночной нише. Целью стратегического планирования АТП является комплексное обоснование проблем, с которыми может столкнуться предприятие в перспективе. Составлением долгосрочных планов занимается генеральный директор, главный инженер, зам. директора по эксплуатации, главный экономист совместно с главным бухгалтером. Определяются необходимые инвестирования в производство, необходимость открытия новых цехов, отделов для эффективной работы в будущем.
На среднем уровне управления занимаются тактическим планированием, т.е. определяются промежуточные цели на пути достижения стратегических целей и задач. Тактическое планирование по своей сути сходно со стратегическим. Разница в том, что если в организации три начальника различных подразделений, то каждый из них должен координировать или интегрировать свою деятельность с другими. И это должно быть отображено в плане. Поэтому их ответственность с точки зрения тактического планирования состоит в том, чтобы в основу планирования положить идеи, которые были рождены при стратегическом планировании. В среднесрочных планах отражаются количественные показатели, в т.ч. распределение ресурсов, сведения по производству, капитальным вложениям и финансированию. Отдел маркетинга предоставляет руководству необходимую информацию, бухгалтерия на основании баланса, определяет возможности будущих планов.
Планирование, осуществляемое на нижнем уровне организации, называется оперативным (текущим) планированием. Это основа основ планирования. В оперативных планах стандарты деятельности, описание работ и т.п. вписываются в такую систему, при которой каждый направляет свои усилия на достижение общих и главных целей организации. Текущее планирование охватывает детальные разработки (обычно на один год) оперативных планов для организации в целом и ее подразделений. Текущий план состоит из календарных планов (месячных, квартальных, полугодовых). В них детально конкретизуются цели и задачи, поставленные перспективными и среднесрочными планами. Календарные планы производства составляются на основе сведений о наличии заказов, обеспеченности их материальными ресурсами, степени загруженности производственных мощностей. На основании данных диспетчеров составляют график работы водителей на линию, производственно-технический отдел обеспечивает наличие подвижного состава, который необходим для этих перевозок.
Начальник АХО должен составить план по расходу запчастей, шин и других материалов, для того, чтобы отдел снабжения мог своевременно закупить необходимые детали на склад, поскольку, необходимо, чтобы машины были на линии, а не в простое.
Все три типа планирования составляют общую схему, которая называется генеральным или общим планом функционирования организации.
Включение в систему планирования современной вычислительной техники, экономико-математических методов и моделей позволяет значительно поднять средний уровень плановой работы в организации и обоснованность принимаемых стратегических решений. Таким образом, формализация процесса планирования позволяет приобщить к стратегическому мышлению широкий круг руководителей и специалистов среднего звена, т.е. дает возможность пройти им «школу» более высокого уровня управления.
2.4. Мотивация деятельности
Мотивация – это процесс побуждения себя и других к деятельности для достижения личностных целей и целей организации. Влияние мотивации на поведение человека зависит от множества факторов, во многом индивидуально и может меняться под воздействием обратной связи со стороны деятельности человека. В основе мотивации лежат человеческие потребности.
Мотивация труда представляет собой воздействие на факторы результативности работы руководителей, специалистов по управлению производством и на основе ее оценки и использования соответствующих побудительных мотивов.
Для повышения эффективности деятельности в первую очередь должна быть дана количественная оценка качеству труда руководителей и специалистов, принимающих решения в процессе оперативного управления производством. Оценочный показатель качества труда руководителя, специалиста зависит в основном от показателя неритмичности работ подразделения, за деятельность которого он отвечает, и степени его виновности в этом. Показатель определяется отклонениями от оперативно-календарных планов (графиков) выполнения работ. Оценка качества труда руководителя, специалиста по оперативному управлению производством должна быть учтена по результатам работы за планово-отчетные периоды.
Для непосредственных исполнителей (водителей, ремонтных рабочих) основными факторами мотивации их работы являются: обогащение труда, разнообразие работы, рост и расширение профессиональной квалификации, удовлетворение от полученных результатов, повышение ответственности за выполняемую работу, возможность проявления инициативы, осуществления самоконтроля и т.д.
Интересная работа, творческий подход к ее выполнению, профессиональный рост – наиболее важные ценности мотивации труда работающих. Мотивация может быть выражена в повышении зарплаты, похвале руководителя, премией, продвижением на работе, выделением помещения, получение новой машины и т.д. Все выше перечисленное – это источники внешней мотивации. Внутренняя мотивация достигается за счет интереса к работе и удовлетворенности ею (значимость и содержательность работы, самоуважение, общение).
В АТП администрация делает все возможное для благоприятной работы. При всем многообразии рабочих участков руководство пытается обустроить каждое рабочее место, создается шумоизоляция в цехах, где работа предусматривает наличие повышенных шумов. Проводятся капитальные и косметические ремонты зданий. В рабочих цехах установлены аппараты с чистой горячей и холодной водой для питья, оборудованы душевые. Для побуждения работников к активной деятельности применяется вознаграждение. Это как материальные стимулы, так и моральные.
Кроме, этого руководство практикует награждения, в виде премий, за долголетнюю службу на предприятии, за безаварийную работу на линии - для водителей.
При наличии у работников трений с непосредственным руководством, они всегда могут обратиться к вышестоящему начальству, которое постарается разобраться и принять необходимые меры.
Кроме этого существуют наказания за невыполнения заданий, за нарушение трудовой дисциплины, за нарушение правил безопасности дорожного движения и другие.
Рекомендации по повышению мотивации сотрудников:
• уважать и поощрять способности каждого, стремиться выявить в человеке лучшее, верить в него и постоянно давать возможность развивать свои способности,
• устранение чувства дистанции, вызываемого символами статуса, приведет к улучшению взаимоотношений между сотрудниками и облегчит переход к коллективной работе,
• необходимо помочь осознать важность чувства единства коллектива, приложить усилия для того, чтобы каждый воспринимал предприятие как свое,
• постановка кратковременной цели перед каждым сотрудником в начале работы, доходчивое ее объяснение, приведет к тому, что сотрудники будут относиться с энтузиазмом к работе.
2.5. Отношение к нововведениям
Нововведение – идея, доведенная до практической реализации. К сожалению, при постановке новых задач в системе управления на предприятии и претворении их в жизнь возникает негативная реакция со стороны коллектива, т.к. наблюдается нежелание приспосабливаться к изменяющимся обстоятельствам, боязнь сокращения. Для того, чтобы новые идеи воспринимались положительно, надо повысить заинтересовать в служебном росте работников, осведомленность в происходящем, укрепить веру в будущее.
2.6. Осуществление функций контроля
Контроль – это процесс соизмерения (сопоставления) фактически достигнутых результатов с запланированными. Контроль имеет отношение к процедуре оценки успешности выполнения намеченных организацией планов и удовлетворения потребностей внутренней и внешней среды.
Различают следующие виды контроля:
• Предварительный контроль. Он осуществляется до фактического начала работ. Основным средством осуществления предварительного контроля является реализация (не создание, а именно реализация) определенных правил, процедур и линий поведения. На предприятии предварительный контроль используется в трех ключевых областях: человеческих, материальных и финансовых ресурсах. В области человеческих ресурсов контроль достигается за счет анализа тех деловых и профессиональных знаний и навыков, которые необходимы для выполнения конкретных задач АТП, в области материальных - контроль за качеством услуг, сырья, чтобы предоставить качественные услуги. В области финансовых ресурсов механизмом предварительного контроля является бюджет в том смысле, что он дает ответ на вопрос, когда, сколько и каких средств (наличных, безналичных) потребуется организации. В процессе предварительного контроля возможно выявить и предвидеть отклонения от стандартов в различные моменты. Он имеет две разновидности: диагностический и терапевтический. Диагностический контроль включает такие категории, как измерители, эталоны, предупреждающие сигналы и т.п. указывающие на то, что в организации что-то не в порядке. Терапевтический контроль позволяет не только выявить отклонения от нормативов, но и принять исправительные меры.
• Текущий контроль. Он осуществляется проведения работ. Чаще всего его объемом являются сотрудники, а сам он - прерогатива их непосредственного начальника. Он позволяет исключить отклонения от намеченных планов и инструкций. Для того, чтобы осуществить текущий контроль, аппарату управления необходима обратная связь. Все системы с обратной связью имеют цели, используют внешние ресурсы для внутреннего применения, следят за отклонениями от намеченных целей, корректируют отклонения для достижения этих целей.
• Заключительный контроль. Цель такого контроля – помочь предотвратить ошибки в будущем. В рамках заключительного контроля обратная связь используется после того, как работа выполнена (при текущем - в процессе ее выполнения). Хотя заключительный контроль осуществляется слишком поздно, чтобы отреагировать на проблемы в момент их возникновения, он, во-первых, дает руководству информацию для планирования в случае, если аналогичные работы предполагается проводить в будущем.
На АТП предварительный контроль человеческими ресурсами осуществляет отдел кадров по предоставлению информации начальниками служб и цехов, проводится аттестация рабочих, прохождение квалификационной комиссии водителями и т.д. Ответственность за качество предоставляемых услуг и обеспеченность АТП материалами возложено на руководителей эксплуатационной и технической служб. Анализ хозяйственной деятельности предприятия проводит бухгалтерия и планово-экономический отделы. В конце года проводится общее собрание всех работников, где обсуждаются финансовая и производственная деятельность предприятия по итогам прошедшего года.
Контроль, как правило, проводится по вопросам выполнения производственных заданий, с целью повышения дисциплины на предприятии. Результаты контроля доводят до исполнителей. В результате контроля не отмечено отставание в выполнении производственных заданий, опозданий на работу не выявлено, и была выбрана стратегия поведения – оставить все как есть.
При работе с кадрами администрация большее внимание уделяет вопросам производства, выполнения планов, а человеческий фактор мало учитывается. Возможность функционального роста минимальна, совмещения дополнительно не оплачиваются.
К сожалению, руководители среднего звена весьма неохотно отвлекаются на решение стратегических задач. Все свое рабочее время они затрачивают на оперативные вопросы, от которых зависят ближайшие результаты их деятельности и соответствующее поощрение. Вместе с тем многие ценные идеи стратегического характера выдвигаются людьми, которые никогда ранее этими вопросами не занимались.
Отмечается низкая активность посещения общих итоговых собраний, что говорит о не заинтересованности работников в успехе деятельности предприятия.
3. ВНЕШНЯЯ СРЕДА ОРГАНИЗАЦИИ
Внешняя среда является источником, питающим организацию ресурсами, необходимыми для поддержания ее внутреннего потенциала на должном уровне. Организация находится в состоянии постоянного обмена с внешней средой, обеспечивая тем самым себе возможность выживания. Внешнюю среду характеризуют сложность и динамизм. Сложность внешнего окружения определяется тем, как много факторов влияет на организацию и насколько эти факторы схожи между собой. Динамизм внешнего окружения характеризуется тем, как быстро меняются факторы, влияющие на проектирование. Остаются ли они в основном неизменными, стабильными, или же они изменяются, нестабильны.
Анализ внешней среды представляет собой оценку состояния и перспектив развития важнейших, с точки зрения организации, субъектов и факторов окружающей среды отрасли, рынков, поставщиков и совокупности глобальных факторов внешней среды, на которые организация не может оказывать непосредственное влияние.
3.1. Анализ факторов прямого воздействия
К факторам прямого воздействия относят:
• Ресурсы предприятия (материальные, человеческие, информационные) Главный элемент в процессе (производства) труда – рабочая сила (человеческие ресурсы) Ресурсы предприятию необходимы, чтобы достичь главной цели своей деятельности Своевременное снабжение ресурсами и в необходимом количестве обеспечит бесперебойною работу автотранспортного предприятия.
• Анализ потребителей как компоненты непосредственного окружения предприятия в первую очередь имеет своей задачей составление профиля тех, кто покупает услуги, реализуемые АТП. Изучение покупателей позволяет организации лучше уяснить то, на какой объем транспортной работы может рассчитывать АТП, в какой мере клиенты привержены услугам именно данного предприятия, насколько можно расширить круг потенциальных клиентов, что ожидает услуги в будущем и многое другое. Характер взаимоотношений с клиентами носит разовый, временный характер, что делает сложным анализ потребителей. Изучая покупателя, АТП также уясняет для себя, насколько сильны ее позиции на рынке.
• Анализ поставщиков направлен на выявление тех аспектов в деятельности субъектов, снабжающих организацию различным сырьем, энергетическими и информационными ресурсами, финансами и т.п., от которых зависят эффективность работы организации, себестоимость и качество предоставляемых услуг. Поставщики материалов и комплектующих изделий, если они обладают большой силой, могут поставить предприятие в очень сильную зависимость от себя. Поэтому следует изучить глубоко и всесторонне их деятельность с тем, чтобы суметь построить такие отношения, которые обеспечивали бы организации максимум силы во взаимодействии с поставщиками.
• Анализ факторов конкуренции предполагает постоянный контроль со стороны руководства организации за действиями конкурентов. Суть анализа можно свести к поиску ответов на следующие вопросы: что движет конкурентом? что он делает? что может сделать? В анализе конкурентов выделяют четыре диагностические зоны: анализ будущих целей конкурентов, оценка их текущей стратегии, оценка предпосылок относительно конкурентов и перспектив развития отрасли, изучение сильных и слабых сторон конкурентов. Контроль деятельности конкурентов позволяет руководству организации постоянно быть готовым к потенциальным угрозам. Сейчас рынок автотранспортных услуг переполнен, появилось много крупных и мелких автотранспортных фирм, занимающихся таксомоторными перевозками. АО "Такси сервиче" проводит сбор с последующим анализом данных о деятельности конкурентов, чтобы отреагировать вовремя на возможные изменения на рынке автотранспортных услуг.
• Анализ правового регулирования, предполагающий изучение законов и других нормативных актов, устанавливающих правовые нормы и рамки отношений, дает организации возможность определить для себя допустимые границы действий во взаимоотношениях с другими субъектами права и приемлемые методы отстаивания своих интересов. Изучение правового регулирования не должно сводиться только к изучению содержания правовых актов. Важно обращать внимание на такие аспекты правовой среды, как действенность правовой системы, сложившиеся традиции в этой области и процессуальная сторона практической реализации законодательства.
3.2. Анализ факторов косвенного воздействия
К факторам косвенного воздействия относят:
• Изучение экономического фактора позволяет понять то, как формируются и распределяются ресурсы. Оно предполагает анализ таких характеристик, как величина валового национального продукта, темп инфляции, уровень безработицы, процентная ставка, производительность труда, нормы налогообложения, платежный баланс, норма накопления и т.п. При изучении экономической компоненты важно обращать внимание на такие факторы, как общий уровень экономического развития, климат, тип и уровень развитости конкурентных отношений, структура населения, уровень образованности рабочей силы и величина заработной платы, платежеспособность предприятий.
• Политическая составляющая макроокружения должна изучаться в первую очередь для того, чтобы иметь ясное представление о намерениях органов государственной власти в отношении развития общества и о средствах, с помощью которых государство намерено проводить в жизнь свою политику. Изучение политической компоненты должно концентрироваться на выяснении того, какие программы пытаются провести в жизнь различные партийные структуры, какие группы лоббирования существуют в органах государственной власти, какое отношение у правительства существует по отношению к различным отраслям экономики и регионам страны, какие изменения в законодательстве и правовом регулировании возможны в результате принятия новых законов и новых норм, регулирующих экономические процессы, какая кредитная политика местных властей, какие ограничения на получение ссуд и наем рабочей силы. При этом важно уяснить такие базовые характеристики политической подсистемы, как-то: какая политическая идеология определяет политику правительства, насколько стабильно правительство, насколько оно в состоянии проводить свою политику, какова степень общественного недовольства и насколько сильны оппозиционные политические структуры, чтобы, используя недовольство, захватить власть.
• Изучение социальной компоненты макроокружения направлено на то, чтобы уяснить влияние на бизнес таких социальных явлений и процессов, как: отношение людей к работе и качеству жизни; существующие в обществе обычаи и верования; разделяемые людьми цен; демографические структуры общества, рост населения, уровень образования, мобильность людей или готовность к перемене жительства и т.п. Значение социальной компоненты очень важно, так как она является всепроникающей, влияющей как на организации. Поэтому организация должна серьезно отслеживать возможные социальные изменения. В условиях экономической нестабильности именно в социальной среде рождаются многие проблемы, представляющие большую угрозу для организации. Чтобы эффективно справиться с этими проблемами, организация как социальная система сама должна меняться, приспосабливаясь в внешней среде.
• Руководство организации обязано постоянно следить за технологической внешней средой, чтобы не упустить момент появления в ней изменений, которые представляют угрозу самому существованию организации. Это особенно важно потому, что изменения в технологической внешней среде могут поставить организацию в безденежное положение в условиях конкуренции. Анализ технологической внешней среды должен учитывать изменения в технологии производства (особенно важно не пропустить момент начала создания принципиально новых технологий), конструкционных материалах, применении вычислительной техники для проектирования новых товаров и услуг, в управлении, изменения в технологии сбора, обработки и передачи информации, в средствах связи.
Все компоненты макроокружения находятся в состоянии сильного взаимовлияния. Изменения в одном из компонентов обязательно приводят к тому, что происходят изменения в других компонентах внешней среды. Поэтому их изучение и анализ должны вестись не по отдельности, а системно с отслеживанием не только собственно изменений в отдельном компоненте, но и с уяснением того, как эти изменения скажутся на других компонентах внешней среды.
Факторы косвенного воздействия не оказывают непосредственного влияния на организацию, но сказываются на ее деятельности. Так, например, рост цен на нефть повлечет за собой повышение цен на бензин, следовательно на перевозки, вызовет увеличение стоимости оказываемых АТП услуг, следовательно, может снизиться количество клиентов, а это приведет к потере прибыли.
4. ОПТИМИЗАЦИЯ УПРАВЛЕНЧЕСКОЙ СТРУКТУРЫ
Признаками оптимальной структуры управления являются:
• Небольшое количество подразделений с высококвалифицированным персоналом.
• Небольшое количество уровней управления.
• Наличие в структуре управления групп специалистов.
• Ориентация графика работ на потребителя.
• Быстрота реакции на изменения.
• Высокая производительность и низкие затраты
4.1. Анализ структуры по признакам оптимальности
Рассматриваемая организационная структура характеризуется высокой степенью разделения труда, развитой иерархией управления, цепью команд, наличием многочисленных правил и норм поведения персонала, и подбором кадров по их деловым и профессиональным качествам.
В структуру АТП включены все необходимые подразделения, отвечающие за технологический процесс и нормальное функционирование предприятия Количество уровней управления (4 уровня управления) соответствует оптимальной структуре управления.
Анализ управленческой структуры АО «Такси сервиче» выявил следующие
• обособленность производственных подразделений на горизонтальном уровне, т.е. отсутствие тесных информационных связей;
• недостаточно высокая квалификация сотрудников низшего звена управления;
• отсутствие в структуре управления функционального подразделения (группы высококвалифицированных специалистов), решающего вопросы маркетинга, осуществляющего разработку стратегических планов;
• отсутствие быстрой реакции на изменения на рынке автотранспортных услуг;
• низкая скорость принятия решений;
• отсутствие гибкости поведения.
4.2. Рекомендации по совершенствованию структуры управления
Сама структура АТП не требует больших серьезных преобразований. Организация действует в соответствии с правилами и процедурами, специально установленными высшим руководством для контроля поведения работников.
Но для успешной работы АТП необходимо создать отдел маркетинга, который снимался бы вопросами изучения рынка автотранспортных услуг, рекламой, ценообразованием, расширением сферы деятельности. В структуре предприятия этот отдел располагался бы в службе эксплуатации, подчинялся непосредственно (линейно) зам директора по эксплуатации и главному экономисту (функционально).
Формализация процесса планирования и включение в функциональные обязанности руководителей среднего звена подготовки информации стратегического характера гарантирует, что многие перспективные предложения не пройдут мимо внимания маркетологов, занимающихся разработкой стратегии организации.
Очень важно создать систему стимулирования за предложения, связанные с разработкой новой технологии, продукции, новых рынков и др.
Предприятие должно заботится о повышении уровня образования своих работников. Наилучшим подходом является обучение через деятельность, т. е. непосредственное вовлечение в решение реальных проблем.
Продвижение сотрудников на основе их компетентности позволит обеспечить постоянный приток в такую организацию высококвалифицированных и талантливых технических специалистов и административных работников.
Требуются следующие улучшения производственного характера: повышение квалификации водителей, повышение качества ремонта подвижного состава с соблюдением временного графика, экономное и рациональное использование материальных и финансовых ресурсов АТП.
Можно сказать, что структура управления на АО "Такси сервиче" находится на достаточно высоком уровне и требуются лишь незначительные изменения в организации деятельности, а в структуру предприятия ввести отдел маркетинга (улучшить взаимодействие служб, наладить своевременное предоставление информации для улучшения работы административного аппарата АТП).
выводы
ВЫВОДЫ
В данной курсовой работе проводится анализ работы АО «Такси сервиче». Были исследованы такие вопросы, как: структура предприятия, факторы прямого и косвенного воздействия на предприятие, контроль за деятельностью и ее планирование, мотивация деятельности. кадровый состав, внутренние и внешние связи и другие важные вопросы.
По результатам анализа структуры управления выявлены следующие недостатки:
• большая загруженность работой руководителей высшего эшелона управления
• нерациональные информационные потоки (нарушение информационных связей)
• чрезмерная централизация оперативного управления производством
• незаинтересованность сотрудников в общем успехе предприятия
• обособленность администрации
• низкий уровень стимулирования работников
Для достижения наибольших успехов в работе АТП необходимо провести следующие мероприятия:
1. перестройка системы планирования деятельности предприятия (долгосрочного и текущего) путем реорганизации коммерческой деятельности АТП на принципах маркетинга,
2. создание новой функциональной структуры управления - службы маркетинга – ATП и включение ее в состав аппарата управления,
3. создание на предприятии современной информационно-управленческой системы.
4. пересмотр действующих принципов стимулирования сотрудников.
Решение указанных задач является сложной комплексной задачей, требующей системного подхода и методического сопровождения, основанного на анализе нормативных материалов, политической и социально-экономической обстановки.
Список используемой литературы
"Управление организацией Учебник под ред. проф. А Г Поршнева" 2-е изд. – М: ИНФРА-М, 1999
О.С. Виханский, А.И. Наумов "Менеджмент Учебник" 3-е изд. –М.: Гардарики, 1999
"Менеджмент на автомобильном транспорте в условиях рынка. Учеб пособие под ред. проф. Л.Б Миротина" – М.: "Экми", 1995
Н.И. Кабушкин "Основы менеджмента Учеб. пособие" 2-е изд. – М.: ТОО "Остожье"; Мн.: "Новое знание", 1999
"Организация, планирование и управление в автотранспортных предприятиях Учебник для вузов под ред. проф. М.П. Улицкого" – М.: Транспорт, 1994
"Экономика предприятия. Учебник под ред. проф. В.Я. Горфинкеля" 2-е изд. – М.: Банки и биржи, ЮНИТИ, 1998