Реалізація функцій менеджменту на підприємствах залізничного транспорту
Зміст
Вступ 3
Сутність і значення менеджменту 3
Предмет, об'єкт і суб'єкт менеджменту 3
1.Теоретичний аспект реалізації функцій менеджменту 3
1.1 Організація як об’єкт управління та його функції 3
1.2 Функція планування 3
1.3 Функція контролю 3
1.4 Планування та контроль капіталовкладень 3
2.Аналіз реалізації основних функцій управління ДТГО „Південно-Західної залізниці” 3
2.1 Характеристика Південно-Західної залізниці 3
2.2 Основні положення служби НКВ 3
2.3 Аналіз основних економічних показників 3
3. Рекомендації по перспективному розвитку ПЗЗ та Укрзалізниці 3
Висновок 3
Список літератури 3
Вступ
Процеси глобалізації у світовій економіці, поглиблення міжнародного поділу праці, формування сучасних організацій (транснаціональних корпорацій, холдингових компаній, промислово-фінансових груп, франчайзингових об'єднань тощо) вимагають створення в кожній країні клімату підприємницької активності, механізмів інноваційного розвитку, ефективної ринкової інфраструктури. Сучасний етап розвитку національної економіки України характеризується пошуком найефективніших важелів та інструментів ведення виробничо-господарської діяльності. Підвищення ролі приватної власності, розвиток фондового ринку, активізація зовнішньоекономічної діяльності потребують удосконалення механізму управління організаціями як найважливішого чинника впливу на працівників з метою досягнення поставлених цілей. Саме управлінська діяльність визначає успіхи організації на внутрішньому і зовнішньому ринках, якість інституційних і структурних змін, здатність до адаптації в умовах жорсткої конкуренції.
Сутність і значення менеджменту
Однією з найголовніших складових успіху економічно розвинутих країн світу (СІЛА, Японія, Великобританія, Німеччина, Франція, Канада, Швеція та ін.) є використання менеджменту, тобто науково обґрунтованої та якісно побудованої системи управління організацією. Менеджмент виступає як результативний засіб формування ринкових стратегій, залучення інвестицій, здійснення нововведень, оптимізації співвідношення попиту і пропозиції тощо. Наприклад, від пересічних американців дуже часто можна почути, що ефективну економіку США сформували три чинники — автомобілі, автомобільні дороги й менеджмент.
Предмет, об'єкт і суб'єкт менеджменту
В умовах розвитку ринкових відносин менеджмент активно проникає на українські підприємства. Підприємці зацікавлені у використанні його основних надбань, оскільки це дає змогу досягнути стрункої побудови організації, знизити трудомісткість управлінських робіт, оптимізувати чисельність апарату управління, посилити управлінський вплив, зосередити зусилля всіх працівників на досягненні поставлених цілей. В організаціях усе більшого значення набуває діяльність керівників нової формації — менеджерів. Саме ці категорії працівників сприяють утвердженню підприємства на ринку, успіху в конкурентній боротьбі, втіленню нових ідей та результативних стратегій. Добре підготовлений менеджер, який володіє широкими знаннями у сфері сучасної економіки, основами інформаційних і комп'ютерних технологій, технікою ділового спілкування з вітчизняними та зарубіжними партнерами, може забезпечити успіх організації, її інноваційний розвиток, сприятливий інвестиційний клімат. Побудоване на засадах сучасного менеджменту управління організацією характеризується, з одного боку, стабільністю в отриманні високих економічних, технологічних, соціальних та інших результатів, з іншого — високою динамікою позитивних змін.
Вивчення науки про менеджмент є обов'язковою складовою підготовки фахівців економічних спеціальностей в усьому світі. В Україні дисципліни «Менеджмент» (напрям підготовки «Економіка і підприємництво») і «Основи менеджменту» (напрям підготовки «Менеджмент») входять у відповідні державні стандарти і є важливим чинником здобуття економічної освіти.
Предметом вивчення науки про менеджмент є:
1. Теоретичні засади управлінської діяльності (закони, закономірності, принципи, категорії, механізми, моделі тощо).
2. Практика управління організаціями (підприємствами, корпораціями, господарськими товариствами тощо).
3. Проектування
систем менеджменту (формування
взаємопов'язаних
і взаємодіючих управлінських важелів,
які забезпечують управлінський вплив
керуючої системи організації на
керовану).
Об'єкт вивчення менеджменту — процес управління виробничо-господарською діяльністю підприємств, корпорацій, господарських товариств, об'єднань та інших організацій. Дослідження процесу менеджменту, виокремлення його етапів дають змогу послідовно ознайомитись з усіма управлінськими категоріями, виявити взаємозв'язки між ними, зрозуміти характер та особливості здійснення управлінського впливу. Це сприяє формуванню в майбутніх економістів та менеджерів управлінського мислення, керівних навичок, здатності до прийняття управлінських рішень.
Отже, суб'єктом вивчення менеджменту є працівники керуючої і керованої систем організації, їх професійний та кваліфікаційний рівень, ступінь виконання ними повноважень, обсяги відповідальності, а також взаємозв'язки в системі менеджменту.
На сучасному етапі розвитку національної економіки України використання надбань вітчизняного та зарубіжного менеджменту дасть змогу підприємцям та управлінцям забезпечити зростання ефективності діяльності організацій, підвищити якість інституційних та структурних змін, сприяти формуванню гнучкості шляхом нарощення здатності до адаптивності в умовах жорсткої конкуренції.
З розвитком людства виникла необхідність забезпечувати його зростаючі потреби, що супроводжувалося зменшенням сировинних ресурсів. Цей процес передбачав підвищення ефективності всіх видів діяльності на засадах мінімізації витрат І оптимізації результатів, що зумовило поділ і спеціалізацію праці, тобто виникнення різновидів трудових процесів (функцій).
1.Теоретичний аспект реалізації функцій менеджменту
1.1 Організація як об’єкт управління та його функції
У визначенні сутності функцій менеджменту, їхньої класифікації і трактуванні немає однозначності. Одні автори класифікують функції менеджменту за ознакою їх першочерговості в діяльності організації, інші — за пріоритетністю у застосуванні на певних рівнях управління. Але всі погоджуються, що лише комбінування функцій може дати конкретні результати.
1.1.1 Сутність, особливості та класифікація функцій менеджменту
Технологія управління підприємством (організацією) є безперервним, динамічним, послідовним, стійким, мінливим, цілеспрямованим процесом, який має циклічний характер. Вона формується завдяки безперервному перебігу функцій менеджменту, кожна з яких є складовою цього процесу.
Функції менеджменту — види управлінської діяльності, які забезпечують формування способів управлінського впливу.
Сформувалися вони в процесі поділу і спеціалізації праці, оскільки будь-які управлінські процеси на підприємстві відбуваються на основі функціонального поділу. Функції менеджменту відображають сутність і зміст управлінської діяльності на всіх рівнях управління.
На першому етапі функції доцільно класифікувати за ознакою місця в системі менеджменту, що дає змогу наголосити на домінуючій ролі конкретних (часткових) функцій менеджменту і важливій ролі загальних (основних), а також виділити об'єднувальну функцію. Загальні функції (планування, організування, мотивування, контролювання та регулювання) задіяні в усіх управлінських процесах; за допомогою конкретних функцій відбуваються конкретні управлінські процеси; об'єднувальна функція менеджменту — керівництво — пронизує всі управлінські процеси в організації. Визначальну роль, однак, відіграють конкретні функції менеджменту, які реалізуються через загальні.
Конкретні функції менеджменту класифікують за:
ознакою процесів управління — функції управління основним, допоміжним виробництвом, технічною підготовкою, матеріально-технічним забезпеченням, патентно-ліцензійною діяльністю, капітальним будівництвом, зовнішньоекономічною діяльністю тощо;
ознакою об'єкту — функції управління підприємством, цехом, службою, відділом, дільницею, бригадою, проектною групою тощо;
ознакою елементів виробничо-господарської діяльпості — функція управління працею, предметами та знаряддями праці, інформацією тощо.
Узагальнену класифікацію функцій менеджменту подано на рис. 2.1.
На сучасному етапі розвитку менеджменту до загальних функцій відносять планування, організування, мотивування, контролювання і регулювання. У 20-х роках XX ст. А. Файоль виділяв планування, організування, розпорядництво, координування і контролювання. У колишньому Радянському Союзі виокремлювали функції планування, організування, координував-

Рис. 2.1. Класифікація функцій менеджменту
ня, стимулювання, регулювання і контролювання. Привабливими є міркування американських науковців Мескона, Альберта і Хедоурі, які визнають чотири функції: планування, організування, мотивування і контролювання. Однак відмовлятися від функції регулювання невиправдано, оскільки дослідження свідчать, що без неї не обходиться жоден управлінський процес. Наприклад, після контролювання відбувається зворотний зв'язок з метою усунення недоліків, відхилень, збоїв тощо, тобто регулювання; у процесі стратегічного планування після формулювання місії та визначення цілей організації, вибору стратегії обов'язковою є оцінка розробленої стратегії шляхом її співставлення з місією організації. Що стосується функції координування, то цей важливий управлінський важіль реалізується у формі керівництва.
1.1.2 Організування як загальна функція менеджменту
Наявність в організації найсучасніших техніки і технології, висококваліфікованого персоналу, вільних обігових коштів є необхідними, але не достатніми умовами забезпечення стійких конкурентоспроможних позицій на ринку. Без належного організування діяльності в організації виникатимуть проблеми неефективного використання ресурсного потенціалу та наявних можливостей.
Наступним кроком після визначення перспективи і майбутніх параметрів діяльності організації є її побудова, яка закріплює повноваження, завдання та обов'язки працівників у різних підрозділах і на різних рівнях управління.
Організування — вид управлінської діяльності, який відображає процес формування структури управління організацією.
Сутність цієї функції менеджменту утворюють такі структурно-функціональні аспекти:
поділ організації на підрозділи відповідно до цілей і стратегії (департаменталізація);
встановлення взаємовідносин повноважень вищих і нижчих рівнів управління і забезпечення можливості розподілу та координації завдань.
Повноваження, відповідальність і делегування. Організування ґрунтується на трьох категоріях: повноваженні, відповідальності й делегуванні.
Повноваження — обмежене право використовувати матеріальні, фінансові, трудові та інші ресурси підприємства і спрямовувати зусилля підлеглих працівників на виконання встановлених завдань.
Повноваження делегують відповідній посаді, а не особі, тобто при зміні роботи змінюються і повноваження працівника.
Відповідальність — покладений на посадову особу обов'язок виконувати поставлені завдання і забезпечувати їх позитивне виконання.
Відповідальність має подвійну властивість. З одного боку, посадова особа, приймаючи повноваження, одночасно бере на себе в повному обсязі й відповідальність. З іншого, за керівником, який делегує повноваження, цілком зберігається відповідальність. Такий подвійний характер відповідальності забезпечує якісну реалізацію повноважень. Насамперед відповідальним є менеджер, який делегує повноваження. Наприклад, начальник дільниці делегує бригадиру повноваження управління процесом складання телевізорів. Але відповідати за результати буде передусім сам менеджер. Навіть в організаціях, у яких широкий обсяг делегування є неминучим, найбільша відповідальність — за посадою менеджера найвищого рівня управління. Великий обсяг відповідальності зумовлює високі оклади. Делегування повноважень є основним процесом, завдяки якому керівництво встановлює формальні відносини працівників в організації.
Делегування — передавання завдань і повноважень особі, яка бере на себе відповідальність за їх виконання.
Загалом делегування є способом домогтися виконання роботи іншими людьми. Водночас воно є актом, який перетворює людину на керівника.
1.1.3 Мотивування як загальна функція менеджменту
У процесі зародження та формування менеджменту як науки завжди виникали проблеми дієвого і результативного мотивування. Спочатку йшлося більше про матеріальні та організаційні аспекти спонукання. На сучасному етапі все більше акцентується на соціально-психологічних аспектах мотивації, що створюють умови для досягнення високих результатів виробничо-господарської діяльності з мінімальними затратами.
Після визначення перспектив організації та завершення її побудови особливого значення набувають питання створення максимальної зацікавленості працівників у результатах діяльності організації, тобто мотивування.
Мотивування — вид управлінської діяльності, який забезпечує процес спонукання себе та інших працівників до діяльності, що спрямована на досягнення особистих цілей і цілей організації.
У процесі історичного розвитку мотивація як економічна категорія пройшла два етапи:
застосування політики «батога та пряника»;
використання методів психології і фізіології (згідно з доктринами Зігмунда Фрейда (1856—1936), Е. Мейо, М. Туган-Барановського та ін.).
Мотивація ґрунтується на двох категоріях: потреби — відчуття фізіологічної або психологічної нестачі чого-небудь і винагороди — те, що людина вважає цінним для себе.
П
отреби
поділяють на первинні (фізіологічні) і
вторинні (психологічні); винагороди —
на внутрішні (отримують у процесі роботи,
від змісту трудового процесу, відчуття
самоповаги тощо) і зовнішні (зумовлені
заробітною платою, просуванням за
службовою ієрархією, кабінетом, службовим
авто, додатковою відпусткою тощо).
Узагальнену модель мотивації через
потреби можна зобразити графічно (рис.
2.50).
Рис. 1.1 Модель мотивації через потреби
Виявлені на засадах контролювання проблеми і порушення процесу виробничо-господарської діяльності, а також негативні його результати вимагають здійснення регулювання.
Регулювання — вид управлінської діяльності, спрямований на усунення відхилень, збоїв, недоліків тощо в керованій системі шляхом розроблення і впровадження керуючою системою відповідних заходів.
Регулювання покликане усунути всі недоліки, відхилення, збої, виявлені у процесі контролювання. При цьому регулювальні заходи можуть застосовуватись на всіх попередніх етапах технології менеджменту (планування, мотивування, організування). Для цього вдаються до коригуючих дій, що базуються на виборі таких рішень:
усунення відхилень;
перегляд стандартів та критеріїв;
усунення відхилень з переглядом стандартів і критеріїв.
Особливість регулювання полягає в тому, що, на відміну від функцій планування, організування та мотивування, які удосконалюються безпосередньо в керуючій системі організації, регулювання, як і контролювання, вдосконалюється в керуючій та керованій системах. На рис. 2.62 зображено графічну модель процесу регулювання під впливом різних факторів, які потребують змін у плануванні, організуванні, мотивуванні.

Рис. 2.62. Регулювання діяльності організації
1.1.4 Регулювання як загальна функція менеджменту
Залежно від характеру перешкод чи недоліків, виявлених у процесі контролю в керованій системі, регулювання може скеровуватись на конкретний блок (планування, організування чи мотивування). Якщо проблеми виникли у блоці «Планування», розроблені заходи стосуватимуться вдосконалення економічного, соціального чи технологічного планування; виникнення їх в організаційній структурі зумовить необхідність реалізації заходів у блоці «Організування» щодо структури управління організацією, комунікаційних систем тощо; недоліки щодо матеріального стимулювання працівників керованої системи потрібно буде усувати в блоці «Мотивування», вдосконалюючи систему преміювання, дивідендної політики тощо.
У табл. 1.1 охарактеризовано процеси регулювання в організації на конкретних прикладах.
Таблиця 1.1 Характеристика процесів регулювання
|
Управлінське рішення (приймається в керуючій системі) |
Виконання управлінського рішення в керованій системі |
Контролювання (виявлення недоліків, відхилень, неточностей тощо) |
Регулювання (усунення відхилень, недоліків, неточностей) |
|
1. Впровадження нової технологічної лінії для виробництва хлібних виробів |
Відповідно до розробленого в керуючій системі технологічного процесу здійснюється впровадження нової технологічної лінії та виробництво 3 її допомогою продукції |
Під час контролю в керованій системі виявлено високий відсоток браку, понаднормове використання сировини (муки, яєць) |
Каналами зворотного зв'язку інформація про брак та перевикористання сировини надходить у керуючу систему, де опрацьовується і аналізується. Керуюча система готує нове управлінське рішення щодо вдосконалення окремих технологічних процесів на новій технологічній лінії, яке спрямовується у керовану систему |
|
2. Укладання угоди з новим партнером ЩОДО постачання необхідних матеріальних ресурсів |
Керована система отримує необхідні матеріальні ресурси для здійснення виробничо-господарської діяльності |
У процесі здійснення контролю виявлено, що отримані матеріальні ресурси не відповідають встановленим критеріям якості |
Інформація про невідповідність матеріальних ресурсів обумовленим у договорі стандартам якості надходить каналами зворотного зв'язку в керуючу систему, де обробляється, аналізується, а також приймається рішення щодо висунення постачальнику претензій з метою компенсації втрат |
|
3. Застосування нової системи матеріального стимулювання для основних робітників (запровадження премій, надбавок, доплат) |
Основні робітники отримують інформацію про нову систему оплати праці та матеріального стимулювання на підприємстві |
Контролюються результати роботи робітників, продуктивність їхньої праці, виконання запланованих завдань, кількість прогулів тощо. Виявлено, що продуктивність працівників знизилась, а планові завдання недовиконані |
Інформація про зниження продуктивності праці та невиконання планових завдань надходить каналами зворотного зв'язку в керуючу систему, де вона опрацьовується та аналізується. На основі результатів аналізу приймається управлінське рішення щодо внесення окремих змін у систему матеріального стимулювання основних робітників |
Успішна діяльність підприємства значною мірою залежить від ефективності регулювальних заходів, що покликані усунути недоліки в роботі та запобігти потенційним втратам. Виявлення у процесі контролювання недоліків, відхилень, збоїв є необхідною, але не достатньою умовою стабілізації діяльності підприємства. Адже без розроблення дієвих заходів щодо їх усунення та прийняття відповідних управлінських рішень ситуація в організації не може поліпшитись.
Функції Планування та контролю розглянемо більш детально в пунктах 1.2 та 1.3
1.2 Функція планування
Рівень планомірності в багатьох ефективно функціонуючих компаніях демонструє осмисленість і визначеність їх діяльності. Сучасне планування характеризується усвідомленням його необхідності з метою забезпечення ефективного організування, мотивування, контролювання та регулювання діяльності організації, запобігання втратам і зменшення ризиків.
1.2.1Сутність і види планування
Процес планування формує орієнтир майбутньої діяльності організації.
Планування — вид управлінської діяльності (трудових процесів), який визначає перспективу і майбутній стан організації, шляхи і способи його досягнення.
Беручи до уваги масштаб передбачення перспективи організації, виділяють стратегічне планування (понад 1 рік) і оперативне (поточне) планування (до 1 року) (рис. 1.2.1). Стратегічне планування полягає у виборі курсу розвитку організації — її стратегії. Оперативне планування є одночасно логічним продовженням стратегічного планування і способом реалізації стратегії. Тому в американському менеджменті його часто називають плануванням реалізації стратегії.

Рис. 1.2.1 Види планування та їх взаємозв'язок
1.2.2 Стратегічне планування
Стратегічне планування є головним засобом визначення, розроблення курсу розвитку організації з метою реалізації її місії, досягнення цілей тощо.
Стратегічне планування — різновид управлінської діяльності, який полягає в реалізації комплексу заходів, пов'язаних із визначенням стратегії діяльності організації, тобто комплексного плану перспективного розвитку організації.
За своїм змістом стратегічне планування передбачає формулювання місії; визначення цілей організації; аналіз її стану на засадах оцінки факторів зовнішнього і внутрішнього середовищ; оцінку стратегічних альтернатив (можливостей) і вибір стратегії діяльності.
У процесі здійснення стратегічного планування необхідно враховувати такі аспекти:
розподіл ресурсів (фондів, технологій, досвіду, управлінських кадрів тощо);
адаптацію до зовнішнього середовища (поліпшення стосунків з оточенням);
внутрішню координацію (відображення сильних і слабких сторін організації);
усвідомлення організаційних стратегій (формування організації, здатної вчитися на попередніх стратегічних рішеннях).
Як правило, стратегічне планування, здійснюється невеликим за чисельністю (5—10 осіб) спеціальним плановим відділом, а розроблені ним стратегії повинні розглядатися на нарадах вищого керівництва один раз на рік.
Стратегічне планування є складним процесом, який охоплює декілька етапів (рис. 1.2.2).

Рис. 1.2.2 Схематична модель стратегічного планування
Етап 1. Інформаційне забезпечення стратегічного планування. Полягає в підборі, класифікації та підготовці до використання інформації щодо розроблення стратегії, яка надасть достатньо повну та об'єктивну характеристику факторів зовнішнього і внутрішнього середовища, можливих стратегій, методичного забезпечення. Особливо важливою при цьому є необхідність використання сучасних інформаційних технологій.
Етап 2. Визначення місії і цілей організації. Місія — це чітко виражена причина існування організації. Формулювання, усвідомлення та проголошення місії організацією є важливим орієнтиром і критерієм оцінки її діяльності.
Місія може охоплювати такі напрями:
турботу про працівників;
турботу про виробництво;
політику зростання та фінансування фірми;
виробничі технології;
методи виходу й функціонування на ринку, пошуку потенційних ринків;
задоволення потреб споживачів;
публічне оголошення переконань і цінностей тощо.
Місією, наприклад, автомобільної фірми, яку заснував Генрі Форд, було проголошено забезпечення людей дешевим автомобільним транспортом; «Мотороли» — гідно служити задоволенню потреб суспільства, забезпечувати споживачів продукцією і послугами найвищої якості за помірні ціни; «Дженерал Електрікс» — забезпечення кращого життя.
Цілі — це конкретний очікуваний стан організації. Вони бувають довгостроковими (5 і більше років), середньостроковими (1—5 років) і короткостроковими (до 1 року) (рис. 1.2.3).

Рис. 1.2.3 Схема формування цілей організації
Цілі охоплюють усі сфери організаційного, виробничо-господарського, економічного функціонування організації.
Формуючи системи цілей, слід мати на увазі, що вони повинні:
бути конкретними і підлягати вимірюванню;
охоплювати всі рівні організації (ієрархічні);
мати різну тривалість (довгострокові, середньо-строкові, короткострокові);
бути досяжними та зрозумілими;
бути взаємодоповнюючими та взаємоузгодженими тощо.
Етап 3. Вибір методів аналізу факторів зовнішнього і внутрішнього середовища. На цьому етапі використовують такі методи дослідження, як порівняння, експертних оцінок, системного аналізу, статистичного і соціологічного дослідження, сукупної думки збутовиків, споживачів тощо.
Етап 4. Оцінка і аналіз факторів зовнішнього середовища. Суть його полягає в дослідженні представлених факторів. Важливо послуговуватися методикою, яка дала б змогу кількісно оцінити вплив кожного з них. Наприклад, силу впливу факторів можна оцінювати за стобальною системою. Максимальні величини балів щодо кожної з груп факторів можуть становити: економічних — 20 балів; політичних — 10; ринкових — 23; соціальних — 8; технічних і технологічних — 12 і т. д. Окремо можна оцінювати позитивний або негативний вплив. На основі отриманих даних можна виводити інтегральну оцінку.
Етап 5. Оцінка і аналіз факторів внутрішнього середовища. Передбачає вивчення стану факторів внутрішнього середовища організації (працівники, цілі, технологія, завдання, структура, ресурси). Це здійснюється шляхом дослідження стану фінансів, обліку, нормування та оплати праці, культурного рівня організації, використання робочої сили тощо, а також можливостей організації на ринку (маркетингові дослідження) тощо.
Етап 6. Виконання розрахунків, обгрунтувань, проектних розробок. Суть його полягає у визначенні найважливіших показників (економічних, соціальних, технологічних тощо), які найповніше характеризують очікувані стратегії та виявлені тенденції їх зміни, а також у доборі необхідних проектних заходів, що забезпечують формування стратегій. Це потребує підготовленої методичної бази, кваліфікованих кадрів, належного технічного забезпечення.
Етап 7. Формування варіантів стратегій (стратегічних альтернатив). Особливість цього етапу полягає в розробленні можливих для організації варіантів стратегічних планів, тобто базових стратегій або окремих складових одного стратегічного плану.
Етап 8. Вибір оптимальної стратегії. Є найважливішим етапом стратегічного планування. Полягає у виборі оптимальної стратегії діяльності організації на основі оцінювання таких факторів: очікувана ефективність, рівень ризику, ринкова ситуація, вплив минулих стратегій, вплив власників, залежність від факторів часу, вплив внутрішнього і зовнішнього середовища тощо.
1.2.3 Оперативне (поточне) планування
Оперативне планування є логічним розвитком стратегічного планування, способом реалізації стратегії організації з метою утвердження її місії. В американському менеджменті його ще називають плануванням реалізації стратегії.
Оперативне планування — різновид управлінської діяльності, який полягає в реалізації комплексу заходів, пов'язаних із розробленням оперативного плану з метою реалізації обраної стратегії.
Оперативне планування здійснюється у кілька етапів.
Етап 1. Інформаційне забезпечення оперативного планування. Полягає в підборі, класифікації та підготовці до використання інформації щодо формування системи планових параметрів, здійснення процесу бюджету-вання, формування альтернативних оперативних планів, методичного забезпечення. Ефективність цього етапу відчутно зростає за використання сучасних інформаційних технологій.
Етап 2. Оцінювання та аналізування сильних і слабких позицій організації. Відбувається так само, як за стратегічного планування.
Етап 3. Вибір і формування планових параметрів. Цей етап є одним із найважливіших в оперативному плануванні. Його завдання полягає в розробленні системи економічних, технологічних, соціальних показників, покликаних сприяти реалізації обраної стратегії діяльності з використанням наявного інформаційного забезпечення, виявлених сильних і слабких позицій організації. До економічних показників відносять рентабельність, ліквідність, розмір прибутку, обсяги виробництва та реалізації, економічну ефективність, ефект, собівартість продукції, оборотність тощо. Підсистема соціальних показників охоплює рівень заробітної плати, продуктивність праці, трудомісткість робіт, питому вагу управлінців у загальній чисельності працівників, витрати на поліпшення умов праці, оздоровчі та розважальні заходи, харчування працівників тощо. На відміну від економічної і соціальної підсистем, які можуть характеризувати підприємство будь-якого профілю діяльності, підсистема технологічних показників є специфічною для кожного підприємства. До них відносять виробничу потужність обладнання і устаткування, витрати на модернізацію та оновлення технології, фондовіддачу, фондомісткість, витрати на механізацію і автоматизацію виробництва тощо.
Етап 4. Формування бюджету ( бюджетування). Процес формування бюджету — збалансованого плану надходжень і видатків — у межах оперативного планування називається бюджетуванням. Передумовою запровадження бюджетних систем є визначення центрів відповідальності, які повинні здійснювати бюджетні процедури та відповідати за результати виконання бюджетів. Виділяють такі різновиди центрів відповідальності: центр вартості, центр видатків, центр обороту, центр прибутків та центр інвестицій. Узагальнену їх характеристику представлено в табл. 2.4. Визначення центрів відповідальності залежить від видів діяльності та типу внутрішньої побудови підприємства. Однак воно є необхідною передумовою для досягнення певних результатів, виявлення розбіжностей між запланованими і фактичними показниками.
Етап 5. Вибір адміністративних важелів. Адміністративні важелі формуються на основі тактики, політики, процедур, правил тощо. Тактика ґрунтується на короткотермінових планах. Тактичні плани розробляють на рівні середньої ланки управління з метою розвитку стратегій. Вони, діючи значно коротший час, ніж стратегії, швидко забезпечують отримання результатів. Політика є загальним керівництвом до дій і прийняття рішень, які полегшують досягнення цілей (наприклад, орієнтація на уніфікування деталей і вузлів автомобіля).
Процедурами є дії, які необхідно здійснювати в конкретній ситуації (наприклад, зміст інструкції з експлуатації автомобіля визначає сутність процедур його технічного огляду і обслуговування, ремонту тощо). Правило вказує на те, що повинно бути зроблено в конкретній ситуації (наприклад, порядок підпису документа). Правила і процедури вказують працівникам напрям дій, виключають повтори, формують зміст діяльності, дають змогу передбачати події, сприяють порівнянню із ситуацією в минулому, аналогом тощо.
Загалом застосування всіх адміністративних важелів забезпечує створення певного організаційно-розпорядчого механізму, спрямованого на реалізацію стратегії.
Етап 6. Формування альтернативних варіантів оперативних планів. На цьому етапі здійснюють розроблення альтернативних варіантів методів менеджменту — оперативних планів, тобто конкретних способів впливу керуючої системи організації на керовану з метою досягнення цілей, виконання завдань та встановлених показників. Як правило, альтернативні варіанти формуються з урахуванням оптимістичних та песимістичних прогнозів щодо умов функціонування організації.
Етап 7. Вибір варіанта оперативного плану, який відповідає прийнятій стратегії і є передумовою формування управлінського рішення. На підставі результатів розгляду альтернативних варіантів оперативних планів на відповідність стандартам і критеріям, вибирають най-оптимальніший план, тобто найдієвіший економічний метод менеджменту. Крім комплексності, він повинен відповідати обраній стратегії діяльності; враховувати зміни умов зовнішнього середовища функціонування, сильні та слабкі позиції організації; відображати всі сфери діяльності підприємства: виробництво, реалізацію, технічний і технологічний розвиток, матеріально-технічне достачання, охорону праці та довкілля, соціальний розвиток, фінанси тощо.
1.3 Функція контролю
Для забезпечення ефективної діяльності працівників недостатньо лише визначити завдання, організувати робоче місце, забезпечити оплату праці тощо. Всі ці процеси не результативні, якщо не реалізовується такий управлінський процес, як контролювання, який дає змогу виявити існуючі в організації проблеми та причини їх виникнення.
1.3.1 Сутність і особливості контролювання
Після планування, організування і мотивування діяльності в організації виникає потреба в забезпеченні постійних спостережень за ходом виробничо-господарських процесів та у виявленні проблем, які перешкоджають її успішному здійсненню.
Контролювання — вид управлінської діяльності щодо оцінки рівня виконання завдань і досягнення цілей, виявлення відхилень, збоїв, недоліків та причин їх виникнення з метою уникнення нагромадження й повторення помилок, мінімізації втрат, подолання складних організаційних проблем тощо.
Контролювання є важливим чинником забезпечення стабільності, передбаченого рівня розвитку економічного суб'єкта, уникнення криз. Важливими елементами контролювання є спостереження за станом суб'єктів економіки, цілеспрямований збір та аналіз інформації про них з метою прийняття оптимальних рішень.
Контролювання як вид управлінської діяльності (процес) реалізується на засадах виконання контрольних операцій (контролю).
Контроль — елемент І чинник управління економічними суб'єктами, процесами, який полягає у нагляді за ними з метою перевірки відповідності їх стану законодавчим нормам, визначеним стратегіям, цілям, програмам розвитку тощо.
Об'єктивна зумовленість і необхідність реалізації контролювання як функції менеджменту зумовлені такими чинниками:
складністю технологічних процесів в організації;
невизначеністю середовища (зміни законів, політики, структури організації, технології, ринку, складу і кваліфікації працівників організації тощо);
динамізмом науково-технічного розвитку;
ймовірністю виникнення кризових ситуацій;
особливістю глобалізації;
доцільністю підтримання успішних програм, напрямів діяльності організації;
тиском з боку конкурентів;
боротьбою за ринки збуту товарів тощо.
Мета контролю полягає в максимальному забезпеченні фактичних результатів очікуваним.
Для того щоб контроль відповідав своєму призначенню і реалізував свої функції, він повинен:
базуватися на чітко визначених нормативах, гнучких, динамічних технологіях;
відображати пріоритети організації відповідно до її стратегічного спрямування і діяльності;
орієнтуватися на досягнення конкретних результатів;
відповідати основному для організації виду діяльності;
забезпечувати своєчасність, мобільність, надійність, гнучкість контрольних операцій;
бути простим і зрозумілим;
бути економічним (ґрунтуватися на співставленні витрат на його здійснення з досягнутими результатами).
Процес здійснення контролю стосується інтересів конкретних працівників, що може спричинити зміну їх виробничої та соціальної поведінки. В кожному окремому випадку вона виявлятиметься по-різному. Певні працівники, які перебувають у сфері дії контролю, намагатимуться працювати якнайкраще, інші, щоб уникнути неприємностей, намагатимуться приховувати об'єктивну інформацію, вдаючись до її фальсифікації. Іноді контроль спричиняє стресовий стан у людей, породжує конфліктні ситуації, за яких можливі відхилення у психіці втягнутих у конфлікт людей. Тому контроль потребує вивіреного, делікатного використання з урахуванням усього спектра чинників, що впливають на його реалізацію.
1.3.2 Види контролю
Як важливу категорію менеджменту контроль класифікують за різними ознаками.
І.За змістом: фінансовий, виробничий, маркетинговий та ін.
Фінансовий контроль постає як система спостережень, перевірок, досліджень ефективності функціонування та розвитку фінансових ресурсів. Він зорієнтований на фінансову сферу підприємств, фінансові системи інших суб'єктів управлінських рішень, правильність і своєчасність виявлення відхилень, визначення необхідності у корективах тощо.
Виробничий контроль полягає в порівнянні показників виробничого планування із фактичними даними, а також в аналізуванні відхилень. Основними критеріями при цьому є строки виготовлення, якість продукції, ефективність використання виробничих потужностей, аналіз витрат виробництва. За періодичністю виробничий контроль буває регулярним та разовим, зосередженим на внутрішніх і зовнішніх операціях підприємств.
Контроль маркетинговий — це комплекс дій та заходів, пов'язаних із перевіркою рівня реалізації маркетингової концепції підприємства. Основними критеріями при цьому є ефективність рекламної кампанії, рівень конкурентоспроможності продукції, якість післяпродажного обслуговування споживачів, рівень витрат на збут і просування товару тощо.
2. За етапами виробничо-господарської діяльності: попередній, поточний та завершальний (рис. 1.3.1).

Рис. 1.3.1 Взаємозв'язки між попереднім, поточним та завершальним контролем.
Попередній контроль здійснюють на вході в систему організації на основі встановлених правил, процедур, норм поведінки тощо. Цей вид контролю використовують щодо людських (трудових), матеріальних, фінансових, інформаційних, енергетичних та інших ресурсів.
Поточний контроль реалізується в процесі виробничо-господарської діяльності. Його характеризують такі особливості:
управлінська необхідність;
наявність мети, спрямованість на конкретні робочі місця;
використання зовнішніх ресурсів для внутрішнього споживання організації;
націленість на всі види діяльності організації.
Завершальний контроль здійснюють на виході із системи організації. Він необхідний для виявлення рівня досягнутих результатів в організації, забезпечення мотивації (наприклад, при оплаті праці, преміюванні тощо).
1.3.3 Система контролювання виробничих процесів
Особливості створення, налагодження та функціонування системи контролювання в організації можна проілюструвати на прикладі контролю виробничих процесів.
Система контролювання виробничих процесів — механізм контролю за такими елементами виробничо-господарської діяльності, як науковий пошук, проектування, розроблення технологій, підготовка виробництва, основне виробництво, реалізація продукції! маркетинговий пошук.
Вона покликана оцінювати ефективність робіт на всіх етапах циклу створення та реалізації продукції з метою забезпечення її конкурентоспроможності на внутрішньому і зовнішньому ринках. Тобто така система контролю повинна забезпечити певний рівень якості продукції, який задовольняв би споживача, гарантував виконання замовлень у встановлені терміни й на належному рівні. Тому вона є одним із найдієвіших об'єктивних методів підвищення ефективності виробництва. Оскільки ця система повною мірою задіяна в процесі управління виробництвом, цілком виправдано її відносять до керуючої системи.
Робота щодо забезпечення ефективності системи контролю виробничих процесів на підприємстві охоплює такі етапи:
визначення рівня якості відповідно до вимог споживачів;
створення умов для досягнення відповідного рівня якості: розроблення технології, підготовка обладнання, придбання матеріалів, підбір і навчання працівників, організація технічного контролю;
налагодження виробничого процесу з метою якісного виготовлення виробів;
ліквідація виявлених недоліків у якості продукції і виробничого процесу;
стабілізація досягнутого рівня якості продукції.
Система контролю виробничих процесів охоплює сукупність функцій і методів управління, управлінський апарат, а також відповідне нормативне та матеріальне забезпечення. Контроль виробничих процесів, як правило, здійснює самостійний структурний підрозділ підприємства, очолюваний заступником директора з якості. Управління системою контролю виробничих процесів починається на етапі науково-дослідницьких, проектно-конструкторських і технологічних розробок, а завершується на етапі маркетингового пошуку.
До функцій системи контролю виробничих процесів належать: аналіз конструктивних, технологічних, виробничих і експлуатаційних дефектів; виявлення помилок у кресленнях, схемах, технічних умовах, технологічних картах та іншій технічній документації; контроль якості матеріалів, напівфабрикатів, комплектуючих виробів, що надходять на підприємство, перевірка їх відповідності вимогам документації; стеження, щоб надходили на виробництво тільки потрібні матеріали і деталі, які пройшли контроль і випробування; контроль якості інструментів і оснащення власного виробництва, що надходять в експлуатацію, а також інспектування стану оснащення та інструментів, які перебувають в експлуатації.
Застосування системи контролю виробничих процесів забезпечує надійний контроль за дотриманням технологічної дисципліни на робочих місцях; ретельне випробування та приймання готової продукції; перевірку правильності оформлення документів на виготовлення і передачу продукції на склад або замовнику; контроль комплектності та якості пакування готових виробів, які відвантажують замовнику; перевірку стану засобів контролю, вимірювальної техніки; виявлення, аналіз та облік браку; вивчення рекламацій; розроблення разом з іншими підрозділами підприємства заходів щодо усунення браку і поліпшення якості виробів.
Через систему контролю виробничих процесів до виробничих підрозділів надходять пропозиції щодо впровадження прогресивних засобів контролю, обґрунтування доцільності контрольних операцій, підбору виконавців контролю з метою підвищення його ефективності й зниження трудомісткості. Забезпечуючи інтереси підприємства на ринку, така система запобігає виникненню збитків, пов'язаних з виправленнями і переробками, прихованим браком, усуненням дефектів у виробах. Усе це суттєво впливає на кінцеві результати діяльності підприємства.
Ефективність системи контролю виробничих процесів залежить від того, наскільки якісно реалізуються всі її функції та завдання. Для підвищення ефективності управління системою і посилення її впливу на кінцеві результати виробництва при проектуванні конструкції й технології виробів визначають методи та засоби контролю, щоб їх технічні характеристики і показники максимально відповідали вимогам споживачів. На стадії організації контролю основну увагу зосереджують на вхідному контролі, від ефективності якого значною мірою залежить одержання конкурентоспроможної продукції. При цьому дбають про забезпечення тісного зв'язку з підприємствами-постачальниками, оптимізацію технології та управління виробництвом тощо.
Нормативною основою функціонування системи контролю виробничих процесів є положення, в якому визначають її структуру, враховуючи вид, масштаб, тип виробництва, особливість продукції, права, обов'язки та відповідальність усіх підрозділів системи, їх зв'язок з іншими функціональними службами підприємства. Приблизну структуру системи контролю виробничих процесів подано на рис. 1.3.2. Як правило, в ній створюють два підрозділи (групи), покликані забезпечити впровадження і застосування міжнародних стандартів, а також конкурентоспроможність продукції на стадії науково-пошукових і конструкторсько-технологічних робіт. Обидві групи на цій стадії отримують інформацію безпосередньо від начальника системи контролю виробничих процесів. Результати її використання надходять у зворотному напрямі безпосередньо начальнику системи контролю, обминаючи всі проміжні структури, а також заступників начальника системи. Інформацію про діяльність груп отримує і головний інженер підприємства, оскільки вона потрібна йому для оперативного впливу на процес виробництва. Директор підприємства інформацію про результати діяльності груп отримує безпосередньо від начальника системи контролю виробничих процесів, а про результати щодо її реалізації у виробництві — від головного інженера.
Управління системою контролю виробничих процесів очолює заступник директора з якості — начальник системи контролю виробничих процесів. Він здійснює стратегічне управління системою, безпосередньо керує роботою таких груп: застосування стандартів; атестації виробництва і виробничого персоналу; технологічною; забезпечення конкурентоспроможності продукції на стадії науково-пошукових і конструкторсько-технологічних робіт.
Узгоджені дії з підрозділами є запорукою стабільності й ефективності роботи системи контролю виробничих процесів. При цьому важливо налагодити дієвий механізм взаємозв'язку системи контролю виробничих процесів зі службами і підрозділами підприємства. З одного боку, відділи і служби забезпечують систему контролю виробничих процесів інформацією, необхідною для успішного управління системою, з іншого — система ставить перед підрозділами конкретні техніко-організаційні вимоги, залучає спеціалістів і керівників до вирішення конкретних питань, пов'язаних із поліпшенням якості продукції.

Рис. 1.3.2. Організаційна структура управління системою контролю виробничих процесів
1.4 Планування та контроль капіталовкладень
До основних складових процесу планування та контролю капіталовкладень належать:
пошук і дослідження об'єкта капітальних вкладень;
розробка кількісних показників і якісних характеристик різних варіантів інвестування;
порівняння варіантів і вибір найкращого;
розробка проекту плану капіталовкладень з урахуванням специфіки обраного об'єкта й реальних можливостей фінансування капітальних вкладень;
розгляд пропозицій і прийняття рішення про капіталовкладення, складання плану його реалізації;
організаційно-економічний контроль процесу інвестування на всіх його стадіях.
Інвестиційний процес має найвищу ефективність за умови досягнення стану гармонії як при прийнятті рішення, так і при його втіленні. Проаналізувавши випадки невдалих капіталовкладень (на жаль, досить поширених), можна сформулювати такі їх причини. Перша — незбалансованість частин, компонентів, факторів і функцій, що стосуються інвестиційної ідеї, процесу планування та реалізації плану. Друга важлива причина — розбіжність планів підприємства і капіталовкладень. У цьому разі ймовірність невдачі тим вища, чим менше гармонії між інвестиційним проектом і стратегією розвитку підприємства. Третя причина пов'язана з непередбачуваністю й мінливістю економічної ситуації. До цього особливо треба бути готовим в умовах ринкової економіки. І нарешті, найпомітніша причина невдалого й неефективного інвестування полягає в незбалансованості інвестиційних потужностей, причому в різних вимірах і проявах, що охоплюють проектно-кошторисну документацію, будівельні конструкції та матеріали, машини, механізми, устаткування тощо. Усі ці причини слід ураховувати, розроблюючи інвестиційну політику підприємства, складаючи комплекс заходів для досягнення гармонії в інвестиційних потужностях.
В умовах вільних ринкових відносин підприємства, що виробляють ту чи іншу продукцію, після насичення своєю продукцією споживчого ринку робитимуть усе можливе для того, щоб знайти нових споживачів і нові сфери збуту своєї продукції. У ринковій економіці не споживач іде до підприємства, а навпаки, підприємство шукає споживача. Це дуже потужний стимул. Вигідні варіанти слід шукати постійно й після того, як підприємство нагромадить достатньо коштів для інвестиційної діяльності. Фінансові кошти, звичайно, мають бути збалансовані з інвестиційними ресурсами. Дефіцит порушує різні об'єктивні пропорції та співвідношення.
Пошук нових ідей щодо капіталовкладень — прерогатива не тільки керівництва підприємства чи дослідного підрозділу. У ньому мають бути зацікавлені всі працівники. Це досягається природним шляхом у разі впровадження інших форм власності (наприклад, акціонерної), які не відокремлюють працівника від засобів виробництва та отриманих прибутків. Решта налагоджується за допомогою автоматичних економічних регуляторів.
Важливо мати резерв ефективних ідей щодо капіталовкладень. Вони не збільшують балансу підприємства, а дають йому змогу утримувати свої позиції на ринку й захоплювати нові сфери, що так само важливо в умовах "дефіцитної" (але вільної) економіки. Наявність величезного дефіциту — ненормальне, а тому тимчасове явище. Після його ліквідації значущість валових показників відійде на другий план, звільнивши місце для якості й науково-технічного рівня виробів.
Нова ідея щодо капіталовкладення на стадії її зародження формулюється значною мірою абстрактно. У загальних рисах, спираючись на попередній досвід і наукові знання, робиться певний висновок, наприклад такий: ідея плідна, принесе успіх і може бути рекомендована для реалізації. Після цього слід перевести подібні характеристики на мову суворих кількісних характеристик. Оскільки інвестиції зачіпають довгострокові інтереси й реалізуються протягом тривалого часу, існує потреба надійного довгострокового планування та прогнозування. Тут є системи, підходи й методи, достатньою мірою випробувані в умовах багаторічного централізованого планування, які доцільно використовувати й надалі, модифікувавши до умов ринкової економіки.
З метою порівняння різних варіантів капіталовкладень і вибору найкращого треба оцінити рентабельність кожного з них. Рентабельність залежить від багатьох компонентів, найважливішими з яких є поточні прибутки, поточні витрати, витрати на придбання (основні капіталовкладення) і залишкова вартість. Слід ураховувати також інвестиційний період і розрахунковий розмір ренти. Розрахувавши ці компоненти, можна одержати вихідну інформацію для оцінювання рентабельності варіанта капіталовкладення.
Дуже важливо під час розрахунку наведених компонентів ураховувати вірогідність прогнозів щодо капіталовкладення. При цьому бажано спиратися на найімовірніші прогнози. Досягти такого рівня у прогнозуванні дуже важко, але необхідно, бо процес інвестування завжди пов'язаний з великими витратами, а тому їх марнотратство може означати для підприємства крах усієї діяльності.
Поточні прибутки, які підприємство одержує через інвестиції, є постійними. Розрахунок і оцінювання їх у динаміці змикаються з проблемою прогнозування обсягів реалізації вироблюваної продукції на ринку. Для цього будують графік у вигляді кривої, яка складається з трьох частин, що відповідають таким процесам: завоювання ринку (або збільшення обсягів продажу), насичення потреб і зменшення попиту. Отже, визначення поточних прибутків і вплив на їх збільшення потребують постійного вивчення ринку і попиту споживачів. Від цього залежать ефективність інвестиційного процесу і ступінь ризику, пов'язаного з досить тривалим інвестуванням капіталовкладень.
Поточні витрати здійснюються тривалий час залежно від капіталовкладень і відображають розмір компенсації за споживання у процесі виробництва різних видів ресурсів — матеріальних, трудових, енергетичних тощо. Розраховуючи ці ресурси, так само як і поточні прибутки, треба враховувати фактор часу, оскільки капіталовкладення мають тривалу комплексну дію на процес виробництва й неоднаковою мірою охоплюють окремі види виробничих ресурсів. Можливі різні варіанти, які слід ураховувати протягом усього періоду інвестування, тобто вводити в розрахунки функцію часу. Для кожного виду ресурсів можна побудувати певну криву і комплексно проаналізувати динаміку всіх кривих у часі.
Витрати на придбання (основні капіталовкладення) — це великі одночасні витрати, які робляться на початку інвестиційного циклу і є передумовою всіх подальших витрат і прибутків. Це найважливіша стаття витрат у структурі інвестицій. Обчислити її легко, потрібно лише враховувати можливість появи додаткових затрат на придбання. Про це іноді забувають господарські керівники, здійснюючи поступове технічне переоснащення підприємств і модернізуючи устаткування.
Принагідне зазначимо, що в інвестиційних розрахунках важливо враховувати залишкову (або утильну) вартість капіталовкладення, тобто ту, що залишається наприкінці інвестиційного періоду. У поширеній нині практиці її не беруть до уваги; основні фонди, як правило, експлуатують до повного фізичного зношення, а моральні втрати не враховують. При цьому спостерігається відставання від сучасного рівня науково-технічного прогресу. Певно, ринок примусить змінити підходи й у цьому питанні. Тоді утильну вартість капіталовкладення прогнозуватимуть ще на початку інвестиційного періоду.
До речі, інвестиційний період, або термін капіталовкладення, є дуже важливим компонентом у довгостроковому й поточному плануванні. Оскільки він впливає на виробничий процес у широкому розумінні, то для порівняння різних варіантів капіталовкладень, вивчення питань про їх рентабельність слід обов'язково мати уявлення про його тривалість. Інвестиційний період є невід'ємною частиною будь-якого капіталовкладення й використовується для складання інвестиційного плану.
В інвестиційному плануванні винятково велике значення має розрахунок ренти. Капітальні вкладення відволікаються на кілька років, а за сучасних термінів будівництва — і десятиріч. Витрати й прибутки з урахуванням фактора часу мають різну цінність. Сьогоднішня вартість грошей перевищує майбутню. Ідеальний варіант співвідношення витрат і прибутків у часі міг бути, наприклад, таким: прибутки — сьогодні, а витрати — завтра (хоча на практиці такого не буває). Тому завдання правильного розподілу витрат і прибутків у часі дуже важливе в інвестиційному плануванні.
В економічній теорії розрахунковий розмір ренти розглядається з двох поглядів: як фактор витрат і прибутку. Це означає, з одного боку, що рента — це витрати, необхідні для перетворення капіталу на капіталовкладення, а з іншого боку, що розрахунковий розмір ренти — це прибуток (у відсотках), який передбачається від цього капіталовкладення або ж вміщення капіталу в альтернативні варіанти капіталовкладень.
Природно, що розмір ренти не може бути менший від норми прибутку, встановленої для інвестування капіталу. При визначенні рентабельності різних варіантів капіталовкладень у межах одного підприємства розрахунковий розмір ренти є цільовим прибутком, вираженим у процентах, тобто нормою прибутку (нормою ренти), що передбачається для інвестиції. Такі самі розрахунки використовують і у складніших ситуаціях.
В інвестиційному плануванні важливо враховувати ймовірність досягнення бажаного ефекту й надійність реалізації окремого варіанта капіталовкладень. Із цим пов'язане прагнення керівництва й колективу підприємства уникнути невиправданого ризику та надійно реалізувати свої інвестиції. З поширенням приватної власності значущість цього фактора зростатиме, оскільки інвестиції перестануть бути "нічиїми", як часто траплялося донедавна.
Обережна інвестиційна політика на перших етапах переходу до ринкових відносин притаманна багатьом підприємствам і організаціям, особливо тим, де переважають колективні форми власності. За наявності багатьох диспропорцій і "голодного" ринку така політика багато в чому виправдана. Часу для пристосування до нових умов цілком достатньо, щоб підготуватися до майбутніх неординарних інвестиційних рішень, які б давали змогу утримувати зайняті позиції на ринку серед рівноправних партнерів. Але треба враховувати небезпеку невикористання нововведень і технічних удосконалень і сміливіше впроваджувати досягнення науково-технічного прогресу.
Сфера застосування інвестиційних розрахунків згідно із стратегічними і тактичними міркуваннями має неухильно розширюватися. Найчастіше їх доцільно застосовувати під час техніко-економічного обґрунтування спорудження підприємства, вибору району будівництва й конкретного будівельного майданчика, встановлення раціональної потужності об'єкта будівництва, вибору форми відтворення основних фондів і виробничих потужностей (нове будівництво, розширення, реконструкція, технічне переоснащення чи модернізація устаткування), визначення технології виробництва, номенклатури вироблюваної продукції тощо. Наведені найхарактерніші приклади свідчать про те, що інвестиційні розрахунки можна виконувати як для окремого підприємства, так і для будь-якої галузі й регіону. Наприклад, прийняти рішення про будівництво підприємства можна лише після того, як буде вичерпана можливість досягти необхідних обсягів виробництва тієї чи іншої продукції на діючих підприємствах з урахуванням якнайповнішого використання їх потужностей. І в цьому разі можливі різні варіанти — від модернізації чи заміни устаткування на якомусь підприємстві галузі з метою збільшення обсягів випуску продукції до спорудження нового підприємства, якщо інші варіанти виявляться менш прийнятними.
Планування - це вміння передбачити мету підприємства, оцінка результатів його діяльності та визначення необхідної кількості всіх видів ресурсів для досягнення поставленого завдання. Планування - одна із основних функцій менеджменту організацій. На підставі системи планів, складених на підприємстві в подальшому, здійснюється процес організації основних видів робіт, мотивація персоналу, що їх виконує, контроль результатів та їх оцінка з точки зору планових показників.
2.Аналіз реалізації основних функцій управління ДТГО „Південно-Західної залізниці”
2.1 Характеристика Південно-Західної залізниці
Державно-територіальне галузеве об’єднання Південно-Західна залізниця (скорочено Південно-Західна залізниця або ПЗЗ) – це одна з шести гілок залізничної мережі України, яка підпорядкована Укрзалізниці (Державній адміністрації залізничного транспорту України) і належить до сфери управління Міністерства транспорту України.
До складу ПЗЗ входить велика кількість підрозділів, підприємств, дирекцій, дистанцій, служб і т.п.
Юридична адреса ДТГО “Південно-Західна залізниця”: м. Київ, вул.Лисенка,6 (Управління).
Форма власності: державна.
Галузь: залізничний транспорт.
Відповідно до Постанови Кабінету Міністрів України “Про перелік робіт (послуг), що належать до основної діяльності залізничного транспорту” від 16.02.1998р. за №173 до робіт (послуг), що належать до основної діяльності залізничного транспорту належать:
послуги експлуатаційної діяльності;
роботи (послуги), що виконуються (надаються підрозділами основної діяльності.
Основні діяльність залізничного транспорту є складовою частиною загальної господарської діяльності і означає діяльність усіх взаємопов’язаних підприємств та структурних підрозділів галузі, спрямованого на виконання єдиного перевізного процесу.
Основна діяльність залізниці – діяльність усіх взаємопов’язаних відокремлених підрозділів, що входять до складу залізниці, спрямована на виконання і обслуговування єдиного перевізного процесу, тобто експлуатаційна (перевізна) та підсобно-допоміжна діяльність, пов’язана з обслуговуванням експлуатаційної діяльності.
Експлуатаційна діяльність – діяльність відокремлених підрозділів, безпосередньо пов’язана з перевезенням пасажирів, вантажів, вантажообігу, пошти тощо.
Підсобно-допоміжна діяльність – діяльність відокремлених підрозділів, пов’язана з виконанням ряду допоміжних операцій та організацією виробництв, продукція (послуги) яких використовується переважно для потреб експлуатаційної діяльності залізниць.
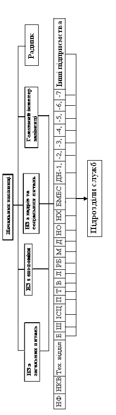
Структура ПЗЗ
НЗ – заступник начальника, НФ – фінансова служба, НКВ – служба капітальних вкладень, Е – гос-во електрифікації, Ш – гос-во сигналізації та зв’язку, П – гос-во колії, ІСЦ – інформаційно-статистичний центр, Т – локомотивне гос-во, В – вагонне гос-во, Л – пасажирське господарство, РБ - апарат дорожнього ревізора з безпеки руху, М – комерційне гос-во, Д – служба перевезень, НО – служба воєнізованої охорони, НХ - госп-во матеріально-технічного забезпечення, БМЕС - служба будівельно-монтажних робіт та цивільних споруд, ДН-1 – Київська дистанція, ДН-2 – Козятинська дистанція, ДН-3 – Жмеринська дистанція, ДН-4 – Коростенська дистанція, ДН-5 Конотопська дистанція, ДН-6 – Дистанція по будівництву авто-залізничного шляхопроводу, ДН-7 – Дистанція по будівництву вокзального комплексу ст. Дарниця та технічної пасажирської станції. Інші господарства – господарська служба, Автобаза, МЦРЗ „Хмільник”, ДОТ „Променистий”, Дитяча залізниця, ДСО „Локомотив”.
У господарств Е, Ш, Т, П, В, Л, РБ, М, Д, НО, НХ, НО, БМЕС, ДНів є багато підприємств які знаходяться в їхньому підпорядкуванні та на балансі.
До складу ПЗЗ входить велика кількість підрозділів, підприємств, дирекцій, дистанцій, служб і т.п., в тому числі і Служба капітальних вкладень (скорочено – служба НКВ), яка є виробничо-господарським галузевим підрозділом без права юридичної особи.


2.2 Основні положення служби НКВ
Служба капітальних вкладень:
1) Здійснює функції основного замовника Південно-Західної залізниці по об’єктах капітального будівництва та капітального ремонту.
2) Організовує та забезпечує разом з іншими службами, проектними та підрядними організаціями своєчасне та комплексне введення в експлуатацію виробничих потужностей та об’єктів невиробничого призначення, побудованих за рахунок капітальних вкладень та коштів на капітальний ремонт.
3) Розробляє плани капітальних вкладень та капітального ремонту по залізниці, згідно заявок служб, проводить фінансування, а також здійснює контроль за цільовим використанням коштів, запланованих на фінансування цих програм. Кошти на капітальне будівництво та придбання рухомого складу, обладнання, модернізацію та ремонт надходять на поточний рахунок служби від Укрзалізниці та ДТГО Південно-Західної залізниці згідно з фінансовим планом залізниці.
4) Контролює рівень договірної ціни на виконання будівельно-монтажних, проектно-вишукувальних робіт та капітальному ремонті.
5) Забезпечує проектно-кошторисною документацією на окремі об’єкти плану капітального будівництва та капітального ремонту.
6) Проводить оплату виконаних робіт по плану капітальних вкладень і капітальному ремонту на залізниці згідно укладених контрактів, а також інших платежів, пов’язаних з підготовкою вихідних даних на проектування (подовження погоджень, технічних умов виданих на проектування та будівництво, експертизи проектів) і платежів пов’язаних з вводом в дію об’єктів будівництва, організаційними питаннями, що виникають в ході будівництва (компенсація юридичним та фізичним особам на основі документів вартості знесених споруд, зелених насаджень, відчуження землі та сільгоспвтрати, отримання ордерів на розриття , пусконаладка та ін.).
7) Фінансує та контролює придбання рухомого складу, машин, механізмів, які фінансуються за рахунок централізованих коштів Укрзалізниці та Південно-Західної залізниці.
8) Здійснює проведення єдиної технічної політики з метою скорочення інвестиційного періоду в проектуванні, будівництві та капремонті і підвищення ефективності капітальних вкладень, забезпечення раціонального використання коштів в умовах ринку, зменшення обсягу незавершеного виробництва по капітальному будівництву і проектно-вишукувальних роботах.
9) Розробляє річні плани затверджені Укрзалізницею по капвкладеннях та капремонту об’єктів. Доводить затверджені плани до підрядних будівельних організацій, служб, підрозділів залізниці, планових органів областей.
10) Здійснює методичне керівництво службами, структурними підрозділами залізниці стосовно питань капітального будівництва та капремонту.
11) Разом зі службами -титулотримачами, дирекціями по залізничним перевезенням розробляє титульні списки та набори робіт на будівництво, капремонт, доводить їх підрядним організаціям.
12) Отримує через проектно-вишукувальні групи, які знаходяться на територіях обслуговування дирекцій по залізничним перевезенням вихідних даних для підготовки завдання на проектування та ведення проектних робіт (ТУ, АПЗ, рішень місцевих адміністративних органів).
13) Підготовляє разом з учасниками будівництва контракти на будівництво, капремонт, проектування та авторський нагляд. Погоджує договірну ціну на будівництво, капремонт та проектні роботи, контролює виконання обов'язків передбачених укладеними контрактами. Веде сумісно з юридичною службою залізниці претензійну роботу по капітальному будівництву, проектуванню та капремонту.
14) Контролює забезпечення службами - титулоутримачами інженерної підготовки території відведеної під будівництво (відведення площадки, відключення мереж, лісорубні квитки, документи на компенсацію за знесення споруд, зелених насаджень та ін.).
15) Приймає від проектних організацій проектно-кошторисну документацію, погоджує її та подає на затвердження до початку проведення робіт. Передає проектну документацію генеральним підрядним організаціям.
16) Організує проведення експертизи проектно-кошторисної документації та усунення зауважень авторами проектів.
17) Розглядає зауваження по проектно-кошторисній документації підрядних організацій і готує пропозиції щодо їх усунення.
18) Фінансує через банк роботи по капітальному будівництву та капремонту, придбанню рухомого складу та обладнанню.
19) Здійснює систематичний контроль і технічний нагляд за будівельними роботами з метою забезпечення обсягів та якості виконуваних робіт вимогам проекту та будівельних норм, відповідності вартості виконаних робіт прийнятим рішенням в договірній ціні.
20) Здійснює статистичний і бухгалтерський облік витрат по капітальних вкладеннях та капремонту, складає квартальні та річні звіти по областях і подає їх у відповідні структурні підрозділи залізниці.
Служба має закінчену бухгалтерську звітність, веде баланс капітальних вкладень і окремо баланс капітального ремонту, які входять до зведеного балансу залізниці.
21) Проводить щорічні інвентаризації незавершеного будівництва. Оформлює консервації та роз консервації об’єктів.
22) Забезпечує поставку на об’єкти обладнання для загально будівельних робіт самостійно та через господарську службу НХ. Поставку технологічного та спеціального обладнання (для тягових підстанцій, ізоляторів та підвісної арматури при електрифікації залізниці, СЦБ та зв’язку, кранів, верстатного обладнання, медичного) здійснюють відповідні служби з фінансовим забезпеченням службою капвкладень.
23) Готує пропозиції щодо складу і строків роботи робочих і державних приймальних комісій, бере участь в роботі цих комісій. Подає на затвердження акти державних приймальних комісій.
24) Визначає кінцеві витрати по закінченому будівництву і передає на баланс відповідним службам, підприємствам ці витрати для зарахування в склад основних фондів.
25) Виконує функції замовника щодо спорудження об’єктів житлово-побутового призначення за рахунок індивідуальних вкладів працівників залізниці, а також сторонніх організацій та осіб.
26) Готує необхідну документацію (угоди, контракти) між залізницею і сторонніми організаціями стосовно питань організації будівництва та капремонту окремих об’єктів, сумісного користування і вирішення питань окремих поставок устаткування.
27) Оформлює угоди на співпрацю та пайову участь в будівництві.
28) Узагальнює плани служб по модернізації рухомого складу і придбання устаткування, що не входить в кошториси на будівництво.
29)Узагальнює витрати затрачені на створення основних засобів по капітальному будівництву та ремонту, модернізації рухомого складу, машин, механізмів, придбання обладнання передаються госпрозрахунковим службам та підприємствам, підпорядкованим залізниці.
30) Готує накази по залізниці, що стосуються питань капітального будівництва та капремонту.
Служба капітальних вкладень діє на правах виробничо-господарського підрозділу Південно-Західної залізниці.
Всі розрахунки Служби капітальних вкладень з іншими підприємствами залізниці виконуються через Фінансово-економічну службу залізниці.
2.3 Аналіз основних економічних показників
Якщо проаналізувати обсяги капітальних інвестицій по місяцям то спостерігається тенденція збільшення інвестування в літній період. Це пов’язано з тим, що під час даного сезону зростають прибутки залізниці, у зв’язку із підвищеним попитом на перевезення. А тому зростають і резерви фінансування капітальних інвестицій.
А зростання обсягу капітальних інвестицій під кінець року свідчить про намагання виконати встановлений річний план.
Щодо визначення ефективності капітальних вкладень, то визначити їх фактичну прибутковість по Службі капітальних вкладень є неможливим, так як капітальні вкладення переважно мають довгостроковий термін окупності (більше 3-х років).
Визначенням прогнозної ефективності капітальних вкладень займається технічний відділ служби капітальних вкладень та планово-економічний відділ.
Ефективним вважається такі інвестиційні вкладення, які виконані з мінімальною витратою коштів. Тобто до задач зазначених відділів належить пошук таких постачальників та підрядників, пропозиція яких є оптимальнішою на ринку, коли якість та ціна знаходяться у вигідному, оптимальному співвідношенні.
Значний вплив на виконання планів капітальних вкладень має рівень фінансування, і нестача фінансування інвестиційної діяльності призводить до збільшення залишків незавершеного будівництва, що є небажаним та розцінюється як нераціональне використання капіталу.
Таблиця 2.1 - Обсяги виконання та фінансування капітальних вкладень виробничого призначення по Південно-Західній залізниці за 2003 рік
|
Південно-Західна залізниця |
Всього капітальні вкладення |
у т.ч. централізовані |
Власні кошти |
||||||
|
План |
Виконано |
% |
План |
Виконано |
% |
План |
Виконано |
% |
|
|
Об’єкти
виробничого призначення |
584267 |
638040 |
109,2 |
332172 |
296741 |
89,3 |
252095 |
341299 |
135,4 |
|
Капітальне будівництво |
64748 |
82063 |
126,7 |
- |
- |
- |
64748 |
82063 |
126,7 |
|
Рухомий склад |
267253 |
265974 |
99,5 |
257753 |
257492 |
100,0 |
9500 |
8482 |
89,3 |
|
Модернізація |
147004 |
182370 |
124,1 |
25574 |
10238 |
40,0 |
121430 |
172132 |
141,8 |
|
Механізми та обладнання |
97428 |
84358 |
86,7 |
42545 |
24127 |
56,7 |
54883 |
60231 |
109,7 |
Як видно з вищенаведеної таблиці, план по капітальному будівництву виконано на 126,7% в т.ч. перевиконано план капітального будівництва по господарствах Електропостачання, Сигналізації та зв’язку, Колії, Вагонному, Пасажирському, Інших. Перевиконання пояснюється тим, що швидкими темпами проводилась реконструкція інженерних будівель і споруд на напрямку швидкісного руху Київ-Московський-Миронівка, та обладнання напрямку пристроями АСДКБ, понад плану виконані роботи по встановленню АСДКБ на дільницях Вінниця-Волочиськ, Козятин-Бердичів-Мирополь, Шепетівка-Цвітоха, - для подальшого швидкісного руху поїздів, а також по виробничої необхідності були побудовані витяжні тупики по ст. Полонне, Гречани. По пасажирському господарству прискореними темпами побудовані залізничні вокзали на ст. ст. Новгород-Сіверський, Семенівка, виконані роботи по реконструкції охоронної пожежної сигналізації Управління залізниці.
Виконуючи розпорядження керівництва Укрзалізниці, та Залізниці, було розроблені заходи по зменшенню незавершеного будівництва, особливо по добудові довготривалих об’єктів, виконання цих заходів також збільшило перевиконання плану капітального будівництва.
За 2003 рік були введені в експлуатацію об’єкти:
Комплекс робіт по впровадженню швидкісного руху поїздів на дільниці Київ-Московський – Миронівна, 103 км на суму основних фондів 67503 тис. грн.
Замінено повітряні лінії зв’язку на кабельні 88км на дільницях Кошари-Ворожба, Новгород-Сіверський-Семенівка, Вінниця-Гайсин, Козятин-Погребище-Жашків, Ярмолинці-Закупне-Гусятин, Глухів-Баничі на загальну суму 1699 тис. грн.
Впроваджена система автоматизованої ідентифікації рухомого складу на ст.ст. Хутір-Михайлівський, Козятин, Зерново на загальну суму 931 тис. грн.
Введені в експлуатацію 3 витяжні колії з пунктами ремонту вагонів на ст.ст. Полонне, Пенізевичі, Гречани на загальну суму 1378 тис. грн.
Побудовані вокзали на ст.ст. Новгород-Сіверський – 100 пас. на суму 17751 тис. грн., Семенівка – 100пас. на суму 5055тис. грн., Хролін – 25 пас. на суму 1289 тис. грн.
Реконструйований вокзал на ст. Шепетівка – на суму 12625 тис. грн.
Відбулася реконструкція пасажирської платформи ст. Київ-Петрівка.
Введено основних фондів по об’єктах будівництва виробничого призначення на суму 91642 тис. грн.
Незавершене будівництво по залізниці на 01.01.2004р. складає 68964 тис. грн., що на 33926 тис. грн. менше ніж на 01.01.2003р.
При річному плані придбання рухомого складу на суму 267253 тис. грн., виконано за 2003 рік 265974 тис. грн., або 99,5%.
Господарство колії при плані 32577 тис. грн., виконало 56994 тис. грн., або 175,0%.
Для забезпечення модернізації колії та інших інженерних споруд, в т.ч. на напрямку швидкісного руху Київ-Миронівка, які виконувались прискореними темпами придбано машини для заміни шпал УНО-80 - 1 одиниця на суму 1223 тис. грн., машина АФМ-200 - 1 одиниця на суму 17576 тис. грн., машина для забруднювачів СЗ-1604 - 2 одиниці на суму 32784 тис. грн., спец рухомий склад для забруднювачів РС-3 - 1 одиниця на суму 1750 тис. грн., мотовоз і мотриса АГД-1 з причепом УП-4 на суму 3662 тис. грн.
Локомотивне господарство при плані 176293 тис. грн., виконало 188199 тис. грн., або 106,7%. Придбано електропоїзд змінного струму ЕПЛ9Т-002, 003,004,005,006,007 на суму 115658 тис. грн., електропоїзди ЕД-9М №0069,0071,0077, (3 одиниці) на суму 54486 тис. грн. - 2 одиниці моторних вагонів на суму 3115 тис. грн., та 2 одиниці головних вагонів на суму 6458 тис. грн.
Пасажирське господарство при плані 48383 тис. грн. (по централізованому постачанню) придбало 11 одиниць пасажирських вагонів на суму 20781 тис. грн.
Намічений до придбання у 2003 р. парк пасажирських вагонів було поповнено також за рахунок перевиконання плану по модернізації пасажирських вагонів.
При річному плані 147004 тис. грн. освоєно 182370 тис. грн., або 124,1%. Оновлення основних засобів через модернізацію проведено по господарствах Е, Ш, П, Т, В, Л, РБ, М, НО, БМЕС, інші.
По господарству колії при плані 96248 тис. грн. виконано 95354 тис. грн., або 99,1%. Проведена модернізація 124,2 км колії на суму 92500 тис. грн., в тому числі на напрямку швидкісного руху Київ-Московський – Миронівна довжиною 37,5 км на суму – 32280 тис. грн., також виконана модернізація колійних машин на суму 668 тис. грн., для посилення безпеки руху поїздів виконано перевлаштування переїздів неохоронних в охоронні на суму 1334 тис. грн. та інше.
Локомотивне господарство при плані 33285 тис. грн., виконано 27192 тис. грн., або 81,7%. Проведена модернізація 20 одиниць тепловозів ЧМЕ3 на суму 367 тис. грн., модернізація електровозів ЧС4, 23 одиниці на суму 16405 тис. грн., електровозів ВЛ80, 58 одиниць на суму 1683 тис. грн., дизель поїздів, та електровозів в умовах локомотивного депо 18 одиниць на суму 6545 тис. грн., виконано мікропроцесорний комплекс автоматичного ведення електропоїздів (МКАВЕ), 32 одиниці на суму 1426 тис. грн., система індетифікації локомотивів (САІРС) на суму 131 тис. грн. та інше.
Пасажирське господарство при плані 10000 тис. грн., виконано – 38062 тис. грн., або 380,6%. З метою забезпечення потреб пасажирського господарства в рухомому складі під час літніх та святкових перевезень, покращення умов перевезення пасажирів та дотримання вимог безпеки руху, на виконання наказу №645-Ц, при плані 33 вагони фактично за рік було модернізовано (відновлено) 39 вагонів, в т.ч. 12 вагонів (ЦМВ) на Дніпровагонрембуд (14212 тис. грн.), та 22 вагони ЦМК, РІЦ, ЦМО (Бидгощ) – 15456 тис. грн., 5 вагонів ВЧД-9 на 1544 тис. грн.
Проведена модернізація основних засобів в господарствах електропостачання на суму 3591 тис. грн., вагонному господарстві на суму 869 тис. грн. (модернізація вантажних вагонів), господарстві безпеки руху поїздів на суму 222 тис. грн., в комерційному господарстві на суму 85 тис. грн. (модернізація навантажувачів та інших основних засобів), господарстві воєнізованої охорони і пожежних поїздів на суму 78 тис. грн., по господарству будівельно-монтажних робіт та цивільних споруд виконано роботи по поліпшенню об’єктів будівництва та інженерних споруд на суму 18778 тис. грн., в т.ч. напрямку швидкісного руху поїздів Київ-Московський – Миронівна на суму 11605 тис. грн.
При річному плані 97428 тис. грн. придбано за 2003 рік обладнання машин та механізмів на суму 84358 тис. грн., або 86,6%.
Господарство електропостачання придбало на суму 10064 тис. грн. (траншеєкопач, вимикачі ВВФ-27,5кВ, ВМПЕ-10, електролічильники, захисне пристосування, електростанції, комп’ютерну техніку, та інше).
По господарству сигналізації та зв’язку при плані 9496 тис. грн., виконано 4288 тис. грн. або 45,1%. Обладнання диспетчерської централізації типу „Каскад” було одержане централізовано, встановлене на дільниці швидкісного руху Київ-Миронівка і відповідно відображене у розділі капітального будівництва. Аналогічно обладнання САІРС змонтоване на полігонах Хутір-Михайлівський, Зернове та Козятин, відображене у розділі капітальне будівництво. Придбано гвинтові компресори на суму 260 тис. грн., вагонні уповільнювачі НК-114 на суму 562 тис. грн., обладнання по виконанню програми підвищення безпеки руху на суму 55 тис. грн., обладнання для підключення до транспортної мережі Євротранстелеком на суму 486 тис. грн., обладнання „ТЕЛМАХ” для розвитку місцевих мереж залізничних АТС на суму 1397 тис. грн. та інші поставки ЦХП та НХ на суму 1455 тис. грн. Не надійшло від централізовано запланованих поставок придбання ДГА, заміна АТС ст. Козятин на суму 4351 тис. грн.
По господарству „інформаційно–статистичний центр” при плані 12270 тис. грн., придбано на суму 7370 тис. грн., або 60,0%, проведено оснащення автоматизованими системами обслуговування пасажирів в приміському сполученні ст. Святошин, ст.. Шепетівка на суму 1183 тис. грн., впроваджено автоматизація роботи сортувальних та дільничних станцій Жмеринка, Шепетівка на суму 1032 тис. грн. Проведено оснащення ІСЦ залізниць центральними серверами для зберігання та обробки інформації, з загальносистемним програмним забезпеченням функціонування комплексу на суму 2073 тис. грн., в 3-х ДНах, та на 17-тьох станціях впроваджено АРМ ТРА на суму 70 тис. грн., автоматизовані робочі місця диспетчерського апарату по підготовці графіку руху поїздів, придбано, модернізовано, та замінені застаріли засоби обчислювальної техніки залізниць України, та юрисконсультам залізниці на суму 320 тис. грн., та інше.
По колійному господарству при плані 18793 тис. грн. виконано 12572 тис. грн., або 66,9% (в т.ч. по централізованих поставках при плані 17449 тис. грн. придбано 10725 тис. грн.). Придбано колійний інструмент на суму 3278 тис. грн., обладнання для щебеневих заводів на суму 5224 тис. грн., дробарки та живильник до них на суму 4143 тис. грн., придбано бульдозер Т170, станина КСД, рейкозварювальна машина РПЗ, козловий кран КПУ-10У на загальну суму 4406 тис. грн., та інше обладнання.
Локомотивне господарство при плані 6224 тис. грн. придбано на 4348 тис. грн., або 69,8%, придбали компресори на суму 991 тис. грн., дефектоскопи, стенд діагностики гідроамортизаторів, колісний верстат, комп’ютери та оргтехніка, інструменти, прилади на загальну суму 2346 тис. грн., та інше обладнання (радіостанції, автомобілі, побутова техніка) на суму 1011 тис. грн.
Вагонне господарство при плані 7133 тис. грн. придбало на суму 2707 тис. грн. або 37,9%. Крім того придбане централізовано обладнання КТСМ та АСДК-Б було змонтоване на дільниці швидкісного руху Київ-Московський - Миронівка, Вінниця-Волочиськ, Хролін-Шепетівка-Цветоха, Карапиші-Миронівка-Таганча, Козятин-Бердичів-Миропіль та на інших дільницях і віднесено до розділу капітальне будівництво. Також було придбано шийко накатний верстат КЖ1842,02 на суму 421 тис. грн., обладнання необхідне при ремонті вагонів, комп’ютерна техніка, метрологічне обладнання, установки при наплавці гребенів колісних пар 796 тис. грн., та інше на загальну суму 905 тис. грн.
Пасажирське господарство придбало на суму 19518 тис. грн. в т.ч. пральне обладнання для Вагонної дільниці ст. Київ-Пасажирський на суму 14919 тис. грн., лави „Декор-Сервіс” на суму 850 тис. грн., АСУ підприємств служби 374 тис. грн. касове обладнання для приміського сполучення, електроінструменти, електронавантажувачі, дослідна партія обладнання для продажу квитків в приміському сполученні та інше на загальну суму 3749 тис. грн.
Для господарства безпеки руху поїздів при плані 515 тис. грн. придбано обладнання на 246 тис. грн. крім того в рахунок ліміту РБ для господарства перевезень було придбано радіостанції на суму 285 тис. грн. Придбано гідравлічне обладнання „ХЙОШ” для ДН-1, вантажопасажирські автомобілі для ДН-1;4 та інше.
Для господарства перевезень придбано на суму 411 тис. грн., в т.ч. архіватори мови для ДНів 2,3,4,5 на суму 126 тис. грн., радіостанції (за рахунок плану РБ) на суму 285 тис. грн.
Комерційне господарство при плані 2059 тис. грн. придбано обладнання на 301 тис. грн., або 14,6%. За відсутністю фінансування не придбано ваги тензометричні динамічного зважування, промислове телебачення ст. Дарниця. Придбано грейфери та вібратор, комп’ютерна техніка, меблі та обладнання в т.ч. для кабінету техніки безпеки, радіостанції для ПКО та інше.
Господарство воєнізованої охорони придбало радіостанції 11шт., мотопомпи ММ27/100, 2шт., комп’ютерна техніка, меблі, та інше на загальну суму 479 тис. грн.
Господарство матеріального забезпечення придбало на суму 14912 тис. грн. в т.ч. котел електричний, коректор газу, сигналізатори вибухонебезпечних концентрацій газів, комп’ютерна техніка, меблі та інше.
Господарство будівельно-монтажних робіт та цивільних споруд, придбало на 2092 тис. грн. Для виконання прискореними темпами робіт на напрямку швидкісного руху Київ-Московський – Миронівка було придбано: риштування будівельні, електроінструмент, верстатне обладнання, бетономішалки, насоси, уповільнювач ґрунту, форми для лотків, металеві форми, комплект для виготовлення форм також придбано обладнання для виконання інших запланованих робіт в т.ч. газові лічильники, котли харчові, опалювальні, виброплита, труба димова, лічильники холодної води на насосну станцію, автотехніку, (мікроавтобуси, автомобіль ГАЗ-2752 „Соболь”) комп’ютерна техніка, та інше.
По інших господарствах (ДНи-1:5, Центральна залізнична автобаза, ДОТ „Променистий”, господарська служба) придбано на 5050 тис. грн. Дирекції по перевезенню пасажирів та вантажів придбали на суму 592 тис. грн. в т.ч. комп’ютери та комплектуючи, меблі, оргтехніка (факси, принтери, ксерокси) касові апарати, телевізори, радіостанції „Кенвуд”, мобільні телефони, побутова техніка та інше. Центральна залізнична автобаза придбала на суму 2941 тис. грн., в т.ч. автопідіймач, мобільні телефони, автомобілі в кількості 21 одиниця, та інше. По господарчій службі при плані 134 тис. грн. придбано на 1452 тис. грн. в т.ч. копіювальні апарати, меблі, комп’ютерне обладнання, кондиціонери, побутова техніка, турнікети та інше.
Інші необоротні матеріальні активи. При річному плані 1408 тис. грн. виконано 20682 тис. грн. Перевиконання плану пояснюється тим, що господарства П, Т, Е, Д, М, НО, Л, ДНи придбали для робітників підприємств спецодяг, спецвзуття, необхідний інвентар, 2003 рік було об’явлено роком станцій тому господарства ДНів оновлювали необхідні матеріальні активи. Крім того на виконання наказів №804-Ц від 20.11.01р. та №380-Н від 19.06.03р. для забезпечення комфортних умов перевезення пасажирів було придбано пасажирським господарством необоротних матеріальних активів на 9248 тис. грн., більшість витрат склало придбання постільних речей – білизни, ковдр, матраців які закупалися залізницею в централізованому порядку через службу матеріально-технічного забезпечення.
Таблиця 2.2 План фінансування капітальних інвестицій
|
2003 |
2004 |
Різниця |
|||||||
|
Всього |
Центр. |
Вл.дж. |
Всього |
Центр. |
Вл.дж. |
Всього |
Центр. |
Вл.дж. |
|
|
Півден.-Західна |
584267 |
332172 |
252095 |
778847 |
276072 |
502775 |
194580 |
-56100 |
250680 |
|
у т.ч. : на кап.буд. |
64748 |
0 |
64748 |
333326 |
0 |
333326 |
268578 |
0 |
268578 |
|
рухомий склад |
267253 |
257753 |
9500 |
166326 |
163896 |
2430 |
-100927 |
-93857 |
-7070 |
|
модер.(вт.ч.колії) |
147004 |
25574 |
121430 |
225291 |
88593 |
136698 |
78287 |
63019 |
15268 |
|
механ.та обладн. |
97428 |
42545 |
54883 |
49384 |
21793 |
27591 |
-48044 |
-20752 |
-27292 |
|
інш.необ.мат.акт. |
1408 |
0 |
1408 |
2108 |
0 |
2108 |
700 |
0 |
700 |
|
інвес.в немат.акт. |
6426 |
6300 |
126 |
2412 |
1790 |
622 |
-4014 |
-4510 |
496 |
Я вважаю, що якщо взяти до уваги перевиконання плану фінансування капітальних інвестицій 2003 року, то збільшення лімітів 2004 року є логічним. Але керівництво залізниці не значну увагу приділяє Дирекціям залізниці, звідси і бачимо зменшення плану по розділу „механізми та обладнання” на 48044 тис. грн.. Через те, що як і в минулих роках Дирекції знаходяться у плані капітальних інвестицій в розділі „інші організації”, яким виділяється всього 0,5% від загального плану залізниці, тому їх необхідно виділити на рівні служб РБ, Д, М, НО та НХ.
Якщо взяти розділ „капітальне будівництво”, то ми бачимо тут найбільше залучення коштів. Служба НКВ на правах контролюючого органа веде жорсткий контроль за капітальними інвестиціями і відображенню його у звітах. Але господарства ведуть роботи на непланових об’єктах виробничої сфери без залучення відділу контролю за якістю будівництва служби НКВ. Один з прикладів, - це капітальний ремонт вокзалів та інших об’єктів. Роботи вже виконані і їх треба відобразити у звіті як капітальний ремонт будівель і споруд, а вони відображають у звіті капітальних інвестицій (будівництво). Ця груба помилка призводить до великого перевиконання капітального будівництва. І задача служби – регулювати і запобігати таким викривленням звітності.
3. Рекомендації по перспективному розвитку ПЗЗ та Укрзалізниці
До стратегічних пріоритетів політики розвитку залізничного транспорту на найближчий період є оновлення основних виробничих фондів, насамперед рухомого складу, технічного переоснащення, підвищення технічного рівня та якості будівництва і ремонту залізниць з запровадженням сучасних технологій транспорту, інтегрування транспортної системи України в європейську та світову транспортні системи. Перспективою розвитку залізниць України є реалізація програм, спрямованих на подальше підвищення ефективності роботи, впровадження нових технологій і забезпечення конкурентоспроможності залізничного транспорту.
-
програма організації швидкісного руху
на головних магістралях України.
Реалізація
першого етапу програми забезпечить
впровадження швидкісного руху пасажирських
поїздів між Києвом та крупними містами
України. У 2002-2003 роках вже введені в
експлуатацію швидкісні поїзди сполученням
Київ - Харків та Київ - Дніпропетровськ.
Кожний рік Укрзалізниця планує вдосконалення цих ділянок для більш швидшого та комфортнішого пересування рухомого складу.
- програми розвитку телекомунікацій і розробки на їх основі сучасних технологій.
Реалізація
програми дозволяє створити сучасні
інформаційні системи і засоби зв'язку,
поліпшити обслуговування пасажирів,
забезпечити надання інформаційних
послуг у реальному масштабі часу, що
значно підвищує якість обслуговування
пасажирів і замовників вантажних
перевезень.
- програми розвитку
транспортних коридорів і залучення
транзитних вантажів.
Програма
передбачає залучення транзитних
вантажів, що сьогодні йдуть морем у
з'єднанні Азії з Європою, за рахунок
гнучкої тарифної політики, упровадження
комбінованих перевезень, залучення
вантажопотоку напрямку Азія-Європа.
- програми розвитку залізничного рухомого складу
Впроваджується
розробка та виробництво нових локомотивів
та вагонів, передбачається подальша
модернізація локомотивного парку,
вантажних та пасажирських вагонів,
дизель - і електропоїздів з метою
підвищення швидкості, якості і надійності
перевезень та послуг залізничного
транспорту. Виробництво та модернізація
залізничного рухомого складу практично
цілком буде здійснюватися на вітчизняних
підприємствах.
- програми поліпшення
технічного стану колійного господарства
На
залізницях активно впроваджуються нові
технології ремонту й утримання колії,
для приведення у відповідність до
світових стандартів колійного господарства
залізниць України.
Середньодобовий потік пасажирів через о. з. “Караваєві Дачі” складає близько 15,3 тис. чоловік. Для покращення обслуговування пасажирів, створення умов для зручного й безпечного переміщення людей з обмеженими фізичними можливостями виникла нагальна потреба у її реконструкції.
Рішенням спільного засідання колегій Міністерства транспорту України та Київської міської державної адміністрації з питань транспортного забезпечення та розвитку його інфраструктури у м. Києві від 26.11.2002 року передбачено здійснити комплексну реконструкцію району зупиночної платформи залізниці Караваєві Дачі з улаштуванням виходу з пасажирських платформ на обидва боки автодорожнього шляхопроводу та реконструкцію шляхопроводу.
Південно-Західною залізницею передбачено будівництво касових павільйонів із конкорсом, де будуть розміщені касовий зал, зал очікування з одночасним комфортним перебуванням 900 чоловік.
Зазначеним проектом передбачено:
демонтаж старих та будівництво нових високих платформ;
улаштування навісів над платформами;
пере устрій колійного господарства, контактної мережі та зв’язку;
Роботи виконуються структурними підрозділами залізниці.
Орієнтовна вартість будівництва складає 45 млн. грн.
Для покращення роботи Київського залізничного вузла, забезпечення необхідної пропускної спроможності головних внутрішньовузлових ходів та підходів до вузла, їх раціональне заповнення, скорочення обігу рухомого складу та експлуатаційних витрат у поїзній роботі, вирішення відповідних організаційно-технічних передумов для будівництва в лівобережній частині Києва другого пасажирського й технічного комплексів передбачено в 2004-2006 роках будівництво залізнично-автомобільного мостового переходу через р. Дніпро у м. Києві (із підходами) на залізничній дільниці Київ-Московський – Дарниця, яка складає біля 4000 млн. грн.
Зазначена пропозиція, підтримана Кабінетом Міністрів України розпорядженням від 10.12.03 р. №755-р.
До складу комплексу передбачено включити наступні споруди:
суміщений залізнично-автомобільний мостовий перехід через р. Дніпро з підходами;
третю і четверту головні електрифіковані колії на дільниці Київ-Московський – Київ-Пасажирський;
залізнична розв’язка “Видубичі” на правому березі;
залізнична розв’язка “Дарницька” на лівому березі;
Довжина мосту через р. Дніпро складає 1100 м., на якому буде 2 залізничні колії та 6 смуг шириною по 3,75 м. автодорожньої частини. Довжина підходів до мосту:
залізничної частини – 6,6 км.
автодорожньої частини – 4,8 км.
Орієнтовна площа земельної ділянки 70 га., площа асфальтового покриття 210 тис. м2. Зазначеним будівництвом вирішується актуальне для міста завдання – виведення в обхід правобережної міської забудови частини транзитного вантажного руху.
Технічна-пасажирська станція (ТПС) призначена для комплексної підготовки в рейс пасажирських составів - переформування, мийка вагонів, ремонт, санітарна підготовка, екіпіровка.
Зараз цю роботу виконує ТПС комплексу Київ-Пасажирський.
На сьогодні її потужність, технічне переоснащення і технологія роботи не відповідають сучасним вимогам щодо якості технічного обслуговування і підготовки в рейс пасажирських вагонів - з одного боку, з іншого - не створюють передумов для скорочення витрат і тривалості цього технологічного процесу, а отже, і тривалості обігу составів, що в умовах дефіциту й вартості рухомого складу, є чи не найголовнішим завданням.
Зазначені недоліки існуючої ТПС, як показав аналіз, не виправні за своїм характером, оскільки обумовлені технологічною компоновкою ТПС, яка складалась історично безсистемно на обмеженій міською капітальною забудовою ділянці (житлова забудова, Повітрофлотський та Індустріальний шляхопроводи, тощо).
З ростом обсягів перевезень і насиченням залізниці новим пасажирським рухомим складом існуюча ТПС стане головним гальмом у розвитку пасажирського руху в Київському залізничному вузлі.
Нові складнощі в роботі існуючої ТПС постають у зв’язку з необхідністю обслуговувати новий технічно складніший рухомий склад, рухомий склад швидкісних поїздів з більш жорсткими вимогами щодо якості їх, підготовки.
Зважаючи на те, що в технологічному й фізичному плані основні складові комплексу існуючої ТПС себе вичерпали, вирішення проблеми щодо створення у вузлі сучасної виробничої бази з комплексної підготовки в рейс пасажирських составів слід розглядати в спорудженні у вузлі нової сучасної ТПС.
До складу ТПС входять:
виробничий корпус ремонтно-екіпірувального депо;
крита стійлова частина;
виробничі майстерні РЕД;
адміністративно-побутовий корпус;
пральня;
пункт технічного обслуговування вагонів;
вагономийний цех.
При будівництві ТПС передбачається використати сучасне енергозберігаюче та екологічне обладнання та матеріали. Планується обладнати станцію сучасними очисними спорудами.
Будівництво комплексу дасть близько 3,5 тис. нових робочих місць.
У зв’язку з тим, що потужність ст. Київ-Пасажирський буде практично вичерпана до 2020 р. та тим, що в м. Києві існує тільки один залізничний вокзал виникла потреба в будівництві нового вокзального комплексу на ст. Дарниця. На даний час існуючий вокзал ст. Дарниця обслуговує близько 15 тис. пасажирів на добу.
Новий вокзал буде розрахований на 4000 пасажирів/добу далекого сполучення та 15000 пасажирів/добу приміського сполучення.
До складу комплексу планується включити:
будівництво нового пасажирського вокзалу;
розвиток пасажирської станції з переустроєм колійного розвитку;
будівництво високих платформ із навісами;
будівництво пішохідного тунелю;
благоустрій території;
будівництво готелю;
Будівництво нового вокзалу дасть можливість мешканцям лівобережної частини міста посадки-висадки з поїздів далекого сполучення не долаючи відстань до ст. Київ-Пасажирський.
З метою комплексної реконструкції пересадочного вузла “Сирець” для забезпечення зручних умов пасажирам, передбачено реконструювати пасажирські платформи з перевлаштуванням колійного господарства. У той же час, Київметробудом до жовтня місяця 2004 року буде збудовано нову станцію “Сирецька”.
Крім загального падіння обсягів перевезень, відбувся їхній перерозподіл між видами транспорту, у першу чергу, на користь автомобільного транспорту, частка якого в перевезеннях коштовних експортних і імпортних вантажів зросла. У тім чи іншому ступені ці проблеми актуальні для всіх наших країн.
У цих умовах ми повинні залучати клієнта, а не він шукати нас, тому підвищення конкурентноздатності залізничного транспорту є життєво-важливою задачею.
Залучення клієнта - одна з задач Програми реструктуризації залізничного транспорту України.
Необхідне рішення цілого комплексу проблем, для чого розроблена концепція і програма реструктуризації на залізничному транспорті України. Її основні складові: приведення основних фондів, трудових і матеріальних ресурсів у відповідність з обсягами роботи, потребами економіки і населення в перевезеннях; створення гнучкої й економічної системи керування, орієнтованої на споживача, що сприяє технічному прогресу і підвищенню конкурентноздатності залізничного транспорту, і з цією метою поділ інфраструктури і процесу перевезень, забезпечення вільного доступу до інфраструктури відповідно до європейськими керівними документами й існуючою практикою; удосконалювання економічних відносин зі споживачами, державою, суміжними видами транспорту і внутрішньогалузевих.
Одна з основних задач 1 етапу, періоду спаду і стабілізації перевезень - приведення технічних, кадрових і матеріальних ресурсів у відповідність з обсягами роботи.
Планується вивільнення контингенту по основній діяльності в 1998 році - 17 тис. чоловік, усього до 2003 року - більш 52 тис. чоловік.
Намічено закриття 49 малодіючих станцій, 60 роздільних пунктів (з перекладом на телекерування), 2 сортувальних станцій і переклад 2 сортувальних станцій у дільничні, скасування вантажного господарства на 49 станціях, закриття 4 локомотивних депо й об'єднання 10 попарно. 85 станцій переводяться на денний режим роботи.
Одночасно саме на цьому етапі ведеться розробка і впровадження нових перевізних технологій, у першу чергу, у міжнародних перевезеннях, що мають великий потенціал росту і високу рентабельність.
В даний час мається ряд передумов для переважного розвитку комбінованих автомобильно- залізничних перевезень (контейнерних і контейнерних). Це проблеми з пропускною здатністю автодоріг, підвищені, у порівнянні з залізничним транспортом, витрата енергоресурсів і шкідливий вплив на навколишнє середовище, собівартість перевезень. У ряді європейських країн уже діють обмеження або заборони на рух великовантажних автомобілів.
Основні проблеми - створення спеціалізованого рухомого складу і збалансована тарифна політика з метою залучення клієнтури.
Пріоритетним для Укрзалізниці є розвиток національної мережі міжнародних транспортних коридорів як найважливішої складовий інтеграції в європейську і світову транспортну систему.
У ході роботи над розвитком мережі міжнародних транспортних коридорів фахівцями Державної адміністрації залізничного транспорту України визначений ряд принципових положень, реалізація яких може значно підвищити конкурентноздатність залізничного транспорту, сприяти залученню додаткових обсягів міжнародних транзитних перевезень.
Слід зазначити, що максимальний ефект від створення і функціонування коридорів може бути досягнуть при зацікавленості країн-учасниць, інтеграції і синхронізації їхніх дій.
Залучення вантажопотоків у повідомленні Європа-Азія - основний резерв росту міжнародних транзитних перевезень
Установлено, що найбільший потенціал збільшення міжнародних транзитних перевезень складають вантажопотоки в повідомленні Європа - Азія. З урахуванням високих темпів розвитку економіки країн східної і південно-східної Азії, що значно перевищують середньосвітові. Щорічний приріст обсягів перевезень у їхньому повідомленні з Європою, складає 20-25 млн.т. Очікується збереження і навіть прискорення цього процесу в найближчі 10 років.
Незважаючи на значне скорочення відстані при перевезеннях по залізниці в повідомленнях цих країн, країн центральної Азії з Європою, основна частина цих перевезень здійснюється морським шляхом.
Конкуренти залізниць на напрямку Європа-Азія
Другим по ефективності, але капіталомістким заходом, віднесеним на II етап, є реабілітація інфраструктури, приведення її у відповідність національним і міжнародним стандартам, підвищення швидкостей руху - вантажних до 90 км/година (для порожніх вагонів), 80 км/година (для навантажених вагонів), пасажирських - до 140 км/година.
Економія в термінах перевезення складе 6-8,5 годин, але будуть потрібні значні капіталовкладення (порядку 600 млн. дол. США).
Це захід також буде сприяти зниженню паливно-енергетичних утрат, обумовлених наявністю обмежень швидкостей на 3,2 тис. км, при загальній довжині мережі 22,6 тис. км.
З обліком обмежених фінансових можливостей Укрзалізниці, відсутності державної підтримки, незацікавленості іноземних інвесторів у фінансуванні розвитку залізничного транспорту, прийнятий у якості базовий принцип самооплатності заходів щодо розвитку коридорів. Очікується, що першочергові заходи, при відповідному при маркетинговому супроводі, дозволять залучити додаткові транзитні потоки, а прибуток від них направити на подальший розвиток коридорів для подальшого росту обсягів перевезень.
Для досягнення швидкості 100 км/година буде потрібно часткова модернізація вагонного парку з заміною візків, реконструкція систем енергопостачання, сигналізації, централізації і блокування, загальною вартістю 1,8 млрд. дол. США. Ефект складе 2-2,5 години.
Для досягнення швидкості 120 км/година буде потрібно повна модернізація вагонного парку, придбання локомотивів нового покоління, будівництво шляхопроводів на перетинаннях з автодорогами, загальною вартістю 4,5 млрд. дол. США, ефект складе 2-2,5 години.
Через високий капиталоємкости і малої ефективності для Укрзалізниці подальше дослідження і рішення цих проблем віднесено на перспективу.
Висновок
В умовах розвитку ринкових відносин менеджмент активно проникає на українські підприємства. Підприємці зацікавлені у використанні його основних надбань, оскільки це дає змогу досягнути стрункої побудови організації, знизити трудомісткість управлінських робіт, оптимізувати чисельність апарату управління, посилити управлінський вплив, зосередити зусилля всіх працівників на досягненні поставлених цілей. В організаціях усе більшого значення набуває діяльність керівників нової формації — менеджерів. Саме ці категорії працівників сприяють утвердженню підприємства на ринку, успіху в конкурентній боротьбі, втіленню нових ідей та результативних стратегій.
1. Розглянувши теоретичні аспекти реалізації функцій менеджменту в організаціях залізничного транспорту було зроблено наступні висновки:
Функції менеджменту відображають сутність і зміст управлінської діяльності на всіх рівнях управління. Необхідне виконання всіх функцій менеджменту особливу увагу в роботі приділялося функції планування. Сучасне планування характеризується усвідомленням його необхідності з метою забезпечення ефективного організування, мотивування, контролювання та регулювання діяльності організації, запобігання втратам і зменшення ризиків. Після планування, організування і мотивування діяльності в організації виникає потреба в забезпеченні постійних спостережень за ходом виробничо-господарських процесів та у виявленні проблем, які перешкоджають її успішному здійсненню.
2. В результаті аналізу системи управління ДТГО „Південно-Західна залізниця” було зроблено висновки про необхідність більшої уваги приділяти економічним показникам які є відбиттям ефективності всієї системи управління, що діє на залізниці. Проаналізувавши випадки невдалих капіталовкладень (на жаль, досить поширених), можна сформулювати такі їх причини. Перша — незбалансованість частин, компонентів, факторів і функцій, що стосуються інвестиційної ідеї, процесу планування та реалізації плану. Друга важлива причина — розбіжність планів підприємства і капіталовкладень. У цьому разі ймовірність невдачі тим вища, чим менше гармонії між інвестиційним проектом і стратегією розвитку підприємства. Третя причина пов'язана з непередбачуваністю й мінливістю економічної ситуації. До цього особливо треба бути готовим в умовах ринкової економіки. І нарешті, найпомітніша причина невдалого й неефективного інвестування полягає в незбалансованості інвестиційних потужностей, причому в різних вимірах і проявах, що охоплюють проектно-кошторисну документацію, будівельні конструкції та матеріали, машини, механізми, устаткування тощо. Усі ці причини слід ураховувати, розроблюючи інвестиційну політику підприємства, складаючи комплекс заходів для досягнення гармонії в інвестиційних потужностях.
3. В майбутньому, із стабілізацією, а потім зростанням виробництва, транспортна робота залізниць буде збільшуватись. Але до 2001-2010 рр. ріст буде не настільки великим, щоб враховувати цей фактор визначальним при вирішенні проблеми виділення капітальних вкладень на розвиток матеріально-технічної бази залізниць. Визначальним фактором при розвитку модернізації виробничого апарату залізниць є вимоги до транспорту в умовах ринкової економіки на стійке забезпечення інтеграційних зв’язків із зарубіжними країнами. Обсяг транспортної роботи різко зростати не буде, але якість обслуговування вантажних перевезень та перевезень пасажирів повинна значно поліпшитись, що потребує немалих капітальних інвестицій на удосконалення та модернізацію транспортної техніки, її поставку та створення достатніх резервів на залізницях України.
Для забезпечення повного задоволення потреб економіки країни в транспортних послугах з урахуванням нових вимог, що випливають з особливостей ринкової економіки та економічної незалежності України, на підприємствами залізниці проводиться відповідна інвестиційна політика на найближчу (2-3 роки), середньострокову (4-6 років) та віддалену (10-15 років) перспективу. Причому ця політика повинна враховувати особливості інвестування виробничого апарату по його функціональній структурі.
Відомо, що в усіх розвинутих країнах залізничний транспорт користується міцною державною підтримкою. Якщо врахувати, що така підтримка забезпечує стабільну роботу залізничного транспорту, необхідно домогтися отримання державних дотацій та пріоритетного забезпечення залізниць фінансами для виконання інвестиційної діяльності.
Список літератури
Гончаров М. Ю. Системний факторний аналіз економічних процесів на транспорті. – К.: Логос, 1999. – 423 с.
Система инвестиций для железнодорожного транспорта./Баретт Т. // Залізничний транспорт України. – 1999. - № 5. – С. 36 –38.
Бандурка О.М., Коробов М.Я., Орлов П.І., Петрова К.Я.. Фінансова діяльність підприємства: Підручник. – К.: Либідь, 1998. – 312 с.
Коробов М.Я.. Фінансово-економічний аналіз діяльності підприємств: Нав. Посіб. – К.: Т-во « Знання», КОО, 2000. – 378 с.
Реверчук С.К. Інвестологія : Навчальний посібник .-К.:Атіка,2001.-261 с.
Положення про службу капітальних вкладень Південно-Західної залізниці, затверджено Начальником залізниці від 26.07.2000р.
Статут залізниць України : Постанова Кабінету Міністрів України від 6 квітня 1998р.
Букин В.И., Федюшин Ю.М. Стратегия технической и инвестиционной политики на железнодородном транспорте // Сборник научных трудов ИКТП-Центр. – 1997.- №4. – С.38-51.
Букин В., Федюшин Ю. Инвестиционная политика на железнодорожном транспорте Украины в ближайшей и отдаленной перспективе // Экономика Украины. – 1993.- №9 – С.39.
34. Загородній А.Т., Стадницький Ю.І. Менеджмент реальних інвестицій: Навч.посібник.- “Знання”, КОО, 2000,- 209 с.
Концепція та програма реструктуризації на залізничному транспорті України. Міністерство транспорту України. Державна адміністрація залізничного транспорту. Офіційне видання. – К. – 1998.- 143с.
О. Є. Кузьмін, О. Г. Мельник „Основи менеджменту” Київ Академвидав 2003 – 416с.
Г. В. Осовська „Основи Менеджменту” Київ 2003 – 556с.
|
Зм. |
Кільк. |
Арк. |
№ док. |
Підп. |
Дата |
||
|
Розробив |
Мартиненко |
Реалізація функцій менеджменту на підприємствах залізничного транспорту |
Стадія |
Аркуш |
Аркушів |
||
|
Перевірив |
Тітова |
3 |
48 |
||||
|
Н. контр. |
КУЕіТТ |
||||||
|
Затвердив |
|||||||
|
Формат А4 |