Спортивная ловля полупроходного лосося в Зейском районе Амурской области

ВВЕДЕНИЕ

Независимо от своей национальной принадлежности и родного языка рыболовов-спортсменов всего мира объединяет одно - страсть к рыбной ловле с удилищем, леской и крючком. Вероятней всего истоки этого наслаждения кроются в наших инстинктах, унаследованных от древних предков. Если отбросить все напускное, не так уж много поколений отделяет нас от наших первобытных предшественников. Даже если наша одежда и образ жизни свидетельствуют о высоком уровне культуры, с точки зрения генетики мы все еще остаемся достаточно дикими людьми. Будучи "цивилизованными дикарями" мы испытываем огромное удовлетворение от ощущения того, как рыба хватает нашу хитрую приманку. Это же возбуждение заставляет нас сражаться с рыбой всеми средствами, которые предлагает нам современность в виде удилищ, катушек, лески и приманок. Все это - результат тысячелетнего опыта практического рыболовства, не говоря уже о последних достижениях высоких промышленных технологий.

Глубокое и истинное понимание природы во всем ее разнообразии зачастую является ключевым моментом того, что мы так расплывчато называем "рыбацким счастьем". Практически, оно скорее зависит от знания образа жизни нашей добычи и окружающей ее среды, чем от простого везения. Вода составляет до 70% поверхности земли. Это почти полностью скрытое от нас царство, и мы можем только догадываться, какие процессы происходят внутри его. Поэтому нам приходится прибегать ко всяческим ухищрениям, чтобы обмануть рыбу с помощью хитроумных приманок, правильно отлаженных крючков и созданных нашим творческим воображением искусственных мушек. Другими словами, спортивная ловля проходит исключительно по правилам, установленным рыбой. Нам же постоянно приходится каким-то образом ее приваживать. Чем глубже наши знания, тем больше успех. Весь секрет заключается именно в этой неопределенности: сможем ли мы имитировать естественный корм рыбы настолько, чтобы она приняла наш обман за правду? В этом и состоит азарт спортивной рыбалки.

Цель данной работы – изучить способы спортивной ловли полупроходного лосося, практикующиеся в Зейском районе Амурской области

1 Физико-географическое описание района

С севера, Северо–Востока и востока Зейский район ограничен горными географическими структурами. От Республики Саха (Якутия) его отделяет мощный Становой хребет, от Хабаровского края островершинные Джугдыр и Майский. На юго-востоке, юге и западе граничит с Селемджинским, Мазановским, Магдагачинским, Шимановским и Тындинским районами.

Географические координаты.

Северная точка - 550 44/С.Ш. и 1290 55 В.Д.;

Южная точка – 520 44/С.Ш. и 1280 28’ В.Д.;

Западная точка – 540 25/С.Ш. и 1250 30 В.Д.

Восточная точка – 550 20’/С.Ш. и 1330 00 В.Д…

Протяженность с севера на юг 330 или, с запада на восток – 435 км.

Плотность населения (число жителей на км2 площади) составляет 0,3

Территория Зейского района отнесена к многолетне-мерзлотной. Климат резко континентальный.

Рельеф.

Абсолютный максимум температуры +330С, абсолютный минимум -520С. Относительная влажность воздуха самого холодного месяца составляет 35-40%, самого жаркого месяца 95%.

Разнообразен и многопланов рельеф Зейского района. С севера его территорию ограничивают два хребта: Становой и Таага. В серединной части рассекает гряда Тукурингра – Соктахан – Джагды. А на пути морских ветров с Охотского моря встали две преграды: хребты Джугдыр и Майский. Неподалеку от сочленения Станового хребта с Джугдыром расположена самая высокая точка не только Зейского района, но и Амурской области – 2255м. (г. Аюмкан).

Всего на территории района полностью или частично расположены 7 хребтов.

Становой. Является пограничным между Республикой Саха и Зейским районом, а также водоразделительным между Северным Ледовитым и Тихим океанами. Средняя высота в Зейском районе 1200-1500м. Наивысшая точка (2321м) находится в Республике Саха (Якутия).

Таага . Расположен южнее Станового, протянулся в широтном направление на 300км. Наивысшая точка-г. Янкан (1350м).

Тукуринга. Название эвенкийское «Тукур» - поворот изгиб. Проходит в субширотном направлении примерно по середине территории района. Наибольшая высота – 1604м.

Соктахан. Так называется короткий хребет между Зеей и озером Огорон. Наивысшая точка - г.Бекельдеуль (1470м)

Джагды. Протянулся на восток от озера Огорон до верховья реки Шевли (Хабаровский край). Наивысшая точка 1604м.

Джугдыр. Островершинный, расположен в юго-восточном направлении от Станового. Наивысшая точка 2250м. (г. Аллюкан).

Майский. Потходит заподной оконечностью к левым притокам Зеи. Данные о наивысшей точки отсутствуют.

Между хребтами располагаются впадины. Их две: Верхнеезейская и Амуро-Зейская. Первая протянулась от южных склонов Станового до горной цепи Тукурингра – Соктахан – Джагды. По Верхнезейской равнине на значительном протяжении протекают две крупнейшие реки района: Зея и Гилюй. В далекое геологическое прошлое, исчесляемое миллионами лет, обе водные артерии текли на восток и впадали через долину современной Уды в Охотское море.

Амуро-Зейская впадина более приподнята, образовалась на месте погружения древнего кристаллического фундамента.

На территории района имеется немало геологических точек, представляющих несомненный интерес. Так неподалеку от Гиллюйского перевоза на протяжении 12км наблюдается выход древних пород Земли, возраст которых оценивается в 2,8-3млрд. лет! Недаром Организация Объединенных Наций по вопросам образования, науки и культуры (ЮНЕСКО) помогала открыть здесь Гиллюйский геологический полегон.

Породы этого района (верховья Геллюя, Брянты, Тока, Зеи) относятся протерозойской складчитости, возраст их около 2млрд. лет. На территории повсеместно развиты гнейсы, кристалиосланцы, широкое распространение получили разновозрастные изверженные породы.

Гидрография.

По характеру режим рек района относится к дальневосточному типу со сравнительно низким и устойчивым положением уровня в зимний период и чередованием резких подъемов и спадов в летнее время. Питание рек в основном дождевое.

Общее количество рек протяженностью не менее 10 километров составляет 863,из которых 36 имеют протяженность 100 километров и более.

К примечательным водоемам района следует отнести Зейское водохранилище. Площадь его зеркала 2419км2, объем – 68,42км3. А также три озера с площадью зеркала более 1км2. Это Огорон, Оконон и Умлеканское.

На Гилюе, Зее, Купури интенсивность подъема воды составляет 2-4м в сутки, интенсивность спада более замедленная (примерно в 2 раза). На реках района высший годовой уровень может начаться в любой из месяцев открытого русла, но чаще всего в июле-августе. Распределение стока в течении года неравномерное, 90% приходится на теплое время года.

Ледовые явления на реках начинаются в октябре и заканчиваются в апреле-мае. На большинстве рек района ледостой сопровождается наледями, которые порой достигают значительных величин. Максимальная толщина льда на реках и водохранилище достигает в марте 1,5м.

Озера, болота и водохранилище.

В Зейском районе много небольших озер – стариц – остатков древних русел рек. Поэтому пойменные озера имеют вытянутую форму. У некоторых длина достигает от 5-6, до 12км. Эти озера постепенно зарастают осокой и камышом. На становом хребте имеются карстовые озера, а котловина небольшого озера Деп - тектоническая.

Кроме того, район богат болотами (заболоченными землями). Болота, как правило, моховые.

Главной достопримечательностью района является Зейское водохранилище, имеющее равнинный тип.

Пойменные озера делятся на следующие типы: старицы, тростниково – сплавинные, притерастные верхние, притерастные средние и притерастные нижние. Лесные озера бывают глухие, таежные, провальные. Дельтовые озера имеют сплавинный, разливной и зарастающий тип проток.

Реки равнинные лесной и степной зоны; тип: (крупные, средние, малые).

Природоохранные территории.

Натерритории Зейского района находится Зейский заповедник, два заказника полностью (Верхнедпский, Бекельдеуль) и один частично (Усть-Тыгденский).

Зейский заповедник омывается водами Зейского водохранилища. Он занимает восточную часть хребта Тукурингра, простирающегося вдоль бурной горной реки Гилюй и покрывшегося на 85% лиственичниками. Лишь верхнем горном поясе, да по долинам рек есть немного пихтово-еловой тайги и зарослей кедрового стланика. На юго-восточных склонах хребта есть небольшие массивы дубняков - здесь северный предел их произрастания.

Животными заповедник небогат: лось, изюбр, косуля, бурый медведь, соболь, рысь, росомаха, горностай, заяц беляк, белка, сапсан, орлан белохвост, каменный глухарь, рябчик, дикуша. Как видно, это типичные представители восточносибирской и охотско-камчатской фауны.

В целях сохранения природы в естественном состояние территория заповедника изъята из хозяйственного пользования, на ней установлен особый режим охраны.

Зейский государственный природный заповедник является единственным на территории России по расположению в зоне светлохвойных лесов. Он целиком расположен на территории хребта Тукурингра, где можно встретить растительные сообщества Сибири и Дальнего Востока. Климат тоже сочетает особенности этих регионов: муссонный с резко континентальным, что и обуславливает большое разнообразие фауны и флоры. На южных склонах призейской части хребта произрастают широколиственные леса, выше по склонам хвойно-широколиственные, затем идут светлохвойные с преимуществом даурской лиственницы. Далее располагается пояс аянских ельников, затем кедрового стланика, а верхний пояс гор-гольцы – это уже обитель различных видов мхов, лишайников, других представителей горно-тундровой растительности.

На территории заповедника можно встретить виды сибирской, маньчжурской, дауро - монгольской, охотско - камчатской флоры и фауны. Значительное количество видового состава растений здесь обитает на границе своего ареала, а в силу климатических условий некоторые даже образовали самостоятельные популяции. К наиболее ценным «экстразональным» природным объектам относятся гольцы (самые южные в пределах РФ), массивы дубняков и черноберезняков (самые северные в стране).

Общая площадь заказников составляет 275тыс.га.

Все Зейские заказники – зоологические, созданы для охраны представителей царство животных, многие из которых находятся на грани исчезновения и поэтому занесены в красную книгу России.

Заказник – это территория, на которой влияние человека на природу существенно ограниченно.

Верхнедепский зоологический заказник – самый старый из заказников Зейского района: образован в 1976году с целью сохранения, воспроизводства и восстановления численности основных видов охотничье-промысловых животных и среды их обитания. Его территория представляет собой большей частью заболоченную равнину с включением элементов низкогорья.

На территории заказника отмечено гнездование редких, занесенных в красную книгу России птиц: дикуши, чешуйчатого крохаля, черного аиста, японского журавля, скопы, орлано-белохвоста.

Зоологический заказник «Бекельдеуль» образован в 1996году. Расположен на левом берегу Зейского водохранилища в 12км от города Зея. Рельеф заказника – среднегорный, наивысшая точка – гора Бекельдеуль высотой 1470м над уровнем моря.

На территории заказника обитает 7 видов ценных промысловых видов животных, особое значение он играет в поддержании и восстановлении численности кабарги. Кроме того, здесь обитают редкие, подлежащие особой охране животные (дикуша) и растения (радиола розовая и пр.).

Усть- Тыгдинский зоологический заказник образован в 1963году и расположен большей частью на территории Шимановского района: в 2001году его площадь увеличена, в нее вошли земли относящиеся к Зейскому району, общей площадью 13,5тыс.га.

В Усть-Тыгдинском заказнике обитает 12 видов ценных промысловых животных: из редких отмечены на гнездовье скопа и орлан – белохвост.

Характеристика типов угодий

В Зейском районе имеется два класса лесных угодий:

1 Класс – субъальпийское редколесье. Сюда относятся кедровый стланик произрастающий лишь в верхнем горном поясе (хребет Тукурингра), да по долинам рек (Зейский заповедник р. Гилюй).

Высота зарослей кедрового стланика составляет от 0.5до3.5м.Здесь произрастают следующие типы леса: кустарник стланиковый (Кс), сфагновые заросли кедрового стланика (Ксс), березняки кедровостланниковые (Бкс), сырые вейниковые ивняки (Ивв).

Сопутствующие породы:

Ива древовидная (Ив), ива кустарниковая (Ивк), ольха кустарниковая (Алк),ольха (Ал), рододендрон золотистый, лиственичник (высокогорный кустарниково - влажный, багульниково – моховый, вейниково-разнотравный, бруснично- вейниковый, брусничный, рододендровый, сфагновый, голубично-сфагновый, зеленомошный, багульниковый); лиственично-еловые леса (ЛЕ), лиственичники папоротниковые, ельник зеленомошный (свежий, влажный Ез), ельник брусничный (влажный свежий Ебр), ельник долинный (влажный), ельник мелкотравный зеленомошный (свежий влажный), ельник кустарниково-разнотравный (влажный).

2 Класс- темнохвойные леса.

Тип пихтово еловые леса.

Площадь немного сохранилась от вырубок и пожаров. Сейчас ельники сохранились как остравки среди лиственничного леса, в основном в долинах рек и по отрогам хребтов (Тукурингра Соктахан, Джагды, Джугдыр, Становой и Майский).

Характерной чертой ельников является сравнительно простая структура древостоя, однородность, постоянство состава, флориская бедность. Древостой сформирован главным образом елью аянской и пихтой белокорой.

Тип ельник зеленомошник тенистые влажные леса со слабо развитым нижним ярусом растительности. Первый ярус ель аянская, реже Сибирская с незначительной примесью пихты белокорой и Даурской лиственницы. Во втором ярусе пихта, реже береза.

Возобновление удовлетворительное, подрос густой, но достигая средних ярусов приоблодает угнетенный вид. Подлесок очень редкий состоит из рябины, жимолости, клена желтого. На почве всегда имеется сплошной покров из зеленых мхов. В небольшом количестве таежное разнотравье.

Тип травяные ельники. Богаче по видовому составу древостоя. Возобновление удовлетворительное, подлесок развит хорошо (рябинолистник смородиновый, рябина и др). Травяной покров сплошной: состоит из папоротника, осок, тавалги (ельник разнотравно- папоротниковый, таволго-вейниковый(мокрый)).

Здесь произрастает ель Аянская, Сибирская, пихта белокорая, лиственница даурская, береза (белая, желтая, черная, карликовая), клены елово-лиственнично-багульниково-моховые леса.

Елово-пихтовые леса характеризуются большой захламленностью (от120до220 валежин на 1га). Типичными копытными являются лось, кабарга, встречается изюбрь.

Эти леса характеризуются высокой сомкнутостью древесного полога, плохими кормовыми условиями для копытных.

В горных ельниках высока плотность кабарги, она составляет 5-10 особей на тыс. га, в долинных же ельниках всего от 1до2 особей на тыс. га.

Тип кедровый стланик.

Кедровый стланик расположен в верхней части лесного пояса. Этот кустарник растет вертикально и достигает высоты до 3-4метров: чем выше по склону, тем он становится ниже и начинает стлаться. Его прилегающие к склону стебли достигают 2-3м длины, тогда как концы этих стеблей приподнимаются над склоном всего лишь на полметра. Из-за неравномерного роста верхней части и нижней своей стороны, он обладает интересной особенностью. Зимой стланик прижимается к поверхности почвы, а летом приподнимается над ней. Наиболее высокие вершины гор-выше1600-1700м – покрыты преимущественно мхами и лишайниками, среди которых есть кладония (так называемый олений мох). В кедровом стланике обитают такие животные как: северный олень, снежный баран, а в летнее время изюбрь и лось.

Простирающегося вдоль бурной горной реки Гиллюй и покрывшегося на 85% лиственичниками. Лишь верхнем горном поясе, да по долинам рек есть немного пихтово-еловой тайги и зарослей кедрового стланика. На юго-восточных склонах хребта есть небольшие массивы дубняков - здесь северный предел их произрастания.

Животными заповедник небогат: лось, изюбр, косуля, бурый медведь, соболь, рысь, росомаха, горностай, заяц беляк, белка, сапсан, орлан белохвост, каменный глухарь, рябчик, дикуша. Как видно, это типичные представители восточносибирской и охотско-камчатской фауны.

В целях сохранения природы в естественном состояние территория заповедника изъята из хозяйственного пользования, на ней установлен особый режим охраны.

Зейский государственный природный заповедник является единственным на территории России по расположению в зоне светлохвойных лесов. Он целиком расположен на территории хребта Тукурингра, где можно встретить растительные сообщества Сибири и Дальнего Востока. Климат тоже сочетает особенности этих регионов: муссонный с резко континентальным, что и обуславливает большое разнообразие фауны и флоры. На южных склонах призейской части хребта произрастают широколиственные леса, выше по склонам хвойно-широколиственные, затем идут светлохвойные с преимуществом даурской лиственницы. Далее располагается пояс аянских ельников, затем кедрового стланика, а верхний пояс гор -гольцы – это уже обитель различных видов мхов, лишайников, других представителей горно-тундровой растительности.

На территории заповедника можно встретить виды сибирской, маньчжурской, дауро - монгольской, охотско - камчатской флоры и фауны. Значительное количество видового состава растений здесь обитает на границе своего ареала, а в силу климатических условий некоторые даже образовали самостоятельные популяции. К наиболее ценным «экстразональным» природным объектам относятся гольцы (самые южные в пределах РФ), массивы дубняков и черноберезняков (самые северные в стране). Общая площадь заказников составляет 275тыс.га.

Все Зейские заказники – зоологические, созданы для охраны представителей царство животных, многие из которых находятся на грани исчезновения и поэтому занесены в красную книгу России.

Заказник – это территория, на которой влияние человека на природу существенно ограниченно.

Верхнедепский зоологический заказник – самый старый из заказников Зейского района: образован в 1976году с целью сохранения, воспроизводства и восстановления численности основных видов охотничье-промысловых животных и среды их обитания. Его территория представляет собой большей частью заболоченную равнину с включением элементов низкогорья.

Зоологический заказник «Бекельдеуль» образован в 1996году. Расположен на левом берегу Зейского водохранилища в 12км от города Зея. Рельеф заказника – среднегорный, наивысшая точка – гора Бекельдеуль высотой 1470м над уровнем моря.

На территории заказника обитает 7 видов ценных промысловых видов животных, особое значение он играет в поддержании и восстановлении численности кабарги. Кроме того, здесь обитают редкие, подлежащие особой охране животные (дикуша) и растения (радиола розовая и пр.).

Усть- Тыгдинский зоологический заказник образован в 1963году и расположен большей частью на территории Шимановского района: в 2001году его площадь увеличена, в нее вошли земли относящиеся к Зейскому району, общей площадью 13,5тыс.га.

2. Описание лосося

Рыба эта во многих отношениях составляет как бы переход от лососей к форелям. К первым она приближается своей величиной и образом жизни, ко вторым – общим складом тела. Тело у тайменя толще и брусковатее , нежели у лососей, нос короче и тупее; голова несколько сплющена с боков и сверху; рот большой, мощный, с крупными зубами; по строению голова тайменя напоминает голову щуки(потому и называют тайменя красной щукой на Урале).пятна на теле крупнее , резче правильнее распределены, и, кроме того, спинной плавник бывает почти всегда усеян продолговатыми темными пятнышками , расположенными в несколько рядов.

От форелей таймень отличается более заостренными парными плавниками, продолговатою (особенно у старых) формою чешуи, голубовато – серою спиною, серебристо - белым цветом боков и брюха и более мелкими черноватыми пятнышками на жаберных крышках и боках туловища и серыми плавниками; у взрослых тайменей, так же как и у лосося, развивается хрящевой отросток на кончике нижней челюсти. Кроме того, таймень, подобно лососи, достигает весьма значительной величины, до 20-30 фунтов, и живет в морях и больших озерах, откуда только подымается в реки, иногда, впрочем, на весьма большие расстояния;

Во время нереста окраска тайменя приобретает цвет красной меди. После нереста таймень быстро оправляется и принимает обычный вид. в противоположность семге таймень нерестится весной, в апреле – мае, то есть вскоре после того как весенняя полая вода начнет спадать. Для икрометания он направляется в небольшие быстрые реки, иногда поднимаясь на сотни километров вверх по течению. После нереста он скатывается обратно на место постоянного пребывания.

Мясо тайменя перед икрометанием и вскоре после него - дряблое и невкусное. Сопротивление его в это время не представляет спортивного интереса.

Таймень распространен в озерах Байкала и Зайсане, встречается в небольшом количестве в Верхней Каме, но значительно больше его в притоках Камы – Вислене, Косе и других, в реке Уфе и ее притоках - Ай, красной, в верховьях реки Белой с притоками, верховьях реки Оби и ее притоках- Бии, Катуни, вейкаре. Соби, в реках Лозьве, Туре, Тавде и их притоках; в бассейне Амура и его притоках; очень редко он проходит в Волгу.

Следует отметить, что таймень, как и все лососевые, водится главным образом в реках быстрых, с чистой прохладной водой, чаще в небольших.

Любимые места стоянок около устьев небольших речушек и ручьев, впадающих в реку, ниже их на 50 -100 метров. Заходит он в самые речушки, если место для него благоприятное. Держится таймень ниже островков на сливающихся потоках, омывающих остров. Стоит он и перед ямами или после них, сзади больших камней и каменных плит, лежащих на дне, за большинством искусственных сооружений например мостовых ряжей у устоев, вблизи или сильной и бурной струи, у берегов выше и ниже ям , если эти ямы лежат на русле реки. Тайменя обычно можно найти в тихом спокойном но глубоком течении, а также в глубоких местах с обратным течением. В мелкой заводи – он редкий гость. Но большой жор заходит и сюда, рьяно гоняясь за добычей.

Лучшее время суток для ловли тайменя – утренние и вечерние часы. В тихие пасмурные дни таймень иногда берет в течении всего дня. В яркие солнечные дни клев его слабее. Ловить следует на местах его стоянок и, как правило со дна; при ловле с полуводы или на поверхности но попадается реже.

Пресноводный великан таймень (лосось), постоянный обитатель сибирских рек, по весу значительно превосходит кету, но менее энергичен в борьбе. Ловля его спиннингом представляет большой спортивный интерес.

Ленок (лосось) является непременным спутником тайменя: он обитает в тех же реках и ведет почти тот же образ жизни, что и таймень.

Ленок имеет несколько удлиненное тело с некрупной чешуей, сплошь покрывая не только спину и бока но и, брюхо. На теле, выше боковой линии, много темных округлых пятнышек; есть пятнышки, на спинном и жировом плавниках. Рот у ленка большой, с крепкими зубами. Вес редко превышает 8 кг, обычно средний вес его 3-4 кг

Ареал ленков более - менее близок к ареалу тайменя. Они обитают в реках Сибири, в реках, впадающих в Японское и Охотское моря, а также на Шантарских островах. На севере Дальнего Востока ареал ленков распространяется до рек Тугур и Уда, на юге - до юга Корейского полуострова и реки Ялу. Водится ленок во многих реках Северного Китая. Распространен ленок по всем рекам Азиатской части СНГ, начиная от Оби и кончая Колымой. Есть он в озере Байкал ; много его в бассейне Амура, особенно в верховьях реки.

Ленок очень хищный. Еще будучи мальком 4-5см, он уже начинает поедать икру и выклюнувшихся рыбок других пород, а подрастая(до 20-25), становится жесточайшим истребителем молоди тайменя, особенно в местах нерестилища последнего. По мере роста ленок делается все более прожорливым: он не брезгует ни какой живностью, находящиеся в воде и на воде: рыбами, лягушками, мелкой водоплавающей птицей.

Ленок нерестится в мае. На нерестилищах проходит небольшими группами, поднимаясь по реке иногда на очень большое расстояние. Нерестится там же где и таймень. После нереста ленок скатывается на свои постоянные места, изобилующие глубокими ямами, большими затопленными камнями, перекатами, ниже которых он и стоит. Лишь иногда в поисках пищи заходит он в тихие заводи и на мелкие места.

Вскоре после нереста, примерно в начале июня, ленок начинает «брать», но этот жор его не продлжителен-10-15 дней. Среди лета ленок на блесну почти не берет. Заметное улучшение клева начинается с конца августа; постепенно усиливаясь клев продолжается до начала октября, а затем спадает и оканчивается глубокой осенью.

Ловят ленка большей частью со дна. В струе ниже переката изредка можно поймать его при ловле поверху или в полводы. Более интенсивен клев его во время жировок в утренних или вечерних зорях. В это время он своими действиями напоминает жереха. Ловят ленка на блесны в 5-8 см-«Трофимовская»,»Байкал» , но лучшими приманками считаются раскрашенные «Девоны» в 5-6 см.

Для ловли вполне пригодна снасть средней грузоподъемности. Защитные действия ленка энергичны и шумны и происходят чаще всего на поверхности воды. Подобно тайменям, ленки отличаются от остальных видов лососевых тем, что являются непроходными, сугубо пресноводными видами. Из - за этой черты биологии в западной литературе ленков часто называют форелями - сибирской или манчжурской форелью, что, строго говоря, неверно. Еще одна особенность ленков - небольшой рот, свойственный сигам и хариусам, но не лососевым. Под "небольшим ртом" имеется в виду то, что, в отличие почти от всех остальных лососей, у ленков углы рта, не заходят сзади за уровень глаз. Это отличие бросается в глаза, если сравнить изображенных здесь на фото ленков и гольцов.

Но, начиная с 70-х гг. прошлого века, стали накапливаться данные, свидетельствующие о том, что внутри этой группы существуют, по крайней мере, две различающиеся по многим признакам формы. По наиболее явному признаку - длине рыла, - их принято называть острорылым и тупорылым ленками. Некоторые ихтиологи склонны считать их самостоятельными видами. У первых рот нижний, у вторых - конечный. Зоны распространения острорылого и тупорылого ленков значительно перекрываются. Тупорылый ленок известен в реках побережья Приморья, залива Петра Великого, по всему бассейну Амура, Амурского лимана, есть он на Сахалине, о-ве Большой Шантар, в реках Уда и Тугур. Кроме того, тупорылый ленок обитает в правых притоках Оби, в Телецком озере и в бассейне Лены.

Острорылый ленок также живет в бассейне Амура, в реке Уда, но наиболее широко представлен в реках Северного Ледовитого океана, от Колымы до Иртыша, населяет он и озеро Марка - Коль, где известен под названием ускуч. В реках побережья Приморья острорылого ленка, по-видимому, нет.

Наиболее четко различия между обеими формами ленков проявляются там, где они обитают совместно, в одном бассейне или одной реке. В таких зонах у тупорылых ленков окраска темная, с оливковым отливом, во время нереста почти не меняется. Иногда на боках появляются неясные красноватые пятна. У острорылых ленков окраска более светлая, серебристая, во время нереста на боках хорошо заметны слабо переливающиеся нежно-розовые пятна. На боках тела обеих форм ленка обычно имеются округлые темные пятна, а у молодых особей - несколько поперечных темных полос. Различаются обе формы и по своей экологии. Острорылый ленок совершает более протяженные миграции, тупорылый - более оседлый.

Ленки обитают в реках и озерах, по рекам поднимаются до самых верховий. В Забайкалье ленки живут даже в высокогорных ледниковых озерах. Нерестится ленок весной, в мае. Нерестилища располагаются на участках рек с быстрым течением и богатых перекатами. Икру самка зарывает в грунт, делая бугры из мелкой гальки. После нереста ленки широко расходятся по малым и большим горным рекам и озерам, придерживаясь в реках перекатов и порогов, а в озерах - истоков рек и устьев притоков. Спектр их питания очень широк - это донные личинки насекомых, моллюски, черви, а также рыбы, попадающие в воду грызуны и наземные насекомые. С наступлением осени, ленки начинают скатываться в более крупные и глубокие реки. Эта миграция происходит медленно, с остановками в кормных местах. Хорошая теплая погода может задержать ленков в подходящем месте на несколько дней или дольше. Часть рыб так и остается зимовать в сравнительно мелких притоках. Ленок достигает максимальной длины 67 см и массы 8 кг, предельный возраст - 14 лет. Популяции ленка из бассейна Оби - Горный Алтай, реки Бия и Катунь - находятся в угрожающем состоянии и нуждаются в охране.

Thumallus Vuigaris Nils Распространен по всей северной России- хариус, гариус; харьюз, харез. на Северо-западе он водится в реках, впадающих в Балтийское море, Финский залив, Ладожское и Онежское озера, а также и в самих озерах. В ладожском озере хариус обитает вдоль северного и западного побережий.

Обычно масса хариуса не превышает 200-800 грамм, редко он вырастает до 1-1,5 кг. Ведет дневной образ жизни и, как правило, питается в светлое время суток в течении всего года. Крупные экземпляры выходят из ям на перекаты для охоты ночью.

Название хариус, употребляют во всей северной России, очевидно, не русское и имеет финское происхождение. В восточной России оно чаще заменяется башкирским кутема, что, по-видимому, означает светлый, блестящий.

По многим признакам своим хариус составляет как бы посредствующее звено между лососями и сигами. К первым он приближается образованием своей пасти, усаженной более крупными зубами, чем у сигов, также широким языком, своим образом жизни и местопребыванием, к последним- небольшим ртом, формой тела, довольно крупною чешуей и меньшими изменениями по возрасту и полу, которые столь значительны у рыб собственно лососевого рода.

Хариуса очень легко определить по огромному спинному плавнику, который иногда, будучи сложен, почти достигает (у самцов) языковидного жирового плавника, характеризующего все семейство лососевых. Туловище его менее брусковато и более сжато , чем у лососей форелей и тайменей, и покрыто довольно крупными, плотными и крепко держащимися чешуями: только на груди и на брюхе до брюшных плавников находятся чрезвычайно мелкие чешуи, да при основании грудных замечаются более или менее голые площадки.

По своему цвету хариус – одна из самых пестрых и красивых наших рыб. Спина его обыкновенно серо- зеленая, усеянная более или менее многочисленными и ясными черными пятнышками, бока туловища светло- серые с продольными, иногда, впрочем, малозаметными буроватыми полосками; брюхо серебристо белое. Парные плавники обыкновенно грязно –оранжевые, а непарные – фиолетовые с темными полосками или пятнышками. Цвет хариуса подвержен большим изменениям: в водах быстрых он гораздо светлее; хариус, живущий в омутах, более стального цвета. Усмотреть хариуса в воде очень мудрено, так как его очень трудно усмотреть среди грунтов, камней. Северо уральский хариус, по видимому, несколько отличается от обыкновенного; именно он никогда не имеет большого количества пестрин и продольные полосы на нем весьма не ясны.

Хариус главным образом живет в гористых местностях и вместе с форелью составляет главное рыбе население холодных быстротекучих речек почти всей Европы, северной и северо - восточной России и всей Сибири, где он встречается и в озерах.

Хариус вообще отличается большим проворством и живостью и в этом отношении ни в чем не уступает форели. Французы недаром называют его l ombre, так как он скрывается мгновенно как тень. В солнечный день он часто выскакивает из воды, и хватает упавших насекомых, Прыжки его иногда бывают изумительными; Хариус ведет почти дневной образ жизни и кормится исключительно днем; главную пищу его составляют, насекомые, падающие с ветвей нависших над рекой деревьев. Кроме того, он истребляет икру других рыб, что, очень может быть, бывает причиною того, что в тех речках, где хариус многочислен, все карповые рыбы, не смотря на огромное количество своей икры и при достаточном количестве тихих заливов и старых или побочных русел, встречается уже очень редко.

Большую часть времени года хариусы живут небольшими стайками, которые бывают тем менее , чем большего возраста они достигли. Есть некоторые основания предположить, что до своей возмужалости стая молодых хариусов составляет, как бы одну молодую семью; но и взрослые особи в свое время составляют небольшие стайки, тоже одинакового возраста. Молодые хариусы обыкновенно живут в более мелких местах и на перекатах. А крупные предпочитают более или менее глубокие ямы, где все таки им уже не предстоит такой уже опасности от хищного тайменя крупной форели.

Любимые места хариуса- выше и ниже порогов и перекатов; на последние он часто выходит жировать. С половины сентября хариус уже не держится на быстринах и уходит в ямки заводи на зимовку. В теплое время хариус идет на мелководье, а в холодное время идет в песчаные и более глубокие места.

Вообще это одна из самых оседлых рыб. Замечено даже, что в течении всего лета хариусы днем стоят в одних и тех же местах, покидая их только к вечеру , когда выходят на перекаты или к порогам, где вода течет ровною струею, так что рыбе удобнее высматривать на ней падающих насекомых. Днем хариусы обыкновенно держатся в местах более глубоких, в траве и за камнями, приближаясь за кормом к мелкому берегу, где течение быстрее и травы нет. Здесь хариус стоит на одном месте, беспрестанно выскакивая на поверхность за плывущими мимо насекомыми. На каменистых отмелях хариуса собирается несколько десятков, но не рядом, в врозь и каждый занимает особую позицию, с которой удаляется при виде плывущего насекомого; хариус выплывает к нему на встречу, бросается на него или же, или же завидя издали в стороне, догоняет его, схватывает и затем немедленно возвращается на свое место. Движение же его, вызываемое течением, ограничивается кругом не более аршина в диаметре. Что действительно каждый хариус держится известного пункта, доказывается тем что каждый хариус крупный или мелкий всегда замечаются на одном и том же месте, а так же что место, которое занимал выуженный хариус, несколько дней остается вакантным; затем оно занимается, по вей видимости, новым.

Очень крупные хариусы выходят из ям на отмели- быстрины только ночью, редко днем. Они предпочитают стоять в коридорах, образуемых травою, или под обрывистыми берегами, где им легче скрыться. Тут они тоже держатся на одном месте и поодиночке.

Самый нерест имеет место на небольших глубинах и даже перекатах и в общих чертах имеет большое сходство с нерестом других лососевых рыб. Нерест хариуса может длиться до месяца(в южных районах в апреле, а в северных районах в мае июнь), в этот период они ходят парами редко самка с двумя самцами. В этот период их можно увидеть трущимися брюхом о камни, отчего почти все брюхо обнажается от чешуи и краснеет. Для помещения своих, не особенно, впрочем крупных, яичек самки, как говорят, выкапывают хвостовым плавником небольшие ямки в хряще и икринки, по оплодотворению, прикрывают мелкими камешками.

Икра развивается довольно быстро; молодые рыбки имеют небольшой желточный пузырь, поднимаются к поверхности воды, вскоре после того , как выклюнутся; растут очень скоро. Благоприятных условиях хариус уже через 2 года достигает веса 1 фунта, даже более, и вообще уже на третьем году достигает половой зрелости.

После нереста хариусы снова собираются небольшими стайками и, в противоположность лососям и форелям, очень скоро отъедаются.

3. Собственные исследования

3.1 Описание Зейского структурного подразделения Амурской региональной общественной организации "Российской Ассоциации общественных объединений охотников и рыболовов"

"Российская Ассоциация общественных объединений охотников и рыболовов" находится по адресу г.Зея,Амурская область,ул. Серова 1.

Общая площадь угодий составляет 270тыс.га.

Имеется два воспроизводственных участка, площадью 11тыс.га. и 9,2тыс.га., соответственно, что составляет 7,2% от общей площади.

Границы:

Восточная- от истока р.Умлекан вниз по течению до устья по правой стороне, далее через р.Зея на д.Улунга(нежил)

Южная- от д.Улунга(нежил) по дороге на д.Сион до пересечения со Староверческой дорогой и по ней до Тыгдинской трассы.

Западная- по Тыгдинской трассе до моста через р.Грязнушка и от моста по прямой на устье кл.Антонъевский, далее вверх по р.Уркан до устья р.Арби, далее вверх до р.Икан и по р.Икан до истока.

Северная- от истока р.Икан по прямой на границу охранной зоны Зейского заповедника, вдоль охранной зоны на устье Алганского залива Зейского водохранилища далее по р.Алгач до кл. с отметкой 890,7, через водораздел на исток р.Умлекан.

3.2 Постановление о предоставлении Амурской региональной общественной организации «Российской ассоциации общественных объединений охотников и рыболовов» территорий, акваторий для пользования объектами животного мира, отнесенными к объектам охоты N 653, 28.11.2006

С целю улучшения ведения охотничьего хозяйства и упорядочения пользования охотничьими угодьями области, руководствуясь Федеральным законом от 24.04.1995 № 52-ФЗ «О животном мире» (в редакции Федерального закона от 31.12.2005 № 199-ФЗ), в связи с истечением срока действия постановления Главы Администрации области от 04.11.1996 № 530 «О перезакреплении охотничьих угодий» (в редакции постановления губернатора области от 15.09.2005 № 521), на основании решений конкурсной комиссии по предоставлению территорий, акваторий для пользования объектами животного мира от 11.10.2006, 12.10.2006 и 20.11.2006, образованной постановлением губернатора области от 24.08.2006 № 467 постановляю:

    Предоставить Амурской региональной общественной организации «Российской ассоциации общественных объединений охотников и рыболовов» территории, акватории для пользования объектами животного мира, отнесенными к объектам охоты, площадью 5474,5 тыс. га сроком на 25 лет в границах согласно приложению к настоящему постановлению.

    Департаменту агропромышленного комплекса Администрации области заключить от имени Администрации области с Амурской региональной общественной организации «Российской ассоциации общественных объединений охотников и рыболовов» договор о предоставлении территории, акватории для пользования объектами животного мира, отнесенными к объектам охоты.

    Рекомендовать Управлению Россельхознадзора по Амурской области (И.В.Ряжских) выдать Амурской региональной общественной организации «Российской ассоциации общественных объединений охотников и рыболовов» долгосрочную лицензию на пользование объектами животного мира, отнесенными к объектам охоты, на предоставленных территориях, акваториях.

    Контроль за исполнением настоящего постановления возложить на заместителя губернатора области - начальника департамента агропромышленного комплекса А.В.Нестеренко.

3.3 Рыболовные принадлежности

Для написания дипломной работы я использовал материал собранный с летней и зимней практики, набирал материал в дирекции заповедника, заказников, и общества охотников и рыболовов.

Очень нужно знать рыболовные снасти. Существует много видов снастей. Кто на рыбалке не видел их; ведь что ни рыболов то новая снасть. Надо сказать что сейчас благодаря умельцам рыболовные удочки, особенно мормышки и блесна, достигли большого совершенства.

Всякая рыболовная снасть должна быть легкой, тонкой прочной и портативной. Особое значение тонкая снасть имеет при ловле пугливой рыбы или при ловле на водоеме, где спортивная ловля носит массовый характер, а также при ловле зимой, когда вода очень прозрачна, а рыба малоактивна.

Снасть должна быть удобной для ловли. Плохо работающая спиннинговая катушка и очень тяжелое удилище утомляют рыболова, а усталость создает плохое настроение, которое сказывается на самой ловле.

Опытный рыболов никогда не выезжает на рыбную ловлю без тщательной проверки и отладки снастей. Он обязательно проверит исправность удилищ, прочность лесы, состояние поплавков и крючков, соответствие грузила тому или иному поплавку.

Поплавочная удочка является наиболее распространенной снастью; ею пользуются и начинающие рыболовы и опытные удильщики.

Удочка состоит удилища, лесы, мотовильце или катушки, поплавка и грузила, крючка. Хорошее удилище должно быть прямым, эластичным , прочным, и легким. В зависимости от имеющегося материала оно может быть сделано из бамбука, орешника, или другого имеющегося материала. Есть и телескопические (составные из 6-9 колен) удилища. Длина удилища колеблется от 1.5 до 6м и более, а грузоподъемность его от 200 до 500г (груз такой массы. Привязанный к кончику удилища, можно поднять от пола и не сломать кончик). Опытный рыболов удилищем грузоподъемностью 300г может вытащить рыбу более 2кг.

Удилище может быть цельным или составным. Цельным обычно пользуются рыболовы, живущие вблизи водоема. Рыболовы которым приходится ездить в городском или железнодорожном транспорте, пользуются составными удилищами. Такие удилища перевозятся в специальных чехлах.

На всяком удилище делают либо мотовильце для наматывания лески, либо приспособление для крепление катушки. Мотовильце делается из медной проволоки, прикрепляется капроновыми нитками на клею и покрывается лаком.

Чтобы леса не имела резких изгибов, на мотовильце одевают резиновые трубочки. Если на удилище крепится катушка, то на нем делается несколько пропускных колец, а на самом кончике крепится «тюльпан» (последнее кольцо). Таким удилищем можно ловить и в проводку.

У хорошего рыболова удилище всегда содержится в хорошем состоянии. Перед каждым сезоном ловли он тщательно проверяет, поправляет и покрывает олифой или нитролаком. У такого хозяина удилища безупречно служат много лет.

Особого ухода требуют удилища из стеклопластика. Если его мокрые звенья оставить непротертыми, то их поверхность вспучивается и портится облицовка. В этих случаях удилище следует разобрать, каждое звено насухо вытереть, просушить и только тогда собрать и положить на хранение.

Леса является очень важным элементом для рыбной ловли. Желательно , чтобы леса была по возможности тонкой, малозаметной и прочной. Толщина лесы зависит от того, какую рыбу предстоит ловить. При этом нельзя забывать об одном очень важном моменте: на лесе не должно быть ниодного узла, от которого теряется ее прочность.

Можно, конечно , принять меры и для укрепления лесы на узлах. Перед завязыванием узла концы ее на 2-3 минуты следует опустить в кипяток. Однако лучше иметь при себе запас лесы и ловить рыбу на лесу без всяких узлов лесу нельзя хранить в сухом теплом месте, она от этого теряет свою прочность. После каждой рыбалки лесу надо просушить и снова наматывать на мотовильце или катушку. Мокрая леса при высыхании сильно сокращается и портит при этом катушку или мотовильце. Чтобы избежать этого, наматывать леску надо слабо.

Некоторые рыболовы подкрашивают лесу под цвет воды или дна водоема, например, в светло коричневый цвет лесу подкрашивают в растворе чая. Чтобы удлинить срок службы лесы, ее следует обработать чаем. Делается это так: в 100 г воды кипятят 10 г чая в течении 3-5 минут. Затем в кипящий раствор кладут моток лесы на 10 -12 секунд, охлаждают и снова кипятят 10-12 секунд. Проделывают это три раза, после чего оставляют лесу в чае на сутки.

Чай обладает противогнилостными свойствами и увеличивает срок службы лески.

Поплавки. Их назначение держать насадку на нужной глубине и подавать сигнал о поклевке рыбы. Поплавки бывают разные по форме, материалу, размерам, способам крепления. Рыболову нужны поплавки чувствительные и удобные. Видимо, потому и называется удочка поплавочной. Поплавки бывают разные: из гусиного пера, пробки, пластмассы, лучше всего из пенопласта. Чем меньше надводная часть погруженного поплавка, тем он чувствительнее, что, естественно, очень важно при ловле осторожной рыбы. Чувствительность поплавка также зависит от его формы. Он должен быть небольшого размера, легким чувствительным к малейшей поклевке. Наиболее удобны поплавки удлиненной формы (из гусиного пера и пенопласта) с креплением на ней лесы резиновым колечком, с помощью которого можно передвигать поплавок на любую глубину, не снимая его с лесы.

Чтобы поплавок был хорошо виден на вечерних и утренних зорях и в туман, его окрашивают в яркий цвет. Для большой контрастности обычно применяют белую, черную и красную краски. Поплавки надо хранить в специальной коробочке, чтобы они не поломались; периодически проверять, хорошо ли закреплены в них колечки и не стерлась ли в них окраска. Рыболов должен иметь запас поплавков, выверенных под определенные грузила.

Крючки. Их нетрудно подобрать к поплавочной удочке, так как крючки у нас изготавливаются по общепринятому стандарту, введенному с 1 января 1950 г. Рыболову следует знать, что от крючка во многом зависит лов.

Выпускаемые киевские и колюбакинские крючки определяются по номерам, их одиннадцать- 2,5; 3,5; 4; 5; 6; 7; 8,5; 10; 12; 14 16 (номер крючка указывает расстояние от цевья до кончика жала). Двойные и тройные крючки применяются, как правило, для оснастки блесен, снасточек или насадки живца используются для ловли хищных рыб.

При выборе крючка надо обращать внимание на его закалку. Хорошо закаленный крючок хорошо пружинит, но не ломается, сильно закаленный очень хрупкий, а слабо закаленный легко разгибается.

Зимние удочки. Зимние удочки можно разделить на два вида: зимние поплавочные и зимние сторожковые. Они разделяются по устройству и по способу ловли на них. Вариантов изготовления зимних поплавочных и сторожковых удочек очень много. Зимняя поплавочная удочка имеет некоторые особенности. Удилище ее должно быть коротким, эластичным, с мотовильцем или катушкой. Такая удочка оснащается лесой (длина 10-15м, сечение 0,1-0,15мм и более0 с зимним поплавком, грузиком и одним – двумя крючками, а иногда вместо них ставят просто мелкую мормышку. Для ловли на все приманки крепится поводок длиной 25-30 см, на малька- 50-60см. лучше прикреплять крючок № 3,5-4 с коротким цевьем. По цвету лучшим крючком является желтый.

Мормышка – эта исскуственная металлическая приманка с впаянным крючком. При движении с насадкой или без нее мормышка привлекает к себе рыбу. Она широко применяется на зимней рыбалке. Правда, многие рыболовы ею пользуются и в летнее время, привязав вместо крючка и грузила на конец лесы поплавочной удочки. Можно пользоваться при этом поплавком или сторожком.

Мормышки бывают самые различные по форме, весу, цвету, начиная от самой мелкой (с пшенное зерно) и кончая крупными («оливками»). Делаются они из различного металла, неодинаковыми по цвету и форме для того, чтобы лучше привлекать рыбу. Здесь не бывает точно установившегося правила; рыба обычно предпочитает светлую мормышку, а иногда она лучше брала темную медную или тусклую свинцовую. Подобные явления замечены и при ловле на блесны. Поэтому надо быть наблюдательным и чаще пробовать различные мормышки и блесны.

На мормышку можно ловить и без насадки. Это называется безмотыльным ловом на голую мормышку, привязанную под некоторым углом. Это позволяет при малейшем прикосновении рыбы к мормышке мгновенно ее подсеч,.

Рыболов должен умело привязать мормышку к леске.

3.4 Спиннинг- Спиннинг ныне широко популярен.

Спиннинг в том виде, каким мы привыкли его видеть, так же как и мормышка , существует давно; его первое описание у нас появилось еще в дореволюционное время.

Спиннинг состоит из удилища, катушки, лесы и блесны или снасточки. Для ловли «мирных рыб» вместо блесны применяется крючок.

Удилище. Спиннинговое удилище может быть сделано из клееного бамбука или стеклопластика. Имеются в продаже удилища из обычного бамбука, но они хуже по качеству. Делятся удилища на короткие одноручные (1,7-2,2м) и длинные двуручные (до 3,5). Обычно они составные для удобства при перевозке.

Покупая удилище, рыболов должен обратить внимание на его строй: удилище от его вершины и до комля должно иметь плавную кривую, быть упругим и легким, с хорошо подогнанными соединительными трубками, пропускными кольцами по стволу и катушкодержателем на рукоятке. При выборе спиннингового удилища надо учитывать его мощность- какую рыбу предстоит ловить.

Упругость удилища можно проверить с помощью груза, подвешанного к вершинке удилища. Делается это так: к рукоятке прикрепляют шнур, пропускают его через пропускное кольцо большого диаметра для безынерционной катушки, а к концу привязывают груз 200-300г и более, в зависимости от грузоподъемности удилища, толщины и длины его ствола, материала, из которого оно сделано. Удилище упирают комлем в стену, спинку стула или дивана. Затем берут за верхний конец рукоятки и медленно поднимают груз с пола, ставя удилище под углом в 45 градусов. Удилище хорошего строя остается прямым у рукоятки , а к вершине сгибается. После освобождения от нагрузки в меру упругое удилище быстро принимает прежнее положение, то есть становится прямым. В жестком удилище кривая прогиба более полога, в слабом – вершина удилища круто согнется к полу.

Как установлено, лучшими считаются спиннинговые удилища, которые выпускают заводы «Военохот» № 1, киевский «Сокол», московское общество»Рыболов- спортсмен» и Ленинградское общество охотников и рыболовов. Некоторые рыболовы и сами небезуспешно делают спиннинговые удилища, которые по качеству ничем не уступают заводским.

Катушка- главная составная часть спиннинга, с помощью которой производится заброс лесы с блесной, проводка и «игра» блесны в воде, смягчение сильных толчков попавшего хищника на блесну, утомление его и вываживание к лодке или на берег.

Катушки бывают инерционные и безынерционные. Отличаются они тем , что у инерционной катушки при разматывании лесы во время заброса вращается барабан, а у безынерционной леса сходит со шпульки катушки. Качество инерционной катушки определяется ее легкостью: при малейшем повороте ручки она должна легко и бесшумно вращаться без вибрации и зазоров. Катушка должна иметь тормоз с трещоткой.

Лучшей катушкой можно считать ленинградскую марки «Невская». Неплохо себя зарекомендовали катушки завода «Военохот» № 1 и Киевского общества охотников и рыболовов.

В последнее время большой популярностью пользуются безынерционные катушки. Их преимущество в том, что леса при забросах не путается, как это случается у неопытных спиннингистов при забросе инерционной катушкой. Это позволяет начинающим рыболовам без труда научиться делать хорошие забросы блесны. Безынерционной катушкой можно делать дальние забросы легкой блесны и пользоваться наиболее тонкой леской. Диаметр лесы для этих катушек 0,25- 0,35мм. Шпулька катушки заполняется полностью, что способствует лучшему сходу лесы после заброса. Безынерционные катушки бывают разных видов, их отличают по размерам и способам укладки лесы на баране.

Груз предназначен для дальнего и точного заброса блесны, лучшего маневрирования приманки в воде и препятствия закручивания лески. Тяжелую блесну обычно забрасывают без груза. Как правило, общая масса груза с блесной не должна превышать 30гр. В соответствии с этим и следует подбирать груз и блесну для ловли на спиннинг. Чтобы получить хорошую дальность заброса, необходимо, чтобы вес груза соответствовал также и мощности удилища.

Грузы отливаются из свинца, баббита и других тяжелых сплавов. Одна его сторона делается более тежолой, которая всегда в воде идет книзу и не деает поворотов вокруг своей оси. Наиболее распространенны грузы с названиями: «гирька», «стандарт», «фильда»; масса их от 15гр и выше. Когда приходится ловить на быстром течении, груз применяется большей массы. Спиннингисты пользуются и сменными грузилами.

Леса. Сейчас в магазинах есть разнообразные лесы – отечественные и зарубежные. Леса для спиннинга подбирается с учетом катушки и той рыбы, которую рыболов собирается ловить в данном водоеме. Чем тоньше и прочнее леса на катушке спиннинга, тем лучше: на ней рыба охотнее берет приманку. Однако слишком тонкая леска при забросах рвется. В зависимости от прочности для спиннинговой катушки берутся лесы от 0,3-0,8мм.

Блесна- это металлическая приманка специальной формы, «игра» которой в воде привлекает к себе хищных рыб. Ассортимент их очень большой, и незнает иногда рыболов какую из них выбрать. В продаже имеются колеблющиеся и вращающиеся; лучшими из них являются «успех», «уральская», «байкал», «трофимовская», «универсалка».

Чтобы избежать зацепа при ловле рыбы в коряжистых местах, многие рыболовы изготавливают блесны особой формы. В формочке отливается свинцовый груз в виде головки рыбки со вставленными в него еще до отливки отрезком стальной проволоки с петелькой. Проволока берется толщиной 1-1,2мм и обязательно укрепляется в верхней, более, тонкой, части головки. В этом случае груз всегда направлен в воде нижней кромкой ко дну, а одиночный крючок, припаянный к стержню, держится жалом в верх. Перед установкой груза на стержень надевается легкая вращающаяся блесна типа «байкал» или «универсалка». Дополнительного груза при ловли такой блесной не требуется.

Ловля спиннингом – это высшее достижение спортивного мастерства на рыбалке. Поэтому к спиннингу надо относится серьезно, бережно с ним обращаться и всегда содержать в образцовом порядке. Не класть его на землю - можно повредить лакировку удилища, поломать его, забить катушку землей. Лучше прислонить его к стенке или дереву, всегда носить в чехле, а дома держать в подвешанном виде. После окончания сезона лесу надо смотать с катушки на мотовильце, протиреть глицерином и, завернув в поэлителеновую пленку (или промасленную бумагу), хранить в темном и не очень теплом месте. Катушку очистить от грязи и смазать машинным маслом и, упаковав в прочную коробку, также поступить с блеснами, заводными кольцами и другими принадлежностями.

Проводочная удочка. Многие рыболовы ловят рыбу в проводку. Этим способом можно ловить и обычный летней удочкой на течении, но рыболову приходится то и дело перебрасывать удочку вверх по течению. Такая рыбная ловля требует много энергии и она утомительна. В данном случае лучше пользоваться проводочной удочкой .

Проводочная удочка должна быть легкой, длиной 2,2-2,8м, с примотанными пропускными кольцами и «тюльпаном».

Вместо бамбукового удилища можно пользоваться современным одноручным спиннинговым удилищем из стеклопластика. Леса для проводки должна быть самой тонкой и прочной. Толстую леску будет сильно сносить течением. Поплавок при ловле постепенно опускается по течению довольно далеко; чтобы он был заметен, делают его из пенопласта, раскрашивают в яркий цвет. Проводочный поплавок уравновешивается грузилами так, чтобы он погружался на 4/5 объема.

На лесу проводочной удочки привязывают поводок, оснащенный соответствующими грузилами и крючком. Чтобы поплавок хорошо держался в воде в вертикальном положении, на поплавок надо ставить 3-4 дробинки. Это делается для лучшей и равномерной утопляемости. Поплавок снабжают несколькими разными по величине дробинками.

Грузила размещают так, чтобы в 3см от крючка было самое маленькое грузило, это предупреждает от частых зацепок. Остальные грузила размещают через 20-30 см. крючки на проводочную удочку ставят в зависимости от того, какую рыбу приходится ловить.

Дорожка. Старинный лов хищной рыбы. Им занимаются многие рыболовы особенно молодые. Они говорят, что при этом получают два удовольствия: ловят рыбу и тренируются в гребле на лодке. Снасть дорожки очень простая, но ею нужно уметь пользоваться, а то можно проездить на лодке по водоему целый день и не увидеть ни одной поклевки.

Дорожка состоит из удилища (чаще всего спиннингового), катушки, лесы, груза, поводка и блесны, заменяемой снасточкой мертвой рыбки. Можно пользоваться дорожкой с деревянным мотовильцем. На это мотовильце наматывается леса от 60 – 80 м, сечением 0,5-0,8мм. На конце лесы ставится грузило против закрутки ее в воде, поводок, затем карабин и дальше крепится блесна. Блесны обычно крепятся колеблющиеся, большие и средние, типа «уральская», «норич», «шторлинг». Вместо них в закоряжных местах можно пользоваться воблером деревянным.

Поплавочная снасть для дальнего заброса.

Дальний заброс всегда привлекал внимание удильщиков, на что есть ряд достаточно веских причин.

Рыба зачастую держится не у берега а на глубине. Значит, там больше шансов выловить крупную рыбу.

У берега рыба пуглива и осторожна – особенно крупные ее особи, у которых за длительное пребывание запомнилось панорама береговой черты, и всякий новый предмет в виде фигуры рыболова, естественно их настораживает. В этой связи, наверное, каждый удильщик может припомнить ни один случай из своей практике , когда оставленная на некоторое время без присмотра м незакрепленная на берегу снасть утаскивалась крупной рыбой в воду, хотя в присутствии рыболова клева не было. Кто не пережил этих волнующих моментов, может легко убедиться в их реальности при при ловле , карпа, отойдя от удочки на десяток метров или уменьшив свои «угловые размеры» другими способами. Напомним что за счет преломления света на линии раздела воды и воздуха надводный мир для рыбы искажен. Вследствие преломления световой луч как бы наклоняется к береговой черте и рыба со дна водоема может увидеть удильщика раньше, чем он подойдет к берегу. Тем не менее предметы, находящиеся под углом 10-15 градусов относительно поверхности воды для рыбы остаются незамеченными.

При дальнем забросе отпадает необходимость сооружений различных приспособлений(мостков) и ненужно стоять глубоко в воде, что кроме удобств требует соответствующей экипировки. Снасть для дальнего заброса в ряде случаев позволяет забросить приманку через прибрежные заросли.

Наконец при дальнем забросе можно обловить значительно большую площадь водоема.

Дальний заброс дает хорошие результаты и в случаях ужения с лодки, так как лодка с якорями и тросами демаскирует рыболова. Как известно, в воде рыбы видят на растоянии до 10 -12 м при угле зрения каждым глазом по вертикали около 150 гр , по горизонтали- до 170гр.

Отмеченные преимущества заброса приманки на значительное расстояние (до 30 м) имеют отношение как к любительскому, так и к спортивному рыболовству. Поплавочная снасть для дальнего заброса, к примеру, широкое распространена в ФРГ. Рыболовы-спортсмены с ее помощью постоянно добиваются высоких результатов на соревнованиях.

Овладение снастью для дальнего заброса , существенно расширяющей возможности удильщиков, представляет несомненный интерес.

Техническая реализация снастей для дальнего заброса стала возможной благодаря появлению безынерционных катушек, позволяющих забросить приманку на значительное расстояние при относительно небольшой массе грузила(10 г и меньше ). В остальном эта снасть содержит те же элементы, что и простая поплавочная удочка, оборудована скользящим поплавком и грузилом. Оснастку со скользящими элементами принято называть « бегучей» в отличие от глухой(с фиксированным положением поплавка и грузила) , но по – настоящему бегучей снасть становится в результате использования безынерционной катушки.

Конструирование всех составных частей снасти для дальнего заброса подчинено достижению главной цели – увеличению дальности полета приманки при максимальной простоте снасти и удобстве работы с нею. Рассмотрению отдельных элементов снасти лучше начать с безынерционой катушки.

Безынерционная катушка.

Безынерционная катушка (БК) бывают закрытого, полузакрытого и открытого типов. В БК первых двух типов (КСБ-4, КСБ-6, КСБХ-3,КСБХ-5) шпуля с запасом лески закрыта полностью или частично неподвижной обоймой (колпаком). Для всех разновидностей этих катушек характерны сравнительно небольшая емкость шпули( до 80м лески диаметром 0,4 мм) и непригодность к работе с более толстыми лесками; малое передаточное число редуктроа(от 2-3,2), что затрудняет проводку приманки, или подмотку лески , на повышенных скоростях; беспорядочная укладка лески, на шпуле(«в навал») у некоторых типов БК с закрытой шпулей. Несмотря на определенные достоинства (малый вес и габариты, относительная простота конструкции, возможность установки БК закрытого типа на удилища с пропускными кольцами нормальных размеров, управления дугой лесоукладывателя, и подмотка лески правой рукой, сравнительно низкая стоимость) катушки этого типа плохо подходят для снасти с дальним забросом. Основная область их применения- одноручные или двуручные спиннинги для ловли не очень крупной рыбы. Особенно большой популярностью БК закрытого и полузакрытого типов пользуются у начинающих спиннингистов., поскольку при забросе приманки практически исключено запутывание лески. Нужно еще заметить, что в рассматриваемых типах БК затрудненно, а зачастую и невозможно плавное торможение полета приманки, в связи с чем ухудшается точность заброса. По этой причине закрытые БК постенно вытесняются полузакрытыми.

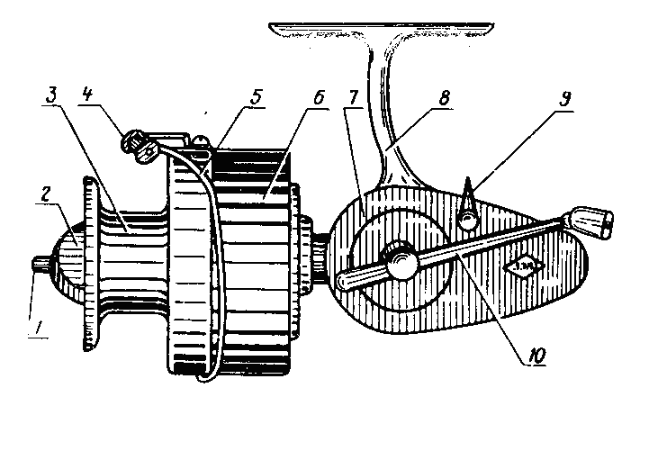
Безынерционная катушка с открытой шпулей: 1-кнопка для съема шпули; 2-регулятор тормоза; 3-шпуля; 4-ролик лесоукладывателя; 6- вращающаяся обойма(барабан); 7-корпус с крышкой; 8-кронштейн с держателем; 9-ручка стопора обратного хода, 10-рукоятка.

Главная особенность катушки состоит в том, что сход лески при забросе приманки происходи с неподвижной выдвинутой вперед шпули при отключенном лесоукладывателе (отведенной в сторону его дуге). При этом не нужно затрачивать пусковое усилие на « раскручивание» шпули, как это имеет место у инерционных катушек, и при достаточно полном заполнении шпули леской и упорядоченной ее укладке появляется возможность заброса на значительное расстояние приманки с грузилом небольшой массы (до 5г). Это в свою очередь допускает использование тонких лесок ( с диаметром 0,2-0,3мм).

В процессе заброса при правильной эксплуатации БК исключается запутывание лески, что характерно для всех типов БК. Напомним , что в ИК при забросе леска нередко запутывается, образуя « бороду», или «парик». Происходит это по той причине, что под действием летящих грузила и приманки за счет пусковой инерции («раскручивание» барабана) на участке от ИК до первого кольца накапливается излишек лески, которая свертываясь петлями, наматывается на барабан в обратном направлении. Инерционность катушки может привести к запутыванию лески и в момент вхождения приманки с грузилом в воду. Существуют способы борьбы с этим неприятным явлением (не слишком резкая посылка приманки с грузилом, подтормаживание вращающегося барабана рукой), но их применение уменьшает дальность заброса. Даже опытные рыболовы не застрахованы от образования «бороды», распутывание которой требует определенного времени и нередко сопровождается обрывом лески. Ничего подобного нет в снастях с БК- с неподвижной шпули сбегает ровно столько лески, сколько ее вытягивает грузило с приманкой. При достижении последними воды скорость схода лески пропорционально уменьшается, а при попадании их на дно- сматывание лески прекращается.

Подсечка исследующая подмотка лески осуществляется при включенном лесоукладывателя ( он включается поворотом рукоятки от себя). При этом леска подхватывается роликом лесоукладывателя, жестко закрепленном на обойме (барабане) катушки. С поворотом рукоятки вращается обойма с роликом, шпуля в это время совершает возвратно поступательное движение(вперед- назад) и леска рядовой (виток к витку) или перекрестной ( крест-накрест) обмоткой, в зависимости от типа БК, укладывается на шпуле. Равномерная намотка лески обеспечивается возвратно-поступательным механизмом - кулисной передачей.

Передача вращения от рукоятки к обойме осуществляется расположенным в корпусе БК зубчатым (шестеренчатым) или червячным (винтовым) редуктором с определенным передаточным числом, находящимся обычно в пределах от 2,5-6. В паспорте БК вместо передаточного числа(отношения) может указываться связанная с ним скорость подмотки, которая определяется длиной лески, наматываемой на шпулю за один оборот рукоятки.

Если, допустим передаточное число равно 3,6 (на один оборот рукоятки приходится 3,6 оборота обоймы с лесоукладывателем и столько же витков обмотки), а средний диаметр обмотки на шпуле Dш=40мм, то скорость подмотки составит 3,6*пDш=3,6*3,14*40=450мм/оборот. Скорость подмотки у БК будет в 450/345=1,3раза больше, чем у ИК типа «Невская», хотя диаметр шпули в 2,8 раза меньше диаметра барабана. Для получения той же скорости подмотки диаметр подмотки на барабане ИК нужно увеличить до D1б=450/п=450/3,14=14,5мм,

Некоторые БК зарубежных фирм дают скорость подмотки до 1000мм/оборот, что почти в три раза превышает скорость подмотки у ИК . диаметр барабана ИК для получения такой скорости придется увеличить до D1б=1000/п=1000/3,14= 320мм(!), что не имеет практического смысла хотя бы из за значительного увеличения массы катушки ( нельзя будет забросить приманку), не говоря уже о совершенно неприемлемых габаритах ИК.

Повышенные скоростные качества являются еще одним достоинством БК, способствующим более оперативной работе снастью. Нужно заметить, что чем мощнее БК, тем меньше скорость подмотки. У силовых БК. Рассчитанных на крупную рыбу, передаточное число обычно не превышает 2,5-3.

Стопор обратного хода предназначен для обеспечения одностороннего вращения обоймы, что очень важно при подсечке рыбы (может выполняться одной рукой без придерживания рукоятки), а также удобно при свинчивании рукоятки и транспортировке снасти. У многих типов БК одновременно со стопором включается и трещотка внутри корпуса, сигнализирующая о выключении обратного хода.

Сверху шпули находится выполненный в виде фигурной гайки регулятор фрикционного тормоза, крепящий шпулю коси катушки. Роль этого тормоза очень важна и сводится в основном предотвращению обрыва лески при сильных рывках крупной рыбы. Регулятор тормоза поворачивается до такого уровня при котором усилие, необходимое для прокручивания шпули против хода часовой стрелки, будет несколько меньше разрывного усилия лески. При срабатывании тормоза включается трещотка, подающая сигнал о поклевке рыбы. Использование тормоза целесообразно, если нужно напустить леску- под нагрузкой рыба быстрее утомляется и вероятность резких ее движений уменьшается, что тоже способствует сохранности лески и катушки.

Кнопка служит для быстрого съема шпули и ее замена на запасную с леской другого диаметра. Необходимость смены шпули может быть вызвана также обрывом лески. Как правило в комплекте БК имеется запасная шпуля и чаще всего с меньшей лесоемкостью, что достигается увеличением диаметра шпули или при помощи дополнительного кольца. Подкладку для шпули виде кольца можно легко сделать самому из пробки, губчатой резины или поролона, обернув ее липкой лентой. Во всех случаях заполнение шпули леской должно быть достаточно полным (на 3-5мм ниже бортика шпули), что является непременным условием для дальнего заброса приманки.

В мире выпускается огромное количество БК разнообразных типов. Достаточно сказать, что только японские рыболовные фирмы изготавливают сотни моделей БК открытого типа. У нас в стране БК выпускаются Киевским производственным объединением «Электроприбор» (серия катушек «Дельфин»), Ленинградским электромеханическим заводом (серии «ЛЭМЗ»).

Катушка «Дельфин-М» имеет современную форму и отделку, выполнена из легких и прочных материалов, обладает хорошими антикоррозийными свойствами и небольшой массой. Особенностью БК является объединенная с фрикционным тормозом шпуля « юбочного» типа, исключающая попадание лески между шпулей и вращающейся между ней обоймой. К недостаткам БК следует отнести не совеем удачную конструкцию лесоукладывателя, вследствие чего при начале подмотки леска не всегда попадает на вырез ролика и намотка запутывается. Ненадежно срабатывает устройство смены шпули(в последних модификациях катушки отсутствует), слишком высок кронштейн, вызывает также неудобства съем рукоятки при транспортировке.

БК серии «ЛЭМЗ» являются, пожалуй, наиболее совершенными катушками отечественного производства. Модель «ЛЭМЗ-2» самая простая, легкая и дешевая. При транспортировке рукоятка легко разворачивается вовнутрь и снимать ее не обязательно. Если при эксплуатации не четко будет перебрасываться дуга лесоукладывателя при повороте рукоятки, следует более точно подогнать дугу к гнездам винтов, крепящих их к обойме. Для исключения попадания лески под гайку регулятора тормоза последнюю нужно подточить. Отличие других катушек серии «ЛЭМЗ» от модели «ЛЭМЗ-2» в основном конструктивно-технологические (замена ряда пластмассовых деталей металлическими, более качественно изготовление отдельных узлов), что, естественно, приводит к увеличению их стоимости.

БК типа КБС (катушка безынерционная спиннинговая) модель 671 производства Ленинградского инструментального завода (ЛИЗ) по сравнению с рассмотренными выше более мощная и может применяться для ловли крупой рыбы, в том числе и хищной. Обойма этой БК металлическая, что делает ее более прочной и, естественно, более тяжелой. Катушка хорошо отличается хорошо отработанной конструкцией и надежна в работе. Недостатками ее является необходимость съема рукоятки при транспортировке и не очень легкий и плавный ход.

Еще одной относительно мощной БК является модель «Дельфин-8», которую по праву считают наиболее совершенной в серии «Дельфинов». Кроме металлического корпуса, шпули «юбочного» типа и ряда других достоинств в катушке «Дельфин-8» имеется перестановки приводной рукоятки как по левою, так и по правую руку. Э то обстоятельство делает ее незаменимой, если рыболов левша. Дело в том, что большинство БК устроено таким образом, что заброс и управление полетом приманки производится правой рукой. А выключение лесоукладывателя и вращение рукоятки -левой, т.е. катушки рассчитаны на удильщиков с более развитой правовой рукой.

В поплавочной снасти с дальним забросом может успешно использоваться практически любая из рассмотренных моделей БК, но лучшими качествами обладает катушка «ЛЭМЗ-2». Катушки «КБС-671» и «Дельфин-8» больше подходят для спиннингов.

БК является наиболее ответственным, сложным дорогим элементом снасти. Приобретая катушку , прежде всего нужно убедиться в отсутствии внешних повреждений. Особое внимание следует обратить на бортик переднего фланца шпули, с которого сбегает леска, и дугу лесоукладывателя, поверхности которых должны быть хорошо отшлифованы. Дуга должна отводиться до отказа, а при повороте рукоятки включается без большой задержки. Вращение рукоятки должно быть легким и плавным (без заедания и рывков). Совершенно не допустимо трение фланца шпули о внутреннюю поверхность обоймы, равно как и наличие большого зазора между ними, в который может попадать леска. Следует также тщательно проверить действие регулятора фрикционного тормоза, стопора обратного хода и механизма для быстрой смены шпули. Нужно внимательно изучить правила пользования БК и точно их выполнять в процессе эксплуатации катушки.

Есть еще один класс катушек, занимающее промежуточное положение между БК и ИК, - мультипликаторные катушки (МК). Точнее, МК- это усовершенствованная ИК с шестеренчатым редуктором (передаточное число от 3 до 5). За счет редуктора удается уменьшить диаметр шпули и довести ее массу до 15 – 30г, что существенно снижает пусковую инерцию катушки. Этому способствует и вращение шпули в подшипниках относительно неподвижной оси. Жестко связанной с корпусом.

В наиболее простых «мультипликаторах» со свободным ходом редуктор включается рычажком на корпусе. В МК с автоматическим тормозом последний включается расположенным над шпулей рычагом, который поднимает сбегающая со шпули леска. Лучшие модели МК снабжены устройством для автоматической намотки лески виток к витку, регулятором скорости вращения шпули и другими приспособлениями.

МК предназначены в основном для ловли спиннингом или в проводку, но при массе грузила 10 -15 г и больше могут успешно применяться и в снасти с дальним забросом с пропускными кольцами нормальных размеров.

Удилище.

Для снасти с дальним забросом нужны удилища средней жесткости или нормальные. С длиной 2,5-3,2м. спиннинговые удилища не подходят по длине (обычно короче требуемых), обладают более жестким строем и, как правило, оборудованы пропускными кольцами под ИК, которые приходится заменять.

Больше подходят телескопические удилища, в частности шестиколенное с длиной порядка 4м, если снять комлевое звено, длина удилища уменьшится приблизительно до 3,4м, что несколько превысит верхний предел рекомендуемой длины. Можно довести длину удилища до 2,7м , сняв еще одно колено. Оставшиеся четыре звена легче приобрести по отдельности, и тогда собранное из них удилище окажется гораздо дешевле полного. Но четвертое комлевое колено будет не совсем удобно держать руками, его толщину придется нарастить. С учетом изложенного более приемлемым следует признать первый вариант, т.е. укорочение шестиугольного удилища на одно звено. Некоторое увеличение длины не вызовет ощутимого увеличения массы удилища и неудобств при работе с ним. С другой стороны, хотя длина удилища в рассматриваемой снасти и не является определяющим фактором для дальнего заброса, небольшое удлинение «плеча рычага» будет полезно. Освободившееся комлевое звено можно использовать в качестве футляра для хранения запасных деталей снасти: кончика, поплавков с подогнанными под них грузилами.

Пропускные кольца

Для выбранного укороченного на одно звено шестиколенного телескопического удилища можно ограничиться пятью пропускными кольцами, так как сравнительно высокое расположение колец в снастях с БК устраняет возможность прилипания лески к мокрому удилищу даже при небольшом числе колец. При забросе приманки леска, сбегая со шпули БК, описывает наклонную коническую поверхность (заштрихована на рисунке), которая должна вписаться во внутренние диаметры колец, слегка касаясь их стенок. При этом леска будет проходить через пропускные кольца без «изломов», что исключит ее запутывание и торможение в кольцах. Это в итоге скажется положительно на дальности и точности заброса.

Главная особенность катушки состоит в том, что сход лески при забросе приманки происходи с неподвижной выдвинутой вперед шпули при отключенном лесоукладывателе (отведенной в сторону его дуге). При этом не нужно затрачивать пусковое усилие на « раскручивание» шпули, как это имеет место у инерционных катушек, и при достаточно полном заполнении шпули леской и упорядоченной ее укладке появляется возможность заброса на значительное расстояние приманки с грузилом небольшой массы (до 5г). Это в свою очередь допускает использование тонких лесок ( с диаметром 0,2-0,3мм).

В процессе заброса при правильной эксплуатации БК исключается запутывание лески, что характерно для всех типов БК. Напомним , что в ИК при забросе леска нередко запутывается, образуя « бороду», или «парик». Происходит это по той причине, что под действием летящих грузила и приманки за счет пусковой инерции («раскручивание» барабана) на участке от ИК до первого кольца накапливается излишек лески, которая свертываясь петлями, наматывается на барабан в обратном направлении. Инерционность катушки может привести к запутыванию лески и в момент вхождения приманки с грузилом в воду. Существуют способы борьбы с этим неприятным явлением (не слишком резкая посылка приманки с грузилом, подтормаживание вращающегося барабана рукой), но их применение уменьшает дальность заброса. Даже опытные рыболовы не застрахованы от образования «бороды», распутывание которой требует определенного времени и нередко сопровождается обрывом лески. Ничего подобного нет в снастях с БК- с неподвижной шпули сбегает ровно столько лески, сколько ее вытягивает грузило с приманкой. При достижении последними воды скорость схода лески пропорционально уменьшается, а при попадании их на дно- сматывание лески прекращается.

Подсечка исследующая подмотка лески осуществляется при включенном лесоукладывателя ( он включается поворотом рукоятки от себя). При этом леска подхватывается роликом лесоукладывателя, жестко закрепленном на обойме (барабане) катушки. С поворотом рукоятки вращается обойма с роликом, шпуля в это время совершает возвратно поступательное движение(вперед- назад) и леска рядовой (виток к витку) или перекрестной ( крест-накрест) обмоткой, в зависимости от типа БК, укладывается на шпуле. Равномерная намотка лески обеспечивается возвратно-поступательным механизмом - кулисной передачей.

Передача вращения от рукоятки к обойме осуществляется расположенным в корпусе БК зубчатым (шестеренчатым) или червячным (винтовым) редуктором с определенным передаточным числом, находящимся обычно в пределах от 2,5-6. В паспорте БК вместо передаточного числа(отношения) может указываться связанная с ним скорость подмотки, которая определяется длиной лески, наматываемой на шпулю за один оборот рукоятки.

Если , допустим передаточное число равно 3,6 (на один оборот рукоятки приходится 3,6 оборота обоймы с лесоукладывателем и столько же витков обмотки), а средний диаметр обмотки на шпуле Dш=40мм, то скорость подмотки составит 3,6*пDш=3,6*3,14*40=450мм/оборот. Скорость подмотки у БК будет в 450/345=1,3раза больше, чем у ИК типа «Невская», хотя диаметр шпули в 2,8 раза меньше диаметра барабана. Для получения той же скорости подмотки диаметр подмотки на барабане ИК нужно увеличить до D1б=450/п=450/3,14=14,5мм,

Некоторые БК зарубежных фирм дают скорость подмотки до 1000мм/оборот, что почти в три раза превышает скорость подмотки у ИК . диаметр барабана ИК для получения такой скорости придется увеличить до D1б=1000/п=1000/3,14= 320мм(!), что не имеет практического смысла хотя бы из за значительного увеличения массы катушки ( нельзя будет забросить приманку), не говоря уже о совершенно неприемлемых габаритах ИК.

Повышенные скоростные качества являются еще одним достоинством БК, способствующим более оперативной работе снастью. Нужно заметить, что чем мощнее БК, тем меньше скорость подмотки. У силовых БК. Рассчитанных на крупную рыбу, передаточное число обычно не превышает 2,5-3.

Стопор обратного хода предназначен для обеспечения одностороннего вращения обоймы, что очень важно при подсечке рыбы (может выполняться одной рукой без придерживания рукоятки), а также удобно при свинчивании рукоятки и транспортировке снасти. У многих типов БК одновременно со стопором включается и трещотка внутри корпуса, сигнализирующая о выключении обратного хода.

Сверху шпули находится выполненный в виде фигурной гайки регулятор фрикционного тормоза, крепящий шпулю коси катушки. Роль этого тормоза очень важна и сводится в основном предотвращению обрыва лески при сильных рывках крупной рыбы. Регулятор тормоза поворачивается до такого уровня при котором усилие, необходимое для прокручивания шпули против хода часовой стрелки, будет несколько меньше разрывного усилия лески. При срабатывании тормоза включается трещотка, подающая сигнал о поклевке рыбы. Использование тормоза целесообразно, если нужно напустить леску- под нагрузкой рыба быстрее утомляется и вероятность резких ее движений уменьшается, что тоже способствует сохранности лески и катушки.

Кнопка служит для быстрого съема шпули и ее замена на запасную с леской другого диаметра. Необходимость смены шпули может быть вызвана также обрывом лески. Как правило в комплекте БК имеется запасная шпуля и чаще всего с меньшей лесоемкостью, что достигается увеличением диаметра шпули или при помощи дополнительного кольца. Подкладку для шпули виде кольца можно легко сделать самому из пробки, губчатой резины или поролона, обернув ее липкой лентой. Во всех случаях заполнение шпули леской должно быть достаточно полным (на 3-5мм ниже бортика шпули), что является непременным условием для дальнего заброса приманки.

В мире выпускается огромное количество БК разнообразных типов. Достаточно сказать, что только японские рыболовные фирмы изготавливают сотни моделей БК открытого типа. У нас в стране БК выпускаются Киевским производственным объединением «Электроприбор» (серия катушек «Дельфин»), Ленинградским электромеханическим заводом (серии «ЛЭМЗ»).

Катушка «Дельфин-М» имеет современную форму и отделку, выполнена из легких и прочных материалов, обладает хорошими антикоррозийными свойствами и небольшой массой. Особенностью БК является объединенная с фрикционным тормозом шпуля « юбочного» типа, исключающая попадание лески между шпулей и вращающейся между ней обоймой. К недостаткам БК следует отнести не совеем удачную конструкцию лесоукладывателя, вследствие чего при начале подмотки леска не всегда попадает на вырез ролика и намотка запутывается. Ненадежно срабатывает устройство смены шпули(в последних модификациях катушки отсутствует), слишком высок кронштейн, вызывает также неудобства съем рукоятки при транспортировке.

БК серии «ЛЭМЗ» являются, пожалуй, наиболее совершенными катушками отечественного производства. Модель «ЛЭМЗ-2» самая простая, легкая и дешевая. При транспортировке рукоятка легко разворачивается вовнутрь и снимать ее не обязательно. Если при эксплуатации не четко будет перебрасываться дуга лесоукладывателя при повороте рукоятки, следует более точно подогнать дугу к гнездам винтов, крепящих их к обойме. Для исключения попадания лески под гайку регулятора тормоза последнюю нужно подточить. Отличие других катушек серии «ЛЭМЗ» от модели «ЛЭМЗ-2» в основном конструктивно-технологические (замена ряда пластмассовых деталей металлическими, более качественно изготовление отдельных узлов), что, естественно, приводит к увеличению их стоимости.

БК типа КБС (катушка безынерционная спиннинговая) модель 671 производства Ленинградского инструментального завода (ЛИЗ) по сравнению с рассмотренными выше более мощная и может применяться для ловли крупой рыбы, в том числе и хищной. Обойма этой БК металлическая, что делает ее более прочной и, естественно, более тяжелой. Катушка хорошо отличается хорошо отработанной конструкцией и надежна в работе. Недостатками ее является необходимость съема рукоятки при транспортировке и не очень легкий и плавный ход.

Еще одной относительно мощной БК является модель «Дельфин-8», которую по праву считают наиболее совершенной в серии «Дельфинов». Кроме металлического корпуса, шпули «юбочного» типа и ряда других достоинств в катушке «Дельфин-8» имеется перестановки приводной рукоятки как по левою, так и по правую руку. Э то обстоятельство делает ее незаменимой, если рыболов левша. Дело в том, что большинство БК устроено таким образом, что заброс и управление полетом приманки производится правой рукой. А выключение лесоукладывателя и вращение рукоятки -левой, т.е. катушки рассчитаны на удильщиков с более развитой правовой рукой.

В поплавочной снасти с дальним забросом может успешно использоваться практически любая из рассмотренных моделей БК, но лучшими качествами обладает катушка «ЛЭМЗ-2». Катушки «КБС-671» и «Дельфин-8» больше подходят для спиннингов.

БК является наиболее ответственным, сложным дорогим элементом снасти. Приобретая катушку , прежде всего нужно убедиться в отсутствии внешних повреждений. Особое внимание следует обратить на бортик переднего фланца шпули, с которого сбегает леска, и дугу лесоукладывателя, поверхности которых должны быть хорошо отшлифованы. Дуга должна отводиться до отказа, а при повороте рукоятки включается без большой задержки. Вращение рукоятки должно быть легким и плавным (без заедания и рывков). Совершенно не допустимо трение фланца шпули о внутреннюю поверхность обоймы, равно как и наличие большого зазора между ними, в который может попадать леска. Следует также тщательно проверить действие регулятора фрикционного тормоза, стопора обратного хода и механизма для быстрой смены шпули. Нужно внимательно изучить правила пользования БК и точно их выполнять в процессе эксплуатации катушки.

Есть еще один класс катушек, занимающее промежуточное положение между БК и ИК, - мультипликаторные катушки (МК). Точнее, МК- это усовершенствованная ИК с шестеренчатым редуктором (передаточное число от 3 до 5). За счет редуктора удается уменьшить диаметр шпули и довести ее массу до 15 – 30г, что существенно снижает пусковую инерцию катушки. Этому способствует и вращение шпули в подшипниках относительно неподвижной оси. Жестко связанной с корпусом.

В наиболее простых «мультипликаторах» со свободным ходом редуктор включается рычажком на корпусе. В МК с автоматическим тормозом последний включается расположенным над шпулей рычагом, который поднимает сбегающая со шпули леска. Лучшие модели МК снабжены устройством для автоматической намотки лески виток к витку, регулятором скорости вращения шпули и другими приспособлениями.

МК предназначены в основном для ловли спиннингом или в проводку, но при массе грузила 10 -15 г и больше могут успешно применяться и в снасти с дальним забросом с пропускными кольцами нормальных размеров.

Пропускные кольца

Надо иметь в виду возможность варьирования некоторыми размерами колец в разумных пределах. Например, для повышения жесткости конструкции в ряде случаев имеет смысл несколько уменьшить hн, соответственно увеличив d.

По мнению многих авторов, нет остро необходимости в постановке пропускных колец большого диаметра , поскольку кольца меньшего диаметра повышают прямолинейность схода лески с БК и уменьшают сопротивление воздуха полета лески. С этим можно согласиться, если в снасти используется тяжелое грузило и сравнительно толстая леска, т.е. когда важно уменьшить торможение лески в воздухе и не имеет большого значения ее трение в кольцах. При выполнении указанных условий диаметры колец могут быть уменьшены на 10-15% по сравнению с расчетными.

Стационарные пропускные кольца проще всего изготавливать из стальной проволоки (нержавеющей или с антикоррозийным покрытием) сечением 1-2.5мм. держатель может быть односторонним (рис а) или двусторонним (рис б).в последнем случае конструкция колец получится более жесткой, но для их закрепления подмоткой потребуется больше времени и нити. Чтобы не ошибиться в длине отрезка проволоки, ее можно предварительно рассчитать или измерить по пробному кольцу, изготовленному из тонкой мягкой проволоки, после его распрямления в линию.

Стационарные кольца могут быть выполнены и из листовой стали с односторонним (рис ,а) или двусторонним(рис ,б) креплением. С удилищем пропускные кольца соединяют способом подмлтки, а также при помощи пластмассовых колец, надвигаемых на держатель, который имеет форму вогнутой пластины. Второй вариант крепления помогает при необходимости легко снять кольца с удилища. Конструкция на рис ,а более практична – кольцо может быть сделано из цельной сталь ной заготовки без сварных соединений или пайки.

Перемещаемые (передвижные) кольца имеют держатель в виде втулки, внутренний диаметр которой несколько превышает толщину удилища в месте крепления (для подкладки из кожи или липкой ленты). Простейший вариант скользящего кольца можно сделать по конструкции, показанной на рисунке ,а, согнув из пластины втулку, или так, как показано на рисунке ,в, г.

Наиболее строгие требования предъявляются к качеству изготовления «тюльпана», а также второго и третьего кольца, испытывающих наибольшие нагрузки. Сравнительно тонкая леска (0.2-0.3мм) после нескольких недель рыбалки в кольцах протирает тонкие борозды, которые хорошо просматриваются через лупу. В дальнейшем при забросе и подмотки леска тормозится в бороздках, быстрее истирается и выходит из строя. В этой связи первые три кольца рекомендуется выполнять из особо твердой стали. В качестве материала для кольца «тюльпана» хорошо подходят фарфор или фаянс. Внутренние поверхности всех без исключения колец должны быть тщательно отшлифованы. В целях уменьшения массы ряд зарубежных фирм изготавливает пропускные кольца из окиси алюминия, применяя для оправы рабочей поверхности высоколегированную сталь. Ближайшие к БК два кольца с наибольшими размерами можно сделать складными, соединив ножку с держателем подпружиненным шарниром.

В Чехословакии и Польше большой популярностью у рыболовов – любителей пользуются оригинальные пропускные кольца треугольной формы с закругленными углами (рис ,а). леска соприкасается с внутренней

Поверхностью кольца практически только в трех точках, за счет чего уменьшается трение и исключается круговое биение лески (вибрация), что способствует увеличению дальности заброса и повышению его точности. Треугольную форму обычно придает ближайшему к БК кольцу или четвертому или пятому.

Сборка снасти

Кроме установки пропускных колец удилище надо оборудовать мотовильцем, резиновым кольцом для закрепления крючка и наконечником. Рекомендуется также в целях приближения тяжести удилища к руке несколько утяжелить комель, для чего в комлевое отверстие вкладывается свинцовая вставка приблизительно 5см. этот противовес будет способствовать уменьшению усилия, изгибающего кисть руки при удержании в ней удилища, но при этом плечевым и другим мышцам держать более тяжелое удилище станет труднее. Поэтому существует другая точка зрения, отрицающая целесообразность искусственного утяжеления комля и полагающая, что расположение центра тяжести удилища на расстоянии не больше 1/3 его длины, считая от комля, вполне достаточно. В рассмотренной снасти это расстояние составляет 1/5 от длины удилища и нет смысла сокращать на 10-12см за счет противовеса.

Намотку лески на шпулю БК лучше производить при установленной на удилище катушке. Для этого через «тюльпан» и остальные кольца следует пропустить конец лески от бобины при отведенной дуге лесоукладывателя закрепить его известным катушечным узлом на шпуле БК. Затем, взяв удилищев правую руку, (на 15-20см выше катушки) , уперев его комель в бедро и придерживая леску, включить дугу лесоукладывателя, вращая рукоятку левой рукой от себя. В процессе намотки леску нужно постянно придерживать пальцами правой руки (рукоятка должна вращаться с некоторым усилием), что обеспечивает плотную ее укладку на шпуле.

После окончания еамотки надо ставить 1.5-2м лески свободной (от тюльпана) . обрезать ее конец пропустить сквозьменьшее колечко «восьмерки» поплавка, а затем и через отвертие скользящего груза, на выходе из которого вяжут петлю. Поводок длиной 40-50см (для «глубоководной» снасти) с «подпаском» и крючком соединяют с основной леской узлом «петля в петлю». Нижний стопорный узел вяжут от петли на расстоянии, несколько превышающем длину поводка (чтобы при забросе крючек не зацеплялся за крепление поплавка), а передвижной верхний- над поплавком. У «мелководной» снасти длину поводка, естественно, нужно уменьшить. Между поплавком и верхним стопором целесообразно поставить предохранительную втулку.

Рисунок 11 поплавочная снасть для дальнего заброса в сборе: 1-безынерционная катушка; 2-удилище; 3-прпускные кольца; 4-верхний стопор; 5-предохранительная втулка (бусинка); 6-нижний стопор; 7-поплавок; 8_леска; 9-основное, скользящее грузило; 10-узел «петля в петлю»; 11-поводок; 12-подпасок; 13-крючек; 14-наконечник; 15-резиновое кольцо; 16-мотовильце.

Собранную снасть надо ещераз проверить на правильность огружения, воспользлвавшись домашним водоемом. При этом нижний стопор можно временно опустить до петли, а верхним –регулировать глубину погружения приманки (спуск). После проверки огружения поплавок привязывают к удилищу толстой ниткой или мягким изолированным проводом (тонкий кончик «антенны» при этом можно пропустить через зазор между удилищем и кольцами, крепящими БК), остаток лески наматывают на мотовильце, крючок заводят под резиновое кольцо и приматывают липкой лентой к удилищу. Стопор обратного хода катушки включают, свинчивают рукоятку и поворачивают ручкой вовнутрь, если это предусмотрено конструкцией БК.

Транспортировать снасть можно в обычном чехле из брезентовой ткани или кожзаменителя, но лучше изготовить жесткий легкий футляр, подобный футляру для музыкальных инструментов, с перегородками из пористого пенопласта. В перегородках надо сделать вырезы для укладки в сборе (с катушкой и кольцами); пенала с двумя-тремя запасными поплавками подогнанными под них грузилами (в качестве пенала используют «лишнее» шестое звено удилища), запасного кончика удилилища а также составных частей сборного подсачка. Остальные детали и приспособления легко размещаются в рюкзаке.

Нахлыст — это самый естественный вид ловли рыбы среди существующих во всем в мире, он органично вписывается в положенное ему место в ряду природных процессов. Нахлыстовик вплотную сталкивается с явлениями, происходящими в воде.

Поэтому волей-неволей втягивается в эти процессы, принимает в них участие, учится жить в единении с природой. В своем занятии он опирается на феномен, который в самых различных формах широко распространен в окружающем нас мире, со времен его сотворения, — на иллюзию. Он использует то, что в науке называется "мимикрией", его мушки имитируют привычную рыбе добычу и ее поведение. Его знание законов природы, его умение создать иллюзию — секрет его успеха. Нахлыст не только прост в обучении, но и один из наиболее естественных видов ловли рыбы с помощью приманок, имитирующих ее пищу — возможных насекомых, живущих в воде или возле нее.

Ловля на мокрую мушку - Нахлыстовики постоянно создают новые образцы, имитирующие все то богатство жизни водяных насекомых и мелких рачков, которое рыбы видят в воде. Особой привлекательностью обладают мягкие и более гладкие мушки, двигающиеся в воде, как живые. Многие добившиеся хороших успехов рыболовы пользуются мушками, имитирующими наиболее популярную сезонную пищу. Также существуют и "постоянные" образцы мушек, которыми можно попробовать пользоваться в любое время года. Рыба иногда принимает мокрых мушек за упавших в воду насекомых.

На быстрой воде мокрые мушки чаще всего используются в одиночку. Ужение проходит прямо под поверхностью или на большой глубине. По классической школе, их забрасывают против течения, а подача мушки осуществляется вниз по течению. Очень важно не затруднять их движения в течении, а потом, в конце дрейфа, аккуратно возвращать их на место. Рекомендуется также доводить каждую проводку до конца, потому что часто рыба берет именно в последней фазе. Всегда приятно подать рыбе мушку забросом против течения, но такая техника требует острого глаза и быстрой реакции.

В низкой воде лучше всего удить плавающим шнуром, в то время как для более глубокой воды требуется тонущий шнур или специальный шнур с тонущим кончиком. Быстрое удилище длиной 2,5 — 3 метра со шнуром класса 5 — 6 наиболее удачно отвечает запросам по проводке мушки и подбору шнура.

В стоячей воде мушку следует подавать в движении. После заброса ее надо двигать медленно, короткими дергающими движениями. На более глубокой воде тоже используют тонущий шнур. На больших открытых пространствах следует использовать удилище длиной более 2,7 метра. Если мушки подаются близко к поверхности воды, то берущая рыба иной раз даже высовывается из воды, чтобы их достать. Если рыба взяла, то подсекать следует осторожно, но жестко, поднимая вверх конец удилища и одновременно вытягивая шнур. В глубокой воде рыба, прежде чем взять, как бы покусывает мушку, что можно ощутить шнуром. Дальнейшая подсечка производится так же. На быстрой воде рыба часто сама себя сажает на крючок.

ловля на сухую мушку больше всего привлекает нахлысто-виков. Многие считают, что именно это и есть настоящий нахлыст. Причина такой популярности совершенно ясна. Все события, которые происходят во время ужения на сухую мушку, происходят на виду. Это притягивает наше внимание, так как мы "глядящие животные". Вдобавок ко всему, во всем этом присутствует элемент игры и, если хотите, шоу. Нахлыст красив, элегантен и развлекающ и может предложить вам все прелести, которые могут предоставить и другие виды ужения. Естественно, любой может увлечься этим!

Вместе с тем ужение на сухую мушку не является самым трудным видом нахлыста. Заброс мушки хорошо виден, и ошибка в подаче обнаруживается сразу же момент. При условии, что рыболов хорошо знает повадки насекомых, "подогнать" подачу к требованиям рыбы достаточно легко. Изначальной мотивацией для ловли на сухую мушку были наблюдения за активностью насекомых на поверхности воды. Различные стадии развития в мире насекомых и, особенно, жизненные циклы разновидностей, живущих в воде, оставили свои "следы" на схемах сухих мушек, а также на тактике ужения на сухую мушку. Постоянная взаимосвязь с миром насекомых заставила многих рыболовов серьезно увлечься энтомологией.

За 150 лет истории ужения на сухую мушку его многочисленные и вдохновленные поклонники полностью обновили этот вид ловли и разработали новые схемы и вариации. С одной стороны, имитации мошки на крючках вплоть до 28-го класса, с другой, — огромные мушки для щуки и окуня. Как видите, рамки стиля — весьма широки. Из-за разницы в ландшафте и в популяциях насекомых возникло большое количество вариаций и схем, адаптированных к местным условиям. Но главный принцип драй-фишинга сохранился прежним: рыбе, которая "не ленится" подняться к поверхности воды за упавшим туда насекомым, предлагают искусственную мушку. Классический пример: рыболов идентифицировал насекомых, на которых охотится рыба, и теперь сам охотится на нее с приманкой, имитирующей ее добычу.

Чем больше мушка и метод подачи ее похожи на оригинал, тем быстрее клюет на нее рыба. Наличие насекомых на поверхности воды зависит в известной степени от различных стадий их жизни. В конце их личиночной фазы нимфы поднимаются к поверхности воды, чтобы сбросить свои "панцири" и закончить свой жизненный цикл в качестве крылатых насекомых. Когда они готовы к откладке яиц, они возвращаются в воду. Рыба поднимается вверх за обоими типами: и теми, что вылупляются, и теми, что откладывают яйца. Сухопутные насекомые, упавшие в воду, также мгновенно становятся добычей рыбы. Многие мушки созданы по моделям сухопутных насекомых, и доля их в общем количестве приманок велика, особенно это относится к ловле на западе Соединенных Штатов.

Идеальные обстоятельства для ловли — это когда рыба проявляет свою активность вблизи поверхности воды. Когда же на поверхности воды нет кругов, можно положиться на случай, особенно в "проверенных" местах. Но мушка, в этом случае должна хорошо плавать, и подавать ее надо прямо на поверхности воды или чуть ниже ее. Следует использовать плавающий шнур и длинный подлесок. На быстрой воде мушку обычно подают против или поперек течения. Это также наилучший способ приблизиться к рыбе, не будучи замеченным. Мушка подается выше по течению, и ей позволяют свободно дрейфовать вниз, к тому месту, где находится рыба. Все зависит от точности заброса, правильности дрейфа и, конечно же, от того, верно ли выбрана мушка. Выбор правильнее сделать, наблюдая за насекомыми в воде, а не пробуя различные модели.

Отрезок времени между забросом мушки и подъемом к ней рыбы — один из самых восхитительных моментов в ужении. Поднимется ли рыба? Если поднимется, возьмет ли приманку? Если возьмет, то не слишком сильного рывка за шнур — будет вполне достаточно. Как правило, рыба сама себя насаживает на крючок.

Для ловли на сухую мушку лучше всего служит (в зависимости от дна и глубины воды) удилище длиной в 2 — 2,7 метра ATFM-класса 4 — 6. Использованием самой легкой лески добиваются самого поверхностного заброса. Но, с другой стороны, подобные лески наиболее подвержены влиянию ветра, поэтому тем, кто не освоил еще технику работы с такими лесками, рекомендуется использовать их в качестве дополнительных, выбирая основной шнур более тяжелый.

Поймать рыбу на сухую мушку — едва ли "подвиг Геракла": любой, способный забросить 10 метров шнура, может научиться этому за пару часов. Совершенствование техники и повышение профессионализма же — процесс, занимающий многие годы. Но это очень приятный процесс.

Насекомые и их имитация

Ни один опытный нахлыстовик на вопрос «на что клюет» не ответит, на какую мушку он ловит. Он скажет, на какие насекомых в данный момент охотятся рыбы, а уж затем – на какую мушку ловит.

Изучение энтомологии для нахлостовика чрезвычайно важно. Уже основные сведения о том, какие насекомые плодятся и откладывают в наших реках, позволяют выбрать наиболее уловистую в данный момент мушку. Изучение энтомологии не должно быть очень широким, однако нужно усвоить элементарные знания о насекомых. Это необходимо также и для вязания мушек. Однако знания о насекомых нельзя рассматривать вне зависимости от закономерностей природы жизни рыб.

Для нахлыстовика должно действовать правило: знания о насекомых важны, но решающее значение имеет изучение насекомых в связи с жизнью рыб.

Характеристика насекомых

Классы насекомых принадлежат к семейству воздуходышащих и членистоногих. Подавляющее большинство их живет на суше, меньшая часть в воде. Однако многие из сухопутных насекомых проходят первые стадии развития в водной среде.

Тело насекомого состоит из трех частей: головы груди и задней части. Каждая из них имеет характерные элементы, которые так или иначе воспроизводятся при вязании исскуственных мушек. К примеру на голове – это глаза, разные усики, на груди – ножки и крылышки, на задней части – брюшко, щитинки, у самок иногда яйцеклад.

При вязании тех или иных мушек обращают внимание на ножки и крылья, стараясь скопировать не только форму последних, но ирасцветку. Тоже относится к брюшку.

Главные виды насекомых, которых мы имитируем искусственными мушками.

Что в искусственных мушках самое привлекательное для рыб? На этот счет нет единого мнения. Одни твердят, что цвет, другие – что величина, третьи указывают на определенные доминирующие признаки. Я думаю, что притягательность для рыб отдельных элементов приманок можно по значимости выстроить в такой последовательности: общий силуэт мушки; цвет тела и отдельных его частей, ножек, крылышек, щетинок; тщательность изготовления отдельных частей тела.

Когда в текущей воде мушка попадает в поле зрения рыбы, она вначале воспринимает форму и величину, а затем и силуэт мушки. С уменьшением расстояния рыба способна воспринимать и цвет, и лишь в непосредственной близости ее внимание привлекает отдельные детали. Однако тут действует принцип: чем медленнее течение , тем совершеннее должна быть мушка, тем больше доверия она должна вызывать у рыбы.

Мушки имитирующие поденок (Ephmeroptera). Поденки – типичные представители сухопутных насекомых, начальные стадии развития которых проходят в воде. Мы можем их найти в горных, прегорных и равнинных водоемах.

Взрослые поденки средней величины имеют продлговатое стройное тело, с двумя длинными щетинками на конце. У многих видов существует и третья щетинка на конце. Характерны для них мягкие тонкие крылышки и длинные ножки. Перечисленные признаки воспроизводят в искусственных мушках.

Рассмотрим, как вяжутся мушки, имитирующие различные стадии развития насекомых.

Один из видов который встречается в наших водах эта поденка обыкновенная. Она имеет светлое тело, с характерными черно коричневыми кружками и коричневыми ножками и щетинками. Крылья у нее мягкие, узкие светло серые. Мушка которая ее имитирует называется GREN MAY FLY. Чуть более светлый образец такой же мушки мы получим, если сделаем светло желтые ножки и щетинки, и тем самым получим мушку GREEN DRAKE – зеленую майскую.

Успешно имитировать можно мушками сухого, мокрого, нимфового типа.

Мушки имитирующие вислокрылых.(Megaloptera)

Взрослые насекомые в состояние покоядержат крылышки сложенными над телом в форме двускатной крыши. Формой тела, окраской и величиной вислокрылки напоминают веснянок. В питании рыб имеет значение вислокрылка ручьевая, которая роется и размножается в мае или июле в зависимости от температуры воздуха. Это насекомое средней величины, имеет темно коричневый цвет тела, коричневые крылья с прожилками и привески на последних члениках тела. Его хорошо имитирует мушка ALDER FLY.

Мушки имитирующие ручейников (TRICHOPTERA).

Ручейники в питании рыбы занимают существенное место.

Ручейники практически всегда сидят на береговой растительности и только перед наступлением темноты пробуждаются и летают над берегом и водой. Их имитации – проверенные мушки, эффективные целый год, особенно в теплые вечера. Коричневые часто крапчатые, с крупным телом и густыми ножками, они достаточно верно изображают ручейников. Клочек на конце задней части тела имитирует форму самочки.

В последнее время начали использовать для ловли хариусов имитации личинок ручейников. Ловля на них высоко эффективна, поклевки частые и тогда когда рыба не берет. Основной для имитации личинки ручейника стала мушка TUPS INDISPENSABLE, которая используется как сухая и мокрая и вязалась на малых крючках № 14 (по старой нумерации).

Чаще всего используется –ручейник цвета корицы.

Мушки имитирующие двукрылых (DIPTERA).

Двукрылые – самая многочисленная группа насекомых, играющих значительную роль в питании рыб. Большинство двукрылых проводит основную часть жизни в воде в личиночной стадии, как и поденки.

Мелкие и средней величины представители двукрылых похожи на поденок, и эта схожесть отражена в их имитации.

Тело двукрылых имеет чаще всего форму четко разделенного на членики конуса. Эта форма легко воспроизводится, как и длинные, часто выступающие за пределы тела ножки. Поэтому иногда и мушки имитирующие двукрылых, вяжутся со щетинками, а личинки в большинстве безногие. Значительно больше проблем с крыльями. Прозрачное с красивыми жилками, они имитируются с помощью тоненьких лучьевых перьев. Некоторые не вяжут крылья вообще; другие вяжут этих мушек как поденок.

Мушки имитирующие равнокрылых (ORTHOPTERA).

Равнокрылые – сравнительно крупные насекомые. Нахлыстовиков боьше интерисуют кузнечики (acridioidea). В определенные сезоны кузнечики состовляют значительную часть корма рыб. Долгое время считалось, что ловить можно только на живых насекомых или на их точные имитации. Сейчас можно с уверенностью сказать, что она очень эффективно имитирует кузнечика большого чернокрылого (Psophus stridulus).

Мушки имитирующие перепончатокрылых (Hymenoptera).

Перепончакрылые- сравнительно распространенные насекомые, но у водоемов они, как и равнокрылые, появляются в определенные периоды. Во время роения их много падает в воду, становясь добычей рыб. К перепончатокрылым относятся муравей черный ( Formica rufa), муравей обыкновенный (lasius niger), муравей желтый (Lasius flavus), пчела медоносная (apis mtllifera), оса агрессивная (vespula germanica) и разные виды шмелей (Bombus).

Мягкие просвечивающиеся, с прожилками крылья этих насекомых нет смысла имитировать точно, зато форме тела надо уделить особое внимание. Вяжут тело часто с утолщенной задней оконечностью и с клочком разноцветных шерстинок на конце.

Из трех искусственных мушек Blak ant, Brown Ant, Red Ant,которые имитируют крылатые формы черных, коричневых, и красных муравьев, наиболее часто используется на хариуса мушка Brown Ant в оранжево сером исполнении.

Вязание искусственных мушек

Вязание искусственных мушек требует от рыболова освоение основ энтомологии и техники вязания искусственных мушек, целенаправленного наблюдения жизни в реках, терпения.

Даже если мушка получилась неудачной , надо продолжать работу, совершенствоваться и тогда что вам сегодня казалось невозможным, завтра будет само собой разумеющимся.

Вязание мушек – творческий процесс, итогом которого является маленькое произведение искусства, с определенной эстетической и потребительской ценностью.

Основные деления искусственных мушек

Ужение нахлыстом – очень старый способ рыбной ловли, и считается верхом рыболовного искусства.

Классификация искусственных мушек по энтомологическому признаку предполагает, элементарные знания в этой области, и поэтому появлялись такие критерии классификации, которые казались более простыми. Но в конечном счете ни один рыболов – нахлыстовик необходился без сведений о жизни насекомых.

Критериев для классификации искусственных мушек несколько:

    Способ использования искусственной мушки

Основой классификации в этом случае является способ ловли, и мушки делятся на две большие группы-сухие и мокрые.

    Составные части искусственной мушки

Это самостоятельный способ деления, поскольку сухие и мокрые мушки могут иметь характерные признаки. Тут речь идет о мушках крылаты и бескрылых.

    Точность воспроизведения

Некоторые мушки вяжутся по естественным образцм (точные имитации); при вязании других исходимиз того, что определенные формы или цвета для рыб более привлекательны.

    Энтомологический принцип

Отдельные искусственные мушки вяжем так, чтобы имитировать конкретных насекомых. Поэтому их классифицируют на мушек, имитирующих поденок, веснянок, ручейников.

    Практическое назначение (ловля рыбы определенного вида)

При вязании искусственных мушек мы можем (в первую очередь по величине, форме, цвету) заранее определить, каких рыб на них можно будет ловить. Поэтому речь пойдет о мушках форелевых, хариусовых, лососевых.

Характеристики основных видов мушек

Сухие бескрылые мушки-пушинки (hackles)

Сухие бескрылые мушкиимитируют взрослых насекомых. Почти всех насекомых, которые существуют на поверхности водных потоков, удается имитировать именно такой мушкой. Если достаточно верно изобразить силуэт насекомого, эти мушки в сомом деле эффективны. Благодаря густым ножкам, пушинки прекрасно плавают. Их применяют в быстром течении при вечерней ловли, так как они дают возможность визуального контроля.

Сухие крылатые мушки (Dry Flies)

На сухих крылатых мушках уже различают тело, ножки, крылья, щетинки, головку, колечки. Они должны в совершенстве плавать, хорошо просушиваться. Это предъявляет большие требования к материалу, из которого они выполняются.

Мокрые мушки (Wet Flies)

Своей законченностью мокрые мушки схожи с сухими мушками, но к материалу, из которого они изготовлены, положению крыльев, способности погружаться в воду предъявляются иные требования. Систорической точки зрения, мокрые мушки-самая древняя форма искусственных мушек, и их ассортимент очень широк. В прошлом они имитировали главным образом мертвых насекомых, сейчас же-живых насекомых. Ловля на такие мушки бывает результативной даже впериоды малой активности рыб.

Мокрые мушки вяжут с крыльями темного цвета; положение крыльев – под углом, ножки редкие, легкие, но телу не достает прозрачности натуральных взрослых насекомых.

Нимфы (numph)

Нимфы возникли в 1910 году. Конструкция их очень проста, потомучто, кроме тела, все части тела мушки вяжутся лишь в общих чертах. Это очень результативные мушки, потому что рыбы берут их с доверием даже при больших крючках.

Личинки (pupae)

Личинки – насекомые на одной из стадий развития с незаконченным превращением. Встречаются изредка; схожесть их с нимфами значительна. У этой мушки изображается только тело и головогрудь. Цветовая шкала тоже узкая, что, однако, не влияет на их результативность.

Эти мушки нового поколения ставят перед вязальщиком большие задачи, так как требует много материала, крючков особой формы и предполагает хорошие навыки при окраске пера.

Ловля на стример. Многие считают, что стример — это какой-то новый вид приманки. Однако он возник весьма давно. Изготовление стримеров уходит своими корнями в те времена, когда рыболовы, не имевшие возможности делать приманки и крючки из металла, были вынуждены в качестве материала использовать дерево или рог. Такие, древнейшие, стримеры находят во всех частях света. Рыболовы в горных районах шведской Лапландии и сегодня, как и 250 лет назад, используют очень простые перьевые стримеры, связанные на крючках из рога северного оленя. Эти древние имитации мальков были известны и 150 лет назад, когда, по свидетельствам, на ревущих реках близ Полярного круга на них ловили большую коричневую форель, в то время как в Западной Швеции рыболовы удили атлантического лосося на замысловатую английскую лососевую мушку.

Другие прототипы стримеров пришли к нам из Новой Зеландии. Маори ловили рыбу на костяные крючки, "одетые" птичьими перьями, задолго до прихода европейцев, а в конце XIX столетия даже поставляли форель и лосося на рынок. Интересно, что ужение форели на стример в водах Новой Зеландии позднее приобрело большую популярность. Там и родились многие высокоэффективные стримеры, например, "матука".

Прогресс современного ужения на стример движется, в основном, за счет усилий североамериканских удильщиков. Поэтому большинство моделей приходит к нам из Нового Света. Популярные модели "бактейл" ведут свое начало из "бамбл паппиз", которые Теодор Гордон придумал еще в 1880 году, на реке Неверсинк. Интересно, что это тот же самый Гордон, который заложил основы американской ловли на сухую мушку, — пример знаменитой разносторонности американских рыболовов.

Термин "ужение на стример", строго говоря, достаточно ограниченный. В наши дни в качестве стримеров имитируются только мальки, в то время как подсчитать количество больших мушек, гораздо более эффективных по имитации, невозможно. Кроме того, существует множество имитаций других водяных жителей — пиявок, конского волоса, червей. Помимо этого, имеются выдуманные, фантазийные мушки, которые привлекают рыбу за счет своей раскраски и движений. Как видите, рамки очень гибкие.

Целью ужения на стример является поимка рыбы, которая питается себе подобными, но меньшими по размеру. Ужение с большими моделями, таким образом, требует специальных удилищ, классов шнуров и подлесков. Неотягощенные большие мушки могут использоваться, только если веса шнура достаточно для заброса и удилище достаточно прочное, чтобы нести их. Для ловли на стример требуются удилища с хорошей реакцией, шнуры с кончиком класса от 7 и выше. Минимальная длина удилища — 2,4 метра, но предпочтительнее более длинные удилища. В зависимости от типа воды и подачи используются плавающие шнуры, специальные шнуры с тонущим кончиком или тонущие шнуры.

На быстрой воде на стример ловят по схемам, зависящим от того, где находится рыба: у поверхности, на средней воде или у дна. Подходящую мушку подают поперек течения или чуть против, чтобы она могла дрейфовать вниз по течению к рыбе. Натуральность дрейфа достигается за счет отпускания шнура по потоку в нужное время. Легкие подтягивающие движения придают мушке живость. Большие мушки при правильной подаче могут принести хороший улов даже в стоячей воде. Каждый заброс продолжается до тех пор, пока хватает шнура, затем шнур медленно наматывается против течения. Если рыбу не видно (а это бывает часто), то важным становится знание ее привычек. Наилучшие результаты дает дрейф мушки в сторону активности ареала рыбы или прямая подача с соответствующей скоростью прямо "под нос" рыбе.

На стоячей воде дрейф мушки гораздо легче контролировать. Мушку проводят в зависимости от темперамента рыбы либо очень медленно, либо — очень быстро. Иногда уже звук садящейся мушки провоцирует рыбу на поклевку.

Стримеры и большие мушки раскрыли удильщикам области применения, о которых раньше и не задумывались. Когда вы ловите лососевых, стример следует использовать только для действительно большой рыбы. На реках, где ловят форель, стримеры едва ли полезны, кроме, возможно, "незапланированных" поклевок крупных хищников. Совершенно непонятна неприязнь некоторых удильщиков к стримерам. Ловля на стример или больших мушек всех типов — полноправный член семьи флай-фиши

Блесны, грузка и противозакручиватель

Грузка (грузик) в оснастке спиннинга в виду незначительного веса тонких металлических блесен или какой либо другой легкой насадки служит добавочным весом, способствующим правильному и дальнему забросу блесны.

Несимметричная по форме грузка не может вращаться вместе с приманкой, так как ее более тяжелая часть вследствие смещения проволочных ушков в одной стороне всегда обращена к низу; это предотвращает закручивание шнура при обратной подмотке. Грузка способствует также быстрейшему погружению насадки в воду.

Вес грузки может колебаться от 5г и выше, в зависимости от грузоподъемности удилища и веса приманки. Обычный вес грузки – 10- 20г.

При ловле с тяжелой любительской блесной «Девоном» или с иной тяжеловесной приманкой вместо грузки ставят противозакручиватель, изготовляемый из пластиночки целлулоида, жести или иного материала. Целлулоидный противозакручиватель надевают прямо на шнур (для этого делают дырочки); противозакручиватель из другого материала имеет обычно стерженек с колечками и привязывается к концу шнура перед поводком.

Есть блесны, несущие на своем стержне (оси) груз, который находится с вогнутой стороны блесны. Иногда к такой блесне добовляют свинцовую головку, раскрашенную под рыбку, в этом случае головка служит добавочным грузом.

Блесны с грузом, поставленным впереди блесны и рядом с ней, с успехом применяются многими спиннингистами. Такая блесна дает более дальний и точный заброс и исключает хватки рыбы за грузку.

Блесна с названием «Уральская» в промысловом изготовлении штампуется выпуклой, с ребром вдоль блесны. Она обычно оснащается с одним тройным крючком, соединенным с блесной с одним колечком. Иногда блесна оснащается по типу вращающихся, в этом случае головная часть ее подгибается, блесна одевается на упругую стальную проволочку, на которой делается упорчик, чтобы блесна не сползала на тройник. При ходе такая блесна вращается на проволочной оси.

Хорошо и своеобразно идет в воде, колеблясь из стороны в сторону или ныряя, блесна «Новая». Изготовление ее очень простое. Полоску латуни 0,5 – 0,8*20*60мм сгибают пополам по длине. Опиливают (округляя) головку, а пластиночки хвостика разводят в стороны. Сверлят (в стороне сгиба) два отверстия 2 мм- одно в головной части, другое- отступя от конца хвоста на 10мм.

В отверстие ставят заводные колечки. В кольцо хвостика – тройник.

В ночное время можно ловить и на светящиеся приманки. Сделать ее можно так. Есть светящиеся пластмассы, фосфоресцирующие краски или порошок.

Пластиночку светящейся пластмассы можно наклеить на любую металлическую блесну клеем БФ2.

Фосфоресцирующая краска кисточкой наносится на металл. Высохшую краску надо покрыть водоупорным прозрачным лаком.

Надо знать что большинство светящихся пластмасс и фосфоресцирующих красок светится лишь после того, как получат зарядку от какого-либо источника света, например от электрического карманного фонарика, солнечного света. Чем ярче источник, заряжающий пластмассу или краску, тем ярче светится. Отдаваемый свет пластмассы- бледнозеленоватого оттенка.

Есть краски и длительного свечения, например краска для циферблатов измерительных приборов, работа с которыми протекает в ночное время, карманных часов.

Разнообразные приманки изготавливаются из дерева, шелка, целлулоида, резины, пластмассы. Спиннингисты такие насадки называют «рыбками». Они красиво раскрашены и в большинстве случаев их цвета, близкие к естественным окраскам рыб. Среди них имеются круглые плоские , состоящие из одной, двух, трех частей.

«рыбки» типа ныряющих - деревянные, цельноцилиндрические с прорезанным желобком в головной части и с заостренным хвостом. Сквозь тело «рыбки» пропущен металлический стерженек, к которому к головной части пристегивается карабин, а в хвосте прикреплен тройной крючок, такой же крючок прикреплен на брюшке, ближе к голове. Длина «рыбки» 8-20 мм.

Эти «рыбки» имеют характерную особенность: вследствии своего лобового сопротивлении они при движении вперед зарываются в воду, то есть углубляются.

Ныряющая способность «рыбки» может изменяться если стерженек ее переместить от центра тела рыбки кверху. В этом случае она будет углубляться в воду резче, и чем быстрее ее движение тем быстрее она уходит в глубину.

«Рыбки» из древесины в зависимости от величины формы могут оснащаться 1-5 тройными крючками.

Изготовленная из двух резиновых пластин «рыбка» «Ласточкин хвост» раскрашена под цвет живой рыбки. Она оснащена карабином в головной части и одним тройным крючком в хвосте. При движении «рыбки» пластиночки колеблются.

Полезно иметь блесны нескольких размеров белого и желтого латунного цветов. Особое внимание следует обратить на то, чтобы ширина тройника была немного больше блесны и чтобы конец жала тройника у вращающейся блесны не выходил от конца ее более чем на 2-5 мм. Оснастку считают неправильной, если жало тройника не выходит за края блесны.

Воблеры.

Воблер — это искусственная приманка, напоминающая естественную пищу хищных рыб. Поскольку эти приманки объемные, то не имеет значения, под каким углом зрения хищник видит эту приманку: она все равно выглядит как маленькая рыбка, являющаяся для него подходящей добычей. Движения приманки имитируют движения рыбки. Большинство воблеров изготовляется из пластика, а некоторые из бальзового дерева. Обычно приманка имеет от одного до трех тройных или двойных крючков.

Спектр использования воблеров гораздо шире, чем у колеблющихся или вращающихся блесен. Они могут плавать или погружаться в воду. В передней части многих воблеров устанавливается лопасть, иногда похожая на губу. Форма этой лопасти и скорость проводки во многом определяют, на какую глубину опустится воблер. Форма и конструкция воблера позволяют ему работать на большей глубине, чем колеблющейся или вращающейся блесне. Для более дальних забросов вес воблера может быть увеличен. При проводке спуна или спиннера направление натяжения лески и угол наклона удилища рассчитаны как бы на приподнимание приманки из воды, а конструкция воблера позволяет приманке совершать ровное горизонтальное плавание во время подмотки.

Большинство воблеров запрограммировано для работы на определенной глубине, однако чем выше скорость проводки, тем глубже опускается приманка. Некоторые вобле-ры можно отрегулировать для работы на разных глубинах. К примеру, приманки типа свим-визз и беливер имеют в передней части по два кольца для крепления лески. Если леска крепится к верхнему кольцу, воблер опускается на глубину и оживленно двигается. Если же леска крепится к нижнему кольцу, приманка спокойно движется на небольшой глубине. В качестве примера воблера с гибкой металлической губой можно привести циско-кида. Чем больше изогнута его губа, тем оживленнее движения приманки и меньше глубина ее погружения. Если же губе придать горизонтальное направление, приманка опустится глубже, а ее движения станут спокойнее.

Некоторые воблеры, например, хай-лоу фирмы АБУ Гарсия, оснащены подвижной губой, которую можно отрегулировать для пяти различных глубин. При ее верхнем положении глубина максимальная, при опускании на каждый последующий уровень глубина погружения приманки уменьшается. В последней позиции, когда губа полностью отклонена назад, воблер плывет практически у поверхности воды.

У большинства воблеров однако имеется только одно кольцо для крепления лески. Многие маленькие, легковесные воблеры работают наиболее активно, если крепятся специальной петлей для приманок. Воблеры большего размера могут крепиться к леске тугим узлом или с помощью вертлюжка-карабинчика.

Плавающие и тонущие воблеры

Плавающий воблер — это хорошая, объемная приманка, с помощью которой можно ловить рыбу как у поверхности воды, так и на глубинах до 10 метров. При ослаблении тяги лески воблер поднимается на поверхность и вновь опускается на глубину при возобновлении подмотки. При этом его натуральные движения привлекают к себе хищную рыбу. Плавающие воблеры удобно использовать при медленном и среднем течении и незначительной глубине водоема. В осложненных ситуациях, таких как густая водная растительность, поросший деревьями берег или каменистое дно, целесообразно отпустить плавающий воблер вниз по течению, которое отнесет его к месту кормления рыбы, после чего можно начать его проводку.

Тонущие воблеры более напоминают колеблющиеся или вращающиеся блесны, так как их можно использовать для ловли рыбы на глубине 5 — 15 метров. Если воблер погрузился на нужную глубину, а подмотка достаточно медленна, приманка будет работать у самого дна до тех пор, пока скорость проводки не увеличится и не поднимет ее к поверхности.

Другие типы воблеров

Воблеры типа минноу — это похожие на рыбок приманки длиной примерно 5 — 20 сантиметров, являющиеся точными копиями естественной добычи хищников. Эти плавающие или тонущие приманки, вероятно, пользуются наибольшей популярностью.

Короткие и компактные воблеры изготовляются специально для удилищ легкого класса. Эти воблеры, называемые крэнк-бэйтс, великолепно ведут себя при забросах. Выпускаются как плавающие, так и тонущие их варианты, с длинным или коротким клювом, рассчитанные на различные глубины, начиная примерно от 5 — 8 метров, вплоть до поверхности воды. Внутри многих плагов вмонтированы погремушки, которые издают звуки во время проводки. Такие звуковые плаги можно также использовать для троллинга.

Самые большие воблеры предназначены для троллинга. Они неуклюжи при забросе, для которого нужны тяжелые снасти. Поскольку крупная рыба охотится за большой добычей, эти воблеры хороши при троллинге на просторных участках водоемов, где можно ловить большую рыбу. Использование таких больших воблеров означает, что рыболов нацелился на крупную рыбу. Несмотря на большой вес, эти приманки можно забрасывать при ограниченном пространстве, на мелководье и в водоемах средней глубины. Воблер-магнум напоминает стандартную приманку, но изготовлен специально для троллинга лосося в реках западной части Северной Америки и в море. Эти воблеры можно использовать на глубинах до 15 метров в зависимости от скорости проводки и типа используемых тонущих приманок.

Воблеры для ловли у поверхности воды

Воблеры для ловли у поверхности воды — это особый тип плавающей приманки, изготовленной специально для ловли американского окуня, щуки, маскинонга и других хищников, которые в летний период кормятся на мелководье или у поверхности воды. Ужение с помощью этих приманок оставляет рыболову незабываемые впечатления, поскольку рыба охотится у поверхности и можно видеть, как она хватает приманку. Чтобы сделать подсечку в нужный момент, когда рыба бросается на приманку, требуется большое умение.

Существует множество разновидностей воблеров для ловли у поверхности воды. Наиболее распространен вид приманки с одним или двумя "пропеллерами", которые вращаются во время проводки, вспенивая поверхность воды. Когда нужная скорость подмотки достигнута, работа "пропеллера" и самой приманки создают весьма соблазнительную комбинацию. Форма корпуса этих приманок напоминает сигару, поэтому их движения в воде плавны.

Без "пропеллера", но при правильной скорости проводки эти сигаровидные воблеры плывут, виляя из стороны в сторону. Их проводка состоит из серии последовательных и ровных подтягиваний приманки.

Особый тип воблеров оснащен крылышками, расположенными по обеим сторонам в середине или в начале корпуса. Эти крылышки заставляют приманку отклоняться взад-вперед. При этом по бокам приманки раздается плеск воды, напоминающий движения испуганного птенца.

Другой специальный вид воблеров имеет бороздки в своей передней части, которые разбрызгивают воду перед приманкой при ее проводке посредством последовательных рывков.

Эти используемые у поверхности воды приманки обычно небольшие или среднего размера. На них ловят американского окуня, щуку и маскинонга. Для щуки и маскинон-га существуют свои особые приманки, которые называются джерк-бейты. Они имеют длинный обтекаемый корпус с приплюснутыми боками, что позволяет им быстро и ровно скользить в воде при проводке нерегулярными рывками. Некоторые джерк-бейты оснащены направленным вниз металлическим диском в хвостовой части, что позволяет немного притапливать приманку во время проводки. Приманки же без этого груза работают у поверхности. Обычно эти приманки значительных размеров и требуют специальной снасти, состоящей из короткого и упругого удилища, муль-типликаторной катушки и плетеной лески. При забросе эти приманки опускаются в воду с большим всплеском. Проводка должна состоять из неравномерных рывков, лучше всего направленных в разные стороны или даже к поверхности воды.

Все приманки для ловли щуки или маскинонга у поверхности наиболее уловисты в период активного питания хищников в верхних слоях воды при температуре не ниже 16 — 18 °С. Американский окунь ловится при более высокой температуре воды. Рассчитанные на поверхностный лов воблеры могут быть достаточно уловистыми даже на глубине 5 — 6 метров в местах с густой водной растительностью. Хищники часто прячутся в этих зарослях, поджидая небольших птиц и рыб, которые обычно появляются ранним утром или вечером.

Джига представляет собой компактную и тяжелую приманку. Она вызывает лишь незначительное сопротивление воздуха и позволяет сделать точный заброс. Джига быстро тонет и не делает каких-либо запрограммированных движений. Ее могут использовать даже начинающие. Проводка джиги состоит из пульсирующих движений удилища.

Крючок джиги направлен жалом вверх, что позволяет избежать донных зацепов. Подсечка рыбы происходит надежным образом, часто за верхнюю губу. Джиги также не дорогостоящи, возможно, это самые дешевые из всех приманок. Полдюжины джиг, например, стоят как одна колеблющаяся блесна или воблер.

Главной составной частью джиги является крючок с длинным цевьем, согнутым под нужным углом перед головкой. Передняя часть приманки делается из свинца и имеет такую форму, при которой колечко крючка выходит из верхней или средней части грузила. Расположение колечка крючка определяет балансировку джиги в воде. На джигах для заброса колечко крючка на грузиле смещено немного вперед. На джигах для подледной ловли оно размещено в верхней части грузила для вертикального крепления. Джиги различаются по форме их головной части, которая может напоминать шарик, банан или киль. Они бывают с металлическим носиком, как воблеры, или могут быть оснащены металлической пластинкой, которая крепится либо непосредственно на крючок, либо к внутренней части свинцовой головки.

Корпус джиги изготавливается из различных материалов. Волосяное покрытие джиг делается из шерсти оленя, перьевое — из длинных, мягких и фактурных перьев марабу. Мягкие силиконовые рыбки и пластиковые черви расширили разнообразие этих приманок, которые теперь можно забрасывать различными способами. Тело джиги можно изготовить из различных видов нейлоновых и синтетических волокон, милара или блесток (или украсить их ими). Корпуса джиг для морской рыбалки обычно делаются из шерсти оленя и называются оленьими хвостами (бактейл). Джиги выпускаются различного размера и веса — от менее одного грамма до нескольких сотен граммов. Самые маленькие приманки называются микро-джигами.

Наверное, правильней будет сказать не "подматывать джигу", а "работать ею". Здесь подразумевается активизация приманки, чтобы она выглядела живой и соблазнительной, как аппетитная маленькая испуганная рыбка, пытающаяся спрятаться. При подмотке удилище следует отклонять то вправо, то влево, однако такие движения, вероятно, могут ослабить контакт с джигой, который весьма важен в момент поклевки и подсечки. В спокойной воде лучшим индикатором поклевки зачастую является лишь подергивание лески!

Джига представляет собой компактную и тяжелую приманку. Она вызывает лишь незначительное сопротивление воздуха и позволяет сделать точный заброс. Джига быстро тонет и не делает каких-либо запрограммированных движений. Ее могут использовать даже начинающие. Проводка джиги состоит из пульсирующих движений удилища.

Этот контакт важно сохранять даже при погружении джиги, так как поклевка может состояться еще до того, как приманка достигнет дна. Поскольку приманка не закручивает леску, лучше всего крепить ее непосредственно к колечку крючка джиги, так как карабинчик и вертлюжок могут отпугнуть рыбу.

Рыба часто разрывает в клочья мягкие и гибкие силиконовые приманки некоторых джиг. По этой причине полезно иметь при себе запас таких приманок. Окраска этих пластиковых насадок может бледнеть, и даже сами они могут оплавиться при контакте с другими пластмассовыми предметами. Поэтому каждую цветную приманку необходимо хранить в отдельном целлофановом пакетике. Следует заметить, что некоторые коробочки для приманок имеют обозначение "ворм-пруф" ("для хранения червей"). Они великолепно подходят для хранения пластиковых джиговых приманок.

Тела некоторых джиг ароматизированы различными запахами для стимулирования поклевки. После инъекции соблазнительного вещества уловистость джиги может немного возрасти. Запах вводится внутрь тела насадки, кроме того, приманку можно смазать или натереть "атрактантом".

Стример с мясом рыбы можно прикрепить к джиге, что придаст приманке естественный запах и консистенцию. Некоторые рыболовы-спортсмены используют для этого маленькую рыбку, насаженную на крючок через верхнюю и нижнюю губы. Судак особенно неравнодушен к такой джиге.

Пластиковые имитации

Пластиковые черви представляют собой имитации пиявок или червей, которые часто изготавливаются из силикона. Эти приманки разработаны для ловли американского окуня, однако могут с успехом использоваться при ужении щуки, судака, маленького маскинонга и форели. Ловля на эти пластиковые черви аналогична работе с джигой. Крючки джиг также можно использовать для насадки червей, но при этом их вес должен оставаться минимальным с тем, чтобы они не утратили естественного движения плывущих пиявок, которые являются основной пищей хищников во многих водоемах. Для пластиковых червей изготовляются специальные крючки, сопровождаемые инструкцией, как насаживать их на крючок таким образом, чтобы свести до минимума риск запутаться в водорослях. Более упругое удилище необходимо не только для того, чтобы стравиться с водорослями, но и для хорошей подсечки. Эти черви могут нести на себе до трех одинарных крючков и быть утяжелены грузилами в виде дробинок.

Мягкие пластиковые и резиновые материалы великолепно подходят для создания естественно выглядящих имитаций пресноводных животных, саламандр, лягушек, личинок насекомых, крабов и мальков рыбы, которые насаживаются на одинарный крючок с маленькими грузилами. Та же технология используется и в отношении искусственных икринок лосося. Без сомнения, естественная наживка больше подходит для форели, стальноголового лосося и других лососей, но и пластиковые имитации могут помочь вам в трудную минуту. Маленькие резиновые икринки используются также для подледной рыбалки

Крючки

Основа спортивной ловли рыбы любой снастью, в том числе и спиннингом, - крючек, он, несомненно, является самой ответственной частью снасти. Независимо от величины предполагаемой добычи, крючок должен отвечать следующим требованиям: быть соразмерным по отношению величины рыбы и соответствовать размеру блесны или другой приманки, быть в меру закаленным и острым до такой степени, чтобы при опробывании по ногтю пальца оцарапал его.

Крючки, вырабатываемые нашей промышленностью различаются по типу, длине цевья, величине и форме поддева и диаметру проволоки, кроме того, они разделяются на одноподдевные( одиночные), двухподдевные (двойные) и трехподдевные (тройные).

Крючек состоит из следующих частей: 1- цевье(стержень); 2- поддев(изгиб); 3- жало; 4- бородка; 5-головка (колечко и лопаточка).

Форма, размеры крючка, диаметр проволоки должны соответствовать типу, утвержденному стандартом.

Крючок для остнастки блесны «рыбки» из древесины или для закрепления живой рыбки на оснастке при спиннинговой ловле употребляется преимущественно тройной то есть состоящий из соединенных вместе трех одиночных крючков. Отсюда его название тройник.

Некоторые насадки, в частности натуральные рыбки, маленькие блесны или блесны специального устройства, например «Уральская», могут оснащаться двухподдевными или одноподдевными крючками.

Есть много разновидностей тройников, но оновные для спиннинга нужно считать три типа их, которыми можно оснастить почти любую приманку.

Особенности трех типов крючков.

Первый тип- наглухо спаянные в одно целое двойник с головкой, колечком и одиночный крючок; колечко (ушко) служит для прикрепления к блесне.

Второй тип- тройник без колечка с почти гладким, несколько спущенным к концу стержнем; тройник наглухо спаян.

Третий тип – тройник с колечком, но спаяны вместе только два крючка, то есть к одному из стержней двойника припаян третий крючок, таким образом, между одним стержнем двойника и другим (с припаянным к нему третим крючком) есть прорезь, через которую тройник можно свободно надевать на колечко, на петельку, на поводок.

Крючки различаются еще по профилю бородки и жала. У одних крючков бородка прямая, жало с выгибом; у других жало ( наружная сторона его) прямое, а бородка имеет выгиб, у третьих- жало и бородка с выгибом.

Особенно велико разнообразие изгиба крючка. Встречаются изгибы ровно закругленные, угловато закругленные, угловатые с жалом, идущим в сторону.

Назначение тройника, независимо от его формы, вполне понятно: он должен зацепить рыбу за любое место и, зацепив, крепко держать ее. Для этого он должен быть острым и иметь правильно изготовленную бородку (зазубренку); крючки должны быть прочны эластичны, то есть любой из трех крючков при нажиме на него должен немного погнуться, но по прекращении нажима принять исходное положение. Тройник теряющий теряющий свою первоначальную форму, то есть такой, который можно легко согнуть и разогнуть (мягкий) или ломающийся от легкого нажима, (хрупкий), будет плох для ловли. Но в местах, где много зацепов, иногда выгоднее применять крючки мягкие. При зацепах за коряги, сильно потянув за лесу, можно разогнуть крючок и освободить его от зацепов. Однако мягкий. Однако мягкий крючок может быть причиной схода рыбы.

Плохи крючки с глубоко подсеченной бородкой, у них обычно отламывается жало вместе с бородкой.

Прочность тройников выражается опредилением: обыкновенная, увеличенная, двойная. Изменение прочности крючков достигаются увеличением диаметра проволоки или изменением ее профиля.

В зависимости от номера крючка и диаметра еге проволоки он должен выдерживть опредиленную нагрузку, если груз подвесить на любой из его поддевов .

Преобладающие цвета тройников- белый, темносиний, темножелтый с золотистым оттенком. Второй цвет получают из цветов, приобретаемых крючками во время закалки при последующей специальной химической обработке. Этот цвет вводит в заблужение некоторых рыболовов, которые почемуто называют тройники такого цвета «бронзо-алюминиевыми». В действительности эти тройники изготовлены из стали без малейшей примеси броны и алюминия, что легко установить, потерев крючок о чтонибудь твердое: окраска в тот час же сойдет. Тройник потерявший эту окраску, быстро ржавеет от воды, подтверждая этим отсутствие в нем бронзы и алюминия. Кроме покрытия крючков лаком, в целях предоханения от коррозии их также покрывают оловом, цинком, латунью (гальваническим путем) или синят(горячим способом с химикалиями). После покрытия оловом крючки приобретают блестящий белый цвет, покрытые латунью- становятся «золотыми».

Длина цевья и расстояние межлу двумя концами (крючков) тройника- не постоянны; они изменяются от типа тройника и формы его изгиба.

Каждая из форм троиника имеет свои положительные и отрицательные стороны. Трудно определить на практике точную форму тройника для любительского рыболвства, так как он не остается во рту рыбы, схватившем приманку в первоначальном положении. Изменение его положения там вызывается строением рта рыбы ( его хрящеватостью и костистостью), сделанной рыболовом подсечкой, резким движением рыбы в ту или иную сторону после подсечки. Даже если такое незначительное на первый взгляд обстоятельство, как форма жала и бородки, на которую редко обращают внимание, играет немаловажную роль в «уловистости».

Трехподдевные тройные крючки изготавливаются следующих номеров и размеров:

Крючки ширина диаметр про длина выдерживают старый (тройные) в мм волоки в мм цевья в мм нагрузку в кг номер

Такую же нагрузку при одинаковых размере и диаметре проволоки должны выдерживать одноподдевные и и двухподдевные крючки.

Новые тройники отличаются не только своей прочностью, но и качеством отделки, хорошей формой, остротой жала. По своим качествам они превосходят заграничные тройники.

По стандарту номер крючка (не зависимо от его формы) определяет ширину крючка и высоту поддева в миллиметрах. Например, крючек № 12 должен иметь ширину от жала до цевья и высоту поддева от изгиба до кончика жала – по 12 мм.

Карабины, петельки, заводные колечки, застежки.

Назначение карабина в спиннинге- противодействовать закручиванию шнура (и поводка, если он из капрона) во время ловли.

Карабины изготавливаются из стали и латуни. Формы разнообразны: бочоночек, цилиндр, плоский, одиночный и плоский двойной, с застежкой – петелькой и без нее.

От размера карабина, определяемого номером, зависит его прочность. Они бывают от №2 до №10, карабин №2 свободно выдерживает нагрузку до 80кг, а №10 не более 4-5 кг.

Пригодность карабина для ловли легкостью вращения его в соединениях и прочностью (колечки не должны вырываться из него). Карабин темного цвета лучше блестящего.

Карабины в виде бочонгочка без застежек – петелек требует предварительной проверки нагрузкой. Карабины железные плоские по качеству значительно лучше и более прочны, чем предыдущие.

К карабинам необходимы петельки для пристежки поводка к грузке или блесне. Эти петельки продаются отдельно. Изготавливаются они из стальной проволоки и выпускаются пока одного размера. Звеном, связывающим карабин с блесной, поводком, вместо петельки может служить заводное кольцо из стальной проволоки.

Есть еще один вид соединения – застежка, изготовляемая из латунной или стальной проволоки, латунного или стального хамутика или спиральной пружинки. Одни застежки – глухие, в виде английской булавки, другие – с свободно передвигающимся хомутиком.

Эти спиннинга должны иметь определенную прочность (соответствующую предполагаемой добыче). Так, при ловле рыбы среднего веса карабин, кольцо и застежка должны выдерживать вес не менее 5 кг, что устанавливается путем проверки их нагрузкой.

Багорик и подсачек

Багорик и подсачек, является необходимым подсобным предметом в ловле. Назначение его – поддеть и вытащить «сидящую» на крючке рыбу.

Багорик состоит из двух частей: палки до одного метра (иногда более) и стального гладкого крючка.

Багорики бывают трех видов: простой, в котором к палке наглухо приделан крючок; разборный, в котором крючок ввертывается в гайку, укрепленную на палке; выдвижной, состоящий из стального крючка и двух трех латунных трубок, которые выдвигаются друг из друга.

Палка правильно устроенного багорика (в выдвижном багорике – трубка) должна быть не более одного метра, достаточной прочности и не очень гибкая (при гибкой палке не будет правильного подбагривания); на палке в месте обхвата ее рукой, должно быть утолщение (ручка) с грибком на конце, чтобы при резком подбагривании рука не смогла соскочить с багорика. Острый конец крючка должен иметь направление, параллельное стержню, или незначительное отклонение от него, жало крючка должно быть острым, чтобы при малейшем усилии оно входило в тело рыбы.

Обычно ширина крюка – 6-7 см.

Подсачки имеют различное устройство. Среди них встречаются цельные (с круглым или овальным, камышевым или металлическим обручем или треугольником) и складные ( с выдвижными трубками и с разными пружинами или иными запорами).

Подсаче менее удобен, чем багорик (особенно при ходьбе), так как он должен быть довольно большим, чтобы подхватить рыбу весом 2 – 4 кг. Носить подсачек неудобно, особенно осенью, когда он намокнет. Кроме того, подсачить более тяжело, неудобно и кропотливо, чем подбагривать; при выемке же рыбы из подсачника крючки почти всегда оказываются зацепившимися за нитки, и на освобождение их бесполезно тратится время.

В Зейском районе находится много рек, ручьев где можно поймать хариуса(подвида амурский), ленка, тайменя обыкновенного(Деп, Уркан, Алгая, Тында, Зея, их притоки, ключ Теплый ).

Хариуса я ловил в верховьях р. грязнушки которыя впадает в реку Уркан. Я ловил на вертящуюся блесну темно желтого цвета «блюфокс супер рефлекс». Залог успешной рыбалки – это постоянное перемещение по реке, с одного места можно поймать не более 3-4. Хорошо хариус берет еще на червя. Крючок надо брать №4-5, леска 0,15-0,2, удочку лучше брать с безынерционной катушкой. Хариус хорошо берет на реках под перекатом или перед перекатом в осеннее время где есть ямы, где течение замедляется. Хариус очень хорошо видит, но если ты находишься в лодке, хоть ты рыбачишь стоя хоть сидя он ловится хорошо, но если ты ловишь на маленьких речках, то маскироваться надо «хорошо».

На маленьких речках рыбалка на хариуса на много лучше чем на крупных реках. Она чем то напоминает охоту: 1 – сначало надо выследить место где она находится, 2 – незаметно подкрасться к этому месту, 3 – выманить ее из этого места, 4 – и наконец добыть ее.

Рыба видит лучше того рыболова, который стоит на берегу, нежели в самой речке. Рыба видет рыболова и расположенные над водой предметы, благодаря тому что дневной свет отражаясь от них проникает в воду и достигает ее глаз, причем проходя через водную поверхность световой луч меняет свое направение (приломляется), при этом только одна часть света проникает в воду другая как зеркалом отражается водной поверхностью, причем чем меньше угол под которым свет падает в воду тем больше света отражается и тем меньше света проходит под воду. Если луч попадает под углом приблизительно 30 градусов и меньше, то весь свет отражается и в воду не проникает вовсе. И поэтому у рыб имеется так называется «слепая зона», и чтобы рыболову попасть в эту «слепую зону» надо всего лишь присесть на корточки, или зайти в воду по пояс и тогда рыболов окажется в «слепой зоне» рыбы.

У нас в деревне ловят хариусов в основном не нателескопические а на деревянные из только что вырезанного тальника. Так деревянное удилище сливается с кустами наклоненными над речкой, таким образом маскируя рыболова. При этом голодная рыба дает о себе знать в течении 3 – 5 минут, если поклевок нет то нужно идти в другое место. Еще один способ с помощью которого местные старожилы ловили и ловят хариуса – это ловля на «банку». У такой снасти есть преимущества, эта снасть занимает мало места и почти ничего не весит. Закрепив конец лески к банки, 20м хватит, и прицепив на конец блесну – спиннинг готов, «банка» по принципу действия похожа на безынерционную катушку.

Таймень. В морях и реках мира обитает четыре вида тайменя: Сибирский он обитает на Дальнем Востоке, в реках Сибири; Дунайский в Европе, на Сахалине сахалинский, и корейский в Корее. Последние два выходят из рек в море. Этим и отличаются от первых двух, которые обитают в пресных водах.

Если пойман на блесну мелкий таймень, то, то что там есть более крупный вероятность маленькая.

В близи перекатов на порогах, где очень большое течение, больше возможности поймать крупного тайменя.

На сильном течении возникает «турбулентный поток», различают «турбулентный» и «ламинарный» потоки. Например глубокий плес, там вода движется во всех пластах одинакова – «ламинарный», а в турбулентных скорость во всех точках разная там возникают завихрения, вихри – это наблюдается на перекатах на порогах, у камней. В турбулентном потоке мелкой рыбе двигаться тяжело, а более крупной легче, и поэтому таймень стоит на таких местах подстерегая добычу.

В ламинарном потоке вращающаяся блесна движется равномерно и колебание воды распространяются на большие расстояния привлекая рыбу из далека. А в турбулентном потоке работа блесны нарушается в беспорядочной пульсации скорости движения, заставляя и блесну двигаться беспорядочно.

И поэтому в таких условиях лучше ловить на воблера.

Ловля на мышь – эта ловля ночная, при этой ловли мышь должна плыть по поверхности воды распуская в стороны усы воды имитируя переплывающую мышь через реку, и чем отчетливее будут усы тем эффективнее будет клев.

( Собственные наблюдения)

Ленок. Ленок относится к полупроходным пресноводным лососевым.

Ленок держится преимущественно в горных реках. Во время весеннего ледохода и после него ленок поднимается вверх по рекам, иногда заходя на очень большие расстояния. Нерестует в мае, откладывая икру на гальке. На места нереста приходит небольшими косяками. После нереста ленок сктывается в места, изобилующие глубокими ямами, большими затопленными камнями, завалами, корягами и перекатами, концентрируясь ниже их. Он тоже иногда заходит в места мелкие с тихим, спокойным течением в поисках пищи.

4. Безопасность жизнедеятельности

4.1 Безопасность жизнедеятельности на производстве

Целью охраны труда является обеспечение безопасности, сохранения здоровья и работоспособности человека в процессе труда. Эти положения отражены в конституции РФ и находятся в центре внимания. В соответствии с положением об охране труда и технике безопасности в организациях, учреждениях и на предприятиях все мероприятия по охране труда на производстве проводит администрация.

К работе следует допускать лиц хорошо знающих производственные процессы и свои.

Каждый случай производственного травматизма должен подлежать расследованию и учету на местах, так как одна из самых главных задач охраны труда в охотоведении - это создание здоровых и безопасных условий труда и ликвидации причин вызывающих травматизм.

Методы предупреждения травматизма на предприятии.

    Систематически проводить инструктажи по технике безопасности среди работников;

    Не допускать использования неисправного оборудования, следить за техническим состоянием зданий, территорий.

    Не допускать привлечения людей для выполнения работ не специальности

    Своевременно проводить медицинское обследование на предмет профзаболеваний

При приёме штатных и сезонных охотников на работу и перед отправкой охотников на сезон и рыбную ловлю проводят вводный инструктаж по технике безопасности.

Главный охотовед, отвечающий за охрану труда, проводит с прибывшими на работу общий инструктаж по правилам техники безопасности.

Нож нужно носить в твердом чехле - ножнах. Работая им нужно делать движения от себя или на деревянной подставке. Лучше держать нож в правой руке, уперев затылочной частью его в правое колено и резать - стругать обрабатываемый предмет, двигая его на нож. Так может произойти соскальзывание предмета, но не ножа.

При управлении лодками и катерами нужно соблюдать следующие правила:

    Все пассажиры в лодке должны сидеть на своих местах, хождение по лодке во время её движения запрещено, так как пассажир может выпасть за борт;

    Нельзя закидывать резкие виражи во время управления лодкой, она может накрениться и перевернуться;

    Нельзя управлять лодкой в нетрезвом виде, это может привести к гибели людей;

    Не следует перегружать лодку, нужно равномерно распределить груз по всей её длине.

Заметив быстро распространяющуюся волну от встречной лодки, следует встретить её носом своей лодки. На порожистых местах лодку следует спускать на бечеве.

У любого охотника и рыбака в зимнее время работа связана с длительным пребыванием на морозе. Для предотвращения обморожений соблюдаются следующие правила:

    Одежда должна быть легкой; не продуваемой и удобной: сочетают шерстяную вязаную и суконную ткани. Не допускается использование синтетических тканей так как они накаляются на морозе и способствуют быстрому охлаждению. Существует опасность при разведении и возгорании костра возгорания одежды с таких тканей;

    Обувь должна быть не тесной, с большим подъёмом, мягкой, легко просушиваемой. Хорошо пропитанная жировой смазкой, с тёплой мягкой стелькой. Лучше всего на ногу одевать сперва шерстяной носок, а затем портянку;

    Если при длительном нахождении на морозе начинает терять чувствительность какая-либо часть тела, не надо растирать её снегом., тем самым можно поранить поверхность кожи и ухудшить ситуацию. Лучше потереть шерстяной рукавичкой до ощущения теплоты;

    При ощущении замерзания необходимо интенсивней двигаться и работать мышцами замерзающей части тела. Если это случилось в пути, нужно развести костёр, нарубить при этом как можно больше дров и активней обогреваться. Если же охотника начинает клонить в сон, ни в коем случае нельзя садиться или ложиться. Если всё таки произошло несчастье и человек обморозил руку или ногу, надо растереть поврежденный орган шерстяной тканью, укутать в тёплое и напоить человека горячим чаем. После этого как можно быстрее доставить пострадавшего в больницу.

Для предупреждений вывихов и растяжений необходимо соблюдать следующие правила безопасности:

    Осторожно передвигаться по неровной, заваленной буреломом поверхности ( ходить по трудно - проходимым местам следует равномерно опираясь на обе ноги). Не следует наступать на валежины, в качестве дополнительной опоры желательно использовать палку- посох;

    Если связки ноги растягивались ранее, то это место следует перебинтовать

4.2 Безопасность жизнедеятельности в чрезвычайных ситуациях

Чрезвычайная ситуация (ЧС) – это совокупность обстоятельств, возникающих в результате аварий, катастроф, стихийных бедствий, диверсий или иных факторов, когда происходит резкое отклонение протекающих явлений и процессов от нормальных, что отрицательно сказывается на жизнеобеспечении, экономике, социальной сфере и природной среде.

Классификация чрезвычайных ситуаций

    ЧС техногенного характера

транспортная авария

1.2 пожары, взрывы

1.3 аварии с выбросом СДЯВ

2. ЧС природного характера

2.1 геофизические опасные явления

2.2 геологически опасные явления

2.3 метеоопасные явления

2.4 морские гидрологические явления

2.5 гидрологические явления на суше

2.6 пожары

- лесной (площадь пожара более 25 га)

- степной

- на торфяниках

- подземный пожар в угольных и нефтяных пластах

2.7 инфекционные заболевания

- эпидемическая вспышка (более 15 человек)

- эпидемия

- инфекционные заболевания неясной этиологии

4.3 Наводнение

Наводнение – это временное затопление значительной части суши водой в результате действия водных сил. В зависимости от вызывающих причин их можно разделить на группы.

- наводнение вызванное выпадением обильных осадков или обильным таянием снега, ледников. Это ведет к резкому подъему уровня рек, озер, образованию заторов.

- наводнения возникающие под воздействием нагонного ветра. Они характерны для прибрежных районов, где имеются устья крупых рек, впадающих в море

- наводнения вызванные подводными землятрясениями. Они характериуются появлением гигантских волн большой длины – цунами ( по -японски - «большая волна в гавани»). Скорость распространения цунами до 1000 км/ч. Высота волны в области ее возникновения не превышает 5м.

    Способы оказания помощи тонущему

Причина гибели человека на воде или на льду различные: неумение плавать, нарушение правил поведения на воде, купание в нетрезвом состоянии, страх испуг

Оказание помощи терпящим бедствие на воде подразделяется на оказание помощи уставшему плавцу и спасание тонущего.

Оказание помощи уставшему плавцу:

Способ 1: уставший плавец кладет вытянутые руки сзади на плечи спасателя, который буксирует его брассом на груди. При возможности пловец помогает, работая ногами.

Способ 2: спасатель плывет к уставшему пловцу со стороны его ног. Пловец ложится на спину и кладет свободно руки на плечи спасающего ноги уставшего пловца широко раздвинуты, чтобы не мешать движению рук и ног спасателя. Плывя брасом на груди, спасатель толкает вперед уставшего человека, чтобы его рот и нос постоянно находились на поверхности воды.

Спасание тонущего

К тонущему человеку всегда следует подплывать сзади. Если сделать это невозможно, надо поднырнуть под тонущего, захватить левой рукой под колено его правую ногу, а ладонью правой руки сильно толкнуть левое колено спереди и развернуть тонущего спиной к себе. Этот прием применяют в случаях, когда пострадавший совершает беспорядочные движения или оказывает сопротивление спасателю. Оказавшись за спиной тонущего спасатель пропускает свою руку подмышку правой руки пострадавшего и, крепко захватив его руку и плечо, всплывает с ним на поверхность.

Приемы буксировки тонущего

Прием буксировки подразделяются на две группы: без закрепления рук, когда утопающий спокойно подчиняется спасателю, и с закреплением рук в случае сопротивления утопающего.

Буксировка за голову. Спасатель, вытянув руки, берет олову тонущего так, чтобы большие пальцы рук лежали на щеках, а мезинцы – под нижней челюстью пострадавшего и приподнимает его лицо над поверхностью воды. Плывя на спине и работая ногами, спсатель транспортирует тонущего к катеру, шлюпки или к берегу.

Буксировка с захватом подмышки. Спасатель крепко подхватывает тонущего под мышки, при этом находясь сзади тонущего и буксирует его с помощью ног.

Буксировка с захватом за волосы или за воротник. Спасатель захватив рукой волосы или воротник одежды тонущего, плывет на боку, работая свободной рукой и ногами. Буксировать тонущего над выпрямленной рукой, поддерживая его голову над поверхностью воды так, чтобы вода не попала в дыхательные пути спасаемого.

Все перечисленные рекомендации следует соблюдать тщательно и уделять им больше внимании

6. Охрана природы

Охрана природы - это комплекс государственных и общественных мероприятий, направленных на рациональное использование, охрану и воспроизводство природных ресурсов, на защиту природной среды от загрязнения и разрушений, в интересах удовлетворения материальных потребностей, как существующих, так и будущих поколений людей.

Рациональное использование природных ресурсов является одной из самых главных задач нашего общества.

Эксплуатация природы и её ресурсов должна быть глубоко обдумана, а также должны быть рассмотрены как положительные стороны использования и воздействия на природный потенциал, так и все отрицательные стороны. Небрежное отношение и стихийное использование, может привести к негативным воздействиям и зачастую к катастрофам.

Отсюда следует, что прежде чем приступить к использованию природы, необходимо предусмотреть и рассмотреть последствия и воздействие после использования, а также способы восстановления в зависимости от степени воздействия.

Амурская область является одним из самых богатых лесосырьевых районов страны. Леса занимают общую площадь 31637 тысяч гектаров. Эти леса не будут вечными, если не принимать для этого соответствующие меры. В области отводится важная роль сохранности лесных богатств. Разработана и осуществляется целевая программа «Леса Приамурья». В распоряжении Амурского управления лесами 23 лесхоза и 95 лесничеств, главная задача которых - воспроизводство и охрана лесных богатств.

Главный враг леса- пожары. Для борьбы с ними в лесхозах действуют 53 пожарно-химические станции. Они оснащены автомобилями, тракторами, мотопомпами, лесными огнетушителями, радиостанциями. Но как видно на примере многих районов, вся эта техника не используется полноценно и пожары всё-таки наносят большой урон лесам.

«Экос» в переводе греческого – «дом» или «жилище», а «логос» - «слово», следовательно экология – наука о доме, в «котором мы свами живем.

В Зеиском районе имеются реки, ручьи, протоки в которых водятся полупроходные лососи (ленок, хариус, и таймень), эти рыбы любят пресную, чистую воду.

До начала строительства Зейской ГЭС между человеком и природой соблюдался своеобразный паритет. Реки успевали самоочищаться, леса – восстанавливаться, отработанные золотодобычиками долины ключей и речек – задерновывались, покрываясь лесом и кустарниками.

Приток в городе Зея строителей ГЭС поставил все, как говорится «с ног на голову». Загремели «мирные» взрывы, потянулись в тайгу автодорогам, высоковольтные ЛЭП. И как следует такому бесцеремонному отношению к природе – разрушение природных комплексов, изменение видового состава флоры и фауны, отдельные представители которых вовсе прекратили свое название. В связи с этой ситуацией в 1989 году был создан комитет охраны природы. Сегодня – Северный межрайонный комитет охраны окружающей среды и природных ресурсов Амурблком природы свою работу он осуществляет по следующим направлением:

- контроль за атмосферным воздухом

- контроль за водными ресурсами

- отходы производства и требования к ним

- вопросы экологического воспитания.

Рассмотрим контроль за водными ресурсами. Чистота воды – постоянная работа зейских экологов. Ведь на сегоднишний день только 6 населеных пунктов района (г. Зея, поселки Береговой, Верхнезейск, Огорон, Тунгала, Дугда) - имеют отчистные сооружения . но последним как показывают проверки, работают еще неудовлетворительно. Например река Зея ниже города еще на долгом протяжении находится под влиянием недоочищенных сточных вод.

Серьезную тревогу у экологов вызывает Зейское водохранилище, которое загрязняют золотодобычики, лесозаготовители, эксплуатационщики БАМа. Плюс к этому – неубранные в свое время три миллиона кубаметра леса, которые мешают судоходству, рыбе , гниют и разлагаются, способствуют концентрации фенола и тяжелых металлов.

Выводы

Таким образом, в целях охраны природы необходимо:

    контролировать соблюдение природоохранных норм предприятий по добычи золота и лесозаготовителей

    провести реконструкцию очистных сооружений

    создать искусственные водоемы по разведению полупроходного лосося

    осуществлять контроль за состоянием водных ресурсов

    проводить просветительные работы по охране природы с населением.

Список литературы

    Анисимова И.М., ЛавровскийВ. В. Ихтиология. – М.: Высшая школа, 1983 – 255с

    Банников А.Г., Рустамов А.К.. Охрана природы – М.: Агропромиздат, 1985-287с

    Белов С. В., Козьянов А. В. /безопасность жизнедеятельности/ М.: Высшая школа, 1992, 448с

    Берштейн С. М.»Воин и рыболовный спорт». 2-е издание исп. И дополн.-М.:Воениздат 1981 – 232с.

    Васильев В. М., САмаринД. А., куда поехать ловить рыбу, М.: «Московский рабочий»,1956

    В. Волчков, География Зейского района: уч. Для ср.школы.- Благовещенск 1998.- 192с.:ил.

    Веселов Е. А. определитель пресноводных рыб фауны- М.: 1977 – 238с

    В помощь рыбаку Амура. Шевчук НА

    Горбацевич А.А. Блинов П.П. «Гражданская оборона» 1983г

    Гринин А. С., Новиков В. Экологическая безопасность «Защита территории и населения при ЧС: - М.: ФАЙР – пресс,-2008.- 336с.:ил.

    Даниленко А.К., Большой атлас охотника и рыболова России. – м.: изд. Дизайн, 2002г – 272с.:ил.

    Зайцев А.П. «Гражданская оборона» 1982г

    Занченко А.З. Охрана жизни людей на воде. М.: Стройиздат, 1978, 224с.

    Козлов В.И., Абрамович Л.С.Справочник рыбовода – М.: Россельхозиздат, 1980 – 220с

    Колганов Д.И. «Ловля рыбы спиннингом». гос. Изд. «Физическая Культура и спорт» москва 1955

    Коренюк И. Ю., Афанасьев П. Ю. Зейский район. Энциклопедический словарь краеведа.- Благовещенск, ООО Издательство компания «РИО», 2007 – 224с

    Красноголовый Б.Н.»современные рыболовные снасти с пропускными кольцами», 1986

    Мартынов А.А. Справочник рыболова спортсмена Подмосковья. М., «московская правда», 1986г

    М. Курноцик «Энциклопедия для нахлыста» 1990 г

    Моисеев П.А., Вавилкин А. С, Ихтиология и рыбоводство – М.: Пищевая промышленность, 1975 – 280с

    Настольная книга рыболова- спортсмена. М.: «физичесуая культура и спорт», 1971.

    Никольский Г. В. Частная ихтиология. – М.: наука, 1971. – 471с

    Никольский Г. В. Экология рыб. – М.: наука, 1974 – 367с

    НН. Харченко, Охотоведение, Москва 2002

    Н.И. Ушакова «Где когда и как ловить рыбу» Обнинск: Титул, 1991, 128с.

    Описание Зейского структурного подразделения Амурской региональной общественной организации «Российской Ассоциации общественных объединений охотников и рыболовов»

    «Особенности русской рыбалки», Крылова Т. Н.СПб.: ТОО «Динамит», ООО «Золотой век» 1977

    Постановление о представлении Амурской региональной общественной организации «Российской ассоциации общественных объединений охотников и рыболовов» территорий, акваторий для пользования объектами животного мира.

    Правдин И.Ф. «руководство по изучению рыб. – М.: Наука, !966 – 376с

    Пучков Н. В. Физиология рыб – М.: Наука, 1954 – 287.

    Ресурсы животного мира Сибири. Рыбы: научное творчество - Новосибирск,- 1990-140

    Сабанеев Л. П. Рыбы России. М., «Физическая культура и спорт», 1982

    Сабанеев Л.П. «Серебряные зеркала» жизнь и ловля пресноводной рыбы. 1988.