Структура и свойства мембранных липидов
Структура и свойства мембранных липидов
Прежде чем перейти к биологическим мембранам, следует детально проанализировать структуру липидного бислоя, а также термодинамические принципы, определяющие его стабильность. Кроме того, некоторые липиды самопроизвольно образуют структуры, не имеющие бислойной организации, и эти липиды, как полагают, играют особую роль в мембранах. Мы рассмотрим структуру и термодинамику водно-липидных систем, уделяя основное внимание тем характеристикам, которые позволяют глубже понять свойства биологических мембран.
1. Жидкие кристаллы
С помощью ренгтеноструктурного анализа установлена с высоким разрешением пространственная структура ряда мембранных липидов. К ним относится лизофосфатидилхолин, димиристо-илфосфатидная кислота, димиристоилфосфатидилхолин, дилауроилфосфатидилэтаноламин, димиристоилфосфатилглицерол и цереброзид. Кристаллы этих липидов содержат очень мало воды, однако пространственная структура липидов в них оказалась подобна той, которую они имеют в полностью ги-дратированном состоянии. На рис. представлена пространственная структура некоторых из этих мембранных липидов в кристаллах. Атомы углерода остатка глицерола и соответствующие атомы Сфингозина выделены черным цветом. На рис. указаны некоторые структурные параметры, используемые для описания конфор-мации липидов.
Рассмотрим кристаллическую структуру дилауроилфосфатидил-этаноамина и укажем наиболее характерные ее особенности.


Площадь, приходящаяся на молекулу, составляет 39 А2.
Полярная головка в целом ориентирована параллельно плоскости бислоя. При этом аминогруппа образует водородную связь с неэтерифицированными атомами кислорода фосфатной группы соседней молекулы. Остаток глицерола ориентирован перпендикулярно плоскости бислоя.
Жирнокислотная цепь sn-2 сначала идет параллельно поверхности бислоя, а после второго углеродного атома направляется в глубь бислоя.
Ацильные цепи расположены перпендикулярно поверхности бислоя и, за исключением начального участка sn-2 жирнокислотной цепи, максимально вытянуты, т. е. имеют полностью-ти/имс-конфигурацию.
Кристаллические структуры фосфатидилхолина и цереброзида во многом сходны со структурой фосфаридилэтаноламина, хотя и

имеют ряд важных отличий. Наиболее значительное и явное из них состоит в наклоне ацильных цепей, сильно выраженном в случае цереброзида. Этот наклон связан с наличием стерических препятствий для упаковки молекул. Объемные полярные головки фосфати-дилхолина и цереброзида не позволяют им упаковываться в сравнительно простые структуры, как в случае дилауроилфосфатидилэта-ноламина. Площадь S, необходимая для размещения этих головок, превышает величину 39 А2, приходящуюся на поперечное сечение ацильных цепей каждой молекулы. В случае цереброзида эта проблема решается за счет наклона ацильных цепей по отношению к плоскости бислоя. В результате существенно увеличивается площадь проекции поперечного сечения ацильных цепей на плоскость бислоя. На рис. схематично показано, как благодаря наклону цепей сохраняется взаимодействие между цепями соседних молекул и обеспечивается размещение объемных полярных групп. Жирнокислотные цепи димиристоилфосфатидилхолина отклоняются от нормали к поверхности бислоя всего на 12°, тогда как в случае цереброзида это отклонение достигает 41°. Проблема упаковки объемных полярных групп диацилфосфатидилхолина может быть решена путем поочередного смещения соседних молекул вдоль нормали к бислою, как схематически показано на рис. Л Имеются убедительные данные и о значительном наклоне цепей в гелевой фазе полностью гидратированных липидных бислоев. Это наглядный пример того, как простые стерические соображения, учитывающие «форму» липидных молекул, оказываются весьма полезными при рассмотрении пространственной структуры липидов.
В кристаллах всех изученных липидов, за исключением фосфа-тидной кислоты, начальный участок 5«-2-жирнокислотной цепи направлен параллельно поверхности бислоя. Об этой особенности расположения цепей свидетельствовали также результаты ЯМР-иссле-дований фосфатидилэтаноламиновых и фосфатидилхолиновых бислоев, а также фосфолипидов в мембранах Е. coli. Физиологическая значимость этой структурной особенности неясна. Однако отмечалось, что в яичном фосфатидилхолине средняя длина sn-2-жирнокислотной цепи равна 18 углеродным атомам, а средняя длина sn-1-цепи — 16. По-видимому, это позволяет скомпенсировать излом жирнокислотной цепи во втором положении остатка глице-рола так, что обе ацильные цепи оказываются погруженными в бислой на одну и ту же глубину.
Итак, можно отметить пять основных особенностей кристаллической структуры, которые важны при рассмотрении строения липидных бислоев.
1. Все изученные структуры имеют ламеллярную организацию с таким же расположением полярных и неполярных групп, как и в бислое.
Некоторые липиды, например фосфатидилхолины и церебро-зиды, имеют объемные полярные головки, из-за чего возникают затруднения при упаковке молекул. Соотношение между указанными молекулярными параметрами играет важную роль при упаковке мембранных липидов не только в кристаллах, но и в модельных мембранах, а также, вероятно, и в биологических мембранах.
Как правило, полярные головки липидных молекул расположены в плоскости бислоя, что способствует образованию межмолекулярных водородных связей.
Ацильные цепи находятся в полностью-трансконфигурации.
В большинстве случаев.ул-2-жирнокислотные цепи начинают углубляться в бислой только после атома С-2.
Эти структурные особенности характерны и для ламеллярных систем, образуемых водно-липидными смесями в фазе геля и/или в жидкокристаллической фазе. Изучение пространственного строения липидов в кристаллах имеет важное значение при рассмотрении конформационного состояния липидов в биологических мембранах.
2. Водно-липидные смеси
Смеси липидов с водой отличаются выраженным полиморфизмом. Даже индивидуальные очищенные липиды в гидратированном состоянии могут находиться в нескольких структурных модификациях. Какая из структур преобладает, зависит от таких параметров, как концентрация липида, температура, давление, ионная сила и рН. Особенно полезным при изучении типов структурной организации водно-липидных систем оказался метод дифракции рентгеновских лучей. При этом чаще всего варьируют концентрацию липида и температуру, а полученные данные представляют в виде фазовой диаграммы, показывающей, какую структуру система имеет в различных областях диаграммы «температура — концентрация». Наряду с дифракцией рентгеновских лучей для определения фазовых границ водно-липидных систем часто используют дифференциальную сканирующую калориметрию. Эти исследования проводят обычно при высоких концентрациях липида, однако многие структуры, обнаруженные при таких условиях, образуются также в липидных дисперсиях при большом избытке воды.
Основные типы структурной организации водно-липидных систем схематично представлены на рис. 2.4.

Ламеллярная жидкокристаллическая фаза, Считают, что именно в этой фазе находится основная масса липидов в биологических мембранах. Как свидетельствуют данные дифракции рентгеновских лучей, для этой фазы характерно упорядоченное расположение слоистых структур при значительной неупорядоченности ацильных цепей.
Ламеллярная гелевая фаза. Она образуется при низкой температуре теми липидами, которые формируют слоистые структуры. В этой фазе молекулы упакованы более плотно, а ацильные цепи намного более упорядочены и находятся преимущественно в полнос-тью-трянс-конфигурации, как и в липидных кристаллах. Поскольку цепи максимально вытянуты, толщина бислоя в фазе геля выше, чем в жидкокристаллической фазе. Плотность фазы геля несколько выше плотности жидкокристаллической фазы. В случае липидов, имеющих объемные полярные головки, ацильные цепи наклонены относительно поверхности бислоя подобно тому, как это наблюдается в некоторых липидных кристаллах. Наклон цепей обычно обозначают штрихом Интересно, что дисперсии фосфатидилхолина в растворах, содержащих некоторые спирты, в том числе и глицерол, образуют необычную фазу геля, в которой противолежащие половины «бислоя» своими ациль-ными цепями полностью проникают друг в друга. Биологическая роль этого явления неясна.
3. Гексагональная
фаза I.
В
этом случае липидные молеку-
лы
формируют цилиндрические структуры,
поверхность которых образована полярными
головками и контактирует с водой. Сами
цилиндры упаковываются с образованием
гексагональной решетки.
4. Гексагональная фаза II. Липиды также образуют цилиндры, но в этом случае полярные группы обращены внутрь цилиндра и формируют водный канал. Упаковка самих цилиндров также является гексагональной.
Очень важно, что некоторые липиды образуют небислойные структуры. Действительно, многие очищенные мембранные липиды не образуют стабильных бислоев, а предпочитают находится в гек-

сагональной фазе Ни. В качестве примера можно упомянуть ненасыщенные фосфатидилэтаноламины, а также такой гликолипид, как моногалактозилдиацилглицерол. Причины такого поведения и его возможная биологическая значимость обсуждаются в следующих разделах.
2.1 ГИДРАТАЦИЯ ЛИПИДОВ
Параметры можно определить по данным дифракции рентгеновских лучей. Как правило, те параметры, которые зависят главным образом от длины ацильных цепей, почти не меняются при увеличении содержания воды в системе. Гидратация липидов происходит в результате связывания воды с полярными головками. Процесс гидратации активно изучали методами 'Н- и 2Н-ЯМР. Результаты, полученные при изучении фос-фатидилглицерола, фосфатидилхолина и фосфатидилэтаноламина методом 2Н-ЯМР, говорят о наличии гидратной оболочки из 11 — 16 молекул воды на одну молекулу липида. Эти молекулы быстро обмениваются с молекулами воды, находящимися в основном объеме. Согласно другим измерениям, полярная головка фосфатидилэтаноламина связывает меньше воды, чем полярная головка фосфатидилхолина. Было высказано предположение, что в случае ненасыщенных фосфатидилэтаноламинов слабая гидратация благоприятствует образованию неламеллярной гексагональной фазы Ни.
Многие липиды набухают в воде. Липиды, которые не несут заряда или являются в целом электрически нейтральными, не набухают совсем или набухают лишь в ограниченной степени до предельной толщины водной прослойки между ламеллами. При избытке воды сосуществуют две фазы — мультиламеллярная липидная фаза и вода, находящаяся в основном объеме. Заряженные липиды склонны к неограниченному набуханию и могут включать воду между ламеллами вплоть до пороговой точки, когда образуются две фазы — полностью гидратированные моноламелярные везикулы, находящиеся в равновесии с водой в основном объеме. Степень набухания и относительная стабильность мульти- и моноламеллярных структур определяются электростатическими взаимодействиями. При низкой ионной силе происходит дестабилизация мультиламеллярных структур. Неограниченное набухание может происходить и в том случае, когда в смеси липидов содержится всего несколько процентов заряженных липидов.
Поляризация молекул воды вблизи полярных липидных головок приводит к сильному отталкиванию при сближении двух бислоев. Эта «гидратационная сила» удерживает гидратированные бислои на расстоянии не менее 30 А друг от друга. Именно она создает основной энергетический барьер, который следует преодолеть, пытаясь осуществить слияние мембран. Возможно, фосфатидилэтаноламиновые везикулы склонны к агрегации именно потому, что степень гидратации их полярных головок относительно низка.
Исследования, проведенные методом ЭПР с помощью спиновых меток, способных реагировать на полярность своего окружения на различной глубине от поверхности бислоя, показывают, что вода частично проникает в углеводородную область бислоя, находящуюся в жидкокристаллическом состоянии. По данным нейтронного рассеяния, когда бислой находится в состоянии геля, вода не проникает глубже глицеролового остова липидных молекул.
2.2 ФАЗОВЫЕ ДИАГРАММЫ ОДНОКОМПОНЕНТНЫХ ВОДНО-ЛИПИДНЫХ СИСТЕМ
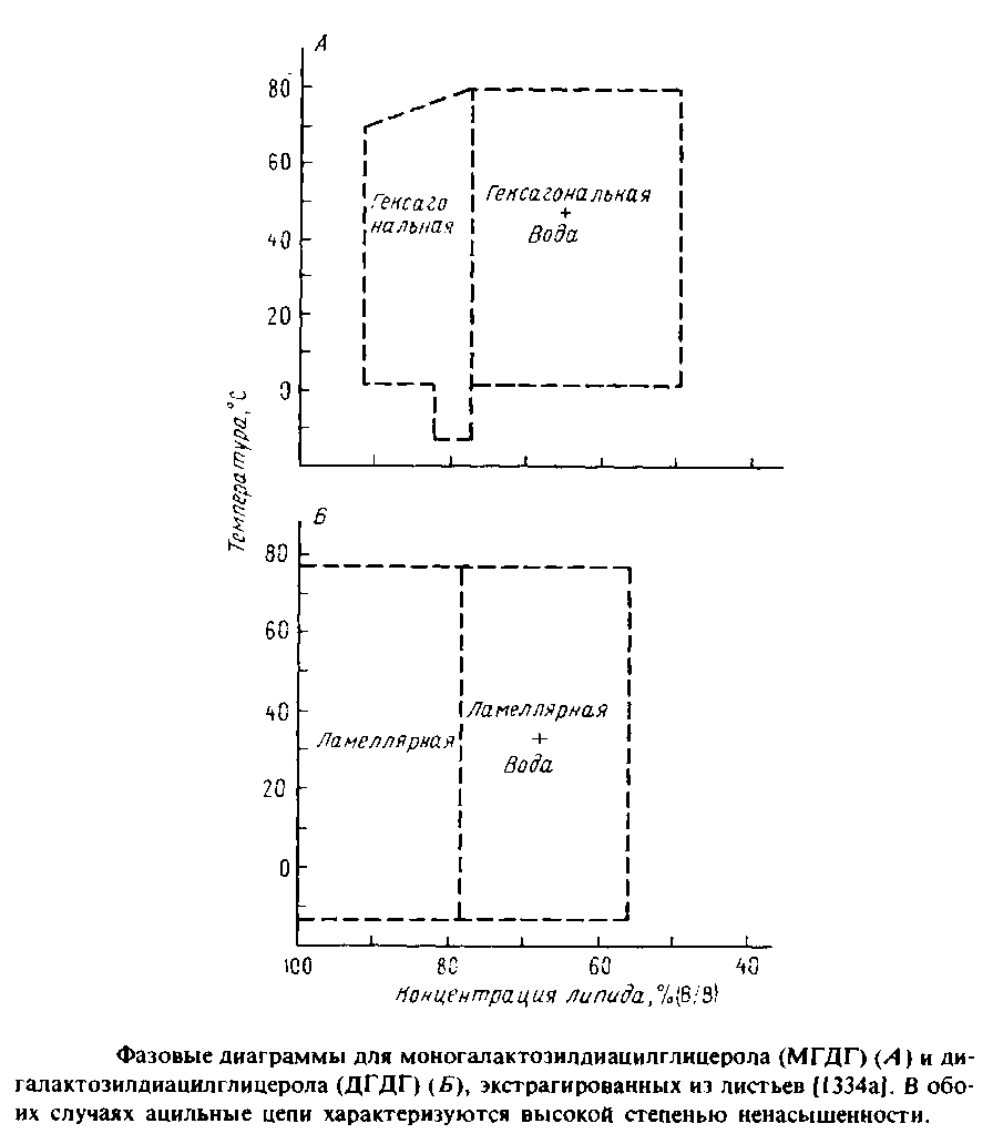
На рис. 2.5 представлена фазовая диаграмма в координатах температура—концентрация для двух распространенных гликолипидов, выделенных из растений. Дигалактозилдиацилгли-церол образует стабильную ламеллярную фазу. При низком содержании воды имеется только гидратированная фаза, а при содержании воды 20% сосуществуют две фазы — мультиламеллярная гидратированная липидная фаза и вода основного объема. К неограниченному набуханию ДГДГ не способен.


На приведена фазовая диаграмма для дипальмитоилфос-фатидилхолина. Этот липид существует в ламеллярной форме при самых разных условиях. При добавлении воды он «набухает» до тех пор, пока между слоями не скопится максимально возможное количество воды. В этой точке образуется двухфазная система, представляющая собой взвесь мультиламеллярных липо-сом. Обратите внимание, что между фазой геля и жидкокристаллической ламеллярной фазой имеется еще одна фаза. Это так называемая «рифленая» фаза. В этой фазе поверхность бислоя на электронных микрофотографиях имеет волнообразный вид. Температурный фазовый переход Р>0>, -» L>a> называется главным, а переход ц, -» Р^, — предпереходом.
Липиды, имеющие объемные полярные головки, обычно претерпевают предпереход, свидетельствующий о наличии фазы, промужеточной между гелевой и жидкокристаллической. В Р>а>,-фазе дипальмитоилфосфатидилхо-лина ацильные цепи, вероятно, наклонены, хотя спектры комбинационного рассеяния говорят о том, что они по-прежнему, как и в фазе геля, находятся преимущественно в полностью-трянс-конфигурации.
2.3 ДВА МЕТОДА ИЗУЧЕНИЯ ЛИПИДНОГО ПОЛИМОРФИЗМА
Кроме метода дифракции рентгеновских лучей для характеристики свойств липидных фаз использовали и другие методы. Один из них, оказавшийся особенно полезным, — это электронная микроскопия замороженных сколов. Второй метод, 31Р-ЯМР, был введен в исследовательскую практику несколько позже и нашел применение для обнаружения небислойных структур, которые, как полагают, играют особую роль в биологических мембранах.
1. Электронная микроскопия липидных фаз с применением метода замораживания—травления. Этот метод оказался очень полезным при изучении структурной организации различных липидных фаз. Примеры получаемых при этом электронных микрофотографий приведены на рис. 2.7. Жидкокристаллическая фаза на этих микрофотографиях всегда выглядит как гладкая поверхность, а Р^.-фаза — как рифленая. Геле-вая фаза выглядит как гладкая поверхность, но при определенных условиях приготовления препарата имеет спиральную текстуру из-за возникновения случайных дефектов в плотной упаковке. Гексагональная фаза, образуемая такими лип идами, как ненасыщенный фосфатидилхолин, выяляется на микрофотографиях после замораживания—травления как стопка цилиндров. При приготовлении образцов липиды уравновешивают в условиях, подходящих для формирования нужных структур, а затем быстро замораживают, чтобы организация этих структур не успела измениться.


Электронно-микроскопические методы использовались также для изучения «липидных частиц». Эти частицы нередко наблюдаются в бинарных смесях, если один из липидов склонен образовывать фазу Ни, а другой — бислойные структуры. Липидные частицы образуются в чисто липидных образцах и потому отличаются от «белковых частиц», которые наблюдаются в биологических мембранах и в реконструированных белково-липид-ных системах. Было высказано предположение, что липидные частицы представляют собой вывернутые мицеллы, расположенные внутри бислоя, и что они играют определенную роль в биологических процессах, облегчая слияние мембран или стабилизируя их на сильно искривленных участках, как, например, в мем^ бране тилакоидов. Однако четких доказательств биологической роли липидных частиц пока не получено.
2. Исследование бислоев методом пР-ЯМР. Этот метод также используется для структурной характеристики гидратирован-ных липидов. Например, фосфолипиды в гексагональной фазе Ни дают спектры 31Р-ЯМР, резко отличающиеся от спектров фосфолипидов в ламеллярной фазе. С помощью этого метода исследовался переход ламеллярной фазы в гексагональную в липидах и липидных смесях. Недостатком метода является некоторая неопределенность при интерпретации спектров в случае изотропного усреднения за счет относительно быстрых движений. Полагают, что такой спектр отвечает структурам типа «липидных частиц», однако это объяснение не является единственно возможным. Как было показано, метод 31Р-ЯМР позволяет надежно установить наличие гексагональной Ни-фазы в чисто липидных дисперсиях, но в случае биологических мембран к подобным выводам следует относиться с осторожностью, особенно если они не подтверждены другими методами.
Метод 31Р-ЯМР оказался весьма полезным при определении ориентации и динамического поведения полярных головок фосфолипидов, а также структурных возмущений, вносимых в бислой мембранными белками.
2.4. ОРИЕНТАЦИЯ ПОЛЯРНЫХ ГОЛОВОК ЛИПИДОВ В БИСЛОЕ
Данные ряда методов свидетельствуют о том, что в ламелляр-ных водно-фосфолипидных дисперсиях, как и в липидных кристаллах, полярные головки липидов в целом ориентированы параллельно плоскости бислоя. В случае фосфатидилхолинов такая ориентация присуща как гелевой, так и жидкокристаллической фазам, судя по результатам исследований методами дифракции нейтронов и рентгеновских лучей. Об этом же свидетельствуют и данные, полученные методом 2Н-ЯМР, хотя при этом не исключаются и другие интерпретации. Имеющиеся данные указывают на то, что пространственное расположение полярных головок фосфа-тидилглицерина, сфингомиелина и фосфатидилсерина сходно. Исследования методом 2Н-ЯМР интактных фибробластов мыши и выделенных из них мембран также показали, что полярные головки как фосфатидилхолина, так и фосфатидилэтаноламина ориентированы параллельно поверхности мембран. Однако по данным дифракции нейтронов у фосфатидилглицерола, выделенного из Е. coli, полярная головка ориентирована примерно под углом 30° к поверхности мембраны, что облегчает связывание отрицательно заряженных фосфатных групп с катионами.
На ориентацию и динамику полярных головок липидных молекул может влиять образование межмолекулярных водородных связей на поверхности мембраны. Донорами и акцепторами при Образовании этих связей могут служить такие липиды, как фосфатидилсерин, фосфатидилэтаноламин и различные гликолипиды. Исследования, проведенные на модельных мембранных системах, показывают, что водородные связи между полярными головками сохраняются даже в условиях гидратации мембранной поверхности, однако пока неизвестно, как образование этих связей может сказаться на структуре биологических мембран.
2.5. КОНФИГУРАЦИЯ И УПАКОВКА АЦИЛЬНЫХ ЦЕПЕЙ В БИСЛОЕ
Рассмотрим сначала насыщенные углеводородные цепи. В них возможно свободное вращение вокруг каждой С—С-связи, характеризующееся энергетическим минимумом, особенно четким в случае ньюменовской проекции. Наиболее стабильна транс-конфигурация, при этом высота энергетического барьера для перехода через заслоненную конфигурацию в гош-форму составляет по оценкам 3,5 ккал/моль. В полностью m/wwc-конфигурации цепь максимально вытянута и не меняет своего направления, тогда как в гош-конформации ее направление меняется. Последовательность гош-транс-гош для трех смежных С—С-связей приводит к появлению в цепи излома, в результате чего участки цепи выше и ниже места излома оказываются значительно смещенными друг относительно друга. /ош-конфигурация в зависимости от направления вращения при переходе от Q к С4 обозначается как g+ или g". Кинки типа g + tg~ или g~ tg+ приводят к минимальному сдвигу цепи. Почти все двойные связи в мембранных липидах находятся в J/ис-конфигурации. Как и в случае гош-конфигурации, это приводит к изменению общего направления цепи. Наличие в углеводородных цепях кинков, двойных ^ыс-связей,


циклопропановых групп и других особенностей приводит к увеличению площади поперечного сечения цепи; это может иметь важные последствия для упаковки липидов в бислое. При этом стерические требования к упаковке углеводородных цепей и полярных головок такие же, как и в липидных крастал-лах. Эти принципы будут обсуждаться в разд. 2.3 при анализе формы мицелл.
Многие методы, включая дифракцию рентгеновских лучей и нейтронов, спектроскопию КР и ИК-спектрометрию, указывают, что в фазе геля насыщенные углеводородные цепи фосфолипидов находятся преимущественно в полностью-гпрднс-конфигурации. Минимальная площадь поперечного сечения молекулы диа-цильного фосфолипида равна около 38 A2. Примерно такую площадь занимает полярная головка фосфатидилэтанола-мина, поэтому насыщенные фосфатидилэтаноламины в гелевой фазе упаковываются так, что ацильные цепи располагаются перпендикулярно плоскости бислоя, как и в липидных кристаллах. В случае же кристаллов фосфатидилхолина минимальная площадь, приходящаяся на одну полярную головку, составляет примерно 50 А2. Поэтому дипальмитоилфосфатидилхолин в гелевой фазе не может упаковываться так, как фосфатидилэтаноламин. В этом случае ацильные цепи дипальмитоилфосфатидилхолина отклоняются на 30° от нормали к бислою, благодаря чему их поперечное сечение увеличивается и достигается соответствие размеру полярной головки. При этом углеводородные цепи сохраняют полнос-тью-транс-конфигурацию. В жидкокристаллической фазе появление в цепи гош-конформеров увеличивает эффективное поперечное сече-

ние цепей по меньшей мере до 50 А2 в расчете на молекулу диациль-ного фосфолипида, а в водных дисперсиях эффективная площадь, приходящаяся на молекулу фосфолипида, составляет обычно 60 — 70 А2. Следовательно, в жидкокристаллической фазе углеводородные цепи не наклонены к плоскости бислоя, поскольку в этих условиях.полярные головки липидных молекул достаточно удалены друг от друга, и чтобы заполнить пространство между соседними головками и перекинуть между ними мостики, требуются вода и другие полярные молекулы. Судя по данным 2Н-ЯМР, толщина углеводородной области дипальмитоилфосфатидилхолинового бислоя в жидкокристаллическом состоянии составляет 35, а не 45 А, как следовало ожидать, если бы цепи находились в полностью-/я/*7«с-конфиругации и были ориентированы вдоль нормали к би-слою. Толщина бислоя уменьшается за счет наличия к цепях гош-конформеров, приводящих к разупорядоченности цепей, причем сами цепи в целом растянуты и расположены перпендикулярно поверхности бислоя, а не скручены в спираль. На рис. 2.12 приведена линейная зависимость толщины жидкокристаллического бислоя в диацилфосфатидилхолиновых везикулах от длины ацильных цепей, построенная по данным рассеяния рентгеновских лучей.
МЕТОДЫ ИССЛЕДОВАНИЯ ГИДРОФОБНОЙ ОБЛАСТИ БИСЛОЯ
Для получения детальной картины строения внутренней области бислоя особенно полезными оказались два метода: Н-ЯМР и ИК-и КР-спектроскопия. Применение *Н- 13С-ЯМР для исследования мембран и водно-липидных систем затруднено, поскольку для получения пригодных для исследования малых везикул или мембранных фрагментов необходима предварительная фрагментация мембранного препарата с помощью ультразвука. Впрочем, если вращать образец под магическим углом, то необходимость в такой обработке отпадает, и это открывает новые возможности для более широкого применения последних методологических достижений ЯМР при изучении модельных и биологических мембран.
Применение методов 2Н-ЯМР и колебательной спектроскопии не сопровождается возмущениями бислоя, поскольку в этих методах не используются зонды, которые могли бы исказить структуру окружающих их липидов. Ниже приведены краткое описание этих методов и сводка результатов, полученных при изучении конфигурации ацильных цепей.
Спектроскопия комбинационного рассеяния
Лазерная спектроскопия комбинационного рассеяния оказалась весьма полезной для изучения физического состояния модельных и биологических мембран. Этот метод основан на измерении разности энергии падающего света и света, рассеянного за счет колебательных движений. Тип колебаний и их интенсивность очень сильно зависят от физического состояния липидов, поэтому спектры фосфолипидов в фазе геля и жидкокристаллическом состоянии существенно различаются. Особенно полезны для регистрации этих различий валентные колебания связи С—С. Например, появление гош-конформеров при плавлении углеводородных цепей приводит к увеличению интенсивности полосы при 1080 см-1. Этот метод показывает, что некоторая доля гош-конформеров сохраняется и в состоянии геля до тех пор, пока температура не снизится до очень низких значений, около - 200° С. Заметим, что колебания часто охватывают всю молекулу, так что количественная интерпретация спектров с точки зрения анализа влияния отдельных коиформаций является непростой задачей.
Обычно образцы представляют собой суспензию липидов в концентрации около 1 мг/мл. Мембраны, содержащие хромофоры или флуоресцирующие примеси, непригодны для изучения. Фоновая флуоресценция делает невозможным измерение относительно слабых сигналов комбинационного рассеяния, а поглощение хромофорами лазерного излучения приводит к нагреванию
Инфракрасная спектроскопия
Этот метод также основан на регистрации колебательных спектров молекул, но до недавнего времени его применение для изучения биологических объектов было ограниченным из-за невозможности работы с водными суспензиями. После разработки современных ИК-спектрометров с фурье-преобразованием многие из этих проблем были решены. В настоящее время опубликовано немало работ по изучению липидных дисперсий и биологических мембран методом фурье-ИК-спектроскопии. Преимущества этого метода перед спектроскопией КР состоят в его значительно более высокой чувствительности, а также в том, что флуоресцирующие примеси или хромофоры не мешают измерениям. Как и в случае спектроскопии КР, фурье-ИК-спектры чувствительны к изменениям полиморф-ио-фазового состояния липидов. Поэтому фурье-ИК-спектроскопия использовалась для изучения предпереходов в фосфатидилхолино-вых бислоях, главного фазового перехода гель—жидкий кристалл, а также перехода яичного фосфатидилэтаноламина из ламеллярной фазы в гексагональную Нц-фазу.
Изменение коиформации липидных цепей сопровождается частотным сдвигом полос поглощения групп СНг, причем эти изменения коррелируют с изменением доли гош-коиформеров в цепях. Например, в присутствии холестерола число гош-коиформеров в ди-пальмитоилфосфатидилхолине при температурах выше температуры главного фазового перехода снижается, что согласуется с изменениями упорядоченности бислоя, измеренной методом 2Н-ЯМР. Встраивание в бислой интегрального мембранного белка оказывает совершенно иной эффект: число гош-кон-формеров в жидкокристаллической фазе практически не изменяется, но увеличивается их содержание в фазе геля, поскольку белки мешают ацильным цепям упаковываться в полностью-транс-конфигура-ции.
Более детальную картину строения гидрофобной области липидного бислоя удалось получить с помощью метода 2Н-ЯМР. Атомы водорода в определенных местах липидной молекулы можно избирательно заменить дейтерием. Это сравнительно мяг-


кий способ зондирования мембран, и считается, что он, как правило, не вносит возмущений в их структуру. Спектры некоторых дейтерированных димиристоилфосфатидилхолинов представлены на рис. Расстояние между двумя пиками Avq, называемое квадрупольным расщеплением, зависит от усредненной по времени ориентации вектора С—D-связи по отношению к нормали к бислою. Усредненную по времени ориентацию можно выразить через параметр упорядоченности следующим образом:

где <cos20) отражает усреднение ориентации по времени, a Scd является параметром упорядоченности связи. Необходимо подчеркнуть, что результат измерения является величиной, усредненной по всем молекулам.

При хаотичной ориентации. Этот параметр описывает усредненную ориентацию данного сегмента ацильной цепи:
мол = _ 2Scd-
Параметр упорядоченности, получаемый с помощью метода 2Н-ЯМР, отражает усредненную ориентацию и мало что говорит о динамике системы и о характере движений.
Особое значение имеет тот факт, что локальное магнитное поле, в котором находится конкретный атом дейтерия, зависит от ориентации С—D-связи по отношению к внешнему магнитному полю. Колебательные и вращательные движения молекулы, которые влияют на ориентацию С—D-связи в бислое в целом, происходят с достаточно большой скоростью, так что любой атом дейтерия воспринимает единое усредненное магнитное окружение. Это окружение зависит от соседних атомов, а также от ограничений движения по типу и амплитуде. В этом отношении метод 2Н-ЯМР отличается от КР- и ИК-спектроскопии, поскольку переходы транс-и гош- совершаются с гораздо меньшей частотой, чем разность частот колебательных полос, отвечающих этим формам. Поэтому ИК- и КР-спектры дают картину, которую можно назвать моментальной фотографией вклада транс- и гош-ротамеров в спектральные параметры. Для измерения параметров упорядоченности применяют и другие методы, в частности спектроскопию ЭПР и флуоресенцентную спектроскопию.

На рис. приведены параметры упорядоченности, определенные по данным 2Н-ЯМР для нескольких селективно дейтерирован-ных фосфолипидов, в которых атом дейтерия включен в определенные метиленовые группы sn-1-пальмитоильного остатка. Исследовались как липидные бислои, так и природные мембраны, находящиеся в жидкокристаллическом состоянии, поскольку в случае фазы геля спектры очень уширяются из-за плотной упаковки липидов и потому с трудом поддаются анализу. Эти данные позволяют сделать два вывода.
Параметр упорядоченности довольно постоянен на участке от С-2 и до примерно С-8 или С-10. Метиленовые группы в средней части бислоя значительно более разупорядочены, чем группы вблизи его поверхности.
Для синтетических липидов разных типов, включая фосфати-дилхолин, фосфатидилсерин и сфингомиелин, а также для биологических мембран, содержащих дейтерированные зонды, получен одинаковый профиль параметра упорядоченности. Таким образом, характер упорядоченности бислоя мало зависит от химического строения липида и от состава мембраны, если бислой находится в жидкокристаллическом состоянии.
Количественный анализ этих данных можно провести на основе молекулярного моделирования с использованием методов статистической механики. Например, приведенные результаты согласуются с наличием в каждой цепи дипаль-митоилфосфатидилхолина четырех или пяти гош-ротамеров при очень малом содержании кинков. Поскольку каждая цепь закреплена у поверхности бислоя, участок цепи вблизи поверхности наиболее упорядочен. Обратите внимание, что бислой — это высококооперативная система. Ацильная цепь не может изменить свое направление без компенсационных изменений соседних цепей. Поэтому группа смежных сегментов цепи должна двигаться кооперативно. Отклонения ориентации сегментов цепи от нормали к бислою будут усиливаться по мере перехода от поверхности бислоя к его центральной области. Поэтому разупорядочен-ность максимальна в середине бислоя, где подвижность цепей такая же, как в жидком парафине. Данные других методов также показывают, что молекулярная подвижность максимальна в центре бислоя. Но необходимо отметить, что неупорядоченность — это статистический параметр, который ничего не говорит о характере движения. Так, можно иметь сильно неупорядоченную структуру, которая в то же время обладает малой подвижностью.
Дифракция нейтронов
Селективно дейтерированные фосфолипиды можно также исследовать методом дифракции нейтронов. Если рентгеновские лучи рассеиваются на электронах, то нейтроны — на ядрах атомов. Рассеивающие свойства 'Н и 2Н сильно различаются, что позволяет выявлять дейтерированные области по кривой плотности рассеяния. Например, судя по данным дифракции нейтронов, атом С-5 находится на расстоянии 15 А от центра дипальмитоилфосфатидил-холинового бислоя в фазе геля; это соответствует полностью вытянутой транс-конфигурации цепей. Используя D2O в качестве растворителя, можно определить локализацию воды в фазе геля; полученные данные показывают, что вода проникает до области локализации глицерольных остатков. С помощью рассеяния нейтронов можно определить также локализацию ионов, таких, как Са2+.