Типовая организационная структура предприятия и её совершенствование в современных условиях
Содержание.
Введение
Глава I. Сущность и основные виды организационных структур
1.1 Понятие организационной структуры и её сущность
1.2 Виды организационных структур
Глава II. Анализ организационной структуры ООО Фирма «Лига»
2.1 Краткая характеристика ООО Фирма «Лига»
2.2 Анализ организационной структуры ООО Фирма «Лига»
2.3 Возможные мероприятия по совершенствованию организационной структуры ООО Фирма «Лига»
Заключение
Список использованной литературы
Введение.
Организационная структура – одно из ключевых понятий менеджмента, тесно связанное с целями, функциями, процессом управления, работой менеджеров и распределением между ними полномочий. В рамках этой структуры протекает весь управленческий процесс (движение потоков информации и принятие управленческих решений), в котором участвуют менеджеры всех уровней, категорий и профессиональной специализации. Под организационной структурой предприятия понимаются состав, соподчиненность, взаимодействие и распределение работ по подразделениям и органам управления, между которыми устанавливаются определенные отношения по поводу реализации властных полномочий, потоков команд и информации. Структуру можно сравнить с каркасом здания управленческой системы, построенным для того, чтобы все протекающие в ней процессы осуществлялись своевременно и качественно. К организационным структурам предъявляется множество требований, таких как оптимальность, оперативность, надежность, экономичность, гибкость, устойчивость, но основным из них является то, что организационная структура всегда должна соответствовать стратегии предприятия.
Реализация стратегии – это важная часть общего механизма развития. Посредством этого организация может достигать поставленной цели и в конечном итоге миссии. Искусное исполнение стратегии в значительной степени зависит от компетентного персонала, от его достаточного мастерства и конкурентных возможностей, а также от эффективной внутренней организации предприятия. Таким образом, создание жизнеспособной структуры — это всегда самая приоритетная задача при реализации стратегии. Задача менеджеров при этом состоит в том, чтобы выбрать ту структуру, которая лучше всего отвечает целям и задачам организации, а также воздействующим на нее внутренним и внешним факторам [4, 297]. «Наилучшая» структура – это та, которая наилучшим образом позволяет организации эффективно взаимодействовать с внешней средой, продуктивно и целесообразно распределять и направлять усилия своих сотрудников и, таким образом, удовлетворять потребности клиентов и достигать своих целей с высокой эффективностью.
Не менее важной задачей построения структуры организации является обеспечение функциональных и производственных подразделений персоналом, обладающим навыками, техническими знаниями, способностями, необходимыми для обеспечения фирме конкурентного преимущества над соперниками при осуществлении одного или более видов деятельности, играющих важную роль в цепочке ценностей. Для этого нужно обладать определенным талантом и суметь правильно определить, каким уровнем подготовки, опытом, знаниями должен обладать персонал, каковы должны быть их ценности, убеждения, личные свойства, чтобы все это способствовало успешному выполнению стратегии [11, 427].
Актуальность данного вопроса обуславливает то, что совершенствование организационной структуры предприятия – это важнейшая задача современного менеджмента, важнейшая часть организационного развития, процесса изменений, совершенствования системы управления предприятием, способствующая также скорейшему достижению поставленных целей и задач.
Объектом работы является предприятие ООО Фирма «Лига».
Предметом изучения в данном случае будет являться организационная структура предприятия ООО Фирма «Лига».
Целью данной работы является исследование организационной структуры предприятия и предложение пути её совершенствования. В соответствии с целью, можно выделить следующие задачи:
1. Изучить типовые организационные структуры.
2. Дать краткую характеристику предприятия ООО Фирма «Лига».
3. Изучить и проанализировать организационную структуру исследуемого мною предприятия (ООО Фирма «Лига»).
4. Предложить меры по совершенствованию организационной структуры ООО Фирма «Лига».
Работа содержит две главы.
В первой главе дается понятие организационных структур и рассмотрены их основные типы и виды, достоинства и недостатки. Также сделаны выводы о целесообразности их применения.
Во второй главе дается общая характеристика ООО Фирма «Лига» и результаты проведенного мною анализа организационной структуры предприятия.
В третьей главе предложены возможные мероприятия по совершенствованию организационной структуры данного предприятия.
I. Сущность и основные виды организационных структур
1.1 Понятие организационной структуры и её сущность
Организационная структура предприятия - это его внутреннее строение, характеризующее состав подразделений и систему связи, подчиненность и взаимодействие между ними. Оргструктуры отличаются друг от друга сложностью, формализацией и соотношением централизации и децентрализации [4 ,279].
1. Сложность организационной структуры определяется по количеству отделов, групп, квалифицированных специалистов и уровней иерархии. Эти параметры в организациях могут существенно различаться в зависимости от принятого разделения работ и характера связей между ними. Количество и состав отделов, групп, высококвалифицированных специалистов и уровней иерархии могут меняться при существенных изменениях как в структуре самой организации, так и в ее отношениях с внешней средой.
2. Формализация характеризует масштабы использования правил и регулировочных механизмов для управления поведением людей, т.е. уровень стандартизации работ внутри организации. Стандарты ограничивают возможности выбора исполнителей, указывая им, что, когда и как надо делать. Работа должна выполняться в соответствии с требованиями, инструкциями, правилами, описанием процедур и операций по всем процессам, протекающим в организации. Их значение при снижении уровня формализации падает и исполнителям предоставляется большая свобода выбора и возможностей принятия собственных решений.
3. Централизация отражает степень концентрации принятия решений на самом высоком уровне организации. Она показывает формальное распределение прав, обязанностей и ответственности по вертикали управления, а ее уровень характеризует, в какой мере члены организации привлекаются к принятию управленческих решений. Управление централизовано, если все ключевые решения принимаются высшим менеджментом, а участие остальных уровней незначительно. Высокий уровень децентрализации обеспечивает более быструю реакцию на события и принятие ответных мер. К их реализации привлекается большее количество управленцев, что повышает уверенность в решении проблем. Критерии, по которым можно определить реальный уровень децентрализации в управлении организацией, связаны с оценкой системы отношений между исполнителями и менеджерами, между менеджерами разных уровней, между менеджерами и клиентами и т.п.
Организационная структура в классическом понимании определяет следующие три характеристики организации: [12, 143]
совокупность всех подразделений, служб и отдельных сотрудников фирмы;
вертикальные и горизонтальные связи между ними;
уровни иерархии, занимаемые ими (т.е. соподчиненность элементов организации).
Структурное подразделение организации — группы людей, деятельность которых сознательно направляется и координируется для достижения общих целей. Отношения между ними поддерживаются благодаря связям, которые принято подразделять на горизонтальные и вертикальные. Горизонтальные связи носят характер согласования и являются, как правило, одноуровневыми. Вертикальные связи — это связи подчинения, и необходимость в них возникает при иерархичности управления, т.е. при наличии нескольких уровней управления. Кроме того, связи в структуре управления могут носить линейный и функциональный характер. Линейные связи отражают движение управленческих решений и информации между так называемыми линейными руководителями, т.е. лицами, полностью отвечающими за деятельность организации или ее структурных подразделений. Функциональные связи имеют место по линии движения информации и управленческих решений по тем или иным функциям управления.
Между структурой управления и организационной структурой существует тесная связь: структура организации отражает принятое в ней разделение работ между подразделениями, группами и людьми, а структура управления создает механизмы координации, обеспечивающие эффективное достижение общих целей и задач организации. Как правило, мероприятия по проектированию или изменению состава самой организации (разукрупнение, объединение, слияние с другими организациями и др.) вызывают необходимость соответствующих перемен в структуре управления.
1.2 Виды организационных структур
Можно выделить два подхода к происхождению типов организационных структур. Первый — это формирование структуры управления исходя из внутреннего строения организаций, разделения работ и рационализации управления — иерархический тип. Второй исходит из необходимости постоянного приспособления структуры управления к условиям внешней среды, получивший название органического. При первом подходе главное внимание уделялось разделению труда на отдельные функции и соответствию ответственности работников управления предоставляемым полномочиям. В течение многих десятилетий организации создавали формальные структуры управления, которые получили название иерархических (бюрократических) [2, 176].
Концепция иерархической структуры была сформулирована немецким социологом Максом Вебером. Она содержала следующие принципиальные положения:
1. Четкое разделение труда, следствием которого является необходимость использования квалифицированных специалистов по каждой должности;
2. Иерархичность управления, при которой нижестоящий уровень подчиняется и контролируется вышестоящим;
3. Наличие формальных правил и норм, обеспечивающих однородность выполнения менеджерами своих задач и обязанностей;
4. Дух формальной обезличенности, с которым официальные лица выполняют свои обязанности;
5. Осуществление найма на работу в соответствии с квалификационными требованиями к данной должности.
Органический тип структуры управления отвергает необходимость в детальном разделении труда по видам работ и формирует такие отношения между участниками процесса управления, которые диктуются не структурой, а характером решаемой проблемы.
Главным свойством таких структур, известных в практике управления как гибкие и адаптивные, является присущая им способность сравнительно легко менять свою форму, приспосабливаться к новым условиям, органически вписываться в систему управления. Эти структуры ориентируются на ускоренную реализацию сложных программ и проектов в рамках крупных предприятий и объединений, целых отраслей и регионов. Как правило, они формируются на временной основе, т.е. на период реализации проекта, программы, решения проблемы или достижения поставленных целей. Органический тип в отличие от иерархического представляет собой децентрализованную организацию управления, для которой характерны:
- отказ от формализации и бюрократизации процессов и отношений
- сокращение числа иерархических уровней
- высокий уровень горизонтальной интеграции между персоналом
- ориентация культуры взаимоотношений на кооперацию
- взаимная информированность
- самодисциплина
Иерархический тип представлен следующими структурами:
I. Линейная.
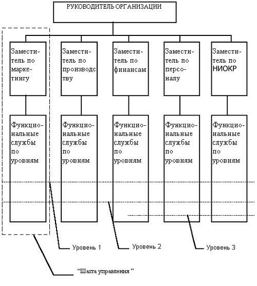
Основы линейных структур составляет так называемый "шахтный" принцип построения и специализация управленческого процесса по функциональным подсистемам организации (маркетинг, производство, финансы, персонал, НИОКР, инновации и т. д. ). По каждой подсистеме формируется иерархия служб ("шахта"), пронизывающая всю организацию сверху донизу. Результаты работы каждой службы оцениваются показателями, характеризующими выполнение ими своих целей и задач. Соответственно строится и система мотивации и поощрения работников. При этом конечный результат (эффективность и качество работы организации в целом) становится как бы второстепенным, так как считается, что все службы в той или иной мере работают на его получение.

Рис. 1. Линейная организационная структура
Преимущества линейной структуры:
1. Четкая система взаимных связей функций и подразделений;
2. Четкая система единоначалия - один руководитель сосредотачивает в своих руках руководство всеми процессами, имеющими общую цель;
3. Ясно выраженная ответственность;
4. Быстрая реакция исполнительных подразделений на прямые указания вышестоящих.
Недостатки линейной структуры:
1. Отсутствие звеньев, занимающихся вопросами стратегического планирования; в работе руководителей практически всех уровней оперативные проблемы ("текучка") доминирует над стратегическими;
2. Тенденция к волоките и перекладыванию ответственности при решении проблем, требующих участия нескольких подразделений;
3. Малая гибкость и приспособляемость к изменению ситуации;
4. Критерии эффективности и качества работы подразделений и организации в целом - разные;
5. Тенденция к формализации оценки эффективности и качества работы подразделений приводит обычно к возникновению атмосферы страха и разобщенности;
6. Большое число "этажей управления" между работниками, выпускающими продукцию, и лицом, принимающим решение;
7. Перегрузка управленцев верхнего уровня;
8. Повышенная зависимость результатов работы организации от квалификации, личных и деловых качеств высших управленцев.
В современных условиях недостатки структуры перевешивают ее достоинства. Такая структура плохо совместима с современной философией качества.
II. Линейно – функциональная.
Такой вид организационной структуры является развитием линейной и призван ликвидировать ее важнейший недостаток, связанный с отсутствием звеньев стратегического планирования. Линейно - функциональная структура включает в себя специализированные подразделения (штабы), которые не обладают правами принятия решений и руководства какими - либо нижестоящими подразделениями, а лишь помогают соответствующему руководителю в выполнении отдельных функций, прежде всего, функций стратегического планирования и анализа. Штабы на нескольких уровнях иерархии должны давать консультации и участвовать в подготовке решений, но они не обладают правами принятия решений и руководства нижестоящими подразделениями или исполнителями.

Рис. 2. Линейно - функциональная организационная структура
Достоинства линейно - функциональной структуры:
1. Более глубокая, чем в линейной, проработка стратегических вопросов;
2. Некоторая разгрузка высших руководителей;
3. Возможность привлечения внешних консультантов и экспертов;
4. При наделении штабных подразделений правами функционального руководства такая структура - хороший первый шаг к более эффективным органическим структурам управления.
Недостатки линейно - функциональной структуры:
1. Недостаточно четкое распределение ответственности, т. к. лица, готовящие решение, не участвуют в его выполнении;
2. Тенденции к чрезмерной централизации управления;
3. С трудом реагирует на изменения.
4. Затрудняет горизонтальное согласование
Линейно - функциональная структура может являться хорошей промежуточной ступенью при переходе от линейной структуры к более эффективным. Структура позволяет, правда в ограниченных пределах, воплощать идеи современной философии качества.
III. Функциональная.
Данная структура основана на создании подразделений для выполнения определённых функций на всех уровнях управления. К таким функциям относят исследования, производство, сбыт, маркетинг и т.д. Здесь с помощью директивного руководства могут быть соединены иерархически нижние звенья управления с различными более высокими звеньями управления. Передача поручений, указаний и сообщений осуществляется в зависимости от вида поставленной задачи. Например, рабочий в цехе получает поручения не от одного человека (мастера), а от нескольких штатных единиц, т.е. действует принцип многократной подчинённости. Функциональная структура управления производством нацелена на выполнение постоянно повторяющихся рутинных задач, не требующих оперативного принятия решений. Функциональные службы обычно имеют в своём составе специалистов высокой квалификации, выполняющих в зависимости от возложенных на них задач конкретные виды деятельности.

Рис. 3. Функциональная организационная структура.
Достоинства функциональной структуры:
1. Сокращение звеньев согласования
2. Уменьшение дублирования работ
3. Укрепление вертикальных связей и усиление контроля за деятельностью нижестоящих уровней
4. Высокая компетентность специалистов, отвечающих за выполнение конкретных функций
Недостатки функциональной структуры:
1. Неоднозначное распределение ответственности
2. Затруднённая коммуникация
3. Длительная процедура принятия решений
4. Возникновение конфликтов из-за несогласия с директивами, так как каждый функциональный руководитель ставит свои вопросы на первое место.
IV. Дивизионная.
Эта структура появилась в конце 20-х годов, когда появилась необходимость новых подходов к организации управления, связанная с резким увеличением размеров предприятий, диверсификацией их деятельности, усложнением технологических процессов в условиях динамически меняющегося окружения. В связи с этим стали возникать дивизионные структуры управления, прежде всего в крупных корпорациях, которые стали предоставлять определенную самостоятельность своим производственным подразделениям, оставляя за руководством корпорации стратегию развития, научно - исследовательские разработки, финансовую и инвестиционную политику и т. п. В этом типе структур сделана попытка сочетать централизованную координацию и контроль деятельности с децентрализованным управлением. Ключевыми фигурами в управлении организациями с дивизионной структурой являются уже не руководители функциональных подразделений, а менеджеры, возглавляющие производственные отделения (дивизионы). Структуризация по дивизионам, как правило, производится по одному из критериев: по выпускаемой продукции (изделиям или услугам) - продуктовая специализация; по ориентации на определенные группы потребителей - потребительская специализация; по обслуживаемым территориям - региональная специализация.

Рис. 4. Дивизионная организационная структура
Преимущества дивизионной структуры:
1. Она обеспечивает управление многопрофильными предприятиями с общей численностью сотрудников порядка сотен тысяч и территориально удаленными подразделениями;
2. Обеспечивает большую гибкость и более быструю реакцию на изменения в окружении предприятия по сравнению с линейной и линейно - штабной;
3. При расширении границ самостоятельности отделений они становятся "центрами получения прибыли", активно работая по повышении эффективности и качества производства;
4. Более тесная связь производства с потребителями.
Недостатки дивизионной структуры:
1. Большое количество "этажей" управленческой вертикали; между рабочими и управляющим производством подразделения - 3 и более уровня управления, между рабочими и руководством компании - 5 и более;
2. Разобщенность штабных структур отделений от штабов компании;
3. Основные связи - вертикальные, поэтому остаются общие для иерархических структур недостатки - волокита, перегруженность управленцев, плохое взаимодействие при решении вопросов, смежных для подразделений и т. д. ;
4. Дублирование функций на разных "этажах" и как следствие - очень высокие затраты на содержание управленческой структуры;
5. В отделениях, как правило, сохраняется линейная или линейно - штабная структура со всеми их недостатками.
Достоинства дивизионных структур перевешивают их недостатки только в периоды достаточно стабильного существования, при нестабильном окружении они рискуют повторить судьбу динозавров. При данной структуре возможно воплотить большую часть идей современной философии качества.
Органический тип включает в себя следующие структуры:
I. Матричная.
Такая структура представляет собой сетевую структуру, построенную на принципе двойного подчинения исполнителей: с одной стороны - непосредственному руководителю функциональной службы, которая предоставляет персонал и техническую помощь руководителю проекта, с другой - руководителю проекта или целевой программы, который наделен необходимыми полномочиями для осуществления процесса управления. При такой организации руководитель проекта взаимодействует с 2-мя группами подчиненных: с постоянными членами проектной группы и с другими работниками функциональных отделов, которые подчиняются ему временно и по ограниченному кругу вопросов. При этом сохраняется их подчинение непосредственным руководителям подразделений, отделов, служб. Для деятельности, которая имеет четко выраженное начало и окончание, формируют проекты, для постоянной деятельности - целевые программы. В организации и проекты, и целевые программы могут сосуществовать.

Рис. 5. Матричная организационная структура
Преимущества матричной структуры:
1. Лучшая ориентация на проектные (или программные) цели и спрос;
2. Более эффективное текущее управление, возможность снижения расходов и повышения эффективности использования ресурсов;
3. Более гибкое и эффективное использование персонала организации, специальных знаний и компетентности сотрудников;
4. Относительная автономность проектных групп или программных комитетов способствует развитию у работников навыков принятия решений,
управленческой культуры, профессиональных навыков;
5. Улучшение контроля за отдельными задачами проекта или целевой программы;
6. Любая работа организационно оформляется, назначается одно лицо - "хозяин" процесса, служащее центром сосредоточения всех вопросов, касающихся проекта или целевой программы;
7. Сокращается время реакции на нужды проекта или программы, т. к. созданы горизонтальные коммуникации и единый центр принятия решений.
Недостатки матричных структур:
1. Трудность установления четкой ответственности за работу по заданию подразделения и по заданию проекта или программы (следствие двойного подчинения);
2. Необходимость постоянного контроля за соотношением ресурсов, выделяемых подразделениям и программам или проектам;
3. Высокие требования к квалификации, личным и деловым качествам работников, работающих в группах, необходимость их обучения;
4. Частые конфликтные ситуации между руководителями подразделений и проектов или программ;
5. Возможность нарушения правил и стандартов, принятых в функциональных подразделениях, из-за оторванности сотрудников, участвующих в проекте или программе, от своих подразделений.
Внедрение матричной структуры дает хороший эффект в организациях с достаточно высоким уровнем корпоративной культуры и квалификации сотрудников, в противном случае возможна дезорганизация управления.
II. Бригадная (кросс-функциональная).
Основой этой структуры управления является организация работ по рабочим группам (бригадам). Форма бригадной организации работ - достаточно древняя организационная форма, достаточно вспомнить рабочие артели, но только с 80-х годов началось ее активное применение как структуры управления организацией, во многом прямо противоположной иерархическому типу структур. Основными принципами такой организации управления являются:
- автономная работа рабочих групп (бригад);
- самостоятельное принятие решений рабочими группами и координация деятельности по горизонтали;
- замена жестких управленческих связей бюрократического типа гибкими связями;
- привлечение для разработки и решения задач сотрудников разных подразделений.
Эти принципы разрушают свойственное иерархическим структурам жесткое распределение сотрудников по производственным, инженерно-техническим, экономическим и управленческим службам, которые образуют изолированные системы со своими целевыми установками и интересами. В организации, построенной по этим принципам, могут как сохраняться функциональные подразделения, так и отсутствовать. В первом случае работники находятся под двойным подчинением - административным (руководителю функционального подразделения, в котором они работают) и функциональным (руководителю рабочей группы или бригады, в которую они входят). Такая форма организации называется кросс-функциональной. Во втором случае функциональные подразделения как таковые отсутствуют, ее мы будем назвать собственно бригадной.

Рис. 6. Бригадная (кросс-функциональная) организационная структура.
Преимущества бригадной (кросс-функциональной) структуры:
1. Сокращение управленческого аппарата, повышение эффективности управления;
2. Гибкое использование кадров, их знаний и компетентности;
3. Работа в группах создает условия для самосовершенствования;
4. Возможность применения эффективных методов планирования и управления;
5. Сокращается потребность в специалистах широкого профиля.
Недостатки бригадной (кросс-функциональной) структуры:
1. Усложнение взаимодействия (в особенности для кросс-функциональной структуры);
2. Сложность в координации работ отдельных бригад;
3. Высокая квалификация и ответственность персонала;
4. Высокие требования к коммуникациям.
Данная форма организационной структуры наиболее эффективна в организациях с высоким уровнем квалификации специалистов при их хорошем техническом оснащении, в особенности в сочетании с управлением по проектам. Это - один из типов организационных структур, в которых наиболее эффективно воплощаются идеи современной философии качества.
II. Анализ организационной структуры ООО Фирма «Лига»
2.1 Краткая характеристика ООО Фирма «Лига»
Общество с ограниченной ответственностью Фирма "Лига" было создано в 1997 г. в п. Ахтырском Абинского района Краснодарского края. Сейчас предприятие принадлежит ЗАО "Управляющая компания Мономах". Имущество и доходы предприятия формируются за счет финансово – хозяйственной деятельности. Данное предприятие имеет самостоятельный баланс, корреспондентский и расчетные счета в банке, печать со своим наименованием и штампы. ООО Фирма «Лига» является юридическим лицом. Руководитель: Мумжиев Сергей Васильевич, генеральный директор.
Организация специализируется на выпуске подсолнечного масла и входит в число крупнейших предприятий пищевой промышленности в Краснодарском крае. Предприятие производит подсолнечное масло под брендом "Дубрава". Оно продается в российских супермаркетах. Специальные заказы на производство масла делает Российская армия. Помимо этого, "Лига" экспортирует свою продукцию в Германию и Польшу.
ООО фирма «Лига» осуществляет переработку маслосемян с производством растительного масла 50 тонн в сутки. В 2006 году отгружено 23,5 тыс. тонн растительного масла, индекс промышленного производства составил 104,6%. Объем финансирования – 10 млн.руб.
Производство полностью автоматизировано, оснащено новейшими технологиями. Все сырьё проходит очистку от семян сорных растений, возможных инородных минеральных и металлических предметов на сепараторе А1-БИС-100. Сырьё закупается в Кубанских хозяйствах. Перед покупкой сотрудники коммерческого отдела производят десятки отборов проб. Семена хранятся в мини-элеваторе силосного типа (12 вертикальных емкостей), рассчитано на 4800 тонн сырья. Цех оборудован прессами и жаровнями производства фирмы Мак-Сан (Турция). Масло из маслоцеха откачивается в резервуар, где охлаждается и отстаивается от формирующегося фуза. Далее оно поступает в цех рафинации, где проходит полный цикл рафинации, дезодорации и отбеливания. Далее масло фасуется в ПЭТ-бутылки в цехе розлива. Цех оснащен станком выдува бутылок из преформы (0,5л,0,9л,1л,5Л.), фасовочной линией с автоматической дозировкой, укупориванием и наклеиванием этикетки. Имеется также необходимый насосный и емкостной парк, склад, погрузочный транспорт.
Завод имеет подъездные ж/д пути, оборудованные ж/д весами, принимает цистерны и вагоны, имеет эстакаду налива цистерн, платформу для погрузки фасованного масла, а также погрузочные механизмы для погрузки жмыха. Отгрузка масла осуществляется также масловозом МАЗ 642208 с цистерной на 28 тонн. Доставка сырья осуществляется собственными грузовыми автомобилями КамАЗ.
Все вспомогательные и производственные помещения выполнены в соответствии с санитарными нормами, что удостоверяется санитарно-эпидемиологическим заключением №23.КА.01.914.М.000 002.03.02 ГСЭС РФ по Абинскому району. Продукция сертифицируется с 2004г. в соответствии ГОСТ 1129-93. Санитарно-эпидемиологические заключения на упаковочные материалы и продукцию выданы ЦГСЭН в г.Новороссийске. Показатели безопасности на соответствие СанПиН 2.3.2.1078-1 определяются для средних проб в независимой аттестованной лаборатории.
2.2 Анализ организационной структуры ООО Фирма «Лига»
Предприятие ООО Фирма «Лига» довольно давно существует на рынке и уже завоевало конкурентоспособные позиции. Фазу жизненного цикла, в которую вступила организация, можно охарактеризовать как фазу зрелости. Ей свойственен стабильный объем продаж, стабилизация структуры, формализованный процесс принятия решений.
Стратегия, которой сейчас придерживается организация – это стратегия центрированной диверсификации. Она базируется на поиске и использовании заключенных в существующем бизнесе дополнительных возможностей для производства нового продукта. При этом существующее производство остается в центре бизнеса, а новое возникает, исходя из тех возможностей использования сильных сторон предприятия. Эта стратегия реализуется в том случае, если организация не может дальше развиваться на данном рынке с данным продуктом.
Для анализа соответствия организационной структуры ООО Фирма «Лига» и его стратегии определю вид организационной структуры данного предприятия.
Верхний уровень управления в ООО Фирма «Лига» представлен генеральным директором, в подчинении которого состоят заместитель по производственной части, заместитель по административным вопросам, два менеджера по закупкам, менеджер по работе с клиентами, бухгалтерия, секретарь, начальник охраны труда и служба безопасности. Генеральный директор руководит в соответствии с действующим законодательством производственно-хозяйственной и финансово-экономической деятельностью предприятия, неся всю полноту ответственности за последствия принимаемых решений [7, 188]. В его обязанности входит общее руководство основным производством и вспомогательными подразделениями для обеспечения непрерывного технологического цикла, общий контроль за работой предприятия, контроль приемки, хранения, переработки и списания сырья и вспомогательных материалов. Распределение материальных и людских ресурсов, планирование, контроль за исполнением решений. Контроль и учет движения сырья и готовой продукции, составление бизнес-планов, составление производственных отчетов, контроль ведения документооборота.
Заместитель директора по производству руководит цехом прессования (во главе с начальником цеха), цехом рафинации (во главе с начальником цеха), цехом розлива (во главе с начальником цеха), лабораторией, элеватором, автоподразделением. Заместитель директора по производству имеет следующие обязанности: определение путей реализации комплексных программ по всем направлениям совершенствования, реконструкции и технического развития, руководство деятельностью служб, контроль за результатами работы, состоянием трудовой и производственной дисциплины в подчиненных подразделениях. руководство разработкой мер по ресурсосбережению и комплексному использованию материальных ресурсов, повышению эффективности производства, организация работы складского хозяйства, создание условий для надлежащего хранения и сохранности материальных ресурсов и готовой продукции, обеспечение своевременного составления сметно-финансовых и других документов, расчетов, установленной отчетности о выполнении планов по сбыту готовой продукции, финансовой деятельности, материально-технического снабжения и работы транспорта, координация работы подчиненных ему служб и подразделений, организация разработки рациональной плановой и учетной документации, применяемой на предприятии, а также анализа хозяйственной деятельности.
Заместитель директора по административным вопросам руководит инженерно-техническим отделом (во главе которого стоит главный инженер), отделом кадров и строительным подразделением. Он возглавляет работу по формированию кадровой политики, определению ее основных направлений в соответствии со стратегией развития предприятий и мер по ее реализации, координирует работу подчиненных ему служб и подразделений, обеспечивает своевременное составление сметно-финансовых и других документов, расчетов, установленной отчетности, организует проведение необходимого учета и составления отчетности, организует разработки рациональной плановой и учетной документации, применяемой на предприятии.
Должностные инструкции менеджеров по закупкам предписывают: менеджер по закупкам планирует, руководит или координирует деятельность по закупке сырья, материалов, оборудования, товаров и услуг, проводит инвентаризацию, управляет процессом закупки и поставки продуктов и материалов, определяет себестоимость товаров, формулирует и координирует исполнение политики торговли компании для обеспечения прибыли, готовит отчет о рыночных условиях и издержках на закупку, готовит, пересматривает и обрабатывает распоряжения и заказы на закупку материалов и оборудования, представляет компанию при формулировании политики закупок, а также при ведении переговоров и заключении контрактов с поставщиками.
Менеджер по работе с клиентами: осуществляет руководство одним из направлений деятельности организации в области связей с общественностью, осуществляет выбор форм и методов взаимодействия с общественностью, организациями, средствами массовой информации, определяет характер, содержание и носители информационных сообщений, исходящих от организации, обеспечивает двустороннюю связь с потребителями, партнерами и другими группами общественности, организует встречу, прием, регистрацию и необходимое обслуживание визитеров, гостей, делегаций, клиентов, партнеров, прием визитных карточек, анализ их содержания, их хранение, материально-техническое обеспечение переговоров, презентаций, совещаний, конференций, семинаров и других мероприятий, организует и проводит деловые переговоры, организует ведение деловой корреспонденции.
Начальники цехов имеют следующие обязанности: административное руководство цехами, составление годового бюджета цехов, формирование заявок на сырье и материалы, участие в проектах по модернизации или реконструкции оборудования цехов, составление необходимых производственных документов.
Главный инженер обеспечивает бесперебойную и технически правильную эксплуатацию и надежную работу оборудования, контролирует работу всех технических специалистов предприятия, осуществляет организацию ремонта оборудования, планирует проведение организационно-технических мероприятий, ведет техническую документацию и разрабатывает конструкторские проекты и решения.
Главный бухгалтер обязан осуществлять организацию бухгалтерского учета хозяйственно-финансовой деятельности предприятия и контроль за экономным использованием материальных, трудовых и финансовых ресурсов, сохранностью собственности предприятия, формировать в соответствии с законодательством о бухгалтерском учете учетную политику, исходя из структуры и особенностей деятельности предприятия, необходимости обеспечения его финансовой устойчивости, подготавливать и принимать рабочий план счетов, форм первичных учетных документов, обеспечивать порядок проведения инвентаризации, формировать и современно представлять полную и достоверную бухгалтерскую информацию о деятельности предприятия, его имущественном положении, доходах и расходах, вести расчеты по заработной плате.
Начальник охраны труда обязан проводить инструктаж работников по технике безопасности и контролировать её выполнение.
Секретарь директора осуществляет работу по организационно-техническому обеспечению административно-распорядительной деятельности руководителя, ведет делопроизводство, выполняет различные операции с применением компьютерной техники, предназначенной для сбора, обработки и представления информации при подготовке и принятии решений, организует проведение телефонных переговоров руководителя, печатает по указанию руководителя служебные материалы, необходимые для его работы или вводит текущую информацию в банк данных.
Таким образом, можно сделать вывод о том, что ООО Фирма «Лига» имеет линейную организационную структуру.

Рис. 7. Организационная структура предприятия ООО Фирма «Лига».
Преимущества такой структуры состоят в том, что она предполагает четкую систему взаимных связей функций и подразделений; четкую систему единоначалия - один руководитель сосредотачивает в своих руках руководство всей совокупностью процессов, имеющих общую цель; ясно выраженную ответственность; быструю реакцию исполнительных подразделений на прямые указания вышестоящих; согласованность действий исполнителей; оперативность в принятии решений; простоту организационных форм и четкость взаимосвязей; минимальные издержки производства и минимальная себестоимость выпускаемой продукции. Однако она также имеет и свои недостатки, например, отсутствие звеньев, занимающихся вопросами стратегического планирования; в работе руководителей практически всех уровней оперативные проблемы доминируют над стратегическими; существует тенденция к волоките и перекладыванию ответственности при решении проблем, требующих участия нескольких подразделений; малая гибкость и приспособляемость к изменению ситуации; критерии эффективности и качества работы подразделений и организации в целом - разные; существует тенденция к формализации оценки эффективности и качества работы подразделений приводит обычно к возникновению атмосферы страха и разобщенности; большое число "этажей управления" между работниками, выпускающими продукцию, и лицом, принимающим решение; перегрузка управленцев верхнего уровня; повышенная зависимость результатов работы организации от квалификации, личных и деловых качеств высших управленцев.
2.3 Возможные мероприятия по совершенствованию организационной структуры ООО Фирма «Лига»
В результате анализа организационной структуры предприятия ООО Фирма «Лига», я пришла к выводу, что недостатки структуры будут сильно мешать реализации стратегии. В связи с этим я считаю целесообразным переход к линейно-штабной структуре, чтобы восполнить отсутствие звеньев, занимающихся вопросами стратегического планирования. Также это поможет разгрузить управленцев высшего уровня и При наделении штабных подразделений правами функционального руководства такая структура - хороший первый шаг к более эффективным органическим структурам управления.
Для решения проблемы малой гибкости и приспособляемости к изменению среды я предлагаю определить зоны компетенции нижестоящих руководителей и делегировать им соответствующие полномочия.
Критерии эффективности и качества работы подразделений и организации в целом – разные. Выход из этой ситуации я вижу во введении системы мотивации, опирающейся не только на результаты отдельного подразделения, но и предприятия в целом.
Также я считаю нужным ввести на предприятии новое структурное подразделение – отдел маркетинга, т. к. находящееся в фазе зрелости предприятие остро нуждается в удержании спроса на свой товар в рамках данного рынка. Функции отдела будут состоять в следующем:
1. Анализ и прогнозирование основных конъюнктурообразующих факторов потенциальных рынков сбыта выпускаемой предприятием продукции;
2. Анализ коммерческих и экономических факторов, включая финансовое положение потенциальных покупателей, реальный платёжеспособный спрос на выпускаемую продукцию и соотношение спроса и предложения на конкретные виды продукции;
3. Изучение объёмов поставки, технического уровня и качества конкурирующей продукции, её преимуществ и недостатков по сравнению с продукцией данного предприятия; наличие новых рынков сбыта и новых потребителей выпускаемой предприятием продукции;
4. Исследование потребительских свойств производимой продукции и сбор информации об удовлетворении ими покупателей. Анализ соответствия выпускаемой продукции потребностям покупателей;
5. Влияние тенденций в мировом производстве продукции по профилю предприятия;
6. Подготовка предложений по привлечению сторонних специализированных организаций по решению проблем маркетинга, изучение спроса на продукцию, рекламы;
7. Изучение спроса на выпускаемую продукцию, оценка потребности в разрабатываемой и производимой продукции, данных статистической отчётности [5, 46].
Должностные инструкции маркетологов:
- Проведение исследований основных факторов, формирующих динамику потребительского спроса на продукцию, соотношение спроса и предложения на аналогичные виды продукции, технических и иных потребительских качеств конкурирующей продукции.
- Осуществление маркетинговых исследований, связанных с изучением сегментации рынка, анализом ценообразования и предпочтений потребителя, прогнозом продаж и каналов реализации, открытием новых рынков, оценкой эффективности рекламы, деятельностью конкурентов, и т.д.
- Анализ потребностей клиентов и границы ценообразования.
- Участие в разработке стратегии проведения рекламных мероприятий.
- Контроль проведения рекламных компаний в средствах массовой информации, прямой почтовой рассылке, Интернет и т.д.
- Организация разработки печатных рекламных материалов собственными силами или силами сторонних организаций, их тестирование, предложения по дизайну печатных рекламных материалов или исходную информацию для их разработки, контролирует пополнение запасов этих материалов. Ведение предварительной оценки разработанных сторонними организациями рекламных материалов.
- Анализ эффективности рекламных кампаний.
По моему мнению, модифицированная организационная структура ООО Фирма «Лига» должна выглядеть так:

Рис. 8. Новая организационная структура ООО Фирма «Лига».
Из схемы новой организационной структуры видно, что в подчинение генеральному директору добавлен отдел маркетинга, который должен возглавлять главный маркетолог. Также директору и его заместителям предоставлены в помощь штабы, которые не обладают правами принятия решений и руководства какими - либо нижестоящими подразделениями, а лишь помогают соответствующему руководителю в выполнении отдельных функций, прежде всего, функций стратегического планирования и анализа.
Заключение
Для каждой организации существует наилучшая и только ей присущая организационная структура управления, поэтому каждая организация сама должна строить структуру управления приемлемую только для нее. Любая организация имеет некоторые особенности использования технологического оборудования, профессионализма и личностных качеств персонала, порядков и традиций между работниками по вертикали и горизонтали. Каждая организация имеет свою наиболее подходящую к ней организационную структуру управления. Оригинальность конкретной организационной структуры управления достигается на базе использования существующих типов структур путем включения в них или исключения из них каких-либо подразделений или связей.
В последнее время большое распространение получили эксперименты с разработкой и внедрением новых организационных структур, являющихся самыми разнообразными комбинациями уже известных видов и типов. При таком подходе каждая организация стремится приспособить и совместить несколько структур, адаптируя их под свои конкретные нужды. Проведение организационных изменений — это, пожалуй, наиболее критичная стадия процесса, потому что именно от грамотности внедрения новой структуры зависит успех всего мероприятия. А, как известно, плохая реализация способна загубить самую лучшую идею. Существует ряд принципов, опираясь на которые можно эффективно и качественно провести процесс организационных преобразований.
1. Воля руководства к проведению изменений. Как показывает практика, успешная реорганизация подразумевает деятельное участие в процессе высших должностных лиц компании.
2. Внешняя и внутренняя PR-кампания. Большинство людей воспринимают изменения негативно, во всяком случае, поначалу. Поэтому среди сотрудников необходимо вести «просветительскую» работу, разъясняя положительные моменты преобразований, рассеивая сомнения и устраняя недопонимание со стороны персонала.
3. Обучение персонала. Если преобразования связаны с изменением функций или порядка взаимодействия сотрудников (это наиболее типичный случай), необходимо заранее организовать обучение персонала работе в новых условиях. Следует переработать или создать новые должностные инструкции и регламенты работы, провести соответствующие тренинги.
4. Последовательность. Не все проекты по оптимизации организационной структуры доводятся до конца. Причины бывают разные: нехватка ресурсов, недовольство персонала, принятие «половинчатых» решений и тому подобное. По сути, такая ситуация означает провал проекта, поскольку результат достигнут не был: нельзя перепрыгнуть пропасть на 99%.
Следует, также, добавить, что даже спроектированная оптимальным образом организационная структура окажется нежизнеспособной, если сотрудники компании недостаточно квалифицированы и не мотивированы к достижению поставленных целей.
В данной работе проведен анализ организационной структуры предприятия ООО Фирма «Лига» и предложены меры по его совершенствованию. Сделаны важные выводы по содержанию работы:
Организационная структура предприятия - это состав, соподчиненность, взаимодействие и распределение работ по подразделениям и органам управления, между которыми устанавливаются определенные отношения по поводу реализации властных полномочий, потоков команд и информации. Структуру можно сравнить с каркасом здания управленческой системы, построенным для того, чтобы все протекающие в ней процессы осуществлялись своевременно и качественно.
Организационная структура не является чем-то застывшим, она постоянно совершенствуется в соответствии с изменившимися условиями.
Организационная структура всегда должна соответствовать стратегии организации, так как от этого в полной мере зависит возможность или невозможность реализации стратегии.
Цель курсовой работы - совершенствование организационной структуры ООО Фирма «Лига» была достигнута. Таким образом, приведенный в данной работе анализ организации позволил определить основные мероприятия, способствующие реализации стратегии предприятия и достижению его целей.
Список использованной литературы
1. Виханский О.С. Менеджмент: учебное пособие. – М.: Изд-во ЮНИТИ, 2005. – 459 с.
2. Герчикова И.Н. Менеджмент: учебник. – М.: Изд-во Банки и биржи ЮНИТИ, 1996. – 496 с.
3. Зуб А. Т. Стратегический менеджмент: Теория и практика: Учебное пособие для вузов. — M.: Аспект Пресс, 2002. — 415 с.
4. Кондратьев В.В. 7 нот менеджмента: настольная книга руководителя / Кондратьев В.В., ред. - 6-е изд., перераб. и доп. - М : Эксмо, 2007. - 832 с.
5. Котлер Ф. Основы маркетинга. - М.: Прогресс, 2005. - 365 с.
6. Кох Р. Стратегия. Как создавать и использовать эффективную стратегию, 2-е издание – СПб.: «Питер», 2003.
7. Менеджмент организации: современные технологии / Под ред. В.А. Кузнецова. – Ростов на Дону: Феникс, 2002.-
8.Мескон М., Альберт М., Хедоури М. Основы менеджмента: учебное пособие. – М.: Изд-во Дело, 2005. – 394 с.
9. Панов А.И. Стратегический менеджмент: Учеб. Пособие для вузов. – М.: ЮНИТИ-ДАНА, 2007.
10. Стратегический менеджмент под редакцией Петрова А.Н., СПб.: «Питер», 2006. – 496 с.
11. Томпсон А.А., Стрикленд А. Дж. Стратегический менеджмент, искусство разработки и реализации стратегии, М.: «Банки и Биржи», «ЮНИТИ», 1998, 576 с.
12. Управление организацией: учебник / Под ред. А.Г. Поршнева, З.П. Румянцевой, Н.А. Саломатина ML: Инфра-М, 1998. С. 185-202.
13. Фатхутдинов Р.А. Производственный менеджмент: учебник для вузов. – М.: Изд-во Банки и биржи, 2004. – 394 с.
14. Фатхутдинов Р.А. «Организация производства»: Учебник. – М.: Инфра-М, 2003. – 672с.
15. Устав предприятия ООО Фирма «Лига»
16. Должностные инструкции ООО Фирма «Лига»
17. Конспект лекций Девятова А. А. по курсу «Теория организации»
18. Конспект лекций Шавриной А. В. по курсу «Маркетинг»