Структура и штатная численность организации на примере "ЗФ ОАО Норильский Никель" Норильская Железная Дорога"
ВВЕДЕНИЕ
Наиболее важными аспектами, характеризующими ту или иную организацию, являются её структура управления и штатная численность, то есть персонал. Даже возникновение организационных структур обычно связывают с построением данных элементов.
Внутри структурных подразделений приводится список должностей в порядке субординации с указанием в отдельной графе количества штатных единиц по каждой должности.
Обоснование создания подразделения, как правило, увязывается с нормативами численности работников. Они как раз и предназначены для определения необходимой численности работников того или иного подразделения, установления должностных обязанностей, распределения работы между исполнителями.
Функции управления деятельностью предприятия реализуются как самими подразделениями, так и отдельными работниками, которые при этом вступают в экономические, организационные, социальные, психологические и другие отношение друг с другом. Организационные отношения, складывающиеся между подразделениями и работниками аппарата управления предприятия, определяют его организационную структуру.
Под организационной структурой предприятия понимается организационная характеристика системы, представляющая собой совокупность устойчивых связей и отношений, обеспечивающих стабильность и равновесие системы, взаимодействие, соподчиненность и пропорциональность между составляющими ее элементами1.
Базой для построения организационной структуры управления предприятием является организационная структура производства. Многообразие функциональных связей и возможных способов их распределения между подразделениями и работниками определяет разнообразие возможных видов организационных структур управления производством.
Актуальность темы обоснована тем, что построение структуры управления организацией — это важная составная часть общей функции управления — организовывания, одной из центральных задач которой является создание необходимых условий для выполнения всей системы планов организации. Ее реализация может потребовать реструктуризации как самой организации, так и ее управляющей системы, а также создания условий для формирования высокочувствительной к изменениям культуры организации. Культура как сложившаяся в организации система ценностей, убеждений, образцов и норм поведения отражает характер отношений между работающими, то есть прямо связана с организационной структурой.
Однако, для всех организаций, как больших, так и малых, с любым видом организационной структуры большое значение имеет управление людьми. Без людей нет организации. Без нужных людей, без специалистов ни одна организация не сможет достичь своих целей и выжить. Несомненно, что управление людьми, то есть трудовыми ресурсами является одним из важнейших аспектов теории и практики управления.
Чем больше численность, тем при прочих равных условиях больше объем произведенной продукции.
Система управления персоналом обеспечивает непрерывное совершенствование процесса работы с персоналом, в котором немаловажную роль играет обеспечение организации персоналом, то есть набор и отбор персонала.
Проблематика данной темы заключается в том, что, структура организации и штатная численность персонала, являясь важнейшими показателями и характеристиками деятельности, влияющие на процесс формирования организационной структуры, не всегда соответствуют стратегическим целям и тактическим задачам предприятия, ее кадровой политике. А ведь с развитием рыночной системы в России, в которой большую значимость приобретает рынок трудовых ресурсов, политика предприятия по отбору и набору персонала, по оптимизации его численности и построению структуры организации должна являться приоритетной для фирмы, поскольку она играет важную роль для достижения миссии и целей организации. Однако не все фирмы своевременно понимают важность данных проблем, в связи с чем результаты их деятельности могут не соответствовать желаемому.
Объект: организационная структура и персонал как компоненты внутренней среды организации.
Предмет: процесс формирования организационной структуры и её наполнение штатами.
Цель: дать характеристику и провести анализ структур организации и её штатной численности.
Задачи исследования:
Изучить структуру и персонал организации как компоненты ее внутренней среды.
Изучить принципы построения организационных структур различного типа.
Описать организационную структуру предприятия "ЗФ ОАО Норильский Никель" Норильская Железная Дорога и её основные функции.
Изучить нормативное и документальное обеспечение должностных структур и их персонала на примере "ЗФ ОАО Норильский Никель" Норильская Железная Дорога
Методы исследования: изучение, систематизация материала по данной теме, работа с документацией предприятия
Методологическую основу составили исследования в области организационных структур и штатной численности персонала В.В. Музыченко, А.Я. Кибанова, Б.Л. Еремина и Т.Ю. Базарова, В.Р. Веснина, Е.В. Маслова, Е.Ф. Коханова.
База исследования: "ЗФ ОАО Норильский Никель" Норильская Железная Дорога
Практическая значимость: данная работа будет полезна для изучения как студентам в целях получения знаний, так и работникам и руководителям организаций, в целях просвещения и осведомления о важности темы исследования.
I. ТЕОРЕТИЧЕСКИЕ ОСНОВАНИЯ ПОСТРОЕНИЯ ОРГАНИЗАЦИОННЫХ СТРУКТУР И ФУНКЦИОНИРОВАНИЯ В НИХ ПЕРСОНАЛА
Решения по формированию новых и преобразованию сложившихся организационных форм хозяйствования и управления должны основываться на объективных организационных законах, закономерностях, принципах и методах, которые являются предметом изучения организационной науки.
Организационные процессы содержат в себе социальную сущность, а взаимодействие членов групп должно быть сбалансировано и предполагает необходимость в координации. Организация имеет относительно определенные границы, которые могут меняться со временем. Персонал, на который возлагаются определенные обязанности, вносит свой вклад в достижение установленных целей. Преимущество организованных групп заключается в том, что человек, входя в состав коллектива, может более успешно достичь своих целей, чем индивидуально.
СТРУКТУРА И ПЕРСОНАЛ ОРГАНИЗАЦИИ КАК КОМПОНЕНТЫ ЕЕ ВНУТРЕННЕЙ СРЕДЫ
Объективные законы экономики не могут проявляться в практической сфере деятельности без воздействия людей. Ведь только люди, имеющие профессиональные знания и опыт, выполняют целесообразную работу и тем самым воздействуют на экономику и ее развитие. Но чтобы труд людей был производительным, а работа в целом эффективной, нужна организация.
Организация, по определению Б.З. Мильнера, представляет собой сознательно координируемое социальное образование с определенными границами, которое функционирует на относительно постоянной основе для достижения общей цели или общих целей. Под словами «сознательно
координируемое» понимается управление, под «социальным образованием» - то, что организация состоит из людей или их групп, взаимодействующих между собой2.
Таким образом, можно сделать вывод о том, что структура и персонал организации являются важнейшими её характеристиками и показателями, влияющими на результативность её деятельности. Структура и штатная численность организации, предприятия отражаются в одноименном документе, в котором закрепляется список структурных подразделений в порядке их важности для жизнедеятельности предприятия. Он не имеет унифицированной формы, утверждается приказом (распоряжением) руководителя организации или уполномоченным им в письменной форме лицом. Данный документ служит основанием для составления штатного расписания.
Организационная структура управления – логическое соотношение уровней управления и функциональных областей, организованных таким образом, чтобы обеспечить эффективное достижение целей3.
В данном случае под организационной структурой управления понимается совокупность управленческих звеньев, расположенных в строгой соподчиненности и обеспечивающих взаимосвязь между управляющей и управляемыми системами.
Важность построения организационной структуры предприятия обусловлена необходимостью в:
Разделении труда и распределении официальных обязанностей среди отдельных сотрудников и групп;
Координации всех функций, чтобы организация могла
действовать как единое целое;
Определении сферы контроля управляющих и соподчиненности в организации.
Внутренним выражением организационной структуры управления является состав, соотношение, расположение и взаимосвязь отдельных подсистем организации. Она направлена, прежде всего, на установление четких взаимосвязей между отдельными подразделениями организации, распределение между ними прав и ответственности.
В организационной структуре управления выделяются следующие элементы:
Звенья (отделы).
Уровни (ступени) управления.
Связи – горизонтальные и вертикальные.
К звеньям управления относятся структурные подразделения, а так же отдельные специалисты, выполняющие соответствующие функции управления, либо часть их. К звеньям управления следует относить и менеджеров, осуществляющих регулирование и координацию деятельности нескольких структурных подразделений.
В основе образования звена лежит выполнение отделом определенной функции управления. Устанавливающиеся между отделами связи носят горизонтальный характер.
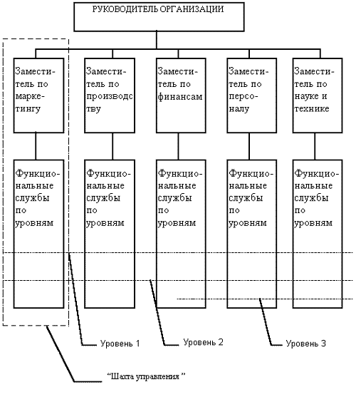
Под уровнем управления понимают совокупность звеньев управления, занимающих определенную ступень в системах управления организацией. Ступени управления находятся в вертикальной зависимости и подчиняются друг другу по иерархии: менеджеры более высокой ступени управления принимают решения, которые конкретизируются и доводятся до нижестоящих звеньев. Отсюда возникла пирамидальная структура управления организацией.
Отношения между элементами структуры управления поддерживаются благодаря связям, горизонтальным и вертикальным.
Первые носят характер согласования и являются одноуровневыми (например, между отделами). Вторые – это отношения подчинения. Необходимость в них возникает при иерархичности построения системы управления, то есть при наличии различных уровней управления, на каждом из которых преследуются свои цели4.
К организационной структуре управления предъявляется множество требований, отражающих ее ключевое для организации значение. Главные из этих требований к организационной структуре могут быть сформулированы следующим образом5:
1. Оптимальность. Структура управления признается оптимальной, если между звеньями и ступенями управления на всех уровнях устанавливаются рациональные связи при наименьшем числе уровней управления.
2. Оперативность. Суть данного требования состоит в том, чтобы за время от принятия решения до его исполнения в управляемой системе не успели произойти необратимые отрицательные изменения, делающие ненужной реализацию принятых решений.
3. Надежность. Структура аппарата управления должна гарантировать достоверность передачи информации, не допускать искажений управляющих команд и других передаваемых данных, обеспечивать бесперебойность связи в системе управления.
4. Экономичность. Задача состоит в том, чтобы нужный эффект от управления достигался при минимальных затратах на управленческий аппарат. Критерием этого может служить соотношение между затратами ресурсов и полезным результатом.
5. Гибкость. Способность изменяться в соответствии с изменениями внешней среды.
6. Устойчивость структуры управления. Неизменность ее основных свойств при различных внешних воздействиях, целостность функционирования системы управления и ее элементов.
Важно обратить внимание на сопряжение структуры управления с фазами жизненного цикла организации, о чем, к сожалению, нередко забывают проектанты и специалисты, решающие задачу совершенствования управленческих структур.
На стадии зарождения организации управление нередко осуществляется самим предпринимателем. На стадии роста происходит функциональное разделение труда менеджеров. На стадии зрелости в структуре управления чаще всего реализуется тенденция к децентрализации. На стадии спада обычно разрабатываются меры по совершенствованию управленческой структуры в соответствии с потребностями и тенденциями в изменении производства. Наконец, на стадии прекращения существования организации структура управления или полностью разрушается (если фирма ликвидируется), или происходит ее реорганизация (коль скоро данную фирму приобретает или присоединяет к себе другая компания, приспосабливающая структуру управления к той фазе жизненного цикла, в которой она находится).
Однако насколько бы хорошо не была сформирована структура управления в организации, без персонала её построение видится бессмысленным.
Люди являются центральным фактором в любой системе управления, ведь важнейшей внутренней переменной организации является персонал.
Персонал – это личный состав или работники учреждения, предприятия, составляющие группу по профессиональным или служебным признакам6. Он характеризуется прежде всего численностью, структурой, профессиональной пригодностью, компетентностью (то есть квалификацией)7.
Численность персонала – это количество занятых на предприятии
людей8. Численность персонала определяется характером, масштабами, сложностью, трудоемкостью производственных процессов, степенью их механизации, автоматизации, компьютеризации. Эти факторы задают ее нормативную (плановую) величину, которую на практике почти никогда не удается обеспечить. Поэтому персонал более объективно характеризуется списочной (фактической) численностью, то есть числом сотрудников, которые официально работают в организации в данный момент.
В списочный состав работников на каждый календарный день включаются как фактически работающие, так и отсутствующие по каким-либо причинам.
Списочная численность персонала на определенную календарную дату включает всех работников, в том числе принятых с данной даты, и исключает всех уволенных, начиная с нее. В составе списочной численности выделяют три категории работников:
Постоянные, принятые в организацию бессрочно либо на срок более одного года по контракту.
Временные, принятые на срок до 2 месяцев, а для замещения временно отсутствующего лица - до 4 месяцев.
Сезонные, принятые на работу, носящую сезонный характер, на срок до 6 месяцев.
Не включаются в списочную численность и относятся к работникам не списочного состава внешние совместители, лица, привлеченные для разовых и специальных работ, работающие на основе договоров гражданско-правового характера, направленные на учебу с отрывом от производства и получающие стипендию за счет предприятия и некоторые другие.
Структура персонала – это качественный состав работников предприятия9.
Совокупность знаний, умений и навыков, личных свойств, необходимых человеку для успешного выполнения профессиональных обязанностей, получила название профессиональной пригодности, которая может быть потенциальной и реальной. Первая основывается на задатках, способностях, физических и психических свойствах человека; вторая складывается постепенно в результате освоения им новых знаний и навыков.
В пределах каждой профессии в результате разделения труда выделяются специальности, связанные с выполнением более узкого круга функций. Так, специальностью в рамках профессии юриста будет гражданское право, уголовное право, государственное право и прочее
Опыт и практика увязывают навыки, знания и умения воедино, формируя квалификацию, то есть степень профессиональной подготовки, необходимую для выполнения данных трудовых функций. Различается квалификация работы и квалификация работника. Первая представлена совокупностью требований к тому, кто должен исполнять работу, вторая - совокупностью приобретенных человеком профессиональных качеств.
Квалификация работника определяется такими факторами, как уровень общих и специальных знаний, стаж работы в данной или аналогичной должности, необходимый для освоения профессии. Для руководителей речь идет также об уровне организационных навыков. Квалификация присваивается специальной комиссией на основе всесторонней проверки знаний и опыта данного лица и юридически закрепляется в документах: дипломах, свидетельствах и прочее Степень квалификации работников, позволяющая успешно решать стоящие перед ним задачи, может быть названа компетентностью.
По степени квалификации рабочих принято разделять на следующие группы:
Высококвалифицированные рабочие, окончившие ПТУ и средние специальные учебные заведения со сроком обучения 2- 4 года.
Квалифицированные рабочие, окончившие средние ПТУ, технические училища, обычные ПТУ или прошедшие производственное
обучение на предприятиях в течение 6-24 месяцев.
Малоквалифицированные рабочие, прошедшие производственную подготовку в течение 2-5 месяцев.
Неквалифицированные рабочие, прошедшие практическое обучение или инструктаж на рабочих местах в течение нескольких недель.
При анализе персонала состав рабочих изучается также по профессиям, возрасту, формам и системам оплаты труда, стажу.
Возрастная структура персонала характеризуется долей лиц соответствующих возрастов в его общей численности. При изучении возрастного состава применяются следующие группировки: 16, 17, 18, 19, 20-24, 25-29, 30-34, 35-39, 40-44, 45-49, 50-54, 55-59, 60-64, 65 лет и старше.
Структура персонала по стажу может рассматриваться двояко: в плане общего стажа и стажа работы в данной организации.
С общим стажем напрямую связан уровень производительности труда. Общий стаж группируется по следующим периодам: до 16 лет, 16- 20, 21-25, 26-30, 31, 32, 33, 34, 35, 36, 37, 38, 39, 40 лет и более.
Стаж работы в данной организации характеризует закрепляемость кадров. Статистика выделяет следующие периоды для расчета этого показателя: до 1 года, 1-4, 5-9, 10-14, 15-19, 20-24, 25-29, 30 лет и более.
Структура персонала по уровню образования (общему и специальному) предполагает выделение лиц, имеющих высшее образование, незаконченное высшее (более половины срока обучения), среднее специальное, среднее общее, неполное среднее, начальное.
Кстати, помимо прочих классификаций персонал можно разделить ещё на две группы. Это:
НПП - непромышленный персонал (то есть работники, занятые в учреждениях и организациях, состоящих на балансе предприятия, но не производящих промышленную продукцию). К ним относятся работники жилищно-коммунальных хозяйств предприятия, культурно-бытовых и медико-санитарных учреждений, детских садов и так далее
ППП - промышленно производственный персонал. Он включает в себя рабочих, служащих, младший обслуживающий персонал, охрану и учеников10.
Для эффективного функционирования любой организации необходимо качественное управление персоналом. Управление людьми включает обеспечение сотрудничества между всеми членами трудового коллектива, кадровую политику, обучение, информирование, мотивацию
работников и другие важные составные части работы руководителя.
ПРИНЦИПЫ ПОСТРОЕНИЯ ОРГАНИЗАЦИОННЫХ СТРУКТУР РАЗЛИЧНОГО ТИПА
В зависимости от характера связей между подразделениями организации различают следующие основные виды организационных структур: линейная, функциональная, линейно – функциональная (штабная), матричная, дивизиональная.
Линейная структура (см. приложение 1). В её основе лежит первый способ выделения подразделений организации. Департаментализация идет по пути формирования функционально однородных подразделений, не обладающих специализацией в той или иной сфере деятельности. Основные системообразующие связи: вертикальные межуровневые между руководителями и подчиненными. По содержанию это однородные связи общего линейного руководства. Подразделения отличаются значительной автономностью и самостоятельностью, так как их деятельность регулируется и контролируется только со стороны линейного руководства, а функциональная «опека» отсутствует. Линейные структуры могут быть характерны для очень простых социальных организаций, в которых отсутствует функциональное разделение управленческой деятельности. К таким организациям могут относиться малые предприятия, а также подразделения более крупных предприятий (например, производственный участок, разделенный на бригады).
Преимущества линейной структуры:
Четкая система взаимных связей функций и подразделений;
Четкая система единоначалия - один руководитель сосредотачивает в своих руках руководство всей совокупностью процессов, имеющих общую цель;
Ясно выраженная ответственность;
Быстрая реакция исполнительных подразделений на прямые указания вышестоящих.
Недостатки линейной структуры:
Отсутствие звеньев, занимающихся вопросами стратегического планирования; в работе руководителей практически всех уровней оперативные проблемы ("текучка") доминирует над стратегическими;
Малая гибкость и приспособляемость к изменению ситуации;
Большое число "этажей управления" между работниками, выпускающими продукцию, и лицом, принимающим решение;
Перегрузка управленцев верхнего уровня;
Функциональная структура (см. приложение 2). Ф. Тейлор, пытавшись преодолеть ограниченность линейных структур, предложил функциональную структуру управления, в рамках которой рабочий получал указания от 8 узкоспециализированных функциональных руководителей вместо бригадира или мастера. На предприятиях такими лицами являются, например, главный инженер, главный технолог, главный бухгалтер и другие. Они отдают производственным звеньям обязательные для выполнения задания, что в условиях глубокой специализации деятельности должно обеспечить высокое качество принимаемых решений.
Однако, не смотря на теоретические достоинства, на практике такой подход оказался нежизнеспособным. Нескоординированные решения специалистов в его рамках, какими бы хорошими они сами по себе ни были, неизбежно вступают в противоречие друг с другом. Борьба же за приоритетность их организации порождает конфликты и вносит дезорганизацию в систему управления.
Департаментализация обеспечивает формирование подразделений, каждое из которых специализируется на выполнении определенной функции. Вертикальные межуровневые связи в такой организации многообразны. Наряду с руководителем, осуществляющим функции общего административного руководства, действует и несколько относительно самостоятельных функций руководителей, напрямую выходящих на соответствующие нижестоящие уровни организации. Существует не только множественность подчиненных у каждого руководителя, но и множественность руководителей у каждого подчиненного.
К преимуществам функциональной структуры можно отнести:
Сокращение звеньев согласования
Централизация стратегических решений и децентрализация оперативных
Быстрая коммуникация
Укрепление вертикальных связей и усиление контроля над деятельностью нижестоящих уровней
Недостатки функциональной структуры
Неоднозначное распределение ответственности
Затруднённая коммуникация
Отсутствие единого руководства
Длительная процедура принятия решений
Линейно-функциональная организационная структура управления (см. приложение 3). При такой структуре управления всю полноту власти берет на себя линейный руководитель, возглавляющий определенный коллектив. Ему при разработке конкретных вопросов и подготовке соответствующих решений, программ, планов помогает специальный аппарат, состоящий из функциональных подразделений (управлений, отделов, бюро и тому подобное).
В данном случае функциональные структуры подразделений находятся в подчинении главного линейного руководителя. Свои решения они проводят в жизнь либо через главного руководителя, либо (в пределах своих полномочий) непосредственно через соответствующих руководителей служб-исполнителей.
Таким образом, линейно-штабная структура включает в себя специальные функциональные подразделения (штабы) при линейных руководителях, которые помогают им выполнять задачи организации.
Преимущества линейно-штабной организационной структуры управления:
Возможность получить высокую степень профессиональной специализации сотрудников;
Снижение загрузки линейных руководителей;
Повышение качества подготовки решений за счет привлечения специалистов;
Баланс функционального и линейного руководства;
Недостатки линейно-штабной организационной структуры управления
Затрудняет горизонтальное согласование;
Увеличение штатов за счет штабных структур;
Сложность вертикальных коммуникаций;
С трудом реагирует на изменение.
Одной из наиболее сложных структур управления адаптивного типа признается матричная структура(см. приложение 4).
Матричная структура отражает закрепление в организационном построении фирмы двух направлений руководства, двух организационных альтернатив. Вертикальное направление - управление функциональными и линейными структурными подразделениями компании. Горизонтальное - управление отдельными проектами, программами, продуктами, для реализации которых привлекаются человеческие и иные ресурсы различных подразделений компании.
При такой структуре устанавливается разделение прав менеджеров, осуществляющих управление подразделениями, и менеджеров, руководящих выполнением проекта, и важнейшей задачей высшего руководящего состава компании в этих условиях становится поддержание баланса между двумя организационными альтернативами.
В связи с вышесказанным, отличительной чертой организационной структуры управления матричного типа является наличие у работников одновременно двух руководителей, обладающих равными правами. С одной стороны, исполнитель подчиняется непосредственному руководителю функциональной службы, которая наделен необходимыми проектными полномочиями для осуществления процесса управления в соответствии с запланированными сроками, выделенными ресурсами и требуемым качеством. Возникает система двойного подчинения, базирующаяся на сочетании двух принципов - функционального и проектного ( продуктового).
Основополагающим принципом в матричном подходе к построению организационных структур управления является не совершенствование деятельности отдельных структурных подразделений, а улучшение их взаимодействия в целях реализации того или иного проекта или эффективного решения определенной проблемы.
Таким образом, главным принципом формирования матричной структуры является развитая сеть горизонтальных связей, многочисленные пересечения которых с вертикальной иерархией образуются за счет взаимодействия руководителей проектов с руководителями функциональных и линейных подразделений11.
Поэтому использование матричных структур целесообразно только в определенных условиях, например, в проектных или аналитически-исследовательских организациях, а также на предприятиях, реализующих крупные целевые программы развития (реконструкции, реорганизации, диверсификации и так далее).
Преимущества матричной структуры:
Лучшая ориентация на проектные (или программные) цели и спрос;
Более гибкое и эффективное использование персонала организации, специальных знаний и компетентности сотрудников;
Относительная автономность проектных групп или программных комитетов способствует развитию у работников навыков принятия решений, управленческой культуры, профессиональных навыков;
Улучшение контроля за отдельными задачами проекта или целевой программы;
Недостатки матричных структур:
Трудность установления четкой ответственности за работу по заданию подразделения и по заданию проекта или программы (следствие двойного подчинения);
Необходимость постоянного контроля над соотношением ресурсов, выделяемых подразделениям и программам или проектам;
Высокие требования к квалификации, личным и деловым качествам работников, работающих в группах, необходимость их обучения;
Возможность нарушения правил и стандартов, принятых в функциональных подразделениях, из-за оторванности сотрудников, участвующих в проекте или программе, от своих подразделений.
Дивизиональная структура управления (см. приложение 5). Это совокупность самостоятельных подразделений (предприятий), входящих в организацию, пространственно отделенных друг от друга, имеющих собственную сферу деятельности, самостоятельно решающих текущие производственные и хозяйственные вопросы.
При территориальном подходе к построению структуры такой организации, каждое из входящих в нее подразделений (предприятий) специализируется на производстве полного набора продукции и услуг для нужд данного региона.
При продуктовом подходе к формированию структуры организации, каждое из входящих в нее подразделений сосредоточено на выпуске какого-то одного вида продукции или услуг для всех групп потребителей, проживающих на территории, где действует данная фирма.
Рыночный подход к формированию организационной структуры состоит в том, что каждое подразделение выпускает продукцию или оказывает услуги, ориентируясь на определенную группу покупателей, в совокупности образующих рынок.
Наконец, инновационный подход предполагает создание в рамках организации специальных центров, занимающихся разработкой, освоением и развертыванием производства новых видов продуктов и услуг.
Таким образом, область применения дивизиональной структуры управления:
Многопрофильные предприятия;
Предприятия, расположенные в различных регионах;
Предприятия, осуществляющие сложные инновационные процессы.
Преимущества дивизиональной структуры:
Она обеспечивает управление многопрофильными предприятиями с общей численностью сотрудников порядка сотен тысяч и территориально удаленными подразделениями;
Обеспечивает большую гибкость и более быструю реакцию на изменения в окружении предприятия по сравнению с линейной и линейно - штабной;
При расширении границ самостоятельности отделений они становятся "центрами получения прибыли", активно работая по повышению эффективности и качества производства;
Более тесная связь производства с потребителями.
Недостатки дивизиональной структуры:
Большое количество "этажей" управленческой вертикали; между рабочими и управляющим производством подразделения - 3 и более уровня управления, между рабочими и руководством компании - 5 и более;
Разобщенность штабных структур отделений от штабов компании;
Основные связи - вертикальные, поэтому остаются общие для иерархических структур недостатки - волокита, перегруженность управленцев, плохое взаимодействие при решении вопросов, смежных для подразделений и так далее;
В отделениях, как правило, сохраняется линейная или линейно - штабная структура со всеми их недостатками.
Таким образом, совершенство организационной структуры управления во многом зависит от того, насколько при ее построении соблюдались принципы построения:
1) Целесообразное число звеньев управления и максимальное сокращение времени прохождения информации от высшего руководителя до непосредственного исполнителя;
2) Четкое обособление составных частей организационной структуры;
3) Обеспечение способности к быстрой реакции на изменения в управляемой системе;
4) Предоставление полномочий на решение вопросов тому подразделению, которое располагает наибольшей информацией по данному вопросу;
5) Приспособление отдельных подразделений аппарата управления ко всей системе управления организацией в целом и к внешней среде в частности.
ВЫВОДЫ ПО ГЛАВЕ I
Организационная структура управления представляет собой упорядоченную совокупность связей между звеньями и работниками, занятыми решением управленческих задач организации.
К основным, предъявляемым к организационной структуре управления требованиям, которые отражают ее ключевое для организации значение, относят оптимальность, оперативность, надежность, экономичность, гибкость и устойчивость.
Важную роль наравне с построением организационной структуры играет персонал, его численность, структура, профессиональная пригодность и компетентность.
Эффективность управления персоналом, наиболее полная реализация поставленных целей, во многом зависят от выбора вариантов построения самой системы управления персоналом предприятия, то есть организационной структуры, а так же познания механизма её функционирования, выбора наиболее оптимальных технологий и методов работы с людьми.
По сути дела, организационная структура определяет распределение ответственности и полномочий внутри организации. Как правило, она отображается в виде органиграммы (англ. organigram) — графической схемы, элементами которой являются иерархически упорядоченные организационные единицы (подразделения, должностные позиции).
Выделяют линейную, функциональную, линейно-функциональную, матричную, дивизиональную структуры.
Систематизировав все плюсы и минусы линейных структур можно прийти к выводу, что в современных условиях недостатки структуры перевешивают ее достоинства. Такая структура плохо совместима с современной философией качества.
Функциональная структура может использоваться в организациях с очень высоким статусом функциональных служб и соответствующих главных специалистов. Довольно часто подобные структуры имеют предприятия, находящиеся в совместной собственности нескольких владельцев, которые обладают равными долями собственности и курируют разные функциональные сферы деятельности.
Достоинством линейно-функциональных структур является сочетание четкости руководства с наличием широкой развернутой системы функционального управления. Но в условиях крупных многопрофильных и многофункциональных организаций такие структуры затрудняют координацию деятельности всех линейных и функциональных подразделений и могут создавать перегрузки руководителей организаций, замыкающих на себе все основные управленческие функции.
Переход к матричной структуре позволяет обеспечить высокую адаптивную способность организации, возможность сосредоточить усилия на решении основных задач. Но одновременно он несет в себе и серьезные проблемы: высокую сложность, двойную подчиненность, неустойчивость положения персонала в изменяющейся структуре организации.
Достоинства дивизиональных структур перевешивают их недостатки только в периоды достаточно стабильного существования, при нестабильном окружении они рискуют повторить судьбу динозавров. При данной структуре возможно воплотить большую часть идей современной философии качества.
II. ПРАКТИКА ФУНКЦИОНИРОВАНИЯ ОРГАНИЗАЦИОННЫХ СТРУКТУР И ПЕРСОНАЛА В НИХ НА ПРИМЕРЕ "ЗФ ОАО НОРИЛЬСКИЙ НИКЕЛЬ" НОРИЛЬСКОЙ ЖЕЛЕЗНОЙ ДОРОГИ
НЖД существует с 1937 года. В мае по временной узкоколейке началось движение поездов от Дудинки до Норильска. Широкая колея была построена в 1946 году. В 1974 году по маршруту Норильск-Дудинка был пущен первый пассажирский электропоезд.
Сегодня по Норильской железной дороге транспортируются технологические грузы горно-металлургической компании «Норильский никель». Протяженность железнодорожных путей - около 420 километров. Дорога связывает все крупные предприятия горного, обогатительного и металлургического переделов компании. На дороге 341 стрелочный пост. Подвижной состав насчитывает 88 локомотивных секций и 2500 вагонов различного назначения плюс более сотни единиц специальной техники: снегоочистителей, топливозаправщиков, дрезин, путевых машин.
На Норильской железной дороге работает около двух тысяч человек. У 66 ветеранов трудовой стаж работы на НЖД превышает 30 лет.
За 73 года по НЖД перевезено более 700 миллиардов тонн грузов. Эти грузы можно разместить в вагонах, состав из которых четырежды обогнет Землю по экватору.
ОРГАНИЗАЦИОННАЯ СТРУКТУРА "ЗФ ОАО НОРИЛЬСКИЙ НИКЕЛЬ" НОРИЛЬСКОЙ ЖЕЛЕЗНОЙ ДОРОГИ И ЕЕ ОСНОВНЫЕ ФУНКЦИИ
Организационная структура "ЗФ ОАО Норильский Никель" Норильской Железной Дороги формируется, исходя из функций и объема работ, возлагаемых на НЖД для решения задач, стоящих перед Заполярным Филиалом Компании и имеет следующий вид: см. приложение 6.
Данная организационная структура является матричной. Анализируя структуру предприятия, следует отметить, что она способствует сокращению нагрузки на руководителей высшего уровня управления путем передачи полномочий принятия решений на средний уровень при сохранении единства координации и контроля за ключевыми решениями на высшем уровне, ориентирована на получение высококачественных результатов по большому количеству проектов, программ и продуктов деятельности.
Однако, данная структура является очень сложной и трудной, что обуславливает необходимость её понимания всеми работниками.
Рассмотрим функции отдельных структурных подразделений, представленных на схеме:
Дудинский железнодорожный цех подчиняется непосредственно начальнику дороги. В его функции входит обеспечение перевозок грузов из Дудинки, местных перевозок на территории Дудинки, организация выгрузки продукции ГМК «НН» и сторонних предприятий, доставленной в Дудинку для дальнейшей отправки морским путем и местных нужд; содержание и эксплуатация для выполнения этих функций локомотивного и вагонного парков, путевого хозяйства, средств сигнализации, связи, радиосвязи, объектов энергоснабжения.
Служба энергетического хозяйства находится под контролем главного инженера. Она организовывает эксплуатацию и ремонт воздушных линий электропередач, электросети, систем теплоснабжения, водоснабжения, канализации, воздухопроводов, демонтаж контактной сети.
Службой энергетического хозяйства дороги обслуживается 73 объекта (станции, переезды, посты, здание вокзала и тому модобное), 13 гаражей, 20 понизительных подстанций (22 трансформатора), 45,4 км. воздушных линий, 174,6 км кабельных линий, 39,1 км трубопроводов. Весь объем работ по содержанию и ремонту указанных объектов осуществляется персоналом в количестве 80 человек.
Заместитель главного инженера (начальник службы связи) контролирует производственный процесс службы сигнализации и связи. Она выполняет функции организации эксплуатации и ремонта систем безопасности и регулирования движения поездов (средства сигнализации, централизации, блокировки, проводной и радиосвязи), линейно-кабельных сооружений.
Служба пути, как и Служба подъемно-транспортного оборудования находятся в подчинении заместителя главного инженера. В их функции входит соответственно:
Организация расчистки железнодорожного пути от снега и выполнение водопропускных мероприятий. Организация текущего содержания и ремонта железнодорожного пути, путевых обустройств и искусственных сооружений.
Расчистка железнодорожного пути от снега, экипировка локомотивов, дрезин, путевой техники на линии (заправка топливом и маслом), доставка аварийно-восстановительных бригад к месту выполнения работ. Обеспечение автомобильной и тракторной техникой подразделений дороги для перевозок технологических и хозяйственных грузов дороги.
Цех подвижного состава подчиняется главному инженеру и занимается организацией эксплуатации и ремонтов подвижного состава (локомотивов, вагонов, желдоркранов), выполнение железнодорожных перевозок на участке Дудинка-Талнах. Оперативное выполнение аварийно-восстановительных работ силами восстановительного поезда, подготовка персонала локомотивного хозяйства, содержание промышленного и технологического оборудования.
Служба эксплуатации и служба движения находятся в непосредственном подчинении заместителя начальника дороги.
Первая руководит технологией перевозок, организация управления движением, руководство коммерческой работой; вторая – организацией и управлением движения поездов и маневровой работой, разработка технической документации для организации движения поездов, учет количества и номенклатуры перевозимых грузов, решение оперативных вопросов с клиентурой.
Таким образом, организационная структура Норильской Железной Дороги способствует решению основных целей и задачей, преследуемых предприятием. А именно12:
Цели Норильской железной дороги - перевозке технологических материалов, оборудования и готовой продукции подразделений «ГМК «НН».
Задачам НЖД:
Оказанию услуг по перевозкам грузов и предоставлению подвижного состава в пользование подразделениям «ГМК «НН»;
Развитию производственной и материально-технической базы НЖД, обеспечение сохранности имеющихся ТМЦ, поддержание в надлежащем состоянии подвижного состава, оборудования и других основных фондов;
Созданию условий по снижению себестоимости перевозки грузов, повышение рентабельности производства, рационального использования материальных, финансовых и трудовых ресурсов.
НОРМАТИВНОЕ И ДОКУМЕНТАЛЬНОЕ ОБЕСПЕЧЕНИЕ ДОЛЖНОСТНЫХ СТРУКТУР И ИХ ПЕРСОНАЛА НА "ЗФ ОАО НОРИЛЬСКИЙ НИКЕЛЬ" НОРИЛЬСКОЙ ЖЕЛЕЗНОЙ ДОРОГИ
Функционирование персонала определяется таким важным документом, как должностная инструкция. Она разработана в соответствии с Трудовым Кодексом Российской Федерации и Правилами внутреннего распорядка.
Должностные инструкции работников "ЗФ ОАО Норильский Никель" Норильской Железной Дороги содержат в себе 6 глав, определяющих общие положения, квалификационные требования, обязанности и критерии оценки результатов труда, права, ответственность и лист согласования.
В общих положениях раскрывается категория сотрудника, его непосредственные начальники, перечень документов, содержанием которых обязан сотрудник руководствоваться в процессе своей работы, а так же срок действия инструкции.
Например, должностная инструкция помощника машиниста участка эксплуатации цеха подвижного состава Норильской железной дороги определяет, что «помощник машиниста относится к категории технических исполнителей и в своей трудовой деятельности подчиняется непосредственно, машинисту-инструктору локомотивных бригад»13.
А в своей работе он обязан руководствоваться14:
Правилами технической эксплуатации промышленного железнодорожного транспорта (ПТЭ).
Инструкцией по движению поездов и маневровой работе на промышленном железнодорожном транспорте (ИДП).
Инструкцией по эксплуатации тормозов подвижного состава железных дорог.
Технологией безопасной эксплуатации и ремонта подвижного состава промышленного железнодорожного транспорта.
Правилами безопасности при перевозке опасных грузов железнодорожным транспортом.
Действующим приказом начальника НЖД № Н-1 от 22.03.2005 г «О дополнениях к ПТЭ применительно к местным условиям работы НЖД» в установленном объёме.
Техническо-распорядительными актами станций (ТРА).
Нормативными техническими документами промышленной безопасности и охраны труда, пожарной безопасности, производственной санитарии и культуры производства, правилами внутреннего трудового распорядка, статьями Трудового Кодекса РФ.
Этическим кодексом работника ОАО «ГМК Норильский никель».
Настоящей инструкцией, действующими и вновь издаваемыми приказами, инструкциями и указаниями, относящимися к кругу обязанностей локомотивной бригады.
Вторая глава, посвящённая квалификационным требованиям, определяет ограничения, связанные с приемом на должность, а так же перечень знаний, умений и требований к личностным характеристикам сотрудника.
Так, во второй главе должностной инструкции составителя поездов участка эксплуатации цеха подвижного состава Норильской железной дороги определено, что составителем поездов назначаются лица не моложе 18 лет; прошедшие медицинское освидетельствование и признанные годными медицинской комиссией к работе в качестве составителя поездов15.
В пункте 2.2.2 перечислены необходимые личностные качества. К ним относятся умение находить выход из нештатных ситуаций, сохранять психологическую устойчивость и работоспособность в нестандартных ситуациях, действовать своевременно и безошибочно. Быть дисциплинированным, инициативным, ответственным, исполнительным, изучать, обобщать и анализировать ошибки других чтобы, попав в сходную ситуацию, не совершать новых, оперативно исправлять собственные ошибки, действовать грамотно и решительно16.
В третьей главе раскрываются обязанности и критерии оценки результатов труда сотрудника. Подпункты данной главы содержат в себе требования к работе, задачам, перечисление функций сотрудника, то есть все те критерии, по которым оценивается производительность его труда. Помимо того, что сотрудник обязан делать, глава содержит в себе и ограничения, то есть те действия, на которые сотрудник не имеет права.
В качестве примера можно рассмотреть некоторые подпункты, содержащиеся в третьей главе должностной инструкции машиниста тепловоза участка эксплуатации цеха подвижного состава НЖД17:
Машинист тепловоза обязан:
Обеспечивать бесперебойное и своевременное обслуживание производства, при безусловном обеспечении безопасности движения, безопасности работающих, сохранности перевозимых грузов с соблюдением требований охраны труда, промышленной безопасности и охраны окружающей природной среды, а также сохранность топлива, смазочных и других материалов, инвентаря, радиостанций, средств индивидуальной защиты и пожаротушения.
3.1.9 Руководить работниками локомотивной бригады, контролировать их действия, обеспечивая безопасность движения и выполнение плана грузоперевозок и маневровой работы, с соблюдением требований инструкций по охране труда и промышленной безопасности.
3.1.18 После завершения смены:
3.1.18.3 проверить количество топлива, масла, воды в системах и баках тепловоза. Сделать необходимые записи в топливных ведомостях и журналах формы ТУ-152. При необходимости дать заявки машинисту тепловоза 4 разряда на снабжение, и передать сведения о расходе и об остатках топлива и масла в баках.
Четвертая и пятая глава определяют права и обязанности сотрудников соответственно18.
Так, кондуктор грузовых поездов участка эксплуатации цеха подвижного состава НЖД имеет право:
4.1 На все предусмотренные законодательствам социальные гарантии.
4.2 Давать распоряжения на производство работ машинисту тепловоза.
4.3 Выдавать заявки работникам службы движения на отцепку неисправных вагонов.
4.4 Пользоваться нормативной и технической документацией, имеющейся в цехе по вопросам, входящим в круг его обязанностей.
4.5 Требовать от руководства оказания содействия в исполнении своих должностных обязанностей.
4.6 Требовать создания условий для выполнения служебных обязанностей, в том числе предоставления необходимой спецодежды, оборудования, инвентаря и т.д.
4.7 Обращаться к должностным лицам цеха и дороги с предложениями по совершенствованию методов выполняемой работы.
4.8 Не приступать к работе, если рабочее место не соответствует требованиям охраны труда.
В пятой главе указано, что Работник, совмещающий профессию кондуктора грузовых поездов, несет дисциплинарную, административную, уголовную и материальную ответственность за невыполнение19:
5.1 Требований документов, регламентирующих работу кондуктора грузовых поездов.
5.2 Указаний и распоряжений руководителя в рамках своих трудовых обязанностей.
5.3 Обязанностей, предусмотренных настоящей рабочей инструкцией.
Лист согласования имеет следующий вид (см. приложение 6). В ней указываются фамилии, должности лиц, утвердивших инструкцию, а так же их подписи. После перечисляются работники, своими подписями подтверждающие то, что с должностной инструкцией они ознакомлены и приняли её к руководству и исполнению. Так же в листе согласования указывается дата.
Основной нормативной ссылкой при разработке должностных инструкций, является Трудовой Кодекс Российской Федерации, так как содержание данных инструкций не должно противоречить закрепленным в кодексе позициям и условиям труда работников.
Правила внутреннего распорядка работников, где детально рассматриваются порядок приема и увольнения работников, основные права и обязанности работника и работодателя, режим рабочего времени и отдыха, порядок предоставления отпусков и заработная плата, поощрение работников за труд и условия привлечения к дисциплинарной ответственности, так же основана на таких нормативных ссылках, как20:
Трудовой Кодекс Российской Федерации;
Порядок хранения и использования персональных данных работников Заполярного филиала ЗФ ОАО «ГМК Норильский Никель», утвержденный приказом Директора ЗФ ОАО «ГМК Норильский Никель» от 30.12.2004 г.;
Этический кодекс работников ОАО «ГМК Норильский Никель», утвержденный приказом Генерального Директора ЗФ ОАО «ГМК Норильский Никель» от 13.08.2003 г.
Так же содержание должностных инструкций и деятельности работников подкрепляется массой таких распоряжений и приказов, как, к примеру, инструкции по охране труда, инструкции о мерах пожарной безопасности, положение об организации трудового соревнования и другое.
ЗАКЛЮЧЕНИЕ
Организационная структура и штатная численность, то есть персонал организации являются её центральными, основными характеристиками и показателями, которые непосредственно способствуют и влияют на результативность деятельности всего предприятия в целом.
Организационную структуру управления следует понимать, как совокупность управленческих звеньев, расположенных в строгой соподчиненности и обеспечивающих взаимосвязь между управляющей и управляемыми системами. То есть, организационная структура определяет распределение ответственности и полномочий внутри организации.
Тем не менее, как бы хорошо не была построена организационная структура управления, выполнение её функций ложится именно на персонал, ведь без персонала её построение является бессмысленным. Именно люди являются центральным фактором в любой системе управления.
Под персоналом подразумевается личный состав или работники учреждения, предприятия, составляющие группу по профессиональным или служебным признакам.
Характеристики персонала выражаются в таких свойствах, как его численность, структура, профессиональная пригодность и компетентность, то есть квалификация.
В зависимости от характера связей между подразделениями организации различают такие основные виды организационных структур, как линейная, функциональная, линейно – функциональная, матричная и дивизиональная. Функции и особенности их построения обеспечивают и различные подходы в их построении. Однако какого бы вида не была структура, к её построению предъявляется множество принципов построения, общих для всех видов и отражающих ключевое для организации значение. К ним относится оптимальность, оперативность, надежность, экономичность, гибкость и устойчивость.
Структура «ЗФ ОАО «Норильский Никель» Норильская Железная Дорогая является матричной. Данная структура отвечает всем требованиям, необходимым при построении организационной структуры, а так же способствует выполнению поставленных перед НЖД задач и целей.
Функционирование организационных структур и персонала в «ЗФ ОАО «Норильский Никель» Норильская Железная Дорогая определяется такими важными документами, как должностная инструкция и «Правила внутреннего распорядка». Основной ссылкой при их разработке является Трудовой Кодекс РФ.
Должностные инструкции работников "ЗФ ОАО Норильский Никель" Норильской Железной Дороги содержат в себе 6 глав, определяющих общие положения, квалификационные требования, обязанности и критерии оценки результатов труда, права, ответственность и лист согласования.
Правила внутреннего распорядка работников содержат в себе семнадцать глав, где детально рассматриваются такие характеристики, как общие положения, порядок приема и увольнения работников, основные права и обязанности работника и работодателя, режим рабочего времени и отдыха, порядок предоставления отпусков и заработная плата, поощрение работников за труд и условия привлечения к дисциплинарной ответственности.
СПИСОК ЛИТЕРАТУРЫ:
Б.З. Мильнер. «Теория организации», Москва: Инфра-М, изд. 2, 2000. –Л.Г., Соколова М.И «Стратегический менеджмент» - Москва: «Юристъ», 2002 г. – 295 с.
Базаров Т.Ю. Управление персоналом / Т.Ю. Базаров, Б.Л. Еремина. – М.: ЮНИТИ, 2002. – 396 с.
Веснин В.Р. Практический менеджмент персонала: Пособие по кадровой работе. - М.: Юристъ, 1998. – 382 с.
Генкин Б.М. Основы управления персоналом. 1999 – 439 с.
Герчикова И.Н. Менеджмент. - М., 2000 – 498 с.
Кабушкин Н.Л. Основы менеджмента: Учеб. пособие - 5-е изд., стереотип. - Мн.: Новое знание, 2002. — 336 с.
Маслов Е.В. Управление персоналом предприятия. - М., 1999 – 357 с.
Мескон М. Х. , Альберт М. , Хедоури Ф. Основы менеджмента .-М.:«Дело», 2000 – 546 с.
Мескон М., Альберт М., Хедоури Ф. Основы менеджмента М., 1992. – 290 с.
Одегов Ю.Г., Журавлев П.В. Управление персоналом. - М., 2001 – 407 с.;
Основы управления персоналом. Учебник под ред. Генкина Б.М., - М., 2001 – 290 с.
Подлесных В.И. Теория организации: Учебник для вузов. - СПб, 2003. – 307 с.
Поляков В.А. Технология карьеры .-М.:«Дело ЛТД», 1995. – 283 с.
Поршнева А.Г. Управление организацией. Учебник – М, 1999. – 389 с.
Румянцева З.П. Менеджмент организации. Учебник – М , 2000. – 405 с.
Седегов Р.С. Управление персоналом: сотрудники как фактор успеха предприятия - Минск, 2001 – 463 с.
Силин А. Н. Управление персоналом . Учебник по кадровому менеджменту .-Тюмень: ТГУ , 2000 – 574 с.
Смирнов С.В. Организация управления предприятием. М., 1993.
Тарасов В. К. Персонал-технология : отбор и подготовка менеджеров .-Л:«Машиностроение», 2001 – 354 с.
Травин В.В. Основы кадрового менеджмента / В.В. Травин. – М.: Дело, 2003. – 274 с.
Травин В.В., Дятлов В.А. Основы кадрового менеджмента. 2001 – 437 с.
Управление персоналом. Учебное пособие. Под ред. В.Ю. Сербинского, 1999. – 201 с.
Холл Р. Х. Организации: структуры, процессы, результаты. - СПб.: Питер, 2001. – 402 с.
Экономика предприятия: Учебник / Под ред. Проф. О. И. Волкова. – М., 2000 – 359 с.
Кафедра теории и технологии в менеджменте. Стратегическое управление. http://www. management61.ru/sisstrategupr.html
Ожегов С.И., Шведова Н.Ю. Толковый словарь русского языка. Интернет версия. (http://www.km.ru/base/ojegov/main.asp)
Состав и структура персонала. www.uprperson.ru/sostav_i_struktura_personala
Нормативные документы:
Правила внутреннего трудового распорядка НЖД ЗФ ОАО «ГМК Норильский Никель» от 27.02.2010 г.
Положение «О Норильской железной дороге Заполярного филиала ОАО «ГМК «Норильский никель»
Должностные инструкции работников предприятия
Приложение 1
Линейная структура управления

Приложение №2
Схема многолинейной (функциональной) структуры управления
Приложение №3
Схема линейно-штабной структуры управления

Приложение 4
Схема матричной структуры управления

Приложение 5
Дивизионная структура управления

Приложение 6
Организационная структура "ЗФ ОАО Норильский Никель" НЖД

Приложение 7
Лист согласования
СОГЛАСОВАНО
И.о. начальника отдела
по работе с персоналом ___________________ __________ 2010 г.
Главный ревизор по БД ____________________ _________ 2010 г.
Заместитель главного инженера_________________ __________ 2010 г.
Начальник цеха подвижного состава_____________ __________ 2010 г.
С должностной инструкцией ознакомился, принял к руководству и исполнению ____________________ __________ 2010 г.
1 Подлесных В. И. Теория организации: Учебник для вузов. - СПб, 2003. – с. 87.
2 Б.З.Мильнер. «Теория организации», Москва: Инфра-М, изд. 2, 2000. – С. 157.
3 Л.Г., Соколова М.И «Стратегический менеджмент» - Москва: «Юристъ», 2002 г. – С. 45.
4 Кафедра теории и технологии в менеджменте. Стратегическое управление. http://www.management61.ru/sisstrategupr.html
5 Кабушкин Н Л. Основы менеджмента: Учеб. пособие - 5-е изд., стереотип. - Мн.: Новое знание, 2002. — С. 114.
6 Ожегов С.И., Шведова Н.Ю. Толковый словарь русского языка. Интернет версия. (http://www.km.ru/base/ojegov/main.asp)
7 Веснин В.Р. Практический менеджмент персонала: Пособие по кадровой работе. - М.: Юристъ, 1998. – С. 295.
8 Состав и структура персонала. www.uprperson.ru/sostav_i_struktura_personala
9 Базаров Т.Ю. Управление персоналом / Т.Ю. Базаров, Б.Л. Еремина. – М.: ЮНИТИ, 2002. – С. 403.
10 Травин В.В. Основы кадрового менеджмента / В.В. Травин. – М.: Дело, 2003. – С. 177.
11 Холл Р. Х. Организации: структуры, процессы, результаты. - СПб.: Питер, 2001. – С. 83.
12 Положение «О Норильской железной дороге Заполярного филиала ОАО «ГМК «Норильский никель»
13 П. 1.2.гл. 1 должностной инструкции помощника машиниста участка эксплуатации цеха подвижного состава НЖД
14 П. 1.4.гл. 1 должностной инструкции помощника машиниста участка эксплуатации цеха подвижного состава НЖД
15 П. 2.1. гл. 2 должностной инструкции составителя поездов участка эксплуатации цеха подвижного состава НЖД
16 П. 2.2.2 гл. 2 должностной инструкции составителя поездов участка эксплуатации цеха подвижного состава НЖД
17 П. 3.1. гл. 3 должностной инструкции машиниста тепловоза участка эксплуатации цеха подвижного состава НЖД.
18 П. 4.1. гл. 4 должностной инструкции кондуктора грузовых поездов участка эксплуатации цеха подвижного состава НЖД
19 гл. 5 должностной инструкции кондуктора грузовых поездов участка эксплуатации цеха подвижного состава НЖД
20 Правила внутреннего трудового распорядка НЖД ЗФ ОАО «ГМК Норильский Никель» от 27.02.2010 г.
