Анализ методов оценки сцепления пригара на стальном литье
Содержание |
||
Введение |
||
1. |
Анализ факторов влияющих на образование пригара |
|
1.1. |
Механического |
|
1.2. |
Термического |
|
1.3. |
Химического |
|
2. |
Методы качественной оценки пригара |
|
2.1. |
Качественная оценка пригара по Оболенцеву |
|
2.2. |
Классификация пригара по способу удаления |
|
3. |
Приборы для количественной оценки пригара |
|
3.1. |
Прибор предложенный Шипилиным |
|
3.2. |
Прибор ВПТИЛП |
|
3.3. |
Метод предложенный кафедрой МиТЛП ВолГТУ |
|
3.4. |
Метод предложенный Челябинским Политехническим Институтом |
|
3.5. |
Метод оценки пригара по прочности сцепления |
|
|
3.6. |
Прибор Челябинского Политехнического Института |
|
Выводы |
||
Список использованной литературы |
||
Введение.
Введение.
Борьба с пригаром является важным направлением в литейном производстве, т.к пригар ухудшает товарный вид отливок, сильно затрудняет обрабатываемость резанием. Очистка литья от пригара является тяжелой и вредной для здоровья работающих операцией. Для оценки эффективности действия применяемых и разрабатываемых противопригарных покрытий и противопригарных добавок в формовочные и стержневые смеси, а также для оценки пригараемости обычных смесей важно количественно определить величину пригара. В данной работе рассмотрены существующие методы качественной и количественной оценки пригара на отливках, рассмотрены их достоинства и недостатки и выбраны оптимальные методы оценки, которые можно применять как в лабораторных исследованиях, так и на производстве.
В данной работе отдается предпочтение количественным методам оценки пригара, так как они исключают субъективное мнение исследователя, что позволяет получить более достоверные результаты.
1.Анализ факторов влияющих на образование пригара.
И. Б. Куманин дает следующие определения видам пригарной корки.
Механический пригар — корка сцементирована металлом, проникшим в поры формы.
Термический пригар — корка сцементирована сплавившимися составными частями формовочной смеси или легкоплавкими силикатами, образовавшимися в форме.
Химический пригар—корка сцементирована соединениями типа шлаков, образовавшимися при взаимодействии отливки и формы. Рассмотрим условия образования каждого вида пригара.
1.1 Механический пригар
Механический пригар образуется при проникновении в поры формовочной смеси жидкого сплава или маточного раствора, т. е. в тех случаях, когда с поверхностью формы соприкасается жидкий металл или полузатвердевшая корочка отливки. Следовательно, пригар может образовываться, если температура на поверхности раздела металл-форма будет превышать температуру солидуса данного сплава. Механический пригар будет увеличиваться при повышении температуры заливки металла, увеличении интервала кристаллизации сплава, массивности отливок или отдельных их частей («тепловые» узлы), уменьшении теплоаккумулирующей способности формовочных смесей, форм и стержней.
Механический пригар может образовываться в том случае, когда ферростатическое давление металла превысит определенное «критическое» сопротивление смеси. Поэтому увеличение давления металла сверх этого «критического» неизменно ведет к резкому возрастанию механического пригара. Это явление И. Б. Куманин объясняет следующим. Скорость отдачи тепла струйкой металла стенкам канала уплотненной формовочной смеси не зависит от скорости течения металла, так как отвод тепла определяется формой в целом.
За промежуток времени, в течение которого кончик струйки металла затвердевает, увеличение давления приводит к увеличению скорости движения струйки, т. е. ее дальнейшему перемещению на большую глубину. Проникновение металла увеличивает передачу тепла формой, что, в свою очередь, приводит к более быстрому прогреву глубоких слоев формы и, следовательно, к увеличению общей скорости и глубины проникновения металла.
Как это показал И. Б. Куманин, в конце струи металла, заполняющего форму, непрерывно образуется твердая корочка. Твердая корочка образуется также в конце каждой струйки металла, проникающего в поры формы. Повышение температуры содействует растворению этой корочки в металле, а повышение давления — ее прорыву, что в целом приводит к росту механического пригара. Упрощенно критическое давление Ркр при котором металл и может проникнуть в поры формы, определяется из отношения I
,
(2.1)
где Ркр — критическое давление, соответствующее началу образования пригара, в кГ/см2;
Ркап — капиллярное противодавление в кГ/см2;
Ргаз — газовое противодавление в кГ/см2;
(2.2)
где σ — поверхностное натяжение жидкого металла на границе с газом в эрг/см2;
θ — краевой угол смачивания;
r — радиус поры в см;
g — ускорение силы тяжести в см/сек2.
Следовательно, образование механического пригара предотвращается, если:
(2.3)
Ркап увеличивается, если уменьшается радиус пор, величин, которых тем меньше, чем тоньше структура наполнителя. Следует заметить, что величина пор будет зависеть не только от структуры смеси, но и от условий ее спекания при высоких температурах Введение некоторых добавок, в обычных условиях снижающих пригар (например глины, бентонита, жидкого стекла), в тяжелых тепловых условиях при значительном давлении металла может приводить к спеканию смеси, увеличению размера пор и возрастанию механического пригара. Ркап уменьшается при уменьшена величины поверхностного натяжения металла и снижении краевой угла смачивания.
С увеличением температуры чугуна его поверхностное натяжение обычно снижается, и соответственно с увеличением температуры заливки чугуна увеличивается опасность образована механического пригара.
При стальном литье эта опасность относительно меньше, так как увеличение температуры стали, приводит не к уменьшению, а к увеличению поверхностного натяжения.
Поверхностное натяжение стали существенно снижается пpи увеличении содержания в ней углерода, фосфора, серы, кислорода азота. Поэтому увеличение содержания этих компонентов в стали, может приводить к увеличению механического пригара.
Величина краевого угла смачивания зависит от ряда факторов:
типа сплава, степени его окисленности, продолжительности контакта жидкой и твердой фаз, размера зерен формовочных смесей и др.
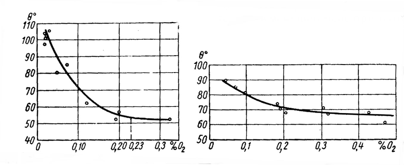
Из результатов экспериментальных исследований, проведенных И. В. Валисовским в ЦНИИТмаше отметим установленную зависимость степени смачивания от химического состава поверхностных слоев жидкого металла и формы. Чем больше химический потенциал реакций, протекающих на поверхности раздела металл—форма, тем меньше краевой угол смачивания. Поэтому увеличение степени окисленности стали резко уменьшает краевой угол смачивания при изготовлении форм из кварцевого песка (рис. 1) и значительно в меньшей мере при изготовлении форм из хромомагнезита или хромистого железняка (рис. 1, б) [6].
Таким образом, применять хромомагнезит и хромистый железняк особенно эффективно при наличии в форме окислительной среды.
В случае нейтральной или восстановительной среды вполне удовлетворительные результаты дает использование кварцевых песков.Влияние размера зерен песка на условия смачивания зависит от контакта металла с поверхностью зерен и с газом, находящимся в порах смеси.
Р
ис.1.
Влияние окисленности жидкого металла
на краевой угол смачивания:
а—кварцевого песка; б—хромистого железняка.
.
. Установлено, что при отрицательном смачивании (cosθ<0) независимо от газовой среды увеличение размера зерен приводит к значительному увеличению смачивания. При положительном смачивании (cosθ>0) изменение размера зерен не влечет за собой изменения краевого угла смачивания, повышение температуры металла в пределах до 100° С над ликвидусом не изменяет величины краевого угла смачивания.
Из формулы видно, что величина Pкр в значительной мере зависит от Ркап, т. е. от противодавления газов в порах смеси. Дополнительные исследования, проведенные Я. И. Медведевым [6]; ЦНИИТмаше, позволили определить величину избыточного давления газа Ад в стенках формы:
(2.4)
где,
а—удельная константа газовыделения см-мин, а = qm,
где q — величина газотворности единицы объема формовочной смеси cмз/cмз;
т—коэффициент прогрева, определяющий интенсивность нагрева формовочной смеси до температуры газификации газотворных веществ l см-мин г;
τ — время от начала заливки в мин;
V — объем пор в смеси в см3;
μτ— пропускная способность стержня или формы, прямо пропорциональная газопроницаемости и приведенному сечению газового потока в стержне или форме и обратно пропорциональная длине фильтрации газа;
S — поверхность контакта металла и формы в см2;
с — константа.
Анализ зависимости позволяет определить, какие факторы содействуют увеличению Ркап какие снижают его величину.
В частности, утонение структуры наполнителя, уменьшение размера пор и соответственно уменьшение газопроницаемости смеси будет увеличивать Ргаз и уменьшать возможность образования механического пригара.
В последнее время в работах И. Б. Куманина и В. А. Денисова было дано аналитическое решение задачи определения условий образования и предотвращения механического пригара.
Л. Б. Куманин аналитически доказал, что толщина механического пригарного слоя зависит от газопроницаемости формовочной и, коэффициента аккумуляции тепла формой, давления металла на форму, жидкотекучести залитого металла, вязкости пригарной жидкости, теплофизических свойств металла и приведенной толщины отливок.
На практике для борьбы с механическим пригаром следует применять пески с мелкой структурой (например, по ГОСТ 2138-56, группа 016), использовать краски, а в необходимых случаях пасты, шире применять смеси, обладающие повышенным коэффициентом аккумуляции тепла (например, хромомагнезитовые смеси и смеси с хромистым железняком для стальных отливок).
1.2Термический пригар
Термический пригар
представляет собой спекшуюся массу
формовочной или стержневой смеси. В
простейшем случае спекание может
произойти за счет расплавления или
размягчения отдельных недостаточно
огнеупорных зерен (примесей), содержащихся
в составе исходных формовочных материалов,
или неорганических связующих материалов.
В других, более сложных условиях процесс
спекания происходит в результате
взаимодействия различных, иногда очень
огнеупорных составных частей смеси и
образования при таком взаимодействии
новых легкоплавких силикатных соединений.
Свободные от примесей пески и глины
отличаются очень высокой тугоплавкостью
(кварц SiO;
при нагревании претерпевает ряд
аллотропических изменений и плавится
при 1710º
С C, каолинит
Al
O
•SiO
•H
O
теряет свою конституционную воду,
разлагается и плавится при температуре
примерно 1780°.
Вместе с тем, смеси песка и глины всегда
имеют пониженную температуру плавления.
Толщина корки термического пригара определяется температурой затвердевания образовавшихся в форме силикатов и глубиной прогрева формы до этой критической температуры.
Термический пригарный слой, как это видно из классификации либо не связан с отливкой, либо умеренно связан с ней. Термический пригар, если он не сопровождается окислением залитого сплава, проявляется в виде спекшейся корки смеси, которая при ударах отходит от отливки и рассыпается на отдельные комья.
Борьба с термическим пригаром осуществляется в основном созданием условий, препятствующих спеканию формовочных материалов, и мерами, сокращающими силы сцепления между отливкой и пригарной коркой. К последним относится создание Рме восстановительной среды.
Например, при литье чугуна уголь, вводимый в состав облицовочных смесей, а также углеродистые материалы для красок, натирок и припылов должны выбираться с таким расчетом, чтобы среда, обеспечивающая восстановление окислов металла на поверхности отливок, могла сохраняться в форме в течение всего времени, пока, пригарная, жидкость не перейдет в твердое состояние. Для отливок различной величины и массивности это время может значительно колебаться.
Создание в форме восстановительной или нейтральной среды в ряде случаев оказывает положительное влияние не только на условия образования термического пригара, но и на условия образования других видов пригара.
Так, Л. Е. Плотинский показал, что создание восстановительной среды в форме и нанесение на ее поверхность каменноугольной смолы позволяет получать стальные отливки (в том числе из высоколегированных хромоникелевых сталей) с поверхностью, свободной от плен и пригара.
Р. И. Бучин получил совершенно чистую поверхность изделий небольшого веса из нержавеющей стали, отлитых в сырые формы, продуваемые азотом в течение 15—20 сек до начала заливки и в процессе заливки.
Эти и другие примеры свидетельствуют о том, что создание в форме нейтральной и восстановительной среды является благоприятным не только при изготовлении чугунных, но и в ряде случаев стальных отливок, если поверхностные покрытия формы не науглероживают поверхности стальных отливок.
При изготовлении чугунных отливок с использованием смесей с жидким стеклом создание в форме восстановительной среды оказывается недостаточным. Для получения чистой, свободной от пригара поверхности чугунных отливок формы и стержни необходимо окрашивать.
1.3Химический пригар
Химический пригар возникает при взаимодействии окислов металла, находящихся на поверхности отливки с формовочным материалом. Цементирующая пригар жидкость представляет собой. Сложное силикатное соединение, обогащенное металлическими окислами (FeO, MgO и др.), дополнительно понижающими температуру затвердевания пригарной корки.
Глубина проникновения в формовочную смесь окислов металла или легкоплавких соединений, образующихся на границе форма-металл, определяется рядом факторов: температурой затвердевания легкоплавких соединений, количеством окислов металла, в свою очередь зависящих от атмосферы литейной формы, глубиной прогрева формы до температуры затвердевания окислов или легкоплавких соединений, смачиваемостью окислами или легкоплавкими соединениями материала формы. Диффузия окислов может происходить и при температурах, более низких, чем температура их затвердевания. Поэтому образование химического пригара возможно и в том случае, если металлические окислы не будут легкоплавкими.
При наличии окислов
металла с низкой температурой плавления
принципиально возможен и обратный
процесс—диффузия
тугоплавких компонентов формовочной
смеси (например,
SiO
)
в жидкие окислы. Наконец, жидкая фаза
может образоваться за счет взаимодействия
твердых окислов с нерасплавленными
составными частями формовочной смеси,
для этого необходим тесный контакт
между ними, достаточное время и наличие
такого количественного соотношения
веществ, при котором получаются
легкоплавкие соединения.
Особенностью химического пригара является значительная насыщенность пригарной жидкости окислами металла.
Благодаря повышенной основности этой жидкости она интенсивно действует на зерна песка, растворяя в себе кремнезем. По сравнению с термическим пригаром корка химического пригара является значительно более слитной, содержащей гораздо меньше нерастворенных и неизменных зерен кварца.
Прочность связи между пригаром и отливкой определяется рядом факторов. Ю. А. Клячко и Л.Л. Кунин [9], базируясь на работах П. Д. Данкова и Н. А. Шишакова, считают, что наибольшие силы сцепления разовьются тогда, когда затвердевание пригарной жидкости сопровождается достройкой ранее затвердевших кристаллов залитого в форму сплава. Это возможно, если параметры пространственных решеток сплава и цементирующей пригар массы близки между собой. При соблюдении этого условия появляются смешанные кристаллы, исчезает четкая граница между пригаром и металлом и пригарный слой оказывается трудноотделимым. Ю. А. Клячко и Л. Л. Кунин [13] предположили, что связь пригара с отливкой значительно уменьшится, если охлаждающаяся пригарная жидкость будет кристаллизоваться не на поверхности отливки, а вокруг образующихся в ней центров кристаллизации. В этом случае прочность связи пригара с отливкой определится сцеплением между разнородными кристаллами, расположенными вдоль строго ограниченной границы соприкосновения различных по своей природе веществ. Эти представления пока не находят прямого экспериментального подтверждения, так как структура пространственных решеток сложных силикатов еще мало изучена. Затруднения возникают также в связи с тем, что состав пригарной жидкости не однороден в точках, различно удаленных от отливки. Следовательно, структура затвердевшей пригарной массы не является постоянной.
И. Б. Куманин считает, что прочность связи пригарного вещества с отливкой (в случае химического вида пригара) зависит от условий затвердевания жидкости, цементирующей пригар.
Сущность
этих представлений сводится к следующему.
Прочность связи между металлом и коркой
пригара резко уменьшается, если
содержащаяся в пригаре жидкость
затвердевает в аморфном (стекловидном)
состоянии. Стеклообразный характер
пригарной массы обеспечивает уменьшение
связи этой массы с отливкой. Под «шубой»
скалывающегося стекловидного пригара
обычно обнаруживается чистая и ровная
поверхность отливки. Практическое
получение стекловидного пригара
облегчается сходством между составом
химического пригара и составом
металлургических шлаков. Известно, что
получение аморфных шлак
ов
можно достигнуть, увеличивая скорость
их охлаждения или изменяя их состав.
Рис.2. Количество центров кристаллизации N и линейная скорость роста кристаллов о в зависимости от степени переохлаждения сплава с малым (а) и большим (б) интервалами кристаллизации.
Жидкие силикатные массы требуют сравнительно незначительного переохлаждения ниже температуры солидуса для того, чтобы возникновение и рост кристаллов в этих жидкостях прекратились и чтобы вся жидкость при последующем охлаждении затвердела в стеклообразном состоянии.
Наиболее легко стеклообразные массы образуют силикатные сплавы с малым интервалом кристаллизации. Это объясняется тем, что в системах с большим интервалом кристаллизации первоначально выделяющееся твердое вещество имеет возможность свободно развиваться в виде кристалла, получая необходимый для роста материал из оставшейся еще подвижной и не слишком вязкой жидкости.
Наоборот, силикатные массы эвтектического состава или силикаты с малым интервалом кристаллизации становятся вязкими за более короткий отрезок времени, и поэтому рост кристаллов в этих системах бывает затруднен.
Конкретные значения критических скоростей охлаждения сложных силикатов очень мало изучены. Принципиальная сторона вопроса иллюстрируется предложенными И. Б. Куманиным схемами (рис.2). Он указывает, что для жидкости с малым интервалом кристаллизации уменьшение скорости роста кристаллов (сплошные линии) наступает при меньшей степени переохлаждения или, что то же самое, при более медленном ее остывании. Пунктирные линии, соответствующие числу возникающих в жидкости центров кристаллизации, имеют аналогичный характер. Из сопоставления схем составов с малым и большим интервалами кристаллизации вытекает, что при поздней выбивке отливок и при охлаждении их вместе с формой важно иметь пригарную корку, сцементированную жидкостью отличающейся малым интервалом кристаллизации. Такая жидкость, даже при сравнительно медленном остывании отливки (а, следовательно, и при медленном остывании пригара), образует стекловидную пригарную массу, легко отделимую от металла.
Интервал кристаллизации пригарной массы, образующейся на поверхности соприкосновения металла и формы, уменьшается по мере сокращения содержания кремнезема в этой массе и по мере насыщения ее основными окислами. Одновременно падает температура затвердевания пригарной жидкости, и, следовательно, количество этой жидкости и толщина пригарного слоя возрастают. Таким образом, получение чистых отливок с легкоотделяющимся стекловидным пригаром сопровождается не уменьшением, а увеличением массивности пригарных корок, при этом особенностью корок является их высокая хрупкость и отсутствие прочной связи с отливкой.
В наибольшей степени интервал кристаллизации пригарной жидкости (и понижение температуры ее затвердевания) сокращается при добавлении в смеси краски или окислов щелочных и щелочноземельных металлов.
Известно, что при использовании смесей с жидким стеклом получаются чистые стальные отливки, покрытые сверху слоем легкоотделимого пригара.
Для затвердевания пригарной жидкости в стеклообразном состоянии требуется некоторое ее переохлаждение ниже температуры солидуса. Иными словами, пригарная жидкость любого состава получит аморфное строение только в том случае, если скорость ее охлаждения превысит некоторую минимальную критическую скорость, характерную для жидкости данного состава.
Поэтому наряду с введением в смеси специальных добавок (например, жидкого стекла) одним из эффективных способов борьбы с пригаром является применение формовочных смесей с повышенной способностью отводить тепло от отливки. Интенсивность охлаждения отливки зависит от соотношения коэффициентов аккумуляции тепла металла и формы. Коэффициент аккумуляции тепла формовочной массы (Bф=К с y , где К—коэффициент теплопроводности, с — теплоемкость и у — удельный вес) может практически изменяться в широких пределах без увеличения скорости охлаждения отливки, т. е. без возможности образования трещин в металле.
В качестве специальных формовочных материалов могут применяться хромомагнезит, хромистый железняк, магнезит, а также в виде добавки в обычные песчано-глинистые смеси — чугунная стружка и другие вещества с высокой теплопроводностью, теплоемкостью и удельным весом.
Устранению пригара содействует также инертность специальных формовочных материалов по отношению к заливаемому сплаву и его окислам. Значение инертности легко проследить при литье специальных сталей. Например, при производстве отливок из высокомарганцовистой стали замена кварцевого песка в составе формовочной смеси чистым молотым магнезитом устраняет пригар не только вследствие увеличения теплопроводности этой смеси, но и ввиду инертности окиси магния (MgO) по отношению к закиси марганца (МnО) и закиси железа (FeO).
Таким образом, по представлениям И. Б. Куманина, формовочные материалы с повышенным коэффициентом аккумуляции тепла содействуют получению стекловидного пригара благодаря увеличению степени переохлаждения пригарной корки; жидкое стекло приводит к тем же результатам вследствие уменьшения критической величины переохлаждения, необходимой для получения пригара в аморфном состоянии. Специальные формовочные материалы с высоким коэффициентом аккумуляции тепла так же, как и жидкое стекло, могут применяться независимо друг от друга, однако в наиболее ответственных случаях, особенно при производстве крупных стальных отливок, целесообразно совместить оба способа борьбы с пригаром и этим обеспечить получение литья с чистой и гладкой поверхностью.
Следовательно, в зависимости от химического состава пригарной жидкости, температуры нагрева формовочной смеси, длительности контакта металла и формы, скорости охлаждения затвердевшее пригарное вещество может иметь либо кристаллическое, либо аморфное строение.
В первом случае пригар трудно отделим от отливки, во втором случае пригар будет образовываться, но вследствие аморфного (стекловидного) строения его отделение от отливки будет происходить очень легко.
И. Б. Куманин считает, что именно в этом заключается принципиальное отличие условий применений смесей с жидким стеклом для стальных и чугунных отливок.
В стальном литье при использовании смесей с жидким стеклом в подавляющем большинстве случаев образуется аморфная легкоотделимая пригарная корка, под которой обнаруживается чистая поверхность отливок. Поэтому дополнительной окраски стержней и форм при стальном литье, как правило, не требуется. В противоположность этому на чугунных отливках при использовании смесей с жидким стеклом образуется трудноотделимая корка пригара. Поэтому возникает необходимость в окраске стержней и форм
А. А. Горшков и Б. И. Мархасев на основании рентгеновского и петрографического анализов считают, что на поверхности раздела металл — песчано-глинистая форма образуются силикаты железа в кристаллическом (фаялит) и в стекловидном (железистое отекло) состояниях. При этом условия образования пригара и трудность его отделения от поверхности отливок определяются ионными силами электростатического притяжения катионов Fe'1"2 и анионов SiO"4, возникающими при взаимодействии металла и двуокиси кремния, составляющей основу обычного кварцевого песка.
По наблюдениям Б. И. Мархасева введение в формовочные смеси кальцинированной соды приводит к образованию на поверхности стальных отливок пленки окалины и легкому отделению пригарного слоя от поверхности отливок.
По мнению К. И. Ващенко и С. П. Дорошенко, прямой связи между образованием легкоотделимых пригарных корок и количеством стекловидной фазы не наблюдается. Наоборот, стекловидная фаза более склонна к сцеплению с металлом, чем кристаллическая фаза такого же состава. На основе исследований К. И. Ващенко и С. П. Дорошенко пришли к выводу, что причиной легкого отделения пригарной корки от отливки является слой окислов железа, образующихся между отливкой и пригарной коркой [10]
Если толщина слоя окислов составляет примерно 100 мк, пригарная корка легко отделяется. При меньшей толщине отделение пригарной корки затруднено.
Именно этим исследователи [10] объясняют легкое отделение пригарного слоя при изготовлении в формах с жидким стеклом стальных отливок и в аналогичных условиях трудное отделение корки на чугунном литье. Влияние теплоаккумулирующей способности формы на условия образования легкоотделимого пригара они отрицают.
Заметим, что по нашему мнению, в перспективе, введением в смеси с жидким стеклом специальных добавок удастся, не прибегая к окраске стержней и форм, также и на чугунных отливках получить чистую, свободную от пригара поверхность. Некоторые шаги в этом направлении были сделаны в работе И. В. Рыжкова, вводившего в составы смесей с жидким стеклом флюорит, а также исследовавшего смеси, состоящие из полевого шпата, кремнезема, каолина и жидкого стекла. Перейдем к экспериментальному рассмотрению условий образования пригара на стальных и чугунных отливках при использовании смесей с жидким стеклом.
2.Методы
качественной оценки пригара.
2. КАЧЕСТВО ПОВЕРХНОСТИ ОТЛИВОК
Шероховатость отличается от пригара тем, что
концентрация окислов на поверхности металла отливки недостаточна для образования промежуточного соединения, вызывающего плотное приставание поверхности формы к поверхности отливки;
как и при химическом пригаре, отдельные выступы на поверхности формы не превосходят радиуса зерна формы.
Качественная оценка величины пригара, предложенная Уральским политехническим институтом, представлена в табл.3. Категории пригара характеризуются степенью трудности удаления пригара при очистке и способами его удаления. Говорить о прочности сцепления механического пригара с отливкой нет смысла, так как в этом случае трудность удаления пригара определяется прочностью самого металла и частотой струек, проникших в форму, на единицу площади. Поэтому в дальнейшем целесообразно говорить о прочности сцепления либо полностью окисленного механического пригара, либо чисто химического пригара. Последний случай часто встречается при использовании жидкостекольных форм для чугунного и высоколегированного литья.
Прочность связи двух разнородных фаз (в нашем случае металла и пригарного вещества) при нормальной температуре определяется несколькими факторами.
Ф. Д. Оболенцев[6] приводит классификацию пригара по способам, необходимым для его удаления, и виду отделяемых частиц пригара (табл. 1).
Таблица 1
КАЧЕСТВЕННАЯ ОЦЕНКА ПРИГАРА
|
Категория пригара |
Степень трудности удаления пригара при очистке |
|
Очень сильный |
Пригар с большим трудом удаляется пневматическим зубилом и только вместе с металлом тела отливки. Поверхность отливки после очистки иссечена зубилом, и на ней остаются полосы прочно пригоревшей смеси |
|
Сильный |
Пригар с трудом удаляется пневматическим зубилом. Поверхность отливки иссечена зубилом. Местами остаются участки пригоревшей смеси |
|
Средний |
Пригар хорошо удаляется пневматическим зубилом. Ручным зубилом тоже может быть удален, но с большим трудом. Поверхность после очистки очень шероховатая |
|
Слабый |
Пригар успешно удаляется ручным зубилом. Поверхность отливки после очистки немного шероховатая |
|
Очень слабый |
Пригар легко очищается ручным зубилом. Поверхность отливки после очистки не имеет следов пригара |
|
Нет пригара |
Поверхностный слой спекшейся смеси легко очищается даже без применения ручного зубила ударами молотка. Поверхность отливки после очистки гладкая |
С другой стороны, если пригар легко удаляется при проведении какой-либо операции, предусмотренной общим технологическим процессом изготовления отливок (термообработка, дробеструйная очистка и. т. п.), можно допускать на отливках образование пригара определенной величины.
Поэтому естественно стремление литейщиков классифицировать пригар по прочности сцепления с отливкой и дать количественную оценку величины пригара.
Ф. Д. Оболенцев приводит классификацию пригара по методам, необходимым для его удаления, и по виду отделившихся частиц пригара (табл.2).
Таблица 2
КЛАССИФИКАЦИЯ ПРИГАРА ПО СПОСОБАМ, НЕОБХОДИМЫМ ДЛЯ ЕГО УДАЛЕНИЯ
|
Способ удаления пригара |
Балл |
Способ удаления пригара |
Балл |
|
|
Ударом молотка по отливке Стальной щеткой (ручной или механической) Пескоструйной очисткой Дробеструйной очисткой |
1 2 3 4 |
Пневматическим зубилом: - пластами - мелкими частицами вместе со слоем металла |
5 6 |
|
значения при одинаковой толщине пригарной корки метод Н. Т. Жарова дает одинаковые работы для пригара 5, 6 и 7-го баллов (см. табл.2), и, наоборот, для пригара, отделяющегося пластами (5-й балл), величина работы будет зависеть от толщины пригарной корки, хотя прочность сцепления пригара с отливкой остается одной и той же.
По сопоставлению величин затраченной работы на удаление пригара со временем очистки отливок производственными способами получены корреляционные соотношения, позволяющие рассчитать относительную величину трудозатрат, необходимую для удаления исследуемого пригара в производственных условиях.
Таблица 3
|
Способ очистки отливок |
относительная величина трудозатрат для удаления пригара Корреляционное соотношение |
|
Галтовочный барабан Пневматический молоток Пескоструйная камера Дробеметный барабан |
tv. б == -50,6 + + 113,6Ауд Тп.м== 5,23+2,11Ауд Тп.к= 0,14+0,012Тс Тд. Б = 24,91 + + 17.33Ауд+ 1,5Тс |
И.Б. Куманиным предложена классификация пригара (табл.4) в основу которой положено представление о том, что пригар всегда состоит из зерен наполнителя, сцементированных затвердевшей жидкостью. Этой жидкостью могут являтся металл или его окислы, проникшие в поры формы, или легкоплавкие соединения и сплавы, образовавшиеся в результате взаимодействия между окислами металла и формовочными материалами, или, наконец, жидкое вещество может возникнуть в самом формовочном материале за счет расплавления примесей, входящих в его состав, или же за счет образования легкоплавких силикатов.
|
Классификация пригара по способу его удаления ( по И.Б. Куманину) Таблица 4
|
|||||
|
Условная степень пригара |
Характеристика слоя пригара |
Способ удаления пригара |
Механический |
Термический |
Химический |
|
Характеристика пригарных корок |
|||||
|
0 (нулевая) |
Легкоотделимый |
При выбивке |
Не связана с отливкой. Легко отделяется в виде кусков спекшейся формовочной смеси, сохранившей зерновое строение |
Не связана с отливкой. Хрупкая, легко скалывается |
|
|
1 (первая) |
Отделимый |
При очистке литья |
Наружная часть корки рассыпчатая. Отливка умеренно связана с коркой. Четкая граница между пригаром и металлом |
От рассыпчатой до монолитной. Четкая граница между пригаром и металлом. Умеренная связь с отливкой |
|
|
2 (вторая) |
Тонкий слой трудноотделимый |
Вырубкой |
Состоит из металла и зерен формовочного материала, прочно соединена с отливкой. Толщина слоя до 4 мм |
Монолитная и прочная. Нет четкой границы между пригаром и металлом. Прочная связь с отливкой. Толщина слоя до 4 мм |
|
|
3 (третья) |
Толстый слой трудноотделимый |
Вырубкой |
Состоит из формовочного материала и металла. Прочно соединена с отливкой. Толщина слоя больше 4 мм |
Монолитная и прочная. Нет четкой границы между пригаром и металлом. Прочная связь с отливкой. Толщина слоя больше 4 мм |
3.Методы
количественной оценки пригара.
В основу количественной оценки величины пригара положены относительные величины трудозатрат на удаление пригарной корки двумя видами механического воздействия: истиранием и ударом. Для количественной оценки трудозатрат на очистку литые образцы, на которых образовался пригар, подвергают испытаниям на двух приборах. Первый из них разработан ВПТИлитпромом (г. Ленинград) и определяет время Тд стачивания пригарного слоя абразивным кругом [4]. Второй прибор, созданный в лаборатории технологии литейных процессов Челябинского политехнического института, измеряет удельную работу разрушения Луд корки пригара ударным воздействием бойка долотчатой формы [6].
3.1. Методика количественной оценки пригара.
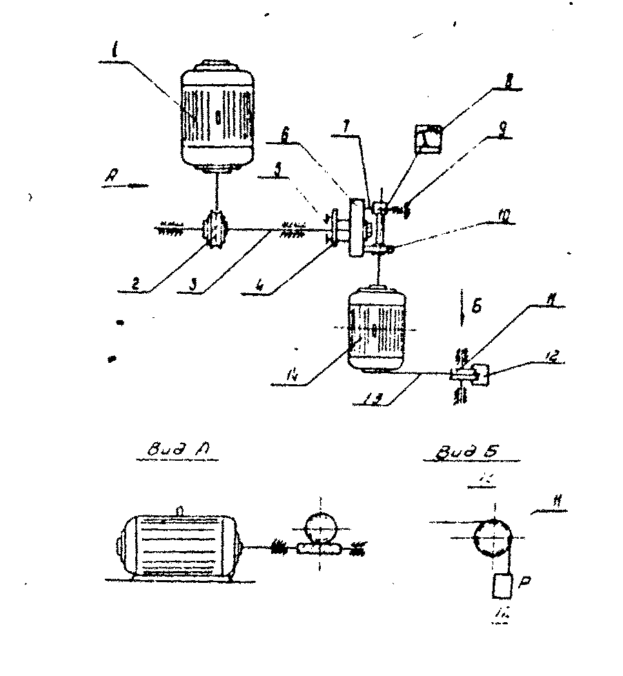
Для определения влияния того или иного фактора на образование пригара необходим метод его количественной оценки. Такой метод может быть использован при выборе рациональных технических средств (типа очистного оборудования) или при определении влияния технологических факторов (например, состава смеси) на образование чистой поверхности отливок. С этой целью был изготовлен опытный образец прибора, позволяющий производить оценку химического и механического пригара по трудоёмкости его удаления с поверхности отливок. В качестве основного критерия принято время отсутствия электрического контакта между стальным щупом и поверхностью образца. По времени, затраченному на снятие пригара при постоянном усилие обработки, числу оборотов абразивного круга и образца определяется энергия, израсходованная на удаление пригара.
Прибор состоит из двух электродвигателей (типа ДПТ-21-4, N=0,27 квт, n=1400 об/мин и типа АОЛБ-11/2, N=0,08 квт, n=2890 об/мин, имеющего возможность свободного перемещения вокруг вертикальной оси в горизонтальной плоскости), червячной пары, передающей вращательные движения от двигателя исследуемому образцу, абразивного круга и подвижного стального щупа пластинчатого типа. Прибор работает в полуавтоматическом режиме. При нажатии на кнопку «пуск» цепь управления замыкается, через обмотку магнитного пускателя проходит ток, срабатывают контакты магнитного пускателя, осуществляется одновременный пуск двигателей.
Д
вигатели
имеют различные направления вращения.
На валу двигателя АОЛБ – 11/2 закрепляется
абразивный круг с наружным диаметром
50 мм и толщиной 5 мм, двигатель ДПТ –
21-4 через редуктор передает вращательные
движения исследуемому образцу со
скоростью 20 об/мин. Режим абразивного
круга к образцу в процессе обработки
остается постоянным и осуществляется
с помощью груза посредством гибкой
связи через блок. Стальной щуп регулируется
таким образом, чтобы в процессе обработки
образца абразивным кругом он точно
фиксировал траекторию воздействия
абразива на образец по кругу.
Рис.3. Принципиальная схема прибора для количественной оценки пригара
По мере воздействия абразива на образец снимается пригарный слой, обнажается металлическая поверхность и через щуп происходит сначала кратковременное, а затем все увеличивающееся по мере обработки замыкания реле времени накопительного типа до тех пор пока сумма времени в замкнутом состоянии не достигнет времени настройки реле. При времени накопления, равном времени настройки, в цепи управления размыкаются контакты, и двигатели автоматически отключаются. Время с момента включения электродвигателей до их автоматического выключения фиксируется секундомером. Указанный процесс повторяется до тех пор, пока время обработки за цикл, замеряемое секундомером, не будет равняться времени настройки реле, что указывает на отсутствие пригара. Таким образом, время удаления комплексного пригара равно разности сумм общего времени обработки образца абразивом, замеряемого секундомером (времени работы электродвигателей за n циклов), и времени соприкосновения щупа с очищенной от пригара поверхностью образца, равного произведению времени настройки реле на число циклов:
Т=(t>n> + t>n-1> + ...+ t>1> + t>0>) - nt (3.1)
где T – время удаления пригара с образца;
t>0> ,t>n> ,t>n-1> - время обработки образца за цикл;
t – время настройки реле;
n – число циклов.
При времени обработки за цикл t>0>, равном времени настройки реле времени t, пригара нет.
Исследования проводились на образцах в форме пластин размером 80х80 мм, толщиной 15, 30, 45, 60 мм, заливаемых в блок 80х80х310 мм и разделенных друг от друга стержнем из исследуемой смеси толщиной 40 мм.
Работоспособность прибора проверялась при исследовании пригарообразования на чугунных образцах марки Сч 15-32, отлитых в формы из жидких само отвердевающих смесей. В исходную смесь вводились добавки: каменно угольная пыль (1-3%), инден-кумароновая смола (0,25-2,0%), сульфитно-спиртовая барда (0,5-1,25%), алюминиевая пудра (0,25-0,75%), мазут (0,5-1,5%), смола С1 (0,25-1,0%), торфяная зола (0,5-1,0%). Результаты исследований (рис.1) показали, что наименьшей склонностью к образованию пригара обладают смеси с добавкой инден-кумароновой смолы (2%), древесного пека (5%) и каменноугольной пыли (3%); время, затраченное на удаление пригара при применении этих добавок, для образца толщиной 60 мм, колебалась в пределах 1-5 сек., тогда как на удаление пригара при применении торфяной золы (1%) и сульфитно – спиртовой барды (1,25%)затрачивалось 150 –400 сек. Широкий диапазон времени удаления пригара (от 1 до 400 сек.) свидетельствует о возможности использования данной методики при выявлении влияния различных технологических факторов на величину пригарной корки.
На рис.2 показано влияние содержания инден-кумароновой смолы и толщины образца на трудоемкость удаления пригара. Увеличение толщины стенки с 15 до 60 мм при применении смеси с добавкой инден-кумароновой смолы в количестве 0,25% приводит к увеличению времени обработки с 2 до 30 сек,а уменьшение содержания добавки с 2 до 0,25% способствует образованию пригара.
В результате исследований было выявлено влияние содержания и типа добавок на образование пригара и подтверждена возможность использования данного метода для количественной оценки пригара.
3.2.Определение удаляемости пригара с поверхности
отливок с помощью щеток
Отливки, полученные в песчаных формах, всегда имеют на поверхности более или менее прочно с ней связанный слой материала формы, т. е. Пригар. В одних случаях формовочная смесь в слое пригара полностью становиться непригодной к повторному употреблению, примером чего может служить корка, образующаяся на поверхности отливок из стали Г1ЗЛ. В других случаях спекшаяся смесь не теряет своих свойств, но в процессе удаления с поверхности отливки большая часть зерен размельчается и становиться негодной для повторного использования. Поэтому часть смеси, поступающая с отливками в очистные отделения, направляется обычно в отвал, независимо от наличия регенерационной установки. Поскольку для сохранения постоянства объема формовочной смеси, находящейся в обороте цеха, ежедневно должно удаляться количество отработанной смеси, равное количеству поступающих в цех свежих песков и глин, толщина корки пригара большого интереса не вызывает. Иначе обстоит дело с прочностью сцепления корки пригара с поверхностью отливки. Представляется целесообразным основной характеристикой пригара считать силу его сцепления поверхностью отливки или её обратную величину – удаляемость.
В работах [6] предлагаются классификации пригара, основанные на его удаляемости с поверхности отливок. Попытка выразить количественно удаляемость пригара сделана Н. Т. Жаровым [6].Мерилом удаляемости пригара предложено считать работу,затрачиваемую на его удаление абразивным кругом. У предлагаемого метода есть существенные недостатки – громоздкость установки, возможность контакта и зажигания сигнальной лампочки при соприкосновении абразивного круга с металлом, проникающим в слой пригара.
Новый прибор для определения удаляемости пригара с поверхности отливок представлен на рис.1.Прибор состоит из основания 1,на которое устанавливается испытуемый образец, стойки 2 и кронштейна 3. В отверстии кронштейна вращается бронзовая втулка 4 со шпонкой 7. Внутри втулки свободно передвигается по шпонке валик 5, на нижнем конце которого закрепляются две щетки 8, изготовленные из проволоки кордной ленты. Валик щетками опирается на поверхность образца под действием силы тяжести. При вращении втулки за рукоятку 6 щетки передвигаются и счищают пригар с кольцеобразного участка поверхности отливки. Для эффективного удаления пригара рукоятка прибора поворачивается попеременно в ту или другую сторону. Так как сила прижима щетки к поверхности отливки, количество и длина проволок щетки, а также площадь, очищаемая от пригара, - величина постоянные, количество «проходов» щетки может служить мерилом относительной оценки удаляемости пригара. Момент окончания процесса удаления пригара в первоначально изготовленном приборе определялся визуально. Прибор показал достаточную чувствительность и повторяемость результатов.

Рис. 4. Лабораторный прибор для определения удаляемости пригара
Для исследования
удаляемости пригара на отливках была
разработана специальная клиновидная
технологическая проба (рис.5).
Проба имеет тело переменной толщины и
полузамкнутую часть,
через которую пропускается металл.
Расположение питателей позволяет
размещать модель пробы на модельной
плите у шлаковика или у какой-либо части
отливки.
При выбивке проба отделялась от отливки
и подвергалась исследованию.
Опыты показали, что для
удаления пригара с поверхности образца
в месте,
имеющем толщину 20 мм,
т
ребовалось
15-20 «проходов» щетки при единой смеси
и 5-15 «проходов» – при применении
облицовки; при толщине 25мм для удаления
пригара требовалось 30-35 и 10-25 оборотов
и при толщине 35 мм
соответственно 25-40 и 15-30 оборотов. Меньшие
числа относятся к боковой поверхности
со стороны,
противоположной месту поступления
металла в форму,
б
Рис. 5. Модель технологической
пробы для определения удаляемости пригара
ольшие – к нижней поверхности образца.Прибор неприменим на крупном стальном со сплошной коркой пригара, не поддающейся удалению металлической щеткой. Но на мелком и среднем чугунном и стальном литье, особенно в условиях массового производства с преобладанием механического и слабоспекшегося пригара, он может найти применение.
Путем экспериментов сопоставлению величин Те и Ауд. со временем очистки отливок производственными способами получены корреляционные соотношения, позволяющие рассчитывать относительную величину трудозатрат, необходимую для удаления исследуемого пригара в производственных условиях .
Различают три вида пригара: термический, механический и химический. Принятое разделение условно; оно облегчает описание явления, а при изучении конкретных случаев пригара позволяет оценить, какой вид пригара является преобладающим, чтобы принять меры по устранению дефекта. В действительности же условно выделенные виды пригара появляются большей частью совместно, так как процессы, их вызывающие, взаимосвязаны.
3.3.Прибор для количественной оценки пригара кафедры МиТЛП ВолгГТУ.
Количественная оценка пригара на отливках необходима для оценки противопригарного действия различных добавок в формовочную и стержневую смесь и для оценки эффективности противопригарных красок.
За единицу измерения пригара целесообразно принять работу, затраченную на очистку 1 м² поверхности отливки.
На кафедре '' Машины и технологии литейного производства'' ВолгГТУ был разработан и испытан прибор , для получения прочности на истирание быстросохнущих красок .
Прибор состоит из воронки 1 в которую насыпают стальную дробь диаметром1,5 –2 мм, стеклянной трубки 2 ,направляющей струю дроби на исследуемую отливку 3 и ящика 4 ,необходимого для сбора дроби.
Поверхность отливки с пригаром устанавливается под углом 45° к оси трубки.
Дробь сыплется на поверхность отливки с пригаром до тех пор, пока не будет удалена пригарная корка.
Работа по удалению пригара рассчитывается по следующей формуле:

где m- масса израсходованной дроби, кг;
g- ускорение свободного падения, м/с²;
h- высота падения дроби;
а – площадь поверхности отливки очищенной от пригара, м²
С помощью данного прибора оценивается работа по удалению пригара на стальных отливках с толщиной стенок 15мм, полученных с помощью стержней, окрашенных краской на основе пасты ЦБИ.
Работа по удалению пригара с поверхности окрашенных стержней составила 44 кДж/м², на поверхностях полученных на неокрашенных стержнях 67 кДж/м².
3.4. Метод количественной оценки пригара предложенный Челябин ским Политехническим Институтом
Работая над улучшением чистоты поверхности отливок из углеродистой стали, заметили, что между коркой пригара и металлом имеется больший или меньший зазор. Сначала его образование объяснили усадкой, но такой же зазор был и с внутренней стороны, где стержни или части формы остывающей отливкой сжимались. Установили, что прочность связи корки пригара с поверхностью отливки определяется относительной площадью зазора, т. е. вычисленной по отношению к общей площади соприкосновения формы с отливкой.
У
Рис.6 Образец из углеродистой стали
словия образования зазора исследовали специально. В образец 2 исследуемой смеси диаметром 2 и длиной 4 мм заформовывали стержень 1 диаметром 0, 62 мм и длиной 3 мм из углеродистой стали (рис. 1). Его помещали в герметичную печь 5 (рис.7) с платиновым нагревателем, высокотемпературным микроскопом 7 МВТ, микрофотонасадкой 8 МФ-2 и системой регулирования и контроля температуры, опытных образцов 4 (рис.7: 1 — стабилизатор напряжения СТ-200;2 — ЛАТР-2; 3 — УТН-1: 6 — вольтметр: 9 — опак-иллюминатор). До заданной температуры до 1400°С в различной атмосфере печи образцы нагревались платиновой спиралью 3(см. рис.6) через 3 сек после включения тока. Исследовали образцы песчано-глинистых, песчано-масляных, жидкостекольных смесей и смесей огнеупорных материалов — циркона, корунда, глинозема, магнезита и др. Параллельно исследовали пригар на плитах 185Х110Х35 мм и втулках с наружным 190 и внутренним диаметром 120 мм, высотой 140 мм, а также на стальных производственных отливках.При нагреве до 1400°С в воздухе или техническом азоте металлические стержни сразу же покрывались пленкой жидких окислов металла, которые, взаимодействуя со смесью, образовывали окисный расплав, проникавший в поры смеси па различную глубину и с различной скоростью. В зависимости от степени поглощения расплава между отливкой и формой и образовывался зазор величины, различной по площади сечения (рис8: белые пятна — зерна кварца; серое — стальной стержень, темное — зазор).
У
Рис.7 Схема печи с платиновым нагревателем
становлено, что в жидкостекольных смесях зазор появляется через 30—50 сек, на песчано-глинистых — через 1, 2—2 мин, а на песчано-масляных — через 2, 5 мин после начала высокотемпературной выдержки, что объясняется различием в количестве и вязкости образующихся силикатных расплавов. По тем же причинам зазор между стальным образцом и цирконовой, с 5% бентонита, формой появлялся лишь через 5 мин, а в корундовой и магнезитовой не образовался и через 10 мин. Атмосфера в печи заметно влияла на величину и скорость образования зазора: в пропан-бутане смесь с металлом стержня не взаимодействовала и зазор не появлялся даже через 10 мин., а в техническом азоте и воздухе скорость его образования резко возрастала.Степень окисления оценивали по остаточному диаметру металлического стержня. На рис. 4 представлен график его уменьшения в смеси 90% кварцевого песка К016 и 10% жидкого стекла с выдержкой при 1400°С на воздухе 1 и в техническом азоте 2. Изменение угла наклона кривых при 5 сек объясняется уменьшением скорости окисления в результате появления силикатного расплава, затрудняющего доступ кислорода к металлу.
В этих же атмосферах определили скорости миграции силикатных расплавов из контактной зоны в норы смеси на воздухе 1 и в азоте 2. Повышенная скорость миграции в первые 10 сек связана с механическим внедрением в смесь жидких окислов железа из-за увеличения объема стального образца при окислении. Отмеченные данные подтвердили анализ шлифов граничных слоев плит,
в
Рис.8. Схема корки пригара
тулок и производственных отливок. Если сталь в поры формы не проникала, то корка пригара соединялась с отливкой застывшим железисто-силикатным расплавом как мостиками. Корка пригара на глубину до 15 мм пропитана темными силикатами с повышенным содержанием окислов железа. Ее поверхность со стороны отливки, где был зазор, глянцевая, а в местах контакта с отливкой — матовая или цвета излома железистого силиката. Средняя относительная площадь контакта корки пригара с отливкой (суммарное сечение мостиков, отнесенное к общей площади корки) для легкоотделимого пригара жидкостекольных смесей по результатам замеров с микрометрической сеткой на 100 пригарных корках составляла 1—15%. При тех же условиях замеров для трудноотделимого пригара она составляла более 40%. При этом зазор по сечению был примерно в 2 раза меньше, чем в граничном слое корки легкоотделимого пригара.Таким образом, указанные величины, при прочих равных условиях, могут количественно характеризовать прочность связи пригара с отливкой. Установлено, что отделение корок пригара с одинаковой контактной площадью, но различных по составу исходной смеси или полученных при разных скоростях охлаждения отливок требует разных усилий: корки пригара, удерживаемые мостиками из закристаллизованного вещества, отделяются легче, чем связанные с
отливкой стекловидным веществом.
Механизм образования химического пригара представляется следующим образом.
П
осле
заливки формы поверхность отливки 1
покрывается слоем 2 окислов и силикатов
железа (рис. 6, а: 3 — зерна кварца, 4 —
пленка крепителя). Скорость окисления
стали в первый момент после затвердевания
отливки 5 (рис.10, б)
при наличии в порах формы большого
количества свободного кислорода велика
(рис.10) [14], образующийся окисный расплав
накапливается в граничной поверхности,
увеличивая относительную площадь
контакта отливки и формы. Часть расплава
проникает в глубь формы между зернами
песка, образуя и связывая корку пригара
с отливкой (см. рис.10,
б). В дальнейшем окисление
поверхности отливки резко замедляется
вследствие уменьшения окислительной
способности газов в форме и снижения
температуры металла, скорость образования
нового окисного расплава на граничной
поверхности становится меньше скорости
его миграции в глубь формовочной смеси,
и между отливкой и формой или стержнем
возникает зазор (см. рис.10, б). При этом
относительная площадь контакта металла
с формой уменьшается. Ширина зазора
слагается из толщины окисленного слоя
металла и величины растворенного
окислами по-
Рис.10Механизм образования пригара
верхностного слоя формы. Строение корки пригара в стадии в всегда соответствует легкоотделимому пригару.
3.5. Метод оценки пригара по прочности сцепления
Влияние усадки отливки на формирование пригара проявляется в том, что при отходе металла от формы, если последняя не разрушается, ширина и площадь зазора увеличивается, а при сжатии формы или стержня — наоборот (см. рис.10). Этим пригар на наружных поверхностях отливок отличается от пригара на внутренних при использовании одинаковых смесей. При механическом проникновении стали в поры формы стадия в наступает лишь после полного окисления просеченной части металла и миграции ее в виде окисного железистого расплава в глубь формы. Практически это происходит при очень длительном температурном воздействии отливки на форму в условиях окислительной атмосферы
У
становлено
также, что пригар различных смесей
формируется по приведенной схеме с
характерными для каждой смеси
особенностями. Например, температура
плавления и вязкость силикатного
расплава .—FeO,
образующегося при использовании
жидкостекольных смесей, относительно
низкие, что и объясняет его повышенную
скорость миграции в глубь формы или
стержня. Различия свойств образующихся
окисных расплавов и обусловливают
различное время температурного
воздействия для наступления той или
иной стадии строения корки пригара при
прочих равных условиях. Следовательно,
при постоянной температуре заливки
наступление той или иной стадии строения
пригарной корки зависит в основном от
толщины стенки отливки, применяемой
формовочной смеси и характера атмосферы
в форме.
По результатам исследований были разработаны практические рекомендации по предотвращению пригара на отливках из углеродистой стали.
При статическом напоре металла в форме из смеси на Кичигинском песке 1К0315А, не превышающем Нкр для данной смеси [2], химический пригар предотвращают так. При изготовлении отливок с толщиной стенки до 10—12 мм целесообразнее получать малоразвитый пригар (стадия, а на рис.10), для чего в смесь необходимо добавлять органические вещества, образующие восстановительные газы (битум, мазут, каменноугольная пыль и др.), замедляющие окисление металла и, следовательно, наступление стадии б в строении пригара (см. рис.10). На отливках со стенками 10—35 мм из-за большого времени воздействия высокой температуры процесс развивается до стадии трудно отделимого пригара (см. рис.10, б). Органические добавки здесь уже малоэффективны, но покрытия на основе маршалита, глинозема, циркона, корунда, алюминиевой пудры снова позволяют получать малоразвитый пригар. Отливки с толщиной стенок свыше 35 мм получаются с легкоотделимым пригаром, так как процессы переходят в стадию в.
Добавки в смесь, создающие восстановительные газы. которые могут задержать развитие процессов на стадии б, в этом случае вредны. Нежелательны глины, шпаты, шлаки и т. д., увеличивающие вязкость и снижающие скорость миграции контактного расплава в форму. Окислительная атмосфера в форме или стержне при охлаждении отливки является положительным фактором, так как ускоряет все процессы, увеличивающие толщину и площадь зазора. Последнее подтверждено производственным применением кислорода для получения отливок с чистой поверхностью.
При использовании песчано-глинистых смесей для отливок с толщиной стенки до 20—25 мм из исходного песка должны быть удалены глина, пыль; в формовочной смеси не должны быть остатков жидкостекольной смеси, примесей железных руд, шпатов и других легко спекающихся плавней. Добавка в смесь малозольных веществ (мазута, раствора битума) положительные результаты. Небольшие 0, 2—2% добавки в формовочную смесь Мg2СОз, NaCI и других солей, а также замена глин бентонитами создают условия для получения;
легкоотделимого пригара. Формы и стержни отливок со стенками 25—50 мм рекомендуется покрывать красками или па стали на основе маршалита, циркона, корунда, так как при таких толщинах отливок наступает трудноотделимая стадия; пригара б (см. рис.10). Наружные сферические поверхности отливок со стенкам 50—70 мм получаются с легкоотделимым пригаром в (см рис.10). Здесь сказываются усадка металла и прочность формы в горячем состоянии, чему способствует зазор. Увеличит прочность формы при высокой температуре можно добавкам в исходную смесь жидкого стекла, железных руд и других плавней. Внутренние поверхности таких отливок рекомендуется покрывать пастами или облицовками на основе циркона корунда, хромомагнезита и магнезита.
В формах из песчано-масляных и песчано-смоляных смесей отливки с толщиной стенки до 15—25 мм получаются с мало развитым пригаром. Песок в этом случае должен быть очищенным от глин и других плавней, а крепители не должны после выгорания оставлять много золы. Более толстостенные отливки следует изготовлять с применением высокоогнеупорных покрытий из маршалита, циркона (для стенок 30—60 мм и корунда, хромомагнезита, магнезита для стенок толщиной более 60 мм).
При превышении критического напора металла в форме следует применять либо более мелкозернистые пески, либо специальные мелкозернистые высокоогнеупорные материалы виде покрытий и облицовок на формах и стержнях. Характер атмосферы в форме после заливки при применении пере численных высокоогнеупорных материалов влияет менее заметно, чем при применении кварцевых песков. С увеличением окислительной способности газов лишь несколько снижается огнеупорная стойкость противопригарного покрытия, особенно на основе маршалита и циркона. Меры по устранению пригар сводятся к подбору вида покрытия в зависимости от толщины стенки. Для форм и стержней отливок с толщиной стенки 20—25 мм достаточно маршалитовых красок. Формы и стержни отливок со стенками 25—50 мм требуют покрытия красками или пастами на основе глинозема, циркона или корунда.
Формы и стержни более толстостенных отливок целесообразно покрывать пастами на основе корунда, хромомагнезита магнезита. Данные рекомендации были проверены в условия Челябинского завода «Строммашина» и дали положительные результаты.
С другой стороны, если пригар легко удаляется при проведении какой-либо операции, предусмотренной общим технологическим процессом изготовления отливок (термообработка, дробеструйная очистка и. т. п.), можно допускать на отливках образование пригара определенной величины.
Поэтому естественно стремление литейщиков классифицировать пригар по прочности сцепления с отливкой и дать количественную оценку величины пригара.
Ни одна классификация, если она не связана с физическими характеристиками, конечно, не может охватить все случаи пригара, встречающиеся на практике, особенно, если учесть новые методы очистки отливок (например, пламенем газовых горелок, электрохимическим методом и т. д.).
Говорить о прочности сцепления механического пригара с отливкой нет смысла, так как в этом случае трудность удаления пригара определяется прочностью самого металла и частотой струек, проникших в форму, на единицу площади. Поэтому в дальнейшем целесообразно говорить о прочности сцепления либо полностью окисленного механического пригара, либо чисто химического пригара. Последний случай часто встречается при использовании жидкостекольных форм для чугунного и высоколегированного литья.
Прочность связи двух разнородных фаз (в нашем случае металла и пригарного вещества) при нормальной температуре определяется несколькими факторами.
При охлаждении из-за разной природы, следовательно, различных термических коэффициентов линейного сжатия на границе раздела металл—пригарное вещество возникают напряжения, могущие при некоторых условиях привести к самопроизвольному отделению пригара от отливки. Очевидно, по сопоставлению коэффициентов расширения и сжатия металла и пригарного вещества можно судить о большей или меньшей вероятности получения легкоотделимого пригара.
Отделяемость пригара будет зависеть также от прочности и пластичности пригарного вещества и от прочности связи пригара с металлом, определяемой поверхностными силами на границе раздела фаз (величиной работы адгезии). Первые две характеристики прочность и пластичность пригара могут быть найдены обычными методами. Основная трудность при этом (так же, как и при дилатометрических испытаниях) состоит в получении образца пригарного вещества необходимых формы и размеров.
Максимальная прочность сцепления будет наблюдаться в случае, когда коэффициенты линейного сжатия металла и пригарного вещества равны. Тогда на границе раздела не возникают напряжения, и работа, необходимая для отрыва пригара от отливки, будет соответствовать работе адгезии. Хотя такого соответствия коэффициентов усадки на практике не встречается, с определенными допущениями работа адгезии может быть характеристикой прочности сцепления пригара с металлом. Например, при изменении содержания какого-либо компонента можно с достаточной обоснованностью пренебречь изменением коэффициента усадки металла; тогда адгезия одного и того же пригарного вещества может быть достаточно наглядной характеристикой сил сцепления.
Работа адгезии, отнесенная к единице площади контактной поверхности, для случая контакта твердой и жидкой фаз (формовочный материал и жидкий металл или твердый металл и жидкое пригарное вещество) может быть выражена уравнением
А = σ ж(1 + cos θ) (3.3)
где σж— поверхностное натяжение жидкой фазы
θ — краевой угол смачивания жидкостью твердого тела.
Из этого уравнения следует, что чем выше поверхностное натяжение жидкости и cos θ, тем прочнее связь между обеими фазами.
Таким образом, для определения адгезии достаточно найти поверхностное натяжение и краевой угол смачивания. Правда, в этом случае будет получена величина адгезии жидкости и твердого тела, тогда как нас интересует адгезия между двумя твердыми фазами (затвердевший химический пригар и твердый металл). Однако известно, что поверхностные энергии твердой и жидкой фаз одного вещества не очень отличаются. Поэтому полученные по уравнению величины адгезии могут быть с достаточной степенью точности применимы для оценки сил сцепления двух твердых фаз. Вопросу определения поверхностного натяжения расплавов посвящено значительное число исследований.
Рис.12. Работа адгезии расплава силиката натрия к твердым металла в зависимости от содержания углерода в сплавах Fe—C
Н
а
рис. 12 приведена
зависимость работы адгезии расплава
силиката натрия при 1000° С к твердым
железоуглеродистым сплавам от содержания
угле рода в последних, полученная на
описанной выше установке . При уменьшении
содержания в металле углерода до
2%адгезия силикатного расплава
скачкообразно проведенная экспериментальная
проверка на технологических пробах,
имеющих форму ступенчатой плиты,
подтвердила, что при уменьшении углерода
в сплаве Fe—С
до 2% можно получить чистые, без пригара
отливки в жидкостекольных формах, не
окрашиваемых противопригарной краской.
При этом переход от совершенно чистой
отливки к отливке, полностью покрытой
пригаром, наблюдался при увеличении
содержания углерода с 2,2 до 2,8%, т. е.
практически тоже
скачкообразно.
Описанный метод требует создания довольно громоздкой установки. Кроме того, в ряде случаев этот метод не позволит уловить различие в трудоемкости удаления пригара разного вида. Например, при одинаковой толщине пригарной корки метод Н. Т. Жарова дает одинаковые значения работы для пригара 5, 6 и 7-го баллов (см. табл.4), и, наоборот, для пригара, отделяющегося пластами (5-й балл), величина работы будет зависеть от толщины пригарной корки, хотя прочность сцепления пригара с отливкой остается одной и той же.
В качестве одного из таких методов можно предложить метод определения прочности сцепления эмалевого покрытия с металлом, описанный в работе [7]. Измерения могут быть осуществлены при помощи простой приставки к прибору типа ПТЛ (рис.13) для испытания листового металла выдавливанием.
Стальной цилиндр 1 с крышкой 5, между которыми находится резиновая прокладка 4, соединяется с втулкой 7, вставляющейся в обойму 12 прибора ПТЛ 6 со стороны выдавливающего пуансона 11 вместо съемной матрицы. Образе 8 металла с химическим пригаром зажимают между винтом 9 прибора, он изолируется тонкой резиновой прокладкой 10 и резиновой манжетой втулки 7.
П
Рис.13. Приставка для определения прочности сцепления пригара с металлом
оверхность образца, покрытая пригаром, должна в раствор поваренной соли. К угольному электроду 3 и к зачищенному уголку быть сторону цилиндра /. Внутрь цилиндра через трубку 2 наливают 10%-ный раствор поваренной соли. К угольному электроду 3 и к зачищенному уголку образца присоединяют концы электрической цепи, питаемой через трансформатор переменным током напряжением 2,5 в (можно применять и более высокое вторичное напряжение, но не выше 12в). В цепь, включают миллиамперметр. При испытании в образец вдавливают пуансон и измеряют силу тока, проходящего через образец. Критерием прочности сцепления пригара с металлом может служить величина деформации, при которой сила тока, проходящего через образец, составляет минимальную величину.Зная толщину слоя пригара и сопротивление внешней цепи, проводников, можно установить суммарную величину площади, которая вследствие определенной деформации оказалась свободной от пригара (площадь отскоков).
Суммарную площадь отскоков 5 рассчитывают по формуле
(3.4.)
где р — удельное сопротивление электролита, равное для 10%-ного раствора NaCI 8,26 ом-см;
q — толщина слоя пригара в см;
J — сила тока в а;
U — напряжение на клеммах питающего прибора трансформатора в В;
R — сопротивление внешней цепи в ом.
Конечно, это не единственный метод измерения прочности сцепления пригара с металлом, который может быть заимствован из других отраслей. Можно определять прочность сцепления по величине разрушения пригарной корки при ударе металлического шарика соответствующего веса, падающего с некоторой высоты.
Исходя из того, что между слоем пригара и металлом всегда находится слой чистых окислов самого металла и что вероятнее всего отрыв пригара происходит по этому слою окислов, одним из авторов совместно с А. М. Ляссом и А. А. Багровым была предложена методика прямого определения прочности сцепления окисных пленок с металлом. Образцы специальной формы окислялись при заданных температуре и атмосфере в течение необходимого времени и охлаждались. Контрольной торцовой поверхностью образцы приклеивали клеем высокой прочности к захватам разрывной машины. После затвердевания клея производили обычное испытание на разрыв и определяли прочность отрыва пленки (в кгс/см2). Многочисленные эксперименты подтвердили высокую точность, чувствительность и воспроизводимость результатов. В частности, этот метод позволил установить резкое повышение прочности сцепления окисной пленки при увеличении содержания углерода в железо углеродистых сплавах более 2%, т. е. подтвердил ранее обнаруженную зависимость адгезии расплава силиката натрия от содержания углерода.
В дальнейшем указанный метод был усовершенствован, и испытаниям стали подвергать образцы, на которых предварительно получали слой пригара, прочно сцепленного с металлом .
Таким образом, довольно простая методика позволяет быстро проводить прямое определение прочности сцепления пригарного вещества с отливкой.
3.6 Прибор Челябинского Политехнического Института
Прибор, созданный в лабораторий технологии литейных процессов Челябинского политехнического института, измеряет удельную работу разрушения Ауд корки пригара ударным воздействием бойка долотчатой формы. Принцип действия прибора основан на том ,что груз 5 скользит по штоку 6, затем достигает упора ,жестко связанного со штоком и бойком 2, боек 2 передает энергию падающего груза на образец 10 ,тем самым отбивая частицу пригара от исследуемого образца .
Зная вес падающего груза и высоту его падения, легко найти работу по удалению корки пригара с поверхности отливки.
Список использованной литературы
Берг. П. П. Формовочные материалы. - М.: Машгиз ,1963.- 408с.
Валисовский И.В. Пригар на отливках. - М.: Машиностроение,1983.-192с.
Васин Ю.П.,Иткис З.Ю. Окислительные смеси в конвейерном производстве
стального литья. - Челябинск: Южно-Уральское кн. изд., 1973. - 153с.
Н.Т. Жаров .Приспособление для оценки степени пригара на образцах.-Сб. «Вопросы теории и практики литейного производства». Свердловск. Машгиз,1956.-231с.
Лясс А.М. Быстротвердеющие формовочные смеси. - М.: Машиностроение, 1965. – 332с.
Оболенцев Ф. Д. Точность и качество поверхностей отливок.-М.:Машиностроение,1962.-209с.
Получение отливок без пригара в песчаных формах/ С.П. Дорошенко, В.Н. Дробязко, К.И. Ващенко и др. - М.: Машиностроение, 1978.- 206с.
Сварика А.А. Покрытия литейных форм. - М.: Машиностроение,1977.- 216с.
Черногоров П.В., Васин Ю.П. Получение отливок с чистой поверхностью. - Москва- Свердловск : Машгиз , 1961.- 143с.
Òåìà: Àíàëèç ìåòîäîâ îöåíêè ñöåïëåíèÿ ïðèãàðà íà ñòàëüíîì ëèòüå Ðàçäåë: Ìåòàëëóðãèÿ Íàçíà÷åíèå: Äèïëîì Ôîðìàò: WinWord 8 Àâòîð:Ôîìèí À.Ñ. Èñïîëüçîâàíèå: Ãîä ñäà÷è: 2000ã. Ãäå ñäàâàëñÿ: ÂîëãÃÒÓ Êîìó: Çàùèòà Îöåíêà: îòëè÷íî