Исследование и разработка конструкции бандажированного опорного валка стана 2500 горячей прокатки
Содержание
Содержание 1
Введение 2
1Краткий обзор составных прокатных валков. Характеристика стана 2500. Сортамент стана. 3
1.1 Краткий обзор и анализ конструкций составных прокатных валков 3
1.2 Характеристика стана горячей прокатки 2500 8
1.3 Сортамент стана по маркам стали и размерам полос 9
2Исследование и разработка конструкции бандажированного опорного валка стана 2500 горячей прокатки 10
2.1 Выбор натяга, формы, толщины бандажа и расчет несущей способности соединения 10
2.2 Расчет напряжений в бандажированном опорном валке 17
2.3 Расчет на кратность использования оси составного опорного валка 31
2.4 Определение циклической выносливости в сечении 1-1 33
2.5 Определение циклической выносливости в сечении 2-2 37
2.6 Определение зоны проскальзывания и прогиба составного и цельного опорного валка 37
2.7 Определение прогиба цельного опорного валка 38
2.8 Определение прогиба и зоны проскальзывания для составного опорного валка 39
2.9 Разработка мероприятий для предотвращения фреттинг – коррозии на осадочных поверхностях и повышения поверхности валка 46
2.10 Исследование влияния покрытий сопрягаемых покрытий на несущую способность соединения ось – бандаж. Выбор материала и технологии нанесения покрытия. 48
2.11 Выбор материала оси и бандажа и способы их термообработки 52
3Рекомендации по замене использованных бандажей 56
4Экономическое обоснование проекта 57
4.1 Расчет производственной программы 57
4.2 Расчёт сметы капитальных затрат 59
4.3 Организация труда и заработной платы 60
4.4 Расчет отчислений на социальные нужды 63
4.5 Расчет себестоимости продукции 64
4.6 Расчет основных технико-экономических показателей 65
Заключение 68
Список использованных источников 70
Введение
Целью данной дипломной работы является разработка конструкции составных опорных валков, обеспечивающей их надежность в процессе эксплуатации, повышение из стойкости и снижение стоимости.
Валки являются главным элементом прокатной клети, с помощью которого осуществляется обжатие прокатываемой полосы. Требования, предъявляемые к прокатным валкам, разнообразны и касаются не только их эксплуатации, но и процесса изготовления. Прокатный валок работает при одновременном воздействии на него усилия прокатки, крутящего момента, температуры в очаге деформации и т.п. поэтому, одним из главных требований является высокая износостойкость и термоусталостная прочность, обуславливающие малый и равномерный износ валков.
Одним из путей повышения стойкости прокатных валков и снижения их металлоемкости является использование составных валков. Применение бандажей из высокопрочных материалов, возможность замены изношенных бандажей при многократном использовании оси дадут большой экономический эффект.
В настоящее время в 5,6 чистовых клетях стана 2500 ОАО ММК применяются опорные валки 1600х2500 мм, которые изготавливают из кованной стали 9ХФ. В данной работе предлагается использовать составные валки с бандажом из литой стали 150ХНМ или 35Х5НМФ. В качестве осей предлагается использовать отработанные цельнокованые валки. Опыт эксплуатации валков из подобных материалов свидетельствует, что их износостойкость в 2-2,5 раза выше, чем кованых. Соединение бандажа с осью осуществляется по посадке с гарантированным натягом. С целью увеличения передаваемого крутящего момента на посадочную поверхность оси предлагается наносить металлическое покрытие, значительно увеличивающее коэффициент трения, площадь фактического контакта оси и бандажа и его теплопроводность.
Краткий обзор составных прокатных валков. Характеристика стана 2500. Сортамент стана.
1.1 Краткий обзор и анализ конструкций составных прокатных валков
Основные достоинства составных валков:
возможность изготавливать бандаж и ось из материалов с различными механическими и теплофизическими свойствами;
возможность замены изношенного бандажа при многократном использовании оси валка;
термическую обработку бандажа оси можно производить раздельно, что позволяет увеличить прокаливаемость, получить одинаковую твердость по всей толщине бандажа и снизить градиент остаточных напряжений, который в сплошном валке большой массы весьма высок.
Выпуск бандажированных опорных валков листовых станов освоили еще в 70-х годах прошлого века. Бандаж и ось соединяются, как правило, тепловым способом по посадке с гарантированным натягом; бандажи изготавливаются кованые или литые, оси кованные, для их изготовления обычно используют списанные валки. Отверстие в бандаже чаще всего цилиндрическое, посадочное место оси может быть цилиндрическим, бочкообразным или близким к нему по форме для уменьшения концентрации напряжений у торцов бандажа после сборки.
По способу крепления бандажей составные валки можно разделить на следующие группы:
использование посадки с гарантированным натягом;
применение различных механических способов крепления бандажа;
использование легкоплавных сплавов и клеевых соединений.
Усовершенствованию конструкций, методам производства и сборки, повышению технологических характеристик составных валков посвящены многие работы отечественных и зарубежных ученых. Большое место занимают работы по обеспечению надежного соединения бандажа с осью.
Так, например, в работе [1] предлагается использовать составной прокатный валок, содержащий бандаж с натягом, и наложенный на ось с каналами, выполненными по спирали на контактирующей с бандажом поверхности, и буртом. В работе [2] предлагается к использованию валок с составным бандажом из спеченного карбида вольфрама. В ряде работ последних лет [3,4] все чаще предлагается к использованию наплавленные бандажи из высоколегированных сплавов. Во многих случаях, при упрощении технологии изготовлении валка и повышении износостойкости его поверхности, существенно возрастает стоимость, за счет применения большого числа легирующих элементов. Потому, с целью увеличения срока эксплуатации валков, многие авторы посвящают свои работы усовершенствованию конструкции составных прокатных валков.
В работах [5,6] предлагаются составные валки, содержащие несущую профилированную ось и бандаж с профилированной внутренней поверхностью, насаживаемый с натягом с возможностью свободного перемещения его участков меньшего диаметра в нагретом состоянии вдоль несущей оси через участки с большим диаметром по длине. Причем образующие поверхностей бочки оси и бандажа выполнены профилированными в виде плавной кривой по определенным зависимостям (рисунок 1,2). К недостаткам таких валков можно отнести сложность их изготовления, невозможность проконтролировать требуемую кривизну профиля посадочных поверхностей, а в случае [6] еще и ограничены сроки эксплуатации валка, вызванные малым числом возможных переточек бандажа, вследствие возникновения растягивающих напряжений в средней части от разогрева и теплового расширения несущей оси в процессе работы прокатной клети (рисунок 2). Но главным недостатком все же можно считать сложность кривых, описывающих профили сопрягаемых поверхностей, которая затрудняет процесс токарной обработки, а точность, требуемая при
и
х
изготовлении практически невыполнима
при технологиях, существующих на
машиностроительных заводах.
Рисунок 1 – Составной прокатный валок
Рисунок 2 – Составной прокатный валок
В
работе [7], в условиях стана 2500 ОАО ММК
предлагается использовать составной
опорный валок, выполненный в соответствии
со схемой на рисунке 3. Недостатком
такого валка является наличие переходного
участка оси от бурта к конусной части,
являющуюся концентратором повышения
напряжений, что может привести к поломке
оси при повышенных нагрузках и прогибе,
а также ограничение срока его эксплуатации.
Кроме того, данная конструкция
нетехнологична в изготовлении.
Рисунок 3 – Составной прокатный валок
Задачей предлагаемого изготовления составного опорного валка является наиболее простое техническое решение, которое увеличит срок эксплуатации за счет обеспечения постоянного натяга по всей длине сопрягаемых поверхностей.
Предлагается посадочное место бандажа и оси выполнить цилиндрическими, с точки зрения простоты и технологичности изготовления. На кромках оси сделать разгружающие фаски – скосы, для уменьшения концентрации напряжений. Для повышения несущей способности соединения и работоспособности валка основное внимание следует сосредоточить на выборе величины оптимального натяга, разработке мероприятий, существенно увеличивающих коэффициент трения на сопрягаемых поверхностях и теплопроводность контакта ось – бандаж.
При прочностных расчетах необходимо выбрать методику, позволяющую учитывать влияние усилий прокатки на напряженно – деформированное состояние бандажа.
1.2 Характеристика стана горячей прокатки 2500
Широкополосный стан горячей прокатки 2500 состоит из участка загрузки, участка нагревательных печей, черновой и чистовой групп с промежуточным рольгангом между ними и линии смотки.
Участок загрузки состоит из склада слябов и загрузочного рольганга, 3 подъемных столов со сталкивателями.
Участок нагревательных печей состоит из собственно 6 нагревательных методических печей, рольганга перед печами с толкателями и подпечного рольганга после печей.
Черновая группа состоит из клетей:
реверсивная клеть дуо;
уширительная клеть кварто;
реверсивная универсальная клеть кварто;
универсальная клеть кварто.
Чистовая группа включает летучие ножницы, чистовой окалиноломатель (клеть дуо), 7 клетей кварто. Между клетями установлены устройства ускоренного охлаждения полос (межклетьевое охлаждение).
Промежуточный рольганг обеспечивает сброс и разделку недостатков (планируется оснащение рольганга тепловыми экранами типа энкопанель).
Линия смотки включает отводящий рольганг с 30 секциями охлаждения полосы (верхнее и нижнее душирование), четыре моталки, тележки с подъемно-поворотными столами.
1.3 Сортамент стана по маркам стали и размерам полос
Широкополосный стан 2500 предназначен для горячей прокатки полос из следующих сталей:
сталь углеродистая обыкновенного качества по ГОСТ 16523-89, 14637-89 марок стали по ГОСТ 380-71 и действующим ТУ;
сталь свариваемая для судостроения по ГОСТ 5521-86;
сталь углеродистая качественная конструкционная по ГОСТ 1577-81, 4041-71, 16523-89, 9045-93 и действующим ТУ;
сталь легированная марки 65Г по ГОСТ 14959-70;
сталь низколегированная по ГОСТ 19281-89;
сталь 7ХНМ по ТУ 14-1-387-84;
сталь углеродистая и низколегированная экспортного исполнения по ТП, СТП на основе иностранных стандартов.
Предельные размеры полос:
толщина 1,810 мм;
ширина 10002350 мм;
вес рулона до 25 т.
Исследование и разработка конструкции бандажированного опорного валка стана 2500 горячей прокатки
2.1 Выбор натяга, формы, толщины бандажа и расчет несущей способности соединения
Опорный валок 5,6 клетей стана 2500 горячей прокатки ОАО ММК в соответствии с рисунком 4 имеет следующие основные размеры:
длина бочки l=2500 мм;
максимальный наружный диаметр бочки d=1600 мм;
минимальный наружный диаметр d=1480 мм;
диаметр шеек в месте соединения с бочкой 1100 мм;
Посадочное место бандажа – цилиндрическое. На расстоянии 100 мм от каждого края оси предлагается сделать разгружающие фаски высотой 10 мм для уменьшения концентраций напряжений бандажа после сборки. Это объясняется тем, что бандаж соединяется с осью тепловым способом, а при формировании соединения края бандажа остывают быстрее, чем его средняя часть, что приводит к появлению концентрации напряжения и дает дополнительную возможность развития фреттинг-коррозии и усталостных трещин в дальнейшем
Часто, для предотвращения сползания бандажа в осевом направлении на оси выполняется буртик, а на бандаже проточка, или же посадочные поверхности имеют форму конуса. В данном случае такие приспособления не используются, так как возможно предположить, что при достаточно большой длине сопрягаемых поверхностей осевого сдвига происходить не будет, а прочность соединения также обеспечится гарантированным натягом и возможным увеличением коэффициента трения на поверхностях за счет нанесения на них металлического покрытия или абразивного порошка.
Также, эта конструкция существенно проще и дешевле в изготовлении.
Анализ факторов, влияющих на выбор посадочного диаметра показывает, что область оптимальных значений отношений посадочного и внешнего диаметров колеблется в интервале d/d>2 >=0,5…0,8. [8]
Если говорить о выборе натяга соединения, то здесь можно столкнуться с разногласиями. На практике оптимальный натяг обычно принимается равным 0,8-1% от посадочного диаметра: =(0,0080,01)d. Некоторые авторы советуют увеличить его до 1,3%, а некоторые, наоборот, снизить до 0,5%
Для расчетов выберем три различных значения натягов: >1>=0,8 мм; >2>=1,15 мм; >3>=1,3 мм.
Также, для сравнения и выбора оптимальных критериев соединения будем производить расчеты для разных коэффициентов трения и толщин бандажа.
|
f>1>=0,14 |
d>посад1>=1150 мм |
|
f>2>=0,3 |
d>посад2>=1300 мм |
|
f>3>=0,4 |
Как указывалось выше, величину коэффициента трения можно изменить, нанеся какое-либо покрытие на сопрягаемые поверхности.
Наибольшая толщина бандажа(d>посад>=1150 мм) обуславливается его прохождением через шейки прокатного валка при сборке.
Не принимается во внимание d>посад >> 1300 мм, так как при достижении минимального наружного диаметра (d>2>=1480 мм) бандаж станет слишком тонким.
Произведем расчет некоторых параметров несущей способности соединения при заданных условиях.
Н
аибольшая
осевая сила, которую может выдержать
соединение [9]:
(1)
где К – давление на посадочной поверхности, МПа;
F=dl – площадь посадочной поверхности, мм2; (d и l – диаметр и длина посадочной поверхности соответственно, мм)
f – коэффициент трения между сопрягаемыми поверхностями.
Давление К на посадочных поверхностях зависит от натяга и толщины стенок охватывающей и охватываемой детали.
Согласно формуле Ляме:

(2)
где d – относительный диаметральный натяг;
- коэффициент.
(3)
где Е>1>=Е>2> =2,1х105 Н/мм2 – модули упругости оси и бандажа;
>1>=>2>=0,3 – коэффициенты Пуассона для стали оси и бандажа
С>1>,С>2> – коэффициенты, характеризующие тонкостенкость;
(4)
(5)
где d>1> и d>2> – соответственно внутренний диаметр оси и наружный диаметр бандажа.
Для данного случая отверстия в оси нет – d>1>=0, а за диаметр d>2> принимаем средний диаметр валка:
Тогда С>1>=1 (d>1>=0).
Наибольший крутящий момент, передаваемый соединением:

(6)
Напряжение сжатия в оси максимально на внутренней поверхности:

(7)
На внутренней поверхности бандажа максимальные растягивающие напряжения:

(8)
Результаты вычислений сведены в таблицу 1.
Выводы: Как видно, давление К, а, следовательно, и несущая способность соединения пропорциональна натягу и обратно пропорциональна коэффициентам С>1> и С>2>, характеризующим тонкостенкость.
Разность посадочных диаметров составляет всего 150 мм, но при одинаковых натягах различие контактного давления почти вдвое больше для меньшего диаметра.
Следует заметить, что и напряжение сжатия в оси также меньше в случае для более тонкого бандажа, но напряжения растяжения в бандаже с изменением его толщины остаются практически неизменными.
Таблица 1 - Характеристика прокатных валков 5,6 клетей стана 2000 и их несущая способность при различных значениях диаметров, натягов, коэффициентов трения в соединении
|
Давление металла на валки, т |
Р=3000 |
|||||||||||||||||
|
Момент прокатки, тм |
Мпр=217 |
|||||||||||||||||
|
Наружный диаметр бандажа, мм |
d2=1600 (1480) dср=1540 |
|||||||||||||||||
|
Длина сопряжения, мм |
l = 2500 |
|||||||||||||||||
|
Диаметр сопрягаемых поверхностей, мм |
d=1150 (C2=3,52) |
d=1300 (C2=5,96) |
||||||||||||||||
|
Площадь посадочной поверхности кв.мм |
F=9,0275x106 |
F=10,205x106 |
||||||||||||||||
|
Натяг, мм |
1 = 0,8 |
2 = 1,15 |
3 = 1,3 |
1 = 0,8 |
2 = 1,15 |
3 = 1,3 |
||||||||||||
|
Контактное давление, Мпа |
K=32,32 |
K=46,46 |
K=52,52 |
K=18,57 |
K=26,7 |
K=30,18 |
||||||||||||
|
Напряжение на оси валка, Мпа |
ст=64,64 |
ст=92,92 |
ст=105,04 |
ст=37,14 |
ст=53,4 |
ст=60,36 |
||||||||||||
|
Напряжение в бандаже, Мпа |
раст=146,1 |
раст=210,1 |
раст=237,5 |
раст=129,2 |
раст=185,8 |
раст=210 |
||||||||||||
|
Коэффициент трения f |
0,14 |
0,3 |
0,4 |
0,14 |
0,3 |
0,4 |
0,14 |
0,3 |
0,4 |
0,14 |
0,3 |
0,4 |
0,14 |
0,3 |
0,4 |
0,14 |
0,3 |
0,4 |
|
Наибольшая осевая сила Рос, т |
4084 |
8753 |
11670 |
5871 |
12825 |
16776 |
6637 |
14223 |
18964 |
2653 |
5685 |
7580 |
3814 |
8174 |
10899 |
4311 |
9239 |
12319 |
|
Наибольший крутящий момент Мкр, тм |
2348 |
5033 |
6710 |
3376 |
7234 |
9646 |
3816 |
8178 |
10904 |
1724 |
3695 |
4927 |
2479 |
5313 |
7084 |
2808 |
6005 |
8007 |

Рисунок 4 - Составной прокатный валок
С увеличением коэффициентов трения несущая способность соединения также существенно возрастает, как в случае с d=1150 мм так и с d=1300 мм, но в случае с d=1150 мм более максимальна.
Важным является то, что для всех условий соединением обеспечивается передача крутящего момента с хорошим запасом прочности
М>пр><М>кр>
Причем запас прочности увеличивается по мере роста контактного давления в соединении, вызванного натягом.
В целом можно сказать, что в обоих случаях обеспечивается хорошая несущая способность соединения и достаточно небольшие напряжения в деталях валка, но более предпочтительным является бандаж, внутренний диаметр которого d=1150 мм, за счет значительного увеличения все той же несущей способности.
2.2 Расчет напряжений в бандажированном опорном валке
Напряжения в составном опорном валке стана 2500 определяются для тех же основных технических данных, заданных в пункте 2.1. Требуется определить контактные напряжения на посадочной поверхности бандажа и оси.
Область бандажа обозначим через S>2>, а область вала через S. Радиус поверхности сопряжения после сборки обозначим R, а внешний радиус бандажа R>2>.
На внешнем контуре бандажа C>2> приложена сила P, равная по величине давлению металла на валки P>0>. Принимая P=P>0>, имеем систему сил, находящихся в равновесии. Посадочная поверхность образует контур C.
Расчетная схема представлена на рисунке 5.
Рисунок 5 – Расчетная схема для определения контактных напряжений в валке
При решении задачи напряжения удобно определять в полярных координатах. Нашей задачей является определить:
>r> – радиальные напряжения
>> - тангенциальные (окружные) напряжения
>r>>> - касательные напряжения.
Вычисления компонентов напряжений обычно весьма громоздки в общем виде и в расчетах. Используя метод Н.И. Мусхелишвили применительно к поставленной задаче и выполняя решение аналогично приведенного в работе [10] определяются напряжения на посадочной поверхности бандажа в виде формул, удобных для численной реализации [11]. Окончательные выражения имеют вид:
(9)
(10)
(11)
где P=P>0> – удельная нагрузка на единицу длины бандажа от внешней силы;
R – радиус контактной поверхности;
h и g – просуммированные в замкнутом виде ряды, отражающие особенность решения в зонах точек приложения сосредоточенных сил P и позволяющие улучшить сходимость рядов;
- угловая координата
точек контура C;
постоянная Мусхелишвили;
=0,3 - коэффициент Пуассона;
- угол, отсчитываемый от оси х, до точки приложения силы Р;
n=R>2>/R – коэффициент, характеризующий толщину бандажа.
Последние слагаемые в формулах (9) и (10) представляют собой составляющие напряжений, зависящие от натяга. Тогда радиальные и тангенциальные напряжения в составном валке определяются из двух компонентов, из напряжений, вызванных натягом и нормальной нагрузкой:
>r>=>rp>+>r>>> (12)
>>=>>>p>+>>>> (13)
Нормальные напряжения от натяга определяются по формуле [12]:
(14)
где К – контактное давление от натяга (см. табл.1), МПа;
n=R>2>/R – относительная толщина бандажа.
Расчет напряжений >>>>> >производится по следующей формуле:
(15)
где - половина величины натяга;
Е – модуль упругости первого рода.
Касательные напряжения на поверхностях от натяга, как известно, отсутствуют. [8]
Тогда напряжения >rp>, >>>p> и >r>>> можно представить в виде: > >
(16)
(17)
(18)
На ЭВМ были просчитаны значения величин >rp>, >>>p> и >r>>>> > для различных значений > >n [11], часть которых приведена в таблице 2.
Значения напряжений представлены в виде безразмерных коэффициентов С>р>, С>>, С>>, которые следует умножить на величину P/(R2x103), где Р – внешняя нагрузка на единицу длины бандажа, Н/мм; R>2> – наружный радиус бандажа.
Для определения компонентов напряжений необходимо знать только n (относительную толщину бандажа) и (полярную угловую координату точки, в которой определяются напряжения).
В соответствии с рисунком 5 при заданных условиях равенства нулю главного вектора и главного момента силы Р, эпюры напряжений на контакте симметричны относительно оси y, то есть достаточно определения напряжений в 2х из 4х четвертей, например, в I и IV (от 3/2 до /2 рад).
Характер распределения напряжений по контакту ось – бандаж представлен на рисунках 6, 7, 8.
Таблица 2 – Составляющие напряжений и радиальные, тангенциальные, касательные напряжения на посадочной поверхности бандажа от воздействия силы Р = 1200 кг/мм клетей 5,6 стана 2500
-
С>р>
>rp>,МПа
С>р>
>rp>,МПа
С>>
>>>р>,МПа
С>>
>>>р>,МПа
С>>
>р>>>,МПа
С>>
>р>>>,МПа
N=1,34 (d=1150 мм)
n=1,19 (d=1300 мм)
n=1,34
n=1,19
n=1,34
N=1,19
90
6,84
1,43
3,82
0,71
-14,6
-3,05
-16,6
-3,07
0
0
0
0
110
6,49
1,35
3,62
0,67
-14,21
-2,97
-15,88
-2,93
1,9
0,4
1,16
0,21
130
5,51
1,15
3,02
0,56
-13,13
-2,74
-13,75
-2,54
3,51
0,73
2,17
0,4
150
4,02
0,84
2,12
0,39
-11,7
-2,44
-10,78
-1,99
4,53
0,95
2,86
0,53
160
3,13
0,65
1,59
0,29
-11,03
-2,3
-9,12
-1,68
4,74
0,99
3,04
0,56
170
2,23
0,46
1,04
0,19
-10,52
-2,2
-7,45
-1,38
4,68
0,98
3,09
0,57
180
1,3
0,27
0,48
0,09
-10,33
-2,16
-5,95
-1,1
4,28
0,89
2,98
0,55
190
0,38
0,08
-0,1
-0,02
-10,66
-2,23
-4,8
-0,89
3,46
0,72
2,68
0,49
200
-0,52
-0,11
-0,57
-0,11
-11,82
-2,47
-4,25
-0,78
2,06
0,43
2,12
0,39
210
-1,51
-0,32
-1,03
-0,19
-14,27
-2,98
-4,73
-0,87
-0,12
-0,03
1,15
-0,21
220
-2,73
-0,57
-1,47
-0,27
-18,72
-3,9
-6,98
-1,3
-4,41
-0,92
-0,53
-0,1
230
-5,23
-1,09
-2,07
-0,38
-26,23
-5,47
-12,48
-2,3
-11,85
-2,47
-3,8
-0,7
240
-12,54
-2,62
-3,87
-0,71
-37,61
-7,85
-24,48
-4,52
-26,68
-5,57
-11,34
-2,09
250
-39,3
-8,2
-13,84
-2,56
-48,25
-10,07
-49,57
-9,15
-57
-11,9
-33,34
-6,15
260
-135,94
-28,37
-92,66
-17,1
-22,98
-4,8
-77,46
-14,3
-94,86
-19,8
-105,04
-19,4
262
-168,7
-35,2
-126,15
-23,3
-7,65
-1,6
-70,24
-12,97
-93,6
-19,5
-124,96
-23,07
264
-203,04
-42,37
-205,64
-37,96
10,25
2,14
-50,66
-9,35
-84,04
-17,54
-138,25
-25,52
266
-234,84
-49,01
-291,12
-53,75
27,99
5,84
-16,47
-3,04
-51,02
-10,65
-132,57
-24,47
268
-257,9
-53,82
-379,56
-70,07
41,45
8,65
-26,36
4,87
-35,51
-7,41
-88,7
-16,38
270
-266,18
-55,55
-420,5
-77,63
46,47
9,7
48,44
8,94
0
0
0
0
Рисунок 6
Рисунок 7
Рисунок 8
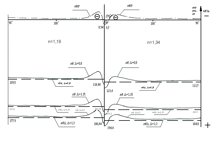
Анализ полученных данных позволил выявить следующие закономерности: наименьшие значения >rp> принимает по линии действия сосредоточенной силы Р вместе ее непосредственного приложения =270. При некоторых значениях угла 295 для n=1,34 и 188 для n=1,19 значения >rp> меняют знак. Напряжения сжатия переходят в напряжения растяжения, стремящиеся нарушить монолитность соединения. Следовательно, эпюры >rp> могут иметь определенное физическое толкование: точки контакта, в которых происходит смена знаков напряжений, определяют области зоны раскрытия стыка при отсутствии контактного давления от натяга за счет упругой деформации бандажа.
Чем тоньше бандаж, тем более максимально увеличение >rp>> >при =270 и тем больше градиент напряжений в области =260280.
Напряжения растяжения, тем больше, чем толще бандаж, но их градиент незначителен, то есть чем тоньше бандаж, тем больше усилия сжатия на оси.
На эпюрах тангенциальных напряжений в зоне действия силы Р видно, что >>>р> являются растягивающими, причем их максимальная величина практически не зависит от толщины бандажа. Градиент напряжений увеличивается с уменьшением толщины бандажа, а ширина зоны уменьшается. На большей части контактной поверхности оси и бандажа напряжения являются сжимающими с меньшим градиентом для n=1,34.
Эпюры касательных напряжений >r>>> на рисунке 9 меняют знак в точках при 215 и на большей части контактных поверхностей являются растягивающими, но малыми для обоих случаев, а, следовательно, не слишком значительными.
В таблице 3 представлены значения >r>>> и >> для различных значений и n.
Таблица 3 – Величина контактного давления и тангенциального напряжения от натяга.
|
n=1,34 |
n =1,19 |
|||||
|
=0,8 |
=1,15 |
=1,3 |
=0,8 |
=1,15 |
=1,3 |
|
|
>r>>>, МПа |
-32,4 |
-46,6 |
-52,7 |
-20,3 |
-29,1 |
-32,9 |
|
>>, МПа |
113,7 |
163,5 |
184,8 |
109,5 |
157,4 |
177,9 |
По данным таблиц 2 и 3 построим эпюры для >rp> >r>>> и результирующие >r> в соответствии с рисунком 9. Тангенциальные напряжения от натяга различны по знаку для контактных напряжений оси и бандажа, поэтому рассмотрение суммарных эпюр на этих поверхностях необходимо производить отдельно (рисунок 10, 11).
Проведенный анализ напряжений на контакте ось-бандаж составного валка показывает, что при любой схеме нагрузки суммарная эпюра контактного давления значительно отличается от эпюры давления, вызываемого натягом. Контактные давления распределены равномерно по окружности и имеют высокий градиент в зонах возмущения от сил давления металла на валок. При этом контактные давления от натяга составляют только часть общего контактного давления (в соответствии с рисунком 9) на значительной части контакта. На части контактной поверхности общее давление несколько меньше давления от натяга.
Расчет валка на возможность проворачивания бандажа на оси от действия крутящего момента производится по формуле:
Мпр [ Мкр ] = РfR (19)
где Мпр – момент прокатки;
[Мкр] – крутящий момент, который способно передать соединение с натягом;
Р – контактное давление в соединении;
f – коэффициент трения покоя на посадочных поверхностях соединения;
R – радиус посадочной поверхности.
Рисунок 9

Рисунок 10 – Эпюры >>>р>, >>, >> на контактной поверхности оси опорного валка стана 2500 при Р=1200кг/мм; n=1,19; n=1,34 и =0,8; 1,15; 1,3

Рисунок 11 – Эпюры >>>р>, >>, >> на контактной поверхности бандажа опорного валка стана 2500 при Р=1200кг/мм; n=1,19; n=1,34 и =0,8; 1,15; 1,3
значительной части контакта. На части контактной поверхности общее давление несколько меньше давления от натяга.
Расчет валка на возможность проворачивания бандажа на оси от действия крутящего момента производится по формуле:
Мпр [ Мкр ] = РfR (19)
где Мпр – момент прокатки;
[Мкр] – крутящий момент, который способно передать соединение с натягом;
Р – контактное давление в соединении;
f – коэффициент трения покоя на посадочных поверхностях соединения;
R – радиус посадочной поверхности.
Допускаемый крутящий момент прямо пропорционален контактному давлению, следовательно, при расчете составного валка на возможность проворачивания бандажа необходимо учитывать особенности распределения и величину контактного давления в валках.
Полное контактное давление в составном валке определяется по формуле:
P = >r> = >rp> + >r>>>
Интегрируя >r> по кругу можно определить предельный крутящий момент, который способен передавать составной валок с учетом действия внешних сил Р:
(20)
Произведенные расчеты по этой формуле показали, что увеличение предельного крутящего момента, который способен передать составной валок без проворота бандажа с учетом воздействия внешних сил Р составляет примерно 20-25% [11].
Передаваемый крутящий момент пропорционален коэффициенту трения f. От величины коэффициента трения зависит и деформация валка под нагрузкой. Очевидно, что для предотвращения деформации и микросмещений в точках контакта возможно увеличить коэффициент трения и создать на контакте необходимого удельного давления. Изменение контактного давления можно достичь изменением величины натяга и изменением толщины бандажа. Как видно из рисунков 6, 7, 8, уменьшение толщины бандажа приводит к увеличению градиентов напряжений в местах приложения нагрузки. А увеличение натягов, в свою очередь, приводит к росту самих напряжений, которые уже при значении =1,15 для d>2>=1150 мм и =1,3 для d>2>=1300 мм превышают допускаемые для стали 150ХНМ, равные 200 МПа (табл. 1), из которой предлагается выполнить бандаж.
Поэтому становится очевидным увеличивать коэффициент трения на посадочных поверхностях. Оптимальный выбор значений величины натяга и коэффициента трения позволит избежать износа поверхности, что будет способствовать многократному использованию оси.
2.3 Расчет на кратность использования оси составного опорного валка
Оси бандажированных опорных валков изготавливаются из списанных, уже отработанных валков. Поэтому расчет на кратность использования оси ведется исходя из усталостной прочности ее материала – стали 9ХФ.
В расчетах [13], [8], [15] учитывались число циклов нагружения, усталостные характеристики материала оси, а также величины 3х видов напряжений:
1 – сжимающих, вызванных посадкой бандажа на ось с натягом;
2 – изгибающих, вызванным давлением металла на валки;
3 – касательных, вызванных кручением.
Расчет производился для наиболее опасных сечений 1-1 и 2-2 (рисунок 12) с различными значениями натяга посадки.
Опорный валок 1600х2500 проходит перевалку в 5, 6 клетях через каждые 150 тыс. тонн проката [15]. При перешлифовках съем с поверхности
Рисунок 12 – Схематическое изображение сечений, для которых производился расчет оси валка на усталостную прочность.
– поперечное сечение середины бочки валка
2-2 – сечение, в месте перехода от бочки валка к шейке.
бочки производится не менее 3 мм на диаметр. Общий съем составляет 120 мм (>max> = 1600 мм, >min> =1080 мм), то есть валок может устанавливаться не менее 40 раз, например, по 20 в каждой клети
Основные технологические характеристики 5, 6 клетей чистовой группы стана 2500 горячей прокатки ОАО ММК приведены в таблице 4.
Таблица 4 – Основные характеристики 5, 6 клетей
|
Номер клети |
5 |
6 |
|
Катающий диаметр, мм |
1600-1480 |
1600-1480 |
|
Прокат за установку, тыс. тонн |
150 |
150 |
|
Скорость прокатки V, м/с |
1,42 |
2,05 |
|
Максимальное давление металла на валки Р, тс |
3000 |
3000 |
|
Максимальный крутящий момент Мкр, тсм |
217 |
192 |
|
Количество установок |
20 |
20 |
В расчетах принимаем средний катающий диаметр опорного валка d>ср>=1540 мм.
Давление металла на валки постоянно, следовательно, максимальные изгибающие напряжения >изг >>max> равны >изг >>min> , взятым с обратным знаком. Постоянными являются и напряжения сжатия >сж> (табл. 1), зависящие от величины натяга.
Расчеты производились для трех различных величин натягов =0,8; 1,15; 1,3.
Таким образом, циклическое нагружение во всех клетях, совмещающее действие от постоянных и переменных нагрузок, носит асимметричный характер.
Количество циклов нагружения в каждой клети составляет:
(21)
где V>i> – скорость прокатки в каждой клети, м/с;
d>ср> – средний катающий диаметр бочки опорного валка, м;
t – время работы валка в каждой клети за установку, ч;
К – количество установок.
Результаты расчетов сведены в таблицу 5.
Таблица 5 – Количество часов работы и циклов нагружения в каждой клети
|
Номер клети |
5 |
6 |
|
T |
93, 94 |
103,17 |
|
N>i> |
1,99х106 |
3,15х106 |
Общее число циклов нагружения опорного валка при однократном использовании оси составляет: N=N>i>=5,14x106.
2.4 Определение циклической выносливости в сечении 1-1
Максимальные изгибающие напряжения:


(22)
(23)
где Р = 3000 тс – давление металла на валки;
а = 3,27 м – расстояние между осями нажимных винтов;
W>изг> = d2>оси >/32 – момент сопротивления сечения ост при изгибе;
L>боч >=2,5 м – длина бочки опорного валка.
Максимальные напряжения сжатия >сж> находятся по формуле (7). Следовательно, имеем:
(24)
Г
де
>>
- коэффициент чувствительности металла
к ассимметрии цикла;
(25)
>0 >=(1,4…1,6) >-1> - предел усталости для пульсирующего цикла.
Максимальное напряжение, вызванное кручением >maxi>, в каждой клети зависит от максимального крутящего момента М>кр>>i>=217 тм:

(26)
Эквивалентное напряжение, учитывающее все виды напряжений, действующих на составной валок:

(27)
Результаты расчетов сведены в таблицу 6.
Таблица 6 – Значения напряжений в валке для различных значений посадочных диаметров и натягов
|
Посадочный диаметр, м |
d=1.15 |
d=1.3 |
||||
|
W>изг >, м3 |
0,149 |
0,216 |
||||
|
>изг>, МПа |
101,67 |
70,14 |
||||
|
>max>, МПа |
7,27 |
7,27 |
||||
|
Натяг,
мм |
=0,8 |
=1,15 |
=1,3 |
=0,8 |
=1,15 |
=1,3 |
|
>сж>, МПа |
64,64 |
92,92 |
105,04 |
37,14 |
53,4 |
60,36 |
|
>max>, МПа |
123 |
132,33 |
136,33 |
82,4 |
87,76 |
90,06 |
|
>экв>, МПа |
123,85 |
133,12 |
137,1 |
83,67 |
88,96 |
91,23 |
Соответствующее число циклов, которое может выдержать образец до разрушения [16], [17]:

(28)
Материал оси – сталь 9ХФ, со следующими усталостными характеристиками [18]:
>-1>=317 МПа – предел выносливости;
N>0>=106 – базовое число циклов;
R=tg=(0.276>-1>-0.8)=7.95 кг/мм2 – тангенс наклона кривой усталости
Для оценки запаса долговечности и срока службы детали при расчетах на ограниченную долговечность применяется критерий n>доп.долг.> – допускаемый запас долговечности:

(29)
где n>доп>=1,5 – допускаемый запас прочности.
Кратность использования оси при полном использовании прочностных свойств материала:

(30)
Результаты расчетов сведены в таблицу 7.
Таблица 7 – Влияние посадочного диаметра и натяга оси на ее кратность
|
Посадочный диаметр, м |
D=1.15 |
d=1.3 |
||||
|
Натяг, мм |
=0,8 |
=1,15 |
=1,3 |
=0,8 |
=1,15 |
=1,3 |
|
N>ппр>106 |
269,27 |
205,68 |
183,18 |
860,18 |
737,77 |
691,63 |
|
Кратность оси Т |
2,45 |
1,88 |
1,67 |
7,84 |
6,72 |
6,3 |
На основании проведенных расчетов можно сделать следующие выводы: с увеличением натяга кратность использования оси составного опорного валка снижается за счет увеличения постоянных сжимающих напряжений, вызванных горячей посадкой бандажа на ось с натягом. В случае для более тонкого бандажа (d=1,13 м) наблюдается увеличение кратности использования оси более чем в 3 раза при одинаковых значениях натяга, так как для d=1,13 м характерны меньшие напряжения сжатия оси. Если же обратиться к эпюрам распределения напряжений для разных толщин бандажа (рисунок 6, 7, 8, 9, 10, 11), то следует отметить менее благоприятную картину для более тонкого бандажа. Следует принять во внимание и то, что в расчетах учитывались не просто максимально допустимые нагрузки на валок, но их пиковые значения. Если учесть, что для стали 150ХНМ, из которой предлагается выполнить бандаж, напряжения растяжения в бандаже превышают допускаемые в случаях d=1,15 м при =1,15 мм и d=1,3м при =1,3 мм (табл.1), то оптимальным можно считать вариант при d=1,15 м, =0,8. Кратность оси в этом случае составляет 2,45 раза. Но, принимая во внимание, что реальные нагрузки несколько меньше расчетных, а также то, что на сопрягаемые поверхности предлагается нанести металлическое покрытие, увеличивающее несущую способность соединения, не изменяя при этом существенным образом его напряженное состояние, то кратность использования оси естественным образом увеличится.
2.5 Определение циклической выносливости в сечении 2-2
Ось опорного составного валка в сечении 2-2 испытывает действие изгибающих и касательных напряжений. При таком нагружении напряжения изменяются по симметричному циклу:

(31)

где




Опасности усталостного разрушения оси в этом сечении нет.
2.6 Определение зоны проскальзывания и прогиба составного и цельного опорного валка
Известен тот факт, что в ходе работы, в результате действия приложенных нагрузок, как рабочие, так и опорные валки начинают прогибаться. Явление прогиба может вызвать ухудшение качества прокатываемой полосы, биение валков, что, в свою очередь, может привести к быстрому выводу из строя подшипниковых узлов и появлению фреттинг – коррозии.
Разница температур бандажа и оси в процессе прокатки, в случае для составного валка, может привести к проворачиванию бандажа относительно оси, то есть появлению зоны проскальзывания.
Ниже приведены расчеты возможной величины зоны проскальзывания с учетом действующих нагрузок и определения прогиба составного и цельного опорного валка с целью сравнения их значений.
2.7 Определение прогиба цельного опорного валка
Давление металла на валки при прокатке передается через рабочие валки на опорные. Характер распределения давления вдоль бочки опорных валков зависит от ширины раската, жесткости и длины бочки рабочих и опорных валков, а также от их профиля.
Если предположить, что давление металла на валки передается рабочим валком на опорный равномерно, то прогиб опорных валков можно рассчитать как изгиб балки, свободно лежащей на двух опорах, с учетом действия поперечных сил [19].
Общая стрела прогиба опорного валка [20]:
f>о.в.> = f>о.н. >= f>1 >+ f>2>> > (32)
где f>1 >– стрела прогиба от действия изгибающих моментов;
f>2 >- стрела прогиба от действия поперечных сил.
В свою очередь

(33)

(34)
> >где Р – давление металла на валок;
Е – модуль упругости металла валка;
G – модуль сдвига металла валка;
D>0> – диаметр опорного валка;
d>0> – диаметр шейки опорного валка;
L – длина бочки опорного валка;
а>1> – расстояние между осями подшипников опорных валков;
с – расстояние от края бочки до оси подшипника опорного валка.
Таблица 8 – Данные для расчета прогиба цельного опорного валка
|
Название |
Обозначение |
Значение |
|
Давление металла на валок, Н |
P |
2,943х107 |
|
Модуль упругости металла валка, Н/мм2 |
E |
2,1х105 |
|
Модуль сдвига металла валка, Н/м2 |
G |
8х104 |
|
Диаметр опорного валка, мм |
D>0> |
1600 |
|
Диаметр шейки опорного валка, мм |
d>0> |
1100 |
|
Длина шейки опорного валка, мм |
L |
930 |
|
Продолжение таблицы 8 |
||
|
Расстояние между осями подшипников, мм |
a>1> |
3270 |
|
Расстояние от края бочки до подшипников, мм |
C |
385 |
|
Прогиб от действия изгибающих моментов, мм |
f>1> |
0,30622 |
|
Прогиб от действия поперечных сил, мм |
f>2> |
0,16769 |
Тогда общая стрела прогиба опорного валка:
f=0,30622+0,16769=0,47391 мм
2.8 Определение прогиба и зоны проскальзывания для составного опорного валка
Расчет производился для рекомендованных ранее оптимальных значений натяга, радиуса бандажа, коэффициентов трения.
Основные данные для расчета приведены в таблице 9.
Таблица 9 – данные для расчета жесткости составного опорного валка
|
Показатель |
Обозначение |
Значение |
|
Радиус бандажа, м |
R>2> |
0,8 |
|
Радиус оси, м |
R |
0,575 |
|
Модуль упругости первого рода, Н/м2 |
G |
8х1010 |
|
Модуль упругости второго рода, Н/м2 |
E |
2,1х1011 |
|
Коэффициент, учитывающий неровность распределения касательных напряжений |
K>1> |
0,695 |
|
K>2> |
0,787 |
|
|
Коэффициент, учитывающий исполнение кромок бандажа |
K |
0,833 |
|
Коэффициент, зависящий от поперечного сечения оси |
>1> |
0 |
|
Коэффициент, зависящий от поперечного сечения бандажа |
>2> |
0,71875 |
|
Продолжение таблицы 9 |
||
|
Коэффициент Пуассона |
|
0,3 |
|
Натяг между бандажом и осью валка, м |
|
0,0008 |
|
Коэффициент влияния выступающих по краям бандажа частей оси |
F |
1,54 |
|
Коэффициент трения |
|
0,3 |
|
Крутящий момент, Нм |
M |
2170000 |
|
Длина бочки опорного валка, м |
L>0> |
2,5 |
|
Усилие воздействия на валок, Н |
P |
30000000 |
|
Радиус шейки валка, м |
R>ш> |
0,55 |
|
Длина шейки валка, м |
l>2> |
0,635 |
|
Коэффициент для шейки |
K>ш> |
0,8 |
Площадь поперечного сечения бандажа и оси:
(35)
(36)
Моменты инерции бандажа и оси:
(37)
Постоянный коэффициент:
(38)
Контактное давление P>H>=32,32х106 Н/м2 (см табл. 1).
Изгибающий момент на единицу длины, возникающий за счет сил трения:
m = 4 P>H> R2 = 12822960 Нм (39)
Расчет длины участка проскальзывания бандажа относительно оси при изгибе:
(40)
(41)
(42)
Определим прогиб составного опорного валка, воспользуясь методикой, приведенной в работе [19], [22]. Расчетная схема приведена на рисунке 13.
Рисунок 13 – Схема действующих усилий в осевом сечении бандажированного валка
Р
аспределенная
нагрузка:
(43)
Изгибающий момент, действующий на валок в сечении [x=0]:
(44)
Перерезывающее усилие, действующие на валок в сечении [x=0]:
Q>0> = q>0> (l>0> - l) = 10,23x106 Н (45)
Определение прогиба при [х=0]:
(46)
Угол поворота при [х=0]:
(47)
Интенсивность силы взаимодействия между осью и бандажом:
(48)
(49)
(50)
(51)
Определение прогибов для бандажа и оси в области проскальзывания:
(52)
(53)
Углы поворота бандажа и оси:
(54)
(55)
Изгибающий момент на бандаже и оси:
(56)
(57)
Перерезывающее усилие, действующее на бандаж и ось:
(58)

(59)
Сдвиг бандажа относительно оси на краю бочки валка:
(60)
(61)
Прогиб шейки валка:
(62)
(63)
(64)
Полный прогиб бандажированного валка:
y=y>x> + y>ш> = 0,000622 м = 0,622 мм (65)
Как видно из результатов расчетов, прогибы составного и сплошного валков под нагрузкой практически одинаковы. Прогиб составного валка немногим более прогиба цельного (y>сплошного> = 0,474 мм, y>сост >= 0,622 мм). Это говорит о том, что жесткость составного валка ниже, вследствие чего бандаж может скользить относительно оси. Расчеты, в свою очередь, показали, что зона проскальзывания невелика и составляет всего 0,045 м. На величину зоны проскальзывания и жесткость валка в целом влияют окружные растягивающие напряжения во втулке >t> (в соответствии с рисунком 13).
Эксперименты, проводимые для исследования жесткости составных прокатных валков [19] позволили увидеть, что наибольшие растягивающие напряжения >t> расположены на внутреннем контуре бандажа в области его контакта с валом; это указывает на возрастание контактных давлений от посадки при изгибе валка. Установлено, что уменьшение относительного натяга снижает напряжение >t>. Следовательно, уменьшением натяга прессового соединения можно устранить разрушение бандажа, однако, это приводит к потере жесткости вала, ослабляет прессовое соединение, расширяет область проскальзывания бандажа и способствует фреттинг-коррозии посадочной поверхности. Так как для расчетов выбрано минимальное значение натяга (=0,8 мм), то для улучшения сцепления вала с бандажом нужно повысить коэффициент трения на посадочной поверхности, например, при помощи нанесения металлического покрытия.
2.9 Разработка мероприятий для предотвращения фреттинг – коррозии на осадочных поверхностях и повышения поверхности валка
Фреттинг – коррозия – повреждение металлической поверхности в результате контактного трения, при котором отделенные частицы и поверхностные слои взаимодействуют с компонентами окружающей среды (наиболее часто с кислородом).
Известно, что при самых незначительных нагрузках на соприкасающихся поверхностях могут возникать заметные повреждения поверхностных слоев от фреттинга. Это в полной мере относится и к составным прокатным валкам, собранным по посадке с натягом, в которых контактные давления достигают значительных величин и имеются зоны проскальзывания, прилегающие к торцам бандажа. В местах сопряжения при знакопеременных смещениях посадочных поверхностей оси и бандажа образуются задиры, количество которых увеличивается почти пропорционально напряжению натяга. В последствии они переходят в концентраторы напряжения, что вызывает ускоренное усталостное разрушение оси, располагающейся на некотором расстоянии от торца бандажа по посадочной поверхности. Как правило, в конструкциях валков, где выражена фреттинг-коррозия, разрушение происходит здесь, а не по шейке. С целью уменьшения влияния этого процесса на торцах оси, выполняются разрушающие фаски, чтобы повысить надежность оси за счет снятия концентраторов напряжений, которые на краю сопряжения становятся равными нулю (рисунок 14).
Рисунок 14 – Скосы на краю оси бандажированного валка
Однако без специальных видов обработок посадочных поверхностей не удается избежать поломок осей по этой причине. Наиболее эффективны в этом случае мягкие гальванические покрытия. Применение их значительно увеличивает площадь фактического контакта сопряжения. При этом в контакте сопрягаемых деталей возникают прочные связи (схватывание металлов), благодаря чему поверхности металла сопрягаемых деталей защищаются от задиров и механических повреждений. При этом резко снижается вероятность образования остаточного прогиба, и увеличиваются предпосылки для многократного использования оси при сменных бандажах [14].
2.10 Исследование влияния покрытий сопрягаемых покрытий на несущую способность соединения ось – бандаж. Выбор материала и технологии нанесения покрытия.
Несущая способность соединения с натягом прямопропорциональна коэффициенту трения на посадочной поверхности, который входит в основные расчетные формулы для определения наибольших крутящих моментов и осевой силы. Коэффициент трения зависит от многих факторов: давление на контактных поверхностях, размеров и профиля микронеровностей, материала и состояния сопрягающихся поверхностей, а также способа сборки. Следует заметить, что для больших диаметров (d=500 - 1000 мм) посадочных поверхностей и соответственно натягов (до 0,001 d), которые характерны для конструкции составных валков, какие-либо экспериментальные данные по величине коэффициентов трения отсутствуют. Обычно при расчетах составных валков, сборка которых осуществляется путем нагрева бандажа до 300-400С, коэффициент трения принимают равным f=0,14. Такая осторожность и выбор весьма низкой величины коэффициента трения вполне оправданы. Дело в том, что при больших значениях натяга (до 1 - 1,3 мм) влияние исходной шероховатости поверхности и образующихся на ней при нагреве бандажа окисных пленок, увеличивающих коэффициент трения, может оказаться весьма незначительным.
В ряде работ [22, 23] указывается, что несущую способность соединений с натягом можно существенно повысить нанесением гальванических покрытий на одну из посадочных поверхностей. Толщина покрытий обычно составляет 0,01 – 0,02 мм. В среднем применение покрытий повышает коэффициенты трений в полтора – четыре раза при всех способах сборки.
Повышение прочности соединений с гальваническими покрытиями объясняется возникновением металлических связей в зоне контакта и увеличением фактической площади контакта. Выявлено, что мягкие гальванические покрытия даже в области малых давлений подвергаются пластическим деформациям и заполнят впадины микропрофиля охватываемой детали, не вызывая его пластической деформации. Повышение прочности соединений вызывается тем, что в начальных момент смещения деталей, происходит одновременный срез большого количества микрообъемов покрытия неровностями охватываемой детали. Наиболее благоприятное влияние на несущую способность цилиндрических соединений с натягом оказывают мягкие (анодные) покрытия (цинк, кадмий и др.). Они способствуют не только повышению прочности соединений, но и сопротивлению усталости валов. Нанесение цинкового покрытия повышает предел выносливости валов при круговом изгибе на 20% [23].
При нанесении покрытий натяг в соединении возрастает. Обычно приращение натяга принимают равным удвоенной толщине покрытия, независимо от его вида. Следует заметить, что при больших натягах и больших диаметрах соединения влияние толщины покрытия не столько существенно.
Анализ результатов работ, в которых рассматривается влияние покрытий на несущую способность соединений с натягом дает основание полагать, что для составных валков наиболее подходит покрытие из достаточно пластичных металлов. Нанесение таких покрытий на посадочную поверхность оси позволяет повысить коэффициент трения не менее чем в 2 раза. При выборе метода и технологий покрытия будем руководствоваться следующими соображениями.
Существуют разнообразные методы нанесения металлических покрытий с целью предотвращения коррозии, высокой температуры, уменьшения износа и др. Практически все методы нанесения покрытий (горячий, электролитический, напыление, химическое осаждение и т.п.) требуют подготовки поверхностей, обычно включающей в себя обезжиривание, травление, химическое и электрохимическое полирование. Эти операции вредны для обслуживающего персонала и, несмотря на тщательную очистку стоков, загрязняют окружающую среду.
Использование перечисленных методов для нанесения покрытия на ось составного прокатного валка длиной около 5 метров представляет значительные технические трудности. Следует заметить, что в работах, где приводятся данные о влиянии покрытий на коэффициент трения, покрытия наносились электролитическим или горячим способом на небольшие образцы или модели прокатных валков [22]. Использование таких способов для крупногабаритных валков потребует создания специальных отделений или цехов. Представляется целесообразным фрикционные методы нанесения покрытий. Одни из наиболее простых и весьма эффективных является способ нанесения покрытия вращающейся металлической щеткой (ВМЩ, фрикционное плакирование) [24]. При этом одновременно с нанесением покрытия происходит поверхностное пластическое деформирование (ППД), что будет способствовать повышению усталостной прочности оси валка.
Схема одного из вариантов нанесения покрытия вращающейся металлической щеткой приведена на рисунке 14.
Материал покрытия (МП) прижимается к ворсу ВМЩ и разогревается в зоне контакта с ней до высокой температуры с ней. Частички металла покрытия схватываются с концами ворсинок и переносятся на обрабатываемую поверхность. Поверхность обрабатываемого изделия упрочняется за счет интенсивного пластического деформирования гибкими упругими элементами. Одновременно происходит пластическое деформирование частиц металла покрытия, находящихся на концах ворсинок и схватывание их с поверхностью изделия. Удаление окисных пленок, обнажение чистых поверхностей при совместной пластической деформации поверхностных слоев и частичек материала покрытия обеспечивает прочное сцепление их с основой.
Рисунок 14 – Схема нанесения покрытия методом фрикционного плакирования (ФП)
заготовка из материала покрытия (МП)
инструмент с гибкими упругими элементами (ВМЩ)
обрабатываемое изделие (ось составного валка)
Покрытие, которое наносится на посадочную поверхность оси прокатного валка должно обладать следующими свойствами: существенно увеличивать коэффициент трения, быть достаточно пластичным и заполнять впадины микропрофиля, обладать хорошей теплопроводностью. Этим требованиям может отвечать алюминий. Он хорошо наносится на стальную поверхность с помощью ВМЩ и образует покрытие достаточной толщины. Однако ответ на главный вопрос – о величине коэффициента трения в соединении с натягом, одна из сопрягаемых поверхностей которого покрыта алюминием, в технической литературе отсутствует. Цилиндрические сопряжения из материалов сталь – алюминий, собранные по посадке с натягом, также не известны, так как чистый алюминий из-за низких прочных характеристик не применяется в качестве конструкционного материала. Однако есть данные о коэффициентах трения при пластическом деформировании металлов (таблица 10) [25].
Таблица 10 – Коэффициенты сухого трения различных металлов по стали марки ЭХ-12 твердостью НВ-650
|
Металл |
Медь |
Цинк |
Латунь Л-59 |
Алюминий |
Никель |
Свинец |
Кадмий |
Олово |
|
Среднее значение коэффициента трения |
0,36 |
0,39 |
0,44 |
0,97 |
0,32 |
0,33 |
0,24 |
0,18 |
Как следует из таблицы 10, алюминий в условиях пластического деформирования имеет максимальный коэффициент трения в контакте с остальной поверхностью. Кроме того, у алюминия очень высокая теплопроводность. Эти факторы и послужили причиной выбора алюминия в качестве материала покрытия охватываемой поверхности оси валка.
2.11 Выбор материала оси и бандажа и способы их термообработки
При выборе материала составных валков следует учитывать термомеханические условия их службы. Валки подвергаются значительным статическим и ударным нагрузкам, а также термическому воздействию. При таких жестких условиях работы весьма затруднительно подобрать материал, обеспечивающий одновременно высокую прочность и износостойкость.
К бочке валка и его сердцевине предъявляются различные требования. Сердцевина должна обладать достаточной вязкостью и прочностью, хорошо сопротивляться действию изгибающих, крутящих моментов и ударным нагрузкам. Поверхность бочки должна обладать достаточной твердостью, износостойкостью, термостойкостью.
Ось валка изготавливается из стали 9ХФ, бандаж валка – 150ХНМ, исходя из опыта использования этой стали в изготовлении бандажей составных валков на ОАО ММК. Предлагается в качестве материала бандажа использовать более легированную сталь – 35Х5НМФ, которая обладает более высокой износостойкостью в сравнении с 150ХНМ. Данные по износостойкости валковых материалов в условиях горячей прокатки [26] представлены в таблице 11.
Таблица 11 – Механические свойства и износостойкость валковых материалов.
|
Марка стали |
Примерный химический состав |
Механические свойства |
Относительная износостойкость |
||
|
Твердость |
>В>, кг/см2 |
>т>, кг/см2 |
|||
|
9ХФ |
0,08-0,9%С, 0,15-0,3%V, 0,15-0,35%Si, 0,3-0,6Mn, 0,4-0,6%Cr, S, P0,03% |
50…69HSD |
88 |
160 |
1,48 |
|
60ХН |
0,5-0,6%C, Ni1,5%, S, P0,03% |
248HB |
80 |
155 |
1,05 |
|
150ХНМ |
1,4-1,6%C, 0,8-1,2%Ni, 0,5-0,8%Mn, 0,25-0,5%Si, 0,9-1.25%Cr, S, P0,04% |
363HB |
64 |
100 |
1,8 |
|
35Х5НМФ |
0,3-0,4%C, 5%Cr, Ni1,5%, Mn1,5%, Y1,5%, S, P0,04 |
63…70HSD |
16 |
98-128 |
3,0 |
Из таблицы следует, что стали 60ХН 9ХН, которые используются в основном для вертикальных и горизонтальных валков черновой группы, обладают самой низкой относительной износостойкостью, что и подтверждается опытом их эксплуатации. Но эти стали по своим характеристикам вполне подходят для изготовления осей составных валков. Для изготовления литых бандажей представляется целесообразным использовать стали 150ХНМ 35Х5НМФ.
35Х5НМФ имеет более высокую стоимость по сравнению с 150ХНМ, но, обладая значительной прочностью и износостойкостью, в процессе эксплуатации оправдывает себя, так как, обеспечивая повышенную сопротивляемость износу и выкрашиванию, дольше сохраняет хорошую структуру поверхности бочки валка.
Для придания бандажам и осям необходимых эксплуатационных свойств они вначале отдельно термообрабатываются. Затем бандаж, нагретый до определенной температуры, обеспечивающей достаточно свободное надевание на профилированную ось, образуют прессовую посадку (во время охлаждения происходит охватывание оси).
Данные технологические операции приводят к формированию в бандаже значительных остаточных напряжений от термообработки. Известны случаи, когда вследствие высокого уровня указанных напряжений бандажи разрушались еще до начала эксплуатации: при хранении или транспортировке.
По условиям эксплуатации к осям не предъявляются высокие требования по твердости (230280HB), в то время как для бандажей требования более жесткие (5588HSD). В связи с этим для осей применяется более мягкая по сравнению с бандажами термическая обработка, не приводящая к возникновению существенных остаточных напряжений [27]. Кроме того, опасные с точки зрения хрупкой прочности растягивающие напряжения от посадки возникают только в бандаже, в результате чего может происходить излом вдоль бочки валка.
Как показывает опыт термообработки этих сталей при изготовлении бандажей, наиболее эффективной обработкой является тройная нормализация с температур 1050С, 850С и 900С с последующим отпуском, обеспечивающие наиболее благоприятное сочетание пластических и прочностных характеристик.
Тройная нормализация приводит к сохранению наследственной литой структуры и способствует распределению свойств, обеспечивающих повышенную сопротивляемость износу и выкрашиванию.
Ось валка изготавливается из отработанного валка. После переточки до необходимых размеров на посадочную поверхность оси фрикционным методом наносится алюминиевое покрытие, толщиной примерно 20-25 мкм. Окончательная обработка посадочной поверхности перед нанесением покрытия – чистое шлифование.
Тепловая сборка существенно (в среднем 1,2-1,5 раза) увеличивает несущую способность соединений с натягом. Это объясняется тем, что при сборке под прессом микронеровности сминаются, в то время как при тепловой сборке они, смыкаясь, заходят в друг друга, что повышает коэффициент трения и прочность сцепления. В данном случае, частицы покрытия проникают как в поверхность оси, так и бандажа, происходит взаимная диффузия атомов покрытия и основного металла, что делает соединение практически монолитным.
Поэтому в соединении можно снизить натяг, необходимый для передачи заданного крутящего момента, с соответствующим уменьшением напряжений в оси и бандаже.
При достаточно высоком нагреве бандажа можно получить нулевой натяг или обеспечить зазор при сборке соединения. Рекомендуемая температура нагрева бандажа перед сборкой валка – 380С-400С.
Рекомендации по замене использованных бандажей
Возможны следующие способы замены изношенных бандажей:
Механические – вдоль образующей бандажа на всю его толщину делаются две прорези на строгальном или фрезерном станке, в результате чего бандаж разделяется на две половины, которые легко демонтируются. Прорези располагаются диаметрально противоположно одна относительно другой.
Нагрев бандажа в индукторе токам промышленной частоты (ТПЧ) – производится нагрев бандажа до 400С-450С. такая температура достигается за три-четыре перехода индуктора в течении 15-20 минут. При нагреве бандажа по сечению до указанной температуры, он спадает с посадочной поверхности.
Демонтаж бандажа с помощью взрыва – такая технология применялась на ММК еще в 50-х годах прошлого века. В 1953 г. стан 1450 горячей прокатки полностью перевели на составные опорные валки. Изношенные бандажи снимаются с оси взрывом небольших зарядов, закладываемых в просверленные отверстия. Такая технология возможна в условиях г. Магнитогорска.
Экономическое обоснование проекта
ОАО «ММК» - крупнейший металлургический комбинат нашей страны. Его основной задачей является полное удовлетворение потребностей рынка в высококачественноой продукции. Цех ЛПЦ –4 входит в состав ММК, котрый является акционерным обществом. Развитие комбината не стоит на месте: совершенствуются методы обработки металла, внедряются в жизнь новые идеи, закупается современное оборудование.
Модернизация стана 2500 ЛПЦ-4 ОАО «ММК» осуществляется путем замены цельных валков на бандажированные. Стоимость одного бандажированного валка составляет 1,8 млн. руб., при этом годовой расход валков 10 шт. Стоимость бандажированных валков составляет 60% от стоимости цельных, при этом за счет применения для бандажа более износостойкого материала годовой расход валков уменьшиться в 1,6 раза и составит 6 шт. в год.
4.1 Расчет производственной программы
Составление производственной программы начинается с расчета баланса времени работы оборудования в планируемом периоде 28.
Фактическое время работы оборудования рассчитывается по формуле:
Т>ф> =Т>ном>*С*Т>с>*(1-Т>т.пр>/100%) (66)
где С=2 – количество смен работы оборудования,
Т>с>=12 – продолжительность одной смены,
Т>т.пр> – процент текущих простоев по отношению к номинальному времени (8,10%),
Т>ном> – номинальное время работы оборудования, рассчитываемое по формуле:
Т>ном>=Т>кал>-Т>рп>-Т>п.пр>-Т>в> (67)
где Т>кал>=365 сут. – календарный фонд времени работы оборудования,
Т>рп>=18,8 сут. – режимные простои;
Т>п.пр>=12- количество дней нахождения оборудования на планово-предупредительных ремонтах,
Т>в> – общее количество праздничных и выходных дней в году.
Т>в>=0, так как график работы непрерывный.
Годовой объем производства рассчитывается, как:
Q>год>=Р>ср>*Т>ф> (68)
Где Р>ср>=136,06 т/час – среднечасовая производительность.
Фактическое время работы оборудования и годовой объем производства:
Т>ном>=365-18,8-12-0=334,2 (суток)
Т>т.пр>=0,081*334,2=27,7 (суток) или 650 (ч)
Т>ф> =334,2*2*12*(1-8,1/100)=7371 (ч)
Q>год>=136,06*5033=1002870 т
Рассчитанные данные приведены в таблицу 12.
Таблица 12 - Баланс времени работы оборудования
|
Показатель |
Единицы Измерения |
Количество |
|
1) календарное время 2) планируемые простои - плановые ремонты - режимные простои 3) номинальное время 4) текущие простои 5) фактическое время 6) среднечасовая производительность 7) годовой объём производства |
сут сут сут сут ч ч т/час т |
365 12 18,8 334,2 650 7371 136,06 1002870 |
4.2 Расчёт сметы капитальных затрат
Затраты на осуществление модернизации стана 2500 рассчитываются по формуле:
К>з>=С>об>+М+Д±О-Л (69)
где М– затраты на монтаж оборудования,
Д – затраты на демонтаж оборудования,
О – остаточная стоимость демонтируемого оборудования
Л> >– ликвидационная стоимость (по цене металлолома), рассчитываемая как:
Л=m*Ц>л > (70)
где m – масса демонтируемого оборудования,
Ц>л> – цена 1 тонны металлолома,
С>об >– стоимость приобретенного оборудования.
Тогда затраты на закупку валков составят:
С>об>=6*(1800000*0,6)=6480000 руб.
Затраты на демонтаж старых и монтаж новых валков равны нулю, так как смена валков является текущей работой в цехе: М=Д=0 руб.
Происходит замена цельных валков, уже и износившихся, соответственно их остаточная стоимость О=0 руб.
Износившиеся цельные валки идут на переработку, поэтому ликвидационной стоимостью не обладают (Л=0).
Таким образом, капитальные затраты на осуществление модернизации:
К>з>=6480000+0+0+0-0=6480000 руб.
4.3 Организация труда и заработной платы
Расчет фонда оплаты труда приведен в таблицу 13.
Таблица 13 - Расчет фонда оплаты труда
|
№ п/п |
Наименование показателя |
Наименование рабочего места |
||||
|
Мастер (старш.) |
Бригадир |
Машинист крана |
Вальцовщик |
Оператор поста |
||
|
1. |
Отношение к производству |
ПР |
ПР |
ПР |
ПР |
ПР |
|
2. |
Разряд работы или оклад |
7 |
6 |
5 |
6 |
5 |
|
3. |
Тарифная сетка |
№ 1 |
№1 |
№ 1 |
№1 |
№ 1 |
|
4. |
Тарифная ставка, руб./ч. |
24,78 |
21,71 |
18,87 |
21,71 |
18,87 |
|
5. |
Система оплаты труда |
СП |
СП |
СП |
СП |
СП |
|
6. |
График работы |
2Н |
2Н |
2Н |
2Н |
2Н |
|
Продолжение таблицы 13 |
||||||
|
7. |
Количество работающих с учетом подмены |
8 |
8 |
4 |
4 |
4 |
|
8. |
Планируемое выполнение норм выработки |
100% |
100% |
100% |
100% |
100% |
|
9. |
Фонд рабочего времени, чел./ ч. |
182,5 |
182,5 |
182,5 |
182,5 |
182,5 |
|
9.1 |
Работа в праздничные дни |
5,5 |
5,5 |
5,5 |
5,5 |
5,5 |
|
9.2 |
Переработка по графику, чел./ ч. |
10 |
10 |
10 |
10 |
10 |
|
9.3 |
Работа в ночное время, чел./ ч. |
60,83 |
60,83 |
60,83 |
60,83 |
60,83 |
|
9.4 |
Работа в вечернее время |
60,83 |
60,83 |
60,83 |
60,83 |
60,83 |
|
10. |
Основная заработная плата, руб./мес.(Σстр.10.1÷10.8) |
8584,67 |
7406,10 |
6537,22 |
7406,10 |
6537,22 |
|
10.1 |
Оплата по тарифу (стр.4*стр.9) |
4522,35 |
3962,07 |
3443,78 |
3962,07 |
3443,78 |
|
10.2 |
Сдельный приработок |
0 |
0 |
0 |
0 |
0 |
|
10.3 |
Производственная премия |
1808,94 |
1584,83 |
1377,51 |
1584,83 |
1377,51 |
|
10.4 |
Доплата за работу в праздничные дни |
136,29 |
119,41 |
103,78 |
119,41 |
103,78 |
|
10.5 |
Доплата за переработку по графику |
92,93 |
81,41 |
70,76 |
81,41 |
70,76 |
|
10.6 |
Доплата за работу в ночное время |
602,95 |
528,25 |
459,14 |
528,25 |
459,14 |
|
10.7 |
Доплата за работу в вечернее время |
301,47 |
264,12 |
229,57 |
164,12 |
229,57 |
|
10.8 |
Доплата по районному коэффициенту |
1119,74 |
966,01 |
852,68 |
966,01 |
852,68 |
|
11. |
Дополнительная заработная плата |
1502,32 |
1296,07 |
1144,01 |
1296,07 |
1144,01 |
|
12. |
Всего заработная плата по одному рабочему (стр.10+стр.11) |
10086,99 |
8702,17 |
7681,23 |
8702,17 |
7681,23 |
|
13. |
Всего заработная плата всех рабочих |
80695,92 |
69617,36 |
30724,92 |
34808,68 |
30724,92 |
Пояснения к таблице 13:
Расчет фонда рабочего времени (п. 9):
t>мес>=365*С>смен>*t>смен>/(12*б) (71)
где С>смен >=2 – количество смен за сутки,
t>смен>= 12 ч.– продолжительность одной смены,
б=4 – количество бригад,
t>мес.>=365*2*12/(12*4)=182,5 чел*час
Продолжительность работы в праздничные дни:
t>пр>=n>пр>* С>смен>*t>смен>/(12*б) (72)
t>пр>=11*2*12/12*4=5,5 чел*час
Продолжительность переработки по графику:
∆ t>мес>=t>гр>-(2004/12),
t>гр>=∆ t>мес >-t>пр>.
∆ t>мес>=182,5-2004/12=15,5 чел*час,
t>гр>=15,5-5,5=10 чел*час.
Расчет времени работы в ночное и вечернее время:
t>ночн>=1/3* t>мес>,
t>веч>=1/3* t>мес>,
t>ночн>=1/3*182,5=60,83 чел*час,
t>веч>=1/3*182,5=60,83 чел*час.
Расчет заработной платы по трарифу (п. 10.1):
ЗП>тар>= t>час>* t>мес>,
t>час> – часовая тарифная ставка.
Для 7го разряда: ЗП>тар>=24,78*182,5=4522,35 руб.;
Для 6го разряда: ЗП>тар>=21,71*182,5=3962,07 руб.
Для 5го разряда: ЗП>тар>=18,87*182,5=3443,78 руб.;
Расчет сдельного приработка (п. 10.2):
∆ЗП>сд>=ЗП>тар>*[(N>выр>-100)/100], где
N>выр>- планируемое выполнение норм выработки, %.
Для обоих рабочих: > >∆ЗП>сд>=0, так как норма выработки 100% и приработка нет.
Расчет производственной премии (п. 10.3):
ЗП>прем.>=(ЗП>тар.>+ ∆ЗП>сд>)*Премия/100%,
Размер производственной премии, установленный на данном участке равен 40%.
Для 7го разряда: ЗП>прем.>=(4522,35+0)*40%/100%=1808,94 руб.;
Для 6го разряда: ЗП>прем.>=(3962,07+0)*40%/100%=1584,83 руб.
Для 5го разряда: ЗП>прем.>=(3443,78+0)*40%/100%=1377,51 руб.;
Расчет доплаты за работу в праздничные дни при норме выработки в 100%:
∆ЗП>пр>= t>час>*(100/100)* t>пр>.
Для 7го разряда: ∆ЗП>пр>=24,78*5,5=136,29 руб.,
Для 6го разряда: ∆ЗП>пр>=21,71*5,5=119,41 руб.
Для 5го разряда: ∆ЗП>пр>=18,87*5,5=103,78 руб.,
Расчет доплаты за переработку по графику (37,5%):
∆ЗП>гр>= t>час>*(37,5/100)* t>гр>
Для 7го разряда: ∆ЗП>гр>=24,78*10*0,375=92,93 руб.,
Для 6го разряда: ∆ЗП>гр>=21,71*10*0,375=81,41 руб.
Для 7го разряда: ∆ЗП>гр>=18,87*10*0,375=70,76 руб.,
Расчет доплаты за работу в ночное время (40%):
∆ЗП>ночн>= t>час>*(40/100)* t>ночн>
Для 7го разряда : ∆ЗП>ночн>=24,78*0,4*60,83=602,95 руб.,
Для 6го разряда: ∆ЗП>ночн>=21,71*0,4*60,83=528,25 руб.
Для 5го разряда : ∆ЗП>ночн>=18,87*0,4*60,83=459,14 руб.,
Расчет доплаты за работу в вечернее время (20%):
∆ЗП>веч>= t>час>*(20/100)* t>веч>
Для 7го разряда : ∆ЗП>веч>=24,78*0,2*60,83=301,47 руб.,
Для 6го разряда: ∆ЗП>веч>=21,71*0,2*60,83=264,12 руб.
Для 5го разряда : ∆ЗП>веч>=18,87*0,2*60,83=229,57 руб.,
Районный коэффициент для уральского региона равен 15%.
∆ЗП>р>=0,15*(ЗП>тар>+∆ЗП>сд>+∆ЗП>пр> +∆ЗП>гр> +∆ЗП>ночн> +∆ЗП>веч>+ЗП>прем.>).
Для 7го разряда : ∆ЗП>р>=0,15*(4522,35+0+1808,94+136,29+92,93+
+602,95+301,47)=1502,32 руб.,
Для 6го разряда: ∆ЗП>р>=0,15*(3962,07+0+1584,83+119,41+
+81,41+528,25+264,12)=966,01 руб.
Для 5го разряда : ∆ЗП>р>=0,15*(3443,78+0+1377,51+103,78+70,76+
+459,14+229,57)=852,68 руб.,
Расчет дополнительной заработной платы (п. 11):
При длительности очередного отпуска в 30 дней коэффициент зависимости дополнительной заработной платы от основной составляет 17,5%.
Для 7го разряда: ЗП>доп>=0,175*8584,67=1502,32 руб.,
Для 6го разряда: ЗП>доп>=0,175*7406,10=1296,07 руб.
Для 5го разряда: ЗП>доп>=0,175*6537,22=1144,01 руб.
4.4 Расчет отчислений на социальные нужды
Годовой фонд оплаты труда:
ФОТ>год>=S>числ>*ЗП>мес>*12 (73)
где S>числ> – списочная численность,
ЗП>мес> – зарплата за месяц одного сотрудника.
ФОТ>год>=(80695,92+69617,36+30724,92+34808,68+30724,92)*12=2958861,6 руб
Таблица 14 - Расчет отчислений во внебюджетные фонды
|
Вид начислений |
% |
Сумма, р. |
|
ЕСН: |
||
|
– в пенсионный фонд |
28 |
828481,25 |
|
– в фонд социального страхования |
4 |
118354,46 |
|
– в фонд медицинского страхования |
3,6 |
106519,02 |
|
Итого отчислений |
35,6 |
1053354,73 |
Итого ФОТ с отчислениями: 2958861,6 +1053354,7=34012216,33 руб.
4.5 Расчет себестоимости продукции
.
Таблица 15 - Калькуляция себестоимости 1 т готовой продукции
|
Наименование статьи затрат |
Цена, руб./ед |
Сумма |
отклонение |
|
|
База |
Проект |
|||
|
Задано |
||||
|
1.полуфабрикаты, т |
- |
5380,93 |
5380,93 |
0 |
|
2.отходы: - угар - концы и обрезки в шихту -концы и обрезки некондиция - окалина |
0 1301,57 1800,00 150,00 |
0,02 17,55 0,17 2,75 |
0,02 17,55 0,17 2,75 |
0 |
|
3. брак: -по прокату - брак 1-го предела - по металлу |
1300,00 1300,00 0 |
4,86 0,84 0,00 |
4,86 0,84 0,00 |
0 |
|
Итого за вычетом отходов и брака |
3502,04 |
3502,04 |
0 |
|
|
1.электроэнергия |
326,29 |
28,59 |
28,59 |
0 |
|
2.топливо технологическое |
602,50 |
29,90 |
29,90 |
0 |
|
3. отходящее тепло |
25,00 |
-1,07 |
-1,07 |
0 |
|
4. вода техническая |
142,21 |
0,15 |
0,15 |
0 |
|
5. сжатый воздух |
62,84 |
1,06 |
1,06 |
0 |
|
6. пар |
100,95 |
0,34 |
0,34 |
0 |
|
7. дпу |
20,09 |
1,59 |
1,59 |
0 |
|
8. вспомогательные материалы |
- |
4,08 |
4,08 |
0 |
|
9.основная з/п ПР |
- |
3,46 |
3,46 |
0 |
|
10.дополнительная з/п ПР |
- |
0,61 |
0,61 |
0 |
|
11.отчисления на социальные нужды |
- |
4,07 |
4,07 |
0 |
|
12.амортизация |
- |
32,60 |
32,60 |
0 |
|
13. сменное оборудование в т.ч. валки |
- |
68,43 64,90 |
42,47 38,94 |
25,96 25,96 |
|
14.транспортные расходы |
- |
9,25 |
9,25 |
0 |
|
Итого расходов по переделу |
419,06 |
419,06 |
0 |
|
|
15. потери от брака |
1,18 |
1,18 |
0 |
|
|
16. расходы по травлению |
124,13 |
124,13 |
0 |
|
|
17. расходы по термич.обработке |
67,09 |
67,09 |
0 |
|
|
Итого производственная себестоимость |
4052,85 |
4026,89 |
25,96 |
Расчеты к таблице 15:
1. Основная заработная плата производственных рабочих:
ЗП>осн>=ЗП>осн>*12* S>числ>/ Q>год> (74)
ЗП>осн>=(8584,67*8+7406,10*12+6537,22*8)*12/187946=3,46 руб.
2. Дополнительная плата производственных рабочих:
ЗП>доп>=ЗП>доп>*12* S>числ>/ Q>год> (75)
ЗП>доп>=(1502,32*8+1296,07*12+1144,01*8)*12/187946=0,61 руб.
3. Отчисления с фонда оплаты труда:
Отчисления с фонда оплаты труда были рассчитаны в предыдущей главе в табл. 3 и составляют 2958861,6 руб. на весь годовой объем выпуска продукции, тогда на 1 т они составят: 2958861,6 /186946=4,07 руб.
В проектном варианте все статьи калькуляции останутся неизменными, кроме затрат на сменное оборудование (валки).
4.6 Расчет основных технико-экономических показателей
Прибыль от реализации продукции:
Пр=(Ц-С/с)*Qгод (76)
где Ц – средняя оптовая цена без НДС 1т готовой продукции.
Ц=4460 руб., тогда с НДС Ц=5262,8 руб.
в базовом варианте:
Пр=(4460-4052,85)*1002870=408318520 руб.,
в проектном варианте:
Пр/=(4460-4026,89)*1002870=434353026 руб.
Таблица 16 - Расчет чистой прибыли
|
№ п/п |
Наименование показателей |
Сумма, руб. |
Отклонения |
|
|
база |
проект |
|||
|
1. |
Выручка от реализации продукции, всего (Цена с НДС*Qгод) |
5277904236 |
5277904236 |
0 |
|
в т.ч. НДС (стр.1*0,1525) |
804880396 |
804880396 |
0 |
|
|
2. |
Выручка от реализации продукции за вычетом НДС (стр.1-стр.2) |
4473023840 |
4473023840 |
0 |
|
3. |
Себестоимость продукции (С/с*Qгод) |
4064481680 |
4038447174 |
26034506 |
|
4. |
Управленческие расходы |
250000 |
250000 |
0 |
|
5. |
Коммерческие расходы |
300000 |
300000 |
0 |
|
6. |
Валовая прибыль (стр.2-3-4-5) |
407992160 |
434026666 |
|
|
7. |
Выручка от реализации основных средств и иного имущества |
0 |
0 |
26034506 |
|
8. |
Проценты к получению |
0 |
0 |
0 |
|
9. |
Доходы по государственным ценным бумагам |
0 |
0 |
0 |
|
10. |
Доходы от участия в других организациях |
0 |
0 |
0 |
|
11. |
Прочие внереализационные доходы |
0 |
0 |
0 |
|
12. |
Платежи за пользование природными ресурсами |
500000 |
500000 |
0 |
|
13. |
Расходы по реализации основных средств и иного имущества |
0 |
0 |
0 |
|
14. |
Прочие операционные расходы |
0 |
0 |
0 |
|
15. |
Проценты к уплате |
0 |
0 |
0 |
|
16. |
Налог на имущество |
3250000 |
3250000 |
0 |
|
17. |
Налог на рекламу |
160000 |
160000 |
0 |
|
18. |
Прочие внереализационные расходы |
0 |
0 |
0 |
|
19. |
Прибыль отчетного года (Σстр.6÷11 –Σстр12÷18) |
404082160 |
430116666 |
26034506 |
|
20. |
Налогооблагаемая прибыль (стр.19-8-9-10) |
404082160 |
430116666 |
26034506 |
|
21. |
Налог на прибыль (стр.20*0,24) |
96979718 |
103228000 |
6248282 |
|
22. |
Чистая прибыль (стр.19-стр.21) |
307102442 |
326888666 |
19786224 |
∆Пч=326888666-307102442=19786224 руб.
Рентабельность продукции:
Рп=(Пр/С/с)*100% (77)
в базовом варианте:
Рп=(4460-4052,85)/4052,85*100%=10%,
в проектном варианте:
Рп/=(4460-4026,89)/4026,89*100%=10,75%.
Простая
ПНП=Пч/И (78)
где И – общий объем инвестиций.
Общий объем инвестиций равен сумме капитальных затрат (И=Кз=6480000 руб.)
ПНП=326888666/6480000=50,44.
Период окупаемости:
Ток=И/∆Пч (79)
Ток=6480000/19786224=0,32 г или 4 месяца.
Заключение
Предлагается заменить использование цельнокованных опорных валков в 5,6 клетях стана 2500 (ЛПЦ-4) ОАО «ММК» на составные валки.
На основании проведенного обзора, анализа конструкций и опыта эксплуатации бандажированных валков была выбрана оптимальная конструкция составного валка с точки зрения постоты его изготовления и более низкой стоимости.
В качестве материала бандажа предлагается использовать стали 150ХНМ или 35Х5НМФ, износостойкость которых в 2-3 раза выше, чем стали 9ХФ, из которой изготавливаются цельнокованные валки. Бандажи предлагается изготавливать литыми с тройной нормализацией. Для изготовления осей использовать отработанные валки.
Произведены расчеты напряженно-деформированного состояния и несущей способности для различных величин посадочных диаметров (1150 мм и 1300 мм), минимального, среднего и максимального значений натягов (=0,8;1,15;1,3) и коэффициента трения (f=0,14;0,3;0,4). Установлено, что в случае для 1150 мм картина распределения напряжений в валке более блаоприятна, чем для 1300 мм, а несущая способность выше в 1,5-2 раза. Но с увеличением натягов возрастают и напряжения растяжения в соединении, превышая допускаемые для стали 150ХНМ. Поэтому становиться целесообразным использовать минимальный натяг =0,8мм, который обеспечивает передачу крутящего момента с достаточным запасом даже при минимальном коэффициенте трения f=0,14.
Для увеличения несущей способности такого соединения, не увеличивая при этом значения напряжений, предлагается повысить коэффициент трения на сопрягаемых поверхностях путем нанесения металлического покрытия. В качестве материала покрытия был выбран алюминий, исходя из его стоимости и теплофизических свойств. Как показывает опыт применения такого покрытия на сопрягаемых поверхностях оси и бандажа в условиях работы составных валков на стане 2000 (ЛПЦ-10) ОАО «ММК», алюминий увеличивает коэффициент трения до значений f=0,3-0,4. Крме того, покрытие увеличивает площадь фактического контакта ось-бандаж и его теплопроводность.
Максимально возможный прогиб, определенный расчетным путем, составляет 0,62 мм, зона проскальзывания 45 мм.
Соединение бандажа с осью осуществляется тепловым способом, путем нагрева бандажа до 350-400С.
На основании проведенных расчетов выбраная конструкция составного валка с цилиндрическими посадочными поверхностями оси и бандажа, без применения каких-либо дополнительных фиксирующих устройств (бурты, конуса, шпонки), была признана оптимальной.
Для предотвращения фреттинг-коррозии и снятия концентрации остаточных напряжений на торцах бандажа, на краях оси выполнены скосы, таким образом, что в зонах, прилегающих к торцам бандажа, натяг равен нулю.
Стоимость составного валка составляет 60% от стоимости нового цельнокованного валка (1,8 млн.руб.). С переходо на составные валки их расход сократится с 10 до 6 шт в год. Ожидаемый экономический эффект составит около 20 млн.руб.
Список использованных источников
Полезн. мод. 35606 РФ, МПК В21В 27/02. Составной прокатный валок /Морозов А.А., Тахаутдинов Р.С., Белевский Л.С. и др. (РФ) - №2003128756/20; заявл. 30.09.2003; опубл. 27.01.2004. Бюл. №3.
Валок с бандажом из спеченого карбида вольфрама металла. Kimura Hiroyuki. Японск. патент. 7В 21В 2700. JP 3291143 В2 8155507А, 29.11.94.
Полезн. мод. 25857 РФ, МПК В21В 27/02. Прокатный валок /Ветер В.В., Белкин Г.А., Самойлов В.И. (РФ) - №2002112624/20; заявл. 13.05.2002; опубл. 27.10.2002. Бюл. №30.
Пат. 2173228 РФ, МПК В21В 27/03. Прокатный валок /Ветер В.В., Белкин Г.А. (РФ) - №99126744/02; заявл. 22.12.99; опубл. 10.09.01//
Пат. 2991648 РФ, МПК В21В 27/03. Составной прокатный валок /Полецков П.П., Фиркович А.Ю., Тишин С.В. и др. (РФ) - №2001114313/02; заявл. 24.05.2001; опубл. 27.10.2002. Бюл. №30.
Полезн. мод. 12991 РФ, МПК В21В 27/02. Составной валок /Полецков П.П., Фиркович А.Ю., Антипенко А.И. и др. (РФ) - №99118942/20; заявл. 01.09.99; опубл. 20.03.2000. Бюл. №8.
Пат. 2210445 РФ, МПК В21В 27/03. Составной валок /Полецков П.П., Фиркович А.Ю., Антипенко А.И. и др. (РФ) - №2000132306/02; заявл. 21.12.2000; опубл. 20.08.2003. Бюл. №23.
Гречищев Е.С., Ильященко А.А. Соединения с натягом: Расчеты, проектирование, изготовление – М.: Машиностроение, 1981 – 247 с., ил.
Орлов П.И. Основы конструирования: Справочно-методическое пособие. В 2-х кн. Кн. 2. Под ред. П.Н. Учаева. – 3-е изд., исправл. – М.: Машиностроение, 1988. – 544 с., ил.
Народецкий М.З. К выбору посадок колец подшипников качения. «Инженерный сборник» Институт механики АН СССР, т. 3, вып. 2, 1947, с. 15-26
Колбасин Г.Ф. Исследование работоспособности составных прокатных валков со сменным бандажом: Дис.: ..к.т.н. – Магнитогорск, 1974. – 176 с.
Тимошенко С.П. Сопротивление материалов, ч. П.М. – Л., Гостехтеориздат, 1933.
Балацкий Л.Т. Усталость валов в соединениях. – Киев: Техника, 1972, - 180 с.
Полухин П.И., Николаев В.А., Полухин В.П. и др. Прочность прокатных валков. – Алма-Ата: Наука, 1984. – 295 с.
Горячая прокатка полос на стане «2500». Технологическая инструкция ТИ – 101-П-Гл.4 – 71-97
Расчет кратности использования оси составного валка /Фиркович А.Ю., Полецков П.П., Солганин В.М. – Сб. центр. лаб. ОАО «ММК»: вып. 4. Магнитогорск 2000. – 242 с.
Соколов Л.Д., Гребеник В.М., Тылкин М.А. Исследование прокатного оборудования, Металлургия, 1964.
Сорокин В.Г. Марочник сталей и сплавов, Машиностроение, 1989.
Фирсов В.Т., Морозов Б.А., Софронов В.И. и др. Исследование работоспособности прессовых соединений типа вал-втулка в условиях статического и циклического знакопеременного нагружения //Вестник машиностроения, - 1982. №11. – с. 29-33.
Сафьян М.М. Прокатка широкополосной стали. Изд-во «Металлургия», 1969, с. 460.
Целиков А.И., Смирнов В.В. Прокатные станы, Металлургиздат, 1958.
Фирсов В.Т., Софронов В.И., Морозов Б.А. Экспериментальное исследование жесткости и остаточного прогиба бандажированных опорных валков //Прочность и надежность металлургических машин: Труды ВНИМЕТМАШ. Сб. №61. – М., 1979. – с. 37-43
Бобровников Г.А. Прочность посадок, осуществляемых с применением холода. – М.: Машиностроение, 1971. – 95 с.
Белевский Л.С. Пластическое деформирование поверхностного слоя и формирование покрытия при нанесении гибким инструментом. – Магнитогорск: Лицей РАН, 1996. – 231 с.
Чертавских А.К. Трение и смазка при обработке металлов давлением. – М.: Маталлургиздат, 1949
Воронцов Н.М., Жадан В.Т., Шнееров Б.Я. и др. Эксплуатация валков обжимных и сортопрокатных станов. – М.: Металлургия, 1973. – 288 с.
Покровский А.М., Пешковцев В.Г., Земсков А.А. Оценка трещиностойкости бандажированных прокатных валков //Вестник машиностроения, 2003. № 9 – с. 44-48.
Ковалев В.В. Финансовый анализ: Методы и процедуры. – М.: Финансы и статистика, 2002. – 560 с.: ил.
|
№ строки |
Формат |
Обозначение |
Наименование |
Кол. листов |
Примечание |
|
1 |
А4 |
Д.ММ.1204.001.00.00.ПЗ |
Пояснительная записка |
72 |
|
|
2 |
А1 |
Д.ММ.1204.001.00.00.ДЛ1 |
Составной опорный валок 5,6 клетей |
|
|
|
|
|
|
стана 2500 ОАО ММК |
1 |
|
|
3 |
А1 |
Д.ММ.1204.001.00.00.ДЛ2 |
Характеристика прокатных валков |
|
|
|
|
|
|
5,6 клетей стана 2500 |
1 |
|
|
4 |
А1 |
Д.ММ.1204.001.00.00.ДЛ3 |
Расчетная схема для определения |
|
|
|
|
|
|
напряженного состояния валка |
1 |
|
|
5 |
А1 |
Д.ММ.1204.001.00.00.ДЛ4 |
Расчетные формулы для определения |
|
|
|
|
|
|
напряженного состояния валка |
1 |
|
|
6 |
А1 |
Д.ММ.1204.001.00.00.ДЛ5 |
Эпюры напряжений, зависящие от |
|
|
|
|
|
|
контактного давления |
1 |
|
|
7 |
А1 |
Д.ММ.1204.001.00.00.ДЛ6 |
Эпюры тангенциальных напряжений |
|
|
|
|
|
|
на контактных поверхностях оси и |
|
|
|
|
|
|
бандажа |
1 |
|
|
8 |
А1 |
Д.ММ.1204.001.00.00.ДЛ7 |
Технико-экономические показатели |
1 |
|
|
|
|
|
|
|
|
|
|
|
|
|
|
|
|
|
|
|
|
|
|
|
|
|
|
|
|
Д.ММ.1204.001.00.00.ВП |
||||
|
|
|
|
|
|
|||||
|
|
|
|
|
|
|||||
|
|
|
|
|
|
|
Лит. |
Масса |
Масштаб |
|
|
Изм. |
Лист |
№ докум. |
Подп. |
Дата |
|
|
|
|
|
|
Разраб. |
Мухомедова Е.А |
|
|
||||||
|
Пров. |
Белевский Л.С. |
|
|
||||||
|
Т.контр. |
|
|
|
Лист |
Листов |
||||
|
|
|
|
|
Ведомость дипломной работы |
МГТУ 1204 |
||||
|
Н.контр. |
|
|
|
||||||
|
Утв. |
|
|
|
Реферат
Дипломная работа на тему: «Исследование и разработка конструкции бандажированного опорного валка стана 2500 горячей прокатки ОАО ММК».
Страниц 72, рисунков 14, таблиц 16, использованных источников 28, листов графического материала 7.
Ключевые слова: опорный валок, бандаж, ось, кратность использования оси, напряжения в составном валке, прогиб, зона проскальзывания, натяг, покрытие.
Объект исследования и разработки: бандажированный опорный валок.
Цель работы: разработка конструкции составных опорных валков, обеспечивающей их надежность в процессе эксплуатации, повышение из стойкости и снижение стоимости.
Метод исследования: расчетно-графический.
Основные конструктивные, технологические и технико-эксплуатационные характеристики: посадочные поверхности бандажа и оси цилиндрические, осуществляемые посадки с гарантированным натягом, без применения дополнительных фиксирующих устройств, с нанесением металлического покрытия на сопрягаемые поверхности.
Полученные результаты: выбраны оптимальные конструктивные размеры валка, натяг, материал бандажа.
Степень внедрения: рекомендуется к внедрению.
Область применения: прокатное производство.
Экономическая эффективность: ожидаемый годовой эффект около 20 млн. рублей.
МИНИСТЕРСТВО ОБРАЗОВАНИЯ РОССИЙСКОЙ ФЕДЕРАЦИИ
МАГНИТОГОРСКИЙ ГОСУДАРСТВЕННЫЙ
ТЕХНИЧЕСКИЙ УНИВЕРСИТЕТ им. Г.И. НОСОВА
Факультет___Механико-машиностроительный _______
Кафедра____ОД и ПМ ____________________________
Специальность____1204 Машиностроение и технология __обработки металлов давлением_____
Допустить к защите
Заведующий кафедрой
_______________/Денисов П.И/
«____»________________2004г.
ДИПЛОМНАЯ РАБОТА
_______Д.ММ.1204.001.00.00.ПЗ______
Студента Мухомедовой Екатерины Анясовны________________
На тему:____Исследование и разработка конструкции_________ ___ бандажированного опорного валка стана 2500 горячей______ ________________прокатки ОАО ММК________________________
__________________________________________________________________
Состав дипломной работы:
Расчетно-пояснительная записка на _72 страницах
Графическая часть на _7_листах
РАСЧЕТНО-ПОЯСНИТЕЛЬНАЯ ЗАПИСКА К ДИПЛОМНОЙ РАБОТЕ
Руководитель дипломной работы________________________________/Белевский Л.С./
________________________________________________________________________________
Консультанты__ст. преподаватель_____________________ ________/Куликов С.В./
____________________________________________________________________
____________________________________________________________________
____________________________________________________________________
(уч. степень, уч. звание, фамилия, и.о.)
Дипломник______________________
(подпись)
«____»______________2004г.
МИНИСТЕРСТВО ОБРАЗОВАНИЯ РОССИЙСКОЙ ФЕДЕРАЦИИ
МАГНИТОГОРСКИЙ ГОСУДАРСТВЕННЫЙ
ТЕХНИЧЕСКИЙ УНИВЕРСИТЕТ им. Г.И. НОСОВА
Кафедра____ОД и ПМ_______________________________
_______________________________________________
УТВЕРЖДАЮ:
Заведующий кафедрой
_______________/Денисов П.И./
____________________ 2004 г.
ДИПЛОМНАЯ РАБОТА
ЗАДАНИЕ
Тема:_____Исследование и разработка конструкции________ _ ___ бандажированного опорного валка стана 2500 горячей______ ________________прокатки ОАО ММК________________________
__________________________________________________________________
Студенту ______ Мухомедовой Екатерине Анясовне_____________________
(фамилия, имя, отчество )
Тема утверждена приказом по вузу №___________от_________________200___г.
Срок выполнения «_____»______________________200___г.
Исходные данные к работе:__- Технологическая инструкция по стану 2500.__________
________________________________________________________________________________________________________________________________________________________________________________________________________________________________________________________________________________________________________________________________________________________________________________________________________________
Перечень вопросов, подлежащих разработке в дипломной работе:_______________________
1. Анализ конструкций составных прокатных валков;___________________________
2._Разработка конструкции бандажированного опорного валка стана «2500» горячей прокатки (выбор конструктивных размеров валка, натяга, материала бандажа);_____
3. Определение максимального прогиба составного валка;______________________
4. Исследование влияния покрытий на несущую способность соединения ось-______ бандаж, выбор материла и технологии нанесения покрытия;_____________________
5. Разработка мероприятий для предотвращения фреттинг-коррозии;_____________ 6. Разработка мероприятий по замене использованных бандажей;________________ 7. Оценка экономического эффекта от внедрения проекта;______________________ ________________________________________________________________________________________________________________________________________________________________________________________________________________________________________________________________________________________________________________________________________________________________________________________________________________________________________________________________________________________________
Графическая часть: 1. Составной опорный валок 5,6 клетей стана 2500 ОАО ММК____
2. Характеристика прокатных валков 5,6 клетей стана 2500______________________
3. Расчетная схема для определения напряженного состояния валка_____________
4.Расчетные формулы для определения напряженного состояния валка___________
5. Эпюры напряжений, зависящие от контактного давления______________________
6. Эпюры тангенциальных напряжений на контактных поверхностях оси и бандажа__
7. Технико-экономические показатели________________________________________
________________________________________________________________________
Консультанты по работе (с указанием относящихся к ним разделов):
Куликов С.В. – Экономика и планирование___________________________________ ________________________________________________________________________________________________________________________________________________________________________________________________________________________________________________________________________________________________________________________________________________________________________________________________________________
Руководитель:_________________________________________/_Белевский Л.С. ____/
(подпись, дата)
Задание получил:______________________________________/__Мухомедова Е.А.___/
(подпись, дата)