Литьё в кокиль (работа 1)
Контрольная работа №1
по дисциплине ТМТПСМ
Изложите
сущность способа литья в кокиль;
изобразите схемы кон-
струкций кокилей.
Укажите применяемые сплавы, достоинства,
недостатки
и области применения этого
способа.
Кокилем называют металлическую форму, заполняемую расплавом под действием гравитационных сил.
Сущность способа заключается в применении многократно используемой литейной формы, которая формирует конфигурацию и свойства отливки. При этом способе литья либо совсем исключается применение, либо расходуется малое количество песчаных смесей лишь на изготовление разовых стержней. В связи с этим отпадает необходимость в землеприготовительных отделениях.
Модельная оснастка при литье в кокиль включает подогреваемые стержневые ящики (для изготовления сплошных или оболочковых стержней), ящики для холоднотвердеющих стержневых смесей и т.д.
Металлическая форма обладает по сравнению с песчаной значительно большими теплоемкостью, теплопроводностью, прочностью и нулевой газопроницаемостью. Материалами для кокилей служат чугуны серые СЧ20, СЧ25 и высокопрочный ВЧ42-12; низкоуглеродистые стали 10 и 20; легированные стали 15ХМЛ и др.; алюминиевые сплавы АЛ9 и АЛ11; медь.
Наибольшее
распространение получили чугунные
кокили. Металлические стержни изготовляют
из конструкционных углеродистых
(простой) и легированных (сложной формы)
сталей. Кокили небольших размеров либо
отливают, либо получают обработкой
резанием из поковок. Рабочие полости и
элементы литниковой системы в последнем
случае получают электро-
физической
или электрохимической обработкой. Более
крупные кокили выполняют литыми. С целью
стабилизации размеров и форм кокили
проходят сложную термическую обработку.
По конструкции кокили бывают простыми и сложными. В зависимости от расположения плоскости разъема кокили делятся на неразъемные (вытряхные); с вертикальной, горизонтальной и сложной (комбинированной) плоскостями разъема.
Последовательность изготовления отливки в кокиле показана на рисунке 1. Она состоит из небольшого числа основных операций.
Рисунок 1.
а - очистка полуформ;
б - установка стержней;
в - заливка расплава;
г - частичное удаление металлического стержня;
д - извлечение отливки.
Этот
вид литья применяется в условиях
крупносерийного и массового про-
изводств.
Отливки получают из чугуна, стали и
цветных сплавов с толщиной сте-
нок
3...100 мм и массой от десятков граммов до
сотен килограммов. В соответ-
ствии с
ГОСТами точность отливок достигает
12...15-го квалитетов, а шерохова-
тость
поверхности Ra
= 25...2,5 мкм. Отливки характеризуются
стабильностью по
механическим свойствам
и плотности.
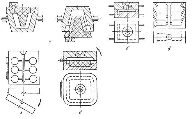
Разновидности кокилей показаны на рисунке 2.
Рисунок 2.

а - вытряхной;
б - с горизонтальной плоскостью разъема;
в - с вертикальной плоскостью разъема;
г - створчатый с вертикальной плоскостью разъема;
д - створчатый с горизонтальной плоскостью разъема.
Литье
в кокиль относится к трудо- и
материалосберегающим, малоопераци-
онным
и малоотходным технологическим процессам.
Оно улучшает условия тру-
да в литейном
производстве и уменьшает воздействие
на окружающую среду.
К
недостаткам кокильного литья следует
отнести высокую стоимость коки-
ля,
трудность получения тонкостенных
отливок в связи с быстрым отводом
теп-
лоты от расплава металлическим
кокилем, сравнительно небольшое число
зали-
вок при изготовлении в нем
стальных и чугунных отливок.
Список использованной литературы:
Дриц М.Е., Москалев М.А.
Технология конструкционных материалов и материаловедение: Учеб. для
вузов. - М.: Высш. шк., 1990. - 447 с.: ил.
Солнцев Ю.П., Веселов В.А., Демянцевич В.П. и др.
М.: Металлургия, 1988, 512 с.