Пленочные абсорберы
Пленочные абсорберы
В пленочных абсорберах газ и жидкость соприкасаются на поверхности текущей жидкой пленки. Течение пленки происходит по вертикальным поверхностям, представляющим собой трубы или пластины. Известны три типа пленочных абсорберов:
трубчатые абсорберы, в которых пленка стекает по внутренней поверхности вертикальных труб;
абсорберы с листовой (плоско-параллельной) насадкой, в которых пленка стекает по обеим поверхностям вертикальных пластин;
абсорберы с восходящим (обращенным) движением пленки.
Аппараты первых двух типов работают при противотоке газа и жидкости (газ движется с низу вверх навстречу стекающей по поверхности пленке); они могут работать при нисходящем прямотоке (газ и жидкость движутся сверху вниз). Абсорберы третьего типа работают при восходящем прямотоке (газ и жидкость движутся снизу вверх).

Рис. 1 Оросительный поверхностный абсорбер с водяным охлаждением

Рис. 2 Поверхностный абсорбер из графита (пластинчатый) водяным охлаждением
Трубчатые абсорберы, а также абсорберы с восходящим движением пленки могут применяться при одновременном отводе тепла в процессе абсорбции; по развиваемой в единице объема поверхности соприкосновения фаз и по интенсивности массопередачи эти абсорберы значительно превосходят поверхностные.
Гидравлическое сопротивление трубчатых абсорберов и абсорберов с листовой насадкой даже при сравнительно больших скоростях газа (4–5 м/с) невелико. Абсорберы с восходящим движением пленки, работающие при высоких скоростях газа (свыше 15–20 м/с), –высокоинтенсивные аппараты, но в то же время обладают значительным гидравлическим сопротивлением.
В настоящее время пленочные абсорберы применяются сравнительно редко; из них наиболее распространены трубчатые абсорберы, используемые для поглощения хорошо растворимых газов (NCl, NH>3>) из концентрированных газовых смесей при одновременном отводе тепла. Перспективным следует считать абсорберы с листовой насадкой, а также абсорберы с нисходящим и восходящим прямотоком, работающие при высоких скоростях газа.

Рис. 3. Плёночные абсорберы первых двух типов:
а) трубчатый; б) с листовой насадкой;
1-трубы; 2-трубные решётки; 3-пластины; 4-распределительное устройство.
Трубчатые пленочные абсорберы (рис. 3, а). Такие абсорберы выполняют в виде кожухотрубных (вертикально–оросительных) теплообменников, которые состоят из вертикального пучка труб 1, закрепленных в трубчатых решетках 2. Для подачи орошающей жидкости к стенкам труб служат специальные устройства. В межтрубном пространстве абсорбера движется охлаждающая жидкость (обычно вода) для отвода выделяющегося при абсорбции тепла.
Абсорберы с листовой насадкой (рис. 3, б). Эти абсорберы представляют собой колонны с насадкой в виде вертикальных пластин 3 (плоско–параллельная насадка) из того или иного твердого материала (металл, дерево, пластические массы) или туго натянутых полотнищ из ткани (1–4). В верхней части аппарата находится жидкость устройства 4, равномерно орошающие каждую пластину с обеих сторон.
Применяют также пакетные насадки, состоящие по высоте из отдельных пакетов; эти пакеты в свою очередь составлены их параллельных пластин. В литературе (2) описан аппарат, в котором размещена насадка в виде уложенных крест–накрест пакетов высотой 1000 и 80 мм. Высокие и низкие пакеты чередуются по высоте аппарата. Для лучшего распределения жидкости по насадке пластины низких пакетов обтянуты металлической сеткой. По характеру пакетная насадка близка к хордовой.
Установка словия нормальной работы абсорберов с листовой насадкой являются строго вертикальная пластин и равномерное распределение орошающей жидкости.
Абсорберы с восходящим движением пленки ,были предложены Семеновым. Принцип действия аппаратов этого типа основан на том, что при достаточно высоких скоростях (более 10 м/с) движущийся снизу вверх газ увлекает жидкую пленку в направлении своего движения, осуществляя таким образом восходящий прямоток. Абсорбцию в этих аппаратах ведут при больших скоростях газа (до 40 м/с), чем достигается высокие коэффициенты массопередачи.
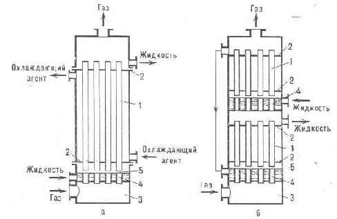
Схема абсорбера с восходящим движением пленки показана на (рис 4, а). Абсорбер состоит из пучка труб 1, закрепленных в трубных решетках 2. Газ подводится из камеры 3 через патрубки 4, расположенные соосно с трубами 1. Между верхними обрезами патрубков с нижними обрезами труб оставлены щели 5 , через которые жидкость поступает в трубы 1. Увлекаемая движущимся газом жидкость течет в виде пленки по внутренней поверхности этих труб снизу вверх. По выходе из труб 1 жидкость сливается на верхнюю трубную решетку и выводится из аппарата. В случае необходимости отвода выделяющегося при абсорбции тепла по межтрубному пространству пропускают охлаждающую жидкость, как показано на рис. 4, а.
В описанном абсорбере нельзя осуществить противоточный процесс. Однако в этом случае может быть применен абсорбер, включающий несколько соединенных противотоком ступеней, каждая из которых работает по принципу прямотока. Схема такого аппарата с двумя ступенями изображена на рис. 4, б.

Рис.4. Абсорбер с восходящим движением плёнки:
а) одноступенчатый; б) двухступенчатый; 1-трубы; 2-трубные решётки; 3-камера; 4-патрубки; 5-щели.
К группе пленочных аппаратов можно отнести испытанные в ряде работ абсорберы с восходящим закрученным потоком (6,7), в которых поступающий снизу газ проходит через винтовой завихритель и увлекает вверх жидкость, которая в межлопаточном пространстве завихрителя дробится на капли, а затем отбрасывается под действием центробежной силы на стенку трубы, образуя на ней винтообразную движущуюся пленку. Испытаны также абсорберы с нисходящим закрученным потоком (8). По данным указанных работ “закрутка” потока ведет к интенсификации массообмена.
Список литературы
Для подготовки данной применялись материалы сети Интернет из общего доступа