Оптическая обработка информации
Оптическая обработка информации
Вступление
Современная практика и научные исследования требуют измерений высоких и сверхвысоких напряжений — до 10 МВ и больших токов — до 1¸2 МА. Напряжения и токи при этом могут быть постоянными, переменными, и импульсными с длительностью импульсов от долей микросекунд до нескольких десятков миллисекунд. Измерение больших постоянных токов — до 200¸500 кА широко используется в устройствах электролиза алюминия. Большие переменные токи — до 150¸200 кА имеют место в мощных дуговых электропечах. Работают линии электропередачи с напряжением 1,2¸1,5 МВ, проектируются линии передачи и энергетические устройства на более высокие напряжения. В термоядерных установках токи достигают сотен килоампер.
В ряде случаев необходимо проводить измерения при сверхнизких и высоких температурах, например, в криотурбогенераторах или криомодулях высокоскоростных транспортных средств на магнитной подушке, при исследовании плазменных и термоядерных источников энергии.
Электрооптические методы измерений высоких напряжений и больших токов
Быстрое развитие линий электропередачи и электрофизических устройств высокого и сверхвысокого напряжения (1200 кВ и выше) обусловило появление новых методов измерений, не требующих создания дорогостоящих и громоздких изоляционных устройств на полное рабочее напряжение. Перспективными являются электрооптические методы, основанные на преобразовании измеряемых электрических величин в параметры оптического излучения и применении оптических каналов связи для передачи измерительной информации из зоны высокого напряжения на низковольтную часть измерительного устройства. Преимуществами этих методов являются высокое быстродействие, защищенность от электромагнитных помех, а также надежная естественная электрическая изоляция между высоковольтной и вторичной измерительными цепями вследствие их полной электрической развязки.
Электрооптические методы разделяются на методы с внутренней модуляцией, при которых сигнал измерительной информации непосредственно воздействует на источник оптического излучения, изменяя параметры его излучения, и методы с внешней модуляцией, основанные на воздействии измеряемой величины непосредственно на оптическое излучение от внешнего стабильного источника.

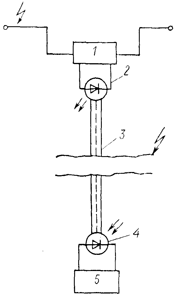
Рис. 1.
При измерении методами с внутренней модуляцией (рис. 1) источник оптического излучения 2 (например, светодиод) и первичный преобразователь 1 (шунт, измерительный трансформатор и др.) находятся под высоким напряжением, а приемник оптического излучения 4 и вторичное измерительное устройство 5 имеют потенциал Земли. В качестве оптического канала связи 3 между источником и приемником излучения применяются высоковольтные волоконные жесткие или гибкие световоды, которые обеспечивают надежную изоляцию измерительных устройств от высоковольтной цепи.
Методы с внешней модуляцией основаны на использовании электрооптических и магнитооптических эффектов, главным образом электрооптических эффектов Керра и Поккельса — для измерения напряженности электрического поля и напряжения, а также магнитооптического эффекта Фарадея — для измерения токов.
Время релаксации, свойственное электро- и магнитооптическим эффектам, составляет менее 10-10 с, поэтому на основе этих эффектов можно создать быстродействующие средства измерений постоянных, переменных и импульсных токов и напряжений, а также современные быстродействующие устройства защиты.
Использование эффекта Фарадея
Эффект Фарадея заключается во вращении плоскости поляризации линейно поляризованного света в оптически активных веществах под действием магнитного поля. Угол поворота плоскости поляризации света
>
>
где C>B> — постоянная Верде; l — длина пути света в веществе; В - магнитная индукция.
Измеряя угол поворота плоскости поляризации света, можно определить индукцию магнитного поля или силу тока, если преобразователь поместить в магнитном поле измеряемого тока.

Рис. 2.
Уравнение, записанное выше, справедливо для составляющей индукции В>l>, направленной вдоль пути света. Знак угла Q зависит от направления вектора магнитной индукции, но не зависит от направления света, что позволяет увеличить угол Q, если свет многократно пропускать через ячейку Фарадея. Как и в других методах, основанных на измерении магнитной индукции поля, создаваемого измеряемым током, при использовании эффекта Фарадея основными составляющими погрешности измерения тока являются погрешность преобразования измеряемого тока в магнитную индукцию и погрешность измерения магнитной индукции.
При использовании эффекта Фарадея измерение магнитной индукции сводится к измерению поворота плоскости поляризации света, которое обычно осуществляя методами прямого или уравновешивающего преобразования.
При применении метода прямого преобразования свет от лазера 1 направляется к преобразователю Фарадея 8 (рис. 2).
При этом поляризатор 2 и анализатор 4 могут быть расположены непосредственно у магнитооптического образца, что позволяет использовать оптические каналы связи 5 в виде обычных волоконных световодов.
Выходным сигналом
устройств, построенных на основе метода
прямого преобразования, является фототок
>
>
или выходное напряжение.
>
>
где R>н> — сопротивление нагрузки фотоприемника; S>Ф> — чувствительность фотоприемника; J>2> — интенсивность светового потока на входе фотоприемника, которая в соответствии с законом Малюса равна
>
>
|
|
|
|
|
|
|
|
|
здесь J>1> — интенсивность света на входе анализатора; j — угол между поляризатором и анализатором; Q — угол поворота плоскости поляризации, При j=45°
>
>
или при малых углах Q
>
>
При углах Q=7° погрешность линейности составляет 1%.
На рис. 3 показаны
различные виды магнитооптических
преобразователей Фарадея. Самый простой
преобразователь состоит из магнитооптического
элемента 2, расположенного у провода
1 с измеряемым током (рис. 3, а). Уменьшения
влияния внешних магнитных полей и
увеличения чувствительности средств
измерений, основанных на использовании
эффекта Фарадея, к току
>
>
можно достигнуть путем увеличения
коэффициента преобразования >
>,
применяя соленоид (рис. 3, б) или
ферромагнитный магнитопровод 3 с
магнитооптическим элементом 2, охватывающим
провод 1 с измеряемым током (рис. 3, в).
Однако использование таких преобразователей
связано с ухудшением динамических
характеристик прибора и появлением
фазовых погрешностей, а у прибора с
магнитопроводом — погрешностей
гистерезиса и линейности. Более
рациональный путь повышения чувствительности
— увеличение длины пути прохождения
светового луча в магнитооптическом
элементе за счет многократного отражения
(рис. 3, г) или использование многовиткового
магнитооптического преобразователя
из гибкого волоконного световода (рис.
3, д). Этот преобразователь, так же как
преобразователь, показанный на рис. 3,
е, одновременно является своеобразным
интегрирующим контуром, что позволяет
установить однозначную зависимость
между током и углом поворота плоскости
поляризации света и исключить влияние
внешних магнитных полей и неравномерного
распределения тока внутри контура:
|
Рис. 4, а. |
|
Рис. 4, б. |
|
Рис. 4, в. |
Рис. 4, г. |
>
>
В качестве рабочего вещества для магнитооптических преобразователей применяются стекла, содержащие оксид свинца (флинты, кроны) и плавленый кварц. Особенно большую постоянную Верде имеют пленки из феррита-граната, удельное фарадеевское вращение плоскости поляризации света в которых на два-три порядка больше, чем в стеклах.
Измерение напряжения с использованием электрооптических эффектов Керра и Поккельса
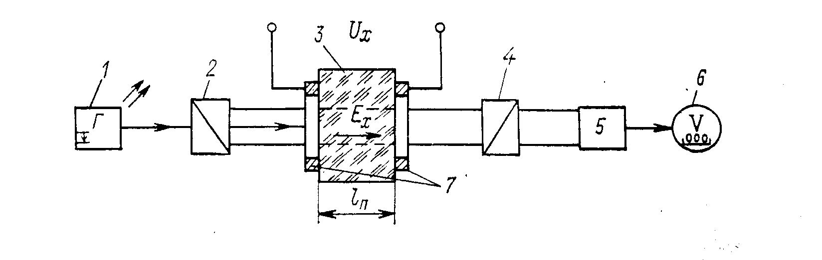
Измерение напряжения с использованием электрооптических эффектов Керра и Поккельса основано на возникновении двулучепреломления поляризованного света, распространяющегося в электрическом поле, создаваемом измеряемым напряжением.
Возникновение квадратичного эффекта Керра поясняется на рис. 4, а. Поляризованный луч света, образуемый с помощью источника света 1 и поляризатора 2, проходит через электрическое поле, создаваемое конденсатором 3, к электродам которого приложено измеряемое напряжение U>X>. При этом луч света направлен перпендикулярно вектору напряженности этого поля. После анализатора 4 свет попадает в фотоприемник 5, где он преобразуется в электрический сигнал, измеряемый прибором 6.
Интенсивность света на выходе преобразователя Керра определяется выражением
>
>
где l>K> — эффективная длина преобразователя Керра; d — расстояние между его электродами; С>K> — коэффициент Keppa; J>0> — интенсивность света на входе преобразователя.
Эффект Керра возникает во многих изотропных веществах, но наиболее часто используется нитробензол, который имеет наибольший коэффициент Керра по сравнению с другими веществами (вода, бензол, эпоксидные компаунды и др.).
Линейный электрооптический эффект Поккельса наблюдается в пьезоэлектрических кристаллах, находящихся в электрическом поле. В зависимости от направления вектора напряженности электрического поля возникает продольный или поперечный эффект Поккельса. Продольный эффект сильнее всего проявляется в кристаллах дигидрофосфата аммония NH>4>H>2>PO>4> или гидрофосфата калия KH>2>PO>4>, где электрическое поле создается при помощи кольцевых электродов 7, к которым приложено измеряемое напряжение U>X> (рис. 4, б). Поперечный эффект сильно проявляется в кристаллах ниобата лития LiNbO>3>, которые используются в электрооптических модуляторах света.
Интенсивность света на выходе преобразователя Поккельса можно определить из выражения
>
>
где r>63> — электрооптический коэффициент кристалла; n>0> — его показатель преломления при отсутствии электрического поля; l -длина волны излучения лазера; Е>X> — напряженность электрического поля; l>П> — эффективная длина преобразователя Поккельса.
Статическими характеристики преобразователей Керра и Поккельса показаны соответственно на рис. 4, в и рис. 4, г.
Список литературы
Безикович А.Я., Шапиро Е.З. Измерение электрической мощности.
Спектор С.А. Измерение больших постоянных токов.
Спектор С.А. Электрические измерения физических величин.
Шваб А. Измерения на высоком напряжении.
Рис. 3, а.
Рис. 3, в.
Рис.
3, г.
Рис.
3, д.
Рис.
3, е.


