Измерительные трансформаторы напряжения
Министерство высшего профессионального образования.
Самарский Государственный Технический Университет.
Кафедра: «ЭПП»
Реферат
по предмету ПЭЭ
Измерительные трансформаторы напряжения
Работу выполнил:
студент III-ЭТ-10
Ломакин С. В.
Проверил:
ДашковВ. М.
Самара 2003г.
Измерительные трансформаторы напряжения.
а)Общие сведения и схемы соединения
Трансформатор
напряжения предназначен для понижения
высокого напряжения до стандартного
значения 100 или 100/3
В и для отделения цепей измерения и
релейной защиты от первичных цепей
высокого напряжения.
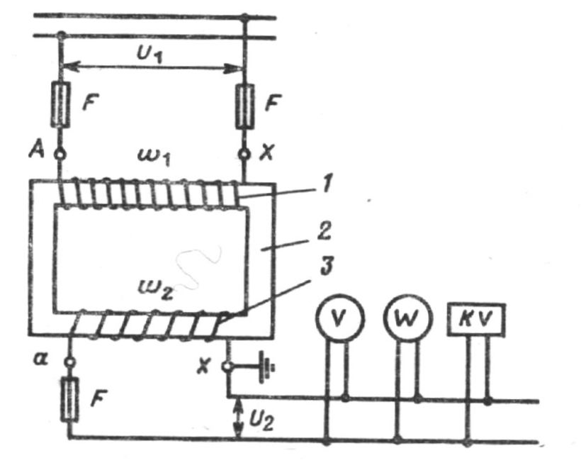
Схема включения однофазного трансформатора
напряжения показана на рис. 1; первичная
обмотка включена на напряжение сети
U>1>,
а ко вторичной обмотке (напряжение U>2>)
присоединены параллельно катушке
измерительных приборов и реле. Для
безопасности обслуживания один выход
вторичной обмотки заземлен. ТН в отличие
от трансформатора тока работает в
режиме, близкому к ХХ, т.к. сопротивление
параллельных катушек приборов и реле
большое, а ток, п
отребляемый
ими, не велик.
Рис.1 Схема включения трансформатора напряжения :
первичная обмотка;
магнитопровод;
вторичная обмотка;
Номинальный
коэффициент трансформации определяется
следующим выражением:

где U>1ном> , U>2ном> – номинальные первичное и вторичное напряжение соответственно.
Рассеяние магнитного потока и потери в сердечнике приводят к погрешности измерения
100
Так же как и трансформаторах тока , вектор вторичного напряжения сдвинут относительно вектора первичного напряжения не точно на угол 1800. Это определяет угловую погрешность.
В зависимости от номинальной погрешности различают классы точности 0,2; 0,5; 1; 3.
Погрешность зависит от конструкции магнитопровода, магнитной проницаемости стали и от cos вторичной нагрузки. В конструкции трансформаторов напряжения предусматривается компенсация погрешности по напряжению путем некоторого уменьшения числа витков первичной обмотки, а также компенсация угловой погрешности за счет специальных компенсирующих обмоток.
Суммарное потребление обмоток измерительных приборов и реле,
подключенных ко вторичной обмотке ТН, не должно превышать номинальную мощность ТН, т.к. в противном случае это приведет к увеличению погрешностей.
В зависимости от назначения могут применятся ТН с различными схемами соединения обмоток. Для измерения трех междуфазных напряжений можно использовать два однофазных двухобмоточных трансформатора НОМ, НОС, НОЛ, соединенных по схеме открытого треугольника ( рис. 2, а), а также трехфазный двухобмоточный трансформатор НТМК, обмотки которого соединены в звезду (рис.2,б). Для измерения напряжения относительно земли могут применяться 3 однофазных трансформатора, соединенных по схеме Y>0>/Y>0>, или трехфазный трехобмоточный трансформатор НТМИ (рис.2, в). В последнем случае обмотка, соединенная в звезду, используется для присоединения измерительных приборов, а к обмотке, соединенной в разомкнутый треугольник, присоединяется реле защиты от замыканий на землю. Таким же образом в трехфазную группу соединяются однофазные трехобмоточные трансформаторы типа ЗНОМ и каскадные трансформаторы НКФ.
Рис. 2. Схемы соединения обмоток трансформаторов напряжения.
б) Конструкции трансформаторов напряжения
По конструкции различают трехфазные и однофазные трансформаторы. Трехфазные трансформаторы напряжения применяются при напряжении до 18 кВ, однофазные – на любые напряжения. По типу изоляции трансформаторы могут быть сухими, масляными и с литой изоляцией.
Обмотки сухих трансформаторов выполняются проводом ПЭЛ а изоляцией между обмотками служит элетрокартон. Такие трансформаторы применяются в установках до 1000 В (НОС-0,5- трансформатор напряжения однофазный, сухой, на 0,5 кВ).
Трансформаторы напряжения с масляной изоляцией применяются на напряжение 6-1150 кВ закрытых и открытых РУ. В таких трансформаторах обмотки и магнитопровод залиты маслом, которое служит для изоляции и охлаждения. Следует отличать однофазные двухобмоточные трансформаторы НОМ-6, НОМ-10, НОМ-15, НОМ-35 от однофазных трехобмоточных ЗНОМ-15, ЗНОМ-20, ЗНОМ-35.
Схема обмоток первых показана на рис.3,а.Такие трансформаторы имеют два ввода ВН и два ввода НН, их можно соединить по схемам открытого треугольника, звезды, треугольника. У трансформаторов второго типа (рис.3,б) один конец обмотки ВН заземлен, единственный ввод ВН расположен на крышке, а вводы НН – на боковой стенке. Обмотка ВН рассчитана на фазное напряжение, основная обмотка НН – на100/3 В, дополнительная обмотка – на 100/3 В. Такие трансформаторы называются заземляемыми и соединяются по схеме, показанной на рис. 2,в.
Рис.3. Трансформаторы напряжения однофазные масляные: а- НОМ-35; б- ЗНОМ-35; 1- ввод ВН; 2- коробка вводов НН; 3- бак.
Рис. 4. Установка трансформатора напряжения ЗНОМ-20 в комплектном токопроводе.
Трансформаторы типов ЗНОМ-15, ЗНОМ-20, ЗНОМ-24 устанавливаются в комплектных шинопроводах мощных генераторов.Для уменьшения потерь от намагничивания их баки выполняются из немагнитний стали.
На рисунке 3 показана установка такого трансформатора в комплектном токопроводе. Трансформатор с помощью ножевого контакта 3, расположенного на вводеВН, присоединяется к пружинящим контактам, закреплённым на токопроводе1, закрытом экраном 2. К патрубку 5 со смотровыми люками 4 болтами 6 прикреплена крышка трансформатора. Таким образом, ввод ВН трансформатора находится в закрытом отростке экрана токопровода. Зажимы обмоток НН выведены на боковую стенку бака и закрываются отдельным кожухом.
Трехфазные масляные трансформаторы типа НТМИ имеют пятистержневой магнитопровод и три обмотки, соединенные по схеме, показанной на рисунке 2, в. Такие трансформаторы предназначены для присоединения приборов контроля изоляции.
Все шире применяются трансформаторы напряжения с литой изоляцией. Заземляемые трансформаторы напряжения ЗНОЛ-06 имеют пять исполнений по номинальному напряжению: 6, 10,15, 20 и 24 кВ. Магнитопровод в них ленточный, разрезной, С-образный, что позволило увеличить класс точности до 0,2. Такие трансформаторы имеют небольшую массу, могут устанавливаться в любом положении, пожаробезопасны. Трансформаторы ЗНОЛ-06 предназначены для установки в КРУ и комплектных токопроводах вместо масляных трансформаторов НТМИ и ЗНОМ, а трансформаторы серии НОЛ.08 – для замены НОМ-6 и НОМ-10.
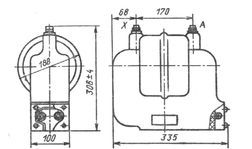
На
рис. 5. показан однофазный двухобмоточный
трансформатор с незаземленными выводами
типа НОЛ.08-6 на 6 кВ. Трансформатор
представляет собой литой блок, в который
залиты обмотки и магнитопровод. Выводы
первичной обмотки А,Х, выводы вторичной
обмотки расположены Рис.
5. Трансформатор напряжения
на переднем торце трансформатора
НОЛ.08-6.
и закрыты крышкой.
В установках 110 кВ и выше применяются трансформаторы напряжения каскадного типа НКФ. В этих трансформаторах обмотка ВН равномерно распределяется по нескольким магнитопрводам, благодаря чему облегчается ее изоляция. Трансформатор НКФ-110 (рис.6) имеет двухстержневой магнитопровод, на каждом стержне которого расположена обмотка ВН, рассчитанные на U>ф>/2.
Т.к. общая точка обмотки ВН соединена с магнитопроводом, то он по отношению к земле находится под потенциалом U>ф>/2. Обмотки ВН изолируются от магнитопровода также на U>ф>/2. Обмотки НН (основная и дополнительная) намотаны на нижнем стержне магнитопровода. Для равномерного распоределения нагрузки по обмоткам ВН служит обмотка связи П. Такой блок, состоящий из магнитопровода и обмоток, помещается в фарфоровую рубашку и заливается маслом. Трансформаторы напряжения (TV) на 220 кВ состоят из двух блоков, установленных один над другим, т.е. имеют два магнитопровода и четыре ступени каскадной обмотки ВН с изоляцией на U>ф>/4. Трансформаторы напряжения НКФ-330 и НКФ-500 соответственно имеют четыре блока, т.е. 6 и 8 ступеней обмотки ВН. Чем больше каскадов обмотки, тем больше их активное и реактивное сопротивление, возрастают погрешности и поэтому трансформаторы НКФ 330 и НКФ-500 выпускаются только в классах точности 1 и 3. Кроме того, чем выше напряжение тем сложнее конструкция трансформаторов напряжения, поэтому в установках 500 кВ и выше применяются трансформаторные устройства с емкостным отбором мощности, присоединенные к конденсаторам высокочастотной связи С1 с помощью конденсатора отбора мощности С2 (рис.6). Напряжение, снимаемое с С2 (10-15 кВ), подается на трансформатор TV, имеющий две вторичные обмотки, которые соединяются по такой же схеме, как и у трансформаторов НКФ или ЗНОМ. Для увеличения точности работы в цепь его первичной обмотки включен дроссель L, с помощью которого контур отбора напряжения настраивается в резонанс с конденсатором С2. Дроссель L и трансформатор TV встраиваются в общий бак и заливаются маслом. Заградитель ЗВ не пропускает токи высокой частоты в трансформатор напряжения. Фильтр присоединения Z предназначен для подключения высокочастотных постов защиты, Такое устройство получило название емкостного трансформатора напряжения НДЕ. На рис 6,б показана установка НДЕ-500-72.
При надлежащем выборе всех элементов и настройке схемы устройство НДЕ может быть выполнено на класс точности 0,5 и выше. Для установок 750 и 1150 кВ применяется трансформаторы НДЕ-750 и НДЕ-1150.
Рис. 6 трансформатор напряжения НДЕ:
а) схема
б) установка НДЕ-500-72:
делитель
разъединитель
трансформатор напряжения и дроссель
заградитель высокочастотный
разрядник
привод
в) Выбор трансформаторов напряжения
Трансформаторы напряжения выбираются:
по напряжению установки
U>уст> U>ном>;
по конструкции и схеме соединения обмоток;
по классу точности;
по вторичной нагрузке
S>2>>>> > S>ном>,
где S>ном>- номинальная мощность в выбранном классе точности, при этом следует иметь в виду, что для однофазных трансформаторов, соединенных в звезду, следует взять суммарную мощность всех трех фаз, а для соединенных по схеме открытого треугольника - удвоенную мощность одного трансформатора;
S>2>>> - нагрузка всех измерительных приборов и реле, присоединенных к трансформатору напряжения, ВА.
Для упрощения расчетов нагрузку можно не разделять по фазам, тогда

Если вторичная нагрузка превышает номинальную мощность в выбранном классе точности ,то устанавливают второй трансформатор напряжения и часть приборов присоединяют к нему.
Сечение проводов в цепях трансформаторов напряжения определяются по допустимой потере напряжения. Согласно ПУЭ потеря напряжения от трансформаторов напряжения до расчетных счетчиков должна быть не более 1.5% при нормальной нагрузке.