Котел пищеварочный типа КПГСМ-250
Содержание
С.
Введение
Технико-экономическое обоснование................……………………………………………………………… 5
Основные виды пищеварочных котлов…...................................………………………………………….……6
2.1 Устройство и принцип действия электрических и газовых пищеварочных котлов………………..….…….6
2.2 Устройство и принцип действия твердотопливных и паровых пищеварочных котлов……………..…….15
Тепловой расчет котла……………………………………………………………………………..…………..19
3.1 Расход тепла на разогрев конструкций котла, парообразование в пароводяной рубашке, испарение
содержимого котла……………………………………………………………………………………………..19
3.2 Потери тепла в окружающую среду………………………………………………………………………...…21
Заключение...................................................................………………………………………………... …...……….26
Список использованных источников.................………………………………………………………….……… 27
Введение.
Варочное оборудование широко применяется не только на предприятиях массового питания, но и на предприятиях мясной, молочной и консервной промышленности. Варка – один из основных видов тепловой обработки пищевых продуктов. Это процесс гидротермической обработки пищевых продуктов в жидкой среде: воде, бульоне, молоке, соусе и т. п.
Варка ряда пищевых продуктов протекает в специфических условиях теплообмена, что особенно ярко проявляется на примере варки каш. В этом случае нагреваемая среда представляет собой двухкомпонентную систему из крупы и воды.
В процессе нагрева крупа набухает и поглощает значительное количество воды и в этом случае создается возможность неравномерного нагрева массы продукта по обмену. Здесь необходимо ограничить перепад температур между грелкой и нагреваемой средой в период кипения до 10…12 оС.
Для этого в рубашечных аппаратах давление в рубашке поддерживается на уровне не более чем 50 кПа превышающее давление в рабочей камере.
По температурным решениям процесс варки может быть осуществлен при температурах ниже 100 оС, при 100 оС, и выше 100 оС.
Конструкции варочных аппаратов должны соответствовать технологическим требованиям конкретного процесса варки пищевого продукта или кулинарного изделия в целом.
Основные технологические требования, предъявляемые к конструкциям варочных аппаратов сводятся к получению высококачественного готового продукта с максимальным сохранением пищевых (белков, жиров, углеводов), минеральных, экстрактивных веществ, витаминов при минимальных затратах теплоты.
В настоящее время в отечественном и зарубежном торговом машиностроении наблюдается тенденция к разработке модульных тепловых технологических аппаратов с применением рядов предпочтительных чисел при определении основного параметра аппарата и в целях максимальной унификации конструкций основных узлов.
В последние годы наметилась тенденция на использование в конструкциях аппаратов греющих элементов, состоящих из унифицированных листоканильных панелей.
Такое конструктивное решение создает оптимальные условия для унификации основных узлов, уменьшения металлоемкости, улучшает технологические и эргономические показатели и улучшает условия труда обслуживающего персонала.
Типоразмерный ряд аппаратов при использовании листоканальных панелей может быть существенно расширен, при этом все аппараты вписываются в унифицированные габариты модульных линий.
Однако при подобном конструктивном решении возникают новые задачи расчетного и экономического характера.
1. Технико-экономическое обоснование.
Анализ конструктивных и эксплутационных особенностей таких серийно выпускаемых аппаратов массового производства, как пищеварочные котлы, позволяет сделать вывод о чрезмерной разнотипности их конструкций, которая приводит к тому, что аппараты имеют мало общих узлов и деталей в пределах своего типоразмерного ряда.
Например, котлы емкостью 40 и 60 литров на электрическом обогреве имеют несколько модификаций и коренным образом отличаются от котлов емкостью 100, 160 и 250 л.
Еще большие различия наблюдаются при изготовлении аппаратов одного и того же технического назначения, но при использовании разных видов обогрева: пар, газ, электроэнергия и твердое топливо.
Это обстоятельство сводит к минимуму возможность унификации, уменьшения металлоемкости и упрощения изготовления аппаратов.
Принцип модулирования приобрел широкое распространение как в нашей стране, так и за рубежом. Современные горячие цеха оснащаются модульными аппаратами, скомплектованными в линии.
Однако этот принцип требует нового конструктивного оформления аппарата, оказывает влияние на его выходные параметры с технико-экономические показатели. Расчеты показывают, чем больше модуль, тем труднее конструировать аппарат, но тем больше возможность унификации узлов и деталей.
Оценивая серийные тепловые аппараты, сконструированные не по модульному принципу, можно выявить следующие недостатки:
малая степень унификации;
усложненная технология изготовления;
низкие эргономические показатели;
увеличенная производственная площадь.
При сопоставлении металлоемкости серийных котлов за сравнительную единицу принимают массу котла, отнесенную к единице его емкости – кг/дм3.
Расчеты показывают, что при использовании листоканальных панелей средний коэффициент уменьшения удельной металлоемкости панельного котла по отношению к серийному составляет Р=0,55.
Как показывает анализ, панельные котлы превосходят серийные по следующим показателям: металлоемкости, технологичности при изготовлении, эргономичности благодаря приспособленности к функциональной таре, возможности унификации в результате применения одинаковых панельных эффектов, надежности в следствии жесткости панельных систем, к.п.д.
Следует также отметить, что панельный принцип применим к достаточно широкому кругу тепловых аппаратов, перспективен при создании новых аппаратов периодического действия и трансформаторов; дает возможность по меньшей мере на 50% улучшить качество аппаратов, включая такие их показатели, как металлоемкость, степень унификации, технологичность, эргономичность, упрощает заводскую оснастку и производство.
В таблице 1 приведены средние показатели материалоемкости котлов.
Таблица 1
|
№ п/п |
Тип котла |
Масса котла, отнесенная к полезной емкости, кг/дм3 |
Масса узла «варочный сосуд – греющая полость» |
|
1. |
Серийные отечественные (электрические) |
1,72 |
0,43 |
|
2. |
Серийные зарубежные (электрические) |
2,06 |
– |
|
3. |
Панельные (электрические) |
1,48 |
0,14 |
Из данных таблицы 1 следует, что коэффициент уменьшения массы узла «варочный сосуд – греющая полость» у панельных котлов составляет к>1>=0,14/0,43=0,325, а для массы котла в целом к>2>=1,48/1,72=0,860.
2. Основные виды пищеварочных котлов.
На предприятиях массового питания эксплуатируются котлы различных типов, отличающиеся способом обогрева, вместимостью, формой варочных сосудов и видом энергоносителей.
В зависимости от давления в варочном сосуде все котлы классифицируются на пищеварочные, работающие при атмосферном или незначительном избыточном давлении, и автоклавы, работающие при повышенном давлении (200…250 кПа).
В зависимости от источника теплоты котлы подразделяются на твердотопливные, газовые, электрические и паровые.
По способу установки котлы бывают неопрокидывающиеся, опрокидывающиеся и со съемным варочным сосудом.
По способу обогрева различают котлы с косвенным и непосредственным обогревом. Котлы с косвенным обогревом получили наибольшее распространение. В качестве промежуточного теплоносителя в таких котлах используется вода (кипяченая или дистиллированная).
По конструктивному оформлению котлы классифицируются на немодульные, секционные модульные и секционные модульные с функциональными емкостями. Котлы имеют буквенно-цифровую индексацию. Например, индекс котла КПЭ-160 расшифровывается так: К – котел; П – пищеварочный; Э – электрический; 160 – вместимость (в дм3).
2.1. Устройство и принцип действия электрических и газовых пищеварочных котлов.
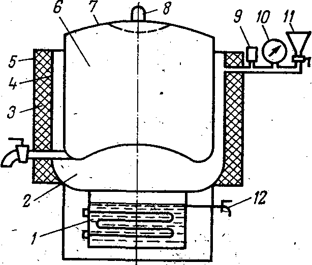
Принципиальная конструктивная схема котла показана на примере электрического котла (рис. 2.1).
Котел состоит из варочного сосуда 6 и корпуса (наружного котла) 4, соединенных между собой сваркой. Пространство между ними образует греющую камеру - пароводяную рубашку 2. В нижней части рубашки располагается парогенератор 1, в котором вырабатывается водяной пар, заполняющий рубашку котла. Наружный котел покрывается тепловой изоляцией 3, которая сверху покрывается кожухом 5. Сверху котлы имеют крышку 7.

Рис. 2.1. Принципиальная конструктивная схема электрического котла
Наряду с котлами, имеющими герметически закрываемую крышку, выпускаются неопрокидывающихся котлов с негерметизированной крышкой. Эти котлы обозначаются КПЭ-100НГ, КПЭ-160НГ, КПЭ-250НГ.
В настоящее время выпускаются электрические пищеварочные котлы КПЭ емкостью 40, 60, 100, 160 и 250 л; котлы с газовым обогревом КПГ емкостью 40, 60, 160 и 250 л; твердотопливные КПТ емкостью 160 л и паровые пищеварочные котлы КПП емкостью 100, 160 и 250 л. Котлы емкостью 40 и 60 л выпускаются опрокидывающимися, а емкостью 100, 160 и 250 л- неопрокидывающимися.
Пищеварочные котлы с косвенным обогревом снабжены контрольно-измерительными приборами и арматурой. К ним относятся: двойной предохранительный клапан 9, манометр 10 (для электрических котлов - электроконтактный), наполнительная воронка 11, кран уровня 12, клапан-турбинка 8.(рис. 2.1)
Двойной предохранительный клапан (рис. 2.2) соединен с рубашкой котла и имеет, корпус 5, в котором размещены два клапана: верхний 4 (паровой) и нижний 7 (вакуумный). Паровой клапан служит для сброса давления пара из греющей камеры при повышении его давления выше 49 кПа (0,5 кгс/см2). При повышении давления сверх допустимой величины пар приподнимает клапан, преодолевая усилие груза 3 определенной массы, и излишек пара с шумом выделяется в помещение. Испытывают и клеймят клапаны на заводе-изготовителе. Вакуумный клапан служит для поступления воздуха в рубашку при понижении давления пара в ней ниже атмосферного, что может происходить при остывании котла.
Для более надежной работы предохранительного клапана (чтобы паровой клапан не прикипал к седлу) рекомендуется перед началом работы котла нажать на рукоятку рычага 6.
В конструкции предохранительного клапана предусмотрен воздушный клапан 1 для выпуска воздуха вручную из рубашки котла при его разогреве. Некоторые предохранительные клапаны не имеют воздушного клапана. В этом случае для выпуска воздуха из рубашки перед началом варки служит кран наполнительной воронки. Предохранительные клапаны могут быть и пружинными. Сверху предохранительный клапан закрыт кожухом 2.

Рис. 2.2. Двойной предохранительный клапан
Манометр устанавливается на арматурной стойке котла для контроля за давлением в пароводяной рубашке. Предельное давление на манометре должно быть отмечено красной или жирной черной чертой. Электроконтактный манометр является датчиком- импульсов и позволяет устанавливать верхний и нижний пределы давления пара в рубашке.
Наполнительная воронка предназначена для заполнения водой парогенератора до уровня контрольного крана. Воронка имеет запорный кран и фильтрующую сетку. Сверху воронка закрывается крышкой. При работе запорный кран должен быть закрыт. Контрольный кран уровня установлен так, чтобы определять предельно допустимый уровень воды в парогенераторе.
Клапан - турбинка (рис.2.3) устанавливается на котлах с герметически закрывающейся крышкой 1 в центральной части ее.

Рис. 2.3. Клапан-турбинка
Клапан-турбинка состоит из корпуса 5, вертикального шпинделя 2 с кольцом в верхней части, за которое приподнимают турбинку, когда нужно выпустить пар из котла. На нижнем конце шпинделя установлена турбинка 7 с винтовыми канавками. В корпусе расположены верхний клапан 4, нижний клапан 9, фиксатор 3, штуцер 6-для подсоединения к пароотводу. На внутренней стороне крышки 1 имеется отражатель 8, предназначенный для защиты от засорения клапана-турбинки мелкими частицами пищи. Когда давление под крышкой котла повышается, пар приподнимает турбинку и приводит ее во вращение, проходя по винтовым канавкам. В результате этого часть пара выходит сверху в окружающую среду, а часть - через пароотвод.
Выход пара из клапана-турбинки сигнализирует о начале кипения содержимого котла. Ежедневно по окончании варки турбинку промывают, просушивают и устанавливают на место. Вынимают турбинку из гнезда, потянув головку фиксатора на себя.
Принцип работы. Вода в парогенераторе нагревается до кипения, образующийся пар поступает в пароводяную рубашку, соприкасается со стенками и дном котла, конденсируется, отдавая теплоту парообразования, за счет которой через дно и стенки котла нагревается его содержимое. Конденсат стекает обратно в парогенератор и снова превращается в пар.
Неопрокидывающиеся пищеварочные котлы типа КПЭ.
Котел типа КПЭ-100 (КПЭ-160, КПЭ-250) с косвенным обогревом (рис. 2.4) имеет наружный корпус 21 из листовой стали и варочный сосуд 2 из нержавеющей стали, соединенные между собой так, что образуется замкнутое герметичное пространство, которое является пароводяной рубашкой 4. Пароводяная рубашка во время работы котла заполняется водяным паром, который образуется в парогенераторе с помощью шести тэнов, смонтированных на специальной крышке 1 и помещенных в парогенератор. Последний выполнен в виде прямоугольной стальной коробки, расположенной под днищем наружного котла. Парогенератор заполняется водой до определенного уровня.

Рис. 2.4. Неопрокидывающийся электрический пищеварочный котел КПЭ-100 (КПЭ-160, КПЭ-250)
Между наружным корпусом и облицовкой помещена теплоизоляция 3. Для облицовки применяют стальные листы, покрытые светлой эмалью. Котел установлен на постаменте 22.
Сверху варочный сосуд закрывается откидной на шарнире двустенной крышкой 18, между двойными стенками которой находится воздушная прослойка. В пазу нижней части крышки имеется прокладка из термостойкой пищевой резины, с помощью которой обеспечивается плотность прилегания. ее к котлу, когда завертываются прижимные болты 19. Крышка уравновешивается пружинным противовесом 8, позволяющим фиксировать ее при открывании в любом положении.
Для слива воды при промывке варочного сосуда в нижней части его предусмотрен сливной, кран 20. Для предохранения крана от засорения внутри котла устанавливается сетка-фильтр из нержавеющей стали. Пищеварочные котлы снабжены трубопроводами холодного и горячего водоснабжения и трубопроводом для промывки пароотвода. Трубопроводы расположены под облицовкой котла, наружу выводится только смесительная трубка, на конце которой имеется поворотный патрубок 7, при закрывании крышки котла он автоматически отводится в сторону. Водозапорные вентили также скрыты под облицовкой. Рукоятки вентилей подачи холодной воды 12, подачи горячей воды 13 и для промывки пароотводной трубки 10 выводятся над облицовкой. Вентиль 11 служит для отвода паров кипения в процессе работы котла.
Каждый котел с косвенным обогревом оснащается контрольно-измерительными приборами и арматурой: клапаном-турбннкой 6 с отражателем 17, двойным предохранительным клапаном 15, электроконтактным манометром 16, наполнительной воронкой 14 с краном, контрольным краном уровня 9. Манометр, наполнительная воронка и двойной предохранительный клапан смонтированы в один узел.
При закрытой крышке в котлах в процессе кипения избыточное давление должно быть не более 2,5 кПа (0,025 кгс/см2). Для того чтобы давление не было больше этой величины, в центральной части крышки устанавливают клапан-турбинку.
Электрокотлы имеют автоматическое управление тепловым режимом работы котла, и защиту тэнов от «сухого хода». Регулирование нагрева осуществляется с помощью элетроконтактного манометра при изменении величины давления пара в рубашке. Котлы имеют два режима работы. При первом режиме сначала котел работает на полной мощности, после повышения давления в рубашке до заданного верхнего предела переключается на слабый нагрев (1/6 мощности, а в последних конструкциях котлов 1/9 мощности). Когда давление понижается до нижнего заданного предела, котел вновь включается на полную мощность. Этот режим работы используется при варке супов, борщей и других первых блюд.
При втором режиме котел работает на полной мощности до тех пор, пока давление в рубашке не достигнет верхнего заданного предела. После этого нагреватели котла отключаются. Довариваются продукты за счет аккумулированного тепла без расхода электроэнергии. Второй, режим используется при кипячении молока, варке киселей, овощей.
Защита тэнов от «сухого хода» осуществляется с помощью реле уровня с электродами в парогенераторе. Рядом с котлом находится станция управления 5, в которой смонтированы электрические аппараты автоматического регулирования и защиты котла.
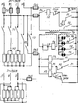
Электрическая схема котла изображена на рис. 2.5. В силовой цепи имеется шесть трубчатых электронагревателей (тэнов), которые включаются двумя магнитными пускателями. Пять тэнов включаются контактами первого 1П магнитного пускателя, а один - второго 2П магнитного пускателя. В цепи управления, изображенной на рисунке тонкими линиями, находятся реле уровня, обмотки магнитных пускателей и электроконтактный манометр с двумя электромагнитными реле. С помощью реле уровня, состоящего из трансформатора Тр, электрода Э и электромагнитного реле РУ, осуществляется защита от «сухого хода». С помощью электроконтактного манометра и двух электромагнитных реле осуществляется автоматическое регулирование работой котла

Рис. 2.5. Электрическая схема котла КПЭ-100 (КПЭ-160, КПЭ-250)
В цепи управления имеются также четыре сигнальные лампы, две кнопочные станции («Пуск», «Стоп») и переключатель ПК, За исключением одной кнопочной станции, все они расположены на станции управления. Лампа ЛСс.х включается при «сухом ходе» и сигнализирует об отключении электронагревателей котла из-за «сухого хода». Лампа 1ЛС работает при нормальном уровне воды в парогенераторе и сигнализирует о подаче напряжения на вводные клеммы котла, т. е. о том, что замкнуты контакты пускового аппарата цехового электрощита. Лампа 2ЛС сигнализирует о подключении одного тэна к сети контактами магнитного пускателя 2П. Лампа ЗЛС сигнализирует о подключении к сети пяти тэнов контактами магнитного пускателя 1П.
Если одновременно, включены лампы 1ЛС, 2ЛС и ЗЛС, то в котле работают все шесть тэнов. Если включены лампы 1ЛС и 2ЛС, то работает один тэн. Один тэн работает в режиме 1 (автоматическая работа) после того, как давление в пароводяной рубашке достигает верхнего заданного предела.
Когда контакты пускового аппарата цехового щита замкнуты и на вводные клеммы котла подано напряжение, ток проходит по первичной обмотке трансформатора. Если уровень воды в парогенераторе котла нормальный, то от вторичной обмотки трансформатора ток через воду проходит по обмотке реле РУ. При этом вода выполняет роль выключателя, замыкающего цепь между корпусом и электродом Э. Замыкающие контакты РУ включают сигнальную лампу 1ЛС и подготавливают цепь обмотки 2П второго магнитного пускателя. Размыкающий контакт РУ отключает сигнальную лампу ЛСс. х.
Нажатием на одну из кнопок «Пуск» включается обмотка 2П второго магнитного пускателя. Магнитный пускатель 2П срабатывает и его замыкающие контакты включают сигнальную лампу 2ЛС, один тэн и обмотку 1П первого магнитного пускателя. Магнитный пускатель 1П срабатывает и замыкающими контактами включает пять тэнов и сигнальную лампу ЗЛС. Работают все шесть нагревательных элементов.
После прекращения нажатия на кнопку «Пуск» ток по обмотке 2П проходит через контакт ПК, и в зависимости от заданного режима через замыкающий контакт 2П или 1П. Когда задан режим II (разогрев), ток проходит через Контакт 1П, а когда режим I (автоматическая работа) - через контакт 2П.
Шесть нагревательных элементов нагревают воду парогенератора и содержимое варочного сосуда. Через некоторое время образующийся в парогенераторе пар нагревает содержимое варочного сосуда настолько, что давление пара в пароводяной рубашке начинает повышаться и подвижный контакт (с показывающей стрелкой) отходит от неподвижного контакта, с помощью которого задан нижний предел давления. Изменений в работе электрических элементов при этом не происходит. Когда давление в пароводяной рубашке достигает верхнего заданного предела, подвижный контакт ЭКМ входит в соприкосновение с неподвижным верхнего предела. При этом замыкается цепь реле 1Р. Реле 1Р срабатывает и размыкающим контактом отключает обмотку магнитного пускателя 1П. Замыкающие контакты 1П отключают пять электронагревателей, лампу ЗЛС и, если задан режим II (разогрев), обмотку магнитного пускателя 2П. Тогда отключается еще один тэн и цепь регулирования нагрева. Нагрев полностью прекращается.
Если задан режим 1, то обмотка магнитного пускателя 2П, не отключается и котел продолжает работать с одним включенным- тэном. Цепь регулирования нагрева также остается подключенной к электрический сети. Давление, в пароводяной рубашке понижается, но, когда замыкание подвижного контакта ЭКМ с неподвижным верхнего предела прекратится, обмотка реле 1Р не отключается. По ней проходит ток через замыкающий контакт 1Р и размыкающий 2Р. Когда давление уменьшится до нижнего заданного предела, подвижный контакт замкнется с неподвижным нижнего предела и включит обмотку реле 2Р. Реле 2Р сработает и размыкающим контактом отключит обмотку реле 1Р. Размыкающим контактом 1Р включается обмотка магнитного пускателя 1П. Магнитный пускатель 1П срабатывает и замыкающими контактами включает пять нагревательных элементов и лампу ЗЛС. Размыкающие контакты 1Р размыкаются и отключают обмотку реле 2Р. Реле 1Р остается отключенным до тех пор, пока давление в пароводяной рубашке не повысится до верхнего заданного предела. Далее работа схемы повторяется.
В котлах с негерметизированной крышкой в отличие от описанных выше отсутствуют клапан-турбинка с пароотводной трубкой, вентиль и трубопровод промывки.
Опрокидывающиеся пищеварочные котлы типа КПЭСМ-60М, КПЭ-40, КПЭ-60, КПГ-40М, КПГ-60М.
Котел КПЭСМ-60М (рис. 2.6, а, б) секционный модульный опрокидывающийся представляет собой варочный сосуд 1 из нержавеющей стали, подвешенный на тумбах 8 и 11. С внешней стороны к нему приварена обечайка, к которой герметично крепится съемное днище. В днище смонтированы три тэна и электрод защиты тэнов от «сухого хода». Замкнутое пространство между обечайкой с днищем и варочным сосудом заполняется водой и паром, образуя пароводяную рубашку. Рубашка соединена патрубком с узлом контрольно-измерительных приборов: электроконтактным манометром 15, двойным предохранительным клапаном 13, наполнительной воронкой 14. Котел снабжен краном уровня 10.
Варочный сосуд закреплен в кожухе и снабжен теплоизоляцией. Сверху варочный сосуд закрывается крышкой 16 с приспособлением для подъема 17 и фрикционом, фиксирующим ее в любом положении. Тумбы представляют собой сварную раму, установленную на четырёх регулируемых ножках 9 и покрытую облицовками. В тумбах помещены чугунные кронштейны подшипников скольжения, на которые опирается котел с помощью пустотелых цапф. Сверху тумбы закрыты столом из нержавеющей стали.
Котел имеет поворотный механизм 12, расположенный в правой тумбе и представляющий собой червячную пару. Червячное колесо с помощью шпонки насажено на цапфу котла, соединенную с его корпусом. В зацеплении с червячным колесом входит червяк, на выступающем конце которого крепится маховичок с рукояткой.
Защита от «сухого хода» не допускает включение котла, если тэны не полностью покрыты водой; отключается котел от электросети в случае понижения уровня воды до определенного предела и при опрокидывании котла. При недостаточном уровне воды в парогенераторе загорается сигнальная лампа 2.
Вода в котел подается из колонки водоснабжения с помощью поворотной трубки.
В левой тумбе установлена панель с электроаппаратурой. На лицевую сторону выведены: кнопка «Пуск» 6 (черная), кнопка «Стоп» 5 (красная), сигнальные лампы «Сильно» 4, «Слабо» 3, «Нет воды» 2 и переключатель 7 для установки режима работы котла.

Рис. 2.6. Электрический секционный модульный котел КПЭСМ-60:
а - общий вид; б - схема котла
Котел работает при двух режимах, как и КПЭ. Вместе с котлом должен устанавливаться местный вентиляционный отсос, который крепится на котле болтами и соединяется с общей системой вентиляции. Конструкция котла позволяет устанавливать его в технологические линии с пристенным или островным расположением оборудования.
Электрокотлы КПЭ-40 и КПЭ-60 (рис. 2.7., а, б) устанавливаются на чугунной вилкообразной станине 10 с помощью двух полых цапф 8 и 16, соединенных с наружным кожухом котла 15. Поворотный механизм 9 имеет такое же устройство, как у котла КПЭСМ-60. Для заполнения варочного сосуда водой к левой стойке станины с внешней стороны прикреплена водопроводная труба 17, снабженная вентилем 18, водоразборным патрубком 20 и кронштейном 19 для подвешивания крышки. Варочный котел с установленным на нем снаружи обтекателем 2 закрывается легкосъемной крышкой 3. Крышка имеет ручку в центре и стальной крючок с внутренней стороны, с помощью которого ее вешают на кронштейн. К арматуре котла относятся: электроконтактный манометр 4, двойной предохранительный клапан 6, наполнительная воронка 5, установленная на арматурной стойке 7, и кран уровня 11. Пар вырабатывается в нижней части рубашки с помощью 3 тэнов 13, смонтированных на на съемном днище 14 котла. Котел снабжен болтом заземления 12.
Котлы имеют два режима работы и снабжены автоматикой регулирования теплового режима и защиты от «сухого хода». Последняя осуществляется с помощью электрода, вмонтированного в съемное днище 14 котла.
Устройство и принцип действия газовых пищеварочных котлов
Газовые котлы КПГ-40М, КПГ-60М (рис. 2.8.) конструктивно выполнены как КПЭ-40, КПЭ-60, т. е. варочный сосуд 1 установлен в наружном корпусе 2, покрытом теплоизоляцией 3. и облицовкой. Между варочным сосудом и наружным корпусом находится пароводяная рубашка 4. Отличительная особенность котлов КПГ-40М и КПГ-60М - наличие скобы на кожухе котла, с помощью которой при опрокидывании прекращается подача газа в горелку 8, установленную в постаменте 7, так как скоба нажимает на рукоятку крана и поворачивает ее.

Рис. 2.7 Электрический опрокидывающийся пищеварочный котел:
а - общий вид; б - в разрезе.
Парогенератор 5 котла и газогорелочная камера такие же, как в газовых котлах КПГ-160, КПГ-250. Для лучшего использования тепла отходящих продуктов сгорания увеличивается поверхность нагрева за счет установки в газоходах ребер - кольцевых пластин, приваренных к карманам парогенератора. Дымовой патрубок 6 опрокидывающихся котлов состоит из подвижной и неподвижной частей. Подвижный патрубок крепится к котлу. При опрокидывании котла он поворачивается вместе с ним.. К арматуре котлов относятся: манометр 10, наполнительная воронка 11, кран уровня 12, двойной предохранительный клапан. Варочный котел заполняется водой с помощью поворотной головки 9.

Рис. 2.8. Газовый опрокидывающийся котел КПГ- 40М (КПГ-60М)
Котлы опрокидывающиеся имеют газовую автоматику регулирования и безопасности типа 2АРБ-1. Блок автоматики 14 устанавливается на коллекторе котла, датчики - в регулируемой среде.
В настоящее время начат выпуск газовых секционных модульных котлов типа КПГСМ-60. Парогенератор таких котлов выполнен в виде двух цилиндрических каналов различной высоты. Наружные стенки этих карманов образуют топочное пространство и два кольцевых газохода. В топке установлена инжекционная горелка с кольцевой насадкой и запальник.
Котел типа КПГСМ-60 (рис. 2.9.)
Котел выполнен в виде параллелепипеда. Он состоит из внутреннего цилиндрического варочного сосуда, наружного корпуса и малоемкого парогенератора.

Рис. 2.9. Котел пищеварочный газовый секционный модульный КПГСМ-60:
1 - дымоход; 2 - наружный корпус; 3 - варочный сосуд; 4-арматурный узел; 5-крышка; 6-кран уровня; 7 - маховичок; 8 - дверца; 9 - ножки, регулируемые по высоте; 10-рама; 11-патрубок; 12-кожух;13 - горелка; 14 - топка; 15 - кольцевые газоходы; 16 - парогенератор; 17 - наружная облицовка котла
Парогенератор выполнен в виде двух цилиндрических карманов разной высоты, наружные стенки которых образуют топку и два кольцевых газохода. Цилиндрическая внешняя стенка второго газохода не экранирована. Она переходит в нижнюю коническую торцевую стенку кольцевых газоходов. Наружный корпус котла покрыт теплоизоляцией и облицован плоскими эмалированными панелями. Под топкой в специальном цилиндрическом кожухе установлена газовая горелка с кольцевой насадкой и запальником. Для подсоса вторичного воздуха в днище топочной камеры имеются специальные отверстия.
Между задней стенкой котла и облицовочным листом установлен вертикальный дымоход прямоугольного сечения, обеспечивающий отвод продуктов сгорания.
В правой стойке котла смонтированы опрокидывающее устройство и подводящий газопровод. В левой - расположены трубопроводы горячей и холодной воды.
Котел снабжен газовой автоматикой безопасности и регулирования 2АРБ и контрольно-измерительной арматурой, аналогичной арматуре котла КПГ-60М.
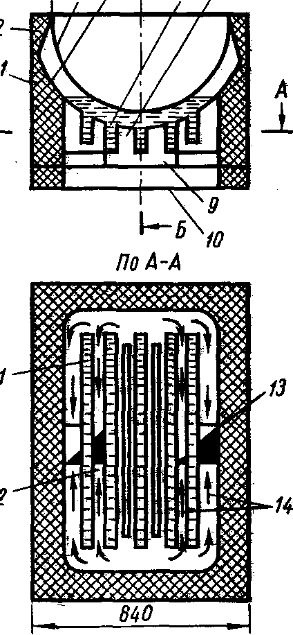
Котел типа КПГСМ-250
Котел пищеварочный газовый секционный модульный КПГСМ-250. Котел (рис. 2.10) выполнен в виде прямоугольного параллелепипеда и имеет варочный сосуд в форме горизонтального полуцилиндра. Форма варочного сосуда предопределяет коридорную форму топки и щелевых газоходов. Топку образуют три кармана парогенератора. Средний карман разделяет топку на две части, что увеличивает радиационную поверхность нагрева центрального кармана, который облучается пламенем с двух сторон. В топочной камере между карманами располагается двухтрубная горелка. Горелка имеет малогабаритный многосопловый смеситель с периферийной подачей газа. Продукты сгорания из открытых торцевых окон расходятся, поворачиваясь на 180° по двум прямолинейным газоходам, образованным наружными стенками двух основных карманов и стенками газохода. Для увеличения поверхности нагрева по всей длине газохода расположены два дополнительных кармана, высота которых меньше высоты основного газохода.

Рис. 2.10. Котел пищеварочный газовый секционный модульный КПГСМ-250:
1 - облицовка;2 - изоляция; 3 - крышка; 4-варочный сосуд; 5- наружный корпус; 6-11 - прямолинейные карманы парогенератора; 7 - топка; 8 - горелка; 9 - короб; 10 - нижний дымоход; 12 - подвесные прямолинейные карманы парогенератора; 13 - стенки газохода; 14 - газоход. Стрелками указано направление движения продуктов сгорания газа
Таким образом, три основных кармана и два дополнительных создают компактный парогенератор с малым заполнением его водой (около 26 л) и развитой поверхностью нагрева (2,1 м2). Из газоходов продукты сгорания через короба выводятся в нижний дымоход. Снизу двухтоннельные газоходы и топка закрываются листом с щелевыми отверстиями для установки горелки и подсоса вторичного воздуха.
Котел снабжен газовой автоматикой безопасности и регулирования 2АРБ, контрольно-предохранительной арматурой и тепловой изоляцией.
2.2. Устройство и принцип действия твердотопливных и паровых пищеварочных котлов
Котел пищеварочный твердотопливный (рис. 2.11) состоит из трех основных частей: варочного сосуда, парогенератора с рубашкой и наружного корпуса. Парогенератор котла представляет собой два концентрично расположенных кольцевых кармана, сообщающихся через отверстия в верхней части с рубашкой котла, и служит для получения насыщенного пара с давлением 140...150 кПа.
Кипяченая или дистиллированная вода в парогенератор заливается через специальную воронку до уровня, определенного контрольным краном уровня.
|
|
|
Рис. 2.11. Котел пищеварочный твердотопливный КПТ-160:
1 - варочный сосуд; 2 - пароводяная рубашка; 3 - сферическое дно корпуса; 4 - корпус с парогенератором; 5 - тепловая изоляция; 6,7 - кольцевые карманы; 8-топочная камера; 9 - зольниковая коробка; 10 - колосниковая решетка; 11 - ящик для сбора золы; 12 - дверца с жалюзи; 13 - горловина топки; 14 - топочная дверца; 15 - наполнительная воронка; 16-клапан-турбинка; 17-розетка-отражатель; 18-двухстенная крышка; 19 - дымоотводный патрубок; 20 - поворотная заслонка; 21 - кольцевой газоход; 22 - лючки для очистки газоходов; 23 - трубопроводы горячего и холодного водоснабжения; 24 - соединительный патрубок; 25 - сливная трубка.
Внутренняя стенка внутреннего кармана парогенератора образует топочную камеру, сводом которой служит сферическое дно варочного сосуда. В нижней части топочной камеры размещена колосниковая решетка. Под топочной камерой размещена зольниковая камера, в которой установлен выдвижной ящик для сбора золы. Для регулирования подачи воздуха под колосниковой решеткой рядом с зольником смонтирована дверца с жалюзи.
Горловина загрузочного окна топки закрывается топочной дверцей. Через стенки первого (внутреннего) кольцевого кармана проходит патрубок, концы которого вварены в стенки цилиндра. Кольцевое пространство между внутренними и наружными карманами является газоходом. Патрубок во внутреннем кармане служит для соединения топочной камеры с этим кольцевым газоходом. Последний через дымоотводный патрубок, снабженный поворотной заслонкой, с помощью которой регулируют тягу в процессе горения топлива, сообщается с дымовой трубой.
Такая конструкция топочной камеры и парогенератора снижает температуру уходящих продуктов сгорания и уменьшает потери теплоты, что приводит к увеличению кпд котла. Кольцевой газоход образует сложный конвективный тракт, по которому перемещаются продукты сгорания. При этом поток продуктов сгорания турбулизируется, что приводит к увеличению коэффициента теплоотдачи. За счет наличия кольцевого газохода существенно удлиняется путь движения топочных газов, а конструкция парогенератора в виде двух карманов увеличивает его теплопередающую поверхность. Все это в совокупности способствует более полному использованию теплоты уходящих продуктов сгорания. При горении топлива в топочной камере пламя и горячие продукты сгорания обогревают внутреннюю стенку внутреннего кармана парогенератора. Далее продукты сгорания через патрубок во внутреннем кармане устремляются в кольцевой газоход и, двигаясь по нему, обогревают наружную стенку внутреннего кармана и внутреннюю стенку наружного кармана (направление движения топочных газов показано на рис. 8.10 стрелками). Пройдя по кольцевому газоходу-, остывшие продукты сгорания удаляются из котла через дымоход в окружающую среду.
В целях очистки кольцевого газохода от золы и сажи в боковой стенке второго кольцевого цилиндра имеются три лючка с крышками. Для наполнения котла водой служит поворотный кран, соединенный с трубопроводами горячего и холодного водоснабжения, которые скрыты под облицовкой каркаса. Между облицовкой и стенками наружного корпуса размещен слой тепловой изоляции.
На крышке котла смонтирован клапан-турбинка, а на арматурной стойке установлены заливочная воронка, двойной предохранительный клапан и манометр.
Полезная вместимость 160 л, продолжительность нагрева его содержимого до температуры кипения - 75...80 мин при расходе 11 кг полусухих дров или 6 кг антрацита, кпд котла в процессе нагрева до кипения равен 30 %, в процессе «тихого» кипения - 49...55%.
Повторное использование котла сокращает время нагрева его содержимого до кипения на 15…20 мин, уменьшает расход топлива и повышает кпд до 47%. Габариты котла, мм: длина – 1210, ширина – 1190, высота – 1110. Объем парогенератора 63 дм3, площадь греющей поверхности котла – 2,6 м2.
Котел КПТ-100 имеет аналогичную конструкцию.
Устройство и принцип действия паровых пищеварочных котлов
На предприятиях общественного питания используются паровые пищеварочные котлы КПП-100, КПП-160 и КПП-250. Они имеют аналогичную конструкцию и различаются только размерами. От неопрокидывающихся электрических и газовых котлов они отличаются тем, что пар, обогревающий варочный сосуд, образуется не в самом котле, а поступает в паровую рубашку по паропроводу извне.

Рис. 2.12. Котел пищеварочный паровой КПП-100:
а - общий вид; б - сливной кран; в - изменение толщины пленки конденсатора и коэффициента теплоотдачи вдоль вертикальной стенки; 1 - варочный сосуд; 2 - наружный корпус; 3 - основание; 4 - вентиль; 5 - конденсатоотводчик; 6 - кран; 7 - мановакуумметр; 8 - перекидной кран; 9 - крышка; 10 - клапан-турбина; 11 - отражатель клапана-турбинки; 12 - - резиновый уплотнитель; 13 - накидной рычаг- 14 - двойной предохранительный клапан; 15 - рычаг; 16- сливной кран; 17 - тепловая изоляция; 18 - облицовка.
Котел КПП-100 (рис. 2.12. а, б) состоит из варочного сосуда и наружного котла, покрытого изоляцией. Пространство между варочным сосудом и наружным котлом представляет собой паровую рубашку, в которую подается по паропроводу пар. Количество подаваемого пара регулируется с помощью парозапорного вентиля. Варочный сосуд герметично закрывается откидной крышкой с резиновым уплотнителем. На крышке устанавливается клапан-турбинка. Котел снабжен двойным предохранительным клапаном, манометром, воздушным клапаном, конденсатоотводчиком и продувочным краном. Двойной предохранительный клапан и манометр, показывающий давление пара в паровой рубашке, установлены на арматурной стойке. Конденсатоотводчик и продувочный кран расположены в полости между дном паровой рубашки и днищем облицовочного кожуха и предназначены для отвода из паровой рубашки конденсата.
Нагрев варочного сосуда парового котла осуществляется за счет теплоты парообразования. Пар, попадая в рубашку котла, соприкасается с холодными стенками варочного сосуда и наружного котла и конденсируется. При этом выделяется скрытая теплота парообразования, которая идет на нагрев содержимого котла.
Паровые котлы обладают целым рядом преимуществ перед другими типами котлов. Использование централизованно приготовленного пара как теплоносителя позволяет упростить конструкцию котлов (отсутствие парогенератора). Коэффициент теплоотдачи от конденсирующего пара довольно высок, что также повышает эксплуатационные показатели парового котла.
3. Тепловой расчет котла
Исходные данные
Расчет производится для режима нагревания до кипения и режима тихого кипения содержимого котла.
Полезная емкость котла 250 л.
Диаметр защитного кожуха (от наружных стенок) D>зк>=760 мм.
Диаметр наружного котла (от внутренних стенок) D>нк>=655 мм.
Диаметр внутреннего котла (от внутренних стенок) D>вк>=605 мм.
Высота постамента, Н>п>=500 мм.
Высота расчетная наружного котла, Н>нк>=530 мм.
Высота кожуха котла, Н>зк>=505 мм.
Высота внутреннего котла, Н>вк>=510 мм.
Толщина стенки внутреннего котла, 3 мм.
Толщина стенки наружного котла, 4 мм.
Толщина стенки кожуха котла, 1,5 мм.
Рабочее давление пара в пароводяной рубашке котла, 0,5 атм.
Изоляция теплоизолирующего кожуха – мятая алюминиевая фольга.
Тепло, выделенное нагревателями котла, расходуется на следующие статьи:
Q=Q>1>+ Q>2>+ Q>3>+ Q>4>+ Q>5>,
Где Q>1> – тепло, идущее на разогрев воды во внутреннем котле, кДж;
Q>2> – тепло, израсходованное на нагревание конструкции котла, кДж;
Q>3> – тепло, расходуемое на парообразование в пароводяной рубашке, кДж;
Q>4> – тепло, расходуемое на испарение воды содержимого котла, кДж;
Q>5> – потери тепла наружными поверхностями котла в окружающую среду, кДж.
Определяем полезно использованное тепло:
Q>1>=СG(t>к >- t>н>)=49406,6 кДж;
Где С=4,187 – теплоемкость жидкого содержимого котла кДж/(кгС);
G=125 кг – вес содержимого котла, кг;
t>к >, t>н >– конечная и начальная температура содержимого котла, С.
В процессе слабого кипения (варки) тепло расходуется только на испарение содержимого при кипении и на потери в окружающую среду.
3.1 Определяем расход тепла на разогрев конструкций, парообразование в пароводяной рубашке, и на испарение содержимого котла.
Q>2>= Q>2>м+ Q>2>из,
Где Q>2>м – тепло, затраченное на нагревание металлоконструкций котла, кДж;
Q>2>м=СG(t>к >- t>н>)
Где С=0,5 – теплоемкость металлоконструкций котла, кДж/(кгС);
G=125 кг – вес металлоконструкций котла, кг;
t>к>=100С – средняя температура нагрева металлоконструкций котла, С
t>н>=20С – начальная температура металлоконструкций котла, С.
Q>2>м=5024,4 кДж.
Определяем расход тепла на нагревание изоляции:
Q>2>из=С>из> G>из> (t>к >- t>н>)
Где С>из> – теплоемкость изоляции, С>из>=0,2кДж/(кгС);
G>из> – вес изоляции, G=2 кг (по опытным данным);
t>к> =( t>вн> + t>кож>)/2,
t>вн> – температура частей изоляции, касающихся наружного котла;
t>кож> – температура частей изоляции, касающихся кожуха;
t>к> =( 100 + 50)/2=75 С;
t>н> – начальная температура альфоли, равная температуре окружающей среды, t>н> =20 С;
Q>2>из=11,5 кДж.
Q>2>= Q>2>м+ Q>2>из=5037 кДж.
Расход тепла на парообразование в пароводяной рубашке
Тепло, израсходованное на нагревание воды в парогенераторе до кипения:
Q>п>=С G (t>к >- t>н>)=3977 кДж.
Объем пароводяной рубашки:
V=0,07 м3.
Удельный вес пароводяной смеси: =0,8 кг/м3, тогда вес пароводяной смеси:
G>3>=V=0,070,8=0,056 кг.
Теплосодержание пара при давлении 0,5 атм i”=2692,6 кДж/кг.
Расход тепла на парообразование и нагревание воды:
Q>3>’=G>3>i’’=146,5кДж;
Q>3>= Q>п>+ Q>3>’=4124,2кДж.
Расход тепла на испарение содержимого котла
А) в процессе разогрева:
Количество испарившейся воды принимаем, по опытным данным, равным 0,5% от веса воды в котле
М>исп>=1250,5/100=0,625 кг/час
Q>нагр>= М>исп>r=1423,6 кДж/час
В) в процессе варки:
Количество испарившейся воды принимаем, по опытным данным, равным 1,5% от веса воды в котле
М>кип>=1251,5/100=1,88 кг/час
Q>кип>= М>кип>r=4270,7 кДж/час
Определение потерь тепла в окружающую среду
Потери тепла происходят с боковой поверхности кожуха, неизолированной шейки котла, крышки, нижней части кожуха, дна котла и парогенератора.
Отдача тепла воздуху происходит конвекцией и лучеиспусканием.
3.2 Потери тепла в окружающую среду
Определяем размеры боковой поверхности кожуха котла:
F>кож>=3,14D>зк>H>зк>=3,140,760,5= 12м2, а также t>ст> –
Среднюю расчетную температуру кожуха, которая в начале нагревания была 20 С, а в момент кипения 50С:
t>ст> =(50+20)/2=35 С.
Перепад температур при нагревании и кипении, равен при нагревании:
t>1> = t>ст>- t>в>=35-20=15 С.
При кипении:
t>2> = t>ст>- t>в>=50-20=30 С.
определяем коэффициент отдачи тепла лучеиспусканием:


С – коэффициент пропорциональности, С=4,9;
– коэффициент черноты эмалированной стали, =0,88;
t>ст> – средняя температура стенки кожуха, С;
t>в >– температура окружающего воздуха, С;

>л нагр>=20,8кДж/м3часС,

>л кип>=22 кДж/м3часС
Определяем коэффициент теплоотдачи конвекцией: средняя температура воздуха, соприкасающегося с автоклавом:
t>расч нагр> =( t>ср> + t>в>)/2=(35+20)/2= 27,5 С,
t>расч кип > =( 50 + 20)/2=35 С.
Имеем коэффициенты теплопроводности для воздуха:
=9,210-2 кДж/м час, С, при t=27,5 С и
=9,410-2 кДж/м час, С, при t=35 С.
Соответственно коэффициент кинематической вязкости:
=16,310-6 м2/сек при t=27,5 С и
=17,110-6 м2/сек, при t=35 С.
Для определения коэффициента теплоотдачи конвекцией необходимо знать величины критериев Прандтля, Грасгофа и Нуссельта.
Критерий Прандтля (Pr) является безразмерным физическим параметром теплоносителя, в данном случае воздуха. Величина этого параметра зависит от физической природы, температуры и давления воздуха.
Для температуры 25-35 С принимают Pr=0.722.
Критерий подобия Грасгофа (Gr) является критерием кинематического подобия для процессов теплоотдачи при свободном движении воздуха.
Критерий Нуссельта (Nu) содержит искомую величину коэффициента теплоотдачи и является критерием теплового подобия.
Gr=(gd3t)/2,
Где g – ускорение силы тяжести, g=9,81 м/сек2;
– коэффициент объемного расширения воздуха, 1/С.
=1/( t>ст>+273)= 1/( 35+273)=1/308 для периода кипения;
=1/( t>ст>+273)= 1/( 50+273)=1/300,5 для периода нагрева.
t = t>ст> - t>в> – разность температур стенок кожуха и воздуха;
d3=D>зк>3=0,763 – наружный диаметр котла, м.
Gr>нагр>=(9,8110,76315)/(300,5(16,310-6)2)=8,1108,
Gr>кип>=(9,8110,76330)/(308(17,110-6)2)=14,3108.
Для определения коэффициента теплоотдачи конвекцией определяем критерий Нуссельта:
Nu=C(PrGr)n,
Где С=0,135 – коэффициент пропорциональности;
n=1/3 – показатель степени;
PrGr>нагр>=0,722 8,1108=584106,
PrGr>кип>=0,722 14,3108=1030106, тогда


Коэффициент отдачи тепла конвекцией:
>к нагр>=Nu>к>/D>з к>=13,7 кДж/м3часС,
>к кип>=Nu>к>/D>з к>=17 кДж/м3часС.
Отсюда потери тепла в окружающую среду кожухом:
Q>5 зк нагр>=(>л> +>к>)F>кож>t=598,7 кДж
Q>5 зк кип>=(>л> +>к>)F>кож>t=1398,4 кДж.
Потери тепла в окружающую среду шейкой котла
Боковая поверхность шейки котла
F>ш>=0,42 м2.
За период нагрева от комнатной температуры до кипения температура шейки в среднем:
t>ш>=(100+20)/2=60 С, в период кипения t>ш>=100 С.
Перепад температуры между t>ш> и температурой воздуха для периода нагревания:
t=60-20=40 С, а в период кипения t=100-20=80 С.
Расчетная температура воздуха, соприкасающегося с шейкой котла:
В период нагревания: t>р>=(60+20)/2=40 С;
В период кипения: t>р>=(100+20)/2=60 С.
Коэффициент теплоотдачи лучеиспусканием от шейки котла:


>л нагр>=13,5 кДж/м3часС,

>л кип>=16,3 кДж/м3часС.
Определяем коэффициент отдачи тепла конвекцией от шейки котла. При нагревании:
=9,510-2 кДж/м час С;
=17,610-6 м2/сек;
Pr=0.722 =1/313.
При кипении:
=10,110-2 кДж/м час С;
=19,610-6 м2/сек;
Pr=0.722 =1/383.
Gr=(gt d>ш>3)/2,
Gr>нагр>=(9,81400,6231012)/(313(17,62)=970106,
Gr>кип>=(9,81801,00,6231012/(383(19,62)=1460106, отсюда:


Коэффициент отдачи тепла:
>к нагр>=Nu/d>ш>=18,5кДж/м3часС,
>к кип>=Nu>к>/d>ш>=22,7 кДж/м3часС.
Потери тепла от шейки котла лучеиспусканием:
Q> нагр>=>л>F>ш>t=192,6 кДж;
Q> кип>=>л>F>ш>t=469 кДж.
Потери тепла от шейки котла конвекцией:
Q>4 нагр>=>л>F>ш>t=305,7 кДж;
Q>4 кип>=>л>F>ш>t=441,1 кДж.
Потери тепла в окружающую среду:
Q>4 ш нагр>= Q>л>+ Q>к>=498 кДж;
Q>4 ш кип>= Q>л>+ Q>к>=1210кДж.
Потери тепла крышкой котла
Поверхность крышки F>к>=D2>к>/4=3,140,6382/4=0,36м2.
Выпуклостью крышки при определении поверхности пренебрегаем ввиду незначительности кривизны.
Принимаем, что при кипении температура крышки 95 С.
В период нагревания температура возрастает с 20С до 95С.
Средняя температура:
t>к>=(95+20)/2=57,5 С.
Перепад температуры между температурой крышки и температурой воздуха, соприкасающегося с крышкой:
t>в>=(57,5+20)/2=38,7 С;
Для периода кипения перепад температур: t=95-20=70 С, а расчетная температура воздуха:
t>в>=(95+20)/2=57,5 С.
Коэффициент лучеиспускания равен:


>л нагр>=13,2 кДж/м3часС,

>л кип>=15,5 кДж/м3часС.
Определяем коэффициент отдачи тепла конвекцией:
При нагревании:
=9,510-2 кДж/м час С;
=17,610-6 м2/сек;
Pr=0.722 =1/311,7.
При кипении:
=4,110-2 кДж/м час С;
=19,610-6 м2/сек;
Pr=0.722 =1/383.
Gr=(gt d>кр>3)/2,
Gr>нагр>=(9,8137,51,00,6431012)/(311,7(17,62)=950106,
Gr>кип>=(9,81751,00,6431012/(383(19,62)=1430106, отсюда:
PrGr>нагр>=0,722 9,5108=685106,
PrGr>кип>=0,722 14,3108=1030106, тогда


Коэффициент отдачи тепла:
>к нагр>=Nu/d>кр>=17,2 кДж/м3часС,
>к кип>=Nu>к>/d>кр>=22,2 кДж/м3часС.
Потери тепла крышкой лучеиспусканием:
Q>л нагр>=>л>tF>к> =178 кДж/час;
Q>л кип>=>л>tF>к> =418,7 кДж/час.
Потери тепла крышкой конвекцией:
Q>л нагр>=>к>tF>к> =232 кДж/час;
Q>л кип>=>к>tF>к> =599 кДж/час.
Потери тепла в окружающую среду:
Q>5 нагр>= Q>л>+ Q>к>=410 кДж/час;
Q>5 кип>= Q>л>+ Q>к>=1017 кДж/час.
Потери тепла в окружающую среду кожухом постамента и парогенератором котла
Поверхность постамента равна:
F>п>=3,14D>п>H>п>=3,140,60,5=1,16 м3.
Поверхность дна парогенератора равна:
F>д>=d2/4=3,140,762/4=0,45 м2.
Ввиду быстрого нагревания воды в парогенераторе проводим общий расчет: для режима нагревания и режима кипения.
Температуру стенки парогенератора принимаем 108 С.
Перепад температур между температурой стенки и температурой воздуха: t=108-20=88 С.
Средняя расчетная температура:
t>ср>=(108+20)/2=64 С.
Коэффициент лучеиспускания равен:


>л >=28,5/м3часС,
Определяем коэффициент отдачи тепла конвекцией:
=9,810-2 кДж/м час С;
=20,110-6 м2/сек;
Pr=0.722 =1/381.
Находим критерий Грасгофа:
Gr=(gt d>Э>3)/2,
Gr=(9,81881,00,7631012)/(381(20,12)=1335106,
PrGr=0,722 13,35108=964106,тогда

Коэффициент отдачи тепла конвекцией:
>к >=Nu/d>э>=1332,3810-2/0,76=21,5 кДж/м3часС.
Потери тепла от парогенератора проходят вниз (на пол) и в стороны (на постамент и облицовку), отсюда тепло рассеивается в окружающую среду. Поверхность парогенератора F>п>=0,2м2.
Q>л >=>л>tF>к> = 4036 кДж/час;
Q>к>=>к>tF>к> = 3040 кДж/час.
Учитывая, что теплоотдача от парогенератора, закрытого облицовкой постамента затруднена, по опытным данным вводим коэффициент Кr=0,16, тогда потери тепла составят:
Q>5>= Кr(Q>л>+ Q>к>)=1151 кДж/час.
Общее количество тепла, расходуемое на потери в окружающую среду кожухом, шейкой, крышкой и парогенератором, составят:
Q>5 нагр>= Q>з к>+ Q>к> +Q>ш>+ Q>п>=2658 кДж/час;
Q>5 кипр>= Q>з к>+ Q>к> +Q>ш>+ Q>п>=4777 кДж/час.
Сводим результаты теплового расчета:
|
Расход тепла (в кДж/час) |
На нагрев |
На кипение |
|
1 нагревание воды |
47800 |
– |
|
2 нагревание конструкции |
4812 |
– |
|
3 парообразование в рубашке |
3980 |
– |
|
4 испарение |
1360 |
– |
|
5 потери тепла в окружающую среду |
2570 |
4200 |
|
Итого: |
58734 |
4320 |
Находим полную мощность электронагревательных элементов при нагреве в течении 1 часа:
Р>max>=Q/860=16 кВт.
Мощность, необходимая для поддержания слабого кипения:
Р>min>=2161/860=2,5 кВт.
Принимаем шесть ТЭНа, мощность каждого Р>э>=16/6=2,67 кВт.
ЗАКЛЮЧЕНИЕ.
Пищеварочные котлы превосходят серийные по следующим показателям:
технологичности при изготовлении;
эргономичности благодаря приспособленности к функциональной таре;
возможности унификации в результате применения одинаковых панельных элементов;
надежности вследствие жесткости панельных систем;
коэффициенту полезного действия.
Для улучшения металлоемкости вертикально-циллиндрических котлов серийного типа при сохранении жесткости и устойчивости узла «варочный сосуд – греющая рубашка» к варочному сосуду присоединяется панель толщиной 1 мм с выштампованными паровыми клапанами размером 10х80 мм и межкапельной полосой шириной 20 мм (с помощью точечной или роликовой сварки). При этом металлоемкость серийных котлов типа емкостью 250 л уменьшается в 1,5…2 раза.
4. Панельный принцип применим к достаточно широкому кругу тепловых аппаратов, перспективен при создании новых аппаратов периодического действия и трансферавтоматов; дает возможность по меньшей мере на 50 % улучшить качество аппаратов, включая такие показатели, как металлоемкость, степень унификации, технологичность, эргономичность, позволяет унифицировать ряд важных деталей тепловых аппаратов с разными видами обогрева и различного технологического назначения; упрощает заводскую оснастку и производство.
СПИСОК ИСПОЛЬЗОВАННЫХ ИСТОЧНИКОВ.
Вышелесский А.Н. Тепловое оборудование предприятий общественного питания. Учебник для технол. фак. торг. вузов. Изд. 5-е, перераб. и доп. М., Экономика. – 1976. – 399 с.
Технологическое оборудование пищевых производств/Б.М. Азаров, Х. Аурих и др. Под ред. Б.М. Азарова. – М.: Агропромиздат, 1988. – 465 с.
Оборудование предприятий общественного питания. В 3-х томах. Т.3, Беляев М.И. Тепловое оборудование: Учебн. для технол. фак. торг. вузов. М.: Экономика, 1990. – 553 с.
Тепловое оборудование предприятий общественного питания / Н.Н. Липатов, М.И. Ботов, Ю.Р. Муратов. – М.: Колос, 1994 – 431 с.
Расчет и конструирование торгово-технологического оборудования. Учебн. пособие для студентов вузов, обучающихся по специальности «Машины и аппараты пищевых производств»/ Л.И. Гордон, Т.А. Корнюшко, И.И. Лангербах и др. Под общ. ред. В.Н. Шувалова и С.В. Харламова. – Л.: Машиностроение, Ленингр. отд., 1985. – 335 с.
Лабораторные работы по оборудованию предприятий общественного питания. Учебн. пособие для технол. фак. торг. вузов. М.: Экономика, 1991. – 192 с.
Лоусен Ф. Предприятия общественного питания. (Проектирование и строительство). Пер с англ. Н.Н. Черниной; под ред. В.В. Вержбицкого. – М.: Стройиздат, 1987. – 200 с.
Гордон Л.И. Панельное тепловое оборудование предприятий общественного питания. М.: Экономика, 1982. – 128 с.
Кокурин В.Ф. и др. Секционное оборудование предприятий общественного питания. М.: Экономика, 1969. – 134 с.
Белобородов В.В., Гордон Л.И. Тепловое оборудование предприятий общественного питания: Учебн. пособие для технол. фак. торг. вузов. . М.: Экономика, 1983. – 304 с.
Лощинский А.А., Толчинский А.Р. Основы конструирования и расчеты химической аппаратуры. Справочник. – М.: 1963. – 367 с.

