Машины для дробления, сортировки и мойки каменных материалов
МОСКОВСКИЙ КОЛЛЕДЖ ГРАДОСТРАИТЕЛЬСТВА и ПРЕДПРИНИМАТЕЛЬСТВА
Реферат
По дисциплине:
«Строительные машины»
на тему:
МАШИНЫ ДЛЯ ДРОБЛЕНИЯ, СОРТИРОВКИ И МОЙКИ КАМЕННЫХ МАТЕРИАЛОВ
Выполнил: студент 3 курса
Группы С-3-99.
специальность СЭЗС
Рушихин А.И.
МОСКВА. 2001г.
Содержание.
|
Введение |
3 |
|
4 |
|
1.1 Щековые дробилки. |
|
|
1.2 Конусные дробилки. |
|
|
1.3 Валковые дробилки. |
|
|
1.4 Роторные и молотковые дробилки |
|
|
13 |
|
2.1 Неподвижные грохоты. |
|
|
2.2 Барабанные грохоты. |
|
|
2.3 Эксцентриковые грохоты. |
|
|
2.4 Инерционные виброгрохоты. |
|
|
16 |
|
3.1 Гидромеханический классификатор. |
|
|
3.2 Гидравлический классификатор. |
|
|
Заключение. |
17 |
|
Список литературы. |
18 |
Введение
Строительные машины в настоящее время неотъемлемая часть в любой сфере косвенно или прямо связанной со строительством. Позволяют улучшить и проконтролировать качество строительства. Ускорить сроки строительства. Облегчить труд человека в как частично, так и в целом автоматизируя процесс производства в некоторых отраслях.
В данном реферате описывается один из классов строительных машин «машины для дробления, сортировки и мойки каменных материалов». Приводятся некоторые данные о их работе и конструктивных особенностях. Как устроены, как работают. Данные ох производительности и потребляемых ресурсах.
Машины для дробления каменных материалов
В строительстве ежегодно потребляется большое количество каменных материалов: щебня, гравия и песка. Большая часть этих материалов используется на приготовление бетона. Добыча песка и гравия производится в естественных отложениях механическим или гидравлическим способом, а щебня из естественного камня путем дробления взорванных скальных пород. Добываемые каменные материалы перерабатываются на камнедробильных и промывочно-сортировочных заводах, а затем в виде готового продукта стандартного качества доставляются потребителю.
Качество щебня характеризуется зерновым составом, формой зерен, механической прочностью и содержанием вредных примесей.
В зависимости от крупности зерен щебень разделяют на фракции 5...10; 10...20; 20...40 и 40...70 мм. Кроме того, для дорожного строительства допускаются фракции 3...10; 10...15; 15...20 мм и для балластного слоя железнодорожного пути 25...50 мм. Для массивных бетонных сооружений верхний предел крупности может достигать 120...150 мм. По форме зерен их классифицируют на лещадные, у которых ширина в три раза и более меньше длины, и кубо-образные. Действующие ГОСТы не допускают содержание в щебне и гравии зерен лещадной формы более 15 %. Щебень из гравия получают дроблением гравия и валунов. Требования к щебню, полученному из гравия, в основном такие же, как к щебню, полученному из взорванных каменных пород. Механическая прочность щебня определяется прочностью горных пород, из которых он получен. Различают породы малой прочности 30...80 МПа, средней — 80... 150 и высокой — более 150 МПа.
Пески по степени крупности разделяют по модулю крупности и другим показателям на крупные, средние и мелкие. В процессе переработки нерудных материалов для освобождения песка и в отдельных случаях щебня от глинистых и других вредных частиц применяют промывку и обезвоживание. Обезвоживание производят для снижения влажности до уровня, допускающего его транспортирование, и предотвращения смерзания в зимнее время.
Дробление каменных материалов осуществляется приложением статических и динамических нагрузок. Материалы измельчают раздавливанием, разрушением ударом, истиранием, раскалыванием, а также разрушением взрывом. Во многих случаях дробление происходит при одновременном действии раздавливания и истирания.
Степенью дробления называют отношение размера наиболее крупных, загружаемых в дробилку камней к размеру максимальных зерен в продукте дробления: I = D>max>/d>max>
Дробление разделяют на крупное (D>max> = 1200...1500 мм, d>max>> >=100...300 мм), среднее (D>max> = 100...300 мм, d>max> = 30... 100 мм), мелкое (D>max> = 30...100 mm, d>max> = = 5...30 мм) и тонкое (помол). Дробление пород высокой и средней прочности осуществляют раздавливанием, раскалыванием и ударом; помол — истиранием и ударом.
В зависимости от степени измельчения материалов дробильные машины разделяют на дробилки и мельницы. Некоторые машины могут работать как дробилки и как мельницы (например, валковые дробилки, бегуны). По принципу действия и конструктивным признакам дробилки делят на щековые, конусные, валковые, молотковые и роторные дробилки; мельницы — на барабанные, шаровые, бегунковые и вибрационные. Различные типы дробилок позволяют получить определенную, присущую данной конструкции, степень дробления: щековые — 2...8; валковые — 1,5...10; конусные — 3...8; молотковые — 5...30; мельницы — 10...20.
Выбор типа дробильного оборудования осуществляют в зависимости от максимальной крупности кусков исходного материала, его прочности, необходимой степени дробления и требуемой производительности.
Дробление материалов ведут в одну или несколько стадий. Преимущественное распространение получило стадийное дробление, при котором материал дробят в 2...3 приема на дробилках разных типов. Уже на каждой стадии дробления получают материал с требуемыми размерами кусков. Такие куски отсеиваются на грохоте, установленном перед дробилками разных стадий. Дробилки последних стадий работают, как правило, в замкнутом цикле с виброгрохотом, при этом материал крупнее заданного размера возвращается в ту же дробилку для повторного дробления (рис. 1).
|
|
Рис. 1. Типовая схема дробильно-сортировочной установки:
1 – вагонетка; |
При одностадийном дроблении получаемые мелкие зерна заполняют промежутки между крупными и защищают их от непосредственного воздействия дробящих органов машины, что сопровождается дополнительным измельчением материала и расходом энергии.
Основными показателями работы дробилок являются: максимальная крупность дробления, степень измельчения, удельный расход энергии (кВт ч/м3), производительность (м3/ч или т/ч).
Щековые дробилки. Их применяют для крупного и среднего дробления прочных и средней прочности пород на первичной и вторичной стадии дробления. По характеру движения подвижной щеки щековые дробилки разделяют на дробилки с простым и сложным качанием щеки.
Дробилка с простым качанием щеки (рис. 2, а, б) состоит:
|
|
Рис. 2. Щековая дробилка с простым качанием щеки:
а
— конструктивная схема; |
|
|
из сварного корпуса 1, в котором в подшипниках установлен эксцентриковый вал 7 с подвешенным к нему шатуном 8. Нижний конец шатуна имеет специальные гнезда, в которых свободно вставлены концы распорных плит 12 и 13. Противоположный конец распорной плиты 13 вставлен в гнездо подвижной щеки 3, подвешенной на оси 5. Конец плиты 12 упирается в клиновой упор регулировочного устройства 9. Тяга 11 и пружина 10 обеспечивают обратное движение подвижной щеки и удерживают от выпадения распорные плиты. К неподвижной 2 и подвижной щекам крепятся дробящие плиты 4 с вертикальным рифлением, являющиеся основными рабочими органами щековых дробилок. Рабочие поверхности дробящих плит и боковые стенки корпуса дробилки образуют камеру дробления. Дробящие плиты устанавливают так, чтобы выступы одной располагались против впадин другой (рис. 2, в). Привод дробилки состоит из электродвигателя и многорядной клиноременной передачи с массивным шкивом-мховиком 6.
Для обеспечения пуска дробилок, а также пуска дробилок под завалом в последних конструкциях дробилок применен вспомогательный привод (рис 3).
|
|
Рис. 3. Схема вспомогательного привода |
Он состоит из электродвигателя меньшей мощности 4, зубчатого редуктора 3 с большим передаточным числом, обгонной муфты 2, соединенной с валом главного электродвигателя 1. Трогание с места осуществляется вспомогательным приводом. После этого включается главный двигатель, а вспомогательный привод автоматически отключается.
Режим работы дробилки изменяется регулировкой выходной щели с помощью клинового или иной конструкции регулировочного устройства. Выходную щель замеряют между вершиной и впадиной дробящих плит в момент наибольшего удаления подвижной щеки. Ширина разгрузочной щели составляет 40...120 мм для дробилок среднего дробления и 100... 250 мм для крупного дробления. При вращении эксцентрикового вала подвижная щека проводится в качательное, подобно маятнику, движение. За один оборот эксцентрикового вала подвижная щека, приближаясь к неподвижной, совершает рабочий ход (дробление) и холостой ход, при котором продукт дробления выпадает через разгрузочную щель. Для щековых дробилок с простым качанием щеки наиболее характерным видом разрушения материала является раздавливание, раскалывание и излом. Поэтому их применяют для крупного и среднего дробления высокопрочных .пород на первичной стадии дробления.
Дробилка со сложным качанием щеки (рис. 4)
|
|
|
|
Рис. 4. Кинематическая схема щековой дробилки со сложным качанием щеки: (а), ее конструктивная схема (б) |
по конструкции проще, чем с простым качанием, и имеет меньшую массу. В ней отсутствует шатун, а подвижная щека 1 подвешена непосредственно к эксцентриковому валу 2, в результате чего точки подвижной щеки движутся по эллиптическим траекториям с минимальной разностью осей эллипса вверху и максимальной внизу. Дробление материала происходит в результате раздавливания, раскалывания, излома и истирания материала. Дробилки со сложным качанием щеки применяют для среднего и мелкого дробления пород средней крепости. Сложное движение подвижной щеки приводит к более интенсивному износу дробящих плит и более частой их замене.
Недостатками щековых дробилок являются цикличный характер их работы и высокая энергоемкость процесса разрушения. Удельная мощность [кВт/(м3/ч)] при минимальной ширине разгрузочной щели достигает у дробилок с простым качанием 1,2...4,6 и со сложным качанием щеки — 0,9...4,6.
Типоразмер щековой дробилки определяется размером ширины В и длины L загрузочного зева дробилки. Величина В характеризует максимальную крупность кусков, загружаемых в дробилку (D>max> = 0,85 В), а величина L определяет в основном ее производительность. Отечественные щековые дробилки выпускаются следующих типоразмеров: 400х600; 600х900; 900х1200; 1200х1500; 1500х2100; 2100х2500 мм, производительностью до 800 м3/ч.
Техническая производительность
щековых дробилок (м3/ч) П>т>
= 60Vnr>p>,где
V — объем материала,
выпадающий из зева дробилки за один
оборот эксцентрикового вала, м3
(рис. 2, г);
;n
— число качаний подвижной щеки в
минуту; R>р> =
0,3...0,7 — коэффициент, учитывающий
разрыхление дробимого материала.
Необходимо, чтобы раздробленный
материал за один двойной ход щеки успел
высыпаться из разгрузочной щели, т. е.
60/(2n) =
,
откуда число качаний щеки
n
= 665
.
Так как свободного падения не происходит,
то n = (600... 635)
,
где l — ход подвижной
щеки, м; — угол
захвата, он зависит от коэффициента
трения материала о щеки и составляет
19...23°; S = a
+ l — ширина разгрузочной
щели, м (см. рис.2, г); a
— размер при сближенном положении
щек, м; l — длина
загрузочного зева дробилки, м.
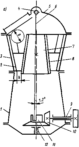
Конусные дробилки применяют для дробления пород с прочностью >сж> до 300 МПа с высокой степенью абразивности. В таких дробилках материал раздавливается в камере дробления рабочим конусом, совершающим пространственное качание внутри неподвижного конуса (рис. 5, а, б).
|
|
|
|
|
Рис. 4. Конусная
дробилка: |
В каждый момент одна из образующих дробящего конуса оказывается наиболее приближенной к внутренней поверхности неподвижного конуса, а противоположная ей образующая — наиболее удаленной. Таким образом, в любой момент поверхности дробящих конусов, сближаясь, производят дробление материала, а в зоне удаления этих поверхностей ранее раздробленный материал под действием собственной массы разгружается через кольцеобразную выпускную щель.
Процесс дробления в конусных дробилках, в отличие от щековых, происходит непрерывно при последовательном перемещении зоны дробления по окружности конусов, что способствует более равномерной нагрузке механизма и двигателя дробилки. Размер наибольших кусков, которые могут быть загружены в дробилку, определяется радиальной шириной загрузочного отверстия. Характеристика крупности дробления и производительность дробилки зависят от радиальной ширины разгрузочного отверстия.
Различают конусные дробилки для крупного, среднего и мелкого дробления. Они отличаются между собой способом установки и углами конусности дробящих конусов.
В конусных дробилках для крупного дробления (рис. 5, а) измельчение материала производится в кольцевом рабочем пространстве, образованном двумя конусами: неподвижным 2 и подвижным — дробящим 7. Первый закреплен к основанию дробилки 1. Дробящий конус плотно насажен на вал 6, верхний конец которого шарнирно с помощью подвесного подшипника 4 крепится к траверсе 5, а нижний — свободно входит в стакан-эксцентрик 11. Последний может вращаться в вертикальном подшипнике 12 станины дробилки. Вращение стакану-эксцентрику передается от электродвигателя через горизонтальный вал 9 и коническую передачу-10. Дробящие конусы бронированы плитами 3 и 8 из износостойкой стали. Геометрические оси подвижного и неподвижного конусов образуют угол до 2...30. При вращении эксцентрикового стакана геометрическая ось подвижного конуса описывает коническую поверхность с вершиной в точке подвеса вала, а сам конус совершает круговые качания внутри неподвижного. Дробление материала происходит в зоне, где поверхности конусов сближаются, а разгрузка – там, где эти поверхности расходятся.
Максимальная крупность кусков, загруженных в дробилку при В = 900, 1200 и 1500 мм, составляет соответственно 750, 1000 и 1200 мм, а ширина разгрузочной щели — 125...225 мм.
Конусные дробилки для среднего и мелкого дробления (рис. 5, б) значительно отличаются от дробилок для крупного дробления прежде всего очертанием профиля рабочего пространства. Подвижный дробящий конус 7 имеет угол при вершине 80...100° «пологий конус», у дробилок крупного дробления этот угол составляет 20...30° («крутой конус»). Неподвижный дробящий конус 3 также расширяется книзу, образуя с подвижным «параллельную зону» (рис. 5, в), при движении по которой материал подвергается неоднократному сжатию и дроблению до размера, равного выходной щели. Поэтому крупность продукта дробления определяется шириной закрытой, а не открытой, как у дробилок крупного дробления, разгрузочной щели. Камеры дробления этих дробилок принимают меньшие по размеру куски и выдают более мелкий продукт. Наибольший размер загружаемого куска в дробилки среднего дробления 60...300 мм при размере разгрузочного отверстия 12...60 мм; у дробилок мелкого дробления соответственно 8...170 мм при размере разгрузочного отверстия 5...20 мм.
В таких дробилках иначе выполнена опора дробящего конуса. Вал 6 (рис. 5. б), на котором насажен дробящий конус, выполнен консольным, не имеющим верхней опоры. Если у дробилок для крупного дробления дробящий конус шарнирно подвешен к траверсе, то у дробилок для среднего и мелкого дробления опора дробящего конуса расположена в центре его качания и выполнена в виде сферического подпятника 13 большого радиуса, воспринимающего как массу конуса и вала, так и усилия дробления. Нижний конец вала вставлен в эксцентриковую втулку 11, размещенную в стакане, представляющим одно целое со станиной дробилки. Эксцентриковая втулка получает вращение от электродвигателя через горизонтальный вал и коническую передачу. Материал поступает на диск-питатель 14 и равномерно распределяется по всему загрузочному отверстию.
Дробилки для среднего и мелкого дробления более быстроходны. Число качаний дробящего конуса в минуту — 215...350, у конусных дробилок крупного дробления — всего 80... 170.
Техническая производительность конусных дробилок (м3/ч) П>т>=qb , где q — производительность, приходящаяся на 1 мм выходной щели, м3/ч; для дробилок среднего дробления q = 0,54 D2n, для мелкого дробления q= l,32 D2n; D — диаметр основания подвижного конуса, м; п — частота круговых качаний, с-1; b —ширина выходной щели, мм.
Преимуществами конусных дробилок являются непрерывность их работы и отсутствие холостого хода. Энергоемкость дробления зависит от прочности продукта дробления и степени дробления. При дроблении известняков прочностью 60...80 МПа в дробилках крупного дробления и размере исходных кусков 300...1500 мм при ширине выходной щели 50...200 мм энергоемкость дробления составляет 0,27...0,75 кВт-ч/т.
Валковые дробилки. Рабочими органами валковой дробилки (рис. 6)
|
|
|
|
|
Рис. 6. Валковые
дробилка: |
являются два параллельных цилиндрических валка 2 и 4, вращающиеся навстречу один другому. Попадающий в рабочую зону кусок материала увлекается трением о поверхность валков и затягивается в рабочее пространство, где подвергается дроблению в результате раскалывания, излома и истирания. Поверхности валков изготовляют гладкими и рифлеными. Валки монтируются на станине 1 в подшипниках 3 и 6. Подшипники одного либо двух валков имеют пружинные опоры 5, которые могут перемещаться в направляющих при попадании в дробилку не дробимого предмета. Вращение валка сообщается от электродвигателя через клиноременную передачу с частотой 75...190 мин-1.
Наибольший размер куска материала,
загружаемого в дробилку, зависит от
угла захвата, определяемого диаметром
валков и коэффициентом трения о
металлическую поверхность валков. Для
возможности захвата гладкими валками
исходного продукта в зоне дробления
необходимо, чтобы угол захвата валков
не превышал угол трения материала о
поверхность валков. Максимальный размер
кусков зависит от диаметра валков и
размера разгрузочной щели. Для выполнения
этих условий диаметр гладкого валка в
20 раз должен превосходить размер камня,
а при рифленых поверхностях валков —
в 12 раз. Поэтому валковые дробилки
применяют только для вторичного дробления
пород средней и малой прочности, а также
для измельчения вязких и влажных
материалов. Степень измельчения—
4...12. Типоразмер дробилки характеризуют
диаметром и длиной валков. Производительность
валковых дробилок (М3/Ч)
П>T>
= 3600 aL
R , где а — ширина
разгрузочной щели, м; L —
длина валка, м; —
окружная скорость, м/с; R
— коэффициент, учитывающий использование
длины валков, степень разрыхления
материала, неравномерность подачи; R
= 0,1...0,3 для мягких и R = 0,4... 0,5 для твердых
пород.
Роторные и молотковые дробилки. Роторные дробилки применяют для дробления известняка, доломита, руд, мрамора и других подобных им материалов, обладающих малой абразивностью. Их выпускают двух типов: для крупного дробления, которые используют на первичной стадии дробления; для среднего и мелкого дробления, используемые на заключительных стадиях дробления. Работа таких дробилок основана на принципе разрушения пород ударными нагрузками. Роторные дробилки обеспечивают получение щебня высокого качества, преимущественно кубообразной формы, с одновременным обогащением продукта дробления, так как более слабые составляющие пород подвергаются значительному измельчению и отсеиванию от основных фракций.
Роторная дробилка представляет собой коробчатый корпус 3, в котором размещены вращающийся с большой скоростью ротор 1 с жестко закрепленными на его внешней поверхности билами 2 (рис. 7.).
|
Рис. 7. Роторная дробилка. |
|
Вращение ротору сообщается от электродвигателя через клиноременную передачу. Внутри корпуса подвешены отражательные плиты 4 и 7, нижняя часть которых опирается на пружинно-регулировочное устройство 5 и 6, позволяющее регулировать ширину выходной щели, а также пропускать не дробимое тело при его попадании в камеру дробления. Дробление материала осуществляется в результате удара по нему бил и удара кусков об отражательные плиты, чем достигается высокая (10...20) степень дробления. В сравнении с другими типами дробилок роторные дробилки имеют меньшую металлоемкость, небольшие габариты, что в сочетании с высокой степенью дробления обусловило применение их в передвижных дробильных установках. Размер наибольшего куска, загружаемого в дробилки крупного дробления, 800...1000 мм, среднего — 400...600 мм при окружной скорости 20...35 м/с.
Для дробления пород средней прочности, а также мягких материалов, таких, как шлак, гипс, мел, глины, применяют молотковые дробилки.
Молотковая дробилка (рис. 8) состоит из сварного корпуса 1, в котором
|
Рис. 8 Молотковая дробилка |
|
установлены ротор 2, отбойная плита 4, поворотная 5 и выдвижная колосниковая решетки 6. Ротор состоит из одного или нескольких дисков, закрепленных на общем приводном валу. Дробление материала осуществляется под действием удара по нему молотков 3 массой 15...20 кг, шарнирно закрепленных к дискам вращающегося ротора, и соударения кусков с плитами и колосниковыми решетками. Положение колосниковых решеток и отбойной плиты — регулируемое. Рабочий зазор между внутренней поверхностью колосниковой решетки и ротором выбирают в зависимости от крупности продукта дробления. При крупном дроблении обычно он в полтора — два раза больше поперечника максимальных кусков продукта дробления, а при мелком — в три — пять раз. Размер наибольшего куска материала, загружаемого в молотковые дробилки,— 75...600 мм при окружной скорости молотков 60 м/с. При вращении ротора молотки под действием центробежных сил занимают направление по линии, соединяющей ось вращения ротора с осью вращения молотка. При ударе молотки поворачиваются вокруг своей оси в направлении, противоположном вращению ротора. Шарнирное крепление молотков у молотковых дробилок существенно отличает их от роторных с жестко закрепленными билами. Недостатком молотковых дробилок является быстрый износ молотков и колосниковых решеток. Они также не могут быть рекомендованы для измельчения слишком вязких (глинистых) влажных материалов, которые забивают колосниковую решетку
Машины для сортировки каменных материалов
Процесс разделения массы или смеси зерен природного происхождения на классы по крупности называется грохочением или сортировкой. Грохочение осуществляют механическим, гидравлическим, воздушным и магнитным способами. Наиболее распространен механический способ, при котором дробленую массу разделяют путем просеивания на грохотах. Основной частью грохота является просеивающая поверхность. Она выполняется в виде сита из плетеной или сварной сетки, а также решета, штампованного из листовой стали, или литого из резины. Сита и решета должны быть износостойкими, сохранять в процессе работы неизменным размер отверстий, иметь большую площадь отверстий.
Различают грохочение предварительное, промежуточное, товарное (окончательное). Предварительное грохочение применяют для грубой сортировки на крупные и мелкие куски перед дробилками первичного дробления. При промежуточном грохочении из дробленого материала отделяются более крупные куски для направления в дробилки последующих стадий дробления. При окончательном грохочении материал разделяют на фракции в соответствии с требованиями стандарта. Разделение материала по крупности на фракции осуществляется в результате придания поверхности грохочения определенных по частоте и амплитуде колебаний, обеспечивающих эффективное встряхивание материала и прохождение зерен через просеивающие поверхности. На грохотах можно устанавливать до трех сит. Сита располагают в одной плоскости (грохочение от мелкого к крупному) или ярусами (грохочение от крупного к мелкому).
При грохочении от мелкого к крупному (рис. 9) грохот имеет конструкцию простую,
|
Рис. 9 |
|
удобную для осмотра и ремонта сит. Недостатками такой схемы являются большая длина грохота, интенсивный износ первого сита, низкое качество грохочения, так как мелкие частицы увлекаются более крупными. При грохочении от крупного к мелкому достигаются высокое качество сортирования, более равномерный износ сит, однако ухудшается возможность наблюдения за работой грохота. Комбинированная схема по сравнению с другими занимает промежуточное положение и является наиболее распространенной.
При перемещении по просеивающей поверхности сит материал разделяется по крупности. Зерна материала, превышающие размер отверстий сит, сходят с поверхности грохочения, образуя верхний класс. Зерна материала, прошедшие через отверстия, называются нижним классом. Нижний класс каждого предыдущего сита является исходным материалом для следующего расположенного за ним сита. При движении материалов по ситу не все зерна размером меньше отверстия сита могут пройти через него. В результате верхний класс оказывается засоренным зернами нижнего класса. Отношение (в процентах) массы зерен, прошедших сквозь сито, к количеству материала такой же крупности, содержащегося в исходном материале, называют эффективностью грохочения. Эталонное значение эффективности грохочения в зависимости от материала и типа грохотов составляет 86...91 %.
По исполнению и типу привода грохоты делят на неподвижные колосниковые, барабанные вращающиеся, эксцентриковые и инерционные виброгрохоты.
Неподвижные грохоты. Такие грохоты представляют собой колосниковые решетки из износостойкой стали с высоким ударным сопротивлением. Их применяют для предварительного грохочения.
Барабанные грохоты. Они имеют наклонный, под углом 5...7°, вращающийся барабан, состоящий из секций с различными размерами отверстий. Загрузка осуществляется в секцию с меньшими размерами отверстий. При трех секционном барабане получают четыре фракции щебня. Диаметры барабанов таких грохотов 600...1000 мм при длине З...3,5 м. Частота вращения грохота зависит от его диаметра и составляет 15...20 мин-1. При большей частоте грохочение прекращается. Производительность их 10...45 м3/ч при мощности двигателя 1,7...4,5 кВт. В связи с низким качеством грохочения и большим расходом энергии барабанные грохоты имеют ограниченное применение.
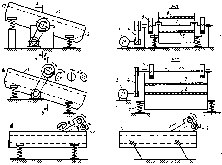
Эксцентриковые грохоты. Грохот (рис. 10, а) состоит из наклонного под углом 15...25° короба 1 с ситами 6 и 8; шарнирно подвешенного к шейкам приводного эксцентрикового вала 7 с дебалансами 5 и опирающегося на пружины 2. Вращение вала передается от электродвигателя 3 через клиноременную передачу 4. При такой подвеске короба материал на его просеивающей поверхности получает круговые колебания с постоянной амплитудой, равной двойному эксцентриситету вала, при любой нагрузке. Эксцентриковые грохоты изготовляют с двумя ситами размером 1500х3750 мм и амплитудой колебаний 3...4,5 мм и частотой колебаний 800...1400 в минуту.
|
Рис.10 Схемы плоских грохотов: а) эксцентриковый б) инерционный наклонный в, г) инерционный горизонтальный |
|
Инерционные виброгрохоты. Они делятся на инерционные наклонные (угол наклона сит 10...25°) и инерционные горизонтальные.
Инерционный наклонный виброгрохот (рис. 10, б) имеет приводной механизм, представляющий собой вал 6 с дебалансами 5, опертый на два подшипника, корпуса которых укреплены в стенках короба 1. Короб с ситами 7 и 8 опирается на основание через упругие связи 2. Форма колебаний зависит от расположения неуравновешенных масс и способа подвески короба. Они могут быть круговыми, эллиптическими или прямолинейными (грохоты с пластинчатыми рессорами). Наиболее эффективны грохоты на пружинных опорах. Регулирование амплитуды колебаний достигается сменными дебалансами. В отличие от эксцентриковых в инерционных грохотах с увеличением нагрузки амплитуда колебания короба уменьшается автоматически, защищая конструкцию от перегрузок. Такие грохоты применяют для тяжелых условий работы при товарном грохочении, а также для предварительного грохочения крупнокусковых материалов перед первичным дроблением (вместо сит устанавливают колосниковые решетки в один ярус). Размеры просеивающей поверхности сит 1750х1450 мм, частота вращения вала вибратора порядка 800 мин-1, амплитуда колебаний 3,7...4,5 мм.
Эффективное сортирование достигается с вибраторами направленного действия (рис. 10, в, г).
Инерционный горизонтальный виброгрохот имеет вибровозбудитель прямолинейно направленных колебаний 9, смонтированный на коробе с ситами. Возбудитель состоит из двух параллельно расположенных дебалансных валов, синхронно вращающихся в разных направлениях. Возмущающая сила такого вибратора направлена по прямой, перпендикулярной линии, соединяющей центры дебалансных валов, и изменяется по закону синуса. Угол действия между возмущающей силой и плоскостью сит составляет 35...45°. Короб с ситами опирается на основание через вертикальные пружины. Размеры просеивающей поверхности сит таких грохотов 1250x3000 мм, частота колебаний 500... 700 в минуту, амплитуда колебаний 8... 12 мм, мощность приводного двигателя 5,5 кВт. Горизонтальные виброгрохоты с направленными колебаниями обеспечивают большую удельную производительность и лучшее качество грохочения по сравнению с наклонными.
Техническая производительность
грохотов (мэ/ч) при промежуточном
и окончательном грохочении П>т>
= qAR>1>R>2>R>3>,
где q — удельная
производительность 1 м2 сита для
определенного размера отверстий (для
отверстий от 5 до 70 мм изменяется от 12
до 82 м3/ч); А — площадь сита,
м2; R>1 >—
коэффициент, учитывающий угол наклона
грохота (для горизонтальных грохотов
с направленными колебаниями R>1>
= 1,0; для наклонных при угле наклона
9...15° — 0,45...1,54); R>2>
— коэффициент, учитывающий содержание
в данном продукте зерен нижнего класса
(при содержании 10... 90 % соответственно
0,58...1,25); R>3> —
коэффициент, учитывающий содержание
в нижнем классе зерен меньше
размера отверстий сит (при содержании
10..90 % соответственно 0,63...1,37).
При приближенных расчетах можно определять производительность грохота как производительность желоба с определенной пропускной способностью П>т>=3600bhR>p>, где b — ширина сита, м; h — толщина слоя сортируемого материала, м (принимается равной размеру поступающих на сито кусков); = 0,05...0,25 м/с — скорость движения материала вдоль желоба; R>p> = 0,4...0,5 — коэффициент разрыхления материала.
Машины для мойки каменных материалов
Заполнители бетона промывают для удаления глинистых и органических примесей и пыли. Для этого используют различные способы. Если крупность заполнителя не превышает 70 мм, а загрязненность мала и примеси легко отделимы, то промывку совмещают с сортировкой. На грохот по трубам из сопл подается вода под давлением 0,2...0,3 МПа. Расход воды 1,5... 5 м3 на 1 м3 промываемого материала.
Материалы крупностью 300...350 мм промывают в цилиндрических гравиемойках-сортировках, состоящих из наклонного барабанного вращающегося грохота с дополнительной моющей секцией с глухой (без отверстий) поверхностью. Вода на промывку подается вместе с материалом. Расход воды до 2 м3 на 1 м3 промываемого материала. Для сильно загрязненного гравия и щебня, содержащих глинистые включения, применяют моечные барабаны с лопастями, закрепленными на внутренней поверхности барабана. Вода подается навстречу движению материала. Диаметры барабанов — 1,5..2,0 м при длине до 4,0 м, производительность установок — до 100 м3/ч.
Для мойки песка, отделения от него частиц менее 0,15 мм и последующего обезвоживания применяют гидромеханические и гидравлические классификаторы.
Гидромеханический классификатор представляет собой короб, внутри которого размещена спираль. При вращении спирали взвешенные в воде мелкие частицы отводятся в нижнюю часть короба, а крупные направляются спиралью к верхнему разгрузочному окну. Короб устанавливают под углом 16...18°. Диаметр спирали 1000...1500 мм при частоте вращения 8...14 мин-1. Производительность классификатора — до 200 т/ч.
Гидравлические классификаторы (рис. 11, а) применяют для промывки и
|
Рис.11 Гидравлические классификаторы: а) вертикальный б) горизонтальный многоканальный |
|
разделения песка на две фракции. В таких установках песок, предварительно смешанный с водой в виде пульпы, вводится в вертикальный классификатор через патрубок 1 и диффузор 2 в обогатительную камеру 3, где скорость потока смеси значительно уменьшается и крупные частицы выпадают в классификационную камеру 5. По патрубку 6 в классификационную камеру подается чистая вода, образуя в камере винтовой восходящий поток. Частицы песка (до 0,5 мм) уносятся выходящим потоком воды к верхнему сливному коллектору 4, а крупные частицы выпадают из классификационной камеры, обезвоживаются и поступают потребителю. Гидроклассификаторы являются напорными аппаратами, давление на уровне сливной трубы достигает 0,3 МПа. Производительность их по грунту — 20... 300 м3/ч.
При необходимости промывки и разделения зернистого материала на несколько фракций используют горизонтальные многокамерные гидроклассификаторы (рис. 11, б). Исходный материал в пульпообразователе смешивается с водой и поступает в пирамидальный лоток 9, а оттуда — в прямоугольное корыто 8, разделенное вертикальными перегородками на четыре камеры. Разделение на фракции получается путем регулирования количества воды, подаваемой в классификационные камеры снизу и образующей восходящие потоки. Вода, поднимаясь по камере, выносит частицы песка, скорость выпадения которых меньше скорости движения восходящих потоков. По мере накапливания взвешенных частиц в камере плотность пульпы увеличивается, вследствие чего уровень воды в гидростатической трубке 11 вместе с поплавком 10 поднимается. Как только поплавок упрется в верхний датчик, автоматически открывается разгрузочный клапан 7. По мере разгрузки поплавок опускается и касается нижнего датчика, сигналы которого передаются механизму закрытия клапана. Затем цикл работы камеры повторяется. Производительность по исходному материалу— до 50 т/ч, расход воды — 4...6 м3/т.
Заключение
Из данного реферата мы узнали об одном из классов строительных машин.
Так же мы узнали о конструктивных особенностях, о принципе работы, о энергопотребление, о принципе работы, сферах применения.
Список литературы.
Строительные машины: Учеб. для вузов по спец. С86 ПГС/Д. П. Волков, Н. И. Алешин, В. Я- Крикун, О. Е. Рынсков; Под ред. Д. П. Волкова.—М.: Высш. шк., 1988.
Волков Д. П., Николаев С. Н. Повышение качества строительных машин. М., 1984.
Домбровский Н. Г., Гальперин М. И. Строительные машины. М., 1985.
Фиделев А. С., Чубук. Ю. Ф. Строительные машины. Киев, 1979















