Оперативные переключения на ТЭС
МИНИСТЕРСТВО ОБРАЗОВАНИЯ РОССИЙСКОЙ ФЕДЕРАЦИИДАЛЬНЕВОСТОЧНЫЙ ГОСУДАРСТВЕННЫЙ ТЕХНИЧЕСКИЙ УНИВЕРСИТЕТИНСТИТУТ ИНТЕГРИРОВАННЫХ СИСТЕМ ОБРАЗОВАНИЯ КАФЕДРА ЭЛЕКТРОЭНЕРГЕТИКИРЕФЕРАТПО ПРЕДМЕТУ «МОНТАЖ И ЭКСПЛУАТАЦИЯ ЭЛЕКТРОУСТАНОВОК» ТЕМА «ОПЕРАТИВНЫЕ ПЕРЕКЛЮЧЕНИЯ НА ТЭС» Преподаватель: Кузин В.П. Студент: группы У12-00 Гавва Е.Н. г. Петропавловск-Камчатский 2002 г. |
Содержание
Оперативное распоряжение 3
Оперативные переключения 5
Действия с разъединителями 7
Действия с выключателями 8
Действия с устройствами релейной защиты и электроавтоматики 10
Последовательность производства операций 12
Бланк переключения 18
Литература 21
Оперативные распоряжения
Работа оперативного персонала должна быть построена так, чтобы каждый работник сознательно, ясно и четко представлял последовательность проводимых операций, ремонтных и других работ в электроустановках.
Все оперативные переговоры должны вестись персоналом в ясной форме, полностью исключающей возможность неправильного истолкования оперативного распоряжения. Переговоры должны быть краткими, в основном состоящими из твердо установленных определений.
При формулировании и при повторении оперативных распоряжений должны быть четко указаны: название станции и подстанции, соответствующий номер оборудования, напряжение, положение аппарата в схеме коммутации, назначение оборудования.
Лица, отдающие и принимающие оперативные распоряжения и сообщения об исполнении, обязаны назвать свою должность и фамилию.
При отдаче распоряжения на действие с защитой должны быть названы: наименование оборудования или присоединения, на котором установлена защита, наименование защиты и объем действия с ней.
Все участники оперативных переговоров должны твердо знать фамилии лиц, имеющих право отдавать и принимать к исполнению оперативные распоряжения.
Лицу, непосредственно производящему операции, дается только одно задание, в объем которого входят операции, направленные к достижению только одной цели, например: включение или отключение линии, перевод линий с одной системы шин на другую, отключение всех присоединений с одной секции или системы шин для вывода ее в ремонт или в резерв и т д.
В одном задании объединять операции, не направленные к одной цели (например, вывод из ремонта линии и включение из холодного резерва силового трансформатора и т. д.), запрещается.
Объем оперативного распоряжения определяется лицом, отдающим данное распоряжение, в зависимости от местных условий, квалификации дежурного персонала и от территориального расположения оборудования 'в схеме.
Электрооборудование электростанции и подстанции может находиться:
в работе (коммутационные аппараты оборудования включены и несут нагрузки);
в горячем резерве (оборудование отключено только выключателями);
в холодном резерве (оборудование отключено выключателями и разъединителями);
в ремонте (оборудование отключено и заземлено, установлено ограждение и повешены плакаты в соответствии с правилами техники безопасности);
в промежуточном состоянии—под напряжением (оборудование включено коммутационными аппаратами только с одной стороны и не несет нагрузки).
Оперативное задание может быть простым и сложным, включающим ряд операций.
Типовыми переключениями, на проведение которых требуется выдача сложных заданий, являются следующие:
перевод оборудования в одно из основных четырех оперативных состояний (в работу, в горячий резерв, в холодный резерв, в ремонт);
перевод присоединений с одной системы работающих шин на другую;
перевод присоединения со своего выключателя на обходной в распределительных устройствах с обходными системами шин;
ввод в работу резервной системы шин с переводом на нее части или всех присоединений;
отыскание однополюсных замыканий на землю (в сетях с изолированной нейтралью). Порядок выполнения сложных типовых заданий указывается в местных инструкциях.
Если сложное переключение не типовое, то распоряжение о его выполнении выдается по-операционно.
При операциях по выводу в ремонт линий с двусторонним питанием порядок действия оперативного персонала на обоих концах определяется состоянием линии на момент выдачи задания.
Оперативные переключения
Переключения в распределительных устройствах электростанций и подстанций производятся по распоряжению или с ведома вышестоящего оперативного персонала.
В случаях, не терпящих отлагательства (пожар, несчастный случай с людьми, стихийное бедствие), а также при ликвидации аварии допускается производство переключений без ведома вышестоящего персонала, но с последующим его уведомлением.
Лицо, отдающее распоряжение о производстве переключений, обязано предварительно проверить по оперативной схеме последовательность предполагаемых операций. Отдающий распоряжение может считать его выполненным только после сообщения исполнителем лично или по телефону об исполнении распоряжения.
На электростанциях и подстанциях при наличии на установке двух и более лиц все сложные переключения (т. е. переключения, производимые более чем на одном присоединении), а также простые переключения в схемах установок, не имеющих устройств блокировки разъединителей, производятся двумя лицами. Одно лицо непосредственно производит переключения, а второе— осуществляет контроль за правильностью и последовательностью производимых операций.
Контролирующим лицом при производстве переключений является старший по должности и квалификации.
На электроустановках, имеющих действующие устройства блокировки разъединителей от неправильных операций, простые переключения, а также все операции на щитах и сборках напряжением 500 в и ниже разрешается выполнять персоналу единолично, имеющему квалификационную группу не ниже IV.
Наложение и снятие переносных заземлений должны производиться двумя лицами независимо от порядка оперативного обслуживания электроустановок.
Отключение и включение выключателей и разъединителей со щита управления во всех случаях могут производиться единолично.
Все простые переключения в схемах электрических установок напряжением выше 1000 в, а также сложные переключения в распределительных устройствах, оборудованных полностью блокировочными устройствами от неправильных операций с разъединителями, производятся без бланков переключений.
Переключения при ликвидации аварий также производятся без бланков с последующей записью операций в оперативном журнале. Порядок производства переключений в распределительных устройствах устанавливается следующий: лицо, получившее распоряжение о производстве переключений, обязано повторить его, записать задание в оперативный журнал (при отсутствии магнитофона) и установить порядок предстоящих операций.
При выполнении переключений двумя лицами лицо, получившее распоряжение, обязано разъяснить второму лицу, участвующему в переключении, порядок и последовательность производства операции.
В случае возникновения сомнений в правильности производства предстоящей операции все переключения прекращаются до выяснения.
Как известно, последствия аварии, возникающей в период максимума нагрузки, бывают гораздо тяжелее, чем в период минимальных нагрузок. Анализ аварий, возникающих вследствие грубых нарушений персоналом правил техники безопасности, показывает, что большую часть их допускает персонал в конце смены.
Поэтому в период максимума нагрузки и в конце смены производство переключений при нормальных условиях эксплуатации не допускается. При заземлениях в цепях постоянного тока до отыскания и ликвидации заземления запрещается производить всякие операции, если они не диктуются аварийным положением.
Действия с разъединителями
Включение разъединителей как ручными приводами, так и штангой надлежит производить быстро и решительно, но без удара в конце хода.
Производить обратный отвод ножей разъединителя при приближении их к контактам (губкам) категорически воспрещается, так как это ведет к возникновению аварий.
Во включенном положении ножи разъединителя должны полностью заходить в контакты (губки).
Отключение разъединителей следует производить медленно и осторожно. При возникновении дуги в момент отхода ножей от контактов разъединитель должен быть быстро включен обратно; операция должна быть прекращена до выявления причин появления дуги.
В отключенном положении ножи разъединителя должны быть полностью (до отказа) отведены от контактов.
Действия с выключателями
Включение выключателя ручным приводом следует производить быстро, доводя ход интервала или рычага до упора; при этом должна загореться сигнальная лампа «включено».
При дистанционном включении в зависимости от типа контактора нажим на кнопку «включить» или поворот ключа управления необходимо производить до момента загорания сигнальной лампы «включено».
Отключение выключателя вручную надлежит производить легким поворотом штурвала до отказа или поворотом рычажного привода, а также воздействием на защелку привода, нажатием на специальную кнопку или сердечник отключающей катушки. При этом должна загореться сигнальная лампа «отключено».
При дистанционном отключении соответствующее действие с ключом управления или кнопкой необходимо продолжать до момента загорания лампы «отключено».
Проверка положения выключателя после отключения обязательна во всех случаях, если за этим отключением предстоит операция с разъединителями, за исключением случаев, когда разъединители управляются дистанционно.
Операциям с разъединителями должно предшествовать снятие с выключателя оперативного тока, за исключением случаев перевода с одной системы шин на другую при включенном выключателе данного присоединения.
Оперативный ток снимается предохранителем в цепи соленоида включения до проверки положения выключателя.
Соблюдение такой последовательности при выполнении указанных операций полностью обеспечивает надежность, потому что не во всех распределительных устройствах (РУ) предохранители цепей оперативного тока расположены рядом с выключателями.
При производстве операций в РУ, где предохранители цепей оперативного тока расположены далеко от выключателя, за время от проверки положения выключателя до снятия оперативного тока с привода может произойти изменение положения выключателя (ошибочное включение выключателя, включение выключателя вследствие двойного замыкания на землю в цепи оперативного тока и пр.).
Выполнение при этом последующей операции с разъединителями при включенном выключателе может вызвать повреждение оборудования и серьезную травму персонала.
Проверка положения после включения обязательна у шиносоединительного выключателя (ШСВ) перед началом перевода присоединений с одной системы шин на другую.
Действительное положение выключателя следует проверять в основном по механическому указателю. Вспомогательными средствами могут служить сигнальные лампы и измерительные приборы данного присоединения. У воздушных выключателей с отделителями и выключателей типа ВМГ и МГГ проверка положения выключателя производится путем осмотра рабочих контактов.
Действия с устройствами релейной защиты и электроавтоматики
Все операции с устройствами релейной защиты и электроавтоматики производятся только с разрешения вышестоящего оперативного персонала.
При ликвидации аварии персонал может действовать самостоятельно и уведомить затем вышестоящего оперативного работника.
Нельзя оставлять без защиты оборудование, шины и линии, находящиеся под нагрузкой или под напряжением; также не должны оставаться без защиты от внутренних повреждений генераторы, синхронные компенсаторы и трансформаторы.
Перед отключением релейной защиты по заявкам оперативный персонал должен убедиться в том, что включена другая защита, обеспечивающая надежную защиту оборудования, или принять меры по замене отключенной защиты резервной, либо оборудование включается на резервную систему шин через ШСВ с соответствующей защитой.
При изменениях в схеме главной (первичной) цепи необходимо своевременно производить отключение, включение или изменение уставок устройств релейной защиты и электроавтоматики согласно местных инструкций.
В случае превышения тока нагрузки присоединений (максимально допустимое значение по условиям настройки 'релейной защиты) необходимо принять меры к его разгрузке.
При опробовании оборудования перед включением выключателя персонал должен убедиться в исправности выключателя, наличии оперативного тока на цепях защиты и на управлениях выключателя, а также в том, что на опробуемом присоединении все (в том числе быстродействующая) защиты включены и поставлены в положение, соответствующее опробованию (если это необходимо).
Действие АПВ и АВР с выключателя, которым производится опробование, нужно отключить.
При опробовании ШСВ или обходным выключателем нужно включить защиты ШСВ или обходного выключателя от всех видов коротких замыканий с уставками согласно указанию в местных инструкциях.
При автоматическом отключении или включении выключателей оперативный персонал должен:
а) по сигнализации установить и записать, какие выключатели отключились, и квитировать их ключи управления. При этом на выключателях, имеющих АПВ, квитирование ключей допускается только после того, как персонал убедился в том, что устройство АПВ вернулось в исходное положение;
б) тщательно осмотреть и записать, на каких реле отпали сигнальные флажки и какое время зафиксировано указателями реле времени, затем установить флажки и указатели в нужное положение и сообщить вышестоящему оперативному персоналу (при наличии на щите управления второго лица осмотр сигнальных реле производится персоналом совместно, т. е. с контролирующим лицом);
в) деблокировать реле, имеющие самоудержание (например, на газовой защите трансформаторов), и поднять грузы выключателей с грузовыми приводами, включающимися от АПВ или АВР;
г) привести в соответствие с первичной схемой соединений устройства автоматики и релейной защиты, имеющие ключи, отключающие устройства, переключатели и рубильники, положение которых зависит от первичной схемы соединений;
д) после автоматического отключения сообщить в местную службу релейной защиты и электроавтоматики о выпавших флажках сигнальных и других реле, о показаниях указателей времени и запуске автоматических осциллографов и пр.
При резких изменениях напряжений и токов в сети, не сопровождающихся отключениями или включениями выключателей, персонал обязан осмотреть панели релейной защиты и электроавтоматики и зафиксировать действие всех сигнальных реле.
При появлении сигнала заземления в сети постоянного оперативного тока персонал должен немедленно принять меры по отысканию места нарушения изоляции и его устранению согласно местным инструкциям.
Последовательность производства операций
Производство основных операций с выключателями и разъединителями должно происходить в следующей последовательности.
Включение линии:
а) включить шинные разъединители; б) включить линейные разъединители; в) включить выключатель.
Отключение линии: а) отключить выключатель;
б) отключить линейные разъединители; в) отключить шинные разъединители.
Включение генератора: а) включить шинные разъединители; б) включить генераторные разъединители (разъединители, устанавливаемые в некоторых случаях между выводами генератора и выключателем); в) синхронизировать генератор и включить генераторный выключатель.
Отключение генератора: а) отключить генераторный выключатель; б) отключить генераторные разъединители; в) отключить шинные разъединители.
Включение трехобмоточного трансформатора:
а) включить шинные разъединители высшего, среднего и низшего напряжения; б) включить трансформаторные разъединители высшего, среднего и низшего напряжения (если они есть); в) включить выключатели высшего, среднего и низшего напряжения.
Отключение трехобмоточного трансформатора: а) отключить выключатели низшего, среднего и высшего напряжения; б) отключить трансформаторные разъединители низшего, среднего и высшего напряжения;
в) отключить шинные разъединители низшего, среднего и высшего напряжения.
Ошибочное действие персонала при производстве оперативных переключений вызывает поражение людей током, повреждение оборудования и прекращение электроснабжения электроприемников.
Последствия от ошибочного включения или отключения тока разъединителями зависят от того, какими разъединителями—.шинными или линейными—производится операция. Поэтому первыми должны включаться, а последними отключаться разъединители, неправильное действие которых может привести к более тяжелым последствиям. Например, при ошибочном отключении линейного разъединителя 1 (под нагрузкой) линии Л>4>, (вместо подлежащего к отключению разъединителя линии Л>2>, У которого отключен выключатель) дуга будет прервана отключением выключателя линии Л>4> (рис. 1). Поскольку дуга в этом случае возникает за реактором линии Л>4>, то размеры ее будут значительно меньше.
При ошибочном же отключении (под нагрузкой) шинного разъединителя 2 линии Л>4> от второй системы шин (место подлежащего отключению шинного разъединителя линии Л>2>, от второй системы, выключатель, который отключен) дуга будет гореть дольше, т. е. до тех пор, пока не будут отключены все источники питания, работающие на второй системе шин (трансформатор Т>2>, генератор Г>2> и синхронный двигатель Д), и объем повреждения в этом случае будет значительно больше. Такая ошибка обязательно вызовет повреждение сборных шин, обесточение линий Л>2>, Л>4 >и синхронного двигателя Д на длительное время, т. е. на время, необходимое для полного восстановления поврежденных сборных шин. Следует отметить, что уставка по времени на релейнои защите линии Л>4 >значительно меньше, чем на трансформаторе Т>2>, генераторе Г>2> и двигателе Д. Поэтому при ошибочном отключении линейного разъединителя 1 линии Л>4 >продолжительность горения дуги будет в 3—4 раза меньше, чем при ошибочном отключении шинного разъединителя 2.
Энергосистема

рис. 1
Исходя из этого ясно, что всегда следует сначала включать шинные, затем линейные разъединители и только потом выключатель. При отключении сначала следует отключить выключатель, затем линейные разъединители, а потом шинные.
Последовательность включения и отключения выключателей силовых трансформаторов производится исходя из следующих соображений.
Трансформатор Т>1>, прошедший восстановительный ремонт, требуется включить в параллельную работу с работающим трансформатором Г>2> (рис. 2).
Как известно, прошедший ремонт трансформатор ставится под напряжение толчком. При включении трансформатора Т>2> выключателем В>1> в случае неисправности трансформатора выключатель В>1> автоматически отключится от действия защиты. Включение и отключение трансформатора при этом не влияют на работу электроприемников, питающихся от РУ 10 кв через трансформатор Т>2>. Если неисправный трансформатор Т1>2> включить сначала выключателем В>3>, то на ток нагрузки работающего трансформатора Т>2> будет накладываться ток к. з. поврежденного трансформатора Т>1>, что вызовет отключение релейной защитой работающего трансформатора Т>2> и полное обесточение РУ 10 кв.
Энергосистема
В практике имели место случаи отключения работающего трансформатора от действия релейной защиты, когда к номинальному току работающего трансформатора накладывался намагничивающий ток включаемого трансформатора. Поэтому включение трансформаторов следует производить со стороны высшего напряжения.
рис.2
Порядок перевода присоединений с од пой системы шин на другую:
а) убедиться в том, что защита ШСВ включена с уставками, указанными в местных инструкциях по защите .(если на выключателе имеется специальная автоматика, отключить ее);
б) убедиться в том, что напряжения обеих систем шин синхронны и равны по величине;
в) включить ШСВ;
г) отключить защиту и оперативный ток с привода ШСВ;
д) по механическому указателю (или по состоянию
рабочих контактов выключателя) проверить включенное положение выключателя;
е) включить шинные разъединители всех намеченных к переводу присоединений на ту систему шин, с которой намечается их питание; затем, если в этом есть надобность, перевеет питание измерительных приборов, приборов учета, защиты и сигнализации, переводимых присоединений на соответствующие цепи трансформаторов напряжения;
ж) отключить шинные разъединители переводимых
присоединений от системы шин, с которой они ранее питались;
з) включить оперативный ток на привод, после чего отключить ШСВ;
и) проверить отключение ШСВ;
к) включить защиту ШСВ и специальную автоматику.
Порядок производства операций при переводе всех присоединений с рабочей системы шин на резервную при наличии шиносоединительного выключателя:
а) убеждаются по оперативной схеме, что система
шин находится в резерве, и производят внешний осмотр резервной системы шин;
б) включают ШСВ с подключенной на нем защитой
от коротких замыканий (с нулевой установкой по времени);
в) проверяют наличие напряжения на резервной системе шин по вольтметрам;
г) отключают оперативный ток с привода и защиты на ШСВ (рубильником, накладкой и пр.);
д) производят перевод питания цепей напряжения защиты присоединений с трансформаторов напряжения рабочей системы шин на трансформаторы напряжения резервной системы (согласно местной инструкции);
е) производят перевод разъединителей присоединений с одной системы шин на другую (согласно местной инструкции, учитывающей конструктивные особенности РУ и управления разъединителями);
ж) проверяют качество включения разъединителей на резервную систему шин;
з) проверяют отсутствие нагрузки на ШСВ по амперметру;
и) включают оперативный ток на привод И отключают ШСВ.
При отсутствии ШСВ частичный перевод присоединений с одной системы шин на другую запрещается.
При полном переводе присоединений, в случае отсутствия ШСВ, включают шинные разъединители на резервную систему шип одного из мощных источников и держат их в этом состоянии до конца переключения. Это присоединение переводится последним после тщательной проверки перевода всех остальных присоединений.
При переводе присоединений особенно тщательно необходимо следить за тем, чтобы не включить разъединители присоединений, не находящихся в работе.
При переводе присоединения необходимо предусмотреть сохранение правильного питания цепей напряжения измерительных приборов релейной защиты и автоматики.
Когда ШСВ находится в резерве, его разъединители, как правило, должны быть включены на обе системы шин. Трансформатор напряжения резервной системы шин должен быть также включен.
7. Бланк переключения
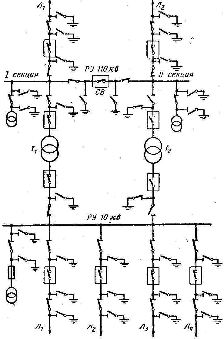
Бланк переключения, составляемый для предупреждения возможных неправильных операций, является основным оперативным документом, определяющим содержание задания и последовательность производства особо опасных и сложных переключений. По бланкам переключения производятся операции в схемах электроустановок напряжением выше 1 000 в, когда РУ не оборудованы или оборудованы неполностью блокировочными устройствами от неправильных операций с разъединителями, и сложные переключения.
В бланк переключения вносятся не только операции с переключающими аппаратами, но также и другие операции, как-то:
включение и отключение оперативного тока;
проверка отсутствия напряжения;
операции с защитой или спецавтоматикой;
отключение и включение цепей питания зашиты, измерительных приборов и автоматики;
ввод и вывод АПВ, АВР, АЧР;
наложение или снятие защитных переносных заземлений.
Ниже показана примерная форма бланка переключений и его заполнение.
Бланк заполняется непосредственно перед началом переключений после получения распоряжения тем лицом, которое получило распоряжение.
Каждая операция или действие, вносимое в бланк, должно иметь порядковый номер, каждый бланк переключений проверяется и подписывается.
Рекомендуемая схема расстановки стационарных заземляющих ножей в РУ высокого напряжения к примеру заполнения бланка переключений № 152 (рис. 3) позволяет полностью отказаться от применения переносных заземлений. При этом отключенные для работы части установки заземляются со всех сторон, откуда может быть подано напряжение.
Заполняется чернилами
МЭиЭ СССР
РУ-ЭК МОСЭНЕРГО
Электростанция
подстанция № 8
Бланк переключения № 15222 марта 1965 г. Начало 10 ч 20 мин
Конец———ч——мин
Задание: Отключить и вывести в ремонт трансформатор № 2 110/10 кв.
Последовательность производства операций при переключении:
1. Отключить MB 10 кв трансформатора № 2
2. Снять оперативный ток с привода 10 кв MB трансформатора № 2
3. Отключить ВВ 110 кв трансформатора № 2
4. Снять оперативный ток с привода ВВ 110 кв трансформатора №2
5. Отключить ШP 10 кв трансформатора № 2
6. Отключить ШP 110 кв трансформатора № 2
7. Проверить отсутствие напряжения на выводах ВВ 110 кв трансформатора № 2
8. Заземлить ВВ трансформатора № 2 со стороны шин 110 кв включением заземляющих ножен
9. Проверить отсутствие напряжения на всех выводах MB 10 кв
трансформатора № 2
10. Заземлить MB трансформатора № 2 со стороны шин 10 кв включением заземляющих ножей
Переключения производил: Бланк проверил
Подпись Сергеев Подпись Иванов
Порядок производства операции по бланку переключений следующий:
а) лицо, получившее задание о производстве переключений, повторяет это задание, записывает в оперативны» журнал и составляет бланк переключении; бланк подписывается как лицом, производящим операции, так и лицом контролирующим; затем лицо, производящее переключение, в сопровождении контролирующего лица, имеющего на руках бланк переключений, направляется в соответствующее РУ на место производства переключения;
б) контролирующий проверяет, что он и производящий переключение находятся в том РУ и у того присоединения, где должна производиться операция № 1, и становится позади производящего переключения;
в) контролирующий громко и ясно зачитывает содержание операции № 1;
г) производящий переключение, проверив по надписям, что находится именно у того присоединения, на котором он должен делать операцию, повторяет содержание операции;
Энергосистема

д) контролирующий, сличив по бланку, что младший (производящий переключение) правильно повторил содержание зачитанной операции и правильно выбрал присоединение для переключения, подтверждает это словами: «Правильно, выполняйте»;
е) производящий переключение выполняет заданную операцию;
ж) контролирующий делает отметку в бланке переключения об исполнении операции и зачитывает содержание следующей операции.
Производящий переключение направляется к месту следующей операции, контролирующий следует за ним и проверяет, подошел ли он к тому объекту, на котором предстоит произвести следующую операцию.
Литература
В. Е. Манойлов «Основы электробезопасности», - М., «Энергия», 1966.
Гаджиев С.С. «Надежность и безопасность эксплуатации электрооборудования», - М., «Энергия», 1967.