Отопительно-производственная котельная ГУП ФАПК Якутия
Рецензия.
На дипломный проект по теме “Отопительно-производственная котельная ГУП ФАПК “Якутия”, студента КСТ ЯГИТИ группы ТиТО-2000 г. Сорокина Андрея Сергеевича.
На рецензию представлен дипломный проект, состоящий из пояснительной записки и 3-х листов чертежей.
Дипломный проект выполнен в соответствии с заданием на проектирование в полном объёме.
В ходе проекта были рассчитаны:
температурные графики работы котельной и тепловой сети;
тепловая схема котельной для 3-х характерных режимов работы котельной
В соответствии с расчётом тепловой схемы было рассчитано и подобрано оборудование котельной, а именно:
котлы;
тягодутьевое оборудование;
оборудование водоподготовки;
насосы.
В дипломном проекте отражены вопросы по технологии монтажа, эксплуатации, технике безопасности, охране труда и охране окружающей среды.
В состав экономической части входит:
определение стоимости вырабатываемого тепла.
Данная работа может иметь практическое применение.
Студент показал __________________ знание в технологии производства тепла и принципов работы основного теплотехнического оборудования и основы экономических расчётов.
Все расчёты и чертежи выполнены в соответствии со СНиП.
Оценка рецензента: отлично
Ф.И.О.: _____________________
Должность: _____________________
Подпись рецензента: _____________________
Дата: _____________
ЯКУТСКИЙ ГОСУДАРСТВЕННЫЙ ИНЖЕНЕРНО-ТЕХНИЧЕСКИЙ ИНСТИТУТ
Коммунально-строительный техникум.
Дипломный проект
Тема: Отопительно-производственная котельная ГУП ФАПК “Якутия”.
Выполнил: студент группы ТиТО-2000
Сорокин А.С.
Руководитель: Аганина М.И.
Консультант: Захарова Т.И.
Чиркова Е.П.
Якутск 2003г.
Содержание.
стр.
Введение………………………………………………………………………. 3
Расчёт тепловой схемы:
2.1. Описание тепловой схемы…………………………………………. 4
2.2. Исходные данные для расчёта тепловой схемы………………….. 6
2.3. Расчёт тепловой схемы…………………………………………….. 7
График центрального качественного регулирования для системы отопления и вентиляции……………………………………………………… 12
График годового расхода теплоты…………………………………………... 14
График годового расхода пара……………………………………………….. 15
Расчёт расхода топлива……………………………………………………… 18
Выбор оборудования котельной:
Котлы………………………………………………………………... 20
Насосы………………………………………………………………. 22
Водоподогреватели…………………………………………………. 26
Водоподготовка:
ХВО…………………………………………………………... 28
Деаэратор……………………………………………………. 32
Тягодутьевые машины……………………………………………... 33
Топливоподача……………………………………………………………….. 35
Автоматика……………………………………………………………………. 40
Монтаж деаэратора………………………………………………………….. 44
Эксплуатация основного и вспомогательного оборудования:
11.1. Основные сведения об организации эксплуатационного обслуживания котельных………………………………………………… 46
11.2. Права и обязанности оператора котельной.
Порядок допуска к обслуживанию котла………………………………. 46
11.3. Приём и сдача смены. Режимная карта котла…………………….. 48
11.4. Подготовка котла к розжигу……………………………………….. 49
11.5. Розжиг котлов при сжигании газообразного
и жидкого топлива……………………………………………………... 50
11.6. Включение котла в работу…………………………………………. 51
11.7. Обслуживание котлов во время работы…………………………... 52
11.8. Периодическая продувка котла……………………………………. 53
11.9. Нормальная остановка котлов……………………………………. 54
11.10. Аварийная остановка котлов…………………………………….. 55
Определение стоимости вырабатываемого тепла…………………………. 56
Технико-экономические показатели работы котельной…………………... 68
Список используемой литературы:…………………………………………….. 69
1. Введение.
Котельная установка ГУП ФАПК “Якутия” расположенная в г. Якутске предназначена для отопительно-производственных целей и оборудована тремя паровыми котлами паропроизводительностью 10 т/ч: два кола ДКВР-10-13 и один ДЕ-10-14.
Котельная вырабатывает насыщенный пар с рабочим давлением 0,8 МПа.
Тепловая нагрузка котельной с учетом потерь тепла в паропроводах и наружных тепловых сетях при максимально-зимнем режиме составляет: на производство 4,2 Гкал/ч; на отопление и вентиляцию 5,3 Гкал/ч; на горячее водоснабжение 0,61 Гкал/ч.
Котельная работает на природном газе Мастахского месторождения.
Водоснабжение котельной осуществляется из городского водопровода.
Забор воздуха на горение осуществляется с улицы и непосредственно с котельного помещения.
Тяга дымовых газов осуществляется дымососами, установленными отдельно для каждого котла.
Система теплоснабжения, для нужд отопления и вентиляции, закрытая. Регулирование качественное по отопительному графику с температурой 95 – 70 оС.
Пароводяные подогреватели сетевой воды и горячего водоснабжения установлены непосредственно в котельной.
Подпитка котлов производится химически очищенной, деаэрированной водой с температурой 104 оС.
2. Расчёт тепловой схемы.
На принципиальной тепловой схеме указывается главное оборудование (котлы, насосы, деаэраторы, подогреватели) и основные трубопроводы.
2.1. Описание тепловой схемы.
Насыщенный пар из котлов с рабочим давлением Р = 0,8 МПа поступает в общую паровую магистраль котельной, из которой часть пара отбирается на оборудование установленное в котельной, а именно на: подогреватель сетевой воды; подогреватель горячей воды; деаэратор. Другая часть пара направляется на производственные нужды предприятия.
Конденсат от производственного потребителя самотёком возвращается, в размере 30% при температуре 80 оС, в конденсатосборник и далее конденсатным насосом направляется в бак горячей воды.
Подогрев сетевой воды, также как и подогрев горячей воды, производится паром в последовательно включённых двух подогревателях, при этом подогреватели работают без конденсатоотводчиков, отработанный конденсат направляется в деаэратор.
В деаэратор, также поступает химически очищенная вода из ХВО, восполняющая потери конденсата.
Насосом сырой воды вода из городского водопровода направляется на ХВО и в бак горячей воды.
Периодическая продувка из котлов в размере 2 % направляется в барботер.
Деаэрированная вода с температурой около 104 оС питательным насосом нагнетается в экономайзеры и далее поступает в котлы.
Подпиточная вода для системы теплоснабжения забирается подпиточным насосом из бака горячей воды.
Основной целью расчёта тепловой схемы являются:
определение общих тепловых нагрузок, состоящих из внешних нагрузок и расхода пара на собственные нужды,
определение всех тепловых и массовых потоков необходимых для выбора оборудования,
определение исходных данных для дальнейших технико-экономических расчётов (годовых выработок тепла, топлива и т.д.).
Расчёт тепловой схемы позволяет определить суммарную паропроизводительность котельной установки при нескольких режимах её работы. Расчёт производится для 3-х характерных режимов:
максимально-зимнего,
наиболее холодного месяца,
летнего.
2.2. Исходные данные для расчёта тепловой схемы.
|
Физическая величина |
Обозна-чение |
Обоснование |
Значение величины при характерных режимах работы котельной. |
||
|
Макси-мально – зимнего |
Наиболее холодного месяца |
летнего |
|||
|
Расход теплоты на производственные нужды, Гкал/ч. |
Q>т> |
Задан |
4,2 |
4,2 |
4,2 |
|
Расход теплоты на нужды отопления и вентиляции, Гкал/ч. |
Q>о.в.> |
Задан |
5,3 |
––– |
––– |
|
Расход воды на горячие водоснабжение, т/ч. |
G>г.в.> |
Задан |
11,5 |
11,5 |
11,5 |
|
Температура горячей воды, оС |
t>3> |
СНиП 2.04.07-86. |
60 |
60 |
60 |
|
Расчётная температура наружного воздуха для г. Якутска, оС: |
|||||
|
– при расчёте системы отопления: |
t>р.о.> |
СНиП 23-01-99 |
-54 |
-45 |
––– |
|
– при расчёте системы вентиляции: |
t>р.в.> |
-45 |
––– |
––– |
|
|
Возврат конденсата производственным потребителем, % |
β |
Задан |
30 |
30 |
30 |
|
Энтальпия насыщенного пара давлением 0,8 Мпа, Гкал/т. |
i>п> |
Таблица водяных паров |
0,6616 |
||
|
Энтальпия котловой воды, Гкал/т. |
i>кот> |
» |
0,1719 |
||
|
Энтальпия питательной воды, Гкал/т. |
i>п.в.> |
» |
0,1044 |
||
|
Энтальпия конденсата при t = 80 оС, Гкал/т. |
i>к> |
» |
0,08 |
||
|
Энтальпия конденсата с “пролётным” паром, Гкал/т. |
i|>к> |
» |
0,1562 |
||
|
Температура конденсата возвращаемого из производства, оС |
t>к> |
Задана |
80 |
||
|
Температура сырой воды, оС |
t>с.в.> |
СП 41-101-95 |
5 |
5 |
15 |
|
Продувка периодическая, % |
ρ>пр> |
Принята |
2 |
||
|
Потери воды в закрытой системе теплоснабжения, % |
К>ут.> |
Принят |
2 |
||
|
Расход пара на собственные нужды котельной, % |
К>с.н> |
Принят |
5 |
||
|
Потери пара в котельной и у потребителя, % |
К>пот.> |
Принят |
2 |
||
|
Коэффициент расхода сырой воды на собственные нужды ХВО. |
К>хво> |
Принят |
1,25 |
2.3. Расчёт тепловой схемы.
1. Расход пара на производство, т/ч:

Q>т> – расход теплоты на производственные нужды, Гкал/ч;
i>п> – энтальпия пара, Гкал/т;
i>п> – энтальпия конденсата, Гкал/т;
η – КПД оборудования производственного потребителя.
2. Коэффициент снижения расхода теплоты на отопление и вентиляцию для режима наиболее холодного месяца:

t>вн> – внутренняя температура отапливаемых зданий, оС;
t>н> – текущая температура наружного воздуха, оС;
t>р.о> – расчётная температура наружного воздуха, оС.
3. Расход воды на подогреватель сетевой воды т/ч:

Q>о.в.> – расход теплоты на отопление и вентиляцию, т/ч;
t>1 >– расчётная температура воды в подающей линии тепловой сети, оС;
t>2 >– расчётная температура воды в обратной линии тепловой сети, оС;
С>в> – теплоёмкость воды, Гкал/т· оС.
4. Температура воды в подающей линии тепловой сети, для режима наиболее холодного месяца, оС (можно также определить по графику регулирования):

5. Температура воды в обратной линии тепловой сети, для режима наиболее холодного месяца, оС (можно также определить по графику регулирования):

6. Расход пара на подогреватель сетевой воды, т/ч:

>
>>
>– энтальпия
конденсата с пролётным паром, Гкал/т;
η – КПД подогревателя сетевой воды.
7. Расход
подпиточной воды на восполнение утечек
в системе теплоснабжения, т/ч: 
К>ут> – потери воды в закрытой системе теплоснабжения, %.
8. Возврат конденсата от технологического потребителя, т/ч:

β – возврат конденсата производственным потребителем, %.
9. Расход сырой воды на бак горячей воды, т/ч:

G>гв.> – расход воды на горячие водоснабжение, т/ч.
10. Средняя температура воды в баке горячей воды, оС:

t>к> – температура конденсата от производственного потребителя, оС;
t>c>>в.>– температура сырой водопроводной воды, оС;
11. Расход пара на подогреватель горячей воды, т/ч:

t>3> – температура горячей воды, оС
η – КПД подогревателя ГВС.
12. Расход пара внешними потребителями, т/ч:

13. Расход пара на собственные нужды котельной, т/ч:

К>с.н. >– расход пара на собственные нужды котельной, %.
14. Суммарная паропроизводительность котельной, т/ч,:

15. Потери пара у потребителя, т/ч:

К>пот.> – потери пара в котельной и у потребителя, %.
16. Расход воды на периодическую продувку, т/ч:

ρ>пр.> – продувка периодическая, %.
17. Расход химически очищенной воды на деаэратор, т/ч:

18. Расход сырой воды на ХВО, т/ч:

К>хво> – коэффициент расхода сырой воды на собственные нужды ХВО.
19. Расход сырой воды, т/ч:

20. Средняя температура потоков воды, вошедших в деаэратор, оС:

i>хов> – энтальпия химически очищенной воды, Гкал/т;
21. Расход греющего пара на деаэратор, т/ч:

22. Действительная паропроизводительность котельной, т/ч:

23. Невязка с предварительно принятой паропроизводительностью котельной, %:
Если невязка получится меньше 3 %, то расчёт тепловой схемы считается законченным. При большей невязке расчёт следует повторить, изменив расход пара на собственные нужды.
Расчёт тепловой схемы сведён в таблицу №1.
|
Таблица №1: “Расчёт тепловой схемы”. |
||||
|
Физическая величина |
Обозна-чение |
Значение величины при характерных режимах работы котельной. |
||
|
Максимально – зимнего |
Наиболее холодного месяца |
летнего |
||
|
1. Расход пара на производство, т/ч: |
D>т> |
7,23 |
7,23 |
7,23 |
|
2. Коэффициент снижения расхода теплоты на отопление и вентиляцию для режима наиболее холодного месяца: |
К>о.в.> |
1 |
0,875 |
––– |
|
3. Расход воды на подогреватель сетевой воды т/ч: |
G |
212 |
212 |
––– |
|
4. Температура воды в подающей линии тепловой сети, оС: |
t>1> |
95 |
85,4 |
––– |
|
5. Температура воды в обратной линии тепловой сети, оС: |
t>2> |
70 |
63,5 |
––– |
|
6. Расход пара на подогреватель сетевой воды, т/ч: |
D>п.с.в.> |
10,7 |
9,4 |
––– |
|
7. Расход подпиточной воды на восполнение утечек в системе теплоснабжения, т/ч: |
G>ут.> |
4,24 |
4,24 |
––– |
|
8. Возврат конденсата от технологического потребителя, т/ч: |
> |
2,2 |
2,2 |
2,2 |
|
9. Расход сырой воды на бак горячей воды, т/ч: |
> |
13,57 |
13,57 |
9,3 |
|
10. Средняя температура воды в баке горячей воды, оС: |
t>4> |
15,3 |
15,3 |
27,4 |
|
11. Расход пара на подогреватель горячей воды, т/ч: |
D>п.г.в.> |
1 |
1 |
0,76 |
|
12. Расход пара внешними потребителями, т/ч: |
D>вн> |
18,93 |
17,66 |
8 |
|
13. Расход пара на собственные нужды котельной, т/ч: |
D>с.н.> |
0,947 |
0,883 |
0,4 |
|
14. Суммарная паропроизводительность котельной, т/ч,: |
|
19,9 |
18,543 |
8,4 |
|
15. Потери пара у потребителя, т/ч: |
D>пот.> |
0,4 |
0,371 |
0,17 |
|
16. Расход воды на периодическую продувку, т/ч: |
G>пер.пр.> |
0,4 |
0,371 |
0,17 |
|
17. Расход химически очищенной воды на деаэратор, т/ч: |
G>хов> |
8,03 |
7,97 |
7,57 |
|
18. Расход сырой воды на ХВО, т/ч: |
|
10,04 |
9,9 |
9,5 |
|
19. Расход сырой воды, т/ч: |
G>с.в.> |
23,61 |
23,44 |
18,8 |
|
20. Средняя температура потоков воды, вошедших в деаэратор, оС: |
t>д> |
95 |
90,6 |
27,9 |
|
21. Расход греющего пара на деаэратор, т/ч: |
D>д> |
0,33 |
0,57 |
1,16 |
|
22. Действительная паропроизводительность котельной, т/ч: |
D>к> |
19,65 |
17,37 |
9,34 |
|
23. Невязка с предварительно принятой паропроизводительностью котельной, %: |
ΔD |
1,3 |
0,3 |
10,2 |
|
24. Уточнённый расход пара на деаэратор, т/ч: |
|
––– |
––– |
1,17 |
|
25. Уточнённая паропроизводительность котельной |
|
––– |
––– |
9,36 |
3. График центрального качественного регулирования отпуска теплоты для системы отопления и вентиляции.
Центральное качественное регулирование заключается в регулировании отпуска теплоты путём изменения температуры теплоносителя на входе в прибор, при сохранении постоянным количество теплоносителя подаваемого в регулирующую установку.
Температура воды в тепловой сети является функцией относительной нагрузки, которую находят по формуле:

Относительная нагрузка может принимать значение от 0 до 1. Значение текущих температур в подающем и обратном трубопроводах в зависимости от относительной нагрузки определяется по формулам:


и
– расчётные температуры воды в подающем
и обратном трубопроводе.
Расчёт графика центрального качественного регулирования сведён в таблицу №2.
|
Таблица №2 |
|||
|
t>н, >оС |
|
|
|
|
+ 8 |
0,162 |
32,2 |
28,1 |
|
+ 5 |
0,203 |
35,2 |
30,1 |
|
0 |
0,27 |
40,3 |
33,5 |
|
- 5 |
0,338 |
45,3 |
36,9 |
|
- 10 |
0,405 |
50,4 |
40,3 |
|
- 15 |
0,473 |
55,5 |
43,6 |
|
- 20 |
0,541 |
60,5 |
47 |
|
- 25 |
0,608 |
65,6 |
50,4 |
|
- 30 |
0,676 |
70,7 |
53,8 |
|
- 35 |
0,743 |
75,7 |
57,2 |
|
- 40 |
0,811 |
80,8 |
60,5 |
|
- 45 |
0,878 |
85,9 |
63,9 |
|
- 50 |
0,946 |
91 |
67,3 |
|
- 54 |
1 |
95 |
70 |
4. График годового расхода теплоты.
Для определения годового расхода тепла, планирования в течении года загрузки оборудования котельной и составления графика ремонта используют график годового расхода тепла по продолжительности стояния температур наружного воздуха.
Температура наружного воздуха в течение суток может колебаться, частично эти колебания компенсируются аккумулирующей способностью здания. Поэтому принято строить график в зависимости от продолжительности стояния данной температуры наружного воздуха.
Продолжительность стояния данной температуры наружного воздуха находят из климатологических справочников и СНиП.
Нагрузка производственного потребителя в течение года постоянна.
Нагрузка на ГВС в течение отопительного периода постоянна. В летний период нагрузка на ГВС меньше чем в отопительный период.
Повторяемость температур наружного воздуха:
49,9 ÷ – 45 оС – 587 ч,
44,9 ÷ – 40 оС – 507 ч,
39,9 ÷ – 35 оС – 523 ч,
34,9 ÷ – 30 оС – 573 ч,
29,9 ÷ – 25 оС – 462 ч,
24,9 ÷ – 20 оС – 423 ч,
19,9 ÷ – 15 оС – 410 ч,
14,9 ÷ – 10 оС – 394 ч,
9,9 ÷ – 5 оС – 454 ч,
4,9 ÷ – 0 оС – 523 ч,
0,1 ÷ – + 5 оС – 512 ч,
5,1 ÷ – + 8 оС – 728 ч,
Нагрузки для расчёта графика:
Гкал/ч,
Гкал/ч,
Гкал/ч,
Гкал/ч,
Основные расчётные зависимости:
1. Минимальная тепловая нагрузка на отопление и вентиляцию при температуре наружного воздуха +8 оС:
Гкал/ч;
2. Минимальная тепловая нагрузка необходимая внешним потребителям при t>н> = +8 оС:
Гкал/ч;
3. Максимальная тепловая нагрузка необходимая внешним потребителям при t>н> = +54 оС:
Гкал/ч;
5. График годового расхода пара.
График годового расхода пара рассчитывается и строится аналогично графику годового расхода тепла, только в формулах вместо соответствующей тепловой нагрузки (Q) подставляется соответствующий расход пара (D).
Нагрузки для расчёта графика:
т/ч,
т/ч,
т/ч,
т/ч,
Основные расчётные зависимости:
1. Минимальная паровая нагрузка на отопление и вентиляцию при температуре наружного воздуха +8 оС:
т/ч;
2. Минимальная паровая нагрузка необходимая внешним потребителям при t>н> = +8 оС:
т/ч;
3. Максимальная паровая нагрузка необходимая внешним потребителям при t>н> = +54 оС:
т/ч;
6. Расчёт расхода топлива.
Часовой расход топлива, определяется по формуле, м3/ч:

D>расч. >– максимальный часовой расход пара вырабатываемый котлом, кг/ч,
D>расч> = 19650 кг/ч.
G>пр. >– максимальный часовой расход продувочной воды, кг/ч,
G>пр> = D>расч> ·0,01·ρ>пр.> = 19650·0,01·2 = 393 кг/ч
ρ>пр> – процент на периодическую продувку, %,
Δi – разность энтальпий между питательной водой и вырабатываемым паром, ккал/кг:
ккал/кг.
i>п> – энтальпия насыщенного пара, ккал/кг,
i>п.в.> – энтальпия питательной воды, ккал/кг,
i>пр.> – энтальпия котловой воды, ккал/кг,
– низшая теплота
сгорания топлива, ккал/м3,
η>к> – КПД котла,
м3/ч.
Годовой расход топлива, определяется по формуле, м3/год:

>
>–
расчётный годовой
расход пара, кг/год:

–
годовой расход пара
на подогреватель сетевой воды, кг/год:

D>п.с.в.>– максимальный расход пара на подогреватель сетевой воды, кг/ч,
t>вн >– средняя внутренняя температура отапливаемых помещений, оС,
t>н >– расчетная температура наружного воздуха, оС,
t>ср.от> – средняя температура наружного воздуха за отопительный период, оС,
n>о> – продолжительность отопительного периода,
кг/год.
–
годовой расход пара
на подогреватель горячей воды, кг/год:

–
расход пара на
подогреватель горячей воды в
максимально-зимний период, кг/ч,
–
расход пара на
подогреватель горячей воды в летний
период, кг/ч,
n>г.в.> – число дней в году работы системы горячего водоснабжения (350),
кг/год.
–
годовой расход пара
на производство, кг/год:
кг/год.
кг/год
– годовой расход пара на деаэратор,
–
годовые потери пара,
кг/год:

–
потери пара у
потребителя, %.
кг/год.
кг/год.
кг/год.
м3/год.
7. Выбор оборудования котельной.
7.1. Котлы.
В соответствии со СНиП “Котельные установки” расчётная мощность котельной определяется суммой мощностей требующихся потребителям на технологические процессы, отопление, вентиляцию и горячие водоснабжение при максимально-зимнем режиме.
При определении мощности котельной должны также учитываться мощности расходуемые на собственные нужды котельной и покрытия потерь в котельной и тепловых сетях.
Потребители тепла по надёжности теплоснабжения относятся:
1. К первой категории – потребители, нарушение теплоснабжение, которых связано с опасностью для жизни людей и со значительным ущербом народному хозяйству.
2. Ко второй категории – остальные потребители.
Перечень потребителей первой категории утверждает Министерство и Ведомство.
Котельные по надёжности отпуска тепла потребителям относятся:
1. К первой категории – котельные являющиеся единственным источником тепла системы теплоснабжения и обеспечивающие потребителей Ι категории не имеющих индивидуальных резервных источников тепла.
2. Ко второй категории – остальные котельные.
Все котельные сооружаемые в северной строительной климатической зоне относятся к Ι категории независимо от категории потребителей тепла.
Количество и единичную производительность котлоагрегата устанавливаемых в котельной следует выбирать по расчётной производительности котельной, проверяя режим работы котлоагрегатов для тёплого периода года, при этом в случае выхода из строя наибольшего по производительности котла котельной Ι категории оставшиеся должны обеспечивать отпуск тепла потребителям Ι категории:
1. на технологическое теплоснабжение и системы вентиляции в количестве определяемом минимальной допустимой нагрузкой.
2. на отопление и ГВС в количестве определяемом режимом наиболее холодном месяце.
В котельной ГУП ФАПК установлены следующие типы котлов:
ДКВР 10-13 – 2 шт.
ДЕ 10-14ГМ – 1 шт.
Техническая характеристика котлов:
Номинальная производительность: 10 т/ч,
Температура пара: насыщенный,
Температура питательной воды: 100 оС,
Площадь поверхности нагрева:
радиационная: 47,9 м2, (39,02 м2),
конвективная: 229,1 м2, (110 м2),
общая котла: 277 м2, (149,02 м2),
Объём: – паровой: 2,63 м3,
– водяной: 9,11 м3,
Запас воды в котле при видимых колебаниях уровня в водоуказательном стекле 80 мм.: – 1,07 м3,
– 5,8 мин,
Видимое напряжение парового объёма: 545 м3/(м3·ч),
Живое сечение для прохода газов: – в котельном пучке: 1,28 м3,
Температура газов за котлом: – газ: 295 оС, (273 оС),
– мазут: 320 оС, (310 оС),
Расчётное КПД: – газ: 91,8 %, (92,1 %),
– мазут: 89,5 %, (90,99 %),
Расчётное газовое сопротивление: – газе и мазуте при номинальной нагрузке: 300 Па, (1,96 кПа),
– газе и мазуте при повышенной на 30 % нагрузке: 500 Па,
Длина цилиндрической части барабана: – верхнего: 6325 мм,
– нижнего: 3000 мм,
Расстояние между осями барабанов: 2750 мм,
Диаметр и толщина стенки передних опускных труб: 159х4,5 мм,
Количество труб экранов: – боковых: 29х2 = 58 шт,
– фронтового: 20 шт,
– заднего: 20 шт,
Количество кипятильных труб: – по оси барабана 27 + 1 шт,
– по ширине котла 22 шт,
Общее количество кипятильных труб: 594 шт.
Габаритные размеры:
длина котла в тяжёлой обмуровке: 6860 мм, (6530 мм),
ширина котла в тяжёлой обмуровке: 3830 мм, (4300 мм),
высота котла от пола до оси верхнего барабана: 5715 мм,
высота котла от пола до патрубков на верхнем барабане 6315 мм, (5050 мм),
Масса котла в объёме заводской поставки: 15,9 ÷ 18,8 т, (13,62 т).
Примечание: в скобках технические характеристики котла марки ДЕ 4-14.
При летнем режиме теплоснабжения потребителей будет обеспечено одним котлом, который будет загружен на 96 % (9,56 т/ч). При режиме наиболее холодного месяца в работе находятся два котла, вырабатывая 18,48 т. пара в час, при этом один котёл находится в резерве и в случаи выхода из строя одного из работающих котлов его можно использовать для пароснабжения потребителей.
7.2. Насосы.
Питательные насосы. Питание котлов водой должно быть надёжным. При снижении уровня воды ниже допустимых пределов кипятильные трубы могут оголиться и перегреться, что в свою очередь может привести к взрыву котла. Котлы с давлением выше 0,07 МПа с паропроизводительностью 2 т/ч и выше должны иметь автоматические регуляторы питания.
Для питания котлов устанавливают не менее двух насосов, из которых один должен быть с электроприводом, а другой – с паровым приводом. Производительность одного насоса с электроприводом должна составлять не менее 110 % номинальной производительности всех рабочих котлов. При установке нескольких насосов с электроприводами их общая производительность должна составлять также не менее 110 %.
Производительность насосов с паровым приводом должна быть не менее 50 % номинальной производительности котлов. Можно устанавливать все питательные насосы только с паровым приводом, а при двух или нескольких источниках питания электроэнергией – только с электрическим приводом. Насосы с паровым приводом потребляют от 3 до 5 % вырабатываемого пара, поэтому их используют как резервные.
Выхлопной пар поршневого прямодействующего насоса удаляется в атмосферу. Если этим паром подогревают воду в особом теплообменнике, то конденсат выбрасывают. В котёл его возвращать нельзя, так как он загрязнён маслом, а плёнка масла на трубках ухудшает теплопередачу. В крупных установках используют паротурбонасосы, конденсат их выходного пара маслом не загрязнён, поэтому его можно направлять в котёл. Инжекторы для питания котлов в отопительно-производственных котельных непригодны, так как они плохо засасывают горячую воду.
Производительность насосов определяется по формуле, т/ч:

z – число котлов, шт,
k – коэффициент запаса (1,1 для насосов с электроприводом и 0,5 с паровым приводом).
D>макс> – максимальный расход питательной воды, т/ч,

D>к> – расход пара при номинальной нагрузке, т/ч,
G>п.р.> – количество продувочной воды при номинальной нагрузке, т/ч,
т/ч,
т/ч.
Напор
насоса, м. вод. ст.:

Р>к> – избыточное давление в котле, кгс/см2,
Р>д> – избыточное давление в деаэраторе, кгс/см2,
Н>э> –сопротивление экономайзера по воде, м. вод. ст.,
Н>г >– геометрическая разность уровней воды в барабане котла и деаэратора, м.
м. вод. ст.
В данной котельной установлены 3 подпиточных насоса марки ЦНСГ-38, два из которых являются резервными. Данный насос установлен на нулевой отметке котельной (2 этаж), который подаёт питательную воду с температурой около 104 оС из деаэратора установленного на отметке 6.000 м (третий этаж).
Техническая характеристика насоса ЦНСГ-38:
Производительность: 38 м3/ч,
Напор: 198 м. вод. ст.,
Электродвигатель: – мощность: 37 кВт,
– частота: 3000 об/мин,
Температура рабочей среды: 105 оС,
Габаритные размеры: 1407х430х420 мм,
Масса: 321 кг.
Конденсатный насос. Производительность конденсатного насоса равна часовому расходу конденсата от технологического потребителя. К этому расходу следует прибавить расход конденсата от сетевого подогревателя отопления, так как в случаи повышения жёсткости конденсат сбрасывают в конденсатный бак на нужды ГВС. Повышение жёсткости может быть вызвано разрывом нескольких латунных трубок в самом подогревателе и вследствие чего попадания сетевой воды с довольно большой жёсткостью (0,7 ÷ 1,5 мг-экв/кг) в конденсат. Такой конденсат нельзя направлять в деаэратор, где требуется жёсткость равная 0,02 мг-экв/кг.
т/ч.
Напор конденсатного насоса определяется геодезической заразностью конденсатного насоса и бака горячей воды, а также сопротивлением сети (всасывающих и нагнетательных линий). В случае ели конденсат направлялся бы в деаэратор, то нужно учесть избыточное давление в деаэраторе:
м.
вод. ст.
В котельной установлен один конденсатный насос марки К50-32-125. Данный насос установлен на отметке –4,600 м (первый этаж) и подаёт конденсат в бак горячей воды установленный на отметке 6 м (третий этаж).
Техническая характеристика насоса К50-32-125:
Производительность: 12,5 м3/ч,
Напор: 20 м. вод. ст.,
Электродвигатель: – мощность: 2,2 кВт,
– частота: 2900 об/мин,
Габаритные размеры: 792х300х315 мм,
Масса: 80 кг.
Сетевой насос системы отопления и вентиляции. Этот насос служит для циркуляции воды в тепловой сети. Его выбирают по расходу сетевой воды из расчёта тепловой схемы. Сетевые насосы устанавливаются на обратной линии тепловой сети, где температура сетевой воды не превышает 70 оС.
G>с.н.> = 212 т/ч
Согласно правилам Госгортехнадзора РФ, в котельной должно быть установлено не менее 2-х сетевых насосов.
Напор развиваемый сетевым насосом выбирается в зависимости от требуемого напора у потребителя и сопротивлением сети.
В котельной установлено два сетевых насоса марки 6НДВ-60, один из которых резервный.
Техническая характеристика насоса 6НДВ-60:
Производительность: 250 м3/ч,
Напор: 54 м. вод. ст.,
Электродвигатель: – мощность: 41 кВт,
– частота: 1450 об/мин,
Габаритные размеры: 1400х525х450мм,
Подпиточный насос. Предназначены для восполнения утечки воды из системы теплоснабжения, количество воды необходимое для покрытия утечек определяется в расчёте тепловой схемы. Производительность подпиточных насосов выбирается равной удвоенной величине полученного количества воды для восполнения возможной аварийной подпитки:
т/ч
Необходимый напор подпиточных насосов определяется давлением воды в обратной магистрали и сопротивлением трубопроводов и арматуры на линии подпитки, число подпиточных насосов должно быть не менее 2-х, один из которых резервный.
В котельной установлено три подпиточных насоса марки К50-32-125, два из которых резервные. Насосы установлены на нулевой отметке и подают подпиточную воду из бака горячей воды в обратную линию тепловой сети.
Техническая характеристика насоса К50-32-125:
Производительность: 12,5 м3/ч,
Напор: 20 м. вод. ст.,
Электродвигатель: – мощность: 2,2 кВт,
– частота: 2900 об/мин,
Габаритные размеры: 792х300х315 мм,
Масса: 80 кг.
Циркуляционный насос ГВС. Служит для подачи требуемого расхода и обеспечения требуемого напора горячей воды у потребителя. Его выбирают по расходу горячей воды и необходимому напору:
G>г.в.>= 11,5 т/ч
В котельной установлено два насоса ГВС марки К50-32-125, один из которых резервный. Насос установлен на отметке 6,000 м (3 этаж) и подаёт сырую воду из бака горячей воды в пароводяные теплообменники.
Производительность: 12,5 м3/ч,
Напор: 20 м. вод. ст.,
Электродвигатель: – мощность: 2,2 кВт,
– частота: 2900 об/мин,
Габаритные размеры: 792х300х315 мм,
Масса: 80 кг.
Насос сырой воды. Служит для обеспечения требуемого напора сырой воды перед ХВО и подачи хим. очищенной воды в деаэратор, а также подачи сырой воды в бак горячей воды. Производительность насоса определяют из расчёта тепловой схемы: G>c>>.в.>= 23,61 т/ч
Н>с.в.>= 50 м. вод. ст.
В котельной установлен один насос сырой воды марки К80-50-200. Данный насос расположен на отметке 0,000 (1 этаж) и установлен на линии сырой воды.
Техническая характеристика насоса К80-50-200:
Производительность: 50 м3/ч,
Напор: 50 м. вод. ст.,
Электродвигатель: – мощность: 15 кВт,
– частота: 2900 об/мин,
Габаритные размеры: 1127х458х485 мм,
Масса: 250 кг.
7.3. Водоподогреватели.
В зависимости от вида греющей среды их делят на:
водоводяные,
пароводяные.
По конструктивным признакам подогреватели делятся на:
кожухотрубные,
пластинчатые.
В кожухотрубчатых подогревателях основным элементом является цилиндрический корпус и пучок гладких трубок размещаемых внутри корпуса. Один из теплоносителей протекает внутри трубок, другой в межтрубном пространстве – такие теплообменники называются скоростными.
Скоростные водоводяные подогреватели, у которых греющая и нагреваемая вода движутся навстречу, называются противоточными. Противоток эффективнее прямотока, т.к. обеспечивает большую среднюю разность температур и позволяет нагревать воду до более высокой температуры.
Для пароводяных подогревателей направление движение теплоносителя не имеет значения.
Основным элементом подогревателя является корпус из стальной бесшовной трубы. Внутри корпуса расположены трубки из латуни Д>в> 16 х 1 мм., теплопроводность составляет 135 Вт/м °С.
Подогреватель сетевой воды для нужд отопления и вентиляции. Предназначен для подогрева паром сетевой воды до требуемой температуры. Подогреватель сетевой воды состоит из двух параллельно включённых пароводяных подогревателей. Теплообмен при этом происходит в латунных трубках, в которых протекает нагреваемая среда.
В котельной ГУП ФАПК “Якутия” установлено три пары пароводяных подогревателей сетевой воды марки ПП-2-24-7-Ⅳ (с плоским дном), 2-е пары подогревателей из которых являются резервными.
Техническая характеристика подогревателя ПП-2-24-7-Ⅳ:
Площадь поверхности нагрева: 24,4 м3,
Диаметр корпуса: 480 мм,
Количество трубок: 176 шт.,
Длина трубок: 3000 мм,
Длина подогревателя: 3630 мм,
Давление греющего пара: 0,7 МПа,
Число ходов по воде: 4 шт.,
Сечение для прохода воды: 0,0068 м2,
Гидравлическое сопротивление при расчётном расходе воды 41,7 т/ч: 0,06 МПа,
Масса: 915 кг.
Подогреватель системы ГВС. Предназначен для нагревания воды, которая направляется для нужд ГВС. Подогреватель ГВС состоит из двух параллельно включённых пароводяных подогревателей. Теплообмен при этом происходит в латунных трубках, в которых протекает нагреваемая среда.
В котельной ГУП ФАПК “Якутия” установлено две пары пароводяных подогревателей ГВС марки ПП-2-17-7-ІІ (с плоским дном), одна пара из них является резервным.
Техническая характеристика подогревателя ПП-2-17-7- ІІ:
Площадь поверхности нагрева: 17,2 м3,
Диаметр корпуса: 426 мм,
Количество трубок: 124 шт.,
Длина трубок: 3000 мм,
Длина подогревателя: 3575 мм,
Давление греющего пара: 0,7 МПа,
Число ходов по воде: 2 шт.,
Сечение для прохода воды: 0,0096 м2,
Гидравлическое сопротивление при расчётном расходе воды 59 т/ч: 0,03 МПа,
Масса: 730 кг.
7.4. Водоподготовка.
Вода из городского водопровода содержит растворённые соли и газы. Накипь на стенках котлов образуется в результате выпадения растворённых в воде жёсткости – кальция и магния.
Накипь на стенках котлов понижает коэффициент теплопередачи и, следовательно, ведёт к перерасходу топлива. В топочной части слой накипи может вызвать перегрев стенки и аварию котла. Растворённые в воде газы – кислород и углекислота – вызывают коррозию стенок котла.
В паровой котельной умягчается исходная добавочная вода и деаэрируется вся питательная.
7.4.1. ХВО.
Для умягчения воды применяют метод катионного обмена. Умягчить воду, т.е. снизить её жёсткость, это значит удалить из неё накипеобразователи.
Рекомендуемый метод катионного обмена используют в качестве натрий-катионирования, водородно-натриевого катионирования и аммоний-натриевого катионирования при докотловой обработке воды, когда большинство солей жёсткости переводят в соли с большой степенью растворимости, причём никаких осадков не образуется.
Такие соли даже при большом их количестве в составе котловой воды не будут доходить в растворе до состояния насыщения и, следовательно, выпадать кристаллами накипи на стенки котла.
Таким образом, химическая водоподготовка не избавляет воду от солей, но изменяет их количество и качество, что позволяет при правильно организованном режиме эксплуатации избавиться от накипи.
В данной котельной установке применено двухступенчатая схема Na – катионирования.
Фильтр Na – катионирования выбирается по расходу химически очищенной воды, рассчитанный в тепловой схеме: G>хов>= 8,03 т/ч.
Техническая характеристика Na – катионитового фильтра:
Марка фильтра: ФИПа І-1,0-0,6-Na,
Давление: – рабочие: 0,6 МПа,
– пробное гидравлическое: 0,9 МПа,
Вместимость корпуса: 2,27 м3,
Производительность: 20 м3/ч,
Фильтрующая загрузка: – высота: 2 м,
– объём: 1,6 м3,
Масса: – сульфоугля при γ = 0,65 ÷ 0,7 т/м2: 1,04 ÷ 1,12 т,
– катионита КУ-2 при γ = 0,71 т/м2: 1,14т,
Внутренний диаметр корпуса: 1000 мм,
Высота фильтра: 3685 мм,
Толщина стенки: 9 мм,
Условный диаметр арматуры:
для подвода исходной и промывочной воды: 50 мм,
для отвода обработанной воды: 50 мм,
для подвода регенерационного раствора: 50 мм,
для подвода и отвода взрыхляющей воды: 50 мм,
для отвода регенерационного раствора, отмывочной воды и первого фильтрата: 50 мм,
для гидровыгрузки фильтрующего материала: 100 мм,
Масса конструкции фильтра: 1,09 т.
Описание работы Na – катионитовой установки.
По теории электролитической диссоциации молекулы некоторых веществ, находящихся в водном растворе, распадаются на положительно и отрицательно заряженные ионы – катионы и анионы.
При Na – катионировании, растворённые в воде соли кальция (Ca) и магния (Mg) при фильтрации через катионитовый материал (NaR) обменивают катионы Ca2+ и Mg2+ на катионы Na+. В итоге получаются только натриевые соли – которые обладают большой степенью растворимости.
Изменение солевого состава воды происходит по следующим формулам:
2NaR + Ca(HCO>3>)>2> = CaR>2> + 2NaHCO>3>
2NaR + Mg(HCO>3>)>2> = MgR>2> + 2NaHCO>3>
2NaR + CaSO>4>= CaR>2> + Na>2>SO>4>
2NaR + MgSO>4>= MgR>2> + Na>2>SO>4>
2NaR + CaCl>2>= CaR>2> + 2NaCl
2NaR + MgCl>2>= MgR>2> + 2NaCl
R – условно показана сложная формула катионитового материала
В дальнейшем в воде происходит разложение бикарбонатов натрия:
2NaHCO>3> = Na>2>CO>3> + СО>2>
Na>2>CO>3> + Н>2>О = 2NaОН + СО>2>
Катионитовым материалом, заполняющий фильтр, является сульфоугль. Его получают после обработки бурого или каменного угля дымящейся серной кислоты.
Характеристика сульфоугля.
Диаметр зерна: 0,3 ÷ 1,2 мм,
Насыпная масса в воздушно- сухом виде: 0,55 т/м3,
Ёмкость поглощения: 300 мг-экв/л,
Верхний предел температурной стойкости: 70 оС,
Годовой износ: 10 ÷ 15 %
Ёмкость катионитового материала есть предел его обменной способности, после чего израсходованные катионы необходимо восстанавливать регенерацией.
Регенерация катионитового материала производится 6 ÷ 8 % раствором поваренной соли, пропускаемым через него, в результате регенерации действие сульфоугля восстанавливается. Реакции идут по уравнениям:
CaR>2> + 2NaCl = 2NaR + CaCl>2>
MgR>2> + 2NaCl = 2NaR + MgCl>2>
Концентрированные растворы хлоридов кальция и магния, а также избыток соленого раствора выбрасываются в дренаж. Характерной особенностью Na – катионирования является отсутствие солей выпадающих в осадок. Поэтому не смотря на то что жесткость второй ступени доводят до 0,02 мг-экв/кг, щёлочность умягчённой воды остаётся равной карбонатной жёсткости исходной воды.
Сухой остаток при Na – катионировании можно считать постоянным.
Получающийся при разложении NaHCO>3> едкий натрий (NaОН) даёт вспенивание воды и может вызвать коррозию металла котла, а углекислота, остающаяся в конденсате, – коррозию конденсатопроводов. Но так как относительная щёлочность получается меньше 20 %, то она не нуждается в нейтрализации.
Двухступенчатая схема Na – катионирования.
В фильтр 1 загружен катионитовый материал – сульфоугль.
Подлежащая обработке вода подаётся по трубопроводу 2 на фильтр первой ступени и проходит сверху вниз через слой сульфоугля. После прохождения исходной воды через фильтр первой ступени, вода с жёсткостью 0,5 мг-экв/кг поступает на фильтр второй ступени.
Умягчённая вода (до 0,02 мг-экв/кг) отводится в термический деаэратор по трубе 5.
На время регенерации катионитовые фильтры поочерёдно выключают из работы. Регенерационный раствор поваренной соли подаётся из бака раствора соли по трубе 3 и сбрасывается в дренаж 4. Скорость пропускания регенерационного раствора 3 ÷ 5 м/ч.
Процесс регенерации включает в себя следующие операции:
Взрыхление катионита исходной водой происходит снизу вверх.
Регенерация катионита происходит сверху вниз.
Отмывка катионита исходной водой от продуктов регенерации.
Отмывка Na – катионитового фильтра заканчивается при снижении жёсткости: после Ι ступени до 0,5 мг-экв/кг; после ΙΙ ступени до 0,02 мг-экв/кг.
После отмывки фильтр готов к работе в режиме умягчения. При роботе в режиме умягчения необходимо следить за: перепадом давления создаваемого фильтром; качеством умягчённой воды; следить за отсутствием катионита в умягчённой воде.
7.4.2. Деаэратор.
Деаэратор атмосферного типа выбирают по расходу химически очищенной воды, к этому расходу следует прибавить расход конденсата от пароводяных водоподогревателей, т.к. его направляют в верхнюю часть деаэрационной колонки: G>хим >= 8,03 + 10,01 + 1 = 19,04 т/ч;
В котельной установлен атмосферный деаэратор марки ДА-25 с барботажным устройством, которое установлено в баке-аккумуляторе деаэратора.
Техническая характеристика деаэратора ДА-5:
Номинальная производительность: 25 т/ч;
Рабочие давление: 0,12 МПа;
Температура деаэрированной воды: 104 оС;
Средняя температура подогрева воды в деаэраторе: 10 ÷ 40 оС;
Размеры колонки: – диаметр и толщина стенки корпуса: 530х6 мм;
– высота: 2195 мм;
Масса: 280 кг;
Пробное гидравлическое давление: 0,3 МПа.
Описание работы деаэратора.
Деаэрацией называется освобождение питательной от растворённого в ней воздуха в состав которого входит кислород (О>2>) и двуокись углерода (СО>2>). Будучи растворенными, в воде эти газы вызывают коррозию питательных трубопроводов и поверхности нагрева котла, вследствие чего оборудование выходит из строя.
Термический деаэратор служит для удаления из питательной воды растворённых в ней кислорода и двуокиси углерода путём нагрева воды до температуры кипения. При температуре кипения воды растворённые в ней газы полностью теряют способность растворяться. Деаэратор состоит из бака-аккумулятора и деаэрированной колонки, внутри которой расположен ряд распределительных тарелок. Внутри бака-аккумулятора расположено барботажное устройство – оно служит для дополнительного удаления растворённых газов путём частичного перегрева питательной воды. За счёт барботажного устройства качество деаэрации улучшается.
Питательная вода поступает в верхнюю часть деаэратора на распределительную тарелку. С тарелки вода равномерными струйками распределяется по всей окружности деаэраторной колонки и стекает через ряд расположенных, с мелкими отверстиями, тарелок.
Пар для подогрева воды вводится в деаэратор по трубе и распределяется под водяную завесу, образующуюся при скитании воды. Пар расходясь во все стороны поднимается вверх навстречу питательной воды при этом нагревая её до температуры 104 оС, что соответствует избыточному давлению в деаэраторе 0,02 ÷ 0,025 МПа.
Пар для барботажного устройства подводится по отдельной трубе.
При этой температуре воздух выделяется из воды и вместе с остатком не сконденсировавшегося пара уходит через вистовую трубу, расположенную в верхней части деаэраторной колонки непосредственно в атмосферу.
Освобождённая от кислорода и двуокиси углерода и подогретая вода выливается в бак аккумулятор, расположенный под колонкой деаэратора, откуда расходуется для питания котлов.
Во избежания значительного повышения давления в деаэраторе на нём устанавливают два предохранительных клапана, а так же гидравлический затвор на случай образования в нём разряжения.
Деаэратор снабжён водоуказательным стеклом, регулятором уровня воды в баке, регулятором давления и необходимой измерительной аппаратурой.
Тягодутьевые машины.
Подача воздуха осуществляется вентилятором, а удаление газов дымососом.
Дымососы работают в более тяжёлых условиях, чем вентиляторы, т.к. они отсасывают газы с более высокой температурой, чем воздух (до 250 оС). Поэтому в дымососах предусматривают водяное охлаждение подшипников и более прочное исполнение лопаток и кожуха.
Дымовая труба – кирпичная, высота 30 м, диаметр верха трубы 1000 мм.
Часовая производительность одного дымососа равна:

В – часовой расход топлива одного котла при номинальной паропроизводительности, кг/ч;

D>расч. >– номинальный часовой расход пара, вырабатываемый котлом, кг/ч,
G>пр. >– часовой расход продувочной воды при номинальной паропроизводительности, кг/ч,
G>пр> = D>расч> ·0,01·ρ>пр.> = 10000·0,01·2 = 200 кг/ч
ρ>пр> – процент на периодическую продувку, %,
Δi – разность энтальпий между питательной водой и вырабатываемым паром, ккал/кг:
ккал/кг.
i>п> – энтальпия насыщенного пара, ккал/кг,
i>п.в.> – энтальпия питательной воды, ккал/кг,
i>пр.> – энтальпия котловой воды, ккал/кг,
– низшая теплота
сгорания топлива, ккал/м3,
η>к> – КПД котла,
м3/ч.
V>г> – объём дымовых газов перед дымососом;

α>ух> – коэффициент присосов воздуха;
– теоретический
объём дымовых газов;
V>о> – теоретически необходимый объём воздуха;
V>г> = 10,63 + (1,1 – 1)·9,47 = 11,58 м3/м3
м3
В котельной установлено 3 дымососа марки ДН-10:
электродвигатель АО2-81-8 (22 кВт).
Часовая производительность одного вентилятора равна:

α>т> – коэффициент избытка воздуха в топке;
t>в> – температура воздуха перед вентилятором;
м3
В котельной установлено 3 вентилятора марки ВДН-12:
электродвигатель АО72-8 (10 кВт).
8.Топливоподача.
В качестве основного вида топлива в котельной ГУП ФАПК “Якутия” использован природный газ Мастахского месторождения.
Газоснабжение котельной осуществляется через ГРУ установленное на третьем этаже котельной. Входное давления газа на ГРУ составляет 0,6 МПа. ГРУ в котельной два: горелки котлов ДКВР-10-13 (ГМГ-5м) снабжаются газом от ГРУ низкого давления (необходимое давление газа перед горелкой 0,0038 МПа, 380 кгс/м2); горелка котла ДЕ-10-14 (ГМ-7) снабжается газом от ГРУ среднего давления (необходимое давление газа перед горелкой 0,025 МПа, 2500 кгс/м2).
ГРУ – газораспределительный пункт для автоматического снижения и поддержания давления газа на заданном уровне.
Функции ГРУ: 1. Снижение давления до заданных параметров,
2. Поддержание в автоматическом режиме этого давления на выходе из ГРУ,
3. Отключение и прекращение подачи газа при давлениях превышающих заданные параметры,
4. Отчистка газа от существенных механических примесей.
5. Учёт расхода газа.
В комплект ГРУ входят: 1. Фильтр газовый – для очистки газа от механических примесей (пыли, окалины, грязи).
Очистка газа необходимо для того, чтобы предотвратить стирание уплотняющих поверхностей запорных устройств, острых кромок измерительных диафрагм, импульсных трубок и дросселей от загрязнения.
Степень чистоты фильтра характеризуется перепадом давления, которое в процессе эксплуатации не должно превышать заданных параметров.
2. Предохранительно-запорный клапан (ПЗК) – для полного автоматического отключения подачи газа при повышении или понижении давления газа за регулятором на 25 %.
На верхнюю заданную границу давления клапан настраивается сжатием пружины верхней границы, а на нижнюю – сжатием пружины нижней границы.
Клапан установлен после фильтра перед регулятором.
3. Регулятор давления – для обеспечения автоматического снижения давления газа и поддержания его значения на определённом уровне независимо от изменения и колебания давления во входном газопроводе.
По требованию правил “Безопасности в газовом хозяйстве” колебание давления за регулятором не должно превышать 10 % от заданного значения.
В роли регулятора в котельной ГУП ФАПК “Якутия” использован пилотный регулятор РДУК-2 (регулятор давления универсальный Казанцева). Для получения давления после регулятора 0,0038 МПа и 0,025 МПа использован пилот КН-2.
Для получения необходимого давления после регулятора нужно:
для повышения давления – стакан пилота вкручивать;
для уменьшения давления – стакан пилота выкручивать.
4. Предохранительно-сбросной клапан (ПСК) – для сброса некоторого количества газа в атмосферу при возможных кратковременных повышениях давления (на 10 % от рабочего) за регулятором, во избежание отключения газа на котельную предохранительно-запорным клапаном (ПЗК). Регулирование ПСК на срабатывание производится регулировочным болтом.
5. Байпас – обводной газопровод для подачи по нему газа во время ревизии или ремонта оснащения ГРУ.
6. Сбросные и продувочные линии – для сброса газа в атмосферу от предохранительно сбросного клапана и продувки газопроводов и оснащения от освобождения их в необходимых случаях от воздуха или газа.
7. Измерительные приборы – манометры показывающие, для измерения давления к фильтру, регулятора и за ними; термометры для измерения температуры газа.
8. Импульсные трубки – для соединения отдельных элементов оснащения между собой с контролируемыми точками газопроводов, а также для присоединения средств измерения к газопроводам в контролируемых точках.
9. Узел учёта – для учёта затрат газа.
Учёт затраты газа в котельной ГУП ФАПК “Якутия” производится самопишущим устройством, который получает импульс от дифференциального манометра. Дифманометр, в свою очередь берёт импульсы от сужающего устройства – диафрагмы.
Принцип работы дифманометра основан на изменении перепада давления до, и после диафрагмы и дальнейшей фиксации этого перепада на самописце. Диафрагма представляет из себя кольцо из высокопрочной стали, тщательно обработанной кромкой внутреннего кольца – чтобы не создавать значительного местного сопротивления. Диаметр внутреннего кольца меньше диаметра проходной трубы, поэтому в этом месте создаётся дроссельный эффект, т.е. сужение диаметра прохода приводит к увеличению скорости потока, в результате чего за диафрагмой понижается давление и поскольку данное сужающие отверстия при определённом входном давлении может пропустить только определённое количество газа значит и снижение давления за диафрагмой будет строго дозированным. Каждому значению входного давления соответствует своё определённое снижение давления – этому соответствует определённый расход. Это ΔР фиксируется на дифманометре, который снабжён самописцем.
Внутренние газопроводы в котельной проложены открыто, ответвления к котлам имеют по два отключающих устройства одно из которых установлено непосредственно у газовых горелок.
Котельные снабжены системами автоматики безопасности "КОНТУР", которые обеспечиваю контроль за горением газа и нормативного функционирование производственных процессов.
Аварийное топливо: В качестве резервного топлива предусмотрен мазут с суточным запасом. Хранение топлива предусмотрено в отдельно стоящей ёмкости.
Газогорелочные устройства.
На котлах ДКВР-10-13 установлены газомазутные горелки марки ГМГ-5м работающие на низком давлении газа. На котле ДЕ-10-14 установлена одна горелка марки ГМГ-7.
Техническая характеристика горелок:
Номинальная тепловая мощность: 8,15 МВт (7 Гкал/ч),
(5,81 МВт, 5 Гкал/ч),
Коэффициент рабочего регулирования по тепловой мощности: 7 (5),
Давление мазута перед форсункой: 2 МПа,
Давление газа перед горелкой: 25 кПа (3,8 кПа),
Аэродинамическое сопротивление горелки при t>в> = 30 оС: 1,1 кПа (1,2),
Вязкость мазута перед форсункой, оВУ, не более 3,
Коэффициент избытка воздуха за топкой: – мазут: 1,1 (1,15),
– газ: 1,05,
Давление пара на распыливание мазута: 0,3 ÷ 0,5 МПа (0,1 ÷ 0,2),
Удельный расход пара на распыливание, не более 0,05 кг/ч,
Номинальный
расход мазута при
=40,38
МДж/кг (9650 ккал/ч): 730 кг/ч (520 кг/ч),
Номинальный
расход газа при
=35,4
МДж/м3 (8500 ккал/м3): 820
м3/ч (590 м3/ч),
Масса горелки: 150 кг (115 кг).
Габаритные размеры: 980х885х885 мм (1190х600х885 мм).
Примечание: в скобках техническая характеристика горелки марки ГМГ-5м.
Горелка газомазутная модернизированная конструкции ЦКТИ предназначена для сжигания природного газа и мазута. Горелка состоит из газовоздушной части, промеханической форсунки, лопаточных завихрителей первичного и вторичного воздуха, монтажной плиты и заглушки для закрывания форсуночного канала при снятии форсунки. Закрутка воздуха в горелке обоими регистрами производится в одну сторону. Стабилизатором пламени служит конический керамический туннель.
Розжиг горелки производят при закрытых воздушных шиберах: плавно открывают запорное устройство на газопроводе, после воспламенения газа — шибер первичного воздуха, а затем с помощью шибера вторичного воздуха и регулирующего устройства на газопроводе устанавливают заданный режим. Во избежание срыва факела при пуске тепловая мощность горелки не должна превышать 25—50 % от номинальной, а давление газа должно быть больше давления вторичного воздуха. При переходе' на жидкое топливо предварительно устанавливают форсунку, подают в нее пар, а затем мазут под давлением 2—5 кгс/см2. После его воспламенения отключают газ и производят регулировку режима. Для перехода с жидкого на газовое топливо снижают давление мазута до 2— 5 кгс/см2 и постепенно подают газ. После воспламенения газа прекращают подачу мазута, устанавливают заданный режим работы на газе, затем удаляют мазутную форсунку и закрывают торцевое отверстие канала заглушкой.
При работе на мазуте в пределах 70 – 100 % от номинальной тепловой мощности достаточно его механического распыления, а на более низких нагрузках для распыления применяют пар давлением 1 – 2 кгс/см2. Расход пара ~0,13 кг/кг. Для распыления не рекомендуется использовать высоко влажный пар (увеличение влажности снижает качество распыления) и пар с температурой более 200 °С (возрастает опасность коксования распылителей). Угол раскрытия факела 67—75 °С.
9. Автоматика.
Для автоматизации котлов ДКВР и ДЕ, которые работают на топливе газ/мазут, использованы комплекты автоматического регулирования на базе системы “Контур”, автоматики безопасности и управления.
Система “Контур” освоена Московским заводом тепловой автоматики (МЗТА) в 1978г. До этого времени МЗТА выпускал электронно-гидравлическую систему “Кристалл”.
Данная система представляет собой комплект датчиков, усилителей, преобразователей и исполнительных механизмов, которые в различных сочетаниях позволяют комплектовать регуляторы разной структуры: с постоянной скоростью исполнительного механизма (астатические), с жёсткой обратной связью (статические или пропорциональные) и упругой обратной связью (изодромные) и т.д.
А
Р. 25
втоматика регулирования.
Автоматика регулирования “Контур”
предназначена для регулирования
параметров технологического процесса
котлоагрегатов. Каждый автоматический
регулятор имеет: датчик (первичный
прибор); регулирующий прибор (усилитель);
исполнительный механизм; регулирующий
орган.
3
Д
ИМ
РО




Д – датчик, состоит из измерительного (мембрана, трубка и др.) и электрического преобразователей,
Р.25 – регулирующий прибор с задатчиком,
ИМ – исполнительный механизм,
РО – регулирующий орган.
Схема включает регулирующий прибор, в который поступает сигнал от датчика регулируемой величины. Датчик первичный прибор, который воспринимает изменение регулируемого параметра и преобразует его в электрический сигнал. Регулирующий прибор принимает команду в виде электрического сигнала от задатчика, сравнивает её с электрическим сигналом датчика, усиливает имеющуюся разность электрических сигналов и даёт команду на включение исполнительного механизма. Исполнительный механизм воздействует на регулирующий орган. Обратная связь улучшает качество регулирования.
В котельной ГУП ФАПК “Якутия” регулируется всего один параметр – уровень воды в барабане.
Требования к регулированию уровня воды в барабане наиболее жёсткие в сравнении с другими котловыми регуляторами. Это вызвано условиями безопасности и надёжности работы котла. Отклонение уровня воды от номинального значения может вызываться следующими причинами:
изменением расхода пара (нагрузки);
изменением количества питательной воды;
изменением тепловыделения, которое связано с изменением подачи топлива и воздуха.
Датчиком регулятора уровня воды в барабане является дифманометр типа ДМ, который через уровнемерную колонку подсоединён к барабану котла. Перепад давления воды соответствует уровню в барабане котла и поступает на ДМ. Сигнал от дифференциально-трансформаторной катушки ДМ поступает на регулирующий прибор (Р.25), где сравнивается с заданным и в случае неравенства этих сигналов даёт команду исполнительному механизму (ИМ) на открытие или закрытие регулирующего клапана (РО), установленного на питательной линии парового котла.
Автоматика регулирования проверяется ежемесячно. Для проверки работы регуляторов необходимо:
зафиксировать по прибору на щите котла значение регулируемого параметра;
перевести режим работы регулятора из положения «автомат» на ручное управление;
тумблером в сторону «больше» или «меньше» изменить значение параметра (не более чем на 10 %);
возвратить переключатель режима работы регулятора в положение «автомат». Значение параметра по прибору должно восстановиться до начального.
Автоматика безопасности. Действие автоматики безопасности должна приводить к отключению подачи газа к горелкам при отключении контролируемых параметров за пределы допустимых значений, а именно:
повышение или понижение давления газа перед горелками;
повышение давления воздуха перед горелками;
понижение разряжения в топке;
погашение факела горелок;
повышение давления пара сверх рабочего;
повышение или понижение уровня воды в барабане котла за допустимые пределы;
неисправности звеньев защиты, включая исчезновение напряжения.
Как видно в схеме ряда контролируемых параметров в систему защиты включено реле времени.
Датчиком давления пара в барабане является электроконтактный манометр ЭКМ. При замыкании электрического контакта стрелки прибора с неподвижным контактом происходит замыкание электрической цепи промежуточного реле, которое втянет три контакта и замкнёт в свою очередь цепи светового и звуковой сигнализации, а также цепь реле времени (при нормальной работе котла цепь реле времени обесточена). По истечении определённого времени, если оператор, перейдя с автоматического регулирования на дистанционное управление, не вывел данный контролируемый параметр из предаварийного состояния, через цепь реле времени пойдёт ток. При этом произойдёт размыкание контакта цепи, питающей электромагнитный клапан ЭПЗК. Подача газа на котёл при этом прекратится.
Датчиками контроля уровня в барабане являются два электрода (ВАУ и НАУ – соответственно высшего и низшего аварийного уровней), расположенные в уровнемерной колонке барабана. Электроды подсоединены к сигнализатору положения уровня СПУ, который электрически связан с промежуточным реле.
Датчиком разряжения в топке является ДНТ. Таким же датчиком является датчик давления воздуха.
При погасании факела, отключении дымососа или понижения давления газа перед горелкой произойдет немедленное отключение подачи газа на котёл. Так, например, при погасании факела разорвётся электрическая цепь между контрольным электродом КЭ и корпусом горелки. Автомат контроля пламени АКП при этом разорвёт электрическую цепь промежуточного реле. При этом замкнутся два контакта в цепи световой и звуковой сигнализации, и разорвётся электрическая цепь питания электромагнитного клапана ЭПЗК. Подача газа на котёл прекратится.
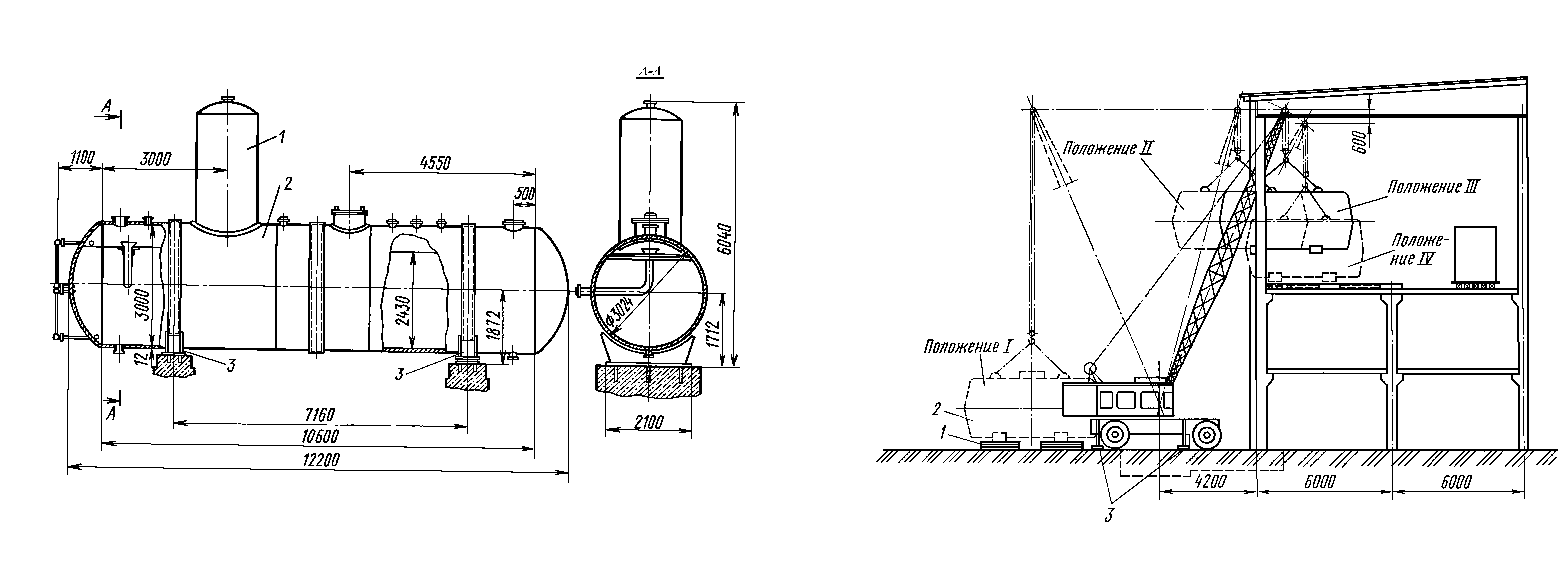
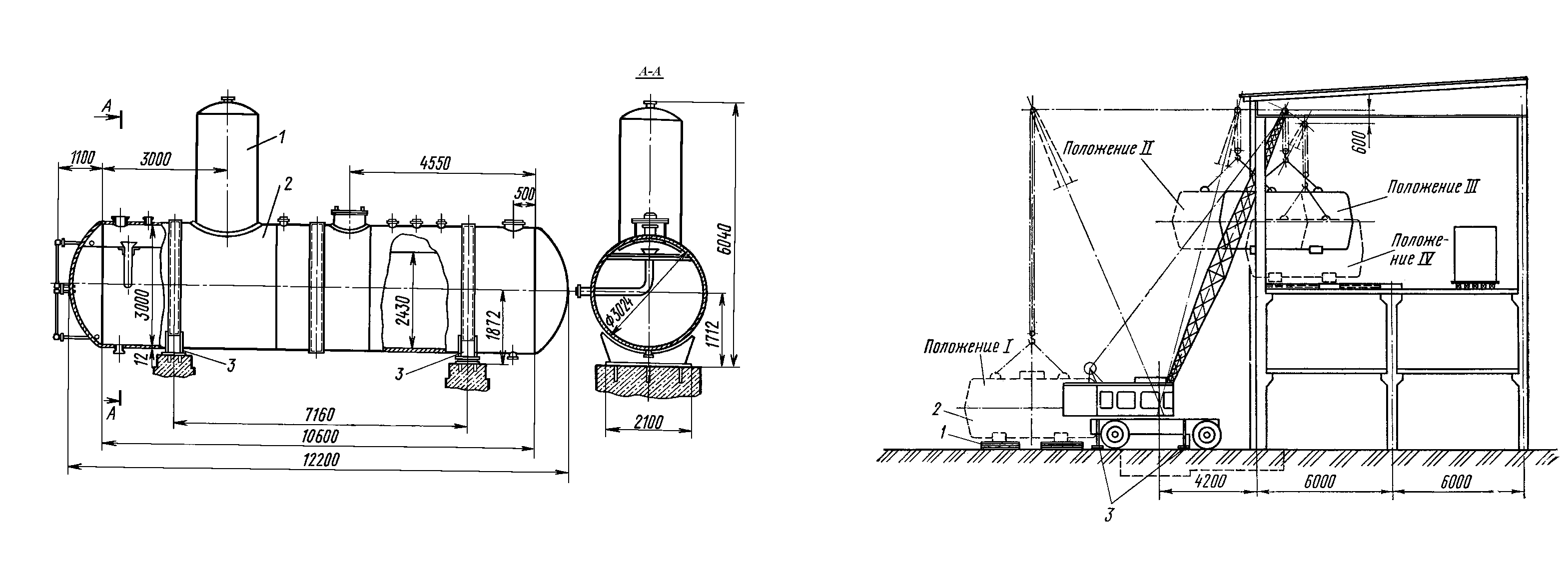
10. Монтаж деаэратора.
У
стройство
деаэраторов. Деаэратор
атмосферного давления (рис. 3) состоит
из бака-аккумулятора, деаэрационной
колонки, барботажного устройства,
арматуры, регулирующих и
контрольно-измерительных приборов.
Деаэратор оборудуется гидравлическими
затворами и охладителями выпора.
Рис. 3. Деаэратор атмосферного давления:
1 – деаэрационная колонка, 2 – бак-аккумулятор, 3 – опоры.
Бак-аккумулятор (2) – сварной цилиндрический сосуд с приваренными к нему штуцерами и лазом – служит для сбора питательной воды; он оборудован водоуказательными приборами.
Деаэрационная колонка (1) – вертикальный цилиндр с установленными внутри дырчатыми листами (тарелками) – установлена непосредственно на баке-аккумуляторе и соединена с ним с помощью сварки или фланцев. Обрабатываемая вода подводится через водораспределительное устройство в верхнюю часть колонки. Греющий пар через регулирующий клапан подаётся в барботажное устройство. Вода из распределительного устройства стекает тонкими струями с тарелки на тарелку навстречу потоку пара, нагревается и стекает в бак-аккумулятор. Греющий пар, поднимаясь вверх, частично конденсируется, захватывает выделившиеся из воды газы и вместе с ними удаляется через верхний штуцер в охладитель выпара.
Гидравлический затвор предотвращает повышение давления в деаэраторе выше расчётного. Регулирующие устройства обеспечивают в деаэраторе заданное давление и уровень воды.
Охладитель выпара служит для использования теплоты не сконденсировавшегося пара. Обычно охладитель выпара устанавливают на кронштейне, приваренному к баку-аккумулятору, или на одной из площадок котельной.
К баку деаэратора приварены металлические опоры (3), одна из которых неподвижно закрепляемая на фундаменте, а вторая, подвижная при тепловых расширениях бака, перемещается по стальному листу.
Монтаж деаэраторов. Деаэраторы устанавливают на опорные конструкции в здании котельной или вне его на металлические опоры. Опоры деаэратора имеют радиусные сёдла, приваренные к нижней части бака.
До начала подъёма на монтажной площадке детали деаэратора собирают в блок, масса которого зависит от грузоподъёмности такелажного механизма. Наиболее целесообразно включать в блок все детали деаэратора с охладителем выпара и трубопроводами.
Схема монтажа деаэратора пневмоколёсным краном показана на рис. 4. Деаэратор стропят в положении І, поднимают в положение ІІ, подают в монтажный проём – положение ІІІ и устанавливают на перекрытие – положение Ⅳ. Далее лебёдкой деаэратор перемещают в проектное положение.

Рис. 4. Схема монтажа деаэратора:
1 – шпальные подкладки, 2 – деаэратор, 3 – выносные опоры крана.
С помощью металлических подкладок, устанавливаемых под опоры, выравнивают положение деаэратора в горизонтальной и вертикальной плоскостях. Горизонтальность продольной оси деаэратора проверяют гидравлическим уровнем по всей образующей бака-аккумулятора, а поперечной оси деаэратора также гидравлическим уровнем по крайним боковым образующим бака-аккумулятора, на которых керном сделаны соответствующие отметки. Отклонение продольной и поперечной осей от горизонтали не должно превышать ± 2 мм. Вертикальность деаэрационной колонки проверяют отвесом и металлической линейкой. Отклонение от вертикальной оси не должно превышать 2 мм. на всю высоту колонки.
После выверки и окончательного закрепления на фундаменте деаэратор подвергают гидравлическому испытанию на плотность и прочность.
11. Эксплуатация основного и вспомогательного оборудования.
11.1. Основные сведения об организации эксплуатационного обслуживания котельных.
Основные принципы организации эксплуатации котельных заключаются в том, чтобы обеспечить надёжную, экономичную и безаварийную работу оборудования.
Для этого нужно:
поручить обслуживание котельной обученному персоналу и периодически повышать его квалификацию;
обеспечить обслуживающий персонал “производственной инструкцией по обслуживанию оборудования котельной” и другими служебными инструкциями;
организовывать постоянный контроль работы всего оборудования котельной, создать систему технического учёта, отчётности и планирования работы;
правильно использовать всё оборудование в наиболее экономичных режимах, поддерживая в исправности тепловую изоляцию горячих поверхностей нагрева и использовать другие меры для сохранности топлива, тепла и электроэнергии;
составлять и точно выполнять годовые графики планово-предупредительного и капитального ремонтов всего оборудования котельной, имея необходимое количество запасных частей, ремонтных и вспомогательных материалов;
вести постоянный контроль за исправным состоянием работающего оборудования и своевременно исправлять неисправности.
11.2. Права и обязанности оператора котельной.
Порядок допуска к обслуживанию котла.
К обслуживанию котлоагрегата могут быть допущены лица не моложе 18 лет, которые прошли медицинский осмотр, обученные по утверждённой программе для операторов и имеющие соответствующие удостоверение квалификационной комиссии учебно-курсового комбината о сдаче экзамена по этой программе, которые прошли инструктаж по охране труда и стажировку на рабочем месте.
Знания операторов проверяются не реже одного раза в год.
Оператор котельной должен хорошо знать:
строение и работу котлоагрегатов и всего вспомогательного оборудования, которое он обслуживает;
схемы газопроводов (мазутопроводов);
конструкции газогорелочных устройств и границы их регулирования;
правила безопасной эксплуатации котлоагрегатов на газовом (жидком) топливе и вспомогательного оборудования котельной;
инструкции: а) производственную по эксплуатации оборудования;
б) противопожарную;
в) по предупреждению и ликвидации аварий.
Кроме того, он должен знать, кому подчинён, чьи распоряжения обязан выполнять, кого извещать об авариях и неполадках, о пожаре и несчастных случаях.
Оператор котельной должен уметь:
обслуживать котлоагрегаты, газовое и теплотехническое оборудование котельной и следить за их исправностью;
подготавливать котлоагрегаты и тепломеханическое оборудование к работе;
подготавливать газовое оборудование к работе;
включать газовые горелки и поддерживать необходимый режим их работы;
подготавливать систему отопления, проверять исправность резервного питательного и циркуляционного насосов;
проводить продувку парового котла и водоуказательных приборов, проверять предупредительные клапаны и манометры;
очищать топку, газоходы и поверхности нагрева от сажи и накипи;
предупреждать возможные аварии и неполадки в работе оборудования, а в случае их появления быстро принимать меры для их ликвидации;
выключать газовое оборудование и горелки, а также останавливать котёл в плановом и аварийном порядке в соответствии с производственной инструкцией;
экономно расходовать топливо, электроэнергию и воду;
бережно относиться к инструменту и приборам;
пользоваться КИП и устройствами автоматики регулирования и безопасности, проверять их исправность;
пользоваться технической документацией, которая находится на рабочем месте, вести эксплуатационную документацию;
самостоятельно производить небольшие ремонтные работы (набивка сальников, замена прокладок, ремонт отдельных мест изоляции, обмуровки и др.);
оказывать первую доврачебную помощь потерпевшим.
Оператору котельной, находящемуся на дежурстве, запрещается:
выполнять во время работы котла любые другие обязанности, непредусмотренные производственной инструкцией;
оставлять работающие котлы без надзора даже на короткое время или поручать надзор лицам, которые не имеют этого права.
Котёл может быть оставлен без надзора после полного окончания подачи газа и когда в паровом котле давление пара снизится до нуля.
При эксплуатации котельных установок обслуживающий персонал должен руководствоваться производственной инструкцией и режимными картами котлов. Эти документы с приложением оперативной схемы трубопроводов вывешиваются на рабочем месте.
В котельной должны быть часы и телефон.
В котельную не должны допускаться посторонние лица. В необходимых случаях они получают разрешение администрации и сопровождаются её представителем.
11.3. Приём и сдача смены. Режимная карта котла.
Дежурство операторов на котельных осуществляется согласно графика. При приёме смены оператор обязан прийти на работу раньше времени (за 10 ÷ 15 мин.), проверить записи в сменном журнале за предыдущие три смены, ознакомиться с изменениями в эксплуатации основного и вспомогательного оборудования, неполадками и неисправностями.
Оператор, сдающий смену, должен ознакомить сменщика с состоянием и режимом работы оборудования, нагрузкой котлов, с оборудованием которое, находится в резерве и ремонте, проинформировать о том, какие работы проведены, и что ещё нужно сделать.
Оператор, который принимает смену, должен проверить:
исправность освещения (аварийного и во взрывобезопасном исполнении);
работу водоподготовки и уровень воды в деаэраторе;
состояние и положение отключающих устройств, как на работающих котлах, так и находящихся в резерве и ремонте;
отсутствие утечки газа на газопроводах перед котлами и распределительном газопроводе;
уровень воды в паровых котлах по водоуказательным приборам и правильность их работы (методом продувки);
давление пара в котле по манометру, исправность его и наличие пломб;
надёжность действия предохранительных клапанов методом подрыва, наличие пломбы или замка на контрольном клапане;
состояние поверхностей нагрева, которое видно через смотровое окно топки котла: нет ли выпучин, течи, парения и т.п.;
исправность резервных питательных и циркуляционных насосов (методом кратковременного включения);
работу газовых горелок (при необходимости отрегулировать горение);
наличие тяги в топке котла;
состояние и работу тягодутьевых устройств, обратить внимание на уровень и температуру масла в масленых ваннах, нагрев подшипников и наличие стука и шума в работающих дымососах и дутьевых вентиляторах.
Приём и сдача смены оформляются записью в сменном журнале с указанием результатов проверки, и скрепляется подписями принимающего и сдающего и сдающего смену. Первый ставит подпись принимающий, а затем сдающий смену.
Принимать и сдавать смену во время ликвидации аварии в котельной запрещается.
Режимные карты.
Режимные карты работы котлов составляет наладочная организация по результатам проведённых теплотехнических испытаний.
Они вмещают значения параметров, соблюдение которых обеспечивает безопасную и экономичную работу в нужном диапазоне производительности. Испытания должны проводится не реже одного раза в три года.
Режимная карта составляется на 30 %, 50 %, 75 % и 100 % производительности котла и является основным оперативным документом, в соответствии с которым эксплуатационный персонал регулирует работу котла при изменении его производительности. В котельной на каждом котле должен быть дубликат режимной карты с указанием даты её составления, подписанный представителем наладочной организации и утверждённый главным инженером предприятия.
11.4. Подготовка котла к розжигу.
Перед розжигом котла оператор обязан тщательно проверить:
а) наличие распоряжения начальника котельной о розжиге котла, где должно быть указано время розжига, температура воды, которой должен заполнятся котёл, а также продолжительность розжига;
б) исправность топки и газоходов, запорных и регулирующих устройств;
в) исправность контрольно-измерительных приборов, арматуры, гарнитуры, питательных устройств, дымососа и вентилятора;
г) исправность оборудования для сжигания газообразного (жидкого) топлива;
д) заполнение котла водой к отметке нижнего рабочего уровня. Заполнение производить, выпуская воздух;
е) поддержания уровня воды в котле, наличие пропусков её через лючки фланцы и арматуру;
и) нет ли заглушек до и после предохранительных клапанов на паро-, мазуто- и газопроводах, на питательной, спускной и продувочных линиях;
ж) отсутствие в топке и газоходах людей или инородных тел;
з) наличие необходимого давления топлива для работы газовых горелок или мазутных форсунок.
Непосредственно перед розжигом котла необходимо тщательно провентилировать топку и газоходы в течении 10 ÷ 15 мин.
До включения дымососа для вентиляции топки и газоходов котла, который работает на газообразном топливе, нужно убедится в том, что ротор не касается корпуса дымососа, для чего ротор прокручивают вручную.
Перед розжигом котла, при работе на газе необходимо:
проверить исправность газопровода и установленной на нём арматуры (вся запорная арматура на газопроводах должна быть закрыта, а продувочные “свечи” – открыты);
продуть газопровод через продувочную “свечу”, постепенно открывая задвижку на ответвлении газопровода к котлу, после продувки “свечу” закрыть;
убедится в отсутствии утечки газа из газопроводов, газового оборудования и арматуры;
проверить по манометру отсутствие давления газа и воздуха перед горелкой;
отрегулировать тягу разжигаемого котла, установив минимальное разряжение вверху топки на уровне 1 ÷ 1,5 мм. вод. ст.
Перед разжиганием котла, работающие на жидком топливе, температуру топлива нужно привести к величине, установленной инструкцией.
Паровую линию к форсункам необходимо прогреть.
11.5. Розжиг котлов при сжигании газообразного и жидкого топлива.
Котлы разжигают на протяжении времени, установленного администрацией, при слабом огне, уменьшенной тяге, закрытом паровом вентиле и открытом предохранительном клапане или вентиле для выпуска воздуха. Во время розжига котла необходимо обеспечить равномерное прогревание его элементов, а если котлы имеют устройство в нижнем барабане для подогрева воды, то необходимо его включить.
Розжиг газовых горелок.
Розжиг газовых горелок следует проводить в таком порядке:
внести в топку (через лючок) к газовыпускным отверстиям горелки зажжённый запальник;
подать газ, медленно открывая, рабочий" кран (задвижку) перед горелкой и следя, чтобы газ загорелся;
установить давление газа на горелку (30% по режимной карте),
отрегулировать горение (подачей воздуха и регулируя разрежение) по цвету и характеру пламени,
после получения устойчивого факела запальник погасить и удалить из топки.
Если во время розжига пламя запальника или горелки погасло, необходимо немедленно прекратить подачу газа на горелку, запальник погасить и удалить его из топки, провентилировать ее и газоходы на протяжении 10-15 мин. Только после этого можно снова приступить к розжигу горелки.
При
наличии в котле нескольких горелок,
розжиг их осуществляется
последовательно
в таком порядке, чтобы не делать
температурных перекосов в топке.
Если
во время розжига погаснут все или часть
разожженных горелок, следует немедленно
прекратить подачу газа к ним, погасить
за
пальник и вынести его из топки,
провентилировать топку и газоходы
на
протяжении 10-15 мин. Только после этого
можно повторно разжигать горелки.
11.6. Включение котла в работу.
Перед включением котла в работу необходимо выполнить:
а) проверку исправности действия предупредительных клапанов, водоуказательных приборов, манометра и питательных устройств;
б) проверку и включение автоматики безопасности, регулирование и сигнализации;
в) продувку котла.
Запрещается включать в работу котлы с неисправной арматурой, питательными устройствами, автоматикой безопасности и устройствами противоаварийной защиты и сигнализации.
Включение котла в общекотельный паровой коллектор должно осуществляться медленно, после тщательного прогрева и продувки коллектора. Во время прогревания необходимо открыть вентиль на дренажной линии для сброса конденсата. Плавно открывать главный парозапорный вентиль, но не более чем на 50 %. Когда паропровод прогреется, главный парозапорный вентиль открыть полностью.
Во время прогрева следить за исправностью коллектора, его опор, а также за равномерным расширением. При появлении вибрации или резких ударов необходимо прекратить прогревание до устранения выявленных дефектов.
При включении котла в действующий паровой коллектор давление в котле должно быть равно давлению в действующем паропроводе или на 0,5 кгс/см2 меньше, чем давление в паропроводе (коллекторе), при этом горение в топке следует уменьшить. Если в этом случае в паровом коллекторе возникнут толчки или гидравлические удары, необходимо немедленно прекратить включение котла и увеличить продувку общекотельного парового коллектора.
Время начала розжига, и включение котла в работу записывается в сменный журнал.
11.7. Обслуживание котлов во время работы.
Во время дежурства персонал котельной должен постоянно следить за исправностью, как основного, так и вспомогательного оборудования и строго придерживаться установленных режимов работы котлов
Выявленные в процессе работы оборудования неисправности необходимо записывать в сменный журнал. Персонал должен немедленно предпринять меры для устранения неисправностей, которые угрожают безопасной и безаварийной работе оборудования. Если устранить неисправности своими силами невозможно, необходимо известить об этом лицо, ответственное за безопасную эксплуатацию котельной.
Особое внимание во время работы следует обращать на:
а) поддержание нормального уровня воды в котле и равномерного питания его водой. При этом нельзя допускать, чтобы уровень снижался ниже нижнего или поднимался выше высшего допустимых уровней воды в котле;
б) поддержание нормального рабочего давления и температуры пара, вырабатываемого паровым котлом. Повышение давления или температуры выше разрешенных уровней категорически запрещается.
в) поддержание необходимой температуры питательной воды после водяного экономайзера;
г) нормальную работу горелок.
Особое внимание следует уделять исправности оборудования котельной, контрольно-измерительных приборов и системы автоматики.
Проверка исправности действия манометра с помощью трехходового крана или запорного вентиля, который его заменяет, должна проводиться не менее одного раза в смену.
Проверку предохранительных клапанов подрывом нужно осуществлять для котлов с рабочим давлением:
- до 24 кгс/см2 — каждого клапана не меньше, как раз в смену,
Проверку водоуказательных приборов нужно осуществлять продувкой для котлов с рабочим давлением;
- до 24 кгс/см2 — не менее одного раза в смену;
Проверку исправности питательных насосов нужно проводить кратковременным пуском в работу каждого из них для котлов с рабочим давлением:
- до 24 кгс/см2 — в сроки, указанные производственной инструкцией. Все указанные проверки записываются в сменный журнал с указанием времени
При увеличении нагрузки котла, который работает на природном газе, нужно постепенно увеличить сначала подачу газа, потом воздуха и отрегулировать разрежение, а для уменьшения — сначала уменьшить подачу воздуха, потом газа; после чего отрегулировать разрежение
Если котел работает на жидком топливе, то для увеличения нагрузки сначала увеличивают разрежение, потом воздух, а затем подачу мазута (на паровых форсунках перед увеличением подачи мазута увеличивают подачу пара); для уменьшения — сначала уменьшают подачу мазута, (пар для распыления), воздуха, а потом и разрежение.
11.8. Периодическая продувка котла.
Периодическая продувка котла осуществляется через определенный промежуток времени и служит для удаления шлама и грязи из нижних точек: барабана, коллекторов.
Она проводится кратковременно, но с большим выбросом котловой воды, захватывающей при своем движении шлам, находящийся в барабане или коллекторах, и выносит его в так называемый расширитель (барботер), предназначенный для охлаждения котловой воды. Охлаждение осуществляется смешиванием ее с холодной водопроводной водой до температуры 60-70 °С, при которой ее можно выпускать в канализацию.
Периодическую продувку проводят не реже одного раза в смену. При плохом качестве питательной воды по рекомендации лаборанта водоподготовки делают повторную продувку. Продолжительность, и очередность этой операции указывается в производственной инструкции для каждого котла. О проведении продувки предупреждают персонал котельной, а также всех, кто занят ремонтом соседних котлов. При размещении продувочной арматуры возле фронта котла, продувку может выполнять один оператор, а если она находится по бокам и сзади котла, то ее выполняют два оператора. Периодическую продувку выполняют в такой последовательности:
1. Проверяют исправность продувочных линий на ощупь. До первого вентиля труба должна быть горячей, а после второго вентиля - холодной. Арматуру проверяют на легкость вращения маховиков вентилей.
2. Проверяют исправность питательных насосов и наличие достаточного запаса питательной воды.
3. Продувают водоуказательные приборы.
4. Подпитывают котел до верхнего рабочего уровня или на 3/4 по водоуказательному прибору.
5. Уменьшают горение в топке.
6. На линии, которая по инструкции должна продуваться первой, осторожно открывают сначала второй по ходу продувки от котла продувочный вентиль, а потом слегка ослабляют ближний к котлу продувочный вентиль с целью прогрева продувочной линии. После прогрева его осторожно открывают. Второй оператор в это время должен наблюдать за уровнем воды в котле и давлением пара в барабане. В случае появления в продувочных линиях гидравлических ударов, вибрации трубопроводов или других неполадок, продувку нужно прекратить.
7. При снижении уровня воды до нижнего рабочего уровня (по сигналу второго оператора) постепенно закрывают ближний к котлу продувочный вентиль (первый), а потом — второй.
8. Таким же образом продувают остальные линии, наблюдая за уровнем воды.
9. После окончания продувки котла нужно убедиться в надежном закрытии продувочной арматуры и включить котел в нормальную работу.
10. Сделать запись в сменном журнале с указанием времени начала и окончания продувки.
11. Через 30 мин. нужно проверить, насколько плотно закрыта продувочная арматура. Если арматура будет пропускать воду, то следует сообщить об этом начальнику котельной и продолжать следить за уровнем воды в котле.
11.9. Нормальная остановка котлов.
Остановка котлов бывает нормальная — по письменному распоряжению лица, ответственного за котельную, и аварийная, которая проводится без распоряжения с последующим сообщением администрации.
Последовательность нормальной остановки:
- снизить нагрузку котла по возможности в несколько этапов (100%, 75%, 50%, 30%), добиваясь постепенного охлаждения котла и топки;
-выключить газовые горелки — закрыть „рабочий" кран (задвижку) и „контрольный" кран (задвижку), открыть продувочную „свечу" между ними;
- закрыть задвижку на газопроводе перед котлом и открыть продувочную „свечу" газового коллектора котла;
- отключить котел от общекотельного парового коллектора;
если давление в котле поднимается выше допустимого, стравить его через предохранительный клапан в атмосферу;
- по мере необходимости поддерживать уровень воды в котле между высшим и низшим;
- через 10-15 мин. выключить вентилятор и дымосос, дальнейшее охлаждение топки вести естественным путем. Повторная искусственная вентиляция топки разрешается только через 6-8 часов;
- сделать запись в сменном журнале об остановке котла с указанием времени.
Охлаждение котла нужно вести медленно за счет естественного остывания: дверки, лючки и лазы держать закрытыми.
Быстрое охлаждение может привести к нарушению герметичности котла. Спуск воды из котла необходимо выполнять только после падения давления до нуля, снижении температуры до 70-80 °С и остывании кладки обмуровки. Спуск следует делать медленно и при поднятом предохранительном клапане.
После спуска воды устанавливают заглушки на паровых, питательных, продувочных и спускных линиях котлоагрегата, который выключается, для того, чтобы отделить его от других работающих котлоагрегатов. Только после этого можно проводить на нем любые ремонтные работы.
Категорически запрещается оставлять неработающий котлоагрегат присоединенным к общекотельному паровому коллектору, поскольку в этом случае в его барабаны может поступать пар. При этом может появиться протекание воды в швах и вальцовочных соединениях, которое может стать причиной коробления стенок барабана.
11.10. Аварийная остановка котлов.
Котел должен быть немедленно остановлен и отключен действием защиты или персоналом в случаях, предусмотренных производственной инструкцией.
Порядок аварийной остановки котла непременно следует указать в| производственной инструкции. Причины аварийной остановки котла| должны быть записаны в сменном журнале.
Во время аварийной остановки котла необходимо без получения| распоряжения:
а) прекратить подачу топлива и воздух, резко ослабить тягу (закрыть рабочие "контрольные" краны (задвижку) и открыть “свечу” безопасности.);
б) после того, как горение в топке прекращено, открыть на некоторое время дымовую заслонку;
в) отключить котел от главного парового коллектора;
г) если нужно, то пар выпустить через приподнятые предохранительные клапаны, кроме случаев: повышения уровня воды выше верхнего допустимого уровня и прекращения действия всех питательных насосов.
Определение стоимости вырабатываемого тепла.
Основной технико-экономический показатель работы котельной – стоимость вырабатываемой единицы тепловой энергии. Эта величина включает в себя расходы тепла и электроэнергии на собственные нужды котельной. Стоимость 1 Гкал тепла определяется по формуле:
руб/Гкал,
ΣЭ – годовые эксплуатационные затраты в руб,
Q>год> – годовой отпуск тепла в Гкал.
Q>год> = D>расч.>·(i>пар.> – i>пит.вод.>) =
= 108566,515 т/год · (0,6616 – 0,1044) Гкал/т = 60493,3 Гкал/год
D>расч> – годовая выработка пара, т/год.
Годовые эксплуатационные затраты включают в себя следующие статьи затрат: 1.> > Затраты на топливо,
Затраты на оплату труда,
Отчисления на социальные нужды,
Отчисления на социальное страхование,
Амортизационные отчисления,
Отчисления в ремонтный фонд,
Затраты на электроэнергию,
Затраты на использованную воду,
Затраты на использование канализации,
Затраты на технологический транспорт,
Затраты на обслуживание и текущий ремонт газового оборудования,
Материалы и запчасти для текущего ремонта,
Налоги, сборы, платежи, отчисления (дорожный фонд, земельный налог, налог на имущество, налог на прибыль),
Затраты на охрану труда и ТБ,
Затраты на износ МБП,
Проезд в отпуск,
Общехозяйственные расходы,
Необходимая прибыль.
12.1. Затраты на топливо.
Стоимость годового расхода топлива вычисляется по формуле, руб:
Э>топ> = В>год>·С>топ>
В>год> – годовой расход топлива, тыс. м3/год,
С>топ> – тариф на топливо, руб./тыс. м3,
Э>топ> = 8950,958·649,3 = 5811857 руб.
12.2. Затраты на оплату труда.
Для определения затрат на оплату труда необходимо знать нормативную численность рабочих обслуживающих данную котельную установку.
Нормативная численность рабочих рассчитана на основании “Рекомендаций по нормированию труда работников энергетического хозяйства”.
Расчёт нормативной численности операторов:
Нормативная численность за смену: 1,5
Коэф. для паровых котельных: 1,15
Кол- во смен: 4
Коэф. невыходов: 1,15
1,5·1,15·4·1,15 = 7,93
Лаборант ХВО:
Кол-во анализов в смену: до 40
Коэф. на деаэратор: 1,3
Нормативная численность за смену: 0,7
Коэф. невыходов: 1,15
Кол- во смен: 4
1,3·0,7·4·1,15 = 4,186
Обслуживание мазутного хозяйства:
Длительность транспортировки: 1 ÷ 4 суток
Кол-во поступаемого мазута: до 250 м3
Коэф. невыходов: 1,15
Нормативная численность за смену: 1
Кол- во смен: 1
1·1·1,15 = 1,15
Обслуживание насосных установок:
Суммарная производительность насосов: 849 м3/ч
Нормативная численность на 1 насос в смену: 0,14
Кол-во насосов: 13
Кол-во смен: 1
Коэф. невыходов: 1,15
0,14·13·1,15 = 2,09
Обслуживание и ремонт трубопроводов, оборудования и сооружений тепловых сетей:
Условный объём тепловых сетей: V = 8 усл. ед.
0,38 + 0,19·V = 0,38 + 0,19·8 = 1,9
Таблица №3: Определение численности рабочих занятых в текущем и капитальном ремонте оборудования.
|
Оборудование |
Кол. в работе |
Численность на ед. оборудования в сут. чел. |
Поправочный коэффициент. |
Нормативная численность рабочих, сут. чел. |
|||
|
Текущий ремонт |
Кап. ремонт. |
Текущий ремонт |
Капитальный ремонт |
Всего |
|||
|
1. Теплотехническое оборудование: |
|||||||
|
Котлы |
2 |
0,201 |
0,164 |
1 |
0,402 |
0,328 |
0,73 |
|
Запально-защитное устройство |
2 |
0,007 |
0,004 |
1 |
0,014 |
0,008 |
0,022 |
|
Устройства автоматизации и дистанц. розжига горелок. |
2 |
0,016 |
0,009 |
1 |
0,032 |
0,018 |
0,05 |
|
Оборудование водоподготовки диаметром 1500 мм. |
4 |
0,009 |
0,007 |
1 |
0,036 |
0,028 |
0,064 |
|
Баки раствора соли |
2 |
0,007 |
0,004 |
1 |
0,014 |
0,008 |
0,022 |
|
Деаэраторы атмосферные |
1 |
0,025 |
0,02 |
1 |
0,025 |
0,02 |
0,045 |
|
Баки питательные и конденсационные |
4 |
0,004 |
0,003 |
1 |
0,016 |
0,016 |
0,028 |
|
Расходные мазутные баки вместимостью до 16 м3 |
1 |
0,008 |
0,003 |
1 |
0,008 |
0,003 |
0,011 |
|
Фильтры мазутные производительностью до 10 т/ч |
1 |
0,004 |
0,001 |
1 |
0,004 |
0,001 |
0,005 |
|
Горелки газомазутные произв. до 6,5 МВт |
3 |
0,003 |
0,002 |
1 |
0,009 |
0,006 |
0,015 |
|
Газорегуляторный пункт с пилотным регулятором Ø 150 мм |
2 |
0,012 |
0,018 |
1 |
0,024 |
0,036 |
0,06 |
|
Вентиляторы дутьевые центробежные одностороннего всасывания произв. до 12 тыс. м3/ч |
2 |
0,013 |
0,005 |
1 |
0,026 |
0,01 |
0,036 |
|
Дымососы центробежные одностороннего всасывания до 20 тыс. м3/ч |
2 |
0,021 |
0,009 |
1 |
0,042 |
0,018 |
0,06 |
|
Экономайзеры водяные чугунные с обдувочным устройством с поверхностью нагрева до 100 м2 |
2 |
0,01 |
0,01 |
1 |
0,02 |
0,02 |
0,04 |
|
Теплообменники с поверхностью: до 24,4 м2 |
2 |
0,012 |
0,004 |
1 |
0,024 |
0,008 |
0,032 |
|
до 17,2 м2 |
2 |
0,009 |
0,003 |
1 |
0,018 |
0,009 |
0,027 |
|
Вентиляционное оборудование котельной: |
|||||||
|
Вентилятор центробежный |
1 |
0,005 |
0,002 |
1 |
0,005 |
0,002 |
0,007 |
|
Калорифер |
4 |
0,001 |
–– |
1 |
0,004 |
–– |
0,004 |
|
Воздуховоды сечением 0,069 м2 |
20 |
0,002 |
0,001 |
1 |
0,04 |
0,02 |
0,06 |
|
Насосы консольные одноступенчатые давлением 0,7 МПа производит: |
|||||||
|
до 20 м3/ч |
5 |
0,002 |
0,001 |
1 |
0,01 |
0,005 |
0,015 |
|
до 85 м3/ч |
1 |
0,006 |
0,001 |
1 |
0,006 |
0,001 |
0,007 |
|
Насосы сетевые спиральные одноступенчатые для питания водой тепловых сетей давлением до 1,6 МПа производит. до 500 м3 |
1 |
0,028 |
0,01 |
1 |
0,028 |
0,01 |
0,038 |
|
Насосы питательные для воды с температурой до 100 ° С произв. 38 м3/ч |
1 |
0,016 |
0,006 |
1 |
0,016 |
0,006 |
0,022 |
|
Наружные сети: Водопровод из стальной трубы Ø 50 мм |
1 |
0,011 |
0,003 |
1 |
0,011 |
0,003 |
0,014 |
|
Газопровод Ø 200 мм |
0,3 |
0,032 |
0,01 |
1 |
0,01 |
0,003 |
0,013 |
|
Канализация Ø 200 мм |
0,5 |
0,003 |
0,01 |
1 |
0,015 |
0,005 |
0,02 |
|
Внутренние трубопроводы: |
|||||||
|
Паропровод: Ø 125 мм |
0,07 |
0,105 |
0,0035 |
1 |
0,00735 |
0,00245 |
0,0098 |
|
Ø 250 мм |
0,03 |
0,129 |
0,043 |
1 |
0,00387 |
0,00129 |
0,0052 |
|
Трубопровод отопления: Ø 200 мм |
0,04 |
0,105 |
0,035 |
1 |
0,0042 |
0,0014 |
0,0056 |
|
ГВС: Ø 80 мм |
0,06 |
0,047 |
0,015 |
1 |
0,00282 |
0,0009 |
0,0037 |
|
Водопровод: Ø 80 мм |
0,06 |
0,047 |
0,015 |
1 |
0,00282 |
0,0009 |
0,0037 |
|
Конденсатопровод: Ø 50 мм |
0,08 |
0,017 |
0,005 |
1 |
0,00136 |
0,0004 |
0,0018 |
|
Мазутопроводы: Ø 50 мм |
0,02 |
0,017 |
0,005 |
1 |
0,00034 |
0,0001 |
0,0005 |
|
Продувочные линии: Ø 50 мм |
0,1 |
0,029 |
0,009 |
1 |
0,0029 |
0,0009 |
0,0038 |
|
Питательн. трубоп.: Ø 50 мм |
0,07 |
0,029 |
0,009 |
1 |
0,00203 |
0,00063 |
0,0027 |
|
Прочие: Ø 50 мм |
0,05 |
0,029 |
0,009 |
1 |
0,00145 |
0,00045 |
0,0019 |
|
Газопровод: Ø 150 мм |
0,05 |
0,098 |
0,032 |
1 |
0,0049 |
0,0016 |
0,0065 |
|
Краны газовые: Ø 50 мм |
6 |
0,005 |
0,002 |
1,1 |
0,033 |
0,0132 |
0,0462 |
|
Вентили для теплоносителя: |
|||||||
|
пар: Ø 125 мм |
3 |
0,012 |
0,005 |
1,2 |
0,0432 |
0,018 |
0,0612 |
|
Клапаны обратные: Ø 50 мм |
4 |
0,007 |
0,002 |
1,1 |
0,0308 |
0,0088 |
0,0396 |
|
Клапаны предохранительные: Ø 50 мм |
10 |
0,007 |
0,003 |
1 |
0,07 |
0,03 |
0,1 |
|
Клапаны регулирующие, питательные: Ø 50 мм |
6 |
0,017 |
0,006 |
1,1 |
0,1122 |
0,0396 |
0,1518 |
|
Задвижки: Ø 50 мм |
100 |
0,006 |
0,002 |
1,2 |
0,72 |
0,24 |
0,96 |
|
Задвижки: Ø 80 мм |
20 |
0,008 |
0,002 |
1,2 |
0,192 |
0,048 |
0,24 |
|
Задвижки: Ø 100 мм |
20 |
0,012 |
0,005 |
1,2 |
0,288 |
0,12 |
0,408 |
|
Задвижки: Ø 125 мм |
5 |
0,012 |
0,005 |
1,2 |
0,06 |
0,025 |
0,085 |
|
Задвижки: Ø 150 мм |
5 |
0,016 |
0,006 |
1,2 |
0,096 |
0,036 |
0,132 |
|
Задвижки: Ø 200 мм |
5 |
0,02 |
0,008 |
1,2 |
0,12 |
0,048 |
0,168 |
|
Задвижки: Ø 250 мм |
5 |
0,024 |
0,01 |
1,2 |
0,144 |
0,06 |
0,204 |
|
Всего по теплотехническому оборудованию: 4,08 |
|||||||
|
2. Электротехническое оборудование: |
|||||||
|
Электродвигатели напряжением до 600 В, мощность электродвигателя: |
|||||||
|
2,2 кВт |
4 |
0,003 |
0,001 |
1,5 |
0,018 |
0,006 |
0,024 |
|
37 кВт |
1 |
0,01 |
0,004 |
1,5 |
0,015 |
0,06 |
0,075 |
|
41 кВт |
1 |
0,012 |
0,005 |
1,5 |
0,018 |
0,0075 |
0,0255 |
|
7,5 кВт |
1 |
0,005 |
0,002 |
1,5 |
0,0075 |
0,003 |
0,0105 |
|
22 кВт |
3 |
0,007 |
0,003 |
1 |
0,021 |
0,009 |
0,03 |
|
10 кВт |
3 |
0,005 |
0,002 |
1 |
0,015 |
0,006 |
0,021 |
|
30 кВт |
1 |
0,009 |
0,003 |
1 |
0,009 |
0,003 |
0,012 |
|
Трансформаторы, автотрансформаторы и комплектные подстанции. |
2 |
0,009 |
0,038 |
0,4 |
0,0072 |
0,0304 |
0,0376 |
|
Пульт |
3 |
0,003 |
0,001 |
1,6 |
0,0144 |
0,0048 |
0,0192 |
|
Щиты управления |
3 |
0,01 |
0,003 |
1,6 |
0,048 |
0,0144 |
0,0624 |
|
Электроосветительная арматура |
2 |
0,004 |
0,001 |
1,6 |
0,0128 |
0,0032 |
0,016 |
|
Аккумуляторная батарея |
3 |
0,01 |
0,006 |
0,65 |
0,0192 |
0,0117 |
0,0309 |
|
Сварочный аппарат |
1 |
0,009 |
0,003 |
1 |
0,009 |
0,003 |
0,012 |
|
Внутрицеховые сети |
0,2 |
0,018 |
0,004 |
1 |
0,0036 |
0,0008 |
0,0044 |
|
Осветительные сети |
0,11 |
0,04 |
0,01 |
1 |
0,004 |
0,001 |
0,005 |
|
Всего по электротехническому оборудованию: 0,4 |
|||||||
|
3. КИПиА: |
|||||||
|
Самопишущий прибор |
1 |
0,01 |
0,002 |
1 |
0,01 |
0,002 |
0,012 |
|
Манометры типов МЭД |
6 |
0,001 |
–– |
1 |
0,006 |
–– |
0,006 |
|
Дифманометры |
3 |
0,005 |
0,003 |
1 |
0,015 |
0,009 |
0,024 |
|
Сигнализаторы давления |
3 |
0,001 |
0,001 |
1 |
0,003 |
0,003 |
0,006 |
|
Термометры термоэлектрические |
3 |
0,001 |
–– |
1 |
0,003 |
–– |
0,003 |
|
Приборы для измерения расхода и кол-ва |
1 |
0,003 |
0,001 |
1 |
0,003 |
0,001 |
0,004 |
|
Счётчики воды |
2 |
0,001 |
0,001 |
1 |
0,002 |
0,002 |
0,004 |
|
Приборы для измерения и регулирования уровня воды: |
|||||||
|
Уровнемеры |
6 |
0,002 |
0,001 |
1 |
0,012 |
0,006 |
0,018 |
|
Регуляторы уровня |
6 |
0,003 |
0,001 |
1 |
0,018 |
0,006 |
0,024 |
|
Сигнализаторы уровня |
3 |
0,001 |
0,001 |
1 |
0,003 |
0,003 |
0,006 |
|
Вторичные приборы: |
|||||||
|
Логометры щитовые показывающие |
3 |
0,003 |
0,001 |
1 |
0,009 |
0,003 |
0,012 |
|
Миливольтметры |
4 |
0,005 |
0,003 |
1 |
0,02 |
0,012 |
0,032 |
|
Регулятор давления газа |
2 |
0,002 |
0,002 |
1 |
0,004 |
0,004 |
0,008 |
|
Регулят. уровня воды в баках |
3 |
0,002 |
0,001 |
1 |
0,006 |
0,003 |
0,009 |
|
Регуляторы питания для поддержания уровня воды в баках |
3 |
0,003 |
0,008 |
1 |
0,009 |
0,024 |
0,033 |
|
Всего по КИПиА: 0,2 |
Расчёт заработной платы рассчитывается на основании “Положения по оплате труда работников отрасли жилищно-коммунального хозяйства РС (Я)”:
а) Тарифная ставка работника 1-го разряда рассчитывается по следующей формуле: МОТ·К>от> = 645,8·1,12 = 723,3 руб.
МОТ – минимальная оплата труда;
К>от> – отраслевой тарифный коэффициент (12 %);
б) Заработная плата работника без учёта доплат:
МОТ·К>от>·К>т>·К>р>
К>т> – тарифный коэффициент;
К>р> – нормативные выплаты по районному регулированию заработной платы (2,5);
в) Премиальные выплаты:
МОТ·К>от>·К>т>·К>р>·К>прем.>
К>прем.> – коэффициент премиальных выплат (20 %);
г) Выплаты за работу ночью:
МОТ·К>от>·К>т>·К>р>·К>прем.>·К>ноч.>·n/24
К>ноч.> – коэффициент, учитывающий выплаты за работу ночью (40 %);
n – количество часов работы с 22 ч ÷ 6 ч за 24 часа работы;
д) Доплаты за работу во вредных условиях труда:
(МОТ·К>от>·К>т>·К>р> + МОТ·К>от>·К>т>·К>р>·К>прем.>·К>ноч.>·n/24) ·К>вредн.>
К>вредн.> – коэффициент доплат за вредные условия труда (12 %);
Итог заработной платы получается путём суммирования пунктов: “б”, “в”, “г”, “д”.
Заработная плата работников котельной рассчитана в таблице №4.
Таблица №4: “Расчёт заработной платы работников котельной”.
|
Профессия |
Кол. работ-ников |
Разряд |
Тари-фный коэффициент |
Заработная плата работника без учёта доплат на 1-го работника |
Премиальные выплаты на 1-го работника, руб. |
Выплаты за работу ночью на 1-го работника, руб. |
Доплаты за работу во вредных условиях труда на 1-го работника |
Итого за месяц на 1-го работника, руб. |
Годовая заработная плата на численность работников, руб. |
|
Газооператор |
8 |
5 |
2,28 |
4122,81 |
824,56 |
659,65 |
573,9 |
6180,92 |
593368,32 |
|
Лаборант ХВО |
4 |
4 |
2,04 |
3688,83 |
737,77 |
491,84 |
501,68 |
5420,12 |
260165,76 |
|
Слесарь насосных установок |
1 |
5 |
2,28 |
4122,81 |
824,56 |
––– |
494,74 |
5442,11 |
65305,32 |
|
1 |
4 |
2,04 |
3688,83 |
737,7 |
––– |
442,66 |
4869,19 |
58430,28 |
|
|
Слесарь мазутного хозяйства |
1 |
5 |
2,28 |
4122,81 |
824,56 |
––– |
494,74 |
5442,11 |
65305,32 |
|
Газоэлектросварщик |
1 |
5 |
2,28 |
4122,81 |
824,56 |
––– |
494,74 |
5442,11 |
65305,32 |
|
1 |
4 |
2,04 |
3688,83 |
737,7 |
––– |
442,66 |
4869,19 |
58430,28 |
|
|
Дежурный слесарь |
2 |
5 |
2,28 |
4122,81 |
824,56 |
659,65 |
573,9 |
6180,92 |
148342,08 |
|
2 |
4 |
2,04 |
3688,83 |
737,7 |
491,84 |
501,68 |
5420,12 |
130082,88 |
|
|
Слесарь КИПиА |
1 |
5 |
2,28 |
4122,81 |
824,56 |
––– |
494,74 |
5442,11 |
65305,32 |
|
Слесарь по ремонту электротехнического оборудования |
1 |
5 |
2,28 |
4122,81 |
824,56 |
––– |
494,74 |
5442,11 |
65305,32 |
|
Уборщица |
1 |
1 |
1 |
1808,25 |
361,65 |
––– |
216,99 |
2389,89 |
28678,68 |
Итого годовые затраты на оплату труда составляют: 1604,025 тыс. руб
12.3. Отчисления на социальные нужды.
Отчисления на социальные нужды составляют 35,6 % от затрат на оплату труда: 1604,025·0,356 = 571,033 тыс. руб.
12.4. Отчисления на социальное страхование.
Отчисления на социальные страхование составляют 0,4 % от затрат на оплату труда: 1604,025·0,004 = 6,42 тыс. руб.
12.5. Амортизационные отчисления.
|
№ |
Наименование оборудования |
Год ввода в эксплуат. |
Кол. оборуд. |
Полная балансовая стоимость, тыс. руб. |
Амортизационные отчисления на износ |
|
|
Норма в год, % |
Сумма в год, тыс. руб. |
|||||
|
1 |
Здание котельной: 52027 м3, шлакоблок. |
1976г |
1 |
7998 |
2,5 |
200 |
|
2 |
Котлы: ДЕ 10-14 |
1994 |
1 |
136,9 |
12,5 |
17,1 |
|
ДКВР 10-13 |
1976 |
2 |
244,6 |
12,5 |
30,6 |
|
|
3 |
Дымосос |
1976 |
3 |
15,6 |
12,5 |
2 |
|
4 |
Фильтр |
1976 |
4 |
4,5 |
12,5 |
0,6 |
|
5 |
Деаэратор Д4-10 |
1976 |
1 |
50,5 |
12,5 |
6,3 |
|
6 |
Колонка деаэрационная ДА-25 |
2002 |
2 |
86,7 |
12,5 |
10,6 |
|
7 |
Клапан предохранительный. |
2002 |
2 |
4,9 |
12,5 |
0,6 |
|
8 |
Теплообменный аппарат |
2002 |
4 |
424,4 |
12,5 |
53,1 |
|
9 |
Горелка с переходником |
1976 |
2 |
10,7 |
12,5 |
2,6 |
|
10 |
Вентилятор |
––– |
3 |
35,65 |
12,5 |
4,5 |
|
11 |
Насосное оборудование |
––– |
14 |
212,9 |
21,29 |
|
|
12 |
Трубопроводная арматура |
––– |
––– |
54 |
3,7 |
2 |
|
13 |
Электротехническое оборудование: |
|||||
|
Тельфер |
––– |
2 |
3,3 |
10 |
0,33 |
|
|
Токарный станок |
––– |
1 |
27,4 |
6,7 |
1,84 |
|
|
14 |
Электродвигатели асинхронные: |
|||||
|
Эл. двиг. 55/3000 об./мин. |
––– |
1 |
35 |
2,8 |
1 |
|
|
Эл. двиг. 30 кВт |
––– |
1 |
38 |
2,8 |
1,1 |
|
|
15 |
Трансформаторы: |
––– |
2 |
42,6 |
4 |
1,7 |
|
Пульт |
––– |
3 |
18,4 |
3,7 |
0,7 |
|
|
16 |
Электросварочное оборудование: |
|||||
|
Сварочный аппарат |
––– |
1 |
11 |
16,7 |
0,3 |
|
|
Двигатель 30 кВт |
––– |
1 |
38 |
6,6 |
2,5 |
|
|
17 |
Прибор для учёта газа Дигитайзер |
––– |
1 |
10 |
3,1 |
0,31 |
|
18 |
Сигнализатор СОУ-1 |
––– |
1 |
10 |
3,1 |
0,31 |
|
Итого амортизация составляет 361,4 тыс. руб. |
12.6. Отчисления в ремонтный фонд (капитальный ремонт).
Отчисления в ремонтный фонд вычисляются на основании графиков капитальных ремонтов и составляют 537,9 тыс. руб.
12.7. Затраты на электроэнергию.
Затраты на электроэнергию вычисляются по следующей формуле:
Э>эл. эн. >= N·С>эл. эн.>
С>эл. эн> – тариф на электроэнергию;
N>год> – годовая суммарная мощность электродвигателей, электромеханизмов, приборов КИП и автоматики:
N>год> =
«кВт»
–
годовая
суммарная мощность электродвигателей
насосов, кВт;
–
годовая
суммарная мощность электродвигателей
дымососов, кВт;
–
годовая
суммарная мощность электродвигателей
вентиляторов, кВт;
–
прочие
годовые затраты электроэнергии (затраты
электроэнергии на электроосвещение,
на КИП и автоматику, на электросварочное
оборудование и т.п.) , кВт.
Годовая
суммарная мощность электродвигателей
насосов вычисляется по формуле, кВт: 
N>насос> – часовая мощность данного насоса, кВт;
n – количество дней в году работы данного оборудования;
z – число часов в сутки работы данного электродвигателя;

Годовая
суммарная мощность электродвигателей
дымососов вычисляется по формуле: 
N>дым.> – часовая мощность дымососа, кВт;

Годовая
суммарная мощность электродвигателей
вентиляторов вычисляется по формуле:

N>дым.> – часовая мощность вентиляторов, кВт;

Прочие
годовые затраты электроэнергии
составляют:

N>год> = 624441,8 + 338448 + 153840 + 410080 = 1526810 кВт
Э>эл. эн. >= 1526810·2,34 = 3572735,4 руб.
12.8. Затраты на использованную воду.
Э>вод.> = G>вод.>·С>вод.>
G>вод.> – годовой расход воды из городского водопровода, м3;
С>вод.> – тариф на воду, руб/м3;

–
расход
сырой воды на технологические нужды,
м3;

–
расход
сырой воды на технологические нужды в
зимний период, м3/ч;
–
расход
сырой воды на технологические нужды в
летний период, м3/ч;
n>о> – продолжительность отопительного периода, м3;

–
расход
сырой воды на бытовые нужды котельной,
м3:
а) Расход сырой воды на ХВС: – 24 чел.
– 185 л/сут.
24·0,185·365 = 1621 м3/год.
б) Расход сырой воды на мытьё полов: – 840 м2,
– 4,2 л/м2,
840·4,2·365 = 1288 м3/год.


Э>вод.> = 200569·10,5 = 2105975 руб.
12.9. Затраты на использование канализации.
Э>кан.> = G>кан.>·С>кан.>
G>кан> – годовой сброс воды в канализацию, м3;
С>кан> – тариф на 1 м3 сбрасываемой в канализацию воды, м3/руб.,

–
годовой
расход продувочной воды, м3;
–
годовой
сброс воды от хозяйственно-бытового
потребления в котельной: – расход сырой
воды на ХВС: 1621 м3/год,
– 50 % от мытья полов: 644 м3/год,
– расход воды на ГВС: – 24 чел,
– 65 л/сут,
24·0,065·350 = 546 м3/год,

–
годовой
расход воды на регенерацию ХВО, м3:

–
расход
сырой воды на ХВО в зимний период, м3/ч;
–
расход
сырой воды на ХВО в летний период, м3/ч;
n>о >– продолжительность отопительного периода;
K>ХВО> – коэффициент учитывающий долю сырой воды на регенерацию ХВО,


Э>кан.> = 25280·12,73 = 321,81 тыс. руб.
12.10. Затраты на технологический транспорт.
|
Вид транспорта |
Объём выполняемых работ, маш. час |
Стоимость 1 маш/час, руб. |
Затраты, тыс. руб. |
|
КаВз 10А, сах. |
2400 |
151,13 |
362,7 |
|
КаМаз полуприцеп. |
240 |
290,09 |
69,6 |
|
Автокран КаМаз |
120 |
350 |
42 |
|
Итого затраты на технологический транспорт: 474,3 тыс. руб. |
12.11. Затраты на обслуживание и текущий ремонт газового оборудования.
Затраты на обслуживание и текущий ремонт газового оборудования составляются на основании договоров с организацией обслуживающей газовое оборудование и на 2003г. составляют 35,5 тыс. руб.
12.12. Материалы и запчасти для текущего ремонта.
Затраты на материалы и запчасти для текущего ремонта вычисляют на основании смет и дефектных ведомостей на затраченные материалы:
а) стоимость материала: 1774,3 тыс. руб.
б) транспортные расходы: 248,4 тыс. руб.
Итого затраты на материалы и запчасти для текущего ремонта составляют: 2022,7 тыс. руб.
12.13. Налоги, сборы, платежи и отчисления.
а) Дорожный налог составляет 1 % от суммы пунктов с 12.1 по 12.12:
17425,655·0,01 = 174,257 тыс. руб.
б) Земельный налог рассчитывается в зависимости от ставки на занимаемую площадь, при этом надо учитывать льготу для коммунальных предприятий (70 %).
Земельный налог составляет: 7,9 тыс. руб.
12.14. Затраты на охрану труда и ТБ.
В затраты на охрану труда и технику безопасности входят: затраты на спец. одежду; спец. питание для работников с вредными условиями труда и т.п. По плану на 2003 год они составляют 99,1 тыс. руб.
12.15. Затраты на износ МБП.
Затраты на износ малоценных и быстроизнашивающихся предметов составляют в год: 27,8 тыс. руб.
12.16. Проезд в отпуск.
Проезд в отпуск (ПО) рассчитывается исходя из стоимости проезда до Москвы и обратно:

n – численность работающего персонала.
12.17. Общехозяйственные расходы.
В общехозяйственные расходы входят затраты на АУП, а именно: заработная плата административно-управленческого персонала; проезд в отпуск; затраты электро, теплоэнергии; амортизация основных фондов и т.д. В год затраты на АУП составляют 1392,5 тыс. руб.
12.18. Необходимая прибыль.
П = Э>себ.>·P>пр>·0,01
Э>себ.> – себестоимость вырабатываемого тепла, тыс. руб.;
Себестоимость вырабатываемого тепла вычисляется путём суммы затрат пунктов с 12.1 по 12.17.
P>пр> – необходимая прибыль, %.
П = 19199,212·0,6·0,01 = 115,1953 тыс. руб.
Итого годовые обще эксплуатационные затраты составляют:
ΣЭ = 19314,4073 тыс. руб.
Стоимость 1 Гкал равна:

Итого стоимость 1 Гкал вырабатываемого тепла равна 319,3 руб.
Таблица расчёта стоимости тепловой энергии.
|
Статьи затрат |
Ед. измер. |
Затраты |
На 1 Гкал в руб. |
На 1 Гкал в %. |
|
1. Затраты на топливо |
тыс. руб. |
5811,857 |
96,07 |
30,09 |
|
2. Затраты на оплату труда |
тыс. руб. |
1604,025 |
26,52 |
8,305 |
|
3. Отчисления на социальные нужды |
тыс. руб. |
571,033 |
9,44 |
2,957 |
|
4. Отчисления на социальное страхование |
тыс. руб. |
6,42 |
0,11 |
0,033 |
|
5. Амортизационные отчисления |
тыс. руб. |
361,4 |
5,97 |
1,871 |
|
6. Отчисления в ремонтный фонд |
тыс. руб. |
537,9 |
8,89 |
2,785 |
|
7. Затраты на электроэнергию |
тыс. руб. |
3572,735 |
59,06 |
18,5 |
|
8. Затраты на использованную воду |
тыс. руб. |
2105,975 |
34,81 |
10,904 |
|
9. Затраты на использование канализации |
тыс. руб. |
321,81 |
5,32 |
1,666 |
|
10. Затраты на технологический транспорт |
тыс. руб. |
474,3 |
7,84 |
2,456 |
|
11. Затраты на обслуживание и текущий ремонт газового оборудования |
тыс. руб. |
35,5 |
0,59 |
0,184 |
|
12. Материалы и запчасти для текущего ремонта |
тыс. руб. |
2022,7 |
33,44 |
10,47 |
|
13. Налоги, сборы, платежи, отчисления (дорожный фонд, земельный налог, налог на имущество, налог на прибыль) |
тыс. руб. |
182,157 |
3,01 |
0,943 |
|
14. Затраты на охрану труда и ТБ |
тыс. руб. |
99,1 |
1,64 |
0,513 |
|
15. Затраты на износ МБП |
тыс. руб. |
27,8 |
0,46 |
0,144 |
|
16. Проезд в отпуск |
тыс. руб. |
72 |
1,19 |
0,373 |
|
Итого прямые затраты |
тыс. руб. |
17806,712 |
||
|
17. Общехозяйственные расходы |
тыс. руб. |
1392,5 |
23,02 |
7,21 |
|
Итого себестоимость |
тыс. руб. |
19199,212 |
||
|
18. Необходимая прибыль |
тыс. руб. |
115,1953 |
1,9 |
0,596 |
|
Итого годовые обще эксплуатационные затраты |
тыс. руб. |
19314,4073 |
||
|
Стоимость 1 Гкал вырабатываемого тепла |
руб. |
319,3 |
13. Технико-экономические показатели работы котельной.
|
№ |
Показатель |
Ед. изм. |
Значение |
|
1 |
Удельный расход газа на 1 Гкал выробатываемого тепла |
м3/Гкал |
147 |
|
2 |
Удельный расход газа на 1 т пара |
м3/т |
82,45 |
|
3 |
Удельный расход электроэнергии на 1 Гкал |
кВт/Гкал |
25,24 |
|
4 |
Удельный расход электроэнергии на 1 т пара |
кВт/т |
14,6 |
|
5 |
Удельный расход водопроводной (сырой) воды на 1 Гкал |
м3/Гкал |
3,32 |
Содержание.
стр.
Введение………………………………………………………………………. 3
Расчёт тепловой схемы:
2.1. Описание тепловой схемы…………………………………………. 4
2.2. Исходные данные для расчёта тепловой схемы………………….. 6
2.3. Расчёт тепловой схемы…………………………………………….. 7
График центрального качественного регулирования для системы отопления и вентиляции……………………………………………………… 12
График годового расхода теплоты…………………………………………... 14
График годового расхода пара……………………………………………….. 15
Расчёт расхода топлива……………………………………………………… 18
Выбор оборудования котельной:
Котлы………………………………………………………………... 20
Насосы………………………………………………………………. 22
Водоподогреватели…………………………………………………. 26
Водоподготовка:
ХВО…………………………………………………………... 28
Деаэратор……………………………………………………. 32
Тягодутьевые машины……………………………………………... 33
Топливоподача……………………………………………………………….. 35
Автоматика……………………………………………………………………. 40
Монтаж деаэратора………………………………………………………….. 44
Эксплуатация основного и вспомогательного оборудования:
11.1. Основные сведения об организации эксплуатационного обслуживания котельных………………………………………………… 46
11.2. Права и обязанности оператора котельной.
Порядок допуска к обслуживанию котла………………………………. 46
11.3. Приём и сдача смены. Режимная карта котла…………………….. 48
11.4. Подготовка котла к розжигу……………………………………….. 49
11.5. Розжиг котлов при сжигании газообразного
и жидкого топлива……………………………………………………... 50
11.6. Включение котла в работу…………………………………………. 51
11.7. Обслуживание котлов во время работы…………………………... 52
11.8. Периодическая продувка котла……………………………………. 53
11.9. Нормальная остановка котлов……………………………………. 54
11.10. Аварийная остановка котлов…………………………………….. 55
Определение стоимости вырабатываемого тепла…………………………. 56
Технико-экономические показатели работы котельной…………………... 68
Список используемой литературы:…………………………………………….. 69
Список используемой литературы:
1. СНиП 2.35-75 “Котельные установки”.
СНиП 2.04.07-86 “Тепловые сети”.
СНиП 41.101-95 “Проектирование тепловых пунктов”.
СНиП 23-01-99 “Строительная климатология”.
Эстёркин Р.И. “Котельные установки. Курсовое и дипломное проектирование”, 1989 г. Энергоатомиздат.
“Справочник по котельным установкам малой производительности”. К.Ф. Родатис, А.Н. Полтарецкий. Энергоатомиздат. 1989г.
Днепров Ю.В. “Монтаж котельных установок малой и средней мощности”. 1985 г.
Гусев Ю.Л. “Основы проектирования котельных установок”. 1972 г.
Ривкин С.Л. и др. “Теплофизические свойства воды и водяного пара”. 1980 г.
Зыков А.К. “Паровые и водогрейные котлы”. 1987 г.
“Паровые котлы типа Е (ДКВР): техническое описание, инструкция по монтажу и эксплуатации котлов”. Министерство энергетического машиностроения Бийский котельный завод.
Смолянов Л.С. “Инженерное оборудование коммунально-бытовых предприятий”.
Соколов Е.Я. “Теплофикация и тепловые сети”: Учебник для вузов. – 5-е изд. перераб. – М.: Энергоиздат, 1982 г. 360 с. ил.
Рекомендации по нормированию труда работников энергетического хозяйства; часть 1: Нормативы численности рабочих котельных установок и тепловых сетей (переиздание). Москва 2000 г.
Положение по оплате труда работников отрасли жилищно-коммунального хозяйства РС (Я). 2002 г.
“Единый тарифно-квалификационный справочник работ и профессий рабочих”. Утвержденный Постановлением Государственного комитета СССР по труду и социальным вопросам и ВЦСПС от 16.01.85г. №17/2-54.
Пояснение к проекту.
В дипломном проекте я рассчитал котельную установку ГУП ФАПК “Якутия” расположенную в г. Якутске. Она предназначена для отопительно-производственных целей и оборудована тремя паровыми котлами паропроизводительностью 10 т/ч каждый: два кола марки ДКВР-10-13 и один котёл марки ДЕ-10-14.
Котельная вырабатывает насыщенный пар с рабочим давлением 0,8 МПа.
Тепловая нагрузка котельной с учетом потерь тепла в паропроводах и наружных тепловых сетях при максимально-зимнем режиме составляет: на производство 4,2 Гкал/ч; на отопление и вентиляцию 5,3 Гкал/ч; на горячее водоснабжение 0,61 Гкал/ч.
Котельная работает на природном газе Мастахского месторождения.
Тепловая схема.
Насыщенный пар из котлов с рабочим давлением Р = 0,8 МПа поступает в общую паровую магистраль котельной, из которой часть пара отбирается на оборудование установленное в котельной, а именно на: подогреватель сетевой воды; подогреватель горячей воды; деаэратор. Другая часть пара направляется на производственные нужды предприятия.
Конденсат от производственного потребителя, возвращаемый в размере 30 %, самотёком стекает в конденсатосборник и далее конденсатным насосом направляется в бак горячей воды для нужд ГВС.
Подогрев сетевой воды для нужд отопления и вентиляции, также как и подогрев горячей воды, производится паром в последовательно включённых двух подогревателях, при этом подогреватели работают без конденсатоотводчиков, отработанный конденсат направляется в деаэратор.
В деаэратор, также поступает химически очищенная вода из ХВО, восполняющая потери конденсата.
Подпитка котлов осуществляется химически очищенной, деаэрированной водой с температурой 104 оС. Насосом сырой воды вода из городского водопровода направляется на ХВО и в бак горячей воды. Умягчённая, до жёсткости 0,02 мг-экв/кг, вода от ХВО направляется в деаэратор. Освобождённая от кислорода и двуокиси углерода хим. очищенная вода питательным насосом нагнетается в экономайзеры и далее поступает в котлы.
Для поддержания требуемого качества котловой воды предусмотрена периодическая продувка, которая осуществляется из нижних коллекторов и нижнего барабана. Продувочная вода при этом направляется в барботер.
Система теплоснабжения, для нужд отопления и вентиляции, закрытая. Регулирование качественное по отопительному графику с температурой 95 – 70 оС. Сетевыми насосами вода из обратной тепловой сети нагнетается в пароводяные водоподогреватели и далее поступает в подающую сеть системы теплоснабжения.
Подпитка тепловой сети осуществляется подпиточными насосами, которые забирают воду из бака горячей воды и подают её в обратную тепловую сеть.
Система горячего водоснабжения – двухтрубная. Циркуляционными насосами ГВС вода из бака горячей воды нагнетается в пароводяные водоподогреватели ГВС. Нагретая до 60 оС вода направляется в систему горячего водоснабжения потребителя. В часы минимального водозабора горячая вода возвращается в бак горячей воды по циркуляционной линии.
Планы, разрезы.
Как видно из планов и разрезов котельная состоит из 3-х этажей, при этом котлы расположены на 2-м этаже, т.е на отметке 0,000. Также на этой отметке расположено тягодутьевое оборудование, оборудование водоподготовки и основные насосы.
На отметке 4,600 расположены подогреватели сетевой воды и газораспределительная установка.
На отметке 6,000 расположен деаэратор, водоподогреватели ГВС, бак горячей воды и циркуляционный насос ГВС.
На первом этаже котельной расположен бак для сбора конденсата, конденсатный насос и барботер.
Схема Na – катионирования.
В данной котельной установке применена двухступенчатая Na – катионитовая установка, которая состоит из 4-х фильтров, 2-а из которых являются резервными.
На время регенерации катионитовые фильтры поочерёдно выключают из работы.
График годового расхода пара.
Из графика видно, что нагрузка производственного потребителя в течение года постоянна и не зависит от температуры наружного воздуха.
Нагрузка на подогреватель ГВС также не зависит от температуры наружного воздуха, но в летний период она меньше.
Нагрузка на подогреватель сетевой воды зависит от температуры наружного воздуха и при температуре выше +8, равна нулю.
Диаграмма затрат на 1 Гкал выработанного тепла.
В дипломном проекте я рассчитал стоимость 1 Гкал выработанного тепла, которая определяется путём деления годовых обще эксплуатационных затрат на годовой отпуск тепла.
Годовые обще эксплуатационные затраты складываются из: затрат на топливо; затрат на использование электроэнергии, воды, канализации; из затрат на оплату труда; отчисления от заработной платы на социальные нужды; затрат на амортизацию; затрат на капитальный и текущий ремонт; затрат на административно-управленческий персонал; а также содержат в себе налоги и прибыль.
Как видно из диаграммы затраты на топливо являются наибольшими и составляют 30 % от всех затрат. Они определяются исходя из тарифа на газ и годового расхода топлива.
Затраты на электроэнергию составляют 18,5 % от всех затрат. Они определяются исходя из мощностей электродвигателей оборудования и тарифа на электроэнергию.
Затраты на использование воды составляют 10,9 %. Они определяются исходя из годового расхода водопроводной воды и тарифа на воду.
Материалы и запчасти для текущего ремонта составляют 10,47 % от всех затрат. Они определяются исходя из смет и дефектных ведомостей на затраченные материалы.
Затраты на оплату труда я рассчитал на основании “Положения по оплате труда работников отрасли жилищно-коммунального хозяйства Республики Саха (Якутия)”, который базируется на отраслевом тарифном соглашении. На основании этого соглашения тарифная ставка работника ЖКХ повышается на 12 %. Заработная плата конкретного работника определяется в зависимости от сложности выполняемых работ, определяемых тарифно-квалификационными характеристиками. Данную котельную обслуживают 24 работника и в год затраты на оплату труда составляют 8,3 % от всех затрат. (1600 тыс. руб.)
Отчисления на амортизацию вычисляются исходя от годовой нормы амортизации и балансовой стоимости оборудования.
Прибыль составляет 0,6 % от себестоимости.
Амортизация есть денежное выражение физического и морального износа основных фондов. Амортизация осуществляется в целях полной замены при их выбытии.
В связи с жизненно важным значением тепловой энергии для населения прибыль регулируется Правительством.
Итого годовые обще эксплуатационные затраты составляют 19314 тыс. руб.
Цена реализации 1 Гкал составляет 319 руб. 30 коп.
Overview
Диаграмма1 (2)Диаграмма1
Диаграмма2
Диаграмма3
Диаграмма4
Лист3
Диаграмма4 (2)
Sheet 1: Диаграмма1 (2)
Sheet 2: Диаграмма1
Sheet 3: Диаграмма2
|
Sheet 4: Диаграмма3
|
Sheet 5: Диаграмма4
|
Sheet 6: Лист3
| Таблица №1 | |||
| Затраты на топливо | 30,09 | ||
| Затраты на оплату труда | 8,305 | ||
| Отчисления на социальные нужды | 2,957 | ||
| Отчисления на социальное страхование | 0,033 | 0,033 | |
| Амортизационные отчисления | 1,871 | ||
| Отчисления в ремонтный фонд | 2,785 | ||
| Затраты на электроэнергию | 18,5 | ||
| Затраты на использованную воду | 10,904 | ||
| Затраты на использование канализации | 1,666 | ||
| Затраты на технологический транспорт | 2,456 | ||
| Затраты на обслуживание и текущий ремонт газового оборудования | 0,184 | ||
| Материалы и запчасти для текущего ремонта | 10,47 | ||
| Налоги, сборы, платежи, отчисления | 0,943 | ||
| . Затраты на охрану труда и ТБ | 0,513 | ||
| Затраты на износ МБП | 0,144 | ||
| Проезд в отпуск | 0,373 | ||
| Общехозяйственные расходы | 7,21 | ||
| Необходимая прибыль | 0,596 | ||
| Сумма: | 0,033 | ||
| Таблица №2 по убыванию процентов. | |||
| Затраты на топливо | 30,09% | 1 | |
| Затраты на электроэнергию | 18,50% | 2 | |
| Затраты на использованную воду | 10,90% | 3 | |
| Материалы и запчасти для текущего ремонта | 10,47% | 4 | |
| Затраты на оплату труда | 8,31% | 5 | |
| Общехозяйственные расходы | 7,21% | 6 | |
| Отчисления на социальные нужды | 2,96% | 7 | |
| Отчисления в ремонтный фонд | 2,79% | 8 | |
| Затраты на технологический транспорт | 2,46% | 9 | |
| Амортизационные отчисления | 1,87% | 10 | |
| Затраты на использование канализации | 1,67% | 11 | |
| Налоги, сборы, платежи, отчисления | 0,94% | 12 | |
| Необходимая прибыль | 0,60% | 13 | |
| Затраты на охрану труда и ТБ | 0,51% | 14 | |
| Проезд в отпуск | 0,37% | 15 | |
| Затраты на обслуживание и текущий ремонт газового оборудования | 0,18% | 16 | |
| Затраты на износ МБП | 0,14% | 17 | |
| Отчисления на социальное страхование | 0,03% | 18 |
Sheet 7: Диаграмма4 (2)
|
>
>



