Продольно-резательный станок производительностью 350 т/сутки
АННОТАЦИЯ
В дипломном проекте приведен анализ существующих конструкций продольно-резательных станков для картоноделательных машин и рассмотрены следующие основные вопросы:
конструкции продольно – резательных станков;
существующие схемы продольно – резательных станков;
механизмы продольной резки;
компоновка и привод продольно – резательных станков.
В проекте предложен вариант продольно – резательного станка с нижней заправкой полотна картона.
В ходе разработки проекта были произведены технологические и конструктивные расчеты, разработана автоматизированная пневматическая схема регулирования плотности намотки рулонов, разработаны мероприятия по безопасности объекта (разработана схема отсоса пыли от ножей и произведен расчет пневмотранспорта отходов от ПРС), а также приведен расчет экономической эффекта от внедрения проектируемого продольно – резательного станка в производство.
Дипломный проект сопровожден необходимыми чертежами, выполненными в соответствие с существующими ГОСТами.
СОДЕРЖАНИЕ
Введение ………………………………………………………….. 3
Технико-экономическое обоснование проекта ………..…... 10
Технологические расчеты ...…………………...……………… 44
Конструктивные расчеты ………………….……….………….. 49
Автоматизация ………………………………….…………….… 70
Экономическая часть …..….…………………………………… 75
Безопасность объекта …………………..……………………... 79
Перечень используемой литературы ……...……...………… 90
1. ВВЕДЕНИЕ
Лесная и целлюлозно-бумажная промышленность является важной "экспортной" составляющей российской экономики. Пройдя через нелегкий этап структурной трансформации в период 1991 - 1996 г.г., лесная и целлюлозно-бумажная отрасль России в настоящее время выходит на новый этап качественного развития. Предприятия целлюлозно-бумажной промышленности России в 2000 году произвели 3,4 млн. тонн бумаги, что на 12,5% больше, чем в 1999 году. При этом объем производства картона составил 1,9 млн. тонн (21,4%). На целлюлозо-бумажную отрасль приходится 63% прибыли лесопромышленного комплекса России. При этом рентабельность отрасли в 2000 году составила 42%. Как заявляют в Минпромнауки, увеличение объемов производства произошло в связи с ростом российской промышленности в целом, что повлекло за собой повышение спроса на упаковку. По этой причине загрузка мощностей в целлюлозно-бумажной промышленности в прошлом году увеличилась на 3—5% по сравнению с 1999 годом и достигла 75%. Помимо того, немаловажную роль сыграла благоприятная конъюнктура мировых цен, которые в прошлом году превышали в среднем на 5% цены 1999 года. Согласно прогнозам экспертов министерства, темпы роста объемов производства в текущем году должны замедлиться, поскольку сейчас намечается тенденция к снижению цен на целлюлозу и картон. Тем не менее, аналитики ожидают, что в целом по отрасли рост производства превысит 10%. Как сообщили в пресс-службе компании "Илим Палп Энтерпрайз", в 2002 году эта лесопромышленная корпорация планирует увеличить производство товарной продукции на 37,2% до 2 млн. 182 тыс. тонн. Объем варки целлюлозы должен возрасти на 41% по сравнению с показателем 2001 года и составить 2 млн. 151 тыс. тонн. Увеличение выпуска товарной продукции и объема варки целлюлозы связано с тем, что в начале 2002 года в корпорацию "Илим Палп Энтерпрайз" вошел Усть-Илимский ЛПК, который в 2002 году должен выпустить 533 тыс. тонн товарной продукции, а объем варки целлюлозы составит 572,9 тыс. тонн.
Для справки: ЗАО "Илим Палп Энтерпрайз" (Санкт-Петербург) зарегистрировано 30 апреля 1992 года. Сейчас в корпорацию входят "Котласский ЦБК", "Братский ЛПК", "Санкт-Петербургский картонно-полиграфический комбинат", "Усть-Илимский ЛПК" и 42 лесозаготовительных предприятия. Ежегодный объем лесозаготовки составляет 8 млн. кубических метров. На предприятиях, входящих в ЗАО "Илим Палп Энтерпрайз", производится 61% российской целлюлозы и 77% коробочного картона.
Картонная тара – это один из стабильно растущих сегментов на рынке упаковки, что подразумевает многообразие различных упаковок, начиная c индивидуальной упаковки (коробки для шоколадных конфет, печенья, пачки сигарет) и заканчивая транспортной упаковкой (картонные коробки, ящики). Сегодня, во время социально-этического, индивидуализированного маркетинга, когда большое внимание уделяется не только качеству товара, но и качеству упаковки товара, ее дизайну, эргономичности, экологической чистоте, информативности и т.д., спрос на качественную потребительскую и транспортную картонную тару среди отечественных производителей интенсивно растет. Тем более что картон и бумага являются наиболее распространенными упаковочными материалами, как в нашей стране, так и во многих европейских странах. Например, в Германии доля картонной и бумажной тары среди упаковочных материалов составляла в 1995 году около 40%, в России в 1998 году – около 38%.
Картонная тара является продуктом лесной, деревообрабатывающей и целлюлозно-бумажной промышленности, поэтому целесообразно обратиться к данным по развитию производства в этой сфере. На рис. 1 видна динамика производства лесной, деревообрабатывающей и целлюлозно-бумажной промышленности за январь-сентябрь 2001 года. Спад производства произошел только в феврале месяце на 1,7%. Средний рост производства за январь-сентябрь 2001 года по сравнению с аналогичным периодом 2000 года составил 2,5%. Минэкономразвития и торговли РФ прогнозирует рост производства продукции этой отрасли на 2001 год – 3,9%, на 2002 год – 4,2%.

Данные Госкомстат РФ.
Но в таких отраслях, как лесозаготовительная и деревообрабатывающая за эти три квартала произошел спад производства на 1,9 и 1,5% соответственно. Тогда как целлюлозно-бумажная отрасль показала особенно хорошие результаты – увеличение производства на 8,2%. Недаром она приносит около 63% прибыли всей отрасли, являясь одной из наиболее рентабельных отраслей лесоперерабатывающего комплекса. Перспективным для этой отрасли является и внутренний рынок, как уже было сказано, растет спрос на картонную тару со стороны отечественных производителей, так и мировой рынок. Хотя последние тенденции мирового рынка целлюлозно-бумажной продукции несколько тревожны, еще с прошлого года цены на продукцию этой отрасли на мировом рынке снижаются. Тем не менее, на экспорт производится до 2/3 всей произведенной продукции.
Н
а
рис. 2 отражена товарная структура
целлюлозно-бумажной отрасли и динамика
производства по каждому товарному
направлению за три квартала 2001 года по
сравнению с данными аналогичного периода
2000 года (источник - Госкомстат РФ).
Данные Госкомстат РФ.
Производство картонных ящиков возросло на 18,5% и составило 93,7 млн. кв. м., темпы роста производства картонной тары превысили темпы роста картона в целом: производство картонной тары увеличилось на 16,6%, что составило 126 тыс. тонн.
В целом за этот период было произведено картона на 13,5% больше, чем за аналогичный период прошлого года, тогда как Минэкономразвития РФ прогнозирует рост производства картона в 2002 году – на 11% (рис.3).

На внутреннем рынке в соответствии со спросом, растет и предложение картонной тары. Причем, аналитики прогнозируют и дальнейший рост производства. Наиболее крупные производственные центры этой продукции сосредоточены в Архангельской области, Алтайском и Красноярском краях - районах с оптимальным сочетанием производственного и сырьевого комплекса.
Но вместе с ростом спроса на картонную тару повышаются требования клиентов к ее качеству. Высокие стандарты качества характерны и для мирового рынка, где с падением спроса, показатель качества стал особенно актуален. Также растет спрос на качественную картонную тару и на российском рынке. Естественно, требования со стороны клиентов зависят от вида картонной упаковки, например, более высокие требования предъявляются к индивидуальным упаковкам, здесь играет роль и толщина картона, его цвет, однородность, возможность нанесения краски.
Основываясь на вышесказанном, можно прогнозировать дальнейшее динамичное развитие целлюлозно-бумажной отрасли в целом и сектора картонной тары в частности. А как следствие увеличения сегмента рынка картонной тары можно ожидать повышение рентабельности предприятий, работающих в этом направлении, и их инвестиционной привлекательности.
Несмотря на то, что в последнее время наблюдается вытеснение упаковочных картонов полимерными материалами, в некоторых сегментах отрасли картоны по-прежнему остаются незаменимыми, в силу своих преимуществ, таких как, возможность декорирования и конструирования, небольшой вес, прочность. Картоны сравнительно недороги, а главное, универсальны.
Картонная потребительская тара остается, в России, высокоэффективным видом упаковки, и поэтому за последние несколько лет производство коробочного картона в Российской Федерации увеличилось в 3,5 раза.
Коробочный картон - это второй (после гофрокартона) вид картона, входящий в группу тароупаковочного картона. Коробочный картон - это массовый вид картона, однако, его доля в общем объёме производства картона всех видов ниже, чем у гофрокартона (64%) и составляет около 18%. Вместе с тем, в ценностном выражении доля коробочного картона сопоставима с гофрокартоном. Коробочный картон используется для изготовления потребительской тары. Отдельные марки коробочного картона могут использоваться для изготовления прокладок и решеток в картонные ящики. Для того чтобы обеспечить высокое качество упаковки необходимо строго соблюдать технологию изготовления полуфабриката на всех участках его производства.
Сырьем для изготовления картона является беленая целлюлоза, макулатура или другие волокнистые полуфабрикаты, процентное соотношение для сырья может быть различным, в зависимости от марки изготовляемого картона.
Основная наматываемая продукция картон хром – эрзац макулатурный, предназначенный для изготовления коробок, пачек и другой потребительской тары с многокрасочной печатью и без нее, выпускается по ТУ 13-0281020-97-90 и коробочный картон для изготовления коробок без печати по ТУ 13-028-1020-99-90 и СТП 2-63-91.
Картон хром – эрзац макулатурный должен соответствовать требованием ГОСТ 7933.
Картон изготавливается следующих марок:
МО – мелованный для офсетного и типоофсетного способов печати.
МГ – мелованный для глубокого способа печати.
Н – не мелованный для офсетного, типоофсетного и высокого способов печати.
Картон изготовляется в рулонах, в листах, в бобинах, в коробках или пачках правильной геометрической формы, в зависимости от дальнейшего применения. Размеры по ширине и диаметру рулонов и бобин и форматы листового картона устанавливаются по согласованию с заказчиком. Картон должен вырабатываться с обрезанными кромками, которые должны быть ровными и чистыми. Число обрывов должно быть минимальным и не превышать установленных стандартов. Эти требования должны обеспечиваться проектируемым продольно-резательным станком.
Кроме того, продольно-резательные станки должны удовлетворять следующим требованиям:
- надежность;
- безопасность и удобство обслуживания;
- эргономичность конструкции;
Выполнение всех вышеперечисленных требований к продольно-резательным станкам обеспечивает надежную работу оборудования и высокое качество картонных полуфабрикатов. Что в свою очередь положительно влияет на конкурентоспособность выпускаемой продукции, как на отечественном, так и на зарубежных рынках сбыта.
2. Технико-экономическое обоснование проекта
2.1. Общие сведения
Для печатания и переработки бумаги повсеместно применяют ротационные машины, в связи с этим в общем производстве бумаги ролевая бумага занимает первое место. Некоторые виды бумаги (газетная, мешочная, кабельная и др.) почти полностью выпускаются в рулонах. Ролевая бумага, не подвергающаяся отделке на суперкаландре, с наката бумагоделательной машины краном передается на установленный вслед за ней продольно-резательный станок.
Раньше бумага с наката поступала на перемоточно-сортировочный станок. На этом станке, имеющем только раскат и накат, производилась перемотка бумаги, склейка обрывов и так называемая сортировка (удаление бракованных участков полотна). В настоящее время необходимость в установке перемотно-сортировочных станков отпала вследствие улучшения качества намотки рулонов и уменьшения числа обрывов на бумагоделательной машины.
Продольно-резательные станки – наиболее быстроходные из всех машин бумажного производства: скорость их достигает 1500 – 1800 м/мин, а в отдельных случаях более 2400 м/мин. Все валы этих станков должны быть динамически уравновешены и проверены на критическую скорость.
Наиболее целесообразной в отношении общей компоновки и маневрирования во время работы является установка одного продольно-резательного станка на одну бумагоделательную машину. В этом случае производительность станка должна соответствовать производительности бумагоделательной машины, для которой он предназначен, и иметь достаточный разрыв, чтобы не лимитировать ее работу.
К конструкции продольно-резательного станка предъявляются требования равномерной плотности намотки рулонов, чистоты и гладкости их торцевых поверхностей, легкого разделения рулонов (без применения клиньев), удобной и быстрой заправки бумаги, механизированного съема и опускания рулонов и безопасности работы на станке.
2.2. Схемы продольно-резательных станков
Продольно-резательные станки, которые появились еще в конце XIX века, подразделяются на два типа: периферической и комбинированной намотки. В станках первого типа приводятся во вращение несущие валы, на которые опирается наматываемый рулон, что и обеспечивает периферическую намотку. Иногда, при скорости свыше 800 – 1000 м/мин, устанавливают отдельные электродвигатели для привода прижимного и ножевого валов, но это не меняет самого принципа наматывания.
На станках с комбинированной намоткой приводными являются не только несущие валы, но и наматываемый рулон. В этих станках одновременно используются принципы осевой и периферической намотки. Плотность намотки на этих станках можно регулировать в широком диапазоне, от тугой до мягкой (в пределах как одного, так и разных рулонов). Для этого следует изменить отношение крутящих моментов, передаваемых несущим валам и наматываемому рулону, а также величину линейного давления между рулоном и несущими валами. Соотношение крутящих моментов изменяют при помощи электродвигателей, установленных на намоточном и несущих валах, или посредством механического дифференциала с тормозом на одном из несущих валов. Станки с комбинированной намоткой не нашли широкого распространения ввиду сложности их конструкции. Они применяются лишь при необходимости перематывания на одном и том же станке различных видов бумаги, требующих как тугой, так и мягкой намотки.
Большое количество имеющихся схем периферической намотки может быть сведено к двум принципиальным схемам: с верхней и нижней заправкой бумаги. Станки с верхней заправкой имеют несколько основных конструктивных решений:
а
)
с ножевым валом, одновременно являющимся
и прижимным (рис. 2.2.1)
Рис. 2.2.1 Схема продольно-резательного станка с верхней заправкой с ножевым валом;
1- разматываемый рулон; 2 - бумаговедущий вал; 3 - механизм продольной резки; 4 - несущий вал; 5 - наматываемый рулон
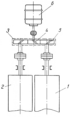
б) с ножевым валом и отдельно установленным прижимным валом (рис. 2.2.2)

Рис. 2.2.2. Схема продольно-резательного станка с верхней заправкой с ножевым валом и отдельно установленным прижимным валом;
1- разматываемый рулон; 2 - бумаговедущий вал; 3 - механизм продольной резки; 4 - несущий вал; 5 - наматываемый рулон; 6 – прижимной вал
в) с отдельно расположенными ножами и двумя бумаговедущими валами до и после механизма продольной резки (рис. 2.2.3)

Рис. 2.2.3 Схема продольно-резательного станка с верхней заправкой с отдельно расположенными ножами и двумя бумаговедущими валами до и после механизма продольной резки;
1- разматываемый рулон; 2 - бумаговедущий вал; 3 - механизм продольной резки; 4 - несущий вал; 5 - наматываемый рулон; 6 – прижимной вал.
На всех станках с верхней заправкой бумаги разматываемый рулон устанавливают на тамбурном устройстве, где имеется тормоз, создающий необходимое натяжение бумаги. Бумага заправляется сверху по бумаговедущим валикам и расправочной дуге, проходит через механизм продольной резки, огибает прижимной вал и наматывается на намоточный валик. Наматываемый рулон опирается на два приводных несущих вала. По мере увеличения диаметра наматываемого рулона ось его перемещается кверху. Одновременно с рулоном перемещаются прижимной вал и механизм продольной резки.
Станки с нижней заправкой имеют много конструктивных решений. Чаще применяются следующие схемы станков:
а
)
с заправкой между несущими валами и
отдельно стоящими (рис. 2.2.4)
Рис. 2.2.4 Схема продольно-резательного станка с нижней заправкой между несущими валами и отдельно стоящими ножами;
1- разматываемый рулон; 2 - бумаговедущий валик; 3 - механизм продольной резки; 4 - несущий вал; 5 - наматываемый рулон; 6 – прижимной вал
б) с заправкой на передний несущий вал и с ножевым валом, расположенным под несущими валами (рис 2.2.5)

Рис. 2.2.5 Схема продольно-резательного станка с нижней заправкой на передний несущий вал и с ножевым валом;
1- разматываемый рулон; 2 - бумаговедущий валик; 3 - механизм продольной резки; 4 - несущий вал; 5 - наматываемый рулон; 6 – прижимной вал; 7 – расправочная дуга; 8 – транспортер для заправки бумаги.
в
)
с пневматической заправкой и ножевым
валом, расположенным впереди несущих
валов (рис. 2.2.6)
Рис. 2.2.6 Схема продольно-резательного станка с нижней заправкой с пневматической заправкой и ножевым валом;
1- разматываемый рулон; 2 - бумаговедущий валик; 3 - механизм продольной резки; 4 - несущий вал; 5 - наматываемый рулон; 6 – прижимной вал.
На станках с нижней заправкой бумага разматываемого рулона заправляется снизу по бумаговедущим валикам, проходит через стационарно установленный механизм продольной резки, огибает передний несущий вал или заправляется между несущими валами и наматывается на намоточный валик.
Рассмотрим преимущества и недостатки принципиальной схемы станков с верхней и нижней заправкой. Следует заметить, что качество работы станка зависит не только от его схемы, но и от конструкции и надежности работы основных его узлов. При выборе схемы станка следует учитывать удобство заправки и склейки бумаги, влияние схемы на качество намотки и на разделение рулонов и условия безопасности работы на станке.
Преимуществом станков с верхней заправкой является более удобная заправка бумаги. В этом случае отпадает необходимость высоко устанавливать несущие валы и устраивать углубление под станком, как это иногда приходится делать на станках с нижней заправкой. При больших диаметрах наматываемого рулона заправка бумаги на станке с верхней заправкой при обрыве полотна на рулон диаметром больше 1000 – 1200 мм затруднительна ввиду высокого расположения механизма продольной резки. Как правило. Рулоны лучше разделяются на станках с нижней заправкой ввиду стационарного расположения на этих станках механизма продольной резки (в отличие от станков с верхней заправкой, где этот механизм по мере наматывания рулона перемещается кверху). Стационарное расположение механизма продольной резки уменьшает возможность осевого перемещения ножей, что исключает или уменьшает нахлестывание кромок полотна бумаги и облегчает разделение рулонов. На станках с нижней заправкой легче осуществить автоматическую (воздушную) заправку бумаги ввиду стационарного расположения зоны контакта рулона с несущим валом, где бумажное полотно начинает наматываться на рулон.
При выборе схемы станка следует обязательно учитывать условия безопасности работы на нем. К опасным для обслуживающего персонала участками. Где возможно попадание руки между валами, на станках с верхней заправкой относятся: участок контакта прижимного (ножевого) вала с рулоном, где бумагу при обрыве заправляют вручную, и участок контакта рулона с несущим валом с задней стороны станка.
На станках с нижней заправкой опасным является участок контакта рулона с передним несущим валом. Здесь, однако, можно установить откидное ограждение, при котором работа на таких станках менее опасна.
Наилучшие условия безопасности обеспечены на станке с нижней заправкой, при наличии воздушной заправки, исключающей ручную заправку бумаги на несущие валы, опасна лишь зона контакта рулона с верхним прижимным валом. Однако при работе станка нет необходимости подправлять бумагу на этом участке.
Все новые станки изготовляются с нижней заправкой, так как при прочих равных условиях стационарное расположение механизма продольной резки обеспечивает лучшее разделение разрезаемых рулонов.
2.3. Основные узлы продольно-резательных станков.
2.3.1. Раскат и тормоз рулона.
В целях уменьшения количества наматываемых рулонов на бумагоделательной машине и разматываемых рулонов на продольно-резательном станке диаметр наматываемого рулона на накате бумагоделательной машины достигает 2000 – 2400 мм. Разматываемый рулон бумаги диаметром до 2400 мм устанавливают на стойках, называемых раскатом. Для получения с обеих сторон бумажного полотна одинаковой ширины обрезаемых кромок рулон может перемещаться воль своей оси. На станках старой конструкции рулон перемещается относительно стоек. На современных станках для большей жесткости системы стойки перемещаются относительно шин. Наряду с ручным перемещением рулона применяется и автоматическое при помощи пневматического регулятора с соплом. Струя воздуха определенного давления попадает на чувствительную мембрану. Смещение кромки полотна перекрывает струю воздуха, что изменяет давление на мембрану. Это передается пневматическим цилиндрам, перемещающим разматываемый рулон в осевом направлении. Для этой же цели применяются и фотоэлектрические регуляторы. Принцип их действия основан на изменении количества отраженного света от кромки бумаги при смещении полотна. Этот импульс передается электродвигателям, смещающим рулон в осевом направлении. Автоматические устройства для осевого смещения рулона позволяют работать с меньшей шириной обрезаемой кромки (5-10 мм вместо 20-25 мм при ручном регулировании).
Подшипник с лицевой стороны тамбурного вала можно перемещать перпендикулярно оси рулона. Это позволяет установить рулон как параллельно, так и непараллельно несущим валам. Необходимость в непараллельной установке рулона возникает тогда, когда один конец намотан слабее, чем другой.
Для хорошего качества намотки рулона и устойчивой работы станка натяжение бумажного полотна при наматывании должно поддерживаться постоянным. Величина линейного натяжения зависит от прочности бумаги, обусловленной ее разрывной длиной и весом.
Линейное натяжение бумаги на продольно-резательном станке обычно в 5-10 раз меньше разрывного усилия.
Н
а
рис. 2.3.1, по данным фирмы Блэк-Клозон,
приведен график зависимости линейного
натяжения бумаги и картона от веса 1 м2.
Рис. 2.3.1. График зависимости линейного натяжения бумаги и картона от веса 1 м2
Натяжение бумажного полотна создается при помощи тормоза, соединенного с тамбурным валом рулона. Для того чтобы при обрыве полотна на станке свести к минимуму длину размотанной бумаги, с помощью этого же тормоза быстро останавливают разматываемый рулон.
На продольно-резательных станках применяют три типа тормозов: механические, вакуумные и электрические. Из механических тормозов на широких станках чаще применяют дисковые тормоза, а на узких – ленточные.
Дисковый тормоз (рис. 2.3.2) имеет неподвижный корпус, охлаждаемый проточной водой. На валу, свободно проходящем внутри корпуса, на направляющих шпонках установлены диски. Они прижимаются к торцовым поверхностям корпуса при помощи винтовой и червячной передачи и маховика, расположенного со стороны обслуживания станка. Посредством вилки или муфты тормозной вал соединен с разматываемым рулоном.

Рис. 2.3.2. Схема дискового тормоза продольно-резательного станка:
1- вал; 2 - корпус; 3 - диск; 4 - направляющая шпонка; 5 - прокладка; 6 - включающая муфта; 7 - тамбурный валик; 8 - маховик для прижима дисков; 9 - червячная передача; 11 - рычаг
Натяжение бумаги будет постоянным при уменьшении тормозного момента по мере разматывания рулона. Для этого на механических тормозах необходимо вручную уменьшать усилие прижима дисков, что осложняет эксплуатацию станка. При обрыве полотна бумаги тормозной момент необходимо быстро вручную увеличить до максимально возможного предела.
Вакуумный тормоз представляет собой ящик, в котором создается вакуум 0,19 – 0,39 кПа. Бумажное полотно, проходящее над ящиком, под действием вакуума прижимается к его поверхности.
Натяжение бумаги не зависит от радиуса разматываемого рулона и остается постоянным при неизменном вакууме. Следует учесть. Что, кроме вакуумного тормоза, необходимо установить еще и механический тормоз для торможения разматываемого рулона при обрыве бумаги
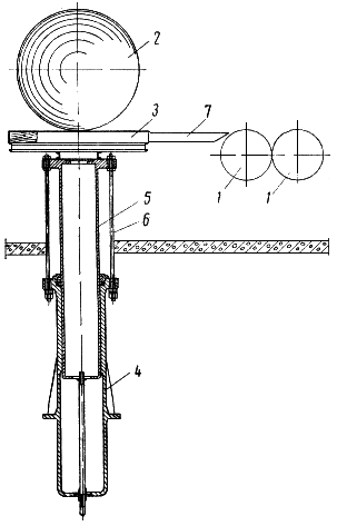
Наилучшим является электрическое торможение, осуществляемое генератором постоянного тока, соединенным с тамбурным валиком разматываемого рулона. Тормозной генератор (рис. 2.3.3) при постоянной линейной скорости бумаги развивает постоянную мощность независимо от угловой скорости рулона и поддерживает постоянное натяжение полотна.

Рис. 2.3.3. Раскат с тормозным генератором:
1 и 2 – стойки раската с лицевой и приводной сторон; 3 – маховик для перемещения рулона перпендикулярно его оси; 4 – тамбурный вал; 5 – разматываемый рулон; 6 – электродвигатель с редуктором для перемещения рулона вдоль его оси; 7 – вилка для соединения тамбурного вала с редуктором тормозного генератора; 8 – редуктор; 9 – тормозной генератор
Необходимая величина натяжения регулируется при помощи реостата. При обрыве бумажного полотна тормозной генератор автоматически и быстро затормаживает рулон. При заправке бумаги тормозной генератор работает как разгонный двигатель, вследствие чего уменьшается натяжение бумаги и отпадает необходимость в развороте рулона, как при заправке вручную. Тормозной генератор рекуперирует до 50-60% потребляемой станком мощности.
Мощность тормозного генератора раньше обычно выбирали из условия создания необходимого натяжения бумаги при работе станка. В период торможения рулона при обрыве полотна генератор работал с 2-3 – кратной перегрузкой.
Устанавливать тормозной генератор, исходя из мощности, потребной для торможения рулона во время обрыва (с учетом 3-4 – кратной перегрузки), нецелесообразно, так как его мощность будет значительной. При работе такой генератор будет загружен только на 15-20%, вследствие чего он будет малочувствительным к регулировке. Поэтому наряду с тормозным генератором целесообразно устанавливать добавочный механический тормоз, автоматически включающийся при обрыве полотна, а также увеличить длительность торможения до 20-30 секунд. Увеличение длительности торможения не вызовет значительных потерь бумаги. Наблюдения, проведенные в производственных условиях, показали, что вес размотанной бумаги значительно меньше теоретически вычисленного по средней скорости и длительности торможения, так как спустя 2-3 секунды после начала торможения бумага больше не сбрасывается с рулона, а образуются лишь несколько десятков витков слабо намотанной бумаги, которые затем срывают с рулона.
Если в период разгона станка, при переходе от заправочной к рабочей скорости, не предусмотрен принудительный привод разматываемого рулона, то в полотне бумаги возникает добавочное натяжение, которое суммируется с натяжением, создаваемым тормозным генератором.
Во избежание возникновения больших динамических натяжений при высоких скоростях станков и больших диаметрах разматываемого рулона необходимо либо увеличить длительность разгона до 90-120 секунд, либо принудительно приводить во вращение разматываемый рулон в период разгона станка.
Увеличение длительности разгона нецелесообразно. Так как при этом уменьшается производительность станка и увеличивается цикл намотки. Целесообразно, чтобы в период разгона станка тормозной генератор работал в качестве разгонного двигателя.
Для поддержания заданного натяжения бумажного полотна во время разгона и работы станка постоянным применяется в качестве датчика пружинный бумаговедущий валик, перемещение которого определяется натяжением бумаги.
2.3.2. Механизм продольной резки.
Одним из важнейших узлов станка является механизм продольной резки. Если этот механизм обеспечивает ровный и гладкий рез, то рулоны легко разделяются; кроме того, уменьшается пыление бумаги при печатании.
На продольно-резательных станках применяют два метода резки: по принципу ножниц и под давлением. При резке по принципу ножниц (рис. 2.3.4) бумага проходит между режущими кромками двух ножей: чашечного и дискового. Чашечные ножи насажены на вращающемся валу. На широких станках этот вал имеет дополнительную опору посередине для уменьшения его прогиба. На трубе, установленной поперек станка, имеются рычаги для укрепления осей, на которых вращаются дисковые ножи.

Рис. 2.3.4 Резка по принципу ножниц:
1 – вал нижних ножей; 2 – подшипники вала; 3 – шестерня для привода вала; 4 – нижний чашечный нож; 5 – верхний нож; 6 – эксцентричная ось дискового ножа; 7 – подшипники верхнего ножа; 8 – спиральная пружина для прижима ножа; 9 – рукоятка для выключения верхнего ножа; 10 – кронштейн верхних ножей.
Они
прижимаются к чашечным ножам при помощи
пружин и приводятся во вращение трением.
Ножи соответственно необходимого
формату (длине) рулона устанавливают с
точностью до
перемещением
чашечных ножей по валу и дисковых – по
трубе. Число устанавливаемых ножей
(4-8) зависит от заданной длины рулонов.
На станках с верхней заправкой вал
чашечных ножей приводится во вращение
ременной или цепной передачей от
прижимного вала, лежащего на рулоне, а
на станках с нижней заправкой – от
несущих валов или от ближайщего
бумаговедущего валика. Для получения
более чистого и гладкого реза скорость
ножей должна быть на 10-20% выше скорости
движения бумаги.
При резке по методу давления (рис. 2.3.5) бумажное полотно охватывает нижний ножевой вал, к которому верхние дисковые ножи прижимаются пружинами или пневматическим устройством.


Рис. 2.3.5. Резка давлением:
1 – труба ножевого вала; 2 – патрон; 3 – цапфа; 4 – корпус подшипника; 5 – подшипник; 6 – ножевое кольцо; 7 и 8 – гайка и контргайка ножевого вала; 9 – верхний дисковый нож; 10 – ось верхнего ножа; 11 – подшипники верхнего ножа; 12 – рычаг верхнего ножа; 13 – пружина для прижима ножа; 14 – кронштейн верхних ножей; 15 – труба для установки кронштейнов
Ножевой вал – трубчатый, на него надеты стальные закаленные кольца высокой твердости. На станках с верхней заправкой ножевой вал, одновременно являющийся и прижимным, лежит на рулоне, приводящем его во вращение. На станках с нижней заправкой ножевой вал приводится во вращение от несущего вала, иногда для привода ножевого вала устанавливают отдельный электродвигатель.
Метод резки по принципу ножниц, обеспечивающий более чистый и гладкий рез и большую износоустойчивость ножей, распространен больше, чем метод резки давлением. При резке методом давления затруднен подбор соотношения величин твердости колец и дисковых ножей. Если твердость колец выше твердости ножей, последние затупляются. При обратном соотношении величин твердости на кольцах образуются риски.
Чашечные и дисковые нож изготовляют из хромоникелевой стали, обладающей высокой износоустойчивостью. Твердость чашечных ножей по Роквеллу R>c> = 58 60, дисковых R>c> = 53 55. При резке бумаги без наполнителя ножи затачивают через 4 – 8 месяцев. При наличии в бумаге наполнителей срок службы ножей сокращается более чем вдвое.
Компоновка станка в значительной степени зависит от принятого метода резки. При резке по принципу ножниц бумага не может охватывать ножевой вал, на котором в отдельных местах расположены чашечные ножи. В этом случае независимо от вида заправки (верхней или нижней) необходимо, чтобы бумажное полотно при разрезании находилось в натянутом состоянии на прямом участке. Что достигается установкой двух валиков: бумаговедущего – до ножей, и прижимного – после них (на станке с верхней заправкой) или двух бумаговедущих валиков (на станке с нижней заправкой).
При резке по методу давления бумага может охватывать нижний ножевой вал, на котором по всей его длине надеты кольца. В этом случае количество бумаговедущих валиков уменьшается на один или два. Преимущества ножевого вала особенно заметны на станках с верхней заправкой, где механизм продольной резки расположен над наматываемым рулоном и перемещается кверху по мере увеличения диаметра рулона. При резке по методу ножниц бумаговедущий и прижимной валы увеличивают размеры и вес перемещающихся узлов. Ножевой вал на станках с верхней заправкой осуществляет и функцию прижимного, вследствие чего число валов уменьшается и упрощается компоновка станка.
Для использования при компоновке станка преимуществ резки по методу ножниц и ножевого вала создана конструкция ножевого вала, на кольцах которого имеется семь - восемь ножевых канавок (рис. 2.3.6) (при наличии семи-восьми ножевых канавок, используе -

Рис. 2.3.6 Ножевой вал:
1 – труба ножевого вала; 2 – патрон; 3 – цапфа; 4 – корпус подшипника; 5 – подшипник качения; 6 – крышка подшипника; 7 и 8 – затяжная гайка и контргайка ножевого вала; 9 – сплошное кольцо; 10 – разъемное ножевое кольцо; 11 – верхний дисковый нож; 12 – ось дискового ножа; 13 – спиральная пружина для прижима ножа; 14 – рукоятка для выключения верхнего ножа
мых поочередно, ножевые кольца можно шлифовать значительно реже, чем при обычных ножах). Верхний дисковый нож соприкасается с режущей поверхностью ножевой канавки. Кольца с ножевыми канавками (ножевые кольца) могут быть сплошными или разъемными. Разъемные ножевые кольца заканчиваются коническими или цилиндрическими хвостовиками, входящими в выточки сплошных колец. Всю систему разъемных ножевых и сплошных колец закрепляют на валу при помощи затяжных гаек. При изменении формата бумаги затяжные гайки отвинчивают на двойную длину хвостовика, снимают разъемные ножевые кольца, сдвигают сплошные кольца и устанавливают ножевые кольца в необходимых местах по длине вала. Однако изготовление и шлифовка разъемных ножевых колец весьма сложны. Поэтому часто их делают сплошными, а промежуточные кольца – разъемными.
На новых продольно – резательных станках сплошные ножевые кольца закрепляют при помощи шпонок, перемещающихся под давлением пневматических шлангов (рис. 2.3.7)
Ножевые кольца установлены по всей длине вала. Зазор между кольцами равен 8 – 10 мм. Так как на кольцах имеется семь – восемь ножевых канавок, то при смещении колец на величину зазора можно разрезать полотно бумаги на рулоны нужной ширины.
При разрезании пухлой бумаги малого объемного веса на станках с верхней заправкой канавки ножевого вала, опирающегося на наматываемый рулон, оставляют на бумаге отпечатки. Поэтому для такой бумаги устанавливают отдельный прижимной вал, от которого приводится во вращение ножевой вал при помощи клиноременной передачи.
Механизм продольной резки располагают как можно ближе к наматываемому рулону. Этим избегается возможное боковое смещение разрезаемых полос бумаги при их движении. При смещении полос кромки полотен бумаги нахлестываются друг на друга, что затрудняет разделение рулонов. Иногда во избежание указанного смещения полос перед наматываемым рулоном устанавливают разделители (тонкие пластинки) или сферические наконечники, которые способствуют лучшему разделению рулонов.

Рис. 2.3.7 Ножевой вал с пневматическим закреплением новых колец:
1 – цапфа; 2 – подшипники; 3 – труба вала; 4 – пневматический шланг; 5 – шпонка; 6 – сплошное ножевое кольцо; 7 – ниппель для подачи воздуха; 8 – концевые втулки
Усилие резания для бумаги весом 50 – 60 г/м2 не превышает 0,98 – 2,94 Н на один рез. Мощность, потребная для резания бумаги, очень мала и ее при расчетах пренебрегают.
Обрезанные кромки бумажного полотна удаляются специальным вентилятором, внутри которого имеется диск, разрывающий кромки. Вентилятор направляет кромки по трубопроводам в размольный агрегат.
2.3.3. Механизмы регулирования давления между рулоном и несущими валами.
Увеличение диаметра наматываемого рулона значительно повышает производительность не только продольно-резательных станков, но и машин, на которых используется ролевая бумага (например, типографская, мешочная и др.), поэтому заметна тенденция увеличения диаметра наматываемого рулона до 1500 мм и даже до 1800 мм. Однако при увеличении диаметра рулонов должны быть учтены условия их транспортировки и возможности использования таких рулонов потребителями.
Плотность намотки рулонов на продольно-резательном станке в основном определяется линейным давлением между рулоном и несущими валами. Давление между рулоном и прижимным валом оказывает меньшее влияние на плотность намотки, так как большую часть времени наматывания оно меньше, чем давление между рулоном и несущими валами. Плотность намотки рулонов на продольно-резательных станках выше, чем на накатах, ввиду большего линейного давления между рулоном и несущими валами и наличия двух несущих валов, создающих две зоны контакта между ними и рулоном.
Давление между рулоном и несущими валами при отсутствии механизма регулирования возрастает по мере увеличения диаметра рулона, хотя и в меньшей степени, чем вес рулона.
Для обеспечения необходимого линейного давления в начальный период намотки, когда вес намотанной бумаги в рулоне значителен, применяется прижимный валик.
До недавнего времени бумагу наматывали только на картонные гильзы наружным диаметром 90 – 95 мм, надетые на намоточный валик диаметром 70 мм. Намоточный валик представляет собой тонкостенную трубу с запрессованными по концам цапфами. По окончании намотки рулона намоточный валик из него вытаскивают, что является одной из тяжелых и до сих пор почти не механизированных операций. На некоторых станках механизация этой операции сводится к тому, что рулон вместе с намоточным валиком опускают на транспортер, намоточный валик одним концом прикрепляют к специальной стойке так, что транспортер, двигаясь вместе с рулоном, стаскивает его с намоточного валика. Для уменьшения усилия вытаскивания намоточного валика из рулона бумаги начали применять раздвижные трубчатые валики. Они состоят из трех-четырех секторов, опирающихся на резиновый шланг, в который для раздвижения валика подают воздух; при вытаскивании валика воздух выпускают.
На Балахнинском комбинате впервые начали применять бесштанговую намотку, значительно облегчающую условия работы на станке. В этом случае гильзы свободно надеваются на деревянную скалку, длина которой на 100-150 мм меньше общей длины рулонов. С торцов гильзы зажимаются конусами, вращающимися на подшипниках качения. Ухудшения качества намотки при бесштанговой намотке не наблюдается. В начальный период наматывания при малом давлении прижимного вала и большом натяжении бумаги были единичные случаи выбрасывания намотанного рулона. Проведенные аналитические исследования показывают, что наибольшая возможность выбрасывания рулона – на станках с верхней заправкой, так как при этой схеме горизонтальные составляющие окружных усилий со стороны несущих валов на рулон и равнодействующая натяжения бумаги действуют в одном и том же направлении. На станках с нижней заправкой эти усилия действуют в разных направлениях, что практически исключает возможность выбрасывания наматываемых рулонов.
При диаметре наматываемого рулона 1500 и 1800 мм линейное давление рулона на несущий вал от собственного веса рулона составляет 4,9 и 7,85 кН/м. Уменьшить это давление при бесштанговой намотке нельзя, так как наматываемый рулон не может быть вывешен. Даже при наличии намоточного валика усилие вывешивания не может уменьшить линейное давление больше чем на 0,98 кН/м из-за значительных напряжений изгиба, возникающих в намоточном валике.
Качество намотки рулонов большого диаметра оказывается достаточно удовлетворительным. В связи с этим надо полагать, что между плотностью намотки и линейным давлением нет прямолинейной зависимости. Вероятно, после определенного линейного давления (предположительно 2,94 - 3,92 кН/м) дальнейшее его повышение почти не увеличивает плотности намотки. Поэтому целесообразно, чтобы прижимной вал в начале намотки обеспечивал линейное давление между рулоном и несущими валами 2,94 – 3,92 кН/м. По мере увеличения диаметра рулона до 800-1000 мм прижимной валик вывешивается соответственно увеличению веса рулонов. В этом интервале диаметра наматываемого рулона линейное давление сохраняется примерно постоянным (2,94 - 3,92 кН/м). Затем при дальнейшем наматывании прижимный вал вывешивается с постоянным усилием и вследствие увеличения веса рулона линейное давление между рулоном и несущими валами возрастает до 4,9 - 7,85 кН/м.
На современных продольно-резательных станках применяются пневматические и гидравлические механизмы вывешивания прижимного вала. Так как по мере увеличения диаметра рулона усилие вывешивания должно возрастать, устанавливаются программные регуляторы давления.
Прижимной вал (а в станках с верхней заправкой – и механизм продольной резки) необходимо поднять на 50-100 мм, чтобы можно было скатить рулон с несущих валов. После укладки на несущие валы картонных гильз опускается прижимной вал. Подъем и опускание прижимного вала ранее производились при помощи маховика и цепной передачи, а на современных станках – при помощи цилиндров механизма вывешивания.
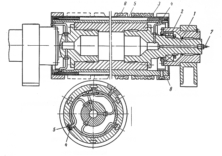
2.3.4. Несущие валы
Несущие валы продольно-резательных станков представляют собой чугунные или стальные трубы (рис. 2.3.8) диаметром 400-600 мм, в зависимости от ширины станка, и длиной на 150-200 мм больше ширины бумажного полотна, поступающего на продольно-резательный станок. Для облегчения уравновешивания валов трубы
внутри растачивают. Относительный прогиб рабочей части несущих валов не должен превышать 1/>10 000 >- 1/>12 000>. Расстояние между центрами несущих валов на 10-15 мм больше диаметра вала. При таком близком расстоянии бумажные (картонные гильзы), укладываемые на несущие валы, в начале намотки не заклиниваются.
На некоторых станках установлены рифленые валы. Иногда рифленым является только первый по ходу бумаги вал. Рифы представляют собой спиральные канавки – правые на одной половине вала по длине, и левые - на другой.
Рифы увеличивают коэффициент трения между рулоном и несущими валами и уменьшают шум при работе станка, а также способствуют удалению воздуха между рулоном и несущими валами.
Следует учесть, что при сталкивании намотанного рулона с продольно-резательного станка он опирается только на передний несущий вал. Это удваивает нагрузку на вал, но эта нагрузка является статической, так как при ее воздействии вал не вращается, поэтому допускаемые напряжения изгиба могут быть повышены.

Рис. 2.3.8. Несущие валы:
1 – цилиндр; 2 – диск сварного патрона; 3 и 4 – цапфы с лицевой и приводной сторон; 5 – щиток; 6 – подшипник качения; 7 – эластичная муфта
2.3.5. Привод и потребляемая мощность
В продольно-резательных обычной (некомбинированной) намотки приводятся во вращение оба несущих вала. При скорости станков свыше 1000 м/мин привод имеет еще бумаговедущие прижимный и ножевой валы, что уменьшает напряжение в бумаге.
Во время работы станка тяговые усилия для вращения бумаговедущего и ножевого валов невелики, и если эти валы приводятся во вращение бумажным полотном, то дополнительное натяжение, возникающее в бумажном полотне, не превышает 0,0098 – 0,0196 кН/м на один валик. Кроме того, в этих условиях при переходе от заправочной к рабочей скорости в период разгона в полотне возникает добавочное динамическое натяжение.
Так как на продольно-резательном станке имеется несколько бумаговедущих валиков, суммарное динамическое натяжение может достигнуть 0,392 – 0,49 кН/м, что недопустимо. Этим и объясняется необходимость привода бумаговедущего и ножевого валов на быстроходных станках.
Для быстрого останова бумаговедущих валов при обрыве бумажного полотна на новых станках установлены механические тормоза с пневматическим управлением, расположенные внутри вала на приводной стороне.
Заправочная скорость продольно-резательных станков обычно равна 20-25 м/мин. Увеличение скорости упрощает электрическую схему привода, но затрудняет заправку. Предел регулирования рабочей скорости составляет 1:3 и 1:5. Переход с заправочной на рабочую скорость и повышение рабочей скорости должны быть плавными. В старых конструкциях от электродвигателя приводился во вращение один несущий вал, а второй – ременной передачей первого. Однако ввиду малого межцентрового расстояния условия работы ременной передачи неблагоприятны, поэтому второй несущий вал часто фактически приводился во вращение от рулона, а не от ременной передачи. Более совершенным является привод (рис. 2.3.9) при помощи

Рис. 2.3.9. Привод несущих валов от одного электродвигателя:
1 и 2 – первый и второй несущие валы; 3 – редуктор; 4 и 5 – ведущая и ведомая шестерни; 6 – электродвигатель
редуктора, приводная шестерня которого соединена одновременно с двумя зубчатыми колесами, надетыми на цапфы несущих валов.
Большая плотность намотки рулонов достигается при скорости второго по ходу бумаги несущего вала, несколько превышающей (на 1-2%) скорость первого несущего вала.
Н
а
современных станках соотношения
скоростей несущих валов регулируются
при помощи двух электродвигателей (рис.
2.3.10), установленных по одному на каждом
несущем валу.
Рис. 2.3.10. Привод несущих валов двух электродвигателей:
1 и 2 – первый и второй несущие валы; 3 – редуктор; 4 и 5 – ведущая и ведомая шестерни; 6 – электродвигатель
Мощность между электродвигателями валов в этом случае распределяется неравномерно: двигатель второго несущего вала, имеющий большую скорость, потребляет и большую мощность.
Регулирование плотности намотки изменением соотношения скоростей наиболее эффективно на станках с нижней заправкой, когда угол охвата бумагой первого по ходу бумаги несущего вала составляет соответственно 1800 и 900, ввиду отсутствия скольжения между бумагой и первым несущим валом окружная скорость рулона в этом случае будет равна окружной скорости первого несущего вала. Более высокая скорость второго по ходу бумаги несущего вала увеличит при этом плотность намотки. На станках с верхней заправкой и на станках с нижней заправкой с малым углом охвата бумагой несущего вала окружная скорость рулона будет примерно равна полусумме окружных скоростей несущих валов. Тогда окружная скорость первого несущего вала будет меньше скорости рулона, а второго несущего вала – больше нее. В этом случае разная скорость несущих валов не окажет заметного влияния на плотность намотки.
Для быстрого останова станка на современных станках применяют электродинамическое торможение электродвигателей. Для возможности остановки наматываемого рулона в определенном положении соответственно месту склейки полотна бумаги устанавливается небольшой механический тормоз на одном из несущих валов.
Во многих случаях для отделочных машин целесообразна установка гидравлических или механических вариантов (редукторов с переменным передаточным числом). Стоимость вариаторов ниже стоимости электродвигателей постоянного тока с генераторами, а коэффициент полезного действия их выше и обслуживание проще.
Длина намотанной бумаги (в метрах) учитывается счетчиком метража, соединенным с несущим валом. При обрыве бумажного полотна электромагнитная муфта выключает счетчик. Импульсом для выключения служит изменение силы тока, потребляемого электродвигателем станка.
На преодоление трения в тормозе разматываемого рулона, т. е. на создание натяжения полотна бумаги, расходуется до 60-80% всей потребляемой станком мощности. Чем больше натяжение бумаги, тем больше доля мощности, расходуемой на натяжение, так как остальная потребляемая мощность почти не зависит от натяжения бумаги.
Мощность, потребляемую продольно-резательными станками, определяют методом тяговых усилий.
2.3.6. Механизмы сталкивания и опускания рулона.
После намотки рулон необходимо столкнуть с несущих валов, опустить не пол и вытащить из него намоточный валик или деревянную скалку при бесштанговой намотке. Краном снимать рулон невозможно ввиду малого диаметра цапф намоточного валика и расположения над рулоном прижимного вала. Вместо применявшихся ранее на узких станках ручного сталкивателя рулонов на современных станках устанавливают механические или гидравлические сталкиватели.
Механизм сталкивания (рис. 2.3.11) на современных станках

Рис. 2.3.11. Механизм сталкивателя рулона:
1 – несущие валы; 2 – наматываемый рулон; 3 – цилиндр; 4 – поперечный валик; 5 – поршень; 6 - шток
состоит из двух цилиндров, шарнирно закрепленных на станинах. Со штоками цилиндров связан валик. Расположенный поперек станка и упирающийся при сталкивании в рулоны бумаги.
Несколько наклонное расположение цилиндров уменьшает усилие сталкивания. Для станка шириной 4200 мм при диаметре цилиндра 100 мм необходимое давление воздуха в цилиндре не превышает 5 ати.
Наибольшее применение имеют два устройства для опускания рулонов: приемный стол и опускающиеся лапы.
Первое устройство (рис. 2.3.12) состоит из приемного стола, который поднимается штоком цилиндра. Воздух при подъеме стола

Рис. 2.3.12. Механизм опускания рулона (приемный стол поднимается штоком цилиндра):
1 – несущие валы; 2 – намотанный рулон; 3 – приемный стол; 4 – цилиндр; 5 – поршень; 6 – тяги, ограничивающие высоту подъема; 7 – выдвижная балка для перекатывания рулона.
подается во внутреннюю пустотелую часть поршня и через отверстия, имеющиеся в дне поршня, поступает в цилиндр. Опускается приемный стол под действием собственного веса и веса рулона бумаги. Воздух при этом вытесняется во внутреннюю пустотелую часть поршня, откуда по трубе выпускается через вентиль в атмосферу.
Второе устройство (рис. 2.3.13) состоит из лап, расположенных поперек станка на расстоянии 800 – 1000 мм друг от друга и закрепленных на сквозном поперечном валу. После окончания намотки лапы поднимаются, на них сталкивается рулон, затем, поворачиваясь, лапы опускают рулон на пол.

Рис. 2.3.13. Механизм опускания рулона:
1 – несущие валы; 2 – намотанный рулон; 3 – опускающиеся лапы; 4 – сквозной поперечный вал; 5 – гидравлический (пневматический) цилиндр; 6 – рулон, опущенный на пол
Сквозной вал поворачивается при помощи гидравлических (пневматических) цилиндров или от электродвигателя с червячными редукторами.
2.4. Схема и общее описание работы проектируемого станка
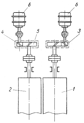
Для проектируемого станка выбираем следующую принципиальную схему (рис 2.4.1)

Рис. 2.4.1 Схема проектируемого продольно-резательного станка с нижней заправкой;
1- разматываемый рулон; 2 - бумаговедущий валик; 3 - механизм продольной резки; 4 - несущий вал; 5 - наматываемый рулон; 6 – прижимной вал; 7 – транспортер для заправки бумаги.
На продольно – резательном станке перематывается рулон картона, поступающий с наката картоноделательной машины. В процессе перемотки производится продольная резка на полосы стандартной ширины и намотка в рулоны требуемого диаметра.
Процесс переработки рулона на продольно – резательном станке состоит из целого ряда последовательно выполняемых операций. Рулон картона после снятия с наката картоноделательной машины, устанавливается в стойках раската. Корпуса подшипников тамбурного вала зажимаются рычагами с помощью пневмоцилиндров; тамбурный вал соединяется с генератором привода раската муфтой включения.
Разматываемое с тамбурного вала полотно картона огибает бумаговедущий вал, проходит по направляющему аппарату верхними и нижними ножами, огибает снизу несущий вал. При этом несущие валы и бумаговедущий вал работают на уровне заправочной скорости и крайние верхние ножи находятся в контакте с нижними. Резка осуществляется по принципу ножниц. Для облегчения процесса проводки бумажного полотна предусмотрен транспортер заправочной. После проводки полотна картона между несущими валами привод останавливают. На несущие валы укладывают гильзы, зажимают штоками кареток бесштанговой намотки и заправляют на них картон. Для расправления разрезаемого полотна перед несущими валами установлен расправочный вал. Необходимое линейное давление между рулоном и несущими валами в начальный период намотки создается прижимным валом. Чтобы линейное давление оставалось примерно постоянным, по мере увеличения диаметра рулона, прижимной вал вывешивается двумя пневмоцилиндрами. Для обеспечения безопасной работы на станке установлены ограждения. После заправки полотна гильзы поднимают ограждение, опускают прижимной вал, включают верхние ножи и вентилятор разрыватель. Станок включают для работы на заправочной скорости и, убедившись в нормальном ходе процесса перемотки, разгоняют до требуемого уровня рабочей скорости.
На заправочной скорости станок может работать при опущенном ограждении рулона. Переход на рабочую скорость и работа на рабочей скорости может происходить только при поднятом ограждении.
Станок по программе разгоняется, работает на заданном уровне рабочей скорости и, при достижении требуемого диаметра рулона или метража бумаги в рулоне, привод автоматически тормозится. Автоматическое управление отдельными механизмами станка осуществляется с помощью конечных выключателей, установленных на станке.
После полной остановки станка прижимной вал поднимается, разжимаются штоки кареток бесштанговой намотки, выключаются крайние верхние ножи, опускается ограждение и стол приемный. Готовые рулоны сталкиваются сталкивателем.
Для обеспечения бесперебойной работы станка устанавливается накопитель. На накопитель укладываются рулоны, снимаемые с наката машины.
3. Технологические расчеты
3.1. Определение скорости картоноделательной машины по приводу
По заданной производительности выбрать ширину машины и рассчитать рабочую скорость машины Vр:

где: Q – производительность машины, кг/сут, Q = 350000 кг/сут
b – ширина полотна на накате, м, b = 4,2 м
q – масса 1 м2, г/м2, q = 300 г/м2
k>1> – коэффициент загрузки работы машины в течение суток (число часов фактической работы, обычно k>1> = 22,523), ч, k>1> =22,5
k>2> – коэффициент использования рабочего хода машины (учет холостых ходов k>2> = 0,950,98), k>2> = 0,95
k>3> – коэффициент выхода нетто товарной продукции из брутто всей машинной продукции (учет оборотного брака, k>3> = 0,880,98), , k>3> = 0,88

Рассчитать скорость машины по приводу:

Скорость по приводу уточняется согласно табл. 2 [ 3 ] и принимается, как правило, равной ближайшему большему значению.

3.2. Механизм продольной резки
На продольно-резательных станках применяют два метода резки: по принципу ножниц и под давлением. При резке по принципу ножниц бумага проходит между режущими кромками двух ножей: чашечного и дискового. При резке по методу давления бумажное полотно охватывает ножевой вал, на который надеты стальные закаленные кольца высокой твердости. К нему сверху прижимаются пружинами дисковые ножи, осуществляющие резку бумаги. Количество ножей на единицу больше количества рулонов, так как по краям устанавливаются дополнительные ножи для обрезания кромок.
Наибольшее распространение получил метод резки по принципу ножниц, обеспечивающий более чистый и гладкий рез и большую износоустойчивость ножей.
При резании по принципу ножниц установка ножей показана на рис. 3.2.1

Рис. 3.2.1 Установка дисковых ножей
1 – дисковый нож; 2 – чашечный нож; 3 - бумага
Угол взаимного наклона ножей изменяется от 2>2> к 2>1>. В свою очередь, эти углы равны (при условии равенства радиусов верхнего и нижнего ножей).


где h – перекрытие ножей, 0.0014 м
r – радиус ножей, 0.315 м
- толщина бумажного полотна, 0.001 м
В расчетах принимают средний угол наклона ножей 2>ср>

Величину перекрытия ножей h принимают такой, чтобы средний угол наклона 2>ср> не превышал 150. В противном случае появляющиеся в месте встречи ножей сила вытеснения материала может превысить силу трения бумаги о ножи, что приведет к опасности разрыва кромок полотна и его обрыву.
3.3. Определение скорости ПРС
Скорость продольно-резательного станка определяется, как минимум, тремя факторами.
В первую очередь, при определении скорости ПРС необходимо исходить из производительности (скорости) бумагоделательной машины. Как правило, БДМ обслуживает один станок. Тогда необходимая (минимальная) скорость продольно-резательного станка
где: V>м> – скорость БДМ по приводу, м/мин, V>м> = 350 м/мин;
t>всп> – длительность вспомогательных операций (установка и съем рулонов, заправка и склейка при обрывах и т.п.), обычно составляет 6 8 мин, t>всп> = 6 мин;
S – длина намотанной бумаги, м;
д
лину
бумаги в рулоне можно вычислить по
формуле
где: D – наружный диаметр рулона на накате БДМ, 2.2 м;
D>т> – диаметр тамбурного вала, 0.42 м [ 5 ];
б – толщина бумажного полотна, 0.001 м [ 6 ].

- коэффициент запаса, = 1,15.
Второй и третий факторы ограничивают максимальную скорость станка.

При вращении рулона в его наружном витке от действия центробежных сил возникают растягивающие напряжения, которые при достижении некоторой критической скорости V>пр> могут превысить допускаемые напряжения на разрыв. Взяв за характеристику прочности картона его разрывную длину в машинном направлении, можно определить критическую скорость, обусловленную центробежными силами

где L – разрывная длина картона в продольном направлении, 6000 м
g – ускорение силы тяжести, g=9.81 м/с2.

В расчетах необходимо принимать, что напряжения в картоне не должны превосходить 20% предела его прочности. Тогда допускаемая скорость наматывания

С учетом будущей модернизации КДМ, для дальнейших расчетов, принимаем скорость проектируемого станка равной V>ст >= 2200 м/мин. = 36.7 м/с.,
4. Конструктивные расчеты
4.1. Исходные данные для расчетов:
обрезная ширина бумажного полотна, м – 4.2
скорость станка max, м/мин – 2200
скорость станка min, м/мин – 945
скорость заправочная, м/мин – 25
скорость рабочая, м/мин – 2200
диаметр несущих валов, м – 0.59
диаметр цапф несущих валов, м – 0.14
диаметр прижимного вала, м – 0.24
диаметр цапф прижимного вала, м – 0.08
коэффициент трения качения в подшипниках – 0.02
максимальный диаметр наматываемого рулона, м – 1.5
максимальный диаметр разматываемого рулона, м – 2.2
коэффициент отношения линейной скорости прижимного вала и скорости полотна – 1.02
коэффициент трения рулона по несущим валам – 0.1
4.2. Расчет мощности, потребляемой продольно-резательным станком.
В продольно-резательных станках приводными являются несущие валы, а при скорости свыше 1000 м/мин привод имеют еще бумаговедущие, прижимный и ножевой валы для компенсации добавочных динамических натяжений в бумажном полотне при разгоне станка.
Мощность, потребляемую станком определяют по формуле:

где V>c>>т> - скорость станка
Т – сумма тяговых усилий для преодоления сил трения в узлах станка

где Т>1> – тяговое усилие для преодоления трения в подшипниках несущих валов;
Т>2> – тяговое усилие для преодоления трения в подшипниках прижимного вала;
Т>3> – тяговое усилие для преодоления трения качения между рулоном и несущим валом;
Т>4> – тяговое усилие для преодоления трения между рулоном и прижимным валом;
Т>5> – тяговое усилие для преодоления трения в подшипниках тамбурного вала;
Т>6> – тяговое усилие для наматывания бумаги;
Т>7> – тяговое усилие для размотки бумаги (усилие натяжения полотна);
Т>8> – тяговое усилие для преодоления трения в подшипниках бумаговедущего вала;

где f – коэффициент трения в подшипниках, f = 0,02
d – диаметр цапфы несущего вала, м
D – диаметр несущего вала, м
Q>o> – общая нагрузка на несущий вал, Н

где Q – нагрузка на несущий вал от веса рулона:

где G>рул> – вес наматываемого рулона, Н

где b – обрезная ширина, 4.2 м
- объемный вес намотанного полотна, равный 550 кг/м3
D>рул> – диаметр наматываемого рулона, равный 1.5 м
- угол между вертикалью и линией соединения центров вала и рулона, = 200

P>д> – динамическая нагрузка от возможного эксцентриситета наматываемого рулона

где В>о> – обрезная ширина, 4.2 м
- объемный вес намотанной бумаги равный 550 кг/м3
V>c>>т> – скорость станка, 2200 м/мин = 36.7 м/с
g – ускорение свободного падения, 9.81 м/с2
e – добавочная нагрузка от возможного эксцентриситета рулона, принимают равным 0.003 0.005, 0.005

G>в> – вес несущего вала, 1.4 104 Н



где f – коэффициент трения качения в подшипниках
d – диаметр цапфы прижимного вала, 0.08 м
D – диаметр прижимного вала, 0.24 м
Q – нагрузка на подшипники прижимного вала, Н

где q – линейное давление между прижимным валом и рулоном, равное 4000 Н/м [1];
b – длина рабочей части вала, 2.1 м


Поскольку прижимной вал состоит из двух секций, то имеем две пары подшипников, поэтому Т>2> = 112 Н, т.е. в два раза больше, полученного при расчете результата.

где R – коэффициент трения качения рулона бумаги по прижимному валу, равный 2
D>пр> – диаметр прижимного вала, мм
D>г> – диаметр гильз, мм
Q – давление между валом и рулоном, 16800 Нм


где R – коэффициент трения качения рулона бумаги по прижимному валу, равный 2
D>н.в> – диаметр несущего вала, 590 мм;
D>р> – диаметр наматываемого рулона, 1500 мм;
Q – нагрузка на несущий вал от наматываемого рулона;


где q – линейное натяжение равное 20 кг/м = 200 Н
b – ширина наматываемого рулона, 4.2 м


где f – коэффициент трения качения в подшипниках, 0.02
d – диаметр тамбурного вала, 0.42 м
D – диаметр разматываемого рулона, 2.2 м
Q – нагрузка на тамбурный вал, Н

где G>бум> – вес разматываемого бумажного полотна, 8.6 104 Н
G>т.в.> – вес тамбурного вала, Н

где – плотность стали,
b – длина рабочей части вала, м
D>н> – наружный диаметр тамбурного вала, м
D>вн> – внутренний диаметр тамбурного вала, м




где q – линейное натяжение полотна, 20 кг/м = 200 Н/м
b – ширина разматываемого рулона


где f – коэффициент трения качения в подшипниках
d – диаметр цапф бумаговедущего вала, м
D – диаметр бумаговедущего вала, м
Q – нагрузка на бумаговедущий вал

Рис. 4.2.1 Схема нагружения бумаговедущего вала

где Q>z> – составляющая от натяжения бумажного полотна
G>в> – вес бумаговедущего вала

где – плотность стали, 7800 кг/м3,
b – длина рабочей части вала, 4.45 м
D>н> – наружный диаметр бумаговедущего вала, м
D>вн> – внутренний диаметр бумаговедущего вала, м



Мощность потребляемая несущими валами:

Мощность потребляемая раскатом:

Мощность торможения:



Мощность потребляемая ПРС

4. 2. Расчет механизма торможения раската
Для хорошего качества намотки рулона и устойчивой работы станка необходимо создать и поддерживать постоянным натяжения бумажного полотна. Величина линейного натяжения зависит от прочности бумаги, обусловленной ее разрывной длиной и весом.
Натяжение бумажного полотна создается при помощи генератора, который при заправке работает как двигатель, а при намотке рулона работает в тормозном режиме
Определение тормозного момента на разматываемом рулоне для создания натяжения бумажного полотна определяется по формуле:

где q – линейное натяжение бумаги, 200 Н/м
В>о> – обрезная ширина, 4.2 м
D>р> – диаметр разматываемого рулона, 2.2 м

Определение тормозного момента для быстрого останова разматываемого рулона:

где, G>р> – вес разматываемого рулона, Н

где b – обрезная ширина, 4.2 м
- плотность намотанной бумаги, 550 кг/м3
D>рул> – диаметр разматываемого рулона, 2.2 м
V>c>>т> – скорость станка,
D>р> – диаметр рулона в момент обрыва, м
g – ускорение свободного падения, 9.81 м/с2
t – время торможения, 3 с

Определение тормозного момента в случае экстренного торможения в случае аварии или при несчастном случае определяется по формуле:

Такого тормозного момента сам двигатель создать не может, поэтому для экстренного торможения разматываемого рулона предусматриваем дисковый тормоз установленный на приводном валу раската.
4.3. Расчет несущих валов
Несущие
валы продольно-резательных станков
представляют собой чугунные или стальные
трубы диаметром 400
600 мм в зависимости от ширины станка и
длиной на 150
200 мм больше ширины полотна. Их расчет
на прочность и жесткость производят по
общепринятой методике расчета трубчатых
валов. Относительный прогиб рабочей
части несущих валов не должен превышать
.
Особенность их расчета на прочность
состоит в том, что при определении
нагрузки, кроме собственного веса и
давления рулона, учитывают добавочную
нагрузку от возможного эксцентриситета
рулона е,
который принимают равным 0,003 0,005
м [ 4 ]

Рис. 4.3.1 Схема несущего вала
Проверка вала на критическую скорость при В>0> = 4200 мм; V>ст> = 2200 м/мин

где, g – ускорение свободного падения
f>ст> – статический прогиб вала

где G>в> – вес вала, Н,
L – расстояние между центрами подшипников вала, 4.6 м,
b – длина рабочей части вала
Е – модуль упругости стали, 2.1 105 МПа = 2.1 1011 Па
I – момент инерции поперечного сечения стального вала, м4,
I>1> – жесткость сечения цапфы несущего вала.

где D>1> – диаметр несущего вала, м
d>1> – внутренний диаметр несущего вала, м


где d>ц> – диаметр несущего вала,


где – плотность стали, 7800 кг/м3,

С учетом веса цапф принимаем вес вала равным 14000 Н


Рабочая скорость определяется по формуле:

где V – скорость бумажного полотна, 36.7 м/с
R>1> – радиус несущего вала, 0.295 м

Во избежании резонанса рабочая угловая скорость не должна превышать 60 80% критической, т. е.


Условие выполняется!
4.4. Определение относительного прогиба вала

Рис. 4.4. Схема нагружения несущего вала.
Определяем силу тяжести рулона:

где D>р> – диаметр наматываемого рулона, 1.5 м
d>г> – диаметр гильз,
В>о> – обрезная ширина,
– плотность намотки картона равная 550 650 кг/м3,

Находим усилие взаимодействия несущего вала и рулона:

где Р>ст> – статическая составляющая,
Р>д> – динамическая составляющая,

где m>р> – масса намотанного рулона, 4080 кг
е – эксцентриситет рулона, 0.005
>р> – угловая скорость наматываемого рулона

где R – радиус рулона,
>р> – угловая скорость наматываемого рулона



где q>1> – давление между рулоном и несущим валом, q>1> = 4000 Н/м,
B>0> – обрезная ширина, 4.2 м


Определяем нагрузку на подшипники вала без учета усилия натяжения полотна:

где G>в> – сила тяжести вала,
Р>1> – усилие взаимодействия несущего вала и рулона.

где R>в> – радиус вала,
R>р> – радиус рулона.
с – расстояние между центрами валов

Равнодействующая всех сил будет равна:

Сила с учетом натяжения будет равна:

где – угол перехода полотна к валу.
Т>о> – усилие натяжения полотна,

где q – линейное натяжение бумажного полотна


Определяем прогиб рабочей части вала:

где Р – нагрузка на вал,
В – длина рабочей части вала,
L – расстояние между осями подшипников,
Е – модуль упругости стали, 2.1 105 МПа = 2.1 1011 Па
I – момент инерции поперечного сечения стального вала, м4,

Величина относительного прогиба:


Условие выполняется!
4.5. Проверка подшипников несущих валов
Выбор подшипников производим по динамической грузоподъемности:
Определяем эквивалентную динамическую нагрузку:

где F>r> – радиальная нагрузка,
F>o> – осевая нагрузка,
х – коэффициент радиальной нагрузки,
y – коэффициент осевой нагрузки,
к>6> – коэффициент безопасности,
к>т> – коэффициент температурный.
Значения «х» и «y» для этого типа подшипников равны:
п
ри

Определение долговечности и динамической грузоподъемности из формулы:


Для условий желаемой долговечности 100000 часов, из отношения:

получаем:

По требуемой динамической грузоподъемности с>дин> = 675.6 кН может быть подобран радиально – сферический роликовый подшипник с обозначением 3628 с габаритными размерами 140х300х102 с расчетной долговечностью L>h> =100000 часов и динамической грузоподъемностью 681 кН
4.6. Расчет тамбурного вала
4.6.1. Расчет вала на критическую скорость
При работе станка разматываемый рулон расположен на тамбурном валу. Поскольку скорость ПРС может превышать скорость машины в 2 – 3 раза, возникает опасность появления резонанса колебаний тамбурного вала от статического прогиба.
Проверка вала на критическую скорость при В>0> = 4200 мм; V>ст> = 2200 м/мин

где, g – ускорение свободного падения, 9.81 м/с2
f>ст> – статический прогиб вала с рулоном:

где G>в> – вес тамбурного вала, 6.37 103 кг
G>б> – вес рулона бумаги (плотность намотанной бумаги = 550 650 кг/м3), 8777 кг = 86073 H
L – расстояние между осями подшипников тамбурного вала, 5.17 м;
b – ширина вала рабочая, 4.45 м;
а – длина цапфы (расстояние от центра подшипника до рабочей части вала)

Е>с> – модуль объемной упругости стали, Па, Е>с> =2,1 105 МПа
I>c> – момент инерции поперечного сечения стального тамбурного вала, м4,

где D>н> – диаметр тамбурного вала, м
D>в> – внутренний тамбурного вала, м

Е>б> – модуль продольной упругости намотанного рулона бумаги (Е>б> =6001000 МПа), 800 МПа = 0.008 1011 Па
I>б> – момент инерции поперечного сечения рулона бумаги.

где D>рул> – диаметр рулона, м
D>в> – диаметр тамбурного вала, м
> >
> >


Рабочая частота вала:

где V – скорость станка,
R>1> – радиус тамбурного вала,

Рабочая угловая скорость не должна превышать 60 80% критической, т. е.


Условие выполняется!
4.6.2. Расчет тамбурного вала на жесткость
Расчет ведем из условия прочности:

где Q – нагрузка на вал,
В – длина рабочей части вала,
L – расстояние между осями подшипников,
Е – модуль упругости стали,
I – момент инерции поперечного сечения стального вала,
Так как натяжение полотна по сравнению с нагрузкой от веса вала и веса рулона мало, в расчете этой величиной пренебрегаем:

где G>в> – вес вала, 6.37 103 Н
G>р> – вес рулона, 8.6 104 Н



Условие выполняется!
4.6.3. Расчет тамбурного вала на прочность
Расчет ведем из условия прочности:

где М>изг> – изгибающий момент в опасном сечении,
W – момент сопротивления поперечного сечения вала,

где Q>o> – общая нагрузка на вал

где G>в> – вес вала,
G>р> – вес рулона,

b – длина рабочей части вала,
l – расстояние между осями подшипников,


где D – наружный диаметр вала, м
d – внутренний диаметр вала, м


Допускаемое напряжение изгиба [>-1>] для стальных труб не должно превышать 150160 МПа
=55.83 МПа < [>-1>]=150 МПа
Условие выполняется!
4.7. Расчет выталкивающего вала

Рис. 4.7.1. Схема выталкивающего вала

где G>p> – вес рулона, Н
– угол между силами


где S – площадь поршня
Р – давление в цилиндре
L – длина рычага


где D – диаметр поршня цилиндра, равный:


Т. к. гидроцилиндров у механизма выталкивания два, то диаметр будет равен 268 мм
4.7.1. Расчет выталкивающего вала на прочность
Расчет ведем из условия прочности:

где М>изг> – изгибающий момент в опасном сечении,
W – момент сопротивления поперечного сечения вала,

где G>в> – вес вала, Н
q – распределенная нагрузка,

l – рабочая длина выталкивающего вала,


где D – наружный диаметр вала, м
d – внутренний диаметр вала, м


Допускаемое напряжение изгиба [>-1>] для стальных труб не должно превышать 150160 МПа
=50.2 МПа < [>-1>]=150 МПа
Условие выполняется!
4.8. Расчет гидроцилиндров спускного устройства

Рис. 4.8.1. Схема спускного устройства

где р – давление в гидроцилиндре,
F – площадь поршня гидроцилиндра

где G>р> – вес рулона, Н
G>c>>.у.> – вес спускного устройства,

Т. к. спускное устройство имеет два гидроцилиндра, диаметр каждого будет равен 195 мм.
5. Автоматизация
5.1. Регулирование плотности намотки рулонов
Для обеспечения качественной плотности намотки рулонов на продольно – резательном станке применяется прижимной вал, который обеспечивает необходимое усилие прижима наматываемого рулона картона к несущим валам, тем самым обеспечивая постоянное линейное давление и сцепление несущих валов с наматываемым рулоном.
В начальный момент работы требуемое линейное давление между рулоном и несущим валом обеспечивается за счет прижима прижимного вала. По мере роста диаметра наматываемого рулона усилие прижима прижимного вала уменьшается пропорционально росту массы наматываемого рулона. В момент, когда необходимое линейное давление будет обеспечиваться весом намотанного рулона, возникает необходимость вывешивания прижимного вала.
Пневматические цилиндры установленные с обоих концов прижимного вала позволяют поддерживать постоянным линейное давление между рулоном и прижимным валом при различной толщине бумажного полотна с правого и левого края.
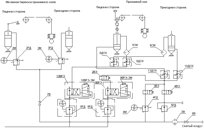
Воздух (рис. 5.1.1.) из магистрали поступает в штоковые полости цилиндров через регуляторы давления 2РД и 3РД, настраиваемые вручную независимо друг от друга для лицевой и приводной сторон. Контроль давления сжатого воздуха после регуляторов 2РД и 3РД производится по манометрам 2М и 3М, установленными как и регуляторы на пульте.
Перемещение механизма прижимного вала осуществляется пневмоцилиндрами двухстороннего действия, расположеннымми с лицевой и приводной стороны. При подъеме прижимного вала включается электромагнит воздухораспределителя 10ВРЭ, сжатый воздух через регулятор 8РД и воздухораспределитель поступает в штоковые полости цилиндров, при этом воздух из поршневых полостей сбрасывается в атмосферу через вентиль 2В9 и воздухораспределитель 9ВРЭ.

Рис. 5.1.1. Схема пневматическая принципиальная регулирования плотности намотки рулонов
При опускании прижимного вала включаются электромагниты вентиля 2ВЭ и воздухораспределителя 9ВРЭ, сжатый воздух поступает в поршневые полости пневмоцилиндров, а штоковые – соединяются с атмосферой через воздухораспределитель 10ВРЭ.
При ручном режиме работы прижим вала осуществляется регулятором давления 4РД, установленным на пульте и настраиваемым вручную по манометру 4М. При этом включается электромагнит вентиля 2ВЭ, воздух поступает в поршневые полости, а из штоковых полостей воздух через воздухораспределитель 10ВРЭ стравливается в атмосферу.
Дроссели 8ДОК, 9ДОК, 13ДОК и 14ДОК позволяют регулировать скорость подъема и опускания вала.
Для останова прижимного вала в режиме подъема или опускания в любом промежуточном положении и при необходимости снятия прижима необходимо обесточить все электромагниты.
Возможные режимы работы прижимного вала
табл. 5.1.1
|
Наименование механизма |
Режим работы |
Электромагниты |
||||
|
2ВЭ |
10ВРЭ |
9ВРЭ |
4ВЭ |
3ВЭ |
||
|
Прижимной вал |
Снять прижим |
- |
- |
- |
- |
- |
Поднять |
- |
+ |
- |
- |
- |
|
|
Опустить |
+ |
- |
+ |
- |
- |
|
|
Прижим автомат |
+ |
- |
- |
+ |
- |
|
|
Прижим ручной |
+ |
- |
- |
- |
+ |
5.2. Схема пневматическая принципиальная
Схема (рис. 5.2.1.) предусматривает автоматический прижим прижимного вала (усилие прижима вала к рулону находится в функции от диаметра наматываемого рулона). На оси звездочки прижимного вала установлен сельсин - датчик, электрически связанный с сельсин - приемником, находящегося в пульте. Ось сельсин - приемника механически связана с осью пневматического преобразователя ПП, выдающего пневматический сигнал, пропорциональный углу поворота сельсин – приемника, т.е. перемещению прижимного вала. Выходной сигнал преобразователя поступает на выход пропорционального регулятора ПР. Выходной сигнал регулятора пропорционален разности давления входного сигнала и давления задания, настраиваемого задатчиком ЗУ. Сигнал от пропорционального регулятора ПР поступает на управляемую мембрану регулятора 5РД (см. рис 5.2.1), являющегося усилителем этого сигнала по давлению и по мощности. Сжатый воздух о регулятора 5РД при автоматическом режиме прижима прижимного вала через вентиль 4В9 (электромагнит включен) поступает в поршневые полости пневмоцилиндров, производя его прижим при намотке.
Регуляторы РДФ устанавливают давление питания (Р>пит.> = 1,4 + 10% кгс/см2) пропорционально регулятора и пневмопреобразователя.
С помощью задатчика ЗУ по манометру М, находящихся на пульте, устанавливают задание на регулятор, соответствующее необходимому прижиму.

Рис. 5.2.1 Схема пневматическая принципиальная
5.3. Описание приборов используемых в схемах
2М … 4М – манометр показывающий общего назначения МОШ 1-100
2РД … 3РД – пневмоклапан П-КР12-12
6В, 7В – вентиль запорный муфтовый 15 НЖ 6бк
9ВРЭ, 10ВРЭ – пневмораспределитель В64-25М
9ВРЭ-ЭМ, 10ВРЭ-ЭМ – электромагнит
8РД, 9РД – пневмоклапан П-КР 25-11
2ВЭ … 4ВЭ – вентиль мембранный с электромагнитным приводом 15КЧ888р СВМ-220В
4РД – пневмоклапан П-КР 16-12
5РД – регулятор давления С5.16.21.200
3Ф – фильтр влагоотделитель 22-16Х40 ГОСТ17437-72
8ДОК, 9ДОК, 13ДОК, 14ДОК – пневмодроссель 16-1 ГОСТ 19485-74
5СМ, 6СМ – маслораспределитель В44-24
6. Экономическая часть
6.1. Смета капитальных затрат
В качестве базы для сравнения проектируемого продольно-резательного станка выбираем станок обрезной шириной 4200 мм и фактической рабочей скоростью 1100 м/мин.
Проектируемый продольно-резательный станок отличается от базового более простой конструкцией валов. Стоимость базового станка с учетом переоценки основных фондов 22 023 500 руб. Стоимость проектируемого станка с учетом изменения конструкции валов 22 003 100 руб., причем стоимость двух несущих, бумаговедущего и тамбурного валов 800 000 руб.
Капитальные затраты определяются расчетом на основе составления сметы затрат.
табл. 6.1.1
|
№ п/п |
Наименование затрат |
Сумма затрат, руб |
|
1 |
Основное оборудование (несущие, бумаговедущий и тамбурный валы) |
800 000 |
|
2 |
Дополнительные комплектующие изделия |
80 000 |
|
3 |
Установочные расходы |
90 600 |
|
Всего затрат (К >см>) |
970 600 |
6.2. Расчет фактической суммы капитальных затрат:
К>ф> отличается от сметной К>см> в зависимости от уровня морального и физического износа заменяемых деталей
Так как старые узлы физически и морально устарели и полностью амортизированы, то они сдаются в лом.
К>ф> = К>см> – Л= 970 600 – 9 500 = 961 100 руб,
где Л – стоимость лома, руб., определяется по формуле:
Л = m Ц = 9.5 1000 = 9 500 руб.
где m – масса (вес) демонтируемых узлов, 9.5 т
Ц – цена металлолома, 1000 руб./т
6.3. Расчет условной годовой экономии
Изменение затрат на амортизационные отчисления определяем по формуле:

где К>1> и К>2> – стоимость базового и проектируемого станка, равная соответственно 22 023 500 руб. и 22 003 110 руб.;
А>1> и А>2> – годовая производительность базового и проектируемого станка, равная 120000 т/год;
N>a> – норма амортизационных отчислений, равная 7%

Изменение затрат на ремонты определяется по формуле:

где с>бал> – стоимость валов базового станка, равная 1 180 000 руб.
к>пр> – стоимость валов проектируемого станка, равная 970 600 руб.
5.2 и 4.2 – затраты на текущий ремонт к стоимости оборудования соответственно до и после модернизации, %
4.3 – затраты на капитальный ремонт, %

Изменение затрат на электроэнергию:

где N>1> и N>2> – мощность двигателей базового и проектируемого станка, равная соответственно 250 и 200 кВт;
Q>час> – часовая производительность, равная 14,5 т/ч;
Ц – цена 1 кВт ч электроэнергии, равная 0,5 руб/кВт ч

Изменение процента брака находим через производительность:
Запланированная производительность после модификации:

где, В – ширина обрезная, 4.2 м
q – вес 1м2, 350 гр. = 0.35 кг
V - скорость рабочая (фактическая), 1100 м/мин

Фактическая производительность до модификации:

Количество брака, который уходит в бракомелку равно 4.2% от суточной производительности. На проектируемом станке количество брака уменьшается в полтора раза.
Разница между полной себестоимостью продукции и стоимостью композиции, руб.:
2 000 – 1 200 = 800 руб.
Условная экономия по браку:

Общая сумма условно годовой экономии:

Коэффициент экономической эффективности:

Годовой экономический эффект:

При нормативном коэффициенте равным Е>н >= 0.25 мероприятия по замене валов будут достаточно эффективными.
7. Безопасность объекта
7.1. Анализ условий труда
По мере усложнения системы “Человек-техника” все более ощутимее становится экономические и социальные потери от несоответствия условий труда и техники производства возможностям человека. Анализ условий труда на участке продольно-резательного станка, приводит к заключению о потенциальной опасности данного участка. Суть опасности заключается в том, что воздействие присутствующих опасных и вредных производственных факторов на человека, приводит к травмам, заболеваниям, ухудшению самочувствия и другим последствиям.
На участке имеются следующие вредные и опасные факторы:
1. механические факторы, характеризующиеся воздействием на человека кинетической, потенциальной энергий и механическим вращением. К ним относятся кинетическая энергия движущихся и вращающихся тел, шум, вибрация.
2. термические факторы, характеризующиеся тепловой энергией и аномальной температурой. К ним относятся температура нагретых предметов, поверхностей и окружающей среды.
3. электрические факторы, характеризующиеся наличием токоведущих частей оборудования.
4. микроклиматические факторы, характеризующиеся наличием в окружающем воздухе пылевыделения.
При разработке мероприятий по улучшению условий труда необходимо учитывать весь комплекс факторов, воздействующих на формирование безопасных условий труда.
7.2. Защита от движущих частей, шума и вибрации.
На проектируемом станке предусмотрено ограждение опасных мест станка таких как: вращающиеся детали станка, муфты. При поднятой перегородке невозможно переключить скорость станка с заправочной на рабочую. Для экстренного торможения при несчастном случае предусмотрен пневматический дисковый тормоз, который останавливает продольно-резательный станок за 0,5 с.
Шум и вибрация на производственном участке наносит большой ущерб, вредно действуя на организм человека и снижая производительность труда.
Шум - это беспорядочное хаотическое сочетание волн различной частоты и интенсивности.
Шум возникает при механических колебаниях. Различают три формы воздействия шума на органы слуха:
а) утомление слуха;
б) шумовая травма;
в) посредственная тугоухость.
Для снижения шума, возникающего в цехе, предусмотрено: массивный бетонный фундамент, шумопоглащающие лаки, применение звукоизолирующих кожухов и акустических экранов на оборудовании, являющимся источниками повышенного уровня шума.
7.3. Пожарная безопасность.
Пожары на бумагоделательных предприятиях представляют большую опасность для работающих и могут причинить огромный материальный ущерб. К основным причинам пожаров, возникающих при производстве бумаги, можно отнести: нарушение технологического режима, неисправность электрооборудования (короткое замыкание, перегрузки), самовозгорание промасленной ветоши и других материалов, склонных к самовозгоранию, несоблюдение графика планового ремонта, реконструкции установок с отклонением от технологических схем. На участке продольно-резательного станка возможны следующие причины возникновения пожара: перегрузка проводов, короткое замыкание, возникновение больших переходных сопротивлений, самовозгорание различных материалов, смесей и масел, высокая концентрация воспламеняемой смеси пыли с воздухом. Для локализации и ликвидации пожара внутрицеховыми средствами создаются следующие условия предупреждения пожаров: курить только в строго отведенных местах, подтеки и разливы масла и растворителя убирать ветошью, ветошь должна находиться в специально приспособленном контейнере.
7.4. Электробезопасность.
Широкое применение в промышленности электродвигателей, систем управления, работающих в различных условиях, связана с применением электрической энергии и требует обеспечения электробезопасности, разработки мероприятий и средств, обеспечивающих защиту людей от воздействия электрического тока.
Электрический ток проходя через организм, оказывает термическое, электролитическое, и биологическое воздействие, вызывая местные и общие электротравмы. Основными причинами воздействия тока на человека являются:
- случайное прикосновение или приближение на опасное расстояние к токоведущим частям;
- появление напряжения на металлических частях оборудования в результате повреждения изоляции или ошибочных действий персонала;
- шаговое напряжение в результате замыкания провода на землю.
Существуют следующие основные меры защиты от поражения током, применяемые отдельно или в сочетании друг с другом: недоступность токоведущих частей, защитное заземление, применение специальных электрозащитных средств, зануление, защитное отключение, электрическое разделение сетей разного напряжения, применение малого напряжения, изоляция токоведущих частей, выравнивание потенциалов.
Одно из наиболее часто применяемой мерой защиты от поражения током является защитное заземление.
Заземление - преднамеренное электрическое соединение с землей металлических нетоковедущих частей, которые могут оказаться под напряжением. Разделяют заземлители искусственные, предназначенные для целей заземления, и естественные - находящиеся в земле металлические предметы для иных целей. Для искусственных заземлителей применяют обычно вертикальные и горизонтальные электроды. В качестве вертикальных электродов используют стальные трубы диаметром 3 5 см и стальные уголки размером от 40 х 40 до 60 х 60 мм длиной 3 5 м. Также применяют стальные прутки диаметром 10 20 мм и длиной 10 м. Для связи вертикальных электродов и в качестве самостоятельного горизонтального электрода используют сталь сечением не менее 4 х 12 мм и сталь круглого сечения диаметром не менее 6 мм.
В качестве заземляющих проводников применяют полосовую или круглую сталь, прокладку которых производят открыто по конструкции здания на специальных опорах. Заземлительное оборудование присоединяется к магистрали заземления параллельно отдельными проводниками
В электроустановках (ЭУ) напряжением до 1000 В с изолированной нейтралью и в ЭУ постоянного тока с изолированной средней точкой применяют защитное заземление в сочетании с контролем изоляции или защитное отключение.
В этих электроустановках сеть напряжением до 1000 В, связанную с сетью напряжением выше 1000 В через трансформатор, защищают от появления в этой сети высокого напряжения при повреждении изоляции между обмотками низшего и высшего напряжения пробивным предохранителем, который может быть установлен в каждой фазе на стороне низшего напряжения трансформатора.
Защитное отключение применяется в качестве основного или дополнительного способа защиты в случае, если не может быть обеспечена безопасность применением защитного заземления или зануления или их применение вызывает трудности.
Все электродвигатели проектируемого станка имеют защитное заземление.
7. 5. Освещение производственного участка.
Правильно спроектированное и выполненное освещение производственного участка улучшает условия работы, снижает утомляемость, способствует повышению производительности труда и качества выпускаемых полуфабрикатов, безопасности труда и снижению травматизма на участке.
Освещение рабочего участка - важнейший фактор создания нормальных условий труда. В зависимости от источника света производственное освещение может быть двух видов естественное и искусственное.
Естественное освещение подразделяется на боковое, осуществимое через световые проемы в наружных стенах; верхнее, осуществимое через аэрационные и зенитные фонари, проемы в перекрытиях; комбинированное, когда к верхнему освещению добавляется боковое. Искусственное освещение может быть двух систем - общее и комбинированное, когда к общему освещению добавляется местное, концентрирующее световой поток непосредственно на рабочих местах.
Проектируемый станок имеет общее искусственное освещение с равномерным расположением светильников т.е. с одинаковыми расстояниями между ними. Зона ножей и зона несущих валов освещается двумя рядами светильников. Светильники представляют собой две штанги, закрепленные с помощью кронштейнов к станинам. К штангам подвешены светильники типа ПВЛ-2Х40.
7.6. Очистка воздушной среды.
Одно из необходимых условий здорового и высокопроизводительного труда – обеспечить нормальные условия и чистоту воздуха на участке. Требуемое состояние воздуха рабочей зоны может быть обеспечено выполнением определенных мероприятий к основным из которых относятся:
1. Применение технологических процессов и оборудования, исключающих образование вредных веществ или попадания их в рабочую зону.
2. Надежная герметизация оборудования, в частности валов, где нагреваются подшипники, с поверхности которых испаряется масло.
3. Установка на проектируемом участке устройства вентиляции или кондиционирования.
4. Применение средств индивидуальной защиты, а именно: спецодежда, защищающее тело человека; защитные очки и фильтрующие средства защиты; защитные мази, защищающее кожу рук от масел (при смазке подшипников и деталей двигателя); защитные рукавицы (при выполнении транспортировочных работ).
Процесс резки бумаги обычно сопровождается побочным явлением, отрицательно влияющий на микроклимат производственного помещения. Эти побочные явления называются вредными выделениями. К их числу относится и пылевыделение – выделение пыли в количествах, обуславливающих запыленность сверх нормы. На продольно-резательных станках используется механическая резка бумаги и в результате воздействия механизма резки на полотно происходит обрыв волокон, которые и образуют пыль. Влияние пыли на безопасность здоровья обслуживающего персонала обуславливает применение пневмотранспорта отходов. На рис. 10.5.1. показана схема удаления отходов резки на проектируемом станке.
Рис. 7.6.1. Схема отсоса пыли от ножей.
1 – пылеприемники; 2 – гофрированные шланги; 3, 5 – трубопровод; 4 – вентилятор; 6 – циклон.
7.7. Расчет пневмотранспорта отходов от ПРС
Находим секундный расход отходов от каждой пары ножей по формуле:

где V>п> – скорость подачи бумажного полотна,
b – ширина разреза
h – толщина бумажного полотна
>п> – плотность бумажного полотна

Количество воздуха, которое необходимо просасывать через кожухопылеприемник одной пары ножей, определяем по формуле:

где G>i> – количество отходов, отсасываемых от кожухопылеприемников,
>b> – плотность воздуха
– весовая концентрация аэросмеси

Зная расход воздуха, находим внутренний диаметр трубопровода по формуле:

где W>b> – средняя скорость воздушного потока,

принимаем внутренний диаметр трубопровода d = 0.08 м
Общее давление, которое должен развивать вентилятор, складывается из суммарных потерь давления на всасывающем и нагнетательным участках трубопровода.
Потеря давление в общем случае складывается из:
а) потерь на придание смеси кинетической энергии:

б) потерь на местные сопротивления – в кожухах пылеприемниках

где >м> – коэффициент местного сопротивления

на поворотах >м> =0,12

в местах врезки воздуховодов >м> =0,12

в) потерь в прямолинейных участках:

где – коэффициент сопротивления трубопровода при движении в нем чистого воздуха

где d>i> – внутренний диаметр трубопровода

где >i> – динамический коэффициент вязкости для воздуха
>э> – эквивалентная шероховатость трубопровода
l>i> – длина участка трубопровода
R – опытный коэффициент зависящий от физико – механических свойств транспортного материала и скорости транспортирования.



Общий перепад давления:
P=152,6+259,2+20,7+31,1+563,7=1027,3 Па
По графику подбираем центробежный пылевой вентилятор Ц6-46 №3 с комплектующими двигателями А2 и А02 со следующими параметрами n=2440 об/мин, Q=0,65 тыс. м3/г
Затем по графику выбираем циклон ЦН-11, одиночный, с перепадом давления Р=120 кг/м3; Q=0,45 тыс. м3/г; D=250 мм; H=950 мм; m=115.72 кг.
8. Перечень используемой литературы
Бумагоделательные и отделочные машины, изд. 3-е, испр. и доп. Эйдлин И. Я. Изд-во «Лесная промышленность», Москва, 1970 г., 623 с.
Технологический расчет процессов обезвоживания на сеточной части бумагоделательных машин с использованием ЭВМ. Методические указания к курсовому и дипломному проектированию. Под ред. проф. И. Д. Кугушева. Сост. А. Е. Слуцкий, А. П. Спирин, Ю. Н. Швецов; ЛТИ ЦБП, Л., 1988. 27 с
Расчет основных конструктивных и технологических параметров продольно-резательных станков. Методические указания по выполнению самостоятельной работы. Третьяков С.Ю., Калугин Ю.К., Ленинград, 1990. 14 с.
Справочник механика целлюлозно-бумажного предприятия. Пожитков В. И., Калинин М. И., Старец И. С. и др.; Под ред. канд. техн. Наук М. И. Калинина. – М.: Лесная пром-сть, 1983 г., 415 с
Журнал «Бумага и жизнь» № 3, 2002 г. изд. «Украина»
Эксплуатация и ремонт бумагоделательных машин. С. С. Киселев, М. ГосЛесБум. 1973 г, 320 с
Валы бумагоделательных и отделочных машин. Эйдлин И. Я., М. ГосЛесБум. 1961 г, 590 с
Раздел «Охрана труда» в дипломных проектах студентов механического факультета. Методические указания. Сост.: Якимов В. И. – Л; ЛТИЦБП, 1985 г. 18 с
ГОСТ 7933-75 «Картон коробочный»
Методические указания для выполнения контрольных работ по курсу «Вентиляция и кондиционирование воздуха целлюлозно – бумажных предприятий». Сост.: Наместников И. В., Якимов В. И. – Л; ЛТИЦБП, 1975 г. 46 с
Дипломное проектирование. Методические указания. Порядок изложения и построения пояснительной записки. Сост.: Кугушев И. Д., Калугин Ю. К. – Л; ЛТИЦБП, 1986 г. 24 с
Автоматика и автоматизация производственных процессов целлюлозно – бумажных производств, Буйлов Г. П., Дронин В. А., Серебряков Н. Г. , М; Экология 1995 г, 320 с
Дипломное проектирование, часть II. Порядок оформления графической части (методические указания). Сост.: Кугушев И. Д., Калугин Ю. К. – Л; ЛТИЦБП, 1986 г. 32 с
Обоснование типажа ПРС машин. Каупельсон Г. Н. – Л; ЛТИЦБП, 1965 г. 260 с
Методы повышения работоспособности резательных аппаратов. Кисилев С. С. М; Лесная промышленность, 1968 г., 280 с
Оборудование ЦБП. Чичаев В. А.; М; Лесная промышленность, 1981 г., 330 с
Экономическое обоснование организации ремонта и модернизации с использованием сетевых моделей. Терешкина Т. Р., Коваленко Ю. К., Лапин Ю. И. –СПб; СПбГТУРП, 1993 г.,32 с
Overview
скоростьскорость2
тормоз
экономика
Sheet 1: скорость
| 343,9686956516 | длина нам бумаги, м | |||
| вес рулона, кг | ||||
| толщ. бум. полот, м | 0,011 | 8776,614 | ||
| наружн.диаметр рул D, м | 2,2 | чертеж | ||
| диам тамб вала,D, м | 0,15 | Калинин 53 стр | ||
| скорость БДМ по приводу, м/мин | 450 | 508,3 | скорость ПРС м/мин | |
| коэф запаса >1 | 1,15 | |||
| t всп, вспомог. время 6-8 мин | 7 | |||
| произв. Картона кг/сут | 350000 | 210,9651232458 | рабочая скорость машины, м/мин | |
| масса картона г/м2 | 350 | |||
| ширина полотна на накате, м | 4,2 | 200,4168670835 | скорость сеточной части, м/мин | |
| к1 22,5 - 23 | 22,5 | |||
| к2 0,95 -0,98 | 0,95 | 240,5002405002 | скорость БДМ по приводу, м/мин | |
| к3 0,88 - 0,98 | 0,88 | принимаем 450 м/мин | ||
| метода 9-12 |
Sheet 2: скорость2
| 242,6 | критич скор. м/с | 108,5 | допуск скор намат м/с | ||
| разрывн длин картона в прод напр, м | 6000 | 0,000265 | критич. углов скор, с-1 | ||
| ускорение силы тяж, м/с2 | 9,81 | ||||
| радиус рулона. М | 2,2 | 139326293,8 | статич прогиб рул, м | ||
| вес тамбурного вала, кг | 150 | ||||
| вес рулона бумги, кг | 8777 | 10000 | |||
| расст меж центр подшип там вал, м | 4,6 | ||||
| ширина бумажного полотна, м | 4,2 | ||||
| Ес - модуль объемной упруг стали, МПа | 2,1 | ||||
| Ic -момент инерц поп сеч стальн там вал, м4 | 50 | ||||
| Еб-мод прод упруг намот рул 600-1000 МПа | 600 | ||||
| мом инерц поп сеч намот рул, м4 | 45,5993852619 | ||||
| жестк сечения цапфы тамб валика | 30 | ||||
| длина цапфы (раст от цент подш до р ч в), м | 0,2 | ||||
| плотность намотан бумаги 550-650 кг/м3 | 550 | ||||
| момент инерции рулона бумаги | 16770,6 | ||||
| толщина бумаги, б, м | 0,0003636364 | метода |
Sheet 3: тормоз
| линейное натяжение, q, Н/м | 2100 |
| коэффициент | 0,1 |
| тормоз мом, Мт, Н м | 5292 |
| диам рул в момен обрыв, м | 1,2 |
| мощн тормож, Вт, Nт | 4483578,11479291 |
| торм. мом для ост., Мтор, Нм | 83378,789 |
| время тормож 2-5 сек | 3 |
| движущ момент, Мр, Нм | 393902589,6101 |
| время разгона, tр, сек (30-60) | 30 |
| Механизм торможения ПРС |
Sheet 4: экономика
| стоим базов станка | 24023550 | ||||
| стоим проект | 24002110 | изм затр на аморт | 0,0092760816 | т.руб/т | |
| произв базов | 122500 | ||||
| произв проек | 122500 | ||||
| норма амортиз | 5,3 | ||||
| стоим вал баз ст | 118000 | изм затр на рем | |||
| стоим вал проек ст | 97600 |
Санкт-Петербургский Государственный Технологический Университет
Растительных Полимеров
Кафедра МАС
Отчет о преддипломной практике
На тему: Продольно-резательный станок производительностью 350 тонн в сутки коробочного картона
|
Руководитель Третьяков С. Ю. |
Студент 6 курса заочного отделения Завьялов А.В. шифр 971-429 |
Санкт-Петербург
2002 г.
Общие сведения о предприятии и выпускаемой продукции.
Санкт-Петербургский картоно – полиграфический комбинат находится в Гатчинском районе Ленинградской области в 30 км. от города Санкт-Петербурга и 1,5 км. от станции Антропшино на берегу реки Ижора.
Санкт-Петербургский картоно – полиграфический комбинат специализируется на выработке из макулатуры высококачественного картона хром-эрзац макулатурного (мелованного и немелованного) и заготовок картонных коробок с многокрасочной печатью.
В качестве сырья для изготовления продукции используется 80% макулатуры и 20% беленой целлюлозы.
Общая мощность картонного производства составляет 2000 тысяч тонн картона в год (без учета мелования).
Картоноделательные машины К-27 спроектированы ЦНИИ БумМашем с использованием проекта машин с вакуум - формующими цилиндрами типа «Сауч - формер» фирмы Эшер – Висс.
Изготовителем и поставщиком картоноделательных машин является завод тяжелого бумагоделательного машиностроения «ИжТяжБумМаш» с доукомплектованием по импорту следующих частей:
вакуум – формующей части со вспомогательным оборудованием;
прессовой части;
клеильного пресса (для КДМ №1)
Основное технологическое оборудование размещено в двух производственных блоках № 1 и №2.
В состав блока №1 входят следующие производства:
Склад макулатуры, завод макулатурной массы мощностью 240 тысяч тонн массы в год, в составе отдела роспуска полуфабрикатов и отдела подготовки макулатурной массы.
Картоноделательный цех мощностью 200 тысяч тонн картона в год (без учета мелования)
В состав блока №2 входят следующие технологические производства:
склад готовой продукции;
главный материальный склад;
участок приготовления химикатов и мелованной пасты со складами химикатов;
цех переработки картона в составе участка листового картона мощностью 20,9 тысяч тонн в год товарного листового картона;
участок малоформатных рулонов мощностью 41,9 тысяч тонн в год;
участок склеенного картона мощностью 26,5 тысяч тонн в год;
производство заготовок коробок с многокрасочной печатью и складом заготовок коробок мощностью 50 тысяч тонн в год.
Водоснабжение комбината осуществляется в основном сточной водой БКФ «Коммунар», очищенной сточной водой после собственных очистных сооружений.
Год ввода картоно – полиграфического комбината в эксплуатацию – 1982 г.
Генеральный проектировщик. Проектировщик технологической и строительной части – Гипробум.
Разработчик технологического процесса – УкрНПОбумпром и фирма Эшер – Висс.
2. Картоноделательные машины.
На комбинате установлены две картоноделательные машины марки К-22.
Каждая КДМ оснащена семью вакуумформующими цилиндрами и служит для изготовления коробочного картона массой 1 м2 от 200 до 500 грамм.
Ширина мокрого полотна картона, мм 4500
Ширина полотна картона после отсечки кромок, мм 4450
Максимальная необрезная ширина, мм 4270
Производительность при 93% а.с.в. нанакате, т/24 ч. 360
Картоноделательные машины состоят из следующих частей: сеточной, прессовой и сушильной.
Сеточная часть состоит из 7 вакуум - формующих устройств, в комплект которых входят 7 напускных устройств для подачи массы на формующие цилиндры, каждый из семи массных потоков, предназначенных для подачи на формующие цилиндры, оснащен автономной системой очистки, емкостями для массы и воды с насосами.
3. Характеристика производимой продукции.
Основной продукцией комбината является картон хром – эрзац макулатурный, предназначенный для изготовления коробок, пачек и другой потребительской тары с многокрасочной печатью и без печати для нужд народного хозяйства, выпускается по ТУ 13-0281020-97-90 и коробочный картон для изготовления коробок без печати по ТУ 13-028-1020-99-90 и СТП 2-63-91.
Картон хром – эрзац макулатурный должен соответствовать требованием ГОСТ 7933 и настоящих технических условий и изготовляются по технологическому регламенту, утвержденному в установленном порядке.
Марки
Картон должен изготавливаться следующих марок:
МО – мелованный для офсетного и типоофсетного способов печати.
МГ – мелованный для глубокого способа печати.
Н – не мелованный для офсетного, типоофсетного и высокого способов печати.
Допускается применять картон всех марок для упаковки пищевых продуктов с влажностью не более 15% без использования дополнительных упаковочных средств.
Картон должен вырабатываться в рулонах, бобинах и листах. Размеры по ширине и диаметру рулонов и бобин и форматы листового картона устанавливаются по согласованию сторон.
Допуск отклонений по размерам не должен превышать:
3 мм. по листовому картону и ширине рулонов.
2 мм. по ширине бобин.
Картон должен вырабатываться с обрезанными кромками. Обрезанные кромки должны быть ровными и чистыми. Картон, изготовляемый в рулонах, должен наматываться белым слоем наружу.
Техническая характеристика
Картон должен изготовляться многослойным. Покровный слой картона должен изготовляться из беленой целлюлозы. Остальные слои картона должны изготовляться из макулатуры или ее смеси с другими волокнистыми полуфабрикатами за исключением макулатуры марки МС-12 по ГОСТ 10700.
3.4. Методы испытаний.
Испытания картона в кондиционированных условиях допускается проводить периодически. Периодичность испытания в кондиционированных условиях и коэффициент пересчета норм показателей качества картона для этих условий устанавливается в технологических регламентах.
4. Общие сведения о продольно – резательном станке
4.1. Назначение изделия
Станки продольно – резательные С5-304.00.000 левого исполнения и С5П-304.00.000 правого исполнения предназначены для разрезания и перемотки в рулоны картона массой 1 м2 150…750 г/м2.
Станки расчитаны на работу в помещении с температурой не ниже + 50 С и относительной влажностью воздуха 65…85%.
Завод – изготовитель: Ижевский завод тяжелых бумагоделательных машин.
4.2. Техническая характеристика.
4.2.1. Обрезная ширина бумажного полотна, мм 4200
4.2.2. Скорость станка, м/мин
максимальная 1200
минимальная 300
заправочная 25
Максимальный диаметр наматываемого рулона, мм 1500
Максимальный диаметр разматываемого рулона, мм 2200
Минимальная ширина наматываемого рулона, мм 420
Пределы изменения натяжения полотна картона на раскате, кгс/см 0,3…1,2
Габариты станка, мм
Длина 16640
Высота с приямком 5804
Ширина 11475
Масса, кг 74000
Резка бумаги по принципу ножниц
Количество пар ножей 9…11
Намотка бесштанговая
Внутренний диаметр намоточной гильзы, мм 75, 125, 250
Минимальная толщина стенки гильзы, мм 10
Заправка полотна бумаги нижняя
Род тока электропривода станка постоянный
Предел регулирования 1: 4
Тип преобразователей электропривода тиристорные
Напряжение электросети, в 380
Частота тока, гц 50
Режим работы непрерывный
Система смазки комбинированная6 консистентная и жидкая картерная.
Общее описание работы станка
На продольно – резательном станке перематывается рулон картона, поступающий с наката картоноделательной машины. В процессе перемотки производится продольная резка на полосы стандартной ширины и намотка в рулоны требуемого диаметра.
Процесс переработки рулона на продольно – резательном станке состоит из целого ряда последовательно выполняемых операций. Рулон картона после снятия с наката картоноделательной машины, устанавливается в стойках раската. Корпуса подшипников тамбурного вала зажимаются рычагами с помощью пневмоцилиндров; тамбурный вал соединяется с генератором привода раската муфтой включения.
Разматываемое с тамбурного вала полотно картона огибает бумаговедущий вал, проходит по направляющему аппарату верхними и нижними ножами, огибает снизу несущий вал. При этом несущие валы и бумаговедущий вал работают на уровне заправочной скорости и крайние верхние ножи находятся в контакте с нижними. Резка осуществляется по принципу ножниц. Для облегчения процесса проводки бумажного полотна предусмотрен транспортер заправочной. После проводки полотна картона между несущими валами привод останавливают. На несущие валы укладывают гильзы, зажимают штоками кареток бесштанговой намотки и заправляют на них картон. Для расправления разрезаемого полотна перед несущими валами установлен расправочный вал. Необходимое линейное давление между рулоном и несущими валами в начальный период намотки создается прижимным валом. Чтобы линейное давление оставалось примерно постоянным, по мере увеличения диаметра рулона, прижимной вал вывешивается двумя пневмоцилиндрами. Для обеспечения безопасной работы на станке установлены ограждения. После заправки полотна гильзы поднимают ограждение, опускают прижимной вал, включают верхние ножи и вентилятор разрыватель. Станок включают для работы на заправочной скорости и, убедившись в нормальном ходе процесса перемотки, разгоняют до требуемого уровня рабочей скорости.
На заправочной скорости станок может работать при опущенном ограждении рулона. Переход на рабочую скорость и работа на рабочей скорости может происходить только при поднятом ограждении.
Станок по программе разгоняется, работает на заданном уровне рабочей скорости и, при достижении требуемого диаметра рулона или метража бумаги в рулоне, привод автоматически тормозится. Автоматическое управление отдельными механизмами станка осуществляется с помощью конечных выключателей, установленных на станке.
После полной остановки станка прижимной вал поднимается, разжимаются штоки кареток бесштанговой намотки, выключаются крайние верхние ножи, опускается ограждение и стол приемный. Готовые рулоны сталкиваются сталкивателем.
Для обеспечения бесперебойной работы станка устанавливается накопитель. На накопитель укладываются рулоны, снимаемые с наката машины.
4.5. Механизм регулирования давления между рулоном и несущими валами
Плотная намотка бумаги на продольно-резательном станке достигается путем прижима наматываемого рулона к несущим валам. Для этой цели служит прижимный валик, устанавливаемый над наматываемым рулоном. Схема сил, действующих на рулон и несущие валы, показана на рис. 4.5.1.

Рис. 4.5.1. Схема нагрузок на несущие валы
Общая вертикальная нагрузка Q>o> на несущие валы складывается из веса намотанной бумаги Q>б>, веса намоточного вала (если он установлен) Q>н> и давления Q>п> прижимного вала на рулон

Линейное давление между рулоном и несущими валами равно:

где - угол между вертикалью и линией соединения центров рулона и несущего вала.
В свою очередь, угол определяется выражением:

где с – половина расстояния между центрами несущих валов, м
r>р> и r>н> – соответственно радиусы рулона и несущих валов, м

Установлено, что достаточная плотность намотки достигается при q>н> (34)103 Н/м. С таким давлением прижимается прижимной валик в начале намотки бумаги. По мере увеличения радиуса рулона его вес возрастает, и чтобы сохранить линейное давление рулона на несущие валы постоянным, прижимный валик вывешивают с помощью специальных механизмов вывешивания. При достижении q>н> = (34)103 Н/м его выводят из контакта с рулоном, и далее плотность намотки обеспечивается действием веса рулона на несущие валы. Для автоматизации процесса вывешивания прижимного вала на современных ПРС устанавливают программные регуляторы давления.
Вопросы на защите:
при увеличении производительности КДМ и невозможности увеличивать скорость станка – установка второго п-р. станка
почему выбраны рифленые несущие валы а невалы с напылением - рифленые несущие валы досих пор остаются актуальными для картона
Чем регулируется (обеспечивается) плотность намотки – натяжением полотна, наличием прижимного вала, разным соотношением скоростей несущих валов, скорость второго по ходу несущего вала на 1-2% выше чем первого
Кол-во тамбурных валов – 10 штук
Марки сталей несущих валов Ст50 или30Х
Для чего служит тормозной генератор – для обеспечения постоянного натяжения полотна
Материал ножей – ШХ15 с твердостью 60-65 по Бринелю
что такое металл – материал с металлической связью между атомами, при увеличении температуры материала увеличивается электрическое сопротивление
Для чего служат несущие валы – для поддержания наматываемого рулона и придания ему вращательного движения
Для чего на несущем валу присутствуют спиральные канавки, правые на одной половине и левые на другой – для увеличения коэф. трения между несущими валами и наматываемым рулоном, уменьшения шума при работе станка, удаления воздуха из промежутка между валами и рулоном, для расправления бум. полотна
За счет чего уменьшилось вспомогательное время – за счет самозатачивающихся и самоустанавливающихся ножей.
Для чего нужен бумаговедущий вал - для расправления бум. полотна
еще был вопрос по безопасности объекта но я его не помню точно, вроде как о защите от движущихся частей, отвечал что-то про блокираторы.
За новыми схемами станков и более свежей информацией по ним, а также за помощью по диплому, обращайтесь в ЦНИИ БумМаш, там всегда помогут, в отличие от руководителей проектов, в БумМаше можно чертить если хорошо попросить (знал бы я это в период дипломного проектирования)
Вашему вниманию предложен проект продольно-резательного станка производительностью 350 т/сутки.
В настоящее время, несмотря на то, что наблюдается некоторое вытеснение упаковочных картонов полимерными материалами, в некоторых сегментах рынка картоны по-прежнему остаются незаменимыми, в силу своих преимуществ, таких как, возможность декорирования и конструирования, небольшой вес, прочность. Картоны сравнительно недороги, а главное, универсальны.
Картонная тара – остается одним из стабильно растущих сегментов на рынке упаковки, что подразумевает многообразие различных ее видов, начиная c индивидуальной (коробки для шоколадных конфет, печенья, пачки сигарет) и заканчивая транспортной упаковкой (картонные коробки и ящики). Сегодня, большое внимание уделяется не только качеству товара, но и качеству его упаковки, ее дизайну, эргономичности, экологической чистоте и информативности, и поэтому спрос на качественную потребительскую и транспортную картонную тару среди отечественных производителей растет. Тем более что картон и бумага являются наиболее распространенными упаковочными материалами, как в нашей стране, так и во многих европейских странах.
Можно прогнозировать дальнейшее динамичное развитие целлюлозно-бумажной отрасли в целом и сектора картонной тары в частности. А как следствие увеличения сегмента рынка картонной тары можно ожидать повышение рентабельности предприятий, работающих в этом направлении, и их инвестиционной привлекательности.
Сырьем для изготовления картона является беленая целлюлоза, макулатура или другие волокнистые полуфабрикаты, процентное соотношение для сырья может быть различным, в зависимости от марки изготовляемого картона.
Картон хром – эрзац макулатурный изготавливается следующих марок:
МО – мелованный для офсетного и типоофсетного способов печати.
МГ – мелованный для глубокого способа печати.
Н – не мелованный для офсетного, типоофсетного и высокого способов печати.
Картон изготовляется в рулонах, в листах, в бобинах, в коробках или пачках правильной геометрической формы, в зависимости от дальнейшего применения. Размеры по ширине и диаметру рулонов и бобин и форматы листового картона устанавливаются по согласованию с заказчиком.
Картон должен вырабатываться с обрезанными кромками, которые должны быть ровными и чистыми. Число обрывов должно быть минимальным и не превышать установленных норм.
Эти требования обеспечиваться спроектированным продольно-резательным станком.
Разработанный станок состоит из следующих основных частей:
накопитель, обеспечивающий бесперебойную работу станка
раскат, где происходит размотка рулона
бумаговедущего вала
механизма продольной резки (закаленные ножи, сталь ШХ15 с твердостью по Бринелю 60-65 единиц)
рифленых несущих валов (марка стали Ст50)
заправочного транспортера
прижимного вала
рулоно-выталкивающего устройства
приемного стола
В процессе проектирования были произведены:
Технологические расчеты, в результате которых определена необходимая минимальная скорость станка, равная 945 м/мин
Конструктивные расчеты, в результате которых определены:
мощность потребляемая станком, равная 148 кВт,
параметры механизма торможения раската,
параметры несуших валов и их подшипников,
параметры тамбурного вала с проверкой его на критическую скорость, прочность и жесткость,
выталкивающего вала с проверкой на прочность,
расчет гидроцилиндров спускного устройства.
Разработана схема регулирования плотности намотки рулона, которая предусматривает автоматический прижим прижимного вала (усилие прижима вала к рулону находится в функции от диаметра наматываемого рулона)
Был проведен анализ условий труда и разработаны мероприятия по безопасности объекта, такие как:
защита от движущихся частей, шума, и вибрации
меры противопожарной безопасности
меры по электрической безопасности станка
меры по освещению производственного участка
меры по оздоровлению воздушной среды, в рамках которого был произведен расчет пневмотранспорта отходов из участка продольной резки полотна.
5. В результате проведенных расчетов был достигнут экономический эффект равный 201 тыс. руб. в год,
Эффект был достигнут за счет установки в механизме продольной резки самозатачивающихся и самоустанавливающихся ножей, а также за счет уменьшения вспомогательного времени за счет автоматизации заправки полотна!