Прокатка
ПРОКАТКА
Прокатка. Прокатку производят на металлургических и машиностроительных заводах, при этом получают прокат — готовые изделия или заготовки для последующей обработки ковкой,
штамповкой, прессованием (выдавливанием), волочением или резанием. В прокат перерабатывают около 80 % всей выплавляемой стали и большую часть цветных металлов и сплавов. Прокат используют в строительстве, машиностроении и металлообработке.
В зависимости от вида прокат делят на сортовой, листовой, трубный, периодический и специальный. На рис. 133 приведены виды сортового проката общего назначения: 1 — квадратный; 2 — круглый; 3 — полосовой; 4 — угловой; 5 — двутавровый; 6 — швеллерный; 9 — тавровый и некоторые виды сортового проката специального назначения — 7 и 8 — рельсовый; 10 — шпунтовый; 11 — полоса для башмаков гусениц тракторов; 12 — полоса для ободьев колес автомобилей.
Трубы в зависимости от технологии их, производства делят на бесшовные сварные. К специальным видам проката относят весьма широкий ассортимент продукции: цельнокатаные колеса для вагонов, бандажи, оси, валы, шары, зубчатые колеса, сверла и многое другое.
Для прокатки нагретые или холодные заготовки пропускают между вращающимися валками прокатных станов.

рис.133
Существуют три основные вида прокатки: продольная (для сортовых и фасонных профилей), поперечная и поперечно-винтовая (для тел вращения).
При продольной прокатке (рис. 134) валки вращаются в разные стороны, деформируя заготовку, толщина (высота) h>0> которой уменьшается, а длина и ширина увеличиваются. Важнейшей характеристикой при прокатке является обжатие. Абсолютное обжатие ∆h=h>0>-h>1>; относительное обжатие ε (%) вычисляют по формуле
Относительное обжатие за один проход зависит от угла захвата а и составляет 10 — 60 %.
Путем простейших вычислений можно найти, что ∆h = D(1-cosα), т. е. абсолютное обжатие увеличивается с увеличением диаметра валка D и угла α. Угол захвата α при прокатке в насеченных валках составляет 27 — 34°, при прокатке сортового материала 22 — 24°, при горячей прокатке листов 15 — 22°, при холодной прокатке 3—8°.
Валки для прокатки отливают из отбеленного чугуна или выковывают из углеродистой или легированной стали. Их делают гладкими(применяют при прокатке листов), или калиброванными с ручьями (канавками) по окружности (для сортового и фасонного проката). Профиль, составленный смежными ручьями двух валков, называют калибром.
Рис. 134
П
ри
поперечной прокатке (рис. 135, а) валки
1 вращаются в одном направлении и оси
их параллельны, а заготовка
2 деформируется ими при вращении вокруг
своей оси. Радиус заготовки_ за один
цикл (полоборота заготовки) уменьшается
на величину радиального обжатия ∆r
Направление
прокатки
Возникающие при этом напряжения в наружных слоях заготовки направлены тангенциально (σ>н>), а в середине заготовки – радиально,
от центра периферии (σ>с>), что может привести к появлению отверстия
∆r=r-r’.
с неровной поверхностью в центральной ее части. Поэтому, если получение отверстия нежелательно, прокатку ведут при небольших обжатиях, когда σ>с> < σ>в>.
Методом поперечной прокатки получают, например, зубчатые колеса и звездочки цепных передач на специальных станках с зубчатыми валками.
Поперечно-винтовая (косая) прокатка широко применяется при производстве бесшовных труб из сплошной заготовки (рис. 135, б). Валки 1 вращаются в одном направлении, а оси их расположены под некоторым углом, поэтому заготовка 2 при обработке не только вращается (υ>y>), но также и перемещается вдоль своей оси(υ>x>). Для получения правильной формы и гладкой поверхности отверстия трубы (гильзы) в зоне образования отверстия устанавливается оправка 3. Полученные на прошивном стане гильзы раскатываются на трубопрокатных станах. Метод поперечно-винтовой прокатки применяют также для производства шаров, осей и других изделий с использованием специально калиброванных валков. Сталь для горячей прокатки нагревают до температуры выше линии 68К (см. рис. 132); медь, алюминий и их сплавы также прокатывают в горячем состоянии. Из горячекатаной заготовки (лист толщиной 1,25 мм) холодной прокаткой получают тонкие изделия (до 0,1 мм и меньше), ленты для пружин, листы, фольгу и прочее.
Прокатные станы различают по назначению, количеству валков в клети, количеству клетей и схеме их расположения.
По назначению прокатные станы делятся на обжимные (блюминги и слябинги), заготовочные, сортовые, листовые и специальные. Вначале слиток прокатывают на обжимном стане, затем на заготовочном и, наконец, на сортовом, листовом или специальном.
По количеству валков и их расположению станы продольной прокатки делят на двух-, трех-четырех- и многовалковые, а также универсальные. Двухвалковые станы (рис. 136, а) бывают реверсивные(прокатка заготовок ведется в обе стороны) и нереверсивные
рис.135


рис.136
(прокатка ведется в одну сторону, для повторных пропусков заготовка возвращается через верхний валок).
Прокатка заготовок на трехвалковых станах (рис. 136, б) ведется в одну сторону между нижним и средним валками, в другую – между средним и верхним; направление вращения валков постоянное. В четырех- и шестивалковых станках (рис. 136, в, г) верхние и нижние валки являются опорными, они препятствуют прогибу средних рабочих валков; эта схема применяется для листовых станов.
В клетях с 12 (рис. 136, д) и 20 валками обеспечивается еще большая жесткость рабочих валков; в них производят холодную прокатку ленты толщиной до 0,001 мм.
Универсальные станы (рис. 136, е) имеют горизонтальные и вертикальные валки и обеспечивают обжатие четырех сторон.
Сортовые станы предназначены для прокатки сортовых и фасонных профилей. Калибровка валков сортовых станов производится с учетом наибольшего обжатия при каждом пропуске, чтобы количество пропусков было наименьшим. На рис. 137 приведена калибровка валков для прокатки тавровой балки. Калибры пронумерованы в порядке последовательности обжатия заготовки. В соответствии с размерами проката и диаметра валков сортовые станы делят на крупносортные (диаметр валков D= 500:750 мм), среднесортные (D= 350:500 мм) и мелкосортные (D= 250:350 мм). У сортовых станов не одна, а несколько рабочих клетей.
В СССР созданы и внедрены в производство поперечно-винтовые станы для прокатки валов, гаечных ключей, вагонных осей, тарой, труб с высокими поперечными ребрами для теплообменной аппаратуры, зубчатых колес, винтов с большим шагом резьбы, червячных фрез, сверл и других изделий. Новые прогрессивные методы прокатки значительно экономят металл за счет уменьшения или устранения отходов в стружку при механической обработке и резко
повышают производительность труда.
П
рессование
(выдавливание).
При прессовании
металл выдавливают__ из замкнутой
полости через отверстие, в результате
чего получают изделие с сечением в форме
отверстия.
Прессуют медь, свинец, алюминий, цинк, магний и их сплавы,
а также
сталь из мерных заготовок, нарезных
из сотового проката.
Рис.137
Все металлы и сплавы, кроме свинцовых, прессуют горячими. Существуют два вида прессования - прямое и обратное.
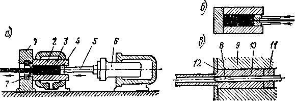
При прямом прессовании (рис. 138, а) заготовку 2 закладывают в контейнер 3, укрепленный на раме 1 гидравлического пресса; туда же закладывают пресс-шайбу 4. На плунжере 6 пресса укреплен пуансон 5, который давит на пресс-шайбу, в результате чего металл заготовки вытекает через отверстие матрицы 7 в виде прутка. Давление прессования достигает 100 МН.
При обратном прессовании (рис. 138, б) заготовка находится в глухом контейнере и остается при прессовании неподвижной, а прессуемый металл при движении матрицы вытекает навстречу ей. Обратное, прессование требует меньших усилий и остаток металла в контейнере здесь меньше, чем при прямом прессовании, однако в силу меньшей деформации прессованный пруток сохраняет следы структуры литого металла.
Прутки сплошного сечения получают как прямым, так и обратным прессованием. Прессование труб (рис. 138, в) производят только прямым методом, при этом заложенный в контейнер 9 слиток 10 предварительно обжимается пресс-шайбой 11, а затем прошивается дорном 8, конец которого доходит до отверстия матрицы 12. При прессовании металл вытекает из кольцеобразного калибра, составленного отверстием матрицы и дорном, в результате чего образуется труба.
Прессованием получают изделия различного профиля (рис. 139) с размером сечения до 400 мм. Прессованные изделия точнее полученных прокаткой, кроме того, ряд профилей можно получить только прессованием, поэтому оно широко используется в металлообработке.
_
рис.138
рис.138