Конструкции и расчёт объёмных гидромашин и элементов гидропривода
Тема: Конструкции и расчёт объёмных гидромашин и элементов гидропривода
Гидравлические машины объёмного действия
а) поршневые
б) планетарные
в) пластинчатые
г) шестерённые
Гидродвигатели В.П. движения
Кондиционеры (резервуары, охладители, Р.В.Д.)
Контрольно-регулирующие и распределительные элементы
Фильтры и рабочие жидкости гидроприводов
При изучении гидродинамических машин (насосов) мы уже рассматривали их конструкцию.
Вспомним: Гидронасос − машина, преобразующая механическую энергию твёрдого тела в гидравлическую энергию жидкости.
Гидродвигатель − машина, преобразующая гидравлическую энергию жидкости в механическую энергию твёрдого тела.
Объемной гидравлической машиной называют такие гидравлические машины у которой рабочий процесс происходит за счёт попеременного (поочерёдного) заполнения и вытеснения рабочей жидкости из рабочей камеры.
Объёмный гидропривод находит всё большее распространение в сельскохозяйственной отрасли.
При изучении с/х техники в хозяйствах с ней поступит документация, а именно:
- тех паспорт
- инструкция по эксплуатации, где найдёте схему гидросистемы, как ей пользоваться? Что есть что?
Давайте рассмотрим:
Обозначение на схемах:
Насосы:

















Q- const Q≠const Q−const Q≠const
не регул. Регул. Не регул. Регул.















не
реверс. Не реврс. Реверс.
Реверс.
Гидроматоры:
Применение: ГСТ, в ходовых системах Дон-1500, Е-512, 516 КСК-100 «Полесье»
Гидромашины классифицируются:
по принципу действия
− с постоянным и регулируемым объёмом
− с постоянным и регулируемым потоком потоком
- одно, - двух и – многократного действия
2) По конструкции:
− шестерённые, − поршневые,
− пластинчатые, - винтовые, - планетарные и др.
Общие параметры и характеристики гидромашин:
рабочий объём, q>0>, см3/об
расход жидкости (производительность)
Q=q>0>∙n где n[c-1]
К.П.Д. η>г.м.>=n>0>∙ n>1>∙ n>м>
Момент, развиваемый гидролмашиной:
M=0.159ΔP∙ q>0>∙n
где q>0>−см3/об
ΔP=Pн−Pcп, МПа
Мощность
N= M∙ω, где ω-[c-1]
Поршневые гидромашины: − предназначены для перекачки воды, топлива, масел, жидких удобрений и т.д.
Бывают одно-, двух-, трёх- … … многопоршневые
0100090000030202000002008a01000000008a01000026060f000a03574d46430100000000000100d3600000000001000000e802000000000000e8020000010000006c00000000000000010000000e000000250000000000000000000000993a0000e61e000020454d4600000100e80200000e000000020000000000000000000000000000007606000023090000d2000000290100000000000000000000000000008a3403005d880400160000000c000000180000000a00000010000000000000000000000009000000100000009d0400006f020000250000000c0000000e000080120000000c00000001000000520000007001000001000000dfffffff00000000000000000000000090010000000000cc04400012540069006d006500730020004e0065007700200052006f006d0061006e000000000000000000000000000000000000000000000000000000000000000000000000000000000000000000000000000000000000000000000000000000000000000000000000000000000000000000000000000000000000000000000000000000000000000000000000000000000000000000000000000000000000000000000000000000000000000000000000000000000000006234093000000000040000000000ae309f3409300000000047169001cc0002020603050405020304877a0020000000800800000000000000ff01000000000000540069006d00650073002000000065007700200052006f006d0061006e000000000000009832093050ebae30003314000100000000000000a0481100f2b40230a04811004c6eaf30b84811006476000800000000250000000c00000001000000180000000c00000000000002540000005400000000000000010000000e0000002500000001000000d6244b41eb294b41000000001e000000010000004c0000000400000000000000000000009d0400006f020000500000002000ffff0f00000046000000280000001c0000004744494302000000ffffffffffffffff9e0400006f020000000000004600000014000000080000004744494303000000250000000c0000000e0000800e000000140000000000000010000000140000000400000003010800050000000b0200000000050000000c028b01ee02040000002e0118001c000000fb020a00040000000000bc02000000cc0102022253797374656d0000000000000000000000000000000000000000000000000000040000002d01000004000000020101001c000000fb02ebff0000000000009001000000cc0440001254696d6573204e657720526f6d616e0000000000000000000000000000000000040000002d010100050000000902000000020d000000320a130000000100040000000000ee028c0120700a00040000002d010000030000000000
Для любого поршневого насоса объёмная постоянная будет оределятся:
q>0>=
где h − ход z − число поршней
0100090000030202000002008a01000000008a01000026060f000a03574d46430100000000000100d3600000000001000000e802000000000000e8020000010000006c00000000000000010000000e000000250000000000000000000000993a0000e61e000020454d4600000100e80200000e000000020000000000000000000000000000007606000023090000d2000000290100000000000000000000000000008a3403005d880400160000000c000000180000000a00000010000000000000000000000009000000100000009d0400006f020000250000000c0000000e000080120000000c00000001000000520000007001000001000000dfffffff00000000000000000000000090010000000000cc04400012540069006d006500730020004e0065007700200052006f006d0061006e000000000000000000000000000000000000000000000000000000000000000000000000000000000000000000000000000000000000000000000000000000000000000000000000000000000000000000000000000000000000000000000000000000000000000000000000000000000000000000000000000000000000000000000000000000000000000000000000000000000000006234093000000000040000000000ae309f3409300000000047169001cc0002020603050405020304877a0020000000800800000000000000ff01000000000000540069006d00650073002000000065007700200052006f006d0061006e000000000000009832093050ebae30003314000100000000000000a0481100f2b40230a04811004c6eaf30b84811006476000800000000250000000c00000001000000180000000c00000000000002540000005400000000000000010000000e0000002500000001000000d6244b41eb294b41000000001e000000010000004c0000000400000000000000000000009d0400006f020000500000002000ffff0f00000046000000280000001c0000004744494302000000ffffffffffffffff9e0400006f020000000000004600000014000000080000004744494303000000250000000c0000000e0000800e000000140000000000000010000000140000000400000003010800050000000b0200000000050000000c028b01ee02040000002e0118001c000000fb020a00040000000000bc02000000cc0102022253797374656d0000000000000000000000000000000000000000000000000000040000002d01000004000000020101001c000000fb02ebff0000000000009001000000cc0440001254696d6573204e657720526f6d616e0000000000000000000000000000000000040000002d010100050000000902000000020d000000320a130000000100040000000000ee028c0120700a00040000002d010000030000000000
Для обеспечения постоянства подачи (равномерности) применяют демпферные устройства:
- гидроколпаки, - гидроаккумуляторы, и др.
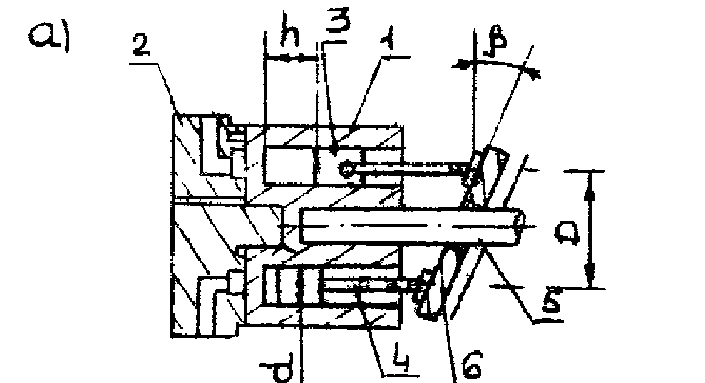
Аксиально-поршневые гидромашины:

Применяются в ГСТ:
Особенность: имеют наклонный диск 6
Корпус
Распределитель
Поршень
Направляющие обоймы
Каналы
Корпус не вращается, вращается наклонный диск (шайба)
q>0>=
угол β регулируется (−30…+30)
Имеются машины с наклонным блоком у них угол β − const = 200…300.
Применяют у машин, совершающих поворотное движение:краны, экскаваторы, грейдеры и т.п.
Планетарные гидромашины
Применяют для привода рабочих органов с/х машин

При повороте вала на один оборот происодит переключение каналов по следующему циклу: I−IV−VII−VI−II−I. Следовательно, за один оборот ротора у гидромашин происходит шесть рабочих циклов при семи циклах распределителя.
Рабочий узел это шестерённая пара внутреннего зацепления.
q>0>=
Dе − диаметр делительной окружности
z>1> − число зубьев ротора
z>2> − число зубьев статора
е − эксцентриситет
b − величина шестерни
− объёмный К.П.Д.
К.П.К. гидропривод на выгрузном шнеке комбайна
Механические характеристики гидродвигателей в тех. паспорте
0100090000030202000002008a01000000008a01000026060f000a03574d46430100000000000100d3600000000001000000e802000000000000e8020000010000006c00000000000000010000000e000000250000000000000000000000993a0000e61e000020454d4600000100e80200000e000000020000000000000000000000000000007606000023090000d2000000290100000000000000000000000000008a3403005d880400160000000c000000180000000a00000010000000000000000000000009000000100000009d0400006f020000250000000c0000000e000080120000000c00000001000000520000007001000001000000dfffffff00000000000000000000000090010000000000cc04400012540069006d006500730020004e0065007700200052006f006d0061006e000000000000000000000000000000000000000000000000000000000000000000000000000000000000000000000000000000000000000000000000000000000000000000000000000000000000000000000000000000000000000000000000000000000000000000000000000000000000000000000000000000000000000000000000000000000000000000000000000000000000006234093000000000040000000000ae309f3409300000000047169001cc0002020603050405020304877a0020000000800800000000000000ff01000000000000540069006d00650073002000000065007700200052006f006d0061006e000000000000009832093050ebae30003314000100000000000000a0481100f2b40230a04811004c6eaf30b84811006476000800000000250000000c00000001000000180000000c00000000000002540000005400000000000000010000000e0000002500000001000000d6244b41eb294b41000000001e000000010000004c0000000400000000000000000000009d0400006f020000500000002000ffff0f00000046000000280000001c0000004744494302000000ffffffffffffffff9e0400006f020000000000004600000014000000080000004744494303000000250000000c0000000e0000800e000000140000000000000010000000140000000400000003010800050000000b0200000000050000000c028b01ee02040000002e0118001c000000fb020a00040000000000bc02000000cc0102022253797374656d0000000000000000000000000000000000000000000000000000040000002d01000004000000020101001c000000fb02ebff0000000000009001000000cc0440001254696d6573204e657720526f6d616e0000000000000000000000000000000000040000002d010100050000000902000000020d000000320a130000000100040000000000ee028c0120700a00040000002d010000030000000000
Радиально-поршневые машины
Используются в ходовых системах как гидродвигатели;
q>0>=
где е − эксцентриситет
z − число поршней
К − число рядов

Радиально-поршневые машины
Плунжер
Ротор с цилиндрами
Распределительное устройство
Направляющая обойма
Канал
Подача регулируется изменением «е»
Одной из распространённых модификаций является высокомоментальный гидропривод для ходовых колёс.
Высокомоментальный гидродвигатель называют ещё тихоходные гидромоторы.
К.П.Д.
M=

Шестерённые гидромашины
бывают с наружным зацеплением и с внутренним.

Схема шестерённых гидромашин
а) 1. Ведомая шестерня
2. Корпус
3. Ведущая шестерня
4. Вал
А и Б − всасывающая и нагнетательная полости
б) С внутренним зацеплением
1. Внутренняя шестерня
2. Подвижная шестерня
3. Разделитель
4. Вал
5. Корпус
А и Б − всасывающая и нагнетательная полости
q>0>=
где m − модуль
b − ширина шестерни
z − число зубьев


где R − радиус выступов
r − радиус впадин
b − ширина шестерни
z − число зубьев
Используются Р=20…50 МПа
Роторно-пластинчатые гидромоторы:

Пластинчатый насос однократного действия
Всасывающее окно
Пластина
Нагнетательное окно
Ротор
Статор
Объём рабочей жидкости:

где k − число пластин
h − толщина пластин
b − ширина пластин

Промышленный выпуск насосов с постоянным объёмом рабочей жидкости:
q>0>=10…850 см3/об
Рабочее давление ΔP=16…20 МПа
Для роторно-пластинчатых гидромоторов:
q>0>=80…16000 см3/об
Mкр= до 50 кН∙м
Гидродвигатели возвратно-поступательного движения (действия)
Гидродвигатели возвратно-поступательного движения (действия) – машина преобразующая гидравлическую энергию жидкости в возвратно-поступательное движение твёрдого тела.
К ним относятся
− гидроцилиндры
− поворотники различного рода
− вибраторы (ДВП−80)
Гидроцилиндры
1) 2)
































3)
Гидродвигатель одинарного действия
Гидродвигатель двойного действия
Телескопический
Основной характер является усилие на штоке

где η>ц>=0,97…0,98
Мощность гидроцилиндра
N=F∙σ=

Крутящий момент

ΔP − перепад давления
S>п> − площадь поршня
D>e> − диаметр делительной окружности шестерни
z − количество одновременно работающих поршеней
3. КОНДИЦИОНЕРЫ (Резервуары, охладители, гидроаккумуляторы, трубопроводы, фильтры)
Обозначаются
на схемах

Корпус
Перегородка
Фильтр
Горловина
Сливная магистраль
Сапун
Всасывающая магистраль
Сливная пробка с магнитом
Щуп
Охладитель
Резервуары могут быть с атмосферным давлением и с избыточным
Тракторный резервуар с атмосферным
ГСТ−90 с избыточным
Объём резервуара:
V=
c − количество тепла выделяемое при работе
a − коэффициент перевода [Дж] 0,06−0,069
Ктп − коэффициент теплопередачи жидкости окружающему воздуху.
t>ж> − темп. жидк.
t>в> − тепература
Трудно подсчитать V − резервуара можно подсчитать, используя формулу:
V=(0,5÷2)q>H>
где q>H> − производительность насоса в л/мин
НШ−32 − q>H>=40 л/мин
Если работает система перемешки, то V=0,5 q>H>≈20 л
то V=2∙q>H>≈80 л
ОХЛАДИТЕЛИ
На схемах:








открытый закрытый охладитель отвода
тепла
Площадь охладителя:

В результате нагрева рабочей жидкости
C − тепло гидроприв. отвод.
C>p> − количество тепла отводящееся поверхности резервуара
ГИДРОАККУМУЛЯТОРЫ
Могут быть диафрагмовые, плунжерные, поршневые
V=Sп∙h
h − зависит от глубины обработки
При сжатии газа происходит политропный процесс (закон)

χ=1,4
V>1> − объём при Рт
V,P − объём и давление текущее (изменение) при текущем Р
Гидроаккумулятор газовый поршневой
ТРУБОПРОВОДЫ





На
схемах: соедин. не соед.




необходимо
соед.
Диаметр труб выбирает исходя из уравнения неразрывности
Q=v∙S

где v − скорость движения жидкости в трубопроводе.
Q − расход.
Для тонкой очистки необходимы керамические фильтры. Если бы примеси удалось уменьшить с 25 до 5, то срок службы увеличился бы в 10 раз.
Жидкости могут отстаиваться (очищаться) в − гравитационном поле
− центробежном поле
− магнитном поле
− и очищающих элементах
Фильтры: поверхностные, объёмные, комбинированные.
Различают фильтры: 1) сетчатые
из тонкой войлочной бумаги
сетки с войлочной бумагой
Фильтры характеризует коэффициент фильтрации:
К=
,
где n>1> − количество частиц вне фильтрации
Пропускная способность фильтра Q>ф>
,
где К − удельная пропускная способность
S − полощадь фильтрующего материала
μ − коэффициент динамической вязкости
Если взять загрязнённость воздуха она находится в пределах (от 0,047 до 3,43) г/м3 пыли
Для жидкости это загрязнение активное.





На схеме:
фильтр
Контрольно-регулирующие и распределительные элементы.
Клапана: − переливные
− предохранительные
− разности потоков























На
схемах: регулируемые
винтом
Наиболее распространённые
− шариковые
























h − величина подъёма клапана (сжатая пружина)
























− конусные






d>у> − условный диаметр
Расход жидкости через клапан

Коэффициент расхода μ>кл>=0,6÷0,72;
Высота подъёма клапана:

α=450 − для шариковых
α=300=600 − для конусных
Если необходимо отрегулировать давление, то при определенном давлении срабатывает клапан
;
C>n> − жёсткость пружины
h − высота срабатывания (деформация пружины)
Делители потока (мощности)
− дроссельные,
− объёмные регулируемый




На
схемах: дроссель дроссель
























Дроссельный
делитель
Объёмные делители:





N>1>










N N>2>
N=N>1>+N>2>
ΔPQ=ΔP>1>Q>1>+ΔP>2>Q>2> без учёта η
Контрольно-регулирующие и распределительные элементы.
Распределители: − золотниковые (ьракторные), − крановые(комбайн), − клапанные (комбайн)
одно-, двух- (Т-25)… − многосекционные (3-х МТЗ)
двух−позиционные 3-х позиционные




подъём опускание
подъём опускание
4-х позиционные пл




пл заперто
С управлением: − ручным, − механическим, − электрическим, − пневматическим, − гидравличеким.







На
схемах: с ручным управленеим


4-х
позиционные электромагнитный












2-х
поточные управляемый


Характеристики
распределителей















а − ширина протока










Q a b
− ширина пояска

золотника
a=b − золотник с нулевым



























X
перекрытием
зол.
перемещ.

Q
b



b>a
золотник с положительным перекрытием
a>b
золотник с отрицательным перекрытием X
Q


зона запаздывания
(Релейная характеристика)
X
Расход через золотник:

























S>з>
=
sinα=1
sinα=1
α
sinα≠1 sinα≠1
Плавное изменение параметров
Уплотнения и герметичность
В элементах гидропривода бывают подвижные и неподвижные соединения, радиальные и торцовые……





































































































Уплотнение
достигается эластичными кольцами,
которые уплотняют.
П −образн. Х− образн.
Манжета























Механические
уплотнители
Лабиринтное уплотнение
Клапан с проточками
Кроме этого набивочное, диафрагмой……
По герметичности имеется 11 классов герметизации
1 класс − нет утечек или min
11 класс − допустимые утечки.













Подбор
колец для уплотнения:
dк
dк=
,
Жидкости
Свойства изучаемые на первом занятии:
Все относится к гидроприводам.
Особенности жидкости гидропривода в том, что они работают при T=−500…+500 С и при Р=0,1 до 25 МПа (гидроприводы с/х машин)
Изменение температуры на 1 градус приводит к изменению v на 1 порядок.
Изменение давления приводит к изменению v на 4 порядка.
В жидкости присутствует воздуха 7÷12% воздуха эти воздушные составляющие нарушают работу гидропривода, изменяя жесткость работы.
Марки жидкостей применяемых в ГСМ
М−10Т
МГ−10, 30.