Методика изучения раздела "Графика" в 8 классе
ФЕДЕРАЛЬНОЕ АГЕНСТВО ПО ОБРАЗОВАНИЮ
КАЛУЖСКИЙ ГОСУДАРСТВЕННЫЙ ПЕДАГОГИЧЕСКИЙ УНИВЕРСИТЕТ ИМ. К.Э. ЦИОЛКОВСКОГО
КАЛУЖСКИЙ ФИЛИАЛ
МОСКОВСКОГО ГОСУДАРСТВЕННОГО ТЕХНИЧЕСКОГО УНИВЕРСИТЕТА ИМ. Н.Э. БАУМАНА
Межвузовский инженерно-педагогический факультет
Кафедра психологии профессиональной деятельности и управления непрерывным педагогическим образованием
Методика изучения раздела «Графика» в 8 классе
курсовая работа по методике преподавания технологии
Калуга 2008
Содержание
Введение
1. История, современное состояние и особенности курса графики в 8 классе
1.1 История развития графики
1.2 Цели и задачи курса графики
1.3 Организационные вопросы курса графики
2. Методика преподавания графики в 8 классе
2.1 Планирование учебной работы и подготовка к занятиям. Анализ учебной программы по графике
2.2 Методические разработки уроков
2.3 Формы и методы обучения графике
Заключение
Список литературы
Приложение 1
Приложение 2
Введение
Изменения социально-политической и экономической обстановки в России ставят новые задачи перед системой обучения и воспитания подрастающего поколения. Важную роль в решении этих задач играют учреждения общего образования. Именно они, в первую очередь, обеспечивают жизненное и социально-трудовое становление молодежи, соответствующее современным требованиям общества.
В достижении этой цели ведущую роль играет трудовая подготовка, которая направлена на воспитание трудолюбия и уважительного отношения к труду, развитие практических умений и навыков, расширение политехнического кругозора, введение в мир профессий. Накопленный в общем образовании опыт трудового обучения, сложившаяся материально-техническая база и подготовленные педагогические кадры обеспечивают возможность развития на более высоком уровне содержания подготовки молодежи к труду средствами образовательной области "Технология", которая в системе общего образования представляет главенствующую составляющую общественной практики. Эта область качественно по-новому решает проблемы трудовой подготовки школьников в новых социально-экономических условиях с учетом тенденций технико-технологического развития современного общества и мирового опыта технологического образования.
Технология определяется как наука о преобразовании и использовании материи, энергии и информации в интересах и по плану человека. В школе «Технология» - интегративная образовательная область, синтезирующая научные знания из курсов математики, физики, биологии и показывающая их использование в, промышленности, энергетике, связи, сельском хозяйстве и других направлениях деятельности человека.
Черчение (графика) является той частью раздела «Технологии», при изучении которой учащиеся овладевают процессами оперирования различными видами графических изображений и графической деятельности.
Через графическую деятельность реализуются одновременно такие познавательные процессы, как ощущение, восприятие, представление, мышление и др., благодаря чему у ученика создается общность многих психических функций. При построении чертежа эти процессы к тому же сочетаются и координируются с кинестетическими и моторными функциями рук, что является, согласно данным психологии, важнейшим условием дифференцировки пространственных отношений объектов.
В последние годы резко повысилась информативность графических изображений, что предопределило переход черчения к компьютерной графике.
Графическая подготовка - процесс, обеспечивающий формирование у учащихся рациональных приемов чтения и выполнения различных графических изображений, встречающихся в многоплановой трудовой деятельности человека. Графическая подготовка дает основы графической грамоты, позволяющей учащимся в некоторой степени ориентироваться в чрезвычайно большом объеме графических информационных средств.
В школе графическая грамотность формируется совокупностью многих факторов учебной деятельности, протекающей на уроках целого ряда дисциплин при ведущей роли предмета «Черчение». Эта дисциплина дает теоретические основы правил построения, чтения и оформления различных графических документов, а также делает возможным формирование у учащихся обобщенных приемов графической деятельности, используемых как при изучении других школьных дисциплин, так и в практической работе. В связи с этим процесс поиска дидактических средств повышения качества графической подготовки учащихся общеобразовательной школы, разработка ее нового содержания следует рассматривать как общепедагогическую проблему, а в контексте с работой по подготовке и повышению квалификации кадров в системе непрерывного образования и как государственную задачу.
В связи с выше сказанным, сформулируем тему данной курсовой работы: «Методика изучения раздела «Графика» в 8 классе».
Цель изучения раздела: закрепление и расширение теоретических знаний и углубление умений использовать эти знания для решения конкретных учебно-воспитательных задач методического характера, на примере изучения раздела «Графика» 8 класс.
Для достижения поставленной цели решаются следующие задачи:
Изучить историю развития графической культуры;
Рассмотреть цели и задачи курса «Графика»;
Общие вопросы организации уроков графики
Разработать учебную документацию (рабочую программу, календарно-тематический план, поурочные планы);
Рассмотреть основные методы, применяемые при преподавании данного предмета
1. История, современное состояние и особенности курса графики в 8 классе
1.1 История развития графики
К основным характеристикам многообразия мира, в котором мы существуем, относятся форма и размер окружающих нас предметов. Попытки отобразить эти признаки предпринимались с незапамятных времен. Существует красивый поэтический миф о прекрасной коринфянке, очертившей на озаренной луною скале силуэт своего возлюбленного. Согласно легенде, этим она положила начало графическому изобразительному искусству.
Почти сто лет назад на севере Испании обнаружили пещеру, весь сводкоторой был украшен цветными рисунками бизонов, кабанов, диких лошадей. Археологи установили дату их происхождения - это эпоха каменного века - палеолита.
Возможно, человек, создавая эти изображения, надеялся добиться успеха на предстоящей охоте или старался запомнить и сообщить окружающим обстоятельства состоявшегося события. С позиций сегодняшнего дня мы охарактеризовали бы его действия как обмен информацией с другими членами общества.
Несколько лет назад подобные рисунки были обнаружены на Южном Урале в Каповой пещере.
Все это свидетельствует о том, что начало появления графических изображений было положено еще в древние времена.
С течением времени количество описываемых объектов увеличивалось, соответственно возрастал и объем используемой информации. Появилась необходимость передавать и воспринимать достаточно подробные сведения о природных особенностях местности, возводимых строительных сооружениях, предметах труда и др. Оказалось, что наиболее удобным приемом передачи информации об объемном, реально существующем или придуманном объекте является графическое изображение его на плоскости. По мере усложнения создаваемых инженерных сооружений, механизмов и машин возникла необходимость разработки таких правил их изображения, которые позволили бы с использованием ограниченного числа средств (точек, линий, цифр, знаков и надписей) передавать достаточно полную информацию в виде, доступном любому специалисту.
Техническая дисциплина, разрабатывающая правила передачи информации об окружающих нас предметах (сооружениях, машинах, отдельных деталях и пр.) путем изображения их на плоскости, называется черчением. Результат воспроизведения пространственного объекта с помощью линий на плоскости называется чертежом.
Развитие цивилизации обусловило возникновение и совершенствование геометрии. Зародившись из потребности измерения земельных наделов, геометрия становится наукой, изучающей формы плоских и пространственных фигур, а также отношения между ними. По мере усложнения используемых человеком сооружений и предметов, а следовательно, увеличения объема передаваемой информации возрастает практическое значение геометрии. При строительстве пирамид в Египте (около 2800 лет до н.э.), Судане (примерно 500 лет до н.э.) и Мексике (100 - 500 лет до н.э.) уже использовали чертежи, достаточно точно передающие не только форму, но и размеры возводимого сооружения.
Пришедшая на смену египетской культура Древней Греции оставила нам имена не только великих скульпторов, поэтов и философов, но и великих математиков - это Фалес из Милета, Пифагор из Самоса, Евклид из Александрии, Архимед из Сиракуз. Перечень могут продолжить Апполоний Пергский и Менелай Александрийский, известные своими трудами по геометрии и тригонометрии. Римский архитектор и инженер Витрувий, обобщая и развивая опыт греческого и римского зодчества, использовал непременные составляющие любого проекта - три вида изображений: ихнографию (план сооружения), ортографию (вид спереди) и сценографию (изображение в перспективе).
Новое развитие теории изображений произошло лишь в эпоху Ренессанса (XIII -XVI вв. н.э.). Возрождение античной культуры вызвало потребность достоверного изображения окружающего мира. Поиски сущности правильного изображения привели к использованию математики, законов геометрии и открытию закономерностей перспективы.
Выдающийся немецкий живописец и график Альбрехт Дюрер (1471 - 1528) не только впервые изложил основы евклидовой геометрии и описал построение геометрических фигур, но и заметно развил теорию пространственного изображения.
Особое место в формировании современных способов отображения геометрических форм объектов окружающего мира занимает французский ученый и инженер Амедео Франсуа Фрезье (1682- 1773). Его труды можно считать первыми фундаментальными пособиями по основам начертательной геометрии. Фрезье Пользовался различными приемами проецирования, приводил примеры проецирования на две взаимно перпендикулярные плоскости, применял для определения истинного вида фигуры способы преобразования чертежа. Многие использованные им понятия. И приемы современны и поныне.
Возникновение начертательной геометрии как науки об изображении пространственных геометрических форм на плоскости связывают с именем французского математика и инженера Гаспара Монжа (1746-1818). Выдающиеся способности позволили сыну торговца скобяными товарами в бургундском городке Бон, пробившись через все сословные преграды, стать в 24 года заведующим кафедрами математики и физики в Королевской военно-инженерной школе в Мезьере, а в 34 года быть избранным членом Парижской академии наук.
В 1795 г. в Париже для подготовки преподавателей была открыта Нормальная школа, значительный объем в программе, которой занимали предметы, связанные с теорией и практическим приложением начертательной геометрии. Первый курс начертательной геометрии в этой школе читал Монж. Стенограммы его лекций были напечатаны в 1795 г. в журнале Нормальной школы, а в 1799 г. вышли отдельной книгой. Это был первый учебник, где начертательная геометрия была заявлена как самостоятельная наука. [13, стр. 5]
Первые достоверные сведения о применении чертежей в России относятся к XVI веку. Например, в описи царского архива за 1574 год можно прочесть следующее:
"Ящик 57. А в нем чертежи Лукам Великим и Псковским пригородкам с литовским городом Полотцком.."
На рис. 1 приводится изображение оружейного двора в Тобольске. Оно взято из "Чертежной книги Сибири". С позиции сегодняшнего дня подобные чертежи выглядят несколько примитивными, но для того времени они были весьма значимыми для градостроения, а главное, их полностью воспринимали сами строители.

Рис. 1
Большим стимулом к развитию графической культуры в России явилась деятельность Петра I. Сам Петр любил чертить и делал это прекрасно. Вернувшись из Голландии, где он работал на кораблестроительных верфях, Петр привез диплом, где значилось: "Корабельную архитектуру и черчение планов изучил основательно и уразумел эти предметы в такой степени, сколько мы сами их разумеем".
В 1709 году Петр I издал Указ: "Все прожекты зело исправны быть должны, дабы казну зряшно не разорять и Отечеству ущерба не чинить".
Сподвижник царя Петра генерал-фельдмаршал граф Яков Брюс в своей книге "О геометрии вообще" (Москва, 1709) не только учит правилам черчения, но и поучает, как лучше это сделать: "Инженеры без умения меры художества не возмогут ни правых чертежей зделати, ниже без порока что основати. Сего искусства надобность и польза простирается тако далеко, что по истинне сказати возможно, что ничего в свете есть, еже бы не возмогло оным преодалено и зделати быти".
Первым русским ученым, связавшим свою судьбу с начертательной геометрией, был Яков Александрович Севастьянов (1796- 1849) - профессор Корпуса инженеров путей сообщения и автор переводных и оригинальных трудов.
Начертательная геометрия как фундаментальная дисциплина была введена в программы многих учебных заведений - Инженерного и Артиллерийского училищ, Санкт-Петербургского и Московского университетов, Императорского Московского технического училища и др. В 1822 г. курс начертательной геометрии в Казанском университете читал Н.И. Лобачевский. Однако ведущее положение в подготовке кадров и развитии начертательной геометрии в России XIX в. сохранял Корпус инженеров путей сообщения, где учились и передавали знания следующим поколениям внесшие заметный вклад в науку А.X. Редер (1809-1873), Н.П. Дуров (1834-1879), Н.И. Макаров (1824-1904), В.И. Рынин (1877 - 1942). В области начертательной геометрии 14 классических трудов создал Валериан Иванович Курдюмов (1853- 1904). [23, стр. 36]
В XX в. черчение следовало за техническим прогрессом, т.е. существенный и быстрый рост потребности в чертежах обусловил совершенствование приемов изображения, а также используемых технологий и оборудования. Например, если в начале века для хранения и размножения использовали чертежи, выполненные тушью на тонком батисте, то в середине века стало возможным оперативно изготавливать необходимое число копий с оригинала, вычерченного карандашом на листе бумаги.
Качественные изменения в способы передачи информации геометрического характера внесли компьютеры, оснащенные специальными графическими программами. Стало возможным выполнять и размножать чертежи, используя компьютер, вводить в память компьютера чертежи, выполненные вручную, сохранять информацию на магнитном носителе и передавать эту информацию непосредственно на технологическое оборудование, предназначенное для изготовления моделей или готовых деталей. Компьютер позволяет получить любое изображение объекта, т.е. обеспечивает возможность «рассматривать» его со всех сторон.
Однако прогресс никак не умаляет значения начертательной геометрии и черчения, которые В.И. Курдюмов определил следующим образом: «Если чертеж является языком техники, одинаково понятным всем народам, то начертательная геометрия служит грамматикой этого мирного языка, так как она учит нас правильно читать чужие и излагать на нем наши собственные мысли, пользуясь в качестве слов одними только линиями и точками, как элементами всякого изображения».
Умение понимать язык чертежа и передавать на этом языке необходимые сведения обязательны для любого квалифицированного специалиста, связанного с разработкой, изготовлением или эксплуатацией машин. Правильное и глубокое понимание сведений, приведенных на чертеже, является непременным условием изготовления качественных деталей, механизмов и устройств.
1.2 Цели и задачи курса графики
Учитывая мировую тенденцию ускоренного развития графической информации, использование графического языка в качестве международного языка общения, общее среднее образование должно предусмотреть качественное формирование знаний о методах графического предъявления и восприятия информации.
Постоянно расширяющийся и совершенствующийся парк разнообразных технических средств, используемых в промышленности и быту, предъявляет повышенные требования к качеству графической подготовки специалистов, его обслуживающих. Диалог с компьютером конструктор может вести лишь тогда, когда он понимает его графический язык, свободно владеет им и обладает развитыми пространственными представлениями, умением мысленно оперировать пространственными образами и их графическими изображениями.
В конструировании и современном производстве чертеж используется как средство фиксации отдельных этапов процесса конструирования, является лаконичным документом, четко и однозначно передающим всю информацию об объекте, необходимую для его изготовления, и одновременно уникальным средством и прямым источником производства во всех отраслях промышленности.
Подготовка подрастающего поколения к освоению «языка техники», чтению и выполнению разнообразных чертежей - задача государственного масштаба. Решить поставленные задачи невозможно, если школьное образование не обеспечит должный уровень графической подготовки ее выпускников.
Курс черчения в школе направлен на формирование графической культуры учащихся. Понятие «графическая культура» широко и многогранно. В широком понимании графическая культура понимается как совокупность достижений человечества в области разработки и усвоения графических способов передачи информации. Применительно к обучению учащихся под графической культурой подразумевается достигнутый ими уровень усвоения графических методов и способов передачи информации, который оценивается по качеству выполнения и чтения чертежей. Формирование графической культуры учащихся есть процесс овладения графическим языком, используемым в технике, науке, производстве, дизайне и других областях деятельности.
В процессе обучения черчению (графике) учителя должны ставить следующие цели: научить школьников читать и выполнять чертежи, приобщить их к графической культуре.
Цель обучения предмету конкретизируется в основных задачах:
формировать основные знания о правилах оформления чертежей и требованиях ГОСТов;
научить учащихся аккуратно и рационально работать, правильно применять чертежные инструменты и принадлежности;
обучить основным правилам и приемам графических построений;
формировать знания об основах прямоугольного проецирования на одну, две и три плоскости проекций, способах построения изображений на чертежах (эскизах), а также построения прямоугольной изометрической проекции и технических рисунков;
сформировать умения и навыки чтения и выполнения комплексных чертежей и аксонометрических проекций различной степени сложности;
-развивать статические и динамические пространственные представления и воображения, пространственное, образное и логическое мышление, творческие способности учащихся;
содействовать привитию школьникам графической культуры;
развивать политический кругозор путем ознакомления учащихся с основами технологии изготовления деталей, элементами деталей, изучения роли чертежа в современном производстве, процесса проектирования;
научить учащихся самостоятельной работе со справочной и специальной литературой, учебными материалами;
формировать эстетический вкус, аккуратность;
формировать умения применять графические знания в новых ситуациях;
формировать познавательный интерес и потребность к самообразованию и творчеству;
развитие глазомера, умение на глаз определять размеры деталей.
Для осуществления указанных задач программа предусматривает изучение теоретических положений, выполнение упражнений, обязательный минимум графических и практических работ.
Программа ставит следующие учебные задачи:
Дать учащимся знания основ метода прямоугольных проекций и построения аксонометрических изображений.
Ознакомить с важнейшими правилами выполнения чертежей, условными изображениями и обозначениями, установленными государственными стандартами.
Способствовать развитию пространственных представлений, имеющих большое значение в производственной деятельности, научить анализировать форму и конструкцию предметов и их графические изображения, понимать условности чертежа, читать и выполнять эскизы и чертежи деталей, несложные сборочные и строительные чертежи, а также простейшие электрические и кинематические схемы.
Развивать элементарные навыки культуры труда: уметь правильно организовать рабочее место, применять рациональные примы работы чертежными и измерительными инструментами, соблюдать аккуратность и точность в работе и другое.
Научить самостоятельно работать с учебными и справочными пособиями по черчению в процессе чтения и выполнения чертежей и эскизов. [23, стр.8]
Познавательная активность учащихся в процессе приобретения знаний носит избирательный характер. Жизненный и трудовой опыт в определенной степени влияет на глубину усвоения, на их отношение к учебе. Современная молодежь склонна критически относиться к тем сведениям, которые излагает учитель. Ей свойствен прагматический подход к знаниям: насколько они могут пригодиться в будущей трудовой деятельности.
В этом отношении предмет черчение находится в более выгодных условиях: сообщаемые в нем сведения имеют непосредственное отношение к будущим трудовым профессиям многих технически ориентированных учащихся. Это может вызвать большой интерес учащихся. Поощряя активность учеников, учитель должен постоянно заботиться об ее развитии, поскольку только при этом условии обучение окажется наиболее плодотворным. Методике развития активности учащихся в пособии уделено особое внимание.
Изучение предмета должно помочь учащимся облекать в графическую форму свои творческие замыслы, рационализаторские предложения, возникающие в процессе обучения. Поэтому развитие навыков самостоятельной работы, настойчивости в достижении поставленной цели, способности критически оценивать свою работу, ответственно относиться к ее выполнению являются важными задачами при обучении черчению.
1.3 Организационные вопросы курса графики
Обучение графике в восьмом классе имеет свою специфику по ряду признаков, к которым относятся возрастные особенности учащихся, их жизненный и трудовой опыт, а следовательно, несравненно более сознательные мотивы учения, потребность в приобретении знаний.. Поэтому, анализируя стоящие перед ним задачи, учитель графики должен для каждого планируемого урока продумать его оптимальную структуру, наиболее полноценно отвечающую целям, стоящим перед уроком. Предстоящий урок в большой степени зависит от того места, которое он будет занимать в ряду уже проведенных занятий, то есть в целой системе их, осуществляемой в течение учебного года, от уже достигнутого уровня знаний и практических навыков, от характера и объема знаний, который еще предстоит изложить учащимся. При этом учитель будет опираться на достаточно широкий кругозор своих учащихся, на возможности самостоятельного приобретения ими знаний по учебнику или научно-популярной и технической литературе.
В педагогике рассматриваются различные типы уроков и различные формы изложения знаний учителем. Так, например, различают следующие типы уроков:
а) урок изучения нового материала;
б) урок закрепления знаний, умений и навыков; в) повторительно-обобщающий урок;
г) объединенный, или комбинированный, урок.
Применительно к урокам черчения наиболее употребительной является форма так называемого комбинированного урока, где наряду с объяснением учителя в качестве важной составной части выступает и проведение практической работы, как формы закрепления полученных знаний, и необходимые пояснения к выполнению домашней работы с использованием учебного пособия.
Рассмотрим основные организационные принципы уроков черчения, которые можно условно свести к схеме (см. схему 1), на которой выделяются три подпрограммы с составляющими их элементами:
1. Оптимальная программа по учебному курсу.

Схема 1
В приложении к учебной программе принцип оптимизации означает определение (выбор) наилучшего из возможных вариантов управления процессом обучения. Дело в том, что всегда существовал сложнейший вопрос учебного процесса - определение действительно необходимого объема знаний, которые должен приобрести ученик в процессе обучения. Противоречия учебного процесса, заключающиеся, прежде всего, в противоречии между объемом информации, который предписывается программой, и действительными требованиями подготовки к дальнейшей учебной и профессиональной деятельности, носит зачастую эмпирический характер. Возможность передачи как можно большего объема информации за ограниченное время требует от учителя постоянного совершенствования методики преподавания.
Нельзя с достаточной достоверностью сказать, сколько времени учащимся данного класса, а вернее, каждому ученику нужно на решение той или иной задачи, на изучение страницы учебника, выполнении графических заданий и т.п.
Без накопления данных, характеризующих производительность труда в учебном процессе, без выявления факторов, позволяющих управлять ею, не могут быть определены исходные данные для совершенствования учебного процесса. Некоторые основные факторы перечислены в упомянутой выше схеме.
2. Программа графических действий и операций.
Эта программа предусматривает систему развития знаний, умений и навыков в работе с различными типами современных чертежных средств для эффективного выполнения чертежно-технической документации. Это означает, прежде всего, эффективную взаимозависимость содержания учебной программы и насыщенности ее графическими и практическими заданиями.
Последнее предполагает не только успешное овладение чертежными инструментами и механическими приспособлениями для развития и закрепления навыков в работе, но и приложение научных методов для принятия решений, связанных с эффективным выполнением графических и практических заданий по черчению.
Качество оформления учебных графических и практических заданий и время, отводимое на их выполнение, во многом зависят от следующих обстоятельств:
а) повышения производительности труда учащихся за счет рационально выбранных чертежных средств и закрепленных навыковработы с ними;
б) системного подхода в выборе методов и способов оформления чертежно-графических и практических работ;
в) способности творчески подходить к своей деятельности, умения исключать рутинные, то есть подготовительные и повторяющиеся операции;
г) способности спланировать свои действия над чертежом в зависимости от умения разделить и затем последовательно выполнитьих с учетом сложности чертежа.
3. Программа обучающей деятельности.
Обучаемость - эмпирическая характеристика индивидуальных возможностей учащихся усвоения учебной информации, их способности к выполнению учебных заданий, в том числе к запоминанию учебного материала, решению задач, выполнению различных типов контрольных работ и тестов и к самоконтролю. Обучаемость выступает как общая возможность психического развития, достижения наиболее обобщенных систем знаний, общих способов действий. [23, стр.15]
Технические приемы, применяемые в традиционном учебном процессе, - это средства обучения и контроля. Подобного типа средства могут быть индивидуального и коллективного характера и оперативно приспосабливать ход обучения к реальной динамике усвоения учебного материала.
Применения технических средств в обучении учащихся призваны:
- повысить эффективность учебного процесса за счет своевременной адаптации процесса обучения к индивидуальным особенностям учащихся;
- разгрузить учителя от "черновой" и воспитательной работы и тем самым повысить эффективность его труда. Для повышения качества обучения необходимо, чтобы у учащихся на уроках постоянно был учебник, а также справочники в классной библиотечке. Учебник определяет последовательность и объем излагаемых сведений по каждой теме. Каждый его раздел содержит целостный и законченный "объем" знаний, на который постоянно должен ориентироваться учитель. Учебник надо использовать рационально. Нельзя во время урока отводить продолжительное время на самостоятельное его чтение, так как при этом утрачивается руководящая роль учителя. Опыт свидетельствует о низкой продуктивности такого использования учебника. Значительно более правильным является рекомендация учителя раскрыть учебник на указанной странице, рассмотреть приведенный там рисунок или прочитать вслух краткое правило или рекомендацию и тут же проверить, как это воспринято классом.
Очень важную роль играет учебник в процессе выполнения упражнений и обязательных работ. Здесь учитель может порекомендовать учащемуся, у которого возникли трудности, посмотреть учебник, прочитать нужный раздел или рассмотреть иллюстрацию к построению. Более конкретную помощь можно оказать учащемуся, если после чтения книги трудность осталась непреодоленной. С наибольшей эффективностью используется учебник в процессе домашней работы при повторении пройденного материала, выполнении практических работ. Учебник помогает привести в стройную систему изложенные на занятиях сведения, развивает логическое мышление, формирует речь учащихся.
Особое внимание следует уделить контролю за умением учащихся самостоятельно работать с литературой, привитию учащимся навыков планирования и самоконтроля, умения пользоваться оглавлением, сносками, примечаниями, алфавитным и предметным указателями, постоянно встречающимися в учебной литературе, то есть всем справочным аппаратом книги. Такие навыки не возникают самопроизвольно, им нужно и можно обучать; владение ими облегчает работу учащегося. Сюда же можно отнести умения составить тезисы, вести конспект, воспользоваться библиотечным каталогом для подбора литературы по нужному вопросу и т.д.
В настоящее время существует множество учебников и учебных пособий по черчению, поэтому одной из главных задач учителя является правильно подобрать учебную литературу и рекомендовать ее учащимся.
Далее дадим краткую характеристику действующему в настоящее время учебнику по черчению.
Действующий в настоящее время учебник «Черчение» для 7-8 классов авторов А.Д. Ботвинникова, В.Н. Виноградова, И.С. Вышнепольского написан в соответствии со школьной программой, рекомендованной Департаментом общего среднего образования МО РФ (ответственный редактор В.А. Гервер). Учебник включает информацию по теории графических изображений по направлениям:
изучение методов изображений;
построение и чтение чертежей;
выполнение эскизов и технических рисунков;
геометрические построения;
применение способов преобразования изображенийи простейших приемов конструирования;
знакомство с архитектурно-строительными чертежами.
Учебник содержит также справочный материал, вопросы для повторения, значительное количество задач и упражнений, в том числе и для выполнения графических работ. Большое внимание уделяется иллюстрированному материалу, так как основные понятия у учащихся формируются в процессе общения с графикой.
Многие иллюстрации в учебнике выполнены с применением цвета, который задействован с целью улучшения и углубления восприятия изображений, эмоционального воздействия на учащихся приведенных чертежей, повышения их удельного веса в общем объеме материала
учебника. В ряде иллюстраций цвет использован для нанесения выносных и размерных линий на чертеже, знаков диаметра и квадрата, отдельных надписей. Цветом выделены изображения проецируемых фигур или их элементов, проекции отдельных предметов и деталей, некоторые линии построений, проекции точек, секущие плоскости и др. Цвет в учебнике нашел свое применение в показе знаков ориентировки (вопросы, задания и пр.), подчеркивании нумерации глав, изображении сетки для начертания букв и цифр стандартного шрифта, бумаги «в клетку». [1], [17, стр.19]
Как уже отмечалось, учебник «Черчение» для 7-8 классов рекомендован для реализации соответствующей программы 7-8 классов основной школы. Вместе с тем учебник может быть использован для работы и по программе «Черчение», 9 класс.
Итак, рассмотрены основные организационные вопросы уроков графики. Подведем некоторые промежуточные итоги.
Выводы:
графическая подготовка - процесс, обеспечивающий формирование у учащихся рациональных приемов чтения и выполнения различных графических изображений, встречающихся в многоплановой трудовой деятельности человека;
история становления графики берет свое начало еще с каменного века. Но активнее развитие графики как науки происходит с XIV в. н.э.;
изучение графики в школе ставит перед собой множество целей и задач. В целом, их можно объединить в следующую общую цель: научить школьников выполнять различные построения и чертежи, приобщить их к графической культуре;
наиболее оптимальной формой организации уроков графики является комбинированный урок, который включает как сообщение новых знаний, так и практическую работу учащихся по их закреплению.
Перейдем к практической части курсовой работы.
2. Методика преподавания графики в 8 классе
2.1 Планирование учебной работы и подготовка к занятиям. Анализ учебной программы по графике
Как и всякий вид деятельности, труд учителя требует предварительной подготовки, продумывания и планирования. Этот подготовительный этап, предшествующий проведению самого занятия, является прямым служебным долгом учителя, который руководствуется для этой цели учебной программой.
Программа учебная – документ, определяющий содержание и объем знаний, умений и навыков. Подлежащих усвоению в процессе изучения дисциплины.
Программа школьного курса черчения - это нормативный документ, определяющий базовый уровень графической подготовки учащихся. Она включает перечень теоретических сведений, необходимых для формирования основ графической грамоты, и список обязательных графических работ, дающих учащимся необходимый уровень практических умений и навыков.
В настоящее время для основной школы Российской Федерации опубликовано несколько программ, названных авторскими. В их числе: «Черчение. 9 класс» (ответственный редактор В.И. Якунин); «Черчение. 7-9 классы» (под ред. В.В. Степановой); «Черчение с элементами компьютерной графики. 7-9 классы (под ред. В.В. Степаковой); «Черчение. 7-8 классы» (ответственный редактор В.А. Гервер); «Черчение. 8-9 классы» (под ред. Ю.П. Шевелева). Учителю и администрации школы предоставляется право выбора программ из числа рекомендованных - они допущены Департаментом общего среднего образования МО РФ. Эти программы обеспечивают реализацию «Обязательного минимума содержания образования по черчению».
Укажем на некоторые характерные особенности программы черчения для 9 класса (ответственный редактор - доктор технических наук, профессор В.И. Якунин).
Программа исходит из необходимости формирования в школьном курсе черчения графической культуры учащихся, развития мышления и творческого потенциала личности. Это новые подходы к определению целей графической подготовки школьников. В развитие «Концепции содержания образования по черчению в 12-летней школе» программа указывает, что графическая культура - это «совокупность достижения человечества в области освоения графических способов передачи информации». Применительно к школьному курсу - это «уровень совершенства, достигнутый школьниками в освоении графических методов и способов передачи информации, который оценивается по качеству выполнения и чтения чертежей ». Поэтому процесс формирования графической культуры учащихся должен быть направлен прежде всего на овладение ими таким средством информации, которым является графический язык.
Исходя из этих целей, программа формулирует конкретные задачи обучения черчению в школе:
сформировать необходимый объем знаний об основах проецирования и способах построения чертежей (эскизов), аксонометрических проекциях и технических рисунках;
научить читать и выполнять несложные чертежи, эскизы и другие изображения;
развить пространственные представления и образное мышление;
сформировать умения применять графические знания на практике.
Программа содержит: методические рекомендации по преподаванию черчения; краткий тематический план; содержание учебного материала, рассчитанного на 34 ч (по одному часу в неделю); «Обязательный минимум графических работ» (их 8); требования к знаниям и умениям школьников, к оценке работ учащихся.
В качестве учебника для 9 класса программа рекомендует учебники авторов: А.Д. Ботвинникова др.; Н.А. Гордиенко и В.В. Степаковой. Возможно, в будущем могут быть изданы пособия и других авторов. [17, стр.10], [21]
Таково содержание одной из программ, которые предлагаются учебным заведениям. Но в ряде случаев, в типовую программу можно вносить свои изменения. Встречаются ситуации, когда количество учебных часов, отводимых на предмет, по документам и на практике не совпадают. Для приведения их в соответствие вносятся изменения в программу предмета предметной (цикловой) комиссией учебного заведения. В компетенцию этой комиссии также входит перенос учебных часов (из одной темы в другую, если это направлено на оптимизацию обучения); внесение изменений и дополнений в программный материал; вынесение отдельных вопросов программы на самостоятельное изучение в связи со снятием учебных часов и т.д.
Приведем пример разработки рабочей программы по «Графике» для учащихся 8 класса, составленной на основании программы А.А. Павловой и В.Д. Симоненко (см. приложение 1). [20, стр. 181]
Итак, рабочая программа составлена и одобрена. Настал черед тематического планирования. Основной его целью является предварительная организация освоения предмета для общей адаптации технологии его обучения к условиям учебного заведения.
Исходными документами для тематического планирования изучения предмета являются: учебный план (регламентирующий общий объем времени изучения), типовая учебная программа (определяющая содержание и технологию освоения предмета в общем виде), а также изменения типовой программы (которые разрабатываются в случаях несогласованности контрольных цифр объемов изучения предмета в учебном плане и программе, либо в последнюю вносятся конструктивные изменения.
Однако регламентация видов обучения (теоретического и практического) по, предмету в целом и отдельным разделам (или темам), а также определение их содержания являются инвариантными и поэтому приблизительными организационными контурами технологии формирования знаний и умений. В тематическом планировании осуществляется уточнение этих контуров в степени, достаточной для планирования отдельных занятий. Для этого выбираются формы обучения, отвечающие учебно-материальным условиям и потенциальным возможностям преподавателей учебного заведения, делается общая ориентировка по дидактическому оснащению, источникам учебной информации и календарному сроку проведения для обеспечения каждого занятая по теме.
Тематическое планирование теоретических занятий призвано максимально способствовать организации обучения учащихся на уроках в соответствии с принципами дидактики на основе рациональной организации процессов преподавания и учения.
Для решения вопроса планирования занятий, их, в целом, необходимо рассматривать как этапы в изучении определенного, относительно целостного объема учебного материала. Тем самым они всегда являются частью системы занятий, сначала в теме, затем в разделе, курсе. Каждое занятие в такой системе имеет определенное назначение и должно быть тесно увязано с другими логикой обучения.
Вид каждого занятия (тип урока) в основном определяется его местом в системе Занятий. Структура занятия должна отражать процесс формирования знаний, умений и навыков по определенной теме. При этом связи между занятиями необязательно должны быть непосредственными, они могут проявляться как на втором, третьем уроках, так и позднее. Важно только, чтобы ни одна существенная часть учебного материала любого занятия не была изолирована от последующих тем, была бы с ними связана.
Структурирование учебного материала в системе занятий в соответствии с учебной программой производится при непрерывном укреплении и развитии связей между ранее сформированными и вновь формируемыми знаниями, умениями и навыками учащихся, включая и межмредмегные связи.
Теоретически планирование занятий по теме будет происходить в следующем порядке. Первоначально определяется место расположения темы в изучаемой дисциплине, выявляются ее наиболее существенные внутрипредметные и межпредметные связи.
Затем следует определить конкретные дидактические задачи Изучения темы, на основе которых провести подбор типов уроков. Задачи изучения темы группируются в соответствии с этапами изучения темы.
Следующий этап планирования занятий по теме заключается в распределении обучающих задач каждого урока по данной теме, при jtom необходимо руководствоваться примерным тематическим Планом в программе предмета.
Далее выбираются типы уроков по теме. Одно из важных условий рационального выбора типов уроков заключается в увязке двух логико-психологических структур: структуры изучения учебной темы и внутренней структуры урока. Иными словами, выбор типа урока должен отражать основные положения методики изучения темы и методики построения и ведения самого урока.
Согласно общим структурам процессов усвоения содержания темы и закономерностям построения урока, начинать изучение темы следует с мотивации предстоящей деятельности на занятии. Для этого в нужных случаях даются исторические справки по материалу, который будет изучен по теме. Указываются знания и умения по пройденному материалу, которые особенно будут необходимы при изучении новой темы. Определяются, сколько уроков отведено на изучения данной темы, и будут ли по ней практические занятия. Перечисляются основные элементы темы и называются те знания, к и навыки, которыми должен овладеть учащийся в результате изучения всей темы, и т.п.
Весь вводно-мотивационный этап занимает немного места, и на него можно отвести часть первого занятия по теме, соответствующую актуализации опорных знаний. За ним последует изучение учебного материала темы (формирование знаний, умений и навыков), или операционно-познавательный этап.
Из вышесказанного видно, что начинать освоение темы целесообразно на уроках изучения нового материала (по классификации уроков на основе главной дидактической цели), это первый тип занятий.
На второй этап отводится наибольшая часть времени для изучения темы. В начале данного этапа необходимо поддержать интерес учащихся к изучению нового материала, усилить мотивацию учебной деятельности. В середине этапа большое место должно быть отведено закреплению изученного материала, отработке умений и навыков.
Типы уроков, характерные для данного этапа, различны. Если в начале второго этапа изучения темы предпочтение обычно отдается урокам изучения нового материала, то в середине этапа могут применяться комбинированные уроки, а заканчивать его целесообразнее уроками совершенствования знаний, умений и, навыков. Сюда могут быть отнесены уроки, на которых полученные знания имеют репродуктивное или творческое применение: уроки закрепления и применения знаний, практические занятия, экскурсии и т.д.
Заключительный, третий, этап изучения темы призван углубить полученные знания; ввести их в систему ранее полученных знаний. Очень важно на этом этапе развивать у учащихся способность обобщать изученный материал. Поэтому на третьем этапе целесообразно применять уроки контрольного характера.
Результатом тематического планирования является план. Тематические планы могут быть краткими, развернутыми, иллюстрированными и пр. Разработанные краткий и развернутый календарно-тематические планы по предмету «Графика» представлены в приложениях 2 и 3 соответственно.
Для облегчения и регламентации организационной работы
преподавателя к каждому теоретическому занятию разрабатывается план его проведения. Этот документ, предназначенный для личного пользования, подготавливает преподаватель, ведущий дисциплину.
Исходными документами для планирования теоретического занятия являются календарно-тематический план и программа предмета. Из календарно-тематического плана берутся названия занятий, а из программы предмета - содержание, которое нужно освоить на этих занятиях.
При планировании теоретического занятия разрабатываются вопросы организации деятельности учащихся, преподавателя и среды, в которой будет происходить обучение. В зависимости от его детализации он может иметь сокращенный и развернутый вид.
Развернутый план теоретического занятия включает:
-номер занятия в соответствии с календарно-тематическим планом и дату его проведения;
-тему занятия в соответствии с календарно-тематическим планом (тема должна быть лаконично и емко сформулирована);
форму организации теоретического занятия (в соответствии с календарно-тематическим планом: урок, семинар, лекция, экскурсия, и т.д.);
тип урока (в случае, если занятие проводится в форме урока: изучения нового материала; совершенствования знаний, умений и навыков; обобщения и систематизации; контроля и коррекции знаний; комбинированного и других типов, которые выбираются по любой классификации);
-цели (обучения, воспитания, развития на занятии) и пути(направления, способы) их достижения.
Обучающая цель показывает, какой степени овладения учебным материалом должны достигнуть учащиеся в конце занятия, в каких действиях это должно выразиться.
Воспитательная цель раскрывает направления воспитательных воздействий на учащихся по формированию социально-значимых качеств личности (экономических, экологических, правовых, нравственных и т.д.) и пути их осуществления на занятии. Направления воспитания выбираются, исходя из особенностей содержания предмета.
Развивающая цель определяет основные направления совершенствования психофизиологических качеств обучаемых (мышления, памяти, восприятия, психомоторики и т.д.) и пути их реализации на занятии. Направления развития выбираются также, как и направления воспитания, исходя из особенностей содержания предмета и технологии его освоения.
Воспитательная и развивающая цели формулируются в виде, отражающем незавершенность действия.
конкретные наглядные пособия, дидактические материалы и ТСО, применяемые на занятии (при имеющейся в учебных кабинетах кодировке наглядных пособий в этом пункте возможно проставление соответствующих кодов и шифров),
методы,
литература,
ход занятия. В ходе занятия делается ориентировочное распределение времени по элементам занятия, намечаются основные методы и приемы обучения, планируется содержание каждого элемента.
Основные требования к разработке плана занятия: план занятия должен быть реальным; деятельность планируется по всем элементам занятия; план должен быть в форме, легко используемой любым преподавателем, а не только разработчиком; формы учебной деятельности на разных этапах занятия должны быть различными и подбираться, исходя из психолого-педагогических закономерностей усвоения. [16], [17]
Учитывая все выше сказанное, разработаем планы-конспекты четырех теоретических занятий по теме «Метод проецирования. Ортогональное проецирование и комплексные чертежи. Эскизы предметов».
2.2 Методические разработки уроков
В начале дадим некоторые общие рекомендации по методике преподавания данной темы.
Метод проекций - тема особая. Она не имеет прямых аналогий в других предметах, изучаемых к тому времени восьмиклассниками. Учителю предстоит ввести учащихся почти в незнакомую им область знания, где с помощью воображаемых лучей происходит процесс воображаемого проецирования предмета на несколько плоскостей. При этом учащийся, выполняя или читая любой чертеж, не может воспроизвести этот процесс реально. Он будет иметь лишь лист бумаги, чертеж-задание или оригинал (предмет, деталь) и должен прийти к решению - определить форму модели, детали, предмета по чертежу или начертить проекции данного предмета, детали и модели. Справиться с подобной задачей ему поможет очень важная и полезная способность, которую принято называть пространственными представлениями. Именно эта способность, это свойство человеческого мышления, помогает учащемуся заполнить этот пробел, который возникает перед ним, когда возможности практической реализации самого процесса проецирования с помощью физических средств отсутствуют, но задачу тем не менее можно решить, прибегая к помощи пространственных представлений и воображения.
Усвоение основных положений метода проекций важно потому, что они служат обоснованием принципа, используемого для построения технических чертежей. Представление о процессе проецирования позволяет понять, почему технический чертеж строится именно таким способом, почему проекции располагаются в определенном порядке и находятся в определенной взаимосвязи друг с другом, почему изображения на чертеже отличаются от тех, которые могли бы быть получены с помощью фотографии или рисунка с натуры, отличаются от того, каким мы видим изображаемый предмет в натуре.
Объясняя основы метода проекций, учитель не должен забывать, что малое количество часов, отведенных на черчение, не позволяет ему уделить этим основам много внимания. Изучение основ является одной из важнейших задач всего курса черчения. От методики изложения этой темы во многом зависит дальнейший успех обучения предмету.
Обстоятельный анализ проблем изучения проецирования дает А. Д. Ботвинников в работе «О нерешенных вопросах в теории и практике обучения основам проецирования».
Относительно методики обучения способам проецирования среди учителей нет единого мнения. Одни учителя считают необходимым после сообщения общих сведений о проекциях раздельно изучать проецирование на одну, две и три взаимно перпендикулярные плоскости проекций и посвящают этим вопросам три урока (автор данного пособия - сторонник такого изложения тем). При этом большое внимание уделяется работе с использованием трехгранного угла.
Другие учителя убеждены в том, что необходимо как можно скорее переходить к практическим упражнениям. На изложение сведений о проецировании на одну, две и три плоскости проекций, включая рассмотрение видов на чертеже, они отводят один урок, а остальное время посвящают закреплению изученного материала путем выполнения упражнений. Полагаю, что решение вопроса о методике обучения проецированию на несколько плоскостей проекций следует предоставить учителям, - пусть они исходят из личного опыта, методических воззрений, обеспеченности школы дидактическими материалами, состава учащихся, их прошлого опыта и многих других обстоятельств.
Раздел, посвященный методу проекций, начат с определения процесса проецирования, на основе чего целесообразно подвести учащихся к понятию «проекция» как результату этого процесса. На основе общих сведений о проецировании и проекции изложение принципа построения дается сначала на одну, затем на две и три плоскости проекций. Такая градация процесса построения чертежа поможет учителю последовательно сформировать у учащихся понятия, необходимые для сознательного усвоения правил проецирования на три плоскости проекций.
Изучая этот материал, учитель должен максимально использовать наглядные пособия. Полезно продемонстрировать отличие свойств центрального проецирования от параллельного. Это можно осуществить с помощью моделей, описанных И.А. Ройтманом. Так, обосновывается метод прямоугольного проецирования, с помощью которого осуществляется принцип построения технического чертежа.
При объяснении основ метода проекций не следует предлагать учащимся делать записи под диктовку, зарисовывать эскизно перспективные проекции и т.д. Важно, чтобы они поняли обоснованность самого метода параллельных проекций и убедились в его пригодности для применения в техническом черчении. Нужно учесть также и то, что в дальнейшем учащиеся вновь коснутся этой темы на более глубоком уровне при изучении способа получения аксонометрических изображений.
Очень важно при обучении проецированию, чтобы ответы давали учащиеся. Вопросы могут быть, например, такими: Какие грани изобразились на проекции без искажения? Какие грани проецировались в виде отрезков прямых? Подобные же вопросы должны быть заданы об особенностях изображения ребер. Наличие цвета на модели помогает учащимся формулировать ответы. Общий вывод учитель делает с помощью учащихся: не искажаются при проецировании элементы, расположенные параллельно плоскости проекции.
Наибольшее искажение претерпевают элементы, перпендикулярные к ней, частичное искажение характерно для наклонных элементов к плоскости проекций.
Логика обучения проецированию на две и три плоскости проекций такова: последовательно одна за другой решаются проблемные ситуации, причем каждая новая истина должна опираться на предыдущие.
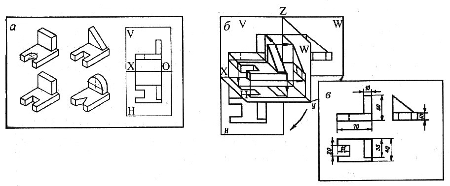
Урок 17
Тема: Понятие о проецировании. Виды проецирования. Проецирование на одну плоскость проекции
Цели:
- дать учащимся понятие о проекции, методе проекций, о видах проецирования; познакомить с элементами прямоугольного проецирования;
- научить проецированию предмета на одну плоскость проекций; развивать пространственные представления и пространственное мышление;
- воспитывать аккуратность в графических построениях.
Тип урока: комбинированный.
Методы, приёмы проведения: беседа-сообщение, объяснение, упражнения.
Материальное обеспечение: таблицы «Процесс проецирования треугольника ABC», «Виды проецирования», «Фронтальная проекция предмета»; таблицы-задания «Узнать элементы проецирования», «Узнать виды проецирования»; модель фронтальной плоскости проекций и предмета, циркуль, карточки-задания.
Литература:
Ботвинников А.Д., Виноградов В.Н., Вышнепольский И.С. Черчение: Учеб. для 7-8 кл. общеообразоват. учреждений М.: Просвещение, 1999.
Ход урока
I. Организационная часть (0,5 мин).
П. Сообщение темы, целей урока, мотивации учебной деятельности учащихся (5,5 мин).
Учитель. Тема урока «Проецирование, его виды. Проецирование на одну плоскость проекций». (Тема записана на табличке.) На уроке мы познакомимся с процессом проецирования, его понятиями и видами, должны научиться проецировать предмет на одну плоскость проекций.
Обращаю внимание на то, что эта тема является основой для изучения дальнейшего курса черчения.
III. Изучение нового материала (15 мин).
1. Беседа о процессе проецирования, элементах проецирования (5 мин).
На первом уроке мы рассматривали различные изображения (чертежи, технические рисунки, схемы и др.). Изображения можно получить на бумаге при помощи рисования, фотографирования (Показ примеров, рисунков и фотоснимков.); на мониторе компьютера с помощью сканирования, создания графических файлов и пр.; на экране - с помощью диаскопа, эпидиаскопа, кинопроектора, телевизора; на земле - освещением предмета солнцем и другими источниками света. Чтобы выявить раковины, трещины, внутренние дефекты, деталь просвечивают рентгеновскими или гамма-лучами. Для того чтобы построить изображения предметов, пользуются проецированием. Слово «проецирование» происходит от лат. ргоjectio, что в переводе означает бросание вперед.
Давайте рассмотрим по таблице (см. рис. 2) процесс проецирования треугольника.

Рис. 2
Возьмем в пространстве треугольную фигуру плоскую и какую-нибудь плоскость Н. Проведем через точки А, В, С треугольника прямые так, чтобы они пересекали Н в некоторых точках а, в, с. Соединив эти точки, получим изображение - треугольник. Данная фигура, т. е. изображение на плоскости, называется проекцией. Плоскость, на которой получается проекция, называется плоскостью проекций. Прямые Аа, Вв, Сс называют проецирующими лучами. С их помощью треугольник ABC проецируется на плоскость Н. Вот мы совершили процесс проецирования.
А сейчас постарайтесь сформулировать определение проецирования. (Ответы учащихся.)
Обобщение. Проецирование - это мысленный процесс построения изображений пространственных предметов на плоскости. Примерами проекций являются чертежи и наглядные изображения, кинокадры, фотоснимки и др.
Итак, мы рассмотрели процесс проецирования и его элементы. Давайте закрепим эти сведения в ходе выполнения упражнения. (Демонстрация таблицы «Узнать элементы проецирования».)
Задание: на таблице (см. рис. 3) показан процесс проецирования плоского предмета. Каждый элемент проецирования обозначен цифрой. Задача - назвать указанные элементы проецирования.

Рис. 3
2. Сообщение сведений о видах проецирования (S мин).
Следующий вопрос темы - это «Виды проецирования». Ответ на данный вопрос вы найдете самостоятельно, сравнивая на таблице (см. рис. 4) разные методы проекций.

Рис. 4
Обобщение ответов учащихся и вывод: в зависимости от направления проецирующих лучей проецирование бывает центральным и параллельным. Если проецирующие лучи выходят из одной точки (центра), проецирование называется центральным. Если проецирующие лучи параллельны друг другу, проецирование называется параллельным. Если при параллельном проецировании проецирующие лучи направлены перпендикулярно плоскости проекций (т. е. под углом 90°), проецирование называется прямоугольным или ортогональным, если не под углом 90° - косоугольным.
Прямоугольное проецирование является основным. Оно используется для построения чертежей.
Рассмотрев виды проецирования, закрепим эту информацию в ходе выполнения упражнения. (Демонстрация таблицы «Узнать виды проецирования».) Задание: соответствующий метод проекций (см. рис. 5).

Рис. 5
Вывод: метод центрального проецирования применяют при построении перспективы, например, зданий, сооружений, интерьеров и мебели. К центральным проекциям относятся также падающие тени от предметов, освещенных точечным источником света, фотографии, изображения на киноэкране.
Параллельные проекции можно рассматривать как частный случай центральных проекций, когда центр проекции удален в бесконечность.
Теоретические основы метода прямоугольного проецирования были разработаны в конце XVIII в. французским ученым Гаспаром Монжем. Однако практически прямоугольными проекциями пользовались задолго до этого. Так, в России в начале XVIII века в прямоугольных проекциях выполнялись корабельные и строительные чертежи, чертежи известных изобретений.
3. Объяснение проецирования предмета на одну плоскость проекций (5 мин).
Рассмотрим вопрос о получении прямоугольной проекции предмета, т. е. проецирование предмета на одну плоскость проекций.
(Демонстрация проецирования предмета на плоскость V; в качестве проецирующих лучей используется ножка циркуля с меловым наконечником.)
Выберем вертикальную плоскость проекций и обозначим её латинской буквой V. (Показ плоскости и её обозначения.) Такую плоскость, расположенную перед зрителем, а точнее перпендикулярно взгляду зрителя, называют фронтальной (от французского слова фронталь, что означает лицом к зрителю). Будем теперь строить проекцию предмета на эту плоскость, рассматривая предмет спереди.
Расположим предмет перед плоскостью так, чтобы его грань оказалась параллельной фронтальной плоскости проекций. Как вы думаете, почему? Правильно, тогда при прямоугольном проецировании не будут изменяться размеры высоты и ширины предмета, не будут искажаться углы между прямыми линиями. (Демонстрация.)
В результате на фронтальной плоскости проекций мы получили фронтальную проекцию предмета.
(Демонстрация таблицы «Фронтальная проекция предмета».)
Вопрос: О каких размерах предмета можно судить по полученной проекции? (Ответы учащихся.)
Обобщение. По полученной проекции мы сможем судить лишь о двух измерениях предмета - высоте и длине, и о диаметре отверстия. А какова толщина предмета? Эту толщину можно записать условно - указанием толщины (S) детали. Так поступают, если предмет несложной формы, не имеет выступов, впадин и пр., т. е. его условно можно считать плоским, его поверхность «гладкая» и толщина детали незначительна.
Итак, мы рассмотрели, как проецируется предмет на одну плоскость проекций.
Не надо забывать о том, что проецирование - это мысленный процесс, воображаемый в уме. Результатом такого мысленного действия станет чертеж.
IV. Обобщение и закрепление знаний, формирование умений (22 мин).
1. Фронтальное решение упражнения: вставить в определения пропущенные слова (2 мин).
1) Фронтальной плоскостью проекций называется плоскость,
расположенная и под углом ____к лучу
зрения.
2) Фронтальная плоскость проекций обозначается___буквой__
3) Грани предмета располагают ____фронтальной плоскостью проекций.
4) По фронтальной плоскости проекции судят о двух размерахпредмета: и .
5) Толщину предмета обозначают знаком ____.
Вывод учителя.
2. Выполнение индивидуальных упражнений (20 мин). По наглядному изображению выполнить его фронтальную проекцию (по индивидуальным карточкам-заданиям):
объяснение задания, обсуждение плана выполнения;
показ по таблице образца задания и его решение;
выполнение задания учащимися.
V. Домашнее задание (1 мин).
Ботвинников А.Д., Виноградов В.Н., Вышнепольский И.С. Черчение: Учеб. для 7-8 кл.
Упр. 1,2, 5 из рабочей тетради.
VI. Заключительная часть (1 мин).
Вопросы: Что вы сегодня узнали? Что научились делать?
Урок 18
Тема: Проецирование предмета на две плоскости проекции
Цели:
- показать учащимся необходимость применения двух плоскостей проекций; создать условия для формирования умений проецировать предмет на две плоскости проекций, разобрать типичные ошибки;
- развивать пространственные представления, пространственное мышление, познавательный интерес;
- воспитывать чувство времени при графических построениях.
Тип урока: комбинированный.
Методы, приемы обучения: решение проблемной ситуации, объяснение, беседа, показ ошибок, упражнения.
Материальное обеспечение: таблицы: «Проблемная ситуация», «Проецирование на 2 плоскости проекций», «Типичные ошибки»; таблицы для устных упражнений; модель двухгранного угла, предмета; карточки-задания.
Литература:
Ботвинников А.Д., Виноградов В.Н., Вышнепольский И.С. Черчение: Учеб. для 7-8 кл. общеообразоват. учреждений М.: Просвещение, 1999.
Ход урока
I. Организационная часть (0,5 мин).
II. Решение проблемной ситуации (3 мин).
Учитель. Сегодня, ребята, вам вновь предстоит искать практическое решение выдвигаемой проблемной ситуации, делать самостоятельные выводы.
Задача будет связана с предыдущим материалом. По наглядным изображениям 3 деталей (на табл.) необходимо построить их фронтальные проекции. На решение - 1 минута. (Учащиеся выполняют задание.)
Вопросы: Что получилось, каковы результаты? Какой вывод надо сделать? (Ответы учащихся.)
Обобщение. Как видно из этой ситуации, 3 совершенно различных по форме предмета имеют одну и ту же фронтальную проекцию. Подобное изображение очень неудобно для восприятия всей объемной формы предмета, нет и третьего измерения предмета. Все эти недостатки можно устранить, если построить не одну, а две прямоугольные проекции предмета на две плоскости проекций.
III. Сообщение темы, целей урока (0,5 мин).
Тема урока: «Проецирование предмета на две плоскости проекций». Мы узнаем процесс проецирования предмета на две плоскости проекций и будем учиться строить две проекции предмета.
IV. Изучение нового материала (10 мин).
1. Знакомство с горизонтальной плоскостью проекций, еерасположением и обозначением.
Вторая плоскость проекций называется горизонтальной, она всегда расположена под углом 90° к фронтальной плоскости (V). Обозначается латинской буквой Н. Плоскости V и Н пересекаются по оси X, вокруг которой плоскость Н поворачивается до совмещения с плоскостью V. (Показ двугранного угла, словарная работа.)
2. Показ процесса проецирования предмета на 2 плоскостипроекций (с использованием модели предмета, двугранного угла,модели проецирующих лучей, таблицы с проецированием).
Поместим предмет внутри двух плоскостей проекций так, чтобы большое число граней предмета было параллельно им.
Вопрос: Как должны проходить через предмет воображаемые (в нашем случае - видимые) проецирующие лучи, чтобы получить фронтальную проекцию? (Ответы учащихся.)
Обобщение. Правильно, через все точки предмета и под углом 90 к V. Не меняя положения предмета в пространстве, спроецируем его на Н. Для этого изменим положение проецирующих лучей сверху и под углом 90° к Н. На горизонтальной плоскости проекций получается горизонтальная проекция.
Для получения плоского чертежа предмета обе плоскости совмещаем в одну, поворачивая Н на 90° вниз. Обе проекции окажутся расположенными в одной плоскости.
Границы плоскостей проекций на чертеже можно не показывать. Не наносят также и проецирующие лучи, и ось X.
Итак, мы рассмотрели процесс проецирования на две плоскости проекций.
3. Беседа о расположении проекций, разбор типичных ошибок учащихся по теме.
Вопрос: Рассмотрите полученные проекции и скажите, как они располагаются относительно друг друга? (Ответы учащихся.)
Обобщение. На совмещенных плоскостях фронтальная и горизонтальная проекции предмета располагаются в проекционной связи, т. е. горизонтальная проекция будет находиться точно под фронтальной.
Обратите внимание: нижний вырез предмета оказался невидимым на горизонтальной проекции, поэтому он показан штриховыми линиями. На горизонтальной проекции проставляются размеры длины и ширины детали.
Разберите приведенные ошибки учеников при построении двух проекций. (Показ на таблице.)
Обобщение:
Нарушено правильное взаимное расположение проекций.
Нарушена проекционная связь между изображениями.
Нарушена проекционная связь между элементами детали.
Нарушены пропорции предмета на проекциях.
Ошибки в изображении видимого и невидимого контуров.
Вывод: запомните эти ошибки и не допускайте их при выполнении проекций. Контролируйте самостоятельно правильность построений.
V. Закрепление изученного материала (27 мин). Давайте закрепим сведения по изученной теме.
1. Фронтальное устное упражнение по таблице.
Показан процесс проецирования предмета на две плоскости проекций, его элементы обозначены цифрами. Скажите название плоскостей проекций, изображений и элементов прямоугольного проецирования.
2. Фронтальное устное упражнение по таблице.
Даны изображения 4 деталей в двух проекциях, которые обозначены буквами А-Г, и даны их наглядные изображения, обозначенные цифрами 1-4. Необходимо найти одну и ту же деталь на чертеже и на наглядном изображении.
3. Индивидуальные практические упражнения по картинкам-заданиям.
Задание: перечертите фронтальную проекцию детали. С помощью проекционного аппарата, руководствуясь фронтальной проекцией, постройте горизонтальную проекцию.
VI. Домашнее задание (2 мин).
Задание 2.2. С. 45-46 (Преображенская).
Упр. 12, 13, 14, 15 из РТ
VII. Заключительная часть (2 мин).
Итоги урока.
Вопрос: Что вы узнали, чему научились?
Урок 19
Тема: Проецирование на три плоскости проекции. Виды, их расположение.
Цели:
- познакомить учащихся со случаями проецирования предмета на три плоскости проекций, расположением видов (проекций) и их названиями; разобрать типичные ошибки учащихся;
- формировать пространственные представления и мышление; познавательный интерес;
- воспитывать ответственное отношение к урокам черчения, чувство времени и аккуратность.
Тип урока: комбинированный.
Методы проведения: решение проблемной ситуации, объяснение, беседа, показ ошибок, упражнения.
Материальное обеспечение: таблицы «Проблемная ситуация», «Проецирование на три плоскости проекций», «Типичные ошибки», таблицы для устных упражнений, трехгранный угол, модель предмета, карточки-задания.
Литература:
Ботвинников А.Д., Виноградов В.Н., Вышнепольский И.С. Черчение: Учеб. для 7-8 кл. общеообразоват. учреждений М.: Просвещение, 1999.
Ход урока
I. Организационная часть (0,5 мин).
Просмотр готовности к уроку. Проверка отсутствующих.
II. Решение проблемной ситуации (3 мин).
Трое учащихся выполняют на доске по две проекции трех разных предметов. (Выполняют от руки в течение 1 мин).
Вопрос: Какой вывод можно сделать из полученного графического решения? (Ответы учащихся.)
Обобщение. Вы правы в том, что различные по своей конструкции модели проецируются на две плоскости (фронтальную и горизонтальную) совершенно одинаково.

Рис. 6
Поэтому при изображении таких деталей пользуются не двумя, а тремя плоскостями проекций (см. рис. 6).
III. Сообщение темы, целей урока (0,5 мин).
Тема урока: «Проецирование на три плоскости проекций. Виды». К концу урока мы должны научиться проецировать предметы на три плоскости проекций, узнать названия и расположение видов.
IV. Изучение нового материала (12 мин).
1. Знакомство с профильной плоскостью проекций, ее расположением, обозначением.
Третью плоскость проекций располагают перпендикулярно плоскостям проекций: фронтальной и горизонтальной. Ее называют профильной, а полученную на ней проекцию - профильной проекцией предмета (от фр. слова профиль, что означает вид сбоку). Ее обозначают буквой W. В пересечении с плоскостью H она образует ось Y, а с плоскостью V - ось Z.
(Демонстрация трехгранного угла.)
2. Показ процесса проецирования предмета на три плоскости проекций (с использованием трехгранного угла, модели предмета).
Проецируемый предмет поместим в пространстве трехгранного угла, образованного V, Н, W, и рассмотрим с трех сторон - спереди, сверху и слева.
Через характерные точки предмета проведем проецирующие лучи до пересечения с плоскостями проекций. Точки пересечения соединим прямыми или кривыми линиями. Полученные фигуры будут проекциями предмета на плоскостях V, Н, W.
Для получения чертежа предмета плоскость W поворачиваем на 90° градусов вправо, а Н - на 90° градусов вниз. Полученный таким образом чертеж содержит три прямоугольные проекции предмета: фронтальную, горизонтальную и профильную. Оси проекций и проецирующие лучи на чертеже здесь также не показывают.
Итак, давайте сформулируем этапы проецирования предмета на три плоскости проекций. (Ответы учащихся.)
Обобщение:
Предмет в системе плоскостей проекций V, Н, W.
Проецирующие лучи перпендикулярны V и направляются спереди, получается фронтальная проекция.
Лучи перпендикулярны Н и направляются сверху, получается горизонтальная проекция.
Лучи перпендикулярны W и направляются слева, получается профильная проекция.
Совмещаем V, Н, W в одну плоскость.
Чертеж, состоящий из нескольких прямоугольных проекций, называют чертежом в системе прямоугольных проекций или комплексным чертежом.
3. Беседа о расположении и названии видов (проекций). Разбор типичных ошибок учащихся (4 мин).
На технических чертежах проекции на плоскостях V, Н, W называют видами.
Вид - это изображение обращенной к наблюдателю видимой части поверхности предмета.
Изображение на фронтальной плоскости проекций называется видом спереди. Это изображение принимается на чертеже за главное. Поэтому такой вид еще называют главным.
Изображение на горизонтальной плоскости проекций называется видом сверху.
Изображение на профильной плоскости проекций называется видом слева.
Кроме видов спереди, сверху и слева для изображения предмета могут применяться виды справа, снизу и сзади.
Вид сверху располагается под главным видом, а справа от главного вида и на одной с ним высоте - вид слева.
На видах можно показывать невидимые части предмета с помощью штриховых линий.
В зависимости от геометрической формы предмета он может быть представлен одним, двумя или тремя видами. Об этом мы еще будем говорить.
При построении трех видов вы можете допускать ошибки нарушения проекционной связи и расположения изображений.
V. Закрепление изученного материала (25 мин).
1. Фронтальное устное упражнение по таблице. Задание: рассмотрите проецирование предмета на три плоскости проекций и назовите элементы проецирования, обозначенные цифрами и буквами (см. рис. 7, а, б).

Рис. 7
Построение трех видов по модели. (Один ученик выполняет на доске с поэтапным комментарием, остальные ребята следят и задают вопросы.)
Индивидуальные практические упражнения по карточкам-заданиям.
Задание: перечертить главный вид и вид сверху и, пользуясь проекционным аппаратом, построить вид слева.
VI. Домашнее задание (2 мин).
Ботвинников А.Д., Виноградов В.Н., Вышнепольский И.С. Черчение: Учеб. для 7-8 кл
VII. Заключительная часть (2 мин).
Итоги урока. Обобщение основных моментов урока.
Урок 20
Тема: Главный вид. Определение необходимого и достаточного количества видов на чертеже.
Цели:
- выяснить рациональные положения деталей для главного вида; формировать умения выполнять чертежи в необходимом и достаточном количестве видов;
- развивать познавательный интерес, пространственное мышление;
- воспитывать ответственное отношение к черчению, аккуратность в графических построениях.
Тип урока: комбинированный.
Методы проведения: упражнения, беседа, чтение чертежей.
Материальное обеспечение: модели деталей, карточки-задания, таблицы «Положения деталей для главного вида», «Необходимое и достаточное количество видов».
Литература:
Ботвинников А.Д., Виноградов В.Н., Вышнепольский И.С. Черчение: Учеб. для 7-8 кл. общеообразоват. учреждений М.: Просвещение, 1999.
Ход урока
I. Организационная часть (0,5 мин).
II. Повторение пройденного материала о комплексном чертеже
(5 мин).
Учитель предлагает учащимся вспомнить материал, изученный ранее.
Задание: по моделям выполните чертеж: 1 -й ряд - деталь 1, 2-й ряд - деталь 2, 3-й ряд - деталь 3.
(Выполнение работы эскизно в течение 3 минут.)
Вопрос: Какую особенность в построенных чертежах можно заметить? (Ответы учащихся.)
Обобщение. Совершенно верно, на чертеже есть одинаково изображаемые виды. Эти построения являются нецелесообразными, нерациональными.
Сегодня на уроке мы получим ответ на вопрос о количестве видов на чертеже.
III. Сообщение темы, целей урока (0,5 мин).
Тема сегодняшнего урока: «Главный вид. Определение необходимого и достаточного количества видов». На уроке учащиеся должны научиться правильно выбирать положение детали для главного вида, выполнять чертежи в минимальном числе видов.
IV. Изучение нового материала (7 мин).
1. Беседа о выборе положения детали для главного вида.
Вопрос: Как вы думаете, каким образом необходимо располагать детали разной геометрической формы и конструкции на главном виде? (Мнения учащихся.)
Обобщение. Предмет располагают относительно фронтальной плоскости проекций так, чтобы изображение на ней (главный вид) давало наиболее ясное представление о форме и размерах предмета.
Детали, находящиеся при работе в различных положениях, вычерчивают на главном виде в положении, которое преобладает в процессе изготовления. Поэтому такие детали, как валы, оси, шпиндели, шкивы, штифты и другие, имеющие цилиндрическую или коническую форму и обрабатываемые на токарных станках в горизонтальном положении, изображают с горизонтально расположенной осью. (Показ деталей и таблицы «Положения деталей на главном виде».)
Корпусные детали (кронштейны, передние и задние бабки станков, корпуса редукторов, насосов, вентилей) на главном виде показывают в рабочем положении, т. е. положении, которое деталь занимает при эксплуатации.
Предмет располагают так, чтобы на чертеже большая часть его элементов изображалась как видимая.
Задание: рассмотрите таблицу с изображениями деталей и предпочтительными положениями для главного вида. (Показ таблицы - см. рис. 8.)

Рис. 8
Вывод: надо правильно выбирать положение детали для главного вида.
2. Беседа о количестве видов на чертеже.
Выбрав положение для главного вида, определяют необходимое число изображений, которое должно быть минимальным, но достаточным, чтобы обеспечить полное выявление формы предмета.
На таблице (см. рис. 9) приведены примеры деталей, для выявления формы которых требуется различное число видов.

Рис. 9
Давайте рассмотрим эти примеры. (Ответы учащихся.)
Обобщение. Для выявления формы и конструкции деталей 1 и 2 достаточно одного вида (см. рис. 10).

Рис. 10
Чтобы стала ясна форма деталей 3 и 4, необходимо два вида (см. рис. 11)

Рис. 11
Вывод: при выполнении чертежей деталей надо правильно определять необходимое число видов.
V. Закрепление изученного материала (30 мин).
Закрепим изученные сведения в ходе выполнения упражнений.
1. Фронтальные устные упражнения по таблицам
1) Рассмотрите изображения деталей (см. рис. 12, 13) и определите, в каком положении на главном виде лучше изобразить детали: в первом, во втором или третьем?

Рис. 12

Рис. 13
2) Даны (см. рис. 14) наглядные изображения семи деталей. В каком направлении - А, Б или В - надо смотреть на деталь, чтобы правильно выбрать ее положение для главного вида?

Рис. 14
3) Чертежи деталей (см. рис. 15) содержат один, два или три вида. Скажите, какие чертежи выполнены наиболее рационально, и объясните почему.

Рис 15
4) Скажите, какие виды (см. рис, 16) лишние на чертежах деталей и почему?

Рис. 16
2. Индивидуальные практические упражнения по карточкам-заданиям.
Задание: определите, какие виды необходимы и достаточны для изображения деталей, приведенных на карточке. По направлению какой стрелки надо смотреть на деталь, чтобы вычертить ее в характерном для главного вида положении?
Выполните чертеж детали в необходимом и достаточном числе видов (см. рис. 17, а, б, в).

Рис. 17
VI. Домашнее задание (1 мин).
Выполните чертеж одной из деталей в необходимом и достаточном количестве видов.
VII. Заключительная часть (1 мин).
Какие выводы по изученному материалу можно сделать? (Правильно выбирать положение детали для главного вида и выполнять чертежи деталей в необходимом и достаточном количестве изображений). [7], [15], [17], [18]
2.3 Формы и методы обучения графике
Метод обучения - понятие весьма сложное и неоднозначное. До сих пор ученые, занимающиеся этой проблемой, не пришли к единому пониманию и толкованию сути этой педагогической категории. И дело не в том, что этой проблеме уделялось недостаточно внимания. Проблема состоит в многогранности этого понятия.
На современном этапе развития педагогики наиболее адекватным представляется следующее определение: методы обучения - это способы организации учебно-познавательной деятельности ученика с заранее определенными задачами, уровнями познавательной активности, учебными действиями и ожидаемыми результатами для достижения дидактических целей. Часто используется и словосочетание "прием обучения". Прием обучения - это составная часть или отдельная сторона метода. Например, метод работы учащегося с книгой включает в себя следующие приемы: конспектирование, составление плана, цитирование, написание глоссария, составление схемы. Отдельные приемы могут входить в состав разных методов; один и тот же способ может выступать и как прием, и как самостоятельный метод. Например, объяснение является самостоятельным методом обучения. Но если оно используется эпизодически в ходе практической работы, оно переходит в категорию приемов.
Поскольку ученые еще не пришли к единому пониманию самого понятия "метод", вполне естественно, что нет и единой классификации. Познакомимся с важнейшими подходами.
Е.Я. Голант предложил классификацию по уровню активности учащихся, разделив все методы на пассивные и активные. К пассивным он отнес те методы, при которых ученики только слушают и смотрят, а к активным - методы, организующие самостоятельную работу учащихся.
М.Н. Скаткин и И.Я. Лернер разработали классификацию по уровню включения в творческую деятельность, выделив следующие методы:1. информационно-рецептивный - учитель сообщает готовую информацию, а ученики ее воспринимают и запоминают;2. репродуктивный - ученики работают по определенному алгоритму;3. проблемного изложения изучаемого материала - учитель ставит проблему и показывает путь ее решения;4. эвристический - учитель расчленяет проблему на части, а учащиеся осуществляют поиск их решения;5. исследовательский - учащиеся полностью самостоятельно решают проблему.
Е.И. Перовскому и Д.О. Лордкипанидзе принадлежит популярная классификация по источникам получения знаний. Согласно этой классификации, методы бывают:
1. словесными;
2. наглядными;
3. практическими.
Наиболее практичной признана разработанная Ю.К. Бабанским организационная классификация, выделяющая:
1. методы организации учебно-познавательной деятельности;
2. методы стимулирования учебно-познавательной деятельности;
3. методы контроля за эффективностью учебно-познавательной деятельности.
Наиболее крупной является группа методов организации учебно-познавательной деятельности. К ней относятся:1 Методы получения новых знаний:
вербальные методы:
- рассказ;- объяснение;- лекция;- беседа.
наглядные методы:
- иллюстрация;
- демонстрация.
Содержание учебного материала курса графики тесно связано с жизнью, производством и поэтому возможности для наглядности обучении велики.
Применение наглядности повышает интерес учащихся к изучаемому предмету, облегчает процесс получения знаний, способствует прочности усвоения и изжитию формализма в обучении. Без применения наглядных пособий трудно успешно развивать пространственные представления учащихся. Поэтому, пользуясь наглядными пособиями, можно вооружать учащихся конкретными представлениями о геометрических формах и конструкциях различных предметов, научить проводить анализ и синтез этих форм. При этом большое значение имеют такие наглядные пособия, которые учащиеся могут не только наблюдать, но и держать в руках, подробно знакомиться с их формой.
Широкое использование и правильное применение наглядных пособий расширяет и углубляет представления учащихся об изучаемом вопросе, сокращает время на изложения материала. Однако, придавая наглядности в обучении большое значение, нельзя ее переоценивать и недооценивать другие принципы обучения. При перегрузке урока наглядными пособиями можно отвлечь учащихся от основной цели урока, упустить общие закономерности изучаемых вопросов, не отделить главного от второстепенного. В обучении должно быть обеспечено правильное соотношение наглядного и абстрактного, конкретного и обобщенного.
Наглядные пособия должны быть подобраны по темам учебных программ таким образом, чтобы обеспечить проведение необходимых демонстраций при изложении соответствующих разделов курса, закреплении и повторении материала.
Выбор пособий должен быть не случайным, а тщательно продуманным по всему курсу. Для каждого пособия должно быть отведено свое место в общей цепи уроков. В зависимости от содержания и учебной цели урока необходимо применять разнообразные наглядные пособия, что будет способствовать лучшему усвоению учебного материала.
Также одним из способов повышения эффективности уроков графики является использование диафильмов и кинофильмов.
Учебные кинофильмы и диафильмы облегчают условие материала. Благодаря специфическим возможностям кино можно выделить существенные детали, воспроизвести зрительно-осязаемые аналогии между явлениями, показать рассматриваемый процесс в динамике.
Объектив позволяет приблизить к жизни, связать с производством изучаемый материал, показать, где применяется на практике то, что рассматривается в школьном классе, а ознакомившись с тем, где практически применяются те или иные построения, учащиеся понимают, для чего нужно их изучать.
методы полусамостоятельной работы:
- работа с книгой;.
- организация наблюдения.
В практике редко встречаются уроки, целиком посвященные
самостоятельной работе учащихся. Это весьма неэффективно.
Обучение графике необходимо организовывать так, чтобы самостоятельная работа учащихся в учебном процессе была не эпизодическим явлением, а составной, запланированной ее частью. Главным средством, вовлекающим учащихся в самостоятельную работу, должна быть система графических познавательных заданий.
2 Методы выработки учебных умений и накопления опыта учебной деятельности:
упражнения
лабораторные работы
практические работы.
3 Методы закрепления и повторения изученного материала:
вышеописанные методы: упражнения, практические и лабораторные работы;
беседа;
повторение - процесс словесного или письменного воспроизведения выполняемых ранее или аналогичных им заданий.
4 Методы организации взаимодействия учащихся и накопления социального опыта:
освоение элементарных норм ведения
метод взаимной проверки домашних и прочих заданий; ошибки подчеркиваются и обозначаются галочкой на полях;
прием взаимных заданий заключается в том, что на уроке учащиеся выполняют задания, придуманные соседями по парте.
временная работа в группах. Обычное число членов группы - 3-6 человек. В конце работы каждая группа выбирает представителя, и тот докладывает классу выработанные предположения;
создание ситуаций совместных переживаний. Суть - совместная деятельность учащихся, которая содержит в себе элементы сильного позитивного эмоционального переживания. Для этого в ответе или подготовке к ответу участвует не один, а два или более учащихся;
5 Методы эмоционального стимулирования:
создание ситуаций успеха в обучении - создание цепочки ситуаций, в которых учащийся добивается хороших результатов, что ведет к возникновению у него чувства уверенности в своих силах и легкости процесса обучения;
поощрение и порицание в обучении. В качестве поощрения может выступать похвала, повышенная оценка, одобрение выбранного направления; порицание и другие виды наказания должны быть исключением и применяться лишь в вынужденных ситуациях;
использование игр и игровых форм организации учебы;
постановка системы перспектив - метод, тщательно разработанный А.С. Макаренко. Он считал, что перед учениками необходима постановка перспективы трех уровней: ближней, рассчитанной на время одного задания, урока, учебного дня; средней - на неделю, четверть или год, и дальней - на несколько лет или на всю жизнь;
Методы развития психических функций, творческих способностей и личностных качеств:
творческое задание - учебное задание, содержащее творческий компонент, для решения которого учащемуся необходимо использовать знания, приемы или способы решения, никогда им ранее в школе не применяемые;
Важнейшей предпосылкой активизации мыслительной деятельности учащихся является использование задач, которые для своего решения требуют от учащихся обобщения, анализа исходных данных.
постановка проблемы или создание проблемной
В основе организации проблемного обучения, в какой-то мере имитирующего процесс научного познания путем решения учащимся проблемных ситуаций, лежит принцип поисковой учебно-познавательной деятельности ученика. Проблемное обучение предполагает оптимальное сочетание репродуктивной и творческой деятельности школьников.
Целесообразность применения проблемного подхода во многом зависит от содержания темы. Каждая учебная тема представляет собой логически завершенный круг фактов, сведений, понятий, которые должны быть в ходе подготовки к уроку переработаны, продуманы учителем. Создание и решение проблемных ситуаций должно играть вспомогательную роль и составлять, как правило, только часть урока. Проблемное обучение поможет учащимся не только успешно овладеть учебным материалом, но и будет способствовать воспитанию у них интереса к черчению, повышать активность обучения школьников.
дискуссия - метод обучения, основанный на обмене мнениями по определенной проблеме; целесообразно использовать, когда учащиеся уже обладают значительной степенью самостоятельности в мышлении, умеют аргументировать, доказывать и обосновывать свою точку зрения, но закладывать основы нужно еще в начальной школе;
создание креативного поля - метод Богоявленской; ученикам предоставляется возможность на основе непосредственной учебной деятельности развернуть другую, более интересную - креативную деятельность. Таким образом, вместо узкой проторенной тропинки, предлагаемой в рамках общих подходов, перед учеником разворачивается креативное поле решений; это воспитывает нестандартный подход;
перевод игровой деятельности на творческий уровень - введение в хорошо известную и привычную игру новых элементов, дополнительного правила, нового обстоятельства, очередного задания.
Методы контроля знаний, умений учащихся
устный опрос;
фронтальный опрос;
Фронтальный графический опрос позволяет показать актуальность ранее полученных знаний, развить устную речь учащихся, систематически выявлять теоретические знания практически всех учеников класса, контролировать на большинстве уроков состояние графических умений школьников, ликвидировать пробелы в подготовке учеников, пропустивших предыдущий урок или неподготовленных к занятиям.
Первым этапом такого опроса служит очень кратковременная фронтальная беседа, в процессе которой учащиеся со своих рабочих мест отвечают на вопросы по ранее изученной теме. Эти вопросы ставятся в конкретной форме и так, чтобы на них не требовался пространный ответ. На этом этапе от учеников требуется лишь вспомнить и осмыслить ранее изученное. Допускается использование учебных таблиц и других средств наглядности.
Вторым этапом фронтального графического опроса являются графические задания. Ученикам предлагается вычертить в рабочей тетради в клетку основные изображения, относящиеся к только что повторенному материалу. Задания рассчитаны на очень быстрое, но полностью самостоятельное их выполнение. Конспекты при этом закрыты, учебные таблицы сняты. Учитель следит за ходом работы, собирает у выполнивших задания тетради, просматривает их и, не выставляя оценок (для экономии времени), складывает одинаково оцениваемые работы в одну из стопок, не закрывая при этом тетрадь. Таких стопок четыре (по числу различных оценок). Каждый из учащихся при этом видит, в какую из стопок положена его тетрадь.
После того как тетради собраны, на доске вывешиваются учебные таблицы, содержащие изображения, являющиеся правильными ответами на предложенные ученикам задания. Дети могут скорректировать свои решения, понять свои ошибки.
Применение фронтального графического опроса позволяет приблизить объем контролируемых знаний к ста процентам, систематически развивая при этом графические умения школьников и требуя от них постоянной готовности к такой работе.
выставление поурочного балла - модификация устного опроса, при которой учитель выставляет оценки нескольким ученикам, которые, хотя и не отвечали на вопросы, но активно участвовали в уроке, добавляли и поправляли отвечающих;
письменный опрос;
контрольная работа;
проверка домашних работ дает лучшие результаты при ежедневном проведении и может выполняться с использованием нескольких приемов: - сбор тетрадей для просмотра и проверки;
- беглая проверка в ходе урока полученных дома результатов; - взаимная проверка домашних работ.
тестирование.
Таковы основные методы и приемы, применяемые при изучении курса графики. [15], [16], [23], [26]
В заключении, хотелось бы отметить, что существенным недостатком в области применения методов преподавателя является недооценка теории в курсе черчения, однообразие применяемых методов. Считая курс черчения исключительно «практическим» предметом, некоторые преподаватели излагают систематически материал курса, не сообщают учащимся необходимых сведений, нужных для решения разнообразных задач данного раздела, не обосновывают принятых условностей при изображении тех или иных деталей машин. Типичный урок у таких преподавателей состоит в том, что они вычерчивают на классной то или иное геометрическое построение, комплексный чертеж или аксонометрию детали, сопровождая это краткими пояснениями, а учащиеся зарисовывают то же самое в своих тетрадках. Нарисованное нередко служит в дальнейшем материалом (заданием) для выполнения чертежа. Длительное применение такого однообразного примитивного метода проведения занятий, исключающего творческую деятельность учащихся, приводит к тому, что учащиеся совершенствуют только «технику» черчения, не развивая свои пространственные представления.
Поэтому, многие учителя ищут пути повышения эффективности в сочетании различных методов обучения в процессе проведения занятий. Проанализировав содержание изучаемого на уроке материала, темы, они подбирают соответствующие элементам этого содержания методы обучения, стремясь сочетать в разумных соотношениях репродуктивную и творческую деятельность детей при максимально плотном использовании времени урока.
Каждый правильно выбранный метод обучения устанавливает наиболее целесообразные способы работы преподавателя и учащихся в каждой части урока, он способствует глубокому усвоению изучаемого материала, стимулирует учащихся к дальнейшему накоплению знаний, воспитывает сознательное отношение учащихся к учебному процессу, развивает их самостоятельность, позволяет сочетать коллективную и индивидуальную работу учащихся, способствует повышению эффективности урока. Таким образом, выбор методов преподавания является большим и важным делом.
Заключение
Данная курсовая работа была посвящена теме «Методика изучения раздела «Графика» в 8 классе». Этот раздел является составной частью комплексной дисциплины «Технология».
В ходе написания работы было проанализировано содержание технологического образование школьников, большое количество учебной и учебно-методической литературы.
В работе рассмотрены важность, цели и задачи изучения курса; история развития графики (с древних времен до наших дней); общие организационные вопросы уроков графики.
В практической части разработаны краткий и развернутый перспективно-тематические планы курса, его рабочая программа, методические разработки четырех уроков, по одной из самых интересных и значимых из тем – «Метод проецирования. Ортогональное проецирование и комплексные чертежи. Эскизы предметов». Кроме того, рассмотрены различные классификации педагогических методов и приемов и даны некоторые рекомендации по их использованию применительно к дисциплине графика.
Таким образом, рассмотрев все перечисленные аспекты, можно сделать вывод о том, что поставленная в начале цель, была достигнута.
Список литературы
Ботвинников А.Д., Виноградов В.Н., Вышнепольский И.С. Черчение: Учеб. для 7-8 кл. общеобразоват. учрежд. М.: Просвещение, 1999.
Ботвинников А.Д. Пути совершенствования методики обучения черчению. М.: Просвещение, 1983.
Ботвинников А.Д., Вышнепольский И.С. Черчение в средней школе: Пособие для учителя. М.: Просвещение, 1989.
Ботвинников А.Д., Ломов Б.Ф. Научные основы формирования графических знаний и навыков школьников. М.,1979.
Ботвинников А.Д. Сборник задач по черчению. М., 1973.
Василенко Е.А., Коноваленко Л.Н. Задания по черчению на преобразование. Мн., 1989.
Владимиров Я.В., Ройтман И.А. Рабочая тетрадь по черчению для учащихся 9 класса общеобразоват. учреждений. М.:ВЛАДОС, 2001.
Воротников И.А. Занимательное черчение: Кн. для учащихся сред. шк. М.: Просвещение, 1990.
Вышнепольский И.С. Преподавание черчения в среднихпрофтехучилищах. М.: Высш. шк. 1986.
Государскип Л.М. О преподавании черчения в школе. М.: Просвещение, 1964.
Гордиенко Н.А., Степанова В.В. Черчение. 9 кл.: Учеб. для общеобразоват. шк. / Под ред. В.В. Степаковой. М.: ACT, 1999.
ЕСКД: Общие правила выполнения чертежей по состоянию на 01.01.1998.
Инженерная графика: Учебник для сред. проф. образования / А.М. Бродский, Э.М. Фазлулин, В.А. Халдинов. – М.: ИРПО: Издательский центр «Академия», 2003. – 400 с.
Карточки-задания по черчению для 7 класса / Е.А. Василенко, Е.Т. Жукова. М: Просвещение, 1998.
Курина В.А., Симоненко В.Д. Методика обучения учащихсячерчению (графике): Курс лекций и практические занятия. Брянск: Изд-во БГПУ им. И.Г. Петровского, 1997.
Методика обучения черчению: Учеб. пособие для студентов и уч-ся худож.-граф. спец. учеб. заведений / В.Н. Виноградов, Е.А. Василенко, А.А. Альхименок и др. / Под ред. Е.А. Василенко. М.: Просвещение, 1990.
Методическое пособие по черчению / Ботвинников А.Д., Виноградов В. Н., Вышнепольский И.С.. – М.: АСТ: Астрель, 2006.- 159 с.: ил.
Павлова А.А., Корзинова Е.И. Графика и черчение. 7-9классы: Рабочая тетрадь № 1. Графика и человек. Правила оформления чертежей. Геометрические построения. Форма и формообразование. М.: ВЛАДОС, 2000.
Павлова А.А., Корзшюва Е.И. Графика в средней школе: Метод, пособие для учителя графики - учебного модуля образовательной области «Технология» в средней общеобразоват. шк. М.:ВЛАДОС, 1999.
Программы общеобразовательных учреждений. Технология. Трудовое обучение. Учеб. изд. / под. ред. Е.С. Забалуева. – М.: изд. «Просвещение», 2006. -240 с.
Программа «Черчение» для учащихся 9 класса общеобразовательных учреждений / В.И. Якунин, В.А. Гервер, В.В. Степакова, Ю.Ф. Катханова, Е.А. Василенко, Л.Н.Анисимова и др. // Школа и производство. 1999. № 3. С. 63-67.
Ройтман И.А. Машиностроительное черчение: Учеб. пособие для студентов сред. спец. учеб. заведений: В 2 ч. М.: ВЛАДОС, 2002.
Ройтман И.А. Методика преподавания черчения. М,:ВЛАДОС, 2000.
Севастопольский Н.О. Уроки черчения в школе: Пособие для учителя. М.: Просвещение, 1981.
Селиверстов М.М. и др. Черчение: Проб. учеб. для учащихся 7-8 кл. общеобразоват. шк. / М.М. Селиверстов, А.И. Айдинов, A.Б, Колосов. М: Просвещение, 1991.
С.А. Смирнов и др. Педагогика: педагогические теории, системы, технологии. М., Академия, 1999.
Технология: Учебник для учащихся 8 классов общеобразовательных школ. /Под. Ред. В.Д. Симоненко. – М:. «Вентана-Графф», 2001. – 240 с.
Технология: Учебник для учащихся 8 классов общеобразовательных учреждений. – 2-е изд. перераб. / Под. Ред. В.Д. Симоненко. – М:. «Вентана-Графф», 2005. – 208 с.
Черчение. Образовательная область «Технология»: Программа для общеобразоват. учрежд.: основная школа / Н.Г. Преображенская. М.: Вентана-Граф, 2002.
Приложение 1
Пояснительная записка
Современная организация производства, новая техника требует глубоких и разносторонних знаний, умений и навыков. Предмет графика призван формировать необходимые знания и навыки для практической деятельности учащихся и квалифицированных рабочих.
Планирование составлено на основе государственного стандарта и рассчитано на 34 часа. Весь учебный материал разделен на 7 тем.
В процессе изучения графики надо научить школьников аккуратно работать, правильно организовывать рабочее место, рационально применять чертежные и измерительные инструменты, владеть наиболее простыми приемами работы с красками.
Изучение теоретического материала сочетается с выполнением графических работ, содержание которых направлено на отработку методов, приемов и способов выполнения чертежей, развитие образного мышления, а также на формирование умения читать графическую документацию. Оценка успеваемости производится на основе наблюдения за текущей работой учащихся, результатов опроса, осуществляемого в устной и письменной форме, результатов проверки обязательных графических и индивидуально-графических работ. Все графические работы должны выполняться с соблюдением правил и техники оформления, установленных стандартами.
Обучение графики предполагает обязательное использование учебных наглядных пособий: таблиц, моделей, деталей, различных изделий, чертежей и т.д., а также кинофрагментов, диафильмов по черчению и другие современные технические средства обучения.
Обучение осуществляется по учебникам ''Строительное черчение'' П.В. Борсуков, ''Черчение'' И.А. Ройтман, Я.В. Владимиров, ''Чтение схем и чертежей электроустановок'' В.Н. Камнев
При обучении графической грамоте учителю следует обратить особое внимание на гуманизацию учебного процесса, на создание обучающей деятельно-творческой среды, где система «Знания, умения, навыки» рассматриваются не как цель, а как средство развития личности обучаемого, его творческого потенциала.
Следует уделять большое внимание развитию самостоятельности учащихся в приобретении знаний. Поэтому особое значение придается работе кружков, организации выставок работ учащихся, проведению тематических вечеров, конкурсов, олимпиад и экскурсий. Дальнейшее расширение и углубление графических знаний, умений и навыков учащихся предусматривается в часы факультативных занятий.
Перечень знаний и умений, формируемых у учащихся
Учащиеся должны знать:
- приемы работы с чертежными инструментами;
- простейшие геометрические построения;
- приемы построения сопряжений;
- основные сведения о шрифте;
- правила выполнения чертежей;
- основы прямоугольного проецирования на одну, две и три взаимно перпендикулярные плоскости проекций;
- принципы построения наглядных изображений.
Учащиеся должны уметь:
- анализировать форму предмета по чертежу, наглядному изображению, натуре и простейшим разверткам;
- осуществлять несложные преобразования формы и пространственного положения предметов и их частей;
- читать и выполнять виды на комплексных чертежах (и эскизах) отдельных предметов;
- анализировать графический состав изображений;
- выбирать главный вид и оптимальное количество видов на комплексном чертеже (и эскизе) отдельного предмета;
- читать и выполнять наглядные изображения, аксонометрические проекции, технические рисунки и наброски;
- проводить самоконтроль правильности и качества выполнения простейших графических работ;
- приводить примеры использования графики в жизни, быту и профессиональной деятельности человека.
Тематический план
|
№ темы |
Тема |
Количество учебных часов |
Примечание |
|
VIII класс (1 час в неделю) |
|||
|
1 |
Введение |
2 |
Основная задача – пробудить и развить интерес к графике |
|
2 |
Техника черчения и правила выполнения чертежей |
10 |
Самое трудное – преодолеть отсутствие аккуратности и терпения у некоторых учащихся |
|
3 |
Формы и формообразование |
4 |
Активно применять моделирование из пластилина, бумаги и других подручных материалов |
|
4 |
Метод проецирования. Ортогональное проецирование и комплексные чертежи. Эскизы предметов |
7 |
Тема – базовая для всего курса графики |
|
5 |
Развертки поверхностей, ограничивающих геометрические тела и предметы простых форм |
2 |
Наибольший интерес у учащихся вызывает изготовление звездчатых многогранников по их разверткам |
|
6 |
Перспектива и аксонометрия |
5 |
Перспектива – на уровне начального знакомства |
|
7 |
Технический рисунок |
4 |
Различные приемы светотеневой обработки и выполнение набросков – на уровне знакомства |
|
Всего 34 часа за год |
Тема 1. Введение
Введение. Значение предмета графика. Краткая история развития графики. Чертежные материалы, инструменты и принадлежности. Организация рабочего места. Чертеж и рисунок.
Тема 2. Техника черчения и правила выполнения чертежей
Понятие о Единой Государственной системе Конструкторской Документации. Линии чертежа: типы, назначение и обводка. Масштабы. Форматы чертежей. Оформление чертежа рамкой и основной надписью. Чертежный шрифт. Нанесение размеров на чертежах. Простейшие геометрические построения.
Тема 3. Формы и формообразование
Понятие формы. Формы плоские и пространственные. Параметры формы и положения. Образование простейших геометрических тел. Анализ форм. Изготовление форм.
Тема 4. Метод проецирования. Ортогональное проецирование и комплексные чертежи. Эскизы предметов
Идея метода проецирования. Ортогональное проецирование. Комплексный чертеж. Анализ геометрической формы предмета по его комплексному чертежу.
Тема 5. Развертки поверхностей, ограничивающих геометрические тела и предметы простых форм
Определение понятия «развертка поверхности». Построение полных разверток поверхностей основных геометрических тел и несложных моделей по их комплексным чертежам.
Тема 6. Перспектива и аксонометрия
Понятие о методах проецирования. Аксонометрические проекции: виды оси. Прямоугольная изометрическая и диаметрическая проекции.
Фронтальная косоугольная диаметрическая проекция.
Тема 7. Технический рисунок
Технический рисунок. Простейшие приемы рисования. Светотеневая обработка.
Перечень графических и индивидуально-графических работ
Перечень графических работ
Графическая работа №1 “Линии чертежа. Сопряжения”
Графическая работа №2 “Комплексный чертеж детали”
Графическая работа №3 “Построение полных разверток поверхностей основных геометрических тел и несложных моделей по их комплексным чертежам”
Графическая работа №4 “Построение аксонометрических проекций плоских фигур”
Графическая работа №5 “Построение аксонометрических проекций геометрических тел и объемных моделей несложных форм по их комплексным чертежам и эскизам”
Перечень индивидуально-графических работ
ИГР №1”Чертежный шрифт. Оформление титульного листа”
ИГР №2”Примеры использования графики в жизни и работе человека”
ИГР №3”Эскизирование”
ИГР №4”Технический рисунок”
Приложение 2
Перспективно-тематический план (краткий)
|
№ п/п |
Наименование тем |
Количество часов |
|
Тема 1. Введение |
2 |
|
|
1 |
Знакомство с предметом «Графика». Виды изображений |
1 |
|
2 |
Материалы, инструменты и приспособления, применяемые на уроках графики. Рабочее место |
1 |
|
Тема 2. Техника черчения и правила выполнения чертежей |
10 |
|
|
3 |
Понятие о Единой Государственной системе Конструкторской Документации (ЕСКД) |
1 |
|
4 |
Линии чертежа: типы, назначение, обводка |
1 |
|
5 |
Масштабы. Форматы чертежей. Оформление чертежа рамкой и основной надписью |
1 |
|
6 |
Шрифт, общие понятия. История шрифтовой культуры и различных видов шрифтов |
1 |
|
7 |
Основные правила выполнения чертежного шрифта |
1 |
|
8 |
Нанесение размеров на чертеже |
1 |
|
9 |
Простейшие геометрические построения |
1 |
|
10 |
Сопряжение |
1 |
|
11 |
Простейшие приемы работы тушью и краской с помощью пера и кисти |
1 |
|
12 |
Графическая работа №1 “Линии чертежа. Сопряжения” |
1 |
|
Тема 3 Формы и формообразование |
4 |
|
|
13 |
Понятие формы, ее параметры, виды и элементы |
1 |
|
14 |
Образование простейших геометрических тел. Методы сложения и вычитания |
1 |
|
15 |
Анализ форм, их дизайн-оценка |
1 |
|
16 |
Изготовление форм: из пластилина, проволоки, бумаги по готовой развертке. Наглядному изображению, инструкции |
1 |
|
Тема 4. Метод проецирования. Ортогональное проецирование и комплексные чертежи. Эскизы предметов |
7 |
|
|
17 |
Понятие о проецировании. Виды проецирования. Проецирование на одну плоскость проекции |
1 |
|
18 |
Проецирование на две плоскости проекции |
1 |
|
19 |
Проецирование на три плоскости проекции |
1 |
|
20 |
Главный вид. Определение необходимого и достаточного количества видов на чертеже |
1 |
|
21 |
Порядок построения видов на чертеже. Построение третьего вида по двум заданным |
1 |
|
22 |
Графическая работа №2 “Комплексный чертеж детали” |
1 |
|
23 |
Назначение и использование эскизов. Правила выполнения эскизов |
1 |
|
Тема 5. Развертки поверхностей, ограничивающих геометрические тела и предметы простых форм |
2 |
|
|
24 |
Понятие «развертка тел», ее виды и применение |
1 |
|
25 |
Графическая работа №3 “Построение полных разверток поверхностей основных геометрических тел и несложных моделей по их комплексным чертежам” |
1 |
|
Тема 6. Перспектива и аксонометрия |
5 |
|
|
26 |
Наглядные изображения. Центральные проекции и перспектива |
1 |
|
27 |
Параллельные проекции и аксонометрия, ее применение |
1 |
|
28 |
Виды аксонометрических проекции, правила их построения |
1 |
|
29 |
Графическая работа №4 “Построение аксонометрических проекций плоских фигур” |
1 |
|
30 |
Графическая работа №5 “Построение аксонометрических проекций геометрических тел и объемных моделей несложных форм по их комплексным чертежам и эскизам” |
1 |
|
Тема 7. Технический рисунок |
4 |
|
|
31 |
Технический рисунок, его особенности и применение |
1 |
|
32 |
Простейшее рисование прямых, деление отрезков. Зарисовка плоских и объемных геометрических фигур |
1 |
|
33 |
Светотеневая обработка. Техника оттенения |
1 |
|
34 |
Зачет. Сдача графических и индивидуальных графических работ |
1 |