Разработка методики преподавания истории традиционной одежды русских крестьян Южного Алтая
Оглавление
Введение
Глава 1. История исследования одежды русских крестьян Южного Алтая
Глава 2. Особенности и основные характеристики одежды крестьян Южного Алтая
2.1 Общие сведения об одежде
2.2 Женская одежда
2.2.1 Рубахи
2.2.2 Сарафаны
2.2.3 Головные уборы
2.3 Мужская одежда
2.3.1 Рубахи
2.3.2 Набедренная одежда
2.3.3 Головные уборы
Глава 3. Использование традиций костюма русских крестьян Южного Алтая на уроках технологии
3.1 Программа трудового обучения
3.2 Календарно-тематическое планирование уроков
3.3 Занимательный материал в организации трудового обучения и воспитания
Заключение
Список литературы
Приложение 1 Наглядный материал к занятию «Способы и приемы завязывания шалей крестьянками Южного Алтая»
Приложение 2 Образцы орнаментов
Приложение 3 Орнамент для вышивки
Приложение 4 Карточки для самостоятельной работы
Введение
Актуальность исследования. Традиционная культура русского народа, заключающая в себе большое количество видов народной творческой деятельности, обладает огромным потенциалом в педагогике. Она включает сформированные веками духовно - нравственные ценности и идеалы народа, выражающиеся в отношении к семье, природе, хозяйству. Здесь также сохраняются лучшие качества души, близкие к идеалу, как для старого, так и для нового поколений (трудолюбие, доброта, милосердие, честность, любовь к природе и др.).
Воспитывать эти качества необходимо с малых лет, так как личность человека, его жизненные ценности и основные принципы начинают формироваться практически с самого рождения. Именно через народную культуру можно подготовить детей к вступлению во взрослую жизнь, уберечь, или снизить возможность деградации личности, воспитать уважение к окружающему обществу и к окружающей среде.
В практической работе по воспитанию культурной личности видится, прежде всего, формирование идейной сердцевины личности гражданских взглядов, убеждений, чувств, поведения, поступков, единства слова и дела. Вот почему мы считаем исключительно важным правилом воспитания то, чтобы наши отношения с воспитанниками имели ярко выраженную нравственную, гражданскую основу и опираемся на наши традиционные ценности.
Воспитание культурной личности начинается с первых шагов сознательной жизни ребенка. «Именно в младшем возрасте, - считает педагог Т.П. Гаврилова, - когда душа очень податлива к эмоциональным воздействиям, мы раскрываем перед детьми общечеловеческие нормы нравственности, учим их азбуке морали. Общечеловеческую азбуку нравственности мы стремимся одухотворить гражданской активностью и самодеятельностью. Не просто знать, что такое хорошо и что такое плохо, а действовать во имя величия и могущества Родины».
Русский народный костюм, безусловно, всегда являлся важным средством воспитания. В далёкие времена он был одним из элементов народного воспитания, ведь в народной культуре воспитывало всё: традиции, праздники, народная философия, мировоззрение, фольклор, аккуратность, чистота и красота положительно влияли на ребёнка. Русский народный костюм является источником творчества, показателем художественных, эстетических, этических взглядов и мировоззрения на протяжении многих веков существования Руси - России, служит доказательством творческих способностей и возможностей русских людей. Его изучение имеет глубокий идейно - нравственный, патриотический смысл, способствует развитию современного искусства, преемственности поколений, передаче социального опыта последующим поколениям.
Русский народный костюм представляет собой систему разнообразных видов одежды, объединенных единым составом элементов, хотя и не обязательно возникающих одновременно. Многообразие комплексов одежды объясняется большим географическим пространством, которое занимает Россией, особенностями ландшафта, климата.
История изучения вопроса. Вопросами истории русского национального костюма занимались различные специалисты. Можно выделить три направления, в которых данная тема получила наибольшую разработку и оказала наибольшее влияние: этнография, этнопедагогика, психология:
1. Этнография. Костюм - это гордость народа. Свой народный костюм каждый человек очень любит, гордится им, прославляет в песнях. Сейчас его надевают в торжественных случаях (встреча с иностранными гостями, праздники); художники-модельеры используют элементы народного костюма в украшении современных нарядных туалетов; мастера хранят и передают другим умения по созданию костюма, его элементов - вышивки, плетения, поясов, изготовления головных уборов. Вопросами русского народного костюма занимались А.В.Арциховский, Г.С. Маслова, Т.В. Станюкович и др.
Под воздействием изменявшихся социально-экономических, экологических, этнических и других факторов складывались специфические черты одежды русских как Сибири в целом, так и отдельных ее областей, одной из которых является южный Алтай. В литературе последних лет не раз указывалось на необходимость сопоставления сибирского материала с европейским в целях выявления общерусских традиционных черт культуры и закономерностей их развития. Большое внимание традициям одежды русских крестьян Южного Алтая уделено в работах А.А.Лебедевой, М.М.Громыко, П.Е.Бардиной, В.П.Лебедева и др.
2. Этнопедагогика. Народное искусство открывает человеку его прошлое, знакомит с представлениями о прекрасном, эстетическим опытом предшествующих поколений, их стремлениями, мечтами, идеалами, традициями, передает духовную культуру прошлого своего народа. Как ничто другое, оно несет в себе заряд национальных особенностей и незаменимо в плане этнокультурного развития. Знакомство в яркой и доступной форме с народным искусством в соответствии с возрастными особенностями и возможностями учащихся развивает у них художественный вкус, вырабатывает потребность ориентироваться на духовные ценности своего народа.
В процессе данной работы большую помощь оказали труды Л.И. Васеха, Баклановой, Шпикаловой.
3. Психология. Научная школа отечественной психологии (Л.С. Выготский, А.Н. Леонтьев, Б.М. Теплов, А.В. Запорожец, Д.Б. Эльконин, Л.А. Венгер и др.) рассматривала проблему индивидуального подхода в контексте формирования личности ребенка и развития его способностей, придавая существенное значение внутренним индивидуальным предпосылкам, влияющим на успешность любой деятельности и влиянию народных традиций. Младший школьный возраст является сензитивным для формирования и воспитания личности ребенка на национальных традициях.
Цель работы: разработать программу по преподаванию народного костюма русских крестьян Южного Алтая на уроках технологии для учащихся начальных классов.
Задачи:
изучить особенности и основные характеристики одежды крестьян Южного Алтая;
разработать и апробировать программу преподавания элементов костюма русских крестьян Южного Алтая на уроках технологии учащихся начальных классов;
обозначить роль преподавания элементов костюма русских крестьян Южного Алтая в воспитании личности.
Объект исследования: традиционная одежда русских крестьян Южного Алтая и возможности использования для образовательных и воспитательных задач в системе начального образования.
Предмет исследования: процесс разработки методики по созданию программы для преподавания истории традиционной одежды русских крестьян Южного Алтая.
Теоретико-методологическая база исследования:
1. Культурологический подход, сочетающий практические и теоретические вопросы разных наук (педагогики, психологии, философии, культурологии, социологии и др.); принцип целостного развития личности; принцип сознательности субъекта деятельности; принцип социокультурной обусловленности развития личности в процессе обучения и воспитания; аксиологический подход, в соответствии с которым человек рассматривается как высшая ценность общества; цивилизационный подход, который позволяет рассматривать отечественный педагогический процесс во взаимосвязи со всемирным историко-культурным и историко-педагогическим процессами.
2. Научные, философские, культурологические, педагогические, психологические, методические труды, анализирующие культуру человеческой цивилизации, педагогический опыт с позиции эволюции духовно-нравственного и духовно-материального развития человека в пространстве и времени. При этом педагогическая деятельность рассматривается как важнейшее условие развития человека.
3. Эмпирической базой исследования явился анализ опыта разработки и реализации культурологического подхода как средства формирований человека культуры, а также собственный опыт в этой области в качестве учителя школы, методиста, старшего преподавателя кафедры художественно-эстетического и гуманитарного образования института повышения квалификации, научного руководителя культурологической школы.
Научная новизна. В данной работе традиционная одежда русских крестьян Южного Алтая рассматривается как важная часть преподавания по предмету технология в системе начального образования. Нами предпринята попытка разработать программу по преподаванию народного костюма русских крестьян Южного Алтая в начальных классах.
Источники. Данная работа построена на исследованиях следующих авторов: А.В. Арциховского, П.Е. Бардиной, Л.Г. Васильевой, Е.П. Кондратьевой, А.А. Лебедевой, Г.С. Масловой и др. Также были использованы работы историков и специалистов-этнографов: Н.А. Алексеенко, Н.Н. Воробьева, М.Я. Сироткина и А.А. Трофимова. В качестве основополагающих источников в дипломной работе занимают труды Е.Ф. Фурсовой по традиционной одежде народов Южного Алтая. Методическая часть разработана на основе трудов педагогов: А.А. Анцыгиной, Л.И. Боровиковой, Г.И. Кругликова, В.Д. Симоненко и других.
Структура работы. Дипломная работа состоит из введения, трех глав, заключения, списка литературы и приложений. Первая глава работы посвящена истории исследования одежды русских крестьян Южного Алтая. Во второй главе нами выявлены особенности и основные характеристики одежды русских крестьян Южного Алтая. Третья глава является практической часть работы, в которой представлена программа, разработанная нами для уроков технологии в начальных классах. В заключении представлены выводы, сделанные нами в процессе работы. Приложения содержат наглядный материал, который использовался в разработке занятий для учащихся.
Глава 1. История исследования одежды русских крестьян Южного Алтая
Народная одежда, характеризуясь такими признаками как устойчивость и массовость, относится к тому культурному слою, который принято именовать "традиционно-бытовым".
Традиционная одежда складывается на протяжении всей многовековой истории народа и передается из поколения в поколение, обеспечивая, таким образом, преемственность этнокультурной информации. Вместе с тем для нормального функционирования этноса, наряду с межпоколенной, важное значение имеет и «синхронная информация, обеспечивающая его пространственную стабильность и культурную интегрированность» [1].
Своеобразие бытования русской народной одежды заключалось в распространении ее форм с конца XVI - начала XVII вв. на обширных территориях не только Европейского, но и Азиатского континентов - в Сибири и на Дальнем Востоке. Под воздействием изменявшихся социально-экономических, экологических, этнических и других факторов складывались специфические черты одежды русских как Сибири в целом, так и отдельных ее областей, одной из которых является южный Алтай.
В литературе последних лет не раз указывалось на необходимость сопоставления сибирского материала с европейским в целях выявления общерусских традиционных черт культуры и закономерностей их развития. Это обусловлено, прежде всего, тем, что "этнодифференцирующую роль могут играть не только те компоненты культуры, которые едины для всего этноса, но и ее локальные варианты". Ареальное сравнительно-историческое исследование одежды русского населения Алтайского округа позволяет полнее рассмотреть его этнографический состав, а, следовательно, внести определенный вклад в изучение мест выхода, путей передвижения, внутренних миграций первопоселенцев края. Решение этих проблем по материалам второй половины XIX - начала XX вв. непосредственно связанно с рассмотрением процессов культурной интерференции между проживавшими здесь этносами, а также культурного взаимодействия различных в этнографическом отношении групп русских.
Первые, однако, очень краткие и несистематические упоминания о крестьянах южного Алтая и их одежде, содержатся в трудах ученых, участвовавших в экспедициях XVIII - начала XIX вв. - П.С. Палласа, И.П.Фалька, К.Ф. Ледебура и двух его помощников А. Бунге и К.А. Мейера. К.Ф. Ледебур встретил в долине р. Бухтармы крестьян, удививших его некоей "элегантностью быта".
Большая заслуга в описании и изучении одежды русского населения Алтайского округа принадлежит сибирскому этнографу-краеведу С.И.Гуляеву, который наиболее полно и обстоятельно описал костюмы алтайских каменщиков, "поляков" и, что особенно ценно, старожилов южного Алтая (последнее, правда, только в рукописи). С.И.Гуляев в своей работе помимо собственных наблюдений использовал и сообщения информаторов, проживавших в сельской местности и непосредственно наблюдавших быт крестьян. С.И. Гуляевым проведена работа большой научной значимости - описаны костюмы, хранящиеся в этнографическом отделе географического общества. Исследователь не только описывал народную одежду, но и анализировал ее, искал исторические корни.
В 60 - 70-х годах XIX в. Алтай привлекал внимание некоторых ученых своей неизученностью: тут проходили маршруты научных и торговых экспедиций в Китай, Монголию, Среднюю Азию, Казахстан. В 1860 г. в Алтайские горы с целью археологических и этнографических изысканий приехал француз - доктор Мейне, которого, как и многих, поразила красочность мужской одежды; он даже заметил, что "мужское население простого народа в Южной Сибири отличается большим против женщин пригожеством".
Во второй половине XIX в. в сибирской историографии отчетливо проявилась идейная борьба, обусловленная быстрым развитием буржуазных отношений в России. Представитель демократического направления общественной мысли этого периода А.И. Щапов на основе этнографических и антропологических материалов боролся против националистической ограниченности славянофилов, усматривавших неизменность "самобытных устоев" в жизни русского народа. Но, однако, при этом он впадал в другую крайность, полагая, что при любых условиях русские должны смешиваться с аборигенами, заимствовать у них элементы культуры. Особенности народной жизни он объяснял последствиями колонизационных передвижений, влиянием исторических условий. Соответствовало его теоретическим установкам и утверждение о том, что "сибиряки... забыли всю древнерусскую старину", с чем, естественно, мы согласиться не можем.
Мысль А.П. Щапова об "особенностях этнического развития" южного Алтая была подхвачена и непомерно раздута идеологами областничества, что привело их к неверному выводу о складывании здесь "особого этнического типа" со свойственной только ему культурой. Из активных деятелей областнического движения наиболее глубокий след в сибирской этнографии оставили Г.Н. Потанин и Н.М. Ядринцев, внесшие большой вклад в изучение русского народа Западной Сибири. Г.Н. Потанин видел в культуре русского населения Юга Алтая архангельские, вологодские и пермские истоки [5]. Научный интерес представляет составленный им словарь местных терминов, куда вошли и слова, обозначавшие одежду и обувь.
В 90-х гг. XIX в. появляются интересные и содержательные статьи А.Михайловича, Е. Шмурло, М.В. Швецовой. М.В. Швецова считала необходимым как можно полнее изучать своеобразную культуру алтайских "поляков". В письме в Западно-Сибирский отдел Русского географического общества она писала: "Думаю, что изучение быта... представляет большой интерес: "поляки" несмотря на столетнее знакомство с сибиряками до сих пор сохранили в значительной степени нравы и обычаи". Сама исследовательница собрала большой этнографический материал, который дал ей возможность достаточно полно и всесторонне осветить своеобразную одежду старообрядцев Южного Алтая. В своих выводах, однако, М.В. Швецова упрощенно рассматривала происхождение их костюма как результат слияния древнерусских элементов с польскими.
К концу XIX в. интерес к культуре русского населения заметно усилился, что, по - видимому, было вызвано активизацией переселенческого движения в Сибирь. Этнографическому описанию русских старожилов было отведено место в трудах П.М. Головачева. Отмечая яркость украшений мужской п женской одежды "поляков" и каменщиков Южного Алтая, он, однако, слишком однозначен: представляет последних как "тех же "поляков", бежавших на Бухтарму, за Камень". Большую работу по сбору и изучению Южного Алтая провел художник В.Н. Белослюдов. В 1906 г. в г. Семипалатинске был открыт музей братьев Белослюдовых, где экспонировались картины В.Н.Белослюдова и других художников, а также этнографические материалы.
К началу XX в. организовался Семипалатинский подотдел Западно-Сибирского отдела Русского географического общества, который интенсивно начал исследования в Южном Алтае. Сведения, представляющие большой научный интерес, сообщил в одном из номеров "Записок" подотдела священник Б.Г. Герасимов. Прекрасно зная быт крестьян, он описал костюмы разных возрастных групп населения. В его сообщениях мы иногда находим неверную трактовку. Так, он усматривал в обряде покрывания невесты покрывалом "обычай чисто киргизский", в то время как подобная традиция широко бытовала у русских Европейской России.
Этнографическим изучением быта русских крестьян в это время занималось "Общество любителей исследования Алтая", издававшее Алтайский сборник. В 1902 г. оно преобразовалось в Алтайский подотдел Западно-Сибирского отдела географического общества. Особенности одежды поляков Убо-Ульбинского междуречья нашли отражение в одном из Алтайских сборников в работе Г.Д. Гребенщикова.
Сведения по одежде русских крестьян Южного Алтая были собраны и описаны А.Е. Новоселовым. Областник по убеждениям, он видел задачи сибирской этнографии в решении проблемы метизации населения и считал старожилов "первым звеном, строго говоря, безусловно нового этнографического типа". С этих позиций подходил он и к оценке развития народной одежды, часто сводя его к "смешению", "утрате духа крепости".
В послевоенные годы в советской науке вопросы развития культуры крестьян Южного Алтая рассматривались в связи с решением проблемы присоединения Сибири к России, роли русского населения в освоении этого края. В.И. Шунков обосновал и развил точку зрения о том, что основой развития производительных сил в XVII в. было сельское хозяйство русских земледельцев. Такая постановка вопроса сделала возможным показать положительное влияние русской культуры на сибирские народы, подлинную роль русских крестьян как проводников прогрессивных культурных форм.
В 50-х гг. XX в. в серии "Народы мира" вышли в свет обобщающие очерки Т.В. Станюковича, Л.П. Потапова, издание которых показало недостаточную изученность материальной культуры Южного Алтая. С целью изысканий по этнографической тематике в последующее десятилетие было организовано несколько экспедиций Институтом этнографии АН СССР (ныне Институт этнологии и антропологии СО РАН, г. Москва), а в 70 - 90-х гг. Институтом истории, филологии и философии СО АН СССР (ныне Институт археологии и этнографии СО РАН, г. Новосибирск), в результате чего было собрано немало свежих материалов, в т.ч. и по одежде.
В 60 - 80-е гг. об одежде русских крестьян Алтая писали X. Аргынбаев, П.Е. Бардина, М.М. Громыко, А.А. Лебедева, В.А. Липинская, Л.М. Русакова, Е.Ф. Фурсова, Г.А. Щербик, О.Н. Шелегина и другие исследователи.
В настоящей работе мы ограничиваемся в основном анализом одежды в узком смысле этого слова, уделяя дополнениям значительно меньше места. Особое внимание автор направляет на взаимосвязь отдельных видов одежды между собой, т.е. комплексам. Под комплексами одежды понимается совокупность компонентов (видов одежды), более или менее связанных друг с другом и бытовавших вместе, хотя и не обязательно возникших одновременно. Иные содержания вкладываются в понятия "костюм", "вид" и форма одежды. Под костюмом (от фр. costume) в литературе понимается определенная образно-художественная система одежды и обуви (с прической, головным убором, украшениями, гримом), характеризующую общественную, этнографическую или любую другую группу людей. Видами или формами одежды называем конкретные компоненты костюма, выделяемые по утилитарному признаку (рубахи, сарафаны, штаны и т.д.).
В этнографических исследованиях важное значение имеет разработка типологий изучаемых объектов. В современной литературе под типологией понимается некая "абстракция - идеальная модель, отражающая некоторые существенные признаки определенного множества явлений, но заведомо игнорирующая другие его признаки, рассматриваемые в данном случае как несущественные". Отсюда следует логический вывод об одновременном существовании нескольких принципиально отличных типологий для одного и того же множества изучаемых объектов. За основу типологий компонентов костюма была взята конструкция (покрой) - морфологический признак, характеризующийся "устойчивостью и выраженной арсенальностью". Остальные характеристики - материал, украшения, способы раскладки кроя (раскрой), шитья рассматриваются нами как дополняющие основной.
Таким образом, в научный оборот вводится новый, ранее неизвестный материал по традиционной одежде крестьян Южного Алтая второй половины XIX - начала XX вв., раскрывающий этнографическое своеобразие ее отдельных видов и комплексов в целом. При изучении одежды рассматриваются не только материалы, отделка, конструкция - покрой, но и схемы раскладки кроя (раскроя), приемы шитья (технология). Это дает возможность полнее интерпретировать фактический материал, точнее охарактеризовать процессы, возникавшие при контактах разнокультурных групп населения, что весьма актуально для изучаемого района. Ставится вопрос о том, что традиционные виды одежды могут быть представлены не только локальными типами, но и множеством переходных (производных). При анализе пережиточных элементов, приемов и последовательности шитья, раскроя костюмов, делаются попытки реконструировать различные архаичные компоненты. Материалы представлены в рисунках и чертежах.
Глава 2. Особенности и основные характеристики одежды крестьян Южного Алтая
2.1 Общие сведения об одежде
В повседневной жизни людей одежда играет огромную роль. Она является предметом первой необходимости, потому что защищает человека от неблагоприятных проявлений климата.
Одежда - это совокупность изделий, которыми человек покрывает свое тело полностью или частично. Требования, предъявляемые к одежде, очень разнообразны. Их подразделяют на гигиенические, механические эстетические, эксплуатационные, технические и экономические.
Гигиенические требования обеспечивают теплозащитные свойства одежды, воздухообмен, гигроскопичность.
Механические требования - это требования к прочности изделия, устойчивость к трению, многократным изгибам, сохранению формы. Эстетические требования включают художественное оформление изделия, подбор материала по цвету и фактуре и т.п.
Эксплуатационные требования обеспечивают удобство одежды в носке и надежность. Удобство заключается в свободе движения и дыхания человека, легком надевании и снятии одежды; надежность в эксплуатации – в безотказной службе одежды до момента ее физического износа.
Технические требования должны выполняться в процессе производства одежды в полном соответствии с требованиями государственных стандартов и технических условий.
Экономические требования предусматривают снижение себестоимости изготовления изделия, минимальный расход материалов и т.п. [2,с.64].
Эстетические и эксплуатационные показатели одежды должны соответствовать современным направлениям моды по силуэтным формам, пропорциям, цвету, используемым материалам.
Особого внимания заслуживает такой факт народной культуры как крайне бережное отношение к одежде, даже многолетней давности, сохранившейся от дедов. Эти предметы штопали, подновляли и передавали по наследству детям и внукам, что способствовало сохранению традиционных форм. Впрочем, такая бережливость проявлялась не только по отношению к одежде, а простиралось и на другие культурные ценности, природу, т.е. входило в общую систему мировосприятия крестьян. И дело тут было даже не в том, что нарядов было мало или они стоили дорого. Важнее было, как вспоминали люди, "уметь беречь труд", с детства воспитать уважение к труду, воплощенному: в конкретных вещах. Сходили парни с девушками на полянку, потанцевали, домой возвращались уже босиком, неся туфли или сапоги под мышкой. О бережливости свидетельствуют и такие стародавние традиции, как безостатковые способы раскроя тканей, выполнение из лучших материалов толы» видимых частей костюма, приготовление подворотников, нарукавников, защищавших от загрязнения детали праздничных одеяний.
Такой подход делал очень естественным деление как мужской, так и женской одежды на повседневную и праздничную. Никогда крестьяне не позволяли себе надеть что-либо не соответствующее ситуации. Носить в будни праздничный костюм или, наоборот, в праздник будничный считалось в их представлении нелепым фиглярством. Повседневная одежда старожилов, несмотря на назначение, не воспринималась как унылое зрелище, хотя и шилась из сурового или крашеного холста - "крашенины", узорнотканого полотна - "пестряди". Холсты или пряжу при этом красили в синий цвет - кубовой краской, в желтый - серпухом, в оранжевый или кирпично-красный - мареной, в ярко-зеленый - зеленикой и т.д. Костюм повседневного назначения одновременно служил и рабочей одеждой для выполнения работ в домашнем хозяйстве [4,с.56].
Широкий ассортимент покупных тканей, особенно китайского производства, придавал своеобразие старожильческой одежде населения, давал повод исследователям говорить о склонности сибиряков к красочным нарядам, об их зажиточности. Как известно, А.Н. Радищев даже сожалел по поводу того, что "низкая цена китаек, а паче даб и фанз изгонит из употребления в Сибири многие рукодельные и мануфактурные товары".
Самым серьезным образом сибиряки подходили к вопросу сезонности в костюме. Континентальный климат с долгим холодным периодом требовал наличия как разнообразных меховых видов верхней одежды (овчинных, мерлушчатых, беличьих, лисьих, телячьих, собачьих и т.д.), так и суконных, домашнего изготовления и покупных, полусуконных ("понитчины"). Практически для каждой ситуации - зимняя стужа, оттепель или пурга - было приготовлено подходящее одеяние.
Одежда крестьян Южного Алтая XIX в. отражала возрастную, а значит, и социальную дифференциацию, так как переход из одной возрастной группы в другую сопровождался и изменением общественного положения человека. Особенно это заметно в женском костюме, однако, и в мужском такие различия имели место. Костюм девочки до 8 - 10 лет ограничивался нательной рубашкой с пояском, да еще в юго-восточных районах округа головной повязкой - "примазенкой" по достижению этого возраста "большой девушке" в старину прилично было носить сарафан, в косе шелковые ленты, на голове коронообразную повязку из платка с открытой макушкой и другие украшения. Просватанную девушку можно было увидеть по нарядной, возможно, алой рубахе или вставкам кумача на плечах. Алая рубаха или сарафан, его декоративно уложенный подол в виде защипов - "куколок" характеризовал невесту у "полячек" Южного Алтая. В Легостаевской волости Барнаульского округа сосватанная кержачка, наряду с обычными украшениями, прикрепляла вокруг головы небольшие бантики или вплетала ленты разных расцветок вдоль косы. Рубаха, орнаментированная цветами или ромбами, проросшими колосьями, отличала жениха. Женщины первого года замужества выделялись в праздники особенно нарядным костюмом, включавшим помимо сарафана и рубахи передник, на Бухтарме и в Прибердье с рукавами, головные уборы с двумя покровами - кокошником или платком и шалью. Пожилые женщины и старухи шили одежду из тканей скромных расцветок, меньше использовали украшений, головы покрывали менее высокими уборами, у вдов и незамужних с одним платком, у замужних с двумя. Кроме того, в начале XX в. пожилые могли еще хранить глухие и косоклинные сарафаны, женщины среднего возраста носили прямые или полукруглые, молодые - прямые сарафаны, кофты с юбками [32].
У мужчин различия касались верхней одежды: пожилые и старики надевали одновременно два ее вида. В основе одного лежал халатообразный, а в основе другого - кафтанообразный крой. Юноши же носили обычно кафтанообразные формы. Молодежные кафтаны украшали вышивками, а стариковские нет. Примечательно, что такое разделение характерно и для головных уборов, которые у молодежи были украшены (перьями, кисточками) и носились набок, чего не было у стариков.
В традиционных костюмах крестьян Южного Алтая отразились эстетические идеалы, которые во многом ориентировались на общепринятые нормы морали и нравственности. Они создали относительно скромный по колориту женский костюм. Его статичный, трапециевидный силуэт, многослойность способствовали не выявлению форм тела, а скорее, наоборот, их сокрытию. Основными формообразующими элементами были вытачки-защипы, сборки, которые создавали наполненные, объемные формы; облекая все тело в одежду, тщательно регламентировали длину. Тело, как вместилище греха, показывать не рекомендовалось, особенно замужней женщине. Рукава должны были закрывать запястье ("косточку"), а подол сарафана - щиколотку (в 1920 - 30-х гг. до середины голени). Такие, с нашей точки зрения, детальные ограничения воспринимались настолько естественно, что при выяснении отношений между мужчиной и женщиной, последняя доказывая, что ее стыдить не за что, могла сказать: "Что ты меня ругаешь! Ты моих локтей видал?". Увидеть у женщины локти и, тем более колени или, что еще хуже - "простые (т.е. без головного убора) волосы" считалось большим позором. Обыденное народное сознание осуждало как "нескромницу", так и "нескромника". Однако наряду с этим не было принято носить нижнего белья и штанов, почему во время подвижных игр или "куляний" (качаний на качелях) подолы рубах застегивались между ног. При взгляде на костюмы женщин нельзя не вспомнить воздвигнутые сибирскими крестьянами усадьбы с их замкнутыми, крытыми дворами, оправдавшими себя в суровых сибирских условиях. Ведь основные композиционные принципы в архитектуре и костюме всегда взаимообусловлены, выражали одну стилистическую идею. Приведем высказанное Е.А. Ащепковым наблюдение о том, что "особенности сибирского зодчества - это сдержанность композиции, простота форм, скупость красок, лаконизм архитектурного решения".
Традиционное конструирование как способ создания объемных форм характеризовалось своей спецификой. Вытачка, изобретенная западноевропейскими портными еще в средние века, в свободной, не стеснявшей движения одежде не требовалась, в ряде конструкций формообразующим элементом служили сборки "борки", "склады". Крой включал в основном разных размеров прямоугольники, криволинейные детали отсутствовали. Это было связано с очень древним обычаем - разрывать, а не разрезать ткань при раскрое. До настоящего времени информаторы преклонного возраста употребляют стародавние термины, отражавшие такую традицию - вместо "разрезать", говорят "урывать", "урвать". Детали кроя соединяли строчками - "живулькой", или вперед иголкой, и "втачкой", или назад иголкой, от названия последней из которых произошла современная терминология швейного дела (ср. стачать, втачать и т.д.). Виды швов зависели от их назначения: в тех местах, где могло быть большое растяжение, ткань соединяли запашивочным швом, там же, где нагрузки были незначительны - стачивающим.
2.2 Женская одежда
2.2.1 Рубахи
Рубахи, надевавшиеся непосредственно на тело, составляли одну из неотъемлемых частей женского костюма крестьян Южного Алтая второй половины XIX - начала XX вв. В зависимости от покроя в области плечевого пояса женские рубахи можно подразделить на следующие типы: туникообразные, поликовые, со слитными поликами, на кокетке, с плечевыми швами.
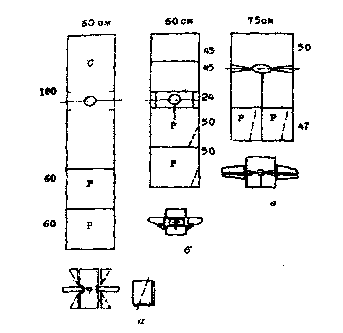
Показанные информаторами способы раскладок кроя дают представление об очень рациональных, безостатковых раскроях (рис. 1). При их выполнении руководствовались традициями, а также шириной тканого полотна (35 - 60 см), которая ограничивалась размерами ткацкого станка - "кросен". Если при крое все же получались небольшие остатки (как правило, в более поздних вариантах), то они использовались на обшивку ворота, низа рукавов.
Туникообразные рубахи. Еще в начале - первой трети XX в, в Алтайском округе сохранялись, а кое-где встречаются и сейчас, реликтовые, туникообразного покроя женские рубахи, называвшиеся становины, пропускнушки. Основу стана в них составляло перегнутое по утку полотно с пришитыми по сторонам 2-мя прямыми или 4-мя кошеными бочками (боковинами). Рукава в таких рубахах вшиты в пройму, образуемую центральным полотном и более короткими боковинами (рис. 1, а).

Рис. 1. Схемы раскроя женских рубах: а - туникообразных; б - на кокетке; в - с плечевыми швами. Условные обозначения: С - стан: Р - рукав.
Туникообразные рубахи описанного покроя были известны повсеместно у кержачек и большей части чалдонок в качестве повседневной и погребальной одежды (рис. 2). Туникообразные рубахи входили в погребальный комплекс и у тех групп населения, у которых повседневный и праздничный включали поликовые рубахи (кержачки по рекам Коксе, Чарышу, Бухтарме, Аную).
В конце XIX - начале XX вв. повседневные рубахи делали "составными" т.е. с отрезной верхней частью (рукавами (рис. 2 а, 6). Нижняя часть (стан) изготавливалась из 2-х, а, если шла льняная ткань, то из 3-х полос, которые сшивали швом встык косым стежками.

Рис. 2. Рубахи туникообразного покроя, изготовленные в начале XX в.: а - из темного сатина: б - из темно-зеленого сатина
Необычным был способ соединения рукавов и стана: их края подрубали (подшивочная строчка косым стежком) и, укладывая рядом, скрепляли косыми стежками "через край" (рис. 4).

Рис. 3. Современные туникообразные рубахи: а - повседневная из цветастого ситца; б - погребальная из белого ситца; в - повседневная из ситца и пестряди

Рис. 4. Технологические приемы шитья в рубахах: а, б - швы соединения верха со станом; в - швы соединения полотен стана; г, д - обработка низа стана
В отличие от повседневных, погребальные рубахи всегда старались делать цельными, пропускными. Это было связано с представлением о не желательности поперечных швов в такого рой'" одежде. Инновации наших дней - укладываемые поперек плеча складки-защипы, свидетельствуют о живучести таких поверий [31].
Поликовые рубахи. Женские рубахи с полисами во второй половине XIX - начале XX вв. были распространены у российских, которые привезли их с собой из России, у старожилок - "полячек", кержачек Южного, Центрального и Юго Алтая. Носили их в комплексе с "лямошными" сарафанами, надевавшимися поверх таких рубах.
Поликовые рубахи "полячки" называли по - наименованию прямоугольных вставок-поляков - рубахами с поляками. Так как кержачки часто называли плечевые вставки ластовками, то указанные рубахи были известны и как рубахи с ластовками или, из-за сборок - борами. Такие вставки вставляли в области плечевого пояса между передними и задними полотнами рубах. Расставленный таким образом ворот присобирали на одну или несколько нитей, в результате чего он приближался к форме и размерам шеи. Поликовые рубахи готовили составными, их верхние части шили из более качественных материалов [33].
Поляцкие рубахи с пришитыми по основе стана поликами и рукавами из двух-полутора полотен разной длины:
рубахи с рукавами из двух прямых полотен разной длины. Уголки большего из полотен укладываются "кульком";
рубахи с рукавами из полутора полотен разной длины, у меньшего из которых срезается уголок. Уголок при этом помещали вниз рукава;
рубахи с рукавами из полутора полотен, у большего из которых срезан уголок, надставлявший меньшее полотно;
рубахи с рукавами из одного полотна и двух клиньев, срезанных с этого полотна.
Бухтарминские рубахи с поликами, пришитыми по основе или утку стана, и рукавами из полотен одинаковой длины:
рубахи с рукавами из двух прямых полотен одинаковой длины, у одного из которых срезан угол;
рубахи с рукавами из полутора прямых полотен, у каждого из которых срезан угол. Форма рукавов приближается к кошеным.
Старожильческие (кержацкие) рубахи с рукавами из двух кошеных полотен - большого и малого.
Старожильческие и российские рубахи с пришитыми по утку стана поликами и прямыми, сборенными внизу рукавами.
Во второй половине XIX в. рубахи с рукавами из прямых полотен разной длины (кули) бытовали как старинные у "полячек" Владимирской, Риддерской, Ануйской, Бухтарминской и других волостей Южного Алтая. К настоящему времени сохранились в основном праздничные, свадебные экземпляры этих рубах, сшитые из отбеленного холста. Но, по сообщениям информаторов, раньше кули такой конструкции носили и повседневно.
Особенность конструкций этих рубах заключалась в том, что верхняя часть (чехлик) кроилась по утку, для чего полотно холста разрезали посредине, вдоль нити основы. Так как в этом случае ширина чехлика не ограничивалась размерами тканого полотна, то описанные рубахи были очень широкими в подоле (80 и более см) и объемными в плечевой части. На полики отрезали куски, равные ширине целого полотна, которые пришивали к чехлику по его нити основы. Ткань поликов окрашивали в красный цвет. В технике «роспись», «набор» по нитям выполняли вышивки шелковыми или бумажными нитками (рис. 5).

Рис. 5. Женская холщовая рубаха, с. Быструха Владимирской волости
В некоторых просмотренных рубахах полотна чехлика надставлены вверху кусочками кумача. Отметим, что с подобными же надставками - пельками этнограф Н.П. Гринкова столкнулась в Воронежской губернии, где установила их причастность к возрастному делению - такие "знаки" были присущи рубахам молодых женщин. Можно предположить, что и на Алтае кумачевые надставки несли ту же самую символическую нагрузку.
Рубахи с рукавами, в которых уголок срезался с меньшего полотна, бытовали у "полячек" по рекам Убе, Ульбе. До наших дней они хорошо сохранились и у старообрядческого населения б. Бухтарминской волости (г. Зыряновск, сел Снегирево, Тургусун, Богатырев) и др.). Последнее можно объяснить тем, что рассматриваемые рубахи занесены в низовье Бухтармы группами крестьян-убинцев, переселенных туда по указу Колывано-Воскресенского начальства в 1797 г. [33]. Вероятно, в этот район были миграции и самовольные.
Срезанный с меньшего полотна рукава уголок помещали внизу у запястья. Вследствие этого передний шов, который соединял большее и меньшее полотна, а также уголок-вставку по нитям основы имел вид продольного соединения, а локтевой - продольно-поперечного с посадкой ткани в районе треугольной вставки. В использовании дополнительного уголка, таким образом, заметен переход от кулевидных рукавов, где прямые срезы комбинировались с поперечными, к кошеным. У запястья рукава обшивали полосками контрастной ткани (пояском), косичкой-плетешком или тем и другим одновременно. Особую нарядность таким рубахам придавали полики, которые подбирали из ярких, порой контрастных по отношению к основной ткани, материалов.
В рубахах с рукавами, где уголок-вставку срезали с большего полотна и использовали практически как продолжение малого, локтевые срезы становились симметричными друг относительно друга, так что не было необходимости припосаживать детали. Указанные особенности кроя обусловили то, что соединение полотен было продольным, от кержацких кошеных рукавов отличала лишь треугольная вставка у запястья (рис. 6).

Рис. 6. Женская рубаха из кумача: а - контурный чертеж; б - деталь-манжета; в - раскладка кроя
Рассматриваемые рубахи характеризовались многими чертами, характерными для кулей. Так, они имели сходные с бытовавшими здесь кулями приемы украшений, шитья: подчеркивание швов разноцветными стежками, окаймление рукавов у запястья плетешками. Высокие воротники составляли в них важную деталь и носились как стойкой, так и перегнутыми. Новым элементом в этих рубахах были группы сборок внизу рукавов, делать которые в старину считалось грешно.

Рис. 7. Вышивка в женских бухтарминских рубахах
Из-за внешнего подобия белой бумажной ткани отбеленному холсту, зонтовые рукава сохранили больше традиционных элементов в украшениях, по сравнению с рубахами, сшитыми из цветастых тканей (рис. 7). В них еще выполнялась отделка вышивкой по поликам, вороту, низу рукавов в технике роспись, крест и т.д.
Рубахи со слитными поликами. Рубахи со слитными поликами (бесполиковые), как старинные, существовали в изучаемое время в смертной одежде "полячек" Владимирской, Риддерской волостей Бийского округа, Николаевской волости Барнаульского округа. Рукава в таких рубахах выкраивались из двух полотен холста разной длины: большее, составляющее верхнюю часть рукава и полик, и меньшее, которое шло на нижнюю часть рукава. Они соединялись со станом по утку. Под мышки вставляли небольшие, из белого же холста ластовицы. Часть большего полотна рукава и стан собирали на 1 - 2 нити; ворот завязывали на тесемки, передернутые в дырочки по краям воротника (рис.8).

Рис.8. Женская погребальная рубаха
В конце XIX - начале XX вв. рубахи с кокеткой были широко распространены в южных областях Алтайского округа.
Появление на Алтае женских рубах с плечевыми швами, представляющих собой качественно новую ступень в развитии и совершенствовании кроя одежды, относится к первым десятилетиям XX в. Но еще и в 20 - 30-х гг. здесь бытовали рубахи с плечевыми вытачками, в которые собирали излишки ткани на плечах, не разрезая ее. Прострачивание швов-вытачек являлось, таким образом, еще народным приемом шитья, соблюдавшим требование как можно меньше резать материал. Этот прием резко отличался от принципов шитья городской мещанской одежды, имевшей криволинейную конструкцию и плечевые швы. Следовательно, рубахи с плечевыми вытачками, сохраняя, с одной стороны, связь с прежними конструкциями одежды, с другой - приблизились к покроям с плечевыми швами, так как вытачки способствовали лучшему облеганию в области плечевого пояса (рис. 9).

Рис. 9. Рубахи и кофты с плечевыми швами или швами-вытачками: а – из ситца, б – из желтого сатина; в – из бордового сатина
Это дает основание рассматривать подобные женские рубахи как переходную форму (тип). Распространившиеся плечевые швы-вытачки, а затем и швы вызвали новые изменения в крое - появились выкройные, или вырезные проймы и рукава. В 20 - 30-х гг. XX в. рубахи шились без стана, что означало полный отказ от прежних форм и появление нового вида одежды – кофт.
2.2.2 Сарафаны
Во второй половине XIX в. безрукавной одеждой, надевавшейся поверх рубах, у крестьянок Южного Алтая были перемитнита, дубасы, сарафаны, горбачи.
При разработке типологии сарафанов учитывались раскрой и расположение полотен переда и спинки, швов на боках, наличие или отсутствие кошеных полотен-косин или клиньев (клинышек).
Сарафаны без продольного переднего шва (глухие).
Сарафаны туникообразного покроя без дополнительных боковых клиньев (центральное полотно + кошеные полотна).
Сарафаны туникообразного покроя с дополнительными боковыми клиньями (центральное полотно + кошеные полотна + дополнительные клинья).
Сарафаны с цельным, но отдельно выкроенным передним полотном, с отрезными лямками, кошеными полотнами, возможно, с дополнительными боковыми клиньями (переднее полотно + заднее полотно + кошеные полотна + дополнительные клинья).
Сарафаны с продольным передним швом.
Кошеные сарафаны, выкроенные из 3-х целых (два на перед и одно на спину) и 2 - 4-х кошеных полотен, которые размещали по бокам или на спине между основными; швы шли продольно от верха до низа.
Косоклинные сарафаны (клинники), выкроенные из 3 - 7-ми полотен (четное число шло на перед, нечетное - на спину), с которых срезали уголки-клинья и вшивали затем в подол; швы по бокам располагались в виде "елочки".
Сарафаны из прямых полотен (четное число на перед, нечетное на спину).
Сарафаны с передом из прямых и спинкой из 4-х кошеных полотен; швы продольные.
Сарафаны на кокетке.
Подобно тому, как типы и варианты сарафанов нередко имели особые названия, конкретно обозначались и их детали, обладавшие локальной спецификой.
Наиболее популярными кержацкими сарафанами, распространенными по Южному Алтаю во второй половине XIX - начале XX вв., являлись горбачи, называвшиеся еще горбунами. В ранних формах эти сарафаны по покрою относились к глухим, туникообразным и носились с такими же рубахами-станушками. В бока, между передом и спинкой, вставлены кошеные полотна. По направлению к спинке кошеные полотна удлинялись и вместе с задним составляли шлейф, именовавшийся ранее хвостом. Ворот обшивался невысоким ошейником и застегивался на несколько пуговиц.
К следующему варианту отнесены сарафаны туникообразного покроя, но, в отличие от предыдущих, имевшие дополнительные клинья, которые пришивались прямыми срезами к скошенной вверху спинке. Вследствие этого, рассматриваемые сарафаны имели большую ширину в подоле, что сближало их с косоклинными сарафанами. Делала похожими их на последние и небольшая по размерам, фигурно выкроенная спинка, узкие лямки. Однако существенным отличием от косоклинных лямочных сарафанов было то, что, как уже указывалось, перед и спинка в них выкраивались из одного куска полотна (рис. 10).

Рис. 10. Сарафан из черного сатина
Сарафаны с цельным передним полотном, в которых перед и спинка уже выкраивались не из одного куска ткани, а из разных, лишь в качестве рудиментов сохранили цельнокроенные с задним полотном спинку и с передним - лямки.
Поскольку до настоящего времени сарафаны этого вида сохранились, в основном, из свадебных или праздничных (в т.ч. моленных) комплексов, то нам они встречались сшитыми из ситцев, сатинов, китайских переливчатых шелков и цветастых кашемиров. Последние настолько тонки, что, как говорили информаторы, "без подкладки из них не сошьешь".
К сарафанам со швом спереди, как уже отмечалось, нами отнесены те, у которых перед состоял из двух, сшитых вместе, полотен, а спинка из одного целого или немного скошенного вверху. Происхождение таких сарафанов исследователи связывают с распашными видами одежды [9]. Эти повседневные, праздничные, а также свадебные сарафаны из кашемира, сатина, моркаши и т.д. "полячки" шили с довольно узкими лямками, нередко с отрезной задушкой, широким, "два-три перста", ремнем. Ремень мог пришиваться либо окантовочным швом (строчками втачкой и подшивочной), либо, в случае, если кант делался из другой ткани, обтачным. Встречались и обработки швом вподгибку. Верхнюю часть подола борили, причем, в более ранних по времени изготовления борки собирали только в двух местах над грудью, а в поздних - кругом.
В верхкатунских сарафанах имели место некоторые специфические черты, по которым их сразу можно было отличить от "поляцких". Так, кошеные полотна пришивали к передним полотнам не только прямыми, как у "полячек", но и косыми срезами. По мнению жителей сел Верх-Уймон, Усть-Кокса, это и делалось для того, чтобы сарафаны живописнее "борило". Прослеживаются отличия в используемых материалах - более темных (черных, коричневых и т.д.), чем у "полячек", цветов. По-иному могли и носили сарафаны - с подтыком за пояс. Другими, чем в "поляцких" сарафанах были приемы шитья - боры по верху подола собирали "на косую нитку" (петлеобразными стежками), отличным способом обрабатывали и лямки. Все сказанное склоняет к выводу о развитии у уймонских кержачек рассматриваемого варианта сарафанов. На Бухтарме такие сарафаны характеризовались многими общими чертами кроя, отделки с "поляцкими", что заставляет думать о занесении их в свое время в этот край "полячками".

Рис. 11 Украшение спинки и переднего разреза (позументом, шнуром, тканьем, вязаным кружевом) кумачового сарафана
Косоклинные сарафаны с передним швом (клинники) во второй половине XIX - начале XX вв. бытовали у старожильческих групп Южного к Юго-Восточного Алтая - "полячек", бухтарминских и уймонских кержачек. Используя в основном в качестве праздничной одежды, крестьянки носили их в комплексе с поликовыми рубахами. Для раскроя указанных сарафанов использовали от трех до семи отрезов ткани, длина которых зависела от роста женщины, моды и колебалась между 95 и 120 см. При этом на перед шло четное число отрезов, а на спинку - нечетное. В центральных передних и одном заднем полотнах в старинных сарафанах делали мысики-проймы и фигурную спинку. С каждого из боковых полотен срезали уголки, которые при соединении всех частей сарафана вшивали в низ подола. Вследствие этого швы на боках располагались "елочками".
После соединения основных частей подола сарафана, к мысикам передних и спинке заднего полотен пришивали отдельно выкроенные полоски ткани - проймы. В двух местах над грудью, а также по обе стороны от спинки ткань присобирали в мелкие складочки (по три и более) или "брали боры" кругом. В более старых косоклинных сарафанах, изготовленных во второй половине XIX в., подобные сборки по груди отсутствовали - традиция, вероятно, восходящая к одежде более закрытого покроя. По-видимому, с этой давней традицией связано и особое, негативное, отношение к подобным борам, которое сохранилось в памяти людей старшего возраста и до настоящего времени.
Наряду с вышерассмотренными сарафанами у крестьянок Южного Алтая во второй половине XIX - начале XX вв. бытовала и другая традиция, связанная с бытованием глухих видов одежды. Это аналогичного покроя сарафаны, однако, глухо зашитые по переднему шву. В погребальной одежде сшитые из холста сарафаны в качестве дериватов одежды более закрытого покроя сохранили цельнокроенную с задним полотном за-душку, мысики-лямки (рис. 12).

Рис. 12. Погребальный холщовый сарафан
Для праздничных, нарядных костюмов на такие сарафаны употребляли бумажные ткани крупноузорчатого переплетения, шелка, кашемиры. Яркой, многоцветной была в этом случае отделка белыми кантами, горизонтальными нашивками из тесьмы, кружева, сутажинок и т.д. по груди, а также по лямкам, задушке (рис. 13 - 14).

Рис. 13. Сарафан из цветастого ситца: а – контурный чертеж; б – вышивка спереди; в – вышивка сзади
Рис. 14. Сарафан из цветастого ситца: а – контурный чертеж; б – вышивка на спине

Рис. 15. Сатиновый сарафан красного цвета

Рис. 16. Дубас из коричневого сатина
Дубасы (сарафаны) расширяли как кошеными полотнами, так и малыми клиньями, получавшимися срезанием уголков у основных полотен переда и спинки. Косины пришивали последовательно, друг за другом, по две с каждой стороны, соединяя с передними полотнами прямыми, а с задними - косыми срезами. В рассматриваемых сарафанах такие детали как спинка и лямки выкраивались заодно с задним полотном, что можно считать дериватом одежды туникообразного покроя [14].
Сарафаны прямого покроя (круглые). Г.С. Маслова считает генетически не связанными ни с глухими, ни с косоклинными [16]. По мнению исследователей, их покрой сопоставим с западнославянскими рубахами на бретелях, а также с юбками па лямках, известными на севере Европы как древняя одежда.
Сарафаны на узких лямках, сшитые из 4 - 8 целых полотнищ, с начала XX в. были известны в Южном Алтае почти повсеместно. Появление здесь сарафанов прямого покроя связывается информаторами с приездом российских переселенок, которые и завезли такие "моды". Лишь в отдаленных районах население, преимущественно старообрядцы, еще и в 30-х гг. XX в. не воспринимали их.
Круглые сарафаны шили из российских тканей - "парицкий ситец", мебельный ситец и т.д. Лямки-проймы и спинка обычно выкраивались отдельно, причем, последняя могла представлять собой две перекрашенные бретели. В поздних по времени изготовления сарафанах проймы выполняли и совсем просто - в виде лямок через плечи, которые не соединялись и не пересекались па спине. Такие лямки могли украшаться небольшими оборками. На груди сарафаны собирались в густые сборки, которые удерживались неширокими или, в некоторых "поляцких" селах, до 10 см шириной, пояском (перелинкой, ремнем). Украшали круглые сарафаны несложно: широко были распространены оборки по подолу, разноцветные нашивки из ситца и сатина. Современные сарафаны шьют без особых отделок.
Вместе с тем, в 20 - 30-х гг. XX в., когда у населения ощущалась острая нехватка тканей, появились сарафаны оригинальной конструкции: на перед отрезали одно-два прямых, я на спинку четыре раскошенных полотна ткани, полученных разрезанием по диагонали 2-х целых. Кошеные полотна сходились на спине косыми срезами, из-за чего в народе такие сарафаны часто называли "косоклинными", хотя, конечно, никакой родственной связи с такими сарафанами они не имели. Эти сарафаны, как и прямые, изготовляли в основном из дешевых хлопчатобумажных тканей российского производства (сатин, ситец). Покрой деталей (лямки, спинка, ремень и другие), основные отделки (накладные уборки из разноцветных ситцев) были также очень схожи с таковыми в прямых сарафанах. Однако, даже и в таких, позднего происхождения, вариантах можно было встретить элементы, бытовавшие в более старых для региона, косоклинных сарафанах: вышивку по груди "по счету боров", обшивку лямок и спинок косичками-плетешками и т.д.
2.2.3 Головные уборы
Девушкам разрешалось находиться в обществе с непокрытой головой, в отличие от замужних женщин, для которых это было большим грехом. Истоки подобных традиций, несомненно, уходят своими корнями в очень отдаленное прошлое, к которому восходит и обычай беречь косу, как сосредоточие девичьей чести, силы (вспомним обряд продажи девичьей косы перед свадьбой). Верили, что стоит подержаться за косу свахе или жениху, то можно лишиться силы воли - не "хочешь, да пойдешь замуж". Для того, чтобы коса выглядела аккуратной, волосы смазывали коровьим маслом. Смазанные волосы хорошо держали популярные у девушек виски - пряди волос, уложенные в виде петли перед ухом.
В конце XIX - начале XX вв. у чалдонок в Северном Алтае было распространено украшение косы одной или несколькими лентами, прикрепленными к первой ленте, повязывание сверху платочка "по-девичьи" под подбородком. Старинный способ - обертывание головы шалью, сложенной в виде ленты, в указанное время использовался здесь мало. Кержачки разных районов Алтая в это время еще носили сложенный с угла на угол платок, который сворачивали полосой в ладонь шириной и повязывали на лоб узлом сзади, обязательно поверх косы. Темя при этом всегда оставалось открытым. Особенно долго, до 20 - 30-х гг., этот старинный обычай сохранялся у девочек-подростков Сарасинской инородческой управы [29].
Повязывание платков (шалей) имело свои региональные особенности: их могли складывать более или менее широкой полосой, в зависимости от того, как это было принято в данном селе, свободно распускать концы по всей спине или заматывать в виде чалмы (рис. 17).

Рис.17. Способы повязывания кашемировых шалей во второй половине XIX - начале XX вв.: а - девичья повязка "коруной"; б - женская повязка спереди, сбоку и сзади
Среди девушек бытовал обычай носить завязанные сзади шали, спуская концы в разные стороны - один на грудь, другой - на спину. При этом в качестве украшения старались использовать и бахрому, кисти которой расправляли у висков. Особый интерес представляют те способы повязывания, которые информаторы характеризовали как "рогатые" - ведь, как известно, "рогатость" свойственна женским, а не девичьим уборам. При повивании "с рогами", "с рожками" свернутую лентой шаль накладывали на лоб. Здесь их еще раз перекручивали и, заправляя оставшиеся концы под платок, укладывали "рожки". По форме этот тюрбан действительно напоминал женские рогатые уборы. У бухтарминских старообрядок подобный способ повивания носил название "на два конца", т.к. оба конца шали закручивали вокруг головы. Однако, голову могли повязать и "на один конец", когда по очелью наматывали
только один конец, оставляя другой на спине. В указанных примерах все приемы укладывания шалей повторяли таковые в здешних женских уборах с той лишь разницей, что в последних для закрывания затылка оставляли уголок, чего в девичьих никогда не делали. Подобным образом повязывавшиеся шали девушки носили, по сообщениям информаторов, в определенных случаях - на масленицу, на полянку.
Помимо украшений кос лентами, повсеместно в Алтайском округе бытовала традиция вплетения бисерных кистей, подкосников, подвесок. Но, если в северных районах бисерные кисти были более характерны для российских из южнорусских губерний (исключение составляли кержачки Прибердья), то в Центральном, южном и Юго-Восточном Алтае такие украшения являлись типичными для старожильческого, прежде всего "поляцкого", населения (Ануйской, Алейской, Владимирской, Риддерской, Верх-Бухтарминской волостей). Кисти, как и подкосники с подвесками, состояли из плетеного шнурка, концы которого заканчивались бисерными поднизями. Все низки соединялись между собой так, что поднизь напоминала маленькую бисерную юбочку. "Полячки" убо-ульбинских сел, помимо кистей, вплетали в косы и вязаные шерстяные полоски, а также тесемки, расшитые блестками (бляшками), бахромой, пуговицами.
Обычай подтыкать спереди, под шаль, селезневые кудри, или косички, также как и цветы, бытовал в прошлом как в северных, так и в южных районах Алтая. Головной убор в виде венка из бантов, цветов зафиксирован в обрядовой одежде его надевали просватанные девушки, а также при поездке к венцу. В праздник, на Троицу, повсеместно деревенские девушки плели себе венки из живых цветов, которые затем бросали в реку либо носили весь день на голове.
Подчеркнем, что все вышесказанное в отношении девичьих уборов, относилось к так называемым "большим девушкам", т.е. тем, которым уже исполнилось 15-17 лет. Маленькие девочки обычно никаких специальных уборов не имели, хотя в некоторых селах Бухтармы старухи и вспоминали сшитые из тканей полоски, которые в старину повязывали подростками [29]. Те девушки, которые по возрасту вышли из невест (старые девы), хотя и заплетали одну косу, но носили ее не на спине, а вокруг головы. Платок при этом продолжали подвязывать по-девичьи. Завязывать девушке самой платок по-бабьи, т.е. концами назад, считалось, особенно у старообрядцев, великим грехом, одной из примет пришествия антихриста, когда "бабы будут простоволоски, а девки самокрутки".
Отцы патриархальных семей не допускали никаких вольностей и в прическах, как-то: выстригать модные в начале XX в. пряди волос у висков - кудельки, баки.
Умерших девушек поверх расчесанных и сколотых "кустиком" волос накрывали только одним, сложенным по диагонали или распущенным, платком (кисейным покрывалом с венчиком на очелье), концы которого никак не скреплялись. Аналогичный способ набрасывания платков имел место и в свадебной обрядности. Невесту обыкновенно везли к венцу в накинутой на голове шали (покрывало), концы которой перебрасывали крест-накрест - один на спину, другой на грудь. Свадебное покрывало могли и просто набрасывать в развернутом виде, частично закрывая при этом лицо
Смена девичьего убора на женский сопровождалась особыми обрядами (так называмым окручением, «скручиванием»), которые, по мнению Н.И. Гаген Торн, имели своей целью обезвредить (закрыть) волосы невесты, вернее, заключенную в них магическую силу, опасную для рода мужа [8]. Окручение заключалось в расплетении девичьей косы и заплетении двух прядями вниз, что значило перемену судьбы - "их стало двое", "жизнь разделилась надвое". Эти косы обертывали вокруг головы, перекрещивая спереди (на затылке не полагалось). Возможно, что наименование обряда окручение и произошло от последнего способа завертывания волос.
При окручении девичий убор дополнялся такими "женскими" деталями, что зависело от бытовавших в данном районе традиций.
Для картографирования мы выделили несколько комплексов женских уборов в зависимости от входящих в них составных частей:
1 комплекс. Платки (отрезы ткани).
2 комплекс. Сорокообразные головные уборы - сороки из одного или двух отрезов ткани, платки.
3 комплекс. Сашмурообразные головные уборы - платки, нижние шапочки: шлыкообразная; сорокообразная; типа повойника; собственно сашмура.
4 комплекс. Кичкообразные головные уборы.
5 комплекс. Наколки.
Во второй половине XIX - начале XX вв. платки-накидки, сороки спорадически встречались по всему Верхнему Приобью, сашмурообразные уборы были преобладающими, а кичкообразные бытовали у старообрядок Южного Алтая.
Платок и накинутое поверх покрывало-накидка или большой платок (1,5 × 1,5 м и больше) 1 комплекс - старинный, известный еще в Древней Руси, вид женского головного убора. Для изучаемого времени он зафиксирован в обрядовой (свадебной, Доленной, погребальной) одежде русских старообрядок и части сибирячек.
Любопытно, что крестьянки для обозначения верхнего, большего, платка общерусскими терминами "платок", "плат" обычно не пользовались, а больше употребляли названия, образованные от вида ткани - кашамирки (из кашемира), золотополие (затканные серебряной и золотой канителью шелковые платки). Широкоупотребляемыми были и термины "шаль", полушалок (реписоеые, дердидомовые и т.д.).
Способы ношения отмеченных выше платков и шалей были довольно разнообразны. Из них наиболее древними мы считаем набрасывание отреза ткани или платка на голову, не завязывая его. Упоминание о подобных покрывалах мы находим у Н. Небольсина, который в середине XIX в. мог наблюдать в Барнауле двух старух "с накинутыми на голову длинными кусками желтоватого ситца в виде фаты" [29]. Уборы, в которых куски ткани или холста, будучи наброшенными на голову, не завязывались, отмечены в погребальных паушках старообрядок Южного, Юго-Восточного и Центрального Алтая. В общем случае паушками называли те головные уборы, в которых концы платка помещались сзади, т.е. проходили при этом по ушам. Умершей женщине, если она была замужем, на голову набрасывали два платка или холщевых отреза, причем концы одного из них помещали на спине, а другого - на груди. Но в обоих случаях их не завязывали, а лишь перебрасывали крест-накрест или перекручивали.
В повседневной одежде старухи Верх-Бухтарминской, Ануйской и других волостей складывали нижний платок в 2 - 3 слоя, придавая некоторую рогатость всему, вместе с верхней шалью, убору (паушки, подвязалъники). Если же надевали сашмуры, то нижний платок усиливал выпуклость обруча сашмуры. Скрепление платков (шалей) булавками или узлами мы рассматриваем как более поздние варианты описанных выше уборов. Трансформацией указанных платкообразных накидок можно считать уборы в виде 2-х небольших платков, бытовавших в Алтайском округе в праздничной и повседневной одежде в начале 30-х гг. XX в., а также в более позднее время.
В старину носили так называемые рогатые сашмуры, которые по внешнему виду напоминали сороки (2 комплекс). Их шили из прямоугольного куска полотна (44 × 32 см), один из краев которого загибали на 1/3 длины и закрепляли в уголках (рис. 18).

Рис. 18. Сорокообразные головные уборы: а - рогатая сашмура с косой, холст; б - погребальная кичка ; в - ее крой; г, д - головной убор из розового шелка; е - его крой
В подогнутую часть вшивали свернутую жгутиком тряпочку, вследствие чего этот убор назывался еще сашмура с косой (с. Пурысево). В коллекции убо-ульбинских "полячек" А.Е. Новоселова имеется сходного покроя погребальная сорока (названа в описи кичкой), в основе которой также лежит один кусок полотна (рис. 18, б, в). По очелью она обшита кумачем, с боков пришиты завязки для укрепления на голове. По размерам и форме эта сорока соответствовала бытовавшим в данном районе кичкам, для которых она могла бы служить чехлом.
У русских старожилок Алтая зафиксированы и сорокообразные уборы, сшитые из двух кусков полотна. Так, в Причумышье, в селах по р. Верди на моленья одевали кокошники, которые состояли из двух, сшитых буквой "Т", кусков - продолговатого 10 × 80 см и квадратного 40 × 40 см. Обшив квадратный отрез по трем сторонам, продолговатый оставшимися свободными концами завязывали на затылке. Поверх кокошника накидывали вроспуск черный платок, закалывавшийся под подбородком. Аналогичные уборы бытовали и у старообрядок Среднего Приобья [14]. К сорокообразным же уборам из двух частей относились и нарядные кокошники из Верх-Бухтарминской волости. Один такой из с. Язовая сшит из двух кусков розового шелка - прямоугольного, составлявшего заднюю часть ("хвост"), и продолговатого, составлявшего переднюю и боковые части убора; внизу вшита ситцевая подкладка (рис. 18, г, д, е). Сходного покроя сашмура, надевавшаяся однако поверх кички, зафиксирована и в погребальном костюме "полячек" с. Быструха. Задняя часть в ней присобрана на вздержку, а в налобник вшит жгутик диаметром 2 см.
Из головных уборов, отнесенных нами к сашмурообразным (3 комплекс), наиболее старинными являются те, которые сохранились в погребальном костюме. Женский погребальный убор в этом случае включал три части: шлыкообразную шапочку, повязывавшийся концами назад отрез ткани (платок) и верхнее покрывало, накидывавшееся вроспуск. Так как способы ношения и специфика использования головных накидок (платков) здесь полностью соответствует уже описанным, то в указанном уборе уделим наибольшее внимание нижней шапочке (рис. 19). Указанные шапочки сшиты очень примитивно - из одного куска холста 60 × 20 см, соединенного противоположными сторонами и собранного на вздержку. Макушка оставалась открытой, а вся шапочка напоминала маленькую юбочку. Нижний край ее также мог затягиваться на гашник (рис. 19, б, г).

Рис. 19. Сашмуры: а - старообрядческая погребальная шапка, б -огребальная холщовая сашмура; в - крой и технологические приемы изготовления; г - из белого холста
Для конца XIX - начала XX вв. в качестве повседневных у старообрядок и сибирячек южных районов Алтая отмечены сашмурообразные головные уборы, состоящие из сорокообразной сашмуры и повязывавшегося узлом сзади платка. Старухи и пожилые женщины часто еще надевали верхний большой платок. Указанные сашмуры, известные в литературе как сашмурыкички, шили из двух отрезов ткани разной величины и формы: продольного и квадратного. Продольной полоской обшивали с трех сторон квадратный отрез со значительной посадкой последнего (рис. 20).
После чего, сторону квадрата, оставшуюся непришитой, подгибали и, в получившийся таким образом рубец, вставляли гашник, с помощью которого убор затягивали на голове. В налобную часть, в шов соединения, вшивали скрученный из тряпочек обручен. Толщина такого обручка не превышала 1-1,5 см. Покрой этих сашмур указывает на истоки их формирования - слияние твердой основы в виде полуобруча с сорокой, у которой соединились "хвост" и "крылья". Исключительный интерес представляют те сашмуры, в которых, как и в сороках, выделялись задние части - "хвосты" (рис. 20, а, б). Действительно, как удалось выяснить, во всех районах, где были известны такие сашмуры, в прошлом бытовали сороки.

Рис. 20. Головные уборы: а - кичка из ситца, начало XX в. б -сашмура из цветастого штапеля; в - сашмура из кумача; г - сашмура из цветастого ситца; д - ее крой; е - шашмура" из бордового сатина; з - соединение "рубца" с шапочкой в разрезе.
У старожилок Южного, Центрального и Юго-Восточного Алтая бытовали сложные праздничные уборы, в которых поверх сашмур надевали сшитые из дорогих тканей кокошники, подзатыльники. Своеобразно подвязывали здесь и шали. Праздничные сашмуры по сравнению с повседневными имели более высокий обруч, который выделялся гребешком из-под платков и талей. Такие сашмуры в южных районах Алтая чаще называли кичками, хотя по покрою они не отличались от сорокообразных сашмур.
Надевавшиеся поверх кокошники имели покрой, сходный с описанными сашмурами - их выкраивали из двух кусков ткани (бархата, шелка) прямоугольной и квадратной формы. При этом квадратный отрез, присбаривая, пришивали к продольному тремя сторонами. Однако, в отличие от сашмур, кокошники в надетом виде располагались на голове несколько наклонно, за что, вероятно, в селах по Бухтарме их называли еще наклонникалги (рис. 20).
Такой наклон был обеспечен тем, что указанные, прямоугольная и квадратная, детали выкраивались по очелью по выпуклому контуру. Некоторые экземпляры кокошников, как и сашмуры, имели "хвост", что подтверждает их родственную связь с сорокообразными уборами (рис. 21).

Рис. 21. Кокошники: а - из бордового, расшитого золотом бархата б - вид снизу; в - крой; г - шов соединения первой и второй детали; д - кокошник из зеленого бархата, украшенный серебряным галуном и расшитый металлической нитью
Твердое очелье-околыш, кокошников расшивали золотыми нитками, которые получали распуская позумент. Но чаще околыш украшали просто позументными полосками или тесьмой. Подобно другим компонентам костюма, края кокошников обшивали косичками-плетешками из шерстяных, шелковых и других нитей. Столь сложные по изготовлению и украшению уборы, как кокошники, делали в селе лишь отдельные мастерицы, а за неимением таковых обращались в соседние села.
Подзатыльник, подвязываемый с тыльной стороны, закрывал волосы сзади. Он представлял собой прямоугольную полоску ткани, нашитую на стежную основу; к верхнему краю пришивали тесемки, которыми подзатыльник прикреплялся к кичке. Однако он мог пристегиваться и с помощью пуговиц и петель. Размеры подзатыльников значительно колебались - от прямоугольника (кержачки, ануйские "полячки") до почти квадрата (убо-ульбинские "полячки"). В зависимости от приемов украшений подзатыльники состояли из двух, примерно одинаковых по размерам, частей - твердой полоски и поднизи. На полоску нашивали позументную тесьму, цветной бисер; ее могли также расшивать золотой и металлическими нитями, хлопчатобумажными нитками (рис. 22).

Рис. 22. Подзатыльники
Поднизь состояла из низок стекляруса - резунца, гаруса, бисера, мишуры, которые могли висеть в виде бахромы или переплетаться в ажурную сетку. У бухтарминских кержачек поднизь шла не сплошным рядом, а висела кистями с двух сторон подзатыльника.
Поверх сашмуры-кички, как уже отмечалось, старожилки Центрального, Юго-Восточного и Южного Алтая повязывали своеобразным способом шаль или полушалок. Если в убор не входил кокошник, тот в свернутой шали оставляли уголок для покрытия сашмуры. В этом случае использовали все те основные приемы повязывания, которые уже были описаны для девичьих уборов "на два конца", "на один конец". Когда же убор надевали в комплексе с кокошником, шаль складывали в несколько слоев до конца, пока она не превращалась в ленту, после чего ее заматывали "колесом" или, завязав узлом на затылке, распускали концы по спине. Есть свидетельства, что в прошлом у старожилок Бухтармы бытовала и специальная лентообразная повязка, повязывавшаяся по очелью узлом сзади примизенка [16]. Эта лента состояла из украшенного позументом налобника и пришитых к нему 2-х ленточек-завязок.

Рис. 23. Сашмуры: а - из хлопчатобумажной ткани; б - из синего сатина
Нарядный головной убор "полячек" Южного Алтая относился к кичкообразным (4-и комплекс), т.к. твердую основу в нем составляла не сашмура, а кичка. В силу того, что входившие в кичкообразные уборы кокошники и подзатыльники по покрою, используемым материалам и украшениям совпадают с уже описанными для сашмурообразных, уделим основное внимание описанию кичек. Поляцкие кички представляли собой мягкие шапочки на вздержке с твердым, поперек головы, гребнем 4 - 7 см высотой. Их шили из двух прямоугольных отрезов ткани (рис. 24).

Рис. 24. Кички: а, 6 - вид спереди и сзади кички из красного ситца в - крой; г - соединение деталей кроя
Больший по размерам отрезок складывали вдвое, после чего в него вставляли кудельку из льна, шерсти или вымазанную в тесте бумагу (рис. 24, г). Затем вкладыш вместе с полотном простегивали 4-5-ю рядами параллельных строчек. Хотя полученный, таким образом, гребень мало походил на рога, такие кички называли в народе "рогатыми" и "с двумя рогами". Непростеганные части соединялись со второй, меньшей по размеру, деталью, которая прикрывала затылок. После этого края первой и второй деталей, расположенные на макушке, подгибали и вставляли гашник, который регулировал размеры шапочки в зависимости от прически. По очелью кичку обшивали полоской кумача около 0,5 см шириной, куда продергивали гашник. Таким образом, от рассмотренных выше сашмур кички отличались не только высотой твердого валика, но и покроем. В этом отношении кички оказались ближе к шлыкообразным сашмурам, от которых они, по сути дела, отличались лишь наличием высокого стеганого валика на темени.
Как уже отмечалось, кички являлись характерной принадлежностью костюмов "полячек", почему их и называли "польскими кичками". Однако бытование таких уборов отмечено нами и у старожильческого населения сел соседних Бухтарминской и Ануйской волостей. В конце XIX - начале XX вв. кички, по сообщениям информаторов, как правило, не носили повседневно, а надевали но праздникам, при посещении свадьбы, а также на покос. Их использовали при окручивании невест.
В кичкообразных уборах "полячек" особого мастерства требовало повивание головы большими шалями, которые складывали лентами способом, уже описанным выше. Варианты повивания были очень разнообразны (с "рогами", с "бантом" и другие), а сами уборы напоминали чалмы [17]. Во всех случаях повязывание головы сводилось к тому, что концы шалей с очелья перебрасывали на спину, а затем, перекрутив их обратно на темя.
Именно уложенные различным способом концы шалей и придавали специфику всей чалмообразной повязке (с одной или двумя перекрутками и узлами, затянутыми посвободнее или потуже и т.д.). Недавно вышедшие замуж женщины ("молодухи") обильно украшали свои "чалмы" цветами, брошками и другими декоративными деталями. У пожилых - головы убирались проще: скрученную жгутом шаль переводили с очелья на спину, где ее свободные концы завязывали просто узлом. Описанные шали являлись, по-видимому, более поздними заместителями кусков льняной ткани, так как еще во второй половине XIX в. П.П. Семенов-Тян-Шанский наблюдал у "полячек" уборы, состоявшие из "низких кокошников, грациозно обернутых легкой белой повязкой.
Упомянем и еще об одной, характерной только для "полячек", детали убора - привесках (рис. 25).

Рис. 25. Головной убор полячки
Привески имели вид шнуров с петельками вверху, которыми они пристегивались к подзатыльнику. К шнуркам прикреплялись узорные низки из разноцветного бисера, внизу и вверху от которых нанизывались помпончики из гаруса разных цветов; заканчивались привески бисерными кистями.
В горнозаводской волости нами отмечен как старинный женский праздничный убор типа наколка (5 комплекс) - бэргалка, одноименный, по-видимому, основным его носителям ("бэ/е/ргалами" в Алтайском округе называли заводских рабочих из-за их ведомства Бергколлегии). Бэргалками окручивали молодух в состоятельных сибирских семьях (чалдонских). Несмотря на необычное название, сам убор представлял собой простой мягкий чепец. Состоятельность владелицы проявлялась в богатстве нашиваемых на него украшений - разнообразных кружев и украшений бантами. Под влиянием сузунских рабочих и их потомков бэргал-ки проникли и к приписным крестьянам соседней Малышевской волости. Заметим, однако, что старообрядцы края этот убор не носили, отдавая предпочтение собственным сагдмурам.
В 20 - 30-х гг. XX в. в Северной, а затем в Центральной, Южной и Юго-Восточной частях Алтайского округа интенсивно протекали процессы дальнейшей трансформации головных уборов. У кержачек и сибирячек обручок в сашмурах и повойниках стал совсем узким, а порой представлял собой лишь стеганую полоску из 2 - 3-х слоев ткани. Распространились чепцы, расшитые кружевами, бусами, блестками, которые прикреплялись к голове шпильками (отсюда наколки). Их шили из куска ткани овальной формы, присобранной на прямую полоску, в шов соединения которых вставляли матерчатый жгутик-рубчик. Наколки надевали без платка молодые женщины по праздникам и по поводу присутствия на свадьбе. Как уже отмечалось, появились и упрощенные для данной местности уборы - из одного-двух повязывавшихся на голове покупных платков, которые при этом складывались по диагонали с угла на угол.
Девушки и разведенные женщины, которые носили только один платок, завязывали узел под подбородком. Замужние женщины при выполнении работ также, как и девушки, надевали один платок, но завязывали его узлом на затылке; в праздничном и обрядовом костюме носили два платка, нижний из которых подвязывали на затылке, а верхний спереди, под подбородком [29].
У "полячек" Южного и Центрального Алтая в конце XIX - начале XX вв. под влиянием кержачек "рогатые" кички вытеснялись сашмурами, которые к 20 - 30-м гг. XX в. прочно заняли место в повседневном костюме. Но, однако, уборы из двух платков, наколки даже к 30-м гг. не получили здесь большого распространения, а в некоторых местах потомки "полячек" не носили их и в более позднее время. Еще до настоящего дня в различных районах Верхнего Приобья живут пожилые женщины, на голове у которых можно увидеть сашмуры с неширокими обручами, а в сундуках найти кички.
2.3 Мужская одежда
2.3.1 Рубахи
У русских старожилов Южного Алтая второй половины XIX - начала XX вв. мужские рубахи выполняли функцию нательного платья. Их носили под зипунами, кафтанами, подоболочками и прочей верхней одеждой, надевая поверх штанов и обязательно подпоясывая поясом. Обычай заправлять рубаху распространился не ранее начала XX в., а в Южном и Центральном Алтае и того позднее.
В мужских рубахах выделяются примерно те же основные типы, что и в женской одежде (за исключением поликовых и бесполиковых рубах): со станом из цельного полотна (туникообразные), разрезанного по груди полотна (с отрезной кокеткой), разрезанного по плечам полотна (с плечевыми швами). Подобно женским рубахам, здесь были обнаружены переходные формы (типы), которые, хотя и не отошли от туникооб-разного покроя, но уже значительно отличались от прежних принципов конструирования. Это рубахи с частично подрезанным по груди станом (неотрезной кокеткой) и рубахи с плечевыми вытачками (неразрезными плечевыми швами).
Туникообразные рубахи.
Переходный тип - рубахи с частично подрезанным станом.
Рубахи на кокетке.
Переходный тип - рубахи с плечевыми вытачками.
Рубахи с плечевыми швами.
Туникообразные рубахи. Во второй половине XIX в. у большинства старожилов Алтая мужские рубахи характеризовались туникообразным покроем. При этом рубахи различались многими деталями: конструкциями боковин, конструктивными решениями рукавов (прямые, кулевид-ные, кошеные), ворота (разрезы посредине, слева, справа, с воротником и без). Существовали отличия и в способах раскладок кроя, а также используемых материалах, приемах шитья, украшениях (рис. 26).
Анализ этих особенностей позволил выделить 5 вариантов туникообразных рубах, каждый из которых привязан к конкретной этнографической группе и временному периоду.
Поляцкие рубахи с двумя прямыми бочками (боковинами). Характеризуются прямым и кулевидными покроями рукавов, горизонтальной горловиной с косым левым вертикальным разрезом ворота (рис. 26, а, б).
Бухтарминские и "поляцкие" рубахи с двумя прямыми бочками и двумя малыми косинами, вставленными между центральным полотном и бочками. Характеризуются прямым и кулевидным покроями рукавов, горизонтальной горловиной с косым левым (у "поляков") или правым (у бухтарминцев) разрезом ворота (рис. 26, в).
Кержацкие рубахи с двумя кошеными бочками. Характеризуются кошеными покроями рукавов, горизонтальной или вырезной горловиной с правым или левым разрезом (рис. 26, г).
Старожильческие рубахи с четырьмя кошеными бочками (по два с каждой стороны), соединявшимися с центральным полотном прямыми срезами.
Характеризуются кошеными покроями рукавов, вырезной горловиной с прямым или косым левым разрезом (рис. 26, д).

Рис. 26. Схемы раскладок кроя мужских туникообразных рубах. Условные обозначения: А - центральное полотнище стана; Б - боковые полотнища; Р - детали кроя рукавов; П - планка; В - воротник; М - манжеты.
Старожильческие и переселенческие рубахи без бочков. Характеризуются кошеными покроями рукавов, вырезными проймами и горловиной с левым разрезом (рис. 26, в).
Во второй половине XIX - начале XX вв. туникообразные рубахи с прямыми боковинами, а также бочками, дополнительно расширенными косинами, бытовали у "поляков" и бухтарминских старообрядцев. У прочих алтайских старообрядцев и чалдонов преобладали рубахи с раскошенным станом - с двумя - четырьмя кошеными бочками или кошеным центральным полотном. При этом бочки и рукава часто раскраивались одновременно - при разрезании наискось сложенного вдвое, по нити основы, полотна (выше уже указывалось, что этот же способ использовался и при раскрое женских туникообразных рубах).
Рукава прямого и кулевидного покроев сохранились к изучаемому времени в рубахах "поляков" и бухтарминских старообрядцев. Прямые рукава шили из целого, перегнутого по нити основы, полотна, дополненного в случае необходимости надставкой. Кулевидные рукава отмечены в мужских рубахах "поляков" только в их позднем варианте - с треугольной вставкой внизу. Существование этих рукавов, которые, как было показано на примере женской одежды, являлись дериватами более ранних форм из 2-х полотен разной длины, дает право предположить бытование последних некогда и в мужских рубахах. В рубахах остальных алтайских старожилов наиболее популярными были кошеные рукава - в виде раскошеного полотна или полотна и клина (косины), срезанного с этого полотна. В конце XIX - начале XX вв. под влиянием города большое распространение получили модные рукава прямого покроя, присобранные внизу на манжету. Ворот мог выкраиваться горизонтальными в виде щели или вырезными - в виде окружности, соответствовавшей форме и размерам шеи. Горизонтальный ворот, как правило, обшивали только кантом из кумача или косичками-плетешками, вырезной же всегда имел воротник, представлявший собой перегнутую по утку полоску ткани. Значительно варьировалось и положение разреза ворота, который помещали прямо посредине, слева или справа. Во второй половине XIX в. туникообразные рубахи с прямым срезом, практически, повсеместно присутствовали в погребальных комплексах, а старообрядцы-кержаки использовали такой покрой ворота и в рабочих костюмах, в рубахах мальчиков. Однако наиболее популярными в мужской одежде как повседневного, так и праздничного назначения были рубахи с косым левым разрезом ворота, которые назывались косоворотками, косушками, с косым рядом. В тех местах, где рубахи с левым разрезом не так давно пришли на смену рубахам с прямой застежкой ворота (Сростинская волость), последнюю, по традиции, делали не от плеча, как обычно в косоворотках, а от горловины, т.е. лишь немного смещенной по центру. Рубахи с косым правым разрезом бытовали во второй половине XIX в. у бухтарминских старообрядцев Юго-Восточного Алтая. В туникообразных рубахах старообрядцев-"поляков" Южного Алтая стан выкраивался из одного, перегнутого по утку полотна, которое помещалось в центре, и двух боковых, что дает право считать покрой этого стана прямым (рис. 28, 29). Меньшие по размерам боковые полотна пришивали таким образом, что, не доходя до линии перегиба центрального полотна на 25 - 30 см, образовывали с последним отверстия для рукавов.
Не характерный для туникообразной одежды "бочкообразный" силуэт приобретали указанные рубахи в случае присобирания боковых полотен у пройм по типу среднеазиатских мунисаков, мирсаков). Бочки могли при этом укладываться куколками или собираться в мелкие складки, по которым выполнялась вышивка "по борам" (рис. 27-29).


Рис. 27. Мужская холщевая рубаха а - вид спереди; б - вид сзади.


Рис. 28. Мужская холщовая рубаха


Рис. 29. Мужская холщовая рубаха
Описанный покрой мужских рубах был хорошо известен как в северно-русских, так и южнорусских губерниях России, что, безусловно, свидетельствует о его древности. Вместе с тем, следует отметить отсутствие в европейском материале рубах с присборенными бочками. Особенностью оформления "поляцких" рубах являлась богатая, очень декоративная, вышивка по левой стороне груди. Она представляла собой различные композиции из квадратов, вписанных в большой квадрат или крестообразную фигуру, от которой в разные стороны могли ответвляться изображения хлебных колосьев. Н.П. Гринкова высказала мысль, что раньше положение этой вышивки было не смещенное, а центральное, соответствующее древнему для русских рубах прямому разрезу ворота. Что же касается самой вышивки, то она, как нам кажется, представляла собой не только "усложнение первоначальной формы креста", но имела важное сакральное назначение в костюме. Об этом свидетельствуют такие архаичные мотивы вышивок, как квадраты, пересеченные крест-накрест с точками или без, которые Б.А. Рыбаков трактует в качестве символов "засеянного поля". Большинство наших информаторов считали, что подобные рубахи готовили и одевали на свадьбу, поэтому логично предположить связь нагрудного орнамента со свадебной символикой плодородия. [11, с.87]
Квадратные вышивки у ворота выполнялись обычно черными шелковыми нитками. Эти вышивки, как и орнаментации по груди, были довольно однотипны - заполненный геометрическим орнаментом квадрат, расчлененный вертикальными столбцами на несколько частей. В качестве вкраплений использовались квадратики, звездочки и т.д. из красного шелка. В нескольких просмотренных нами рубахах в вышивку искусно вшиты бусинки зеленого бисера - древняя традиция русской одежды, сохранявшаяся в XIX в. в северо-восточных уездах Рязанской губернии [5]. В левой части вышивка переходит в полоску, окаймляющую разрез ворота, и в нижней части заканчивается острым углом. Помимо указанных орнаментальных отделок, как спина, так и грудь украшались свастикой, Z-образной вышивкой, состоявшей из меандрических завитков. Швы этой вышивки одновременно прикрепляли подшиваемую к изнанке подоплеку, т.е. выполняли не только эстетическую, но и практическую функцию.

Рис. 30 Детали вышивки рубахи а – у горловины; б, в – на спине
Очень живописно отделывались подол и низ рукавов этих рубах. Украшение включало в себя полоски кумача (1 - 1,5 см), вышивку красным льном или хлопком геометрических и растительных мотивов в технике роспись, крест и т.д., цветную перевить или кружево, вязанное на коклюшках, крючком. В прорезь бокового полотна и шов рукава вставляли такой обязательный элемент, как кумачовые вставки-ластовицы, которые вдоль швов соединения обрамлялись вышивками красными и синими нитками. Указанные виды украшений вышивками и другими отделками по груди, спине, низу рукавов и подолу сближают рубахи "поляков" с мужскими рубахами Воронежской (Коротоякский уезд) и Орловской (Трубчевский, Брянский, Карачевский уезды) губерний [13].
Такие рубахи имели и еще одну характерную деталь - вертикальные нашивки кумачом вдоль швов соединения центрального полотна и боковин. Эти нашивки украшали вышивками в виде меандрического орнамента (т.н. "византийская линия"), ромбов с продолженными сторонами, крестов. Вышивки, как правило, выполнялись контрастными, по отношению к кумачу, нитками белого и синего цветов. По двум сторонам от полосок прокладывались узоры геометрического характера, с помощью которых кумач органично вписывался в общую композицию рубахи.
К концу XIX в., с распространением в быту ситцев и других покупных тканей отечественного производства крестьяне изготавливали рубахи и из кумача, в связи с чем изменилось их декоративное оформление. Появились новые, в их числе и городского происхождения, детали: пришивной воротник, манжеты, сборка рукавов вверху и внизу. Вместо строгой, красно-черной вышивки стали украшать позументом, бархатом, тесьмой, вышивать разноцветной шерстью [13].
Туникообразные рубахи с двумя прямыми бочками и двумя малыми косинами Н.П. Гринкова и А.Н. Белослюдов рассматривали в качестве одежды первопоселенцев Бухтармы - каменщиков.
Изготовленные во второй половине XIX в. из льна, рубахи бухтарминских старообрядцев имели ряд особенностей в сравнении как с прочей старожильческой, так и общерусской одеждой. Основное отличие состояло в том, что их стан шили не из четырех, как обычно европейские рубахи, а из пяти полотен. При этом четыре полотна использовались подобно предыдущим рубахам - два шли на перед и спинку и два - на боковины. Получавшиеся раскашиванием пятого полотна косины вшивались между центральным и боковыми полотнами - по одному с каждой стороны. Прямыми срезами косины соединялись с задним полотном, косыми - с боковыми полотнами (рис. 31, 32).

Рис. 31. Мужские рубахи
Присутствие в бухтарминских рубахах, наряду с прямыми, кошеных полотен дает право рассматривать покрой этих рубах как полукошеный. Как и у "поляков", у бухтарминцев бытовала традиция присобирать боковые полотна куколками или складками.

Рис. 32. Мужская рубаха
Рассматриваемые рубахи декоративно украшались вышивками по груди, вороту, низу рукавов и подола. Цветовая гамма вышивок в льняных рубахах строилась на сочетаниях красного и черного цветов, причем, черный цветовой тон концентрировался у ворота, а красный - на груди. Основные мотивы изображений по груди и вороту, во многом подобные "поляцким" рубахам, по-видимому, как и в последних, имели определенное обрядовое назначение в костюме. Такие же элементы отделок как полоски орнаментального тканья, пришивавшиеся не вдоль всей рубахи, а в местах соединения рукавов со станом, а также по низу рукавов и подола, в изучаемое время являлись характерной чертой лишь бухтарминских рубах (рис. 33).

Рис. 33 Рубаха: а - вышитая полоска по груди, б - орнамент бранья по плечам и подолу; в - по груди
Таким образом, если вышивки по груди и вороту сближают рассматриваемые рубахи с "поляцкими", то указанные полоски отличают от таковых.
Общую декоративную композицию бухтарминских рубах органично дополняли кумачовые ластовицы. Горизонтальный ворот и смещенный вправо разрез обшивали красными тесьмами-плетешками или кантами из кумача, из которых делали и петли для пуговиц. Старожилы вспоминают, что в старину рубахи застегивались на схватцы. Все рубахи готовились на подоплеках, подшивавшихся с изнанки и заканчивавшихся спереди и на спине острыми углами.
Довольно давно, еще в первой половине XIX в., бухтарминские старообрядцы, наряду со льном, использовали для изготовления повседневных и праздничных рубах покупные китайские ткани, выбойки. Особенно нарядно украшались сшитые из фанз, шелков, бязи праздничные рубахи, которые нередко оторачивались золотыми галунами, отделывались колористически более богатыми вышивками.
У "поляков" рубахи рассматриваемого покроя сохранились до настоящего времени в погребальных комплексах (рис. 34).


Рис. 34. Рубаха погребальная из холста: а – вид спереди, б – вид сзади
Эти рубахи отличались большой сдержанностью в цветовом решении - все они, как правило, белого цвета с неширокими кумачовыми окантовками по краям. Вместе с тем, "поляцкие" рубахи имели такие детали как кулевидные рукава, левый разрез ворота, по которым их сразу можно отличить от аналогичного покроя бухтарминских.
Малые косины пришивались не к прямым, а к кошеным боковым полотнам (рис. 35).

Рис. 35. Погребальная рубаха из белого холста
Поскольку и те, и другие получались разрезанием по косой одного отреза, то на изготовление таких рубах требовалось уже не 5, а 4 полотна. С передним и задним полотнами большие и малые косины соединялись прямыми срезами, а между собой, следовательно, косыми. Для рассматриваемых рубах, как и в общем для "поляцкой" одежды, были характерны кулевидные рукава, а также положение ворота на левой стороне.
Ануйские "смертные" рубахи, оказавшись, таким образом, по расположению швов близкими вышерассмотренным, качественно отличались тем, что вместо прямых боковин в них вшивались кошеные. Это обстоятельство позволяет отнести их покрой уже не к полукошеному, а к кошеному, пережиточно сохранявшему, однако, элементы первого, что выражалось в выкраивании боковых косин разными по величине.
Среди рубах старообрядцев (кержаков) Центрального, Юго-Восточного, Южного Алтая и некоторых других, рядом расположенных, областей выделяются такие, в которых с каждого бока вшивалось только по одному кошеному полотну. Рубахи этой конструкции, как и в вышеописанном варианте, выкраивались из 4-х полотен, но по иной схеме раскроя: срезанные с боковых полотен клинья пришивались не к стану, а к рукавам. Кошеные полотна пришивались к центральному полотну так, что прямым срезом присоединялись спереди, а косым сзади. Рукава, которые при таком способе кроя имели клинья, вшивались в отверстия, образуемые центральным полотном и боковыми косинами, перпендикулярно к нити основы последних.
По-видимому, рубахи указанной конструкции представляли собой раннюю традицию в одежде - они зафиксированы в погребальных комплексах кержаков. Для рубах этого назначения характерно сохранение древних элементов - обметанное швом через край отверстие (ворот) для головы, прямой разрез ворота, скрепление ворота тесемками-плетешками, приемы шитья живулькой и т.д. Все это сближает кержацкие "смертные" рубахи с аналогичного назначения одеждой кержаков других районов России (Вятской, Великолукской, Псковской губерний) [8].
Совершенно иное впечатление производят рубахи этого варианта покроя в повседневном и праздничном комплексах конца XIX - начала XX вв. В них наблюдаются такие элементы, не встречавшиеся или маловстречавшиеся в погребальных рубахах, как стоячий воротник-ошейник, планка по разрезу ворота, вышивки растительных орнаментов, выполненных в технике крест и т.д. Преобладающим в этом варианте рубах был левый разрез ворота, который вместе с воротником застегивался на ряд пуговиц. Вышивка выполнялась по воротнику и планке разреза ворота - узкому столбику или широкой манишке. Любимые сочетания - красные и черные цвета. Рубахи описанного покроя и украшения очень близки к аналогиным рубахам начала XX в. России, Белоруссии.
Во второй половине XIX - начале XX вв. у старожилов Южного Алтая наиболее распространенными были рубахи с четырьмя кошеными полотнами - по два с каждого бока (рис. 36). Этим конструкция отличалась от только что описанной - с двумя бочками. Принципиально иным в ней было также то, что кошеные полотна выкраивались одной величины, а не разной, т.е. не так, как в ранее описанных рубахах. Симметричный покрой достигался уже упоминаемым нами ранее способом перекашивания сложенного вдоль нити основы отреза ткани, при котором одновременно получались бочки и рукава. Бочки пришивались к центральному полотну прямыми срезами, соединяясь между собой косыми. Кошеные рукава вставляли в отверстия, образуемые бочками и центральным полотном.

Рис. 36. Мужская рубаха из пестряди: а – вид спереди; б – вид сзади
Описываемые рубахи шили из достаточно широкого ассортимента материалов, которые различались в зависимости от назначения; повседневные, погребальные готовились из льна, конопли; праздничные - из пестряди (с "серпинкой"), сатина, кашемира, ситца. Разрез ворота праздничных рубах, подобно предыдущим, обшивали продольной полоской ткани - приполком, нахлесткой и вместе с воротником настрачивали декоративными строчками, украшали вышивками. До настоящего времени "дожили" экземпляры с довольно однотипными узорами в виде геометризованных растительных мотивов, выполненных красными и черными бумажными нитками. Вместе с тем, архивные данные, а также сообщения пожилых людей свидетельствуют о существовании в прошлом таких украшений, как тканины красной бумагой, "обшивки вязанками из белой бумаги".
Значительно отличались от вышерассмотренной одежды рубахи, в которых кошеные полотна пришивались к центральному не прямыми, а косыми срезами, соединяясь между собой кромками. Рубахи такого покроя были характерны для рязанских, саратовских и некоторых других переселенцев, для которых они являлись, по их словам, исконными, привезенными еще из России. Будничные, рабочие рубахи шили из льна, конопли, праздничные - из пестряди, сатина. Для особо нарядной, свадебной одежды старались подкупить кашемировые ткани пастельных расцветок. В рассматриваемых рубахах присутствовали такие детали как воротники-ошейники с левым или правым разрезом ворота, объемные по форме рукава, присобранные в мелкие сборки у плеч и внизу, на манжеты. Воротник и пришивную планку-застежку украшали вышивками и отстрачивали отделочными строчками.
К последнему варианту рубах туникообразного покроя отнесены такие, в которых стан выкраивался из одного, перегнутого полотна, без характерных для прежних вариантов кроя боковых косин. Это оказалось возможным благодаря достаточной ширине покупных материалов, получивших в 30-х гг. XX в. значительное распространение повсеместно. При таком покрое рукава вшивались в отверстия, образуемые недошитыми вверху боковыми швами. Эти проймы и, соответственно, окат рукавов делали слегка вырезными. Боковые же срезы, согласно традиции, скашивали, срезая при этом клинья от проймы до низу. По оформлению вышивками красными и черными бумажными нитками, по отделке декоративными швами указанные рубахи напоминали более ранние косоворотки. Они были широко известны в первой четверти XX в. в качестве повседневной, а также праздничной одежды.
Горизонтальные членения (швы) в мужских рубахах в области грудного пояса появились в 80 - 90-х гг. XX в„ а в области плечевого - несколько позднее, в 20 - 30-х гг. XX в., т.е. синхронно распространению их в женском костюме.
Рубахи на кокетке. Появление в мужской праздничной одежде рубах с подрезанным по груди, на 10 - 12 см с каждой стороны, станом было связано с использованием широких покупных материалов (рис. 37).

Рис. 37 Мужская рубаха из кумача
Надрезы присобирались по бокам в мелкие складки, по которым нередко выполнялась вышивка. Такие рубахи имели "бочкообразный" силуэт как и старинные холщевые, отличие от которых, однако, заключалось в том, что как указывалось, присобирались не боковые полотна, а подрезанные в этом же стане. В отделке рассматриваемые рубахи имели много общего с туникообразными. Бытование рубах с неполностью отрезной кокеткой у старожилов ряда мест южных районов Алтая облегчило восприятие ими позднейших рубах на кокетке (с перелинкой). Это дало основание условно считать их переходным типом.
Рубахи с перелинкой распространились под городским влиянием. Бытование в недавнем прошлом таких рубах в качестве праздничной одежды хорошо прослеживается у старожильческого населения Центрального, Юго-Восточного и Южного Алтая (рис. 38).


Рис. 38. Мужская кашемировая рубаха
Естественно, что распространение покупных тканей, появление новых покроев одежды повлекли за собой и изменения в характере и местах расположения украшений: стали популярными горизонтальные вышивки по груди вдоль швов кокеток (рис. 38). Использовались и аппликации из разноцветных тканей (бархата, сатина). Наряду с указанными изменениями, в описываемых рубахах сохранились характерные особенности локальных вариантов туникообразной одежды. В оухтарминских рубахах на кокетке встречаются такие, ранее указывавшиеся, традиционные детали, как квадратная вышивка у ворота, горизонтальный вырез горловины с правым разрезом. Примером "долгожительства" традиционного кроя является и сохранение кулевидных рукавов в "поляцких" рубахах на кокетке.
Рубахи с плечевыми швами. Несмотря на то, что вырезанные в области плечевого пояса рубахи носили еще с традиционными видами одежды (общерусскими кошеными штанами и т.д.), их покрой был заимствован из города. Как и в женской одежде, среди мужских рубах выделялись такие переходные типы, в которых ткань на плечах, не разрезаясь, собиралась в швы-вытачки. Для мужских рубах с плечевыми швами (со швами-вытачками) были характерны вырезные проймы, окаты рукавов, горловина. Воротник-стойка, планка18 разреза ворота украшались вышивками по орнаменту, цветовым сочетанием подобным таковым в туникообразных рубахах. В первой четверти XX в. рассматриваемые рубахи были известны на Алтае повсеместно, но наиболее широко распространились в северных районах. Современные рубахи пожилых мужчин во многих своих чертах напоминают традиционную одежду. Консервации старых форм способствуют женщины, которые шьют своим мужьям косоворотки, перешивая на такой манер фабричные рубашки.
2.3.2 Набедренная одежда
К одежде для нижней части тела, так называемой набедренной, или поясной, у русских крестьян-старожилов Алтайского округа относились различные штаны, известные под названиями штаны, порты, гачи, ч/а/ембары, шаровары.
В этнографической литературе уже высказывалось мнение об отсутствии более или менее стройной типологии штанов, для характеристики которых еще используются такие относительные признаки как "узкие", "широкие" и т.д. По указанной причине автор при разработке типологии счел нужным руководствоваться не подобными характеристиками, а, как и в других видах одежды, покроем (конструкциями штанин, способами соединения между собой) [30].
Штаны со штанинами из прямых и кошеных полотен.
Штаны из трех, продольно сшитых полотен, среднее из которых разрезается по диагонали; прямые и раскошенные полотна соединяются последовательно прямыми и поперечными срезами (рис. 39, а, б).
Штаны изготавливаются из трех полотен, одно из которых разрезается на 2 - 4 клина; клинья при этом соединяются поперечными сторонами и в готовом виде располагаются продольно (рис. 39, в).
Штаны со штанинами из кошеных полотен, которые получаются разрезанием по диагонали двух, предварительно сметанных, полотен; каждая штанина состоит из двух частей, причем задние надставляются малыми клиньями, получаемыми при раскрое основных полотен (рис. 39, г).
Штаны с прямыми штанинами, сшитыми из одного или нескольких полотен.
Штаны, в которых штанины изготавливаются из прямых полотен, соединяемых перегнутым поперечно полотном прямоугольной формы; за счет полотна-вставки образуется "широкий шаг" (рис. 39, д).
Штаны с прямыми штанинами, соединенными прямоугольными ("широкий шаг") и расширяющей вставками (рис. 39, е).
Штаны с прямыми штанинами из холста, кожи, замши и т.д., сшитыми без каких-либо соединительных вставок (рис. 39, ж).

Рис. 39. Схемы раскладок кроя мужских штанов
Рассмотрим последовательно каждый из выявленных нами типов и вариантов.
Штаны из прямых и кошеных полотен в изучаемое время были распространены в Верхнем Приобье повсеместно под названиями штаны, реже порты, подштанники. Белые холщевые штаны такого покроя входили в погребальный и рабочий комплекс одежды старожильческого населения (ч/а/ембары, далее в одной редакции) (рис. 40, а, б), а сшитые из пестряди использовались как повседневные и праздничные.

Рис. 40. Контурные чертежи мужских штанов: а – из белого холста; б – из белого холста (виды спереди и сзади)
В последнем случае их носили под рубахами на бедрах, заправляя низки в сапоги или обутки. У старожильческого населения северных районов установлен факт бытования белых льняных штанов указанной конструкции с кумачовыми или другого материала вставками - мотней, или втокалш между штанин. Вследствие того, что в конце XIX - начале XX вв. российскими были завезены на Алтай неорнаментированные, из однотонных тканей, порты, описанные пестротканые и из белого льна штаны стали выполнять функцию нательного белья. В некоторых отдаленных районах края самотканые, "с полосой" или "с клеткой", штаны продолжали носить еще и в 20 - 30-е гг. XX в. По сообщению наших информаторов, не носили портов только мальчики до 7 -10 лет, а также кое-где старики, которые ходили дома в одних рубахах. Штаны указанного покроя названы Г.С. Масловой общерусскими и рассматриваются ею как старинная одежда [16, с.68]. Как будет показано ниже, наши исследования подтверждают этот вывод.
Конструкция таких штанов нессиметрична раскошенные полотна соединяются резями, спускаясь острыми уголками к низу штанин. При детальном изучении мужских портов у разных групп населения Алтая были выявлены следующие этапы их изготовления: во-первых, сшивали три полосы холщевых или пестрядинных полотен, в результате чего получалась распашная юбка из трех точек, соединение осуществлялось швом встык; во-вторых, разрезали среднее полотно по диагонали, полученные косины пришивали поперечными срезами к целым полотнам швом рубчик; в-третьих, прямые полотна перегибались вдоль по нитям основы, соединяясь с косинами швом рубчик; наконец, в-четвертых, верхний край штанов подгибали или обшивали поперечной полоской ткани, куда продергивался гашник, с правого бока прорезали карман, края которого обшивали кумачом или другим, контрастным по цвету, материалом; сбоку, для прорехи, шов оставляли незашитым, окантовывая его также кумачом. Как видно из вышеизложенного, вся конструкция здесь решалась одним лишь косым разрезом полотна, за счет которого и осуществлялся переход от "распашной юбки" к рассматриваемым штанам. Для одежды российских переселенцев конца XIX -начала XX вв. был также характерен такой покрой портов, которые, однако, отличались от старожильческих меньшими размерами среднего полотна.
Если такие штанины готовили для работы, то их шили из конопляных или грубых льняных тканей. Плисовые же штаны использовались в качестве праздничных. Их украшали тамбурными вышивками разноцветного шелка по боковым карманам и по низу, так как носили поверх обуви (рис. 41).

Рис. 41. Мужские штаны из черного плиса
Помимо этого, карманы (прорезного типа), прореху спереди окантовывали полосками кумача. В случае, если один из карманов был непрорезным, то его имитировали кантами и вышивкой.
Штаны со штанинами из кошеных полотен отмечены у "поляков" Южного Алтая как повседневная, рабочая одежда. При раскрое этих штанов разрезали, примерно по диагонали, два уложенных одно на другое полотна, которые предварительно сметывались по краям. Получившиеся при этом остатки в виде небольших клиньев пришивались к задним полотнам, после чего стачивались боковые швы и пришивался пояс. Этот тип покроя, таким образом, отличался от вышерассмотренных, так как штанины выкраивались исключительно из кошеных полотен. Абсолютно такой же покрой штанов был зафиксирован автором у семейских Забайкалья. Аналогии находим и с плисовыми шароварами, бытовавшими у русского населения Пермской области.
Штаны прямого покроя характеризовались тем, что конструктивную основу в них составляли прямые, перегнутые по долевой нити, штанины, которые соединялись друг с другом непосредственно или через дополнительное полотно. Кошеные полотна в такой одежде отсутствовали. К таким штанам (чембарам) нами отнесены те, которые выкраивались из трех прямых полотен грубого холста, два из которых шли на штанины, а третье - на мотню, втоки. При этом штанины перегибались по нити основы, а мотня - на утку. Сшитые из трех прямых полотен, указанные штаны были такими широкими в обхвате, что при необходимости их могли надевать поверх нижних подштанников, а также заправлять полы шуб, шабуров, понитков и т.д. На фигуре чембары удерживались с помощью конопляного гашника. Штанины описанного покроя являлись одним из основных видов зимней рабочей и промысловой одежды старообрядцев Верх-Бухтарминской волости, Сарасинской инородческой управы. Появление чембар у русских старожилов Юго-Восточного Алтая мы связываем с влиянием костюмных форм соседнего казахского населения, у которых такие штаны бытовали издавна. Подобного покроя штаны были известны и семейским Забайкалья.
В чембарах, где прямые штанины соединялись друг с другом через прямоугольную вставку и расширяющую деталь, последнюю вырезали из квадратного куска полотна, у которого с одной стороны срезали уголки. Поместив эти уголки с другой стороны квадрата, их сшивали между собой и с квадратом таким образом, что в результате образовывался шестиугольник. Верхний край штанов укладывался в четырех местах в складки и обшивался поясом. Застегивались чембары на деревянную или металлическую пуговицу (рис. 42).

Рис. 42. Холщевые чембары
Во второй половине XIX - начале XX вв. штаны описанного покроя бытовали в качестве рабочей и промысловой одежды у старожилов Северного и Юго-Восточного Алтая. Как название, так и покрой свидетельствуют о возможности заимствования этого вида одежды у местного алтайского населения. У русских подобные штаны отмечены в костюме уральского казачества.
В изучаемое время повсеместно в Алтайском округе были известны чембары, в которых прямые штанины соединялись друг с другом непосредственно, без каких-либо соединительных вставок. Их шили из грубого холста, конопли или двух пар кусков кожи продолговатой, неправильной формы. По верхнему краю штаны закладывались в четыре складки - две спереди и две сзади и обшивались поясом из холста или шерсти (рис. 43). Если холщевые штаны крестьяне шили сами, то чембары из бараньих, козьих шкур, маральих кож, замши, ямани, буйлины, косули, как правило, отдавали готовить алтайцам. Каменщики южных острогов Алтая одевали кожаные чембары не только на промысел или охоту, как большинство старожилов края, но и на праздники.

Рис. 43. Чембары из козьих шкур
Описанные штаны из теплых, непромокаемых материалов как нельзя лучше соответствовали образу жизни, занятиям людей, а также природным условиям на Алтае. Видимо, по этой причине они, столь популярные в одежде местных народов, вошли и в быт русских крестьян.
К рассмотренному варианту можно отнести и распространенные на Алтае в качестве праздничной одежды шаровары. В них, как и в чембарах, на каждую штанину отрезали прямые полотна. При этом штанины, сшивавшиеся из 1,5 - 2-х таких полотен, бывали порой настолько широки, что напоминали собой юбки. Ширину, кроме того, увеличивала вшивавшаяся между штанин вставка в виде ромба или квадрата. Для шаровар использовались дорогие ворсовые материалы - бархат, плис, шелковые и бумажные китайские ткани, а позже, в конце XIX - начале XX вв., российские сатины, сукна, миткаля, бумазеи и т.п. В это время шаровары уже не украшались, но в тех районах, где в прошлом эта традиция бытовала, их предпочитали шить из ярких, узорчатых тканей (Верх-Бухтарминская, Ануйская волости). Шелковые и миткалевые штаны обычно подшивались с изнанки подкладочной тканью. Носили шаровары с незаправленными рубахами, заложив низки штанов в сапоги или обутки. Был распространен также обычай надевать их поверх нижних кошеных штанов - подштанников. По воспоминаниям информаторов, "мода" на широкие штаны приходилась по вкусу и российским переселенцам, которые начинали себе шить такие же.
2.3.3 Головные уборы
Во второй половине XIX - начале XX вв. головные уборы крестьян Южного Алтая были весьма разнообразными. По используемым материалам их можно подразделить на тканевые (суконные), войлочные, с меховой опушкой по околышу, а также полностью меховые. В зависимости же от способа изготовления шапки различались катаные и шитые.
Летом и в осенне-весенний период крестьяне Алтайского округа носили валяные из шерсти шляпы, которые катали, как правило, сами. Они могли быть с округлой, горшкообразной, цилиндрической тульей, без полей, а также с узкими или широкими полями. Круглые, самотканные шляпы рассматривались в изучаемое время как "стариковские", поскольку постоянно их носили старики. Однако в рабочем костюме такие шапки сохранились и у других возрастных групп мужчин. У "поляков" Южного Алтая стариковскими считались валяные же шапки, отличавшиеся, однако, большей высотой и более сложными формами (конусообразными, расширяющимися кверху; состоящими из 2-х соединенных вершинами конусов). Высокие, столбообразные шапки, вероятно, сохранились у "поляков" как дериват старорусских головных уборов XVI - XVII вв., которые, хотя и изготавливались из других материалов (мехов), но характеризовались аналогичными же формами тульи. Этому не могли не способствовать указы Петра I о необходимости носить в присутственных местах "шапку высокую" (указ от 12 апреля 1722 года). В XIX в. уборы рассматриваемого вида также бытовали в белорусских, западноукраинских костюмах.
Для молодых мужчин и парней наиболее распространенными в качестве праздничных были черные поярковые шапки, которые "по-алтайскому" обычаю носились слегка сдвинутыми на правый бок; у молодежи Северного Алтая любимыми уборами являлись алкачи - шапки из плиса или сукна с пушковым околоком. Это нехарактерное для русских шапок название созвучно казахскому "алка" - наушным и нагрудным украшениям. Возможно, что эти уборы, являясь русскими по происхождению, заимствовали свое название из местных костюмов. Однако, ввиду отсутствия достаточных сведедний, трудно сказать где и когда произошло это заимствование. В горных районах Юга Алтая молодые люди ходили летом в плисовых или суконных шапках с околышем из мерлушек, а также в оригинальных поярковых шляпах с кистями из гаруса. Последний вид уборов, неизвестных у русских Европейской России, был, видимо, взят из алтайской одежды, для которой он являлся традиционным. Помимо этого, выходные шапки украшались подтыкавшимися за ленту тульи разноцветными перышками и искусственными цветами [24].
Зимние головные уборы крестьян Алтайского округа прекрасно соответствовали природно-климатическим условиям края. Вместе с тем, при этом наблюдался интересный парадокс, не раз отмечавшийся нашими информаторами: в то время как в летнюю жару старожилы носили валяные из шерсти шляпы, зимой, в 40-градусные морозы, могли ходить вообще без шапок. Это, конечно, было обусловлено традицией, а не отсутствием таковых, так как почти каждый мужчина имел для повседневной носки суконные шапки на овчинном меху с околышем из мерлушек. Зимние шапки шили и из телячьих шкур. Причем, если молодые парни носили эти шапки немного сдвинутыми на правое ухо, то пожилые мужчины надевали их обычно прямо.
Широко используемый зимней шапкой на Алтае был малахай, или треух. Этот головной убор шили с цилиндрообразной тульей из сукна и четырьмя лопастями из меха, которые, будучи опущенными, закрывали лицо и затылок. В Лричумытье малахаи, или треушки готовили с околышами из мерлушек или, у кого имелись средства, из лисицы. Особенно теплыми были малахаи крестьян Сарасинской управы - из зайца на бараньем меху. Каменщики Верх-Бухтарминской волости боковые лопасти малахая связывали со спины широкою цветною лентою - по обычаю, сложившемуся, видимо, под влиянием южных алтайцев, к уборам которых традиционно прикреплялась пара ленточек. Нарядной у бухтармияцев была и тулья - не только суконная, но и бархатная или плисовая.
Недостаток фактического материала пока не позволяет установить где и когда у русских появился такой популярный не только в Сибири, но и в Европейской России убор, как малахай. Четырехлопастные меховые шапки-малахаи в прошлом бытовали у казахов, алтайцев, татар, монголов и прочих народов, в костюме которых они имели глубокие традиции. Столь широкий ареал распространения такого убора, несомненно, свидетельствует о его большой практичности, удачном соответствии конструкции, используемых материалов назначению. Этнограф Л.Л. Викторова считает, что русский термин "малахай" является заимствованием из монгольских языков (от монгольского "малгай").
Рациональный подход сибирского крестьянства к подбору одежды способствовал появлению и других форм головных уборов, которые хорошо соответствовали природным условиям. Таковыми были меховые шапки с длинными, обвязывавшимися вокруг шеи, ушами (ушанки), которые в пургу, метель хорошо защищали не только голову, но и грудь, шею. Такие ушанки, сшитые из овчины, каракуля, а также телячьих, медвежьих, заячьих, бобровых, волчьих мехов, носили в холодное время и мужчины, и женщины. Крестьяне, занимавшиеся охотой, обязательно делали себе особо теплые лисьи шапки. Отправляясь в дальнюю дорогу, поверх меховых уборов обыкновенно накидывали суконные башлыки-капюшоны с длинными ушами, которыми, как и в меховых шапках, заматывали и завязывали шею. Шапки-ушанки из-за высокой функциональности, практичности быстро усваивали и вновь прибывавшие российские переселенцы. Меховые и суконные ушанки бытовали в XIX в. и у иных групп русских, например, северо-восточных районов России, где такие уборы назывались долгоушками. Были они известны и у народов, живших в сходных климатических и географических условиях (например, манси и т.д.), т.е. там, где имелась необходимость прятать лицо от холодного ветра или, при резкой смене температуры, сбрасывать шапку с головы, закрепляя ее ушами на шее.
Большим своеобразием во второй половине XIX в. отличались зимние шапки части чалдонов, "поляков", кержаков, а именно те из них, которые напоминали польские конфедератки.
В первом десятилетии XX в. зимние шапки-конфедератки уже, практически, вышли из употребления. Такие, четырех угольные, шапки отмечены на прежней территории обитания "поляков" - в Белоруссии, откуда, вероятно, они и были завезены ими на Алтай. Примечательно, что аналогичного же вида шапки бытовали и у русских по р. Туда Тверской губернии - местности, называемой в народе "Польшей". Сравнительно позднее распространение этих шапки имели в тех районах России, где население занималось извозом (Ярославской, Архангельской, Тверской губерниях).
В начале XX в., как праздничные уборы, в приобских селах бытовали кубанки и папахи - цилиндрообразные по форме с высокими околышами из мерлушек или шкурок бобров. При этом донышки кубанок далались из сукна, а папах - из того же меха, что и околыш. Распространение на Алтае папах и кубанок из черных, белых, рыжих мерлушек и прочих мехов было, вероятно, связано с влиянием сибирского казачества, у которых такие уборы бытовали ранее.
В народном костюме воплощены представления многих поколений о красоте, гармонии, целесообразности. Здесь веками, как в природе, отбирались, отшлифовывались формы, покрои, декоративные элементы. История не прерывается, каждая новая ее страница неизменно связана с другой – из прошлого и из будущего. Костюм как часть материальной культуры этноса, красноречивым и понятным языком рассказывает о народе, создавшем его.
Одной из главных задач трудового обучения в школе является воспитание у учащихся устойчивого, положительного отношения к труду, формирования навыков самостоятельной жизни, адекватного восприятия современной деятельности. Эти задачи учителя трудового обучения могут быть решены путем возрождения народных ремесел и прикладного творчества.
На уроках труда ребята могут изучать и изготавливать разные варианты народных костюмов.
В последние годы стали очень популярны занятия декоративно-прикладным творчеством. Возрос интерес к национальным ценностям, художественным традициям своего народа. Поиск новых средств выразительности приводит к желанию вникнуть в истоки национальной культуры. Так как традиционные народные костюмы Южного Алтая довольно многообразны и интересны, а также из-за близости к национальным костюмам Сибири, поэтому именно их изучение способно приобщить школьников к истокам традиционной культуры Сибирского округа. По нашему глубокому убеждению изучение декоративно-прикладного искусства в школе обогащает уроки технологии, делает их более интересными и привлекательными для учащихся, позволяет расширить их кругозор, развивает чувство гордости за народных мастеров.
Глава 3. Использование традиций костюма русских крестьян Южного Алтая на уроках технологии
3.1.Программа трудового обучения
В качестве базисной основы содержания трудового обучения в начальных классах средних школ взято ознакомление с декоративно-прикладным творчеством своего народа. Народное искусство открывает человеку его прошлое, знакомит с представлениями о прекрасном, эстетическим опытом предшествующих поколений, их стремлениями, мечтами, идеалами, традициями, передает духовную культуру прошлого своего народа. Как ничто другое, оно несет в себе заряд национальных особенностей и незаменимо в плане этнокультурного развития. Знакомство в яркой и доступной форме с народным искусством в соответствии с возрастными особенностями и возможностями учащихся развивает у них художественный вкус, вырабатывает потребность ориентироваться на духовные ценности своего народа.
Младший школьный возраст - это особый период в жизни ребенка, который выделился исторически сравнительно недавно. Его не было у тех детей, которые вообще не посещали школу, его не было и у тех, для которых начальная школа была первой и последней ступенью образования. Появление этого возраста связано с введением системы всеобщего и обязательного неполного и полного среднего образования. Младшим школьным возрастом считается возраст детей примерно от 6 -7 до 10-11 лет, что соответствует годам обучения в начальных классах общеобразовательной школы [25].
Первые годы обучения в школе - годы заметного развития интересов. Основной из них - интерес познавательный; это жажда познания окружающего мира, стремление узнавать все больше и больше. Вот некоторые вопросы, которые задают младшие школьники: «Откуда дует ветер?», «Почему самолеты не падают?», «Когда умерли динозавры?», «Может ли солнце погаснуть?»
В связи с развитием интересов и склонностей начинают формироваться и способности школьников. Выделяются ученики, проявляющие относительно высокий уровень способностей к математике, музыке, рисованию, литературному творчеству.
В этот период значительная часть времени и энергии детей направляется на приобретение новых знаний и навыков. Это возраст, когда будущий взрослый человек учится социальным и техническим основам трудовой деятельности.
Основными задачами приобщения учащихся начальных классов к сибирскому костюму являются:
развитие образного, аналитического, абстрактного, логического, технического и технологического мышлений;
развитие эстетического вкуса, интеллекта;
развитие зрительной памяти, монологической речи;
ознакомление с основными видами народного прикладного искусства, раскрытие их истоков, характерных особенностей и уровня развития на современном этапе;
раскрытие основных принципов формообразования, цветосочетания, композиции, используемых в народном творчестве;
вооружение доступными сведениями о происхождении народа и его культуре, трудовых обычаях, традиционных промыслах и занятиях;
ознакомление учащихся с особенностями работы в области декоративно-прикладного искусства, связанное с народным костюмом.
развитие у детей творческих способностей, воображения, художественного вкуса, эстетического чувства и понимания прекрасного, воспитание интереса к прикладному творчеству.
В результате включения в программу трудового обучения материала о народном сибирском костюме младшие школьники должны научиться:
анализировать различные виды и формы народного костюма и называть их отличительные признаки;
применять основные приемы формообразования, цветосочетания, композиции, свойственные народному костюму;
выполнять простейшие технические и технологические операции при изготовлении костюмов;
выполнять доступные декоративно-прикладные виды работ;
использовать отдельные элементы декоративно-прикладного искусства при создании собственных работ.
Предлагаемый материал должен использоваться творчески, с применением как традиционных, так и нетрадиционных методов и форм обучения, соответствующих этническому содержанию учебного материала. Необычными, интересными должны быть и задания для детей: выбрать среди игрушек старинную; подобрать по цвету нитки для заданной строчки; составить из геометрических фигур орнамент; выполнить названный шов; рассказать стихотворение о выбранном для лепки сказочном персонаже или загадать загадку; подумать, как одеть куклу в народный костюм; назвать предметы женской одежды; нарисовать на доске или выбрать карточки с украшающими строчками и т.п.
Важное место на уроке должен занимать образ традиционного костюма, созданных руками народных мастеров предметов крестьянского быта, которые во многих местах сохранились и могут быть продемонстрированы на уроке. Рассматривая конкретную вещь (рисунок, фотография), ученик легче поймет, как тесно связаны образы вещей-типов с мировосприятием народа, его представлениями о добре и красоте.
Перед учителем стоит задача — формировать интерес к традиционным поделочным материалам, стремление узнать о них больше и одновременно отрабатывать практические умения и навыки.
Для большей продуктивности и результативности уроков наряду с индивидуальной и фронтальной формой работы с первого класса надо включать групповую, бригадную и коллективную. Планируя групповую работу, важно подбирать детей по уровню общей подготовленности и самостоятельности [6].
Во всех классах первой ступенью всех декоративных работ является аппликация, так как именно через нее младшие школьники знакомятся и в дальнейшем закрепляют знание орнаментальных мотивов народного прикладного искусства. Особое внимание учащихся направляется на понимание ритма, гармоничности цветовых отношений, зрительного равновесия форм и цвета. Эти знания в дальнейшем находят применение при работе с другими художественными материалами, используемыми на уроках трудового обучения, изготовлении игрушек, в вышивке, чеканке и др.
На знакомстве с изделиями мастеров основаны беседы о прикладном искусстве. Беседы воспитывают у детей интерес к искусству, любовь к нему, расширяют представления об окружающем мире.
При эстетическом восприятии образцов декоративно-прикладного искусства учащимся предлагаются следующие вопросы для наблюдения и анализа:
— Что это за изделие – костюм? Для чего он может быть использован? Почему изделие имеет такую форму? И? какого материала оно сделано?
— Каким образом украшены различные виды одежды? Какова его особенность? Чем оно похоже на известные вам украшения предметов народного искусства? В чем различия? Из каких элементов состоит узор? Как он связан с формой и материалом изделия?
3.2 Календарно-тематическое планирование уроков
Тематическое планирование уроков составлено в соответствии с программными требованиями к трудовому обучению учащихся начальных классов общеобразовательных школ по двухчасовой программе.
Специфика практической трудовой деятельности детей младшего школьного возраста такова, что не всегда за 45 минут завершается работа по изготовлению изделия. В зависимости от темы урока, сложности задания, уровня подготовленности класса по данному планированию уроков предполагается проводить уроки 1—2-часовые, иногда 3 и 4-часовые.
План занятий рассчитан на 4 месяца. Общее количество занятий – 15.
Таблица 1 Тематическое планирование
|
месяц |
№п/п |
Тема занятия |
Кол-во часов |
|
Сентябрь |
1 неделя |
Вводное занятие. |
1 |
|
2 неделя |
Знакомство с костюмом. Мужская и женская одежда. Основные понятия и термины. |
1 |
|
|
3 неделя |
Знакомство с костюмом русских крестьян Южного Алтая |
1 |
|
|
4 неделя |
Ткани и материалы, используемые в народном сибирском костюме |
1 |
|
|
Октябрь |
5 неделя |
Головные уборы крестьянок Южного Алтая |
1 |
|
6 неделя |
Способы и приемы завязывания шалей крестьянками Южного Алтая |
1 |
|
|
7 неделя |
Закрепление изученного материала |
1 |
|
|
Ноябрь |
8 неделя |
Аппликация. Знакомство с правилами подбора фона из ткани |
1 |
|
9 неделя |
Аппликация. Умение подбирать лоскутки ткани по рисунку и цвету. Правила безопасности при работе с ножницами |
1 |
|
|
10 неделя |
Аппликация. Знакомство с разными правилами подбора цветов. |
1 |
|
|
11 неделя |
Аппликация. Работа по шаблону, образцу, представлению. |
1 |
|
|
Декабрь |
12 неделя |
Знакомство с различными видами строчек |
1 |
|
13 неделя |
Значение вышивки в русском народном костюме. Технологические приемы вышивки |
1 |
|
|
14 неделя |
Подготовка к выставке |
1 |
|
|
15 неделя |
Познавательная деятельность, развитие кругозора. Экскурсии в краеведческий, исторический музеи. |
1 |
Конспект занятия на тему: «Способы и приемы завязывания шалей крестьянками Южного Алтая» (5 неделя).
Тема возрождения русских традиций является особо актуальной в современных условиях быстрой смены культурных ориентиров. Поэтому обращение к народным истокам, изучение исконно-народного фольклора и традиционных обрядов помогает учащимся в собственной социализации.
Цели занятия:
Сформировать представление о народной художественной культуре.
Пробудить интерес к народному костюму крестьян Южного Алтая.
Приобщить детей разных национальностей к российской культуре, воспитание гражданственности и патриотизма в отношении России
Задачи занятия:
развитие познавательных навыков;
развитие индивидуальности, творческих способностей личности;
умение самостоятельно конструировать свои знания;
через предметный мир осмыслить и полюбить художественную культуру народа;
развитие интереса к народному искусству, формирование художественного вкуса;
сохранение и преемственность традиций в условиях массового промышленного производства товаров, лишённых самобытного национального отпечатка;
трудовое воспитание и нравственное воспитание;
воспитание гражданственности и патриотизма, любви к Родине;
этнохудожественное воспитание детей.
Материалы и оборудование: фотографии (Приложение 1), русские платки и шали, кокошники и подзатыльники, музыкальное сопровождение.
Ход занятия:
1. Вводная (теоретическая) часть:
У.: Среди аксессуаров, которые использует современная женщина для придания своему облику изящества и элегантности, особое место занимают платок и шаль. Они могут дополнить деловой костюм, украсить вечернее платье, согреть в холодный день. С незапамятных времён женщины России носят платка. Это квадратный кусок ткани или холста, который в качестве головного убора обязательно дополнял народный костюм. Замужние женщины надевали платок поверх головных уборов, девушки – непосредственно на голову. Носили платок и мужчины, повязывая им шею. Платки и платочки украшали вышивками, набивным печатным узором. Они служили предметом гордости и показателем мастерства хозяйки. Расписной платок, шаль с каймой, вышитый платочек – были, да и сегодня остаются желанным подарком.
Из каких материалов изготавливают платки или шали?
(Из ситца (х/б), шёлка (натуральные и химические), ковровых и смешанных тканей, трикотажа).
У.: Среди крестьянок Южного Алтая платки и шали были не просто популярны, но и являлись своеобразным ритуалом. Девушкам разрешалось находиться в обществе с непокрытой головой, в отличие от замужних женщин, для которых это было большим грехом. Истоки подобных традиций, несомненно, уходят своими корнями в очень отдаленное прошлое, к которому восходит и обычай беречь косу, как сосредоточие девичьей чести, силы. Верили, что стоит подержаться за косу свахе или жениху, то можно лишиться силы воли - не "хочешь, да пойдешь замуж". Для того, чтобы коса выглядела аккуратной, волосы смазывали коровьим маслом.
Среди девушек бытовал обычай носить завязанные сзади шали, спуская концы в разные стороны - один на грудь, другой - на спину. При этом в качестве украшения старались использовать и бахрому, кисти которой расправляли у висков.
2. Практическая работа:
У.: Так как мы с вами путешествуем в прошлое, то представим себе, что мы девушки той далекой поры на посиделках, занимаемся рукоделием и слушаем русские задушевные песни (поставить негромко фонограмму).
Теперь давайте попробуем завязать шаль (платок) так, как это делали девушки в те далекие времена.
(Каждая ученица получает платок и пытается завязать так, как объясняет учитель)
У.: А теперь давайте разберемся, как вы повязали платок: правильно или неправильно.
У.: Хочу обратить ваше внимание на то, что все эти способы завязывания девичьих уборов, относилось к так называемым «большим девушкам», то есть тем, которым уже исполнилось 15-17 лет. Девочки младшего возраста не носили никаких особых головных уборов.
Смена девичьего убора на женский сопровождалась особыми обрядами, которые носили название «окручение» или «скручивание», которые имели своей целью обезвредить (закрыть) волосы невесты, вернее, заключенную в них магическую силу, опасную для рода мужа. Обряд «окручение» заключался в том, что одну девичью косу расплетали и заплетали две, что значило перемену судьбы, то есть, как бы говорилось, что «их стало двое», «жизнь разделилась надвое». Эти косы обертывали вокруг головы, перекрещивая спереди (на затылке не полагалось).
Любопытно, что крестьянки для обозначения верхнего, большего, платка общерусскими терминами «платок» или «плат» обычно не пользовались, а больше употребляли названия, образованные от вида ткани – «кашамирки» (из кашемира), «золотополие» (затканные серебряной и золотой канителью шелковые платки). Также широко употреблялись такие названия как «шаль» и «полушалок».
У.: Как вы поняли на основании завязывания платков девичьим способом, способы ношения платков и шалей были довольно разнообразны. Из них наиболее древними считается набрасывание отреза ткани или платка на голову, не завязывая его.
(Педагог показывает, как это делается и ученики повторяют)
У.: Но, кроме того, что этот верхний платок накидывался, под него надевался другой платок, который завязывался разными способами, в зависимости от того, в какой местности проживали крестьянки.
3. Итог урока.
У.: Сегодня мы познакомились с различными способами завязывания платка у крестьянок Южного Алтая. Так как сегодня это не очень распространено, особенно, в городе, то можно сказать, что для вас это совершенно новые знания. Давайте проверим, как вы запомнили то, о чем мы говорили, и что делали.
Как у русских крестьянок Южного Алтая назвались платки?
Чем прическа девушки отличалась от прически замужней женщины?
В каком возрасте начинали повязывать платки?
4. Домашнее задание: Расспросите своих бабушек или мам, может быть, они помнят, как завязывали платки их бабушки или прабабушки. На следующем занятии вы можете показать, как они это делали.
Конспект занятия на тему: «Аппликация. Работа по шаблону, образцу, представлению» (11 неделя)
Цели занятия:
дать первоначальные сведения об истории лоскутного шитья;
пробудить интерес к народному костюму крестьян Южного Алтая;
развивать творческое мышление, воображение и эстетический вкус;
воспитывать терпение, усидчивость, аккуратность, любовь к традициям прошлого.
Задачи занятия:
развитие индивидуальности, творческих способностей личности;
умение самостоятельно конструировать свои знания;
через предметный мир осмыслить и полюбить художественную культуру народа;
развитие интереса к народному искусству, формирование художественного вкуса;
трудовое воспитание и нравственное воспитание;
этнохудожественное воспитание детей.
Ход урока:
1. Организационный момент: проверка готовности к уроку. Каждый в рабочей форме на столе у каждого: набор мотивов, нитки, ножницы, булавки, наперстки, технологические карты, памятки.
2. Теоретическая часть:
У.: Здравствуйте! Садитесь! Сегодня у нас необычный урок. Мы совершим с вами путешествие, но ни к звездам, ни на дно океана, а в прошлое в «Бабушкин сундук». Много можно найти в «Бабушкином сундуке». Это вязание, бисероплетение, вышивка, лоскутная пластика. И именно этим мы и займемся сегодня на уроке.
Человек живет и творит для других. И плох тот народ, который не помнит, не ценит, не любит своей истории, поэтому мы должны пытаться сохранить и приумножить «Бабушкин сундук». Так уж случилось, что наши бабушки, жили в такое время, когда интерьер в своем доме они могли создать только своими руками. И, несмотря на всю бедность, присущую тому времени, они находили средства и время, чтобы создавать уют и красоту для своих любимых и родных.
У.: Вам нравятся вещи, которые окружают вас?
У.: Почему они вам нравятся?
Потому - что мы находимся в мире вещей, которые сделаны с любовью своими руками. Поэтому нам так здесь легко. Недаром в народе всегда ценили ручную работу, как источник эмоциональной духовности.
Незаслуженно забытые изделия ручного труда в нашей стране, вновь обретают свою ценность и превосходство над серийными промышленными образцами. В настоящее время к шитью из лоскутков относятся как к виду искусства.
3. Практическая работа:
У.: Так как мы с вами путешествуем в прошлое, то представим себе, что мы девушки той далекой поры на посиделках, занимаемся рукоделием и слушаем (поем) русские задушевные песни. Перед вами лежат различные мотивы, которые были использованы в одежде русских крестьян Южного Алтая (Приложение 2). Давайте попробуем повторить данный узор. У кого не будет получаться поднимайте руки – я подойду и помогу.
4. Итог занятия:
У.: Теперь оценим свои работы. Кто нибудь из вас будет оценивать вслух. Так как эта работа новая для вас я буду задавать вам вопросы, а вы будете отвечать. Потом вы это будете делать самостоятельно.
У.: Насколько удачно композиционное и цветовое решение твоего узора? А вы ребята каждый самостоятельно ответьте на этот вопрос сами для себя.
У.: Насколько рационально ты использовала свое время? Хватило ли тебе время? А вам девочки?
А сейчас главная задача составить композицию из ваших работ. Вы будете выходить по одному и закреплять свои работы на стенде, чтобы получился единый узор.
(Девочки прикрепляют свои работы)
У.: Нравится вам?
Аккуратно положите инструменты в коробки.
Мне было приятно с вами работать на уроке, и я уверена, что каждая из вас сможет выполнить прекрасный проект [19,22, 27].
Занятие на тему «Значение вышивки в русском костюме. Технологические приемы вышивки» (13 неделя)
Цель:
Сформировать у учащихся целостное восприятие народного искусства как части культуры народа на примере русского костюма.
Совершенствовать приемы работы в технике “крест”.
Привить любовь к традициям народного искусства.
Оборудование, наглядность: образец народного костюма; плакаты с изображением древней символики и орнамента (Приложение 3); образцы орнаментов и схемы; схемы узоров вышивки; иллюстрации русских народных костюмов; ткань-канва, нитки мулине, иголки, ножницы, бумага в клетку, фломастеры.
Ход урока:
1. Организационный момент.
2. Объяснение материала.
Вводная часть:
У.: В XVI - XVII веках древнерусский костюм состоял из определенных предметов одежды традиционной формы. Ее прокрой, приемы украшения, способы ношения не менялись в Древней Руси столетиями и были одинаковыми у разных слоев общества. Мужчины и женщины носили прямокройную, длиннополую, широкую одежду, скрывавшую естественные формы тела, с длинными, иногда доходящими до пола рукавами. Было принято одновременно надевать несколько одежд сразу – одну на другую. Верхнюю, распашную, накидывали на плечи, не вдевая рукава.
Рубаха – древнейший элемент одежды. Уже в VI веке в костюме наших предков она занимала ведущее место, а иногда была и единственным предметом одежды. Женская рубаха отличалась от мужской, по сути дела, только длиной и более богатой отделкой.
Слово “рубаха”, по всей видимости, происходит от слова “руб”, которое обозначало не только кусок, обрывок ткани, но и служило названием предмета одежды.
Крестьянин, горожанин и боярин носили рубаху одинакового покроя, разница была лишь в качестве ткани. Шили рубахи в основном изо льна, иногда из конопляного полотна.
В древнерусском языке существовали два термина: “хласт” (“холст”) - небеленая ткань и “плато” – выбеленное полотно.
Самые древние рубахи шили из одного длинного, перегнутого пополам на плечах, полотна. Клинообразные вставки, полученные при разрезании прямоугольника по диагонали, вшивали в бока, расширяя тем самым подол. Затем делали разрезы по вороту и центру груди. Таким образом, после окончания кроя не оставалось ни одного лоскутка. В последующие века в каждой губернии возникали свои местные традиции кроя. Но порядок украшения рубахи, сложившийся в языческое время, строго соблюдался: узоры располагались на вороте, оплечье, на низах рукавов и подоле рубахи.
В украшениях рубах молодых женщин преобладал красный цвет, в то время как пожилые люди носили преимущественно белые рубахи, почти без украшений.
Особенно обильно украшали праздничные и обрядовые рубахи. Так, на первый день уборки трав полагалось выйти в “покоснице” с широкой узорной полоской по подолу. В праздничный день жатвы обряжались в пожнивную рубаху.
Самой красивой считалась венчальная рубаха. Ее расшивали многоцветными узорами, в которых основным был красный цвет. Такую рубаху молодая женщина еще несколько лет надевала по большим праздникам, а затем бережно хранила.
Богат и разнообразен был русский народный костюм своими традиционными формами, колоритом, манерой помещения предметов одежды. Он являлся своеобразным документом, по которому можно было определить возраст человека, семейное положение, место жительства. Более отчетливо проявились особенности покроя, отделки, цвета и фактуры ткани в женском народном костюме.
Девичья одежда состояла из домотканой рубахи, перехваченной поясом и головной повязки, оставлявшей открытыми затылок и косу. Когда женщина выходила замуж, она надевала поверх рубахи шерстяную поясную одежду – поневу и тщательно закрывала голову сложным головным убором – сорокой.
Сарафан (платье без рукавов или высокая юбка на лямках) надевался на рубаху. Сарафаны носили женщины северных и центральных губерний России, Поволжья, Сибири, Урала. Не стал исключение и Южный Алтай. Там сарафаны также были широко распространены.
Сарафаны шили как из домотканых материалов – сукна, холста, - украшая их набойкой, вышивкой, так и из покупных тканей – парчи, шелка, бархата.
По крою сарафаны могли быть различными. Наиболее древним считается глухой косоклинный сарафан, который шили из перегнутого по плечам полотнища ткани. Косоклинный распашной сарафан имел спереди два полотнища, застегивающихся на медные, оловянные или серебряные пуговицы.
Позже в центральных районах России появились круглые, или прямые, сарафаны на лямках, которые шили из нескольких прямых полотнищ ткани.
Рубахи, которые носили с сарафаном, могли быть как целые, так и составные. Украшались в них в основном одни рукава, ведь остальные ее части были не видны.
Рубаха могла состоять из двух частей, которые в разных губерниях назывались по-своему. Так, верхнюю часть называли “рукава”, “воротушка”, грудка и делали из тонкой ткани, а нижнюю – “подставку”, “стан” – из домотканины.
В северных и центральных губерниях рубахи украшали своеобразной вышивкой, изящным орнаментом, имеющим графический характер.
С сарафаном часто носили передники с завязкой выше груди либо передник с грудкой (нагрудкой) с завязками на талии и шее. Передники украшались вышивкой, которая имела характер оберега.
Обязательной деталью костюма, как женского, так и мужского был пояс. Им подпоясывались женские рубахи и сарафаны, верхняя одежда. Пояс служил не только украшением. Он играл и практическую роль. В подпоясанной одежде было теплее; на поясе женщины крепили сумочки, гребни, ключи и пр. Кроме этого, пояс, по народным поверьям, имел магическую силу: он выполнял роль оберега, защищая человека от злых духов. Потерять пояс означало навлечь на себя большие неприятности; распоясать его – означало обесчестить себя.
Более распространенными были плетенные и тканые пояса различной ширины. Пояс чаще завязывали, а не подтыкали, поэтому спадающие концы отделывали кистями, бахромой, помпонами из шерстяных нитей. Носили его под грудью (в женских костюмах с передником, сарафаном) или на талии. Пояс, обернутый вокруг фигуры, чаще всего завязывали сбоку, иногда – спереди или сзади.
Бережное отношение крестьян Южного Алтая к своей одежде подтверждается также и тем, что в особо праздничных сарафанах не только не садились за стол, но даже и не присаживались на лавку – боясь запачкать или помять столь тяжело доставшийся наряд. На свадьбе невесту в самом дорогом сарафане под руки выводили к гостям, после чего ее уводили и переодевали в менее дорогой, в котором она могла уже сесть за стол. Детские вещи шили на “вырост” и передавали от старших к младшим. Зачастую старую одежду взрослых перешивали на детей. Даже совсем изношенные вещи не выбрасывали – берегли на заплаты. Льняные вещи стирали золой и мылом. Шерстяные же праздничные наряды не стирали и не гладили вовсе – хранили аккуратно сложенными в сундуках или в больших коробах из липы.
Крой определял силуэт одежды и архитектонику крестьянского костюма Южного Алтая. Практичность кроя народной одежды проявлялась и в ее безразмерности – благодаря значительной объемности форм она подходила людям самой разной комплекции.
Искусство костюма как процесс отражения действительности располагает определенной системой условных знаков в виде форм, линий, цветов и т.п. С точки зрения культуры костюм можно рассматривать как некоторый текст, написанный особым языком. Язык – это, прежде всего, смысловая сфера, и знаки языка есть смысловые знаки, а свой смысл они получают от тех предметов, которые они обозначают.
Цель символической системы костюма – передать информацию от мастерицы к зрителю. В начале XIX века создатели вышивок еще помнили смысловое значение украс, жив был и обряд чтения узоров. Девушки собирались на него в своих лучших нарядах, парни выбирали в провожатые старых женщин, и те, показывая им вышитые девушками передники и подолы рубах, поясняли смысл узоров. Язык народной вышивки Южного Алтая – это своего рода система письма, где чернила и бумагу заменяют нитка и холст. Понятие “писать” в древности имело значение “украшать” и изображать.
Домашняя вышивка в деревне была всецело женским уделом. Многие вышитые изделия поражают техническим совершенством исполнения, богатством и разнообразием узорочья.
Здесь можно встретить и дерево жизни, и птиц, и различные геометрические солярные знаки: круги, кресты, усложненные ромбы и т.п.
Преобладало двухстороннее шитье красного, синего, черного цвета с металлическими блестками. Наряду с геометрическими мотивами часто встречаются растительные, зооморфные и полиморфные сюжеты, среди них птицы-павы, кони, барсы. Типично для орнаментики изображение древа жизни с предстоящими фигурками.
Расположение орнамента на рубахах и его стилистика не случайны. Они несут большую смысловую нагрузку, как бы защищая человека от злых сил и призывая на помощь силы добра.
Все узоры словно находятся вне времени и пространства. Нет натуралистического изображения, все предельно обобщено и схематизировано. В вышивке подобный характер изображения со строго определенной композицией, цветовым решением и техникой исполнения складывается веками и является духовным и художественным смыслом многих поколений.
Традиционные мотивы орнамента русского народного костюма: круги, ромбические и крестообразные фигуры, изображение коня, оленя, птицы – солярные знаки, прямая линия – символ земли, женская фигура – символ плодородия, волнообразная ритмическая линия – символ воды, дерево – знаки вечно живой природы, две птицы голова к голове – символ счастливого брака.
Разномасштабность мотивов, их сложная и простая повторность, разнообразие техники вышивки варьирование цветов – основные художественные средства, с помощью которых достигалась индивидуальность орнаментики каждого костюма.
3. Инструктаж.
Сегодня на уроке мы будем вышивать орнамент, который применяли для украшения костюмов, да и не только костюмов. Этот узор можно встретить и на рушниках, и на занавесках и на других изделиях.
(Учитель демонстрирует схему и образец вышивки: древо жизни и две птицы голова к голове – символ счастливого брака).
У.: Давайте обсудим, что обозначают эти изображения.
Прежде, чем мы приступим к вышивке, определите, с какого орнамента лучше начать работу. Работаем нитью в два сложения. Помним о чистоте изнаночной стороны, а, следовательно, о закреплении нити в начале и в конце работы. На ткани для каждого крестика отсчитываем по три ниточки.
4. Инструктаж по техники безопасности. (Безопасные приемы работы с ножницами, иголками).
5. Практическая работа.
Учащиеся вышивают по выданным им схемам. Учитель оказывает индивидуальную помощь.
6. Подведение итогов занятия. Просмотр работ.
7. Выдача домашнего задания.
8. Уборка рабочих мест [19, 20].
3.3 Занимательный материал в организации трудового обучения и воспитания
Основной сферой деятельности детей до 7 — 8 лет является игра. Как важное средство воспитания, она значительное место занимает и в народной педагогике: «...Игры для детей — серьезное занятие, своего рода уроки, готовящие к труду... Игровая деятельность порою сливается с трудовыми праздниками и входит, как составной элемент, в завершающую часть труда, игровой момент может быть и в процессе труда». Введение игр и игровых ситуаций возможно и необходимо на уроках трудового обучения. Игра на уроке будет успешной при соблюдении многих педагогических условий, назовем лишь некоторые, наиболее важные для уроков трудового обучения:
отражение учебного материала в содержании заданий игровых моментов;
взаимосвязь игры с трудовой деятельностью учащихся на данном уроке.
Игровые моменты и занимательные задания могут быть включены в урок на разных его этапах: в начале урока — для организации внимания к восприятию нового материала; на этапе объяснения трудового задания — с целью конкретизации учебной задачи и выяснения понимания ее детьми; при организации рабочего места — для приучения к собранности, порядку во время работы; при подведении итогов выполненного трудового задания — для оценки качества изделия и т.д.
Игра эффективна и в тех случаях, когда практическое задание вызывает у детей затруднение и заставляет их размышлять, опираться па имеющийся опыт и творчески применять его в новой учебной ситуации, исключая работу-копию.
Важно помнить, что игра на уроке может занимать три-семь минут и требует создания игровой обстановки с наглядностью, макетами героев народных сказок, фрагментами народных игр и т.д.
Дидактическая задача каждой игры или упражнения определяется содержанием программного материала и воспитательными целями. Учитель заранее определяет место и роль игры в учебном процессе, ее связь с другими методами работы, продумывает возможные варианты усложнения или облегчения, органическую взаимосвязь с другими частями урока. При этом следует обязательно выделить те знания, умения и навыки, которые необходимо сформировать у учащихся. Объяснение содержания игры должно быть эмоциональным, кратким, логичным и понятным.
Дидактические игры и упражнения
Упражнение «Наряди лису»
Упражнение выполняют в 3—4 классах, когда у детей уже имеется представление о народном костюме.
Дидактическая задача: закрепить представление о характерных деталях народной женской и мужской одежды; развивать наблюдательность, зрительную память и логическое мышление.
Дидактический материал: иллюстрации к сказке «Старик и лиса», детали-аппликации для отделки мужской и женской одежды, фигурки старика и лисы в белой одежде без отделки, фонохрестоматия «Народная музыка».
Содержание. На классной доске вывешены иллюстрации к сказке, изображающие главных героев. Учитель спрашивает учащихся, как можно догадаться, какого народа эта сказка. Учащиеся отвечают, что ответ подсказывают костюмы героев. Учитель обращает внимание детей на детали женской и мужской одежды героев сказки, выписывает на доску новые слова для запоминания. Затем иллюстрации закрываются, а учащиеся получают наборы деталей-аппликаций (по одному на парту). Дети «одевают» своих героев в народный костюм, используя детали из набора. После выполнения задания иллюстрации на доске можно открыть.
Примечание. В процессе упражнения как более легкий вариант одновременно со всеми можно предложить двум учащимся выполнить задание на доске, что позволит также сэкономить время.
Упражнение «Укрась Фартук»
Упражнение предлагается в 3—4 классах после ознакомления с характерными видами национального орнамента. Дидактическая задача: закрепить умение правильно подбирать геометрический орнамент для украшения предметов одежды, развивать чувство композиции.
Дидактический материал: образцы фартуков с отделкой, фартуки-заготовки, полоски-аппликации с геометрическим и растительным орнаментом разного формата.
Содержание. На классную доску вывешиваются образцы фартуков с отделкой по типу фланелеграфа. После анализа учитель убирает их и предлагает 2—3 ученикам у доски по-своему украсить фартуки узорами-полосками, сочетая их по цвету и размерам. Далее следуют коллективное обсуждение работы, сравнение с образцами и конкретные предложения остальных учащихся по доработке задания. Упражнение завершается обобщением учителя.
Примечание. Таким же образом можно украсить салфетки, полотенца, дорожки, варежки из бумаги с учетом специфики орнаментации каждого предмета.
Более сложная и трудоемкая разновидность задания — отделка ткани картофельными штампиками разных форм. Чтобы украсить салфетку, платочек, декоративную дорожку на стол, подставки под вазу, необходимо приготовить несколько картофельных штампов разных форм, текстильные краски (если их нет, то акварельные или гуашевые), полотно и кружева. На форму штампика наносят краску и затем по собственному вкусу печатают узор. Его можно составить в квадрате, круге, прямоугольнике, чередуя фигуры и краски. Края салфетки можно отделать бахромой, можно также пришить цветные кружева. Таким образом можно украсить бумажные салфетки, настенные плитки или составить бордюр на стене. (Как только материал наштампован и высушен, краска проглаживается с обратной стороны утюгом. Так она будет держаться прочнее.)
Игра «Знаешь ли ты народных мастеров?»
Для проверки знаний по народному декоративно-прикладному искусству можно провести коллективную игру. Эта игра может присутствовать на итогово - обобщающем уроке в 4 классе, празднике искусства и труда, конкурсе знатоков народного искусства.
Игра предназначена тем, кто интересуется историей народного прикладного искусства. Ее основу составляют карточки в каждой из которых кратко рассказывается о жизни и творчестве какого-нибудь известного народного мастера, исследователя народного искусства, художника. По не указано имя — его должен отгадать игрок. В интересном интеллектуальном соревновании игроки как бы экзаменуют себя и своих товарищей в знании народного прикладного искусства.
Играть можно по-разному: по рядам, по группам, а также по желанию отдельных игроков. Каждый игрок (команда) вытягивает по одной карточке и записывает ее номер на чистом листочке, прочитав текст, рядом с номером пишет ответ. После этого игроки меняются карточками таким образом, чтобы каждая карточка обошла всех играющих по порядку. Выигрывает тот, кто даст наибольшее количество ответов.
Предлагая учащимся различные графические задания, учитель одновременно с основной учебной работой решает следующие задачи:
развитие познавательных процессов и логического мышления, зрительной памяти, воображения;
развитие художественно-изобразительных навыков;
расширение знаний о народном прикладном творчестве.
Карточки построены по принципу постепенного усложнения материала, индивидуального подхода к детям, учета их способностей и интересов. С карточками можно работать в начале и конце урока, на обычных обучающих и обобщающих уроках в зависимости от темы и задач, поставленных учителем; с помощью раздаточного материала можно за несколько минут проверить знания учащихся, а сэкономленное время использовать дитя практической работы. Чтобы использовать карточки многократно, многие из них можно оформить в виде перфопапок с окошками-прорезями и сменными вкладышами для выполнения задания. Вкладыш заполняется карандашом через вырезанные окошки на лицевой стороне карточки. Карандаш легко убирается резинкой, и поэтому вкладыш можно использовать несколько раз. Для удобства карточки можно обвернуть прозрачной пленкой и писать по ней фломастерами.
Описание групп карточек и варианты включения их в урок (Приложение 4).
Карточки 1—2. Работа начинается в 1 классе с рисования простейших узоров орнаментальной вышивки по образцу. Цель: развитие зрительной памяти, закрепление изобразительных навыков и названий узоров.
Карточки 3. Для 1—2 классов. Дидактическая задача: развивать наблюдательность, зрительную память и логическое мышление. Задание можно рассматривать как упражнение на нахождение недостающего звена логической цепочки; выполнение его требует повторения названий всех звеньев цепочки, т.е. украшающих строчек.
Карточки 4. Предлагается использовать в 1—3 классах в зависимости от подготовленности детей. Цель: закрепление умения передавать симметрию фигур способом зеркального изображения и учитывать традиционную цветовую гармонию при раскрашивании. Некоторые из фигур (4.1, 4.2, 4.3, 4.9) можно взять для аппликационных работ способом вырезывания из сложенной вдвое бумаги.
Карточки 5. Начиная с 3 класса учитель продолжает расширять знания учащихся о зооморфном орнаменте в народном творчестве; кроме того, закрепляется умение сравнивать и сопоставлять фигуры, развивается внимание, наблюдательность. Дополнительно можно поручить поискать подобные фигурки в образцах народных изделий и зарисовать.
Карточка 6. Предназначена для учащихся 4 класса, имеющих достаточное представление о народной вышивке. Можно использовать во время беседы о современной вышивке, связать с влиянием вышивки соседних народов.
Заключение
Во второй половине XIX - начале XX вв. одежда крестьян Южного Алтая с одной стороны характеризовалась общностью многих элементов, с другой - разделялась в зависимости от этнографических, половозрастных, социальных и прочих признаков.
Данные по одежде русских старообрядцев "поляков" Южного Алтая свидетельствуют об их сложном этнографическом составе, включавшем как северорусские, так и среднерусские компоненты. Своей многочисленностью выделяются южнорусские черты. Традиции кроя, украшений, приемов шитья очерчивают довольно широкий круг возможных исходных территорий старообрядцев этой этнографической группы, в который входят Новгородская, Олонецкая, Вятская, Пермская, Нижегородская, Курская, Воронежская и некоторые другие губернии. Это отвергает выводы некоторых диалектологов и антропологов о только северном или только южном происхождении "поляков" (К.В. Маеровой, Е.Н. Стрелковой, Г.М. Давыдовой), соответствует архивным данным об их местах выхода. В "поляцкой" одежде довольно отчетливо прослеживаются связи с родственной группой семеиских Забайкалья, а также с населением бывших мест проживания - Белоруссии и Украины. Не бесследными оказались контакты с сибиряками и старообрядцами, прежде всего, кержаками, которые способствовали выработке ряда общих форм. Имеющийся в распоряжении материал свидетельствует о перемещении "поляков" в направлении Юго-Восточного Алтая, в низовья р. Бухтармы, а также в более северные районы - в Центральный Алтай.
Одежда населения Юго-Восточного Алтая отражала два основных направления, по которым шло заселение края - из Северного (алтайские, бердские старообрядцы, особенно кержаки, чалдоны) и Южного ("поляки") Алтая. Элементы костюмов, свойственные населению каждой из указанных областей, настолько тесно переплелись на Бухтарме, что возникли отличные от исходных и в целом необычные для русской одежды формы. При этом кержацкий "пласт отложился более в обрядовой, а "поляцкий" - в праздничной одежде. Некоторые параллели просматриваются у бухтарминцев и с одеждой уймонских кержаков, с которой, в принципе, имелись значительные различия в материалах, украшениях, приемах шитья, что позволяет говорить о культурных связях между этими группами.
Повседневная и обрядовая (погребальная) одежда старообрядок Уймона обнаруживала сходство с костюмами старожилок Северного Алтая (туникообразные рубахи, кошеные и косоклинные сарафаны с цельным или глухо зашитым передним полотном, сашмурообразные головные уборы, использование тканей темных расцветок), праздничная же - со старожилками Юго-Восточного Алтая (поликовые рубахи с кошеными рукавами). Кроме того, такие детали погребальной одежды как сашмуры-шлыки сближают уймонок с крестьянками западных, юго-западных губерний России, а также старообрядок Украины. Аналогичные же традиции прослеживаются в мужской одежде Уймона.
Наиболее архаичный пласт костюмных форм у населения исследуемого района составляли рубахи, сарафаны, передники, верхняя одежда туникообразного покроя, который в силу своей простоты был в прошлом известен у многих народов мира. Анализ материала показал, что в изучаемое время в Верхнем Приобье существовали различные варианты конструкций туникообразной одежды - от простых, состоявших из одних прямых полотен (мужские обрядовые рубахи), до кошеных - с кошеными бочками (мужские повседневные и женские обрядовые рубахи, кошеные женские сарафаны, верхняя одежда) и с кошеными бочками и дополнительными клиньями (женские косоклинные сарафаны). Как бы промежуточное положение занимали конструкции с полукошеным станом, включавшим прямые и кошеные полотна (мужские обрядовые рубахи).
Туникообразные виды одежды не только длительное время сохранялись в Южном Алтае, но и получили здесь дальнейшее развитие, которое проявлялось: а) в изменении в сторону более открытого лямочного покроя; б) в появлении подрезного, на кокетке; в) с плечевыми швами покроя.
Имеющиеся материалы позволяют проследить развитие основных компонентов девичьих и женских головных уборов, которое имело место, как на Алтае, так и в более ранние периоды - на территории Европейской России. Сохранившийся в Южном и Юго-Восточном Алтае девичий убор в виде сложенной лентой и повязанной узлом сзади шали мы рассматриваем как поздний вариант полотенчатого, связанного со старинной прической в виде распущенных волос. В женской обрядовой одежде старообрядок (моленной, погребальной, свадебной) сохранились уборы в виде платков, шалей, отрезов полотна, восходившие к головным покрывалам, которые в прошлом были широко известны индоевропейским народам.
Пережиточно сохранившиеся исходные, а также переходные (производные) и поздние костюмные формы свидетельствуют о том, что перенесенные на Алтай виды русской одежды прошли сложный путь развития, в одних случаях совпадающий, в других - несовпадающий с развитием этой одежды в Европейской России. Этим обстоятельством объясняется тот факт, что традиционные костюмы старожилов не обнаруживают прямых аналогий с одеждой европейских крестьян конкретного района (губернии).
Костюмы старожилов и, прежде всего старообрядцев Алтайского округа донесли до нас целый ряд своеобразных элементов, "расшифровка" которых, возможно, поможет осветить некоторые, неизвестные еще этапы развития народной русской одежды. К числу таких содержательных элементов можно отнести полоски красной ткани, прокладывавшиеся вдоль швов соединения основных полотен стана мужских рубах старообрядцев-поляков. Подобные детали в южнорусских и украинских рубахах XIX в. сохранились лишь пережиточно.
В силу конфессиональных, географических и прочих особенностей временные изменения в традиционной одежде протекали в различных районах Алтая с разной скоростью, отличаясь при этом и качественно. Так, в деревнях Северного Алтая, которые были ближе к городским центрам, сибиряки и российские, а также молодое поколение в старообрядческих семьях в начале - первой четверти XX в. носили одежду, во многом напоминавшую городскую, которая, однако, в деталях отражала традиции местных деревенских форм (яркая или сдержанная цветовая гамма, высокие или низкие воро-тники и т.д.). В селах и Деревнях Центрального Алтая кержаки и "поляки" еще хранили в это время верность традиционным костюмам, но уже часто шили их, особенно для праздников, из покупных материалов. Нередко старожилы надевали такие оригинальные "комплекты", в которых новые городские виды сочетались со старыми (рубахи из покупных материалов, а штаны из пестряди и наоборот). В одежде же старообрядцев Южного и Юго-Восточного Алтая еще и в это время бытовали старинные ткани, покрои и украшения, а распространение новых сталкивалось с большими трудностями.
Как показало наше исследование, народная культура несёт в себе огромный воспитательный потенциал. Особое место в её арсенале занимает русский народный костюм, раскрывающийся как комплекс одежды, отражающий собой отношение человека к окружающему социальному и природному миру, к самому себе, к жизни.
Вышесказанное определяет значение русского народного костюма способствующего духовному наполнению личности, формированию гармоничной картины мира, формированию лучших человеческих качеств.
В результате разработанной программы в дипломной работе у учащихся конкретизируются представления о русском народном костюме, дополняются знания о его элементах и деталях, систематизируются знания о трудовых действиях в процессе изготовления костюма, формируются представления об особенностях костюма других народов. Школьники учатся устанавливать связи между спецификой народного костюма и природными условиями, материалами для изготовления одежды, имеющимися в данной местности. У них актуализируется потребность в обыгрывании произведений устного народного творчества (песен, хороводов, игр); стимулируются проявление положительных эмоций, направленных на получение информации о русском народном костюме. Данная Программа способствует проявлению гордости за принадлежность к русской традиционной культуре, воспитывается уважение к культуре других народов; формирует эстетические чувства в процессе восприятия народного костюма.
Анализ материалов по методике обучения технологии, и в частности структуры урока, а также их сравнение с соответствующей литературой по преподаванию других школьных предметов показывает, во-первых, некоторое расхождение в понятиях и, во-вторых, упрощенный подход к этому важному вопросу. Прежде всего, это касается содержания такого этапа урока, как практическая работа. Нами предложена следующая схема практической части занятия:
1 Вводный инструктаж учителя:
сообщение названия практической работы;
разъяснение задач практической работы;
ознакомление с объектом труда (образцом);
ознакомление со средствами обучения, с помощью которых будет выполняться задание (оборудование, инструменты, приспособления);
ознакомление с учебно-технической документацией (инструктаж по ТК, ИК, ИТК);
предупреждение о возможных затруднениях при выполнении работы;
инструктаж по технике безопасности.
2. Самостоятельная работа учащихся по УТД.
3. Текущий инструктаж учителя (проводится по ходу выполнения учащимися самостоятельной работы);
3.1. Формирование новых умений:
проверка организованности начала работы учащихся:
проверка организации рабочих мест учащихся (рабочий стол, инструменты, приспособления);
соблюдение правил техники безопасности, санитарии и гигиены труда при выполнении задания);
3.2. Усвоение новых знаний:
проверка правильности использования учащимися учебно-технической документации;
инструктирование по выполнению задания в соответствии с технологической документацией.
3.3. Целевые обходы:
инструктирование учащихся по выполнению отдельных операций и задания в целом;
концентрация внимания учащихся на наиболее эффективных приемах выполнения операций;
оказание помощи слабо подготовленным к выполнению задания учащимся;
контроль за бережным отношением учащихся к средствам обучения;
рациональное использование учебного времени учащимися.
4. Заключительный инструктаж учителя:
анализ выполнения самостоятельной работы учащихся;
разбор типичных ошибок учащихся;
вскрытие причин допущенных учащимися ошибок;
повторное объяснение учителем способов устранения ошибок.
На наш взгляд, составление развернутого плана-конспекта занятия по рекомендуемой схеме позволяет заранее учесть возможные методические проблемы, которые появляются у учителя в процессе работы.
Подведение итогов урока учителем включает:
сообщение учителя о достижении целей урока;
объективную оценку результатов коллективного и индивидуального труда учащихся на уроке; выставление отметок в классный журнал и в дневники учащихся;
сообщение о теме следующего урока;
задание учащимся на подготовку к следующему уроку.
Таким образом, предложена схема способствует более плодотворной работе и учащихся, и педагога.
Список литературы
Алексеенко Н.В. Русская крестьянская колонизация Рудного Алтая в ХVIII-ХIХ вв. // Сибирь периода феодализма.- Вып. 2: Экономика, управление и культура Сибири XVI - XIX вв.- Новосибирск, 1965.
Анцыгина А. А. Учимся вышивать. Методические рекомендации. Чебоксары, 1992.
Арциховский А.В. Одежда // История культуры Древней Руси. Домонгольский период.- М., Л., 1948.
Бардина П.Е. Женская одежда русского населения Среднего Приобья в конце XIX - первой четверти XX вв.// Культурно-бытовые процессы у русских Сибири.- Новосибирск, 1985.
Васильева Л. Г. Алтайское прикладное искусство. Методические рекомендации к комплекту цветных слайдов. - Барнаул, 1992.
Внеклассная работа по труду. Работа с разными материалами: Пособие для учителей. – М.: Просвещение, 1981.
Волков Г. Н. Трудовые традиции алтайского народа. - Бийск, 1970.
Воробьев Н. И. и др. Алтайцы. Этнографическое исследование. Материальная культура. Барнаул, 1956.
Громыко М.М. Трудовые традиции русских крестьян Сибири XVIII -первой половины ХIХ вв.- Новосибирск, 1975.
Дидактические аспекты повышения качества дополнительного образования детей. Научи. Ред. Л.И. Боровиков. - Новосибирск, 2003.
Кондратьева Е. П. Алтайское прикладное искусство и трудовое обучение. Методические рекомендации. - Горно-Алтайск, 1992.
Кругликов Г.И. Методика преподавания технологии с практикумом: Учебное пособие. - М.: Академия, 2002.
Лебедева А.А. Мужская одежда русского населения Западной Сибири XIX - начала XX вв. // Проблемы изучения материальной культуры русского населения Сибири,- М., 1974.
Лебедева Н.И., Маслова Г.С. Русская крестьянская одежда XIX - начала XX вв. // Русские. Историко-этнографический атлас. - М., 1967.
Малышева А.Н. Работа с тканью. - Ярославль: Академия развития, 2000.
Маслова Г.С. Народная одежда русских, украинцев и белорусов в XIX -начале XX вв. // Восточнославянский этнографический сборник. Очерки народной материальной культуры русских, украинцев и белорусов в XIX - начале XX вв.- М., 1956.
Маслова Г.С. Одежда // Этнография восточных славян. Очерк традиционной культуры.- М., 1987.
Маслова Г.С. Станюкович Т.В. Материальная культура русского сельского и заводского населения Приуралья (XIX - начало XX вв.) // ТИЭ.- 1960.
Методика обучения младших школьников выполнению творческих проектов: Книга для учителя. / Под редакцией В.Д.Симоненко. - Брянск: БГПУ, НМЦ «Технология», 1998.
Никитин Г. А., Крюкова Т. А. Алтайское народное изобразительное искусство. - Барнаул, 1960.
Новоселов А.Е. У старообрядцев Алтая // Беловодье.- Иркутск, 1981.
Огерчук Л.Ю. Тестовые задания по технологии: для учащихся 1-4 классов. - М.: Школьная пресса, 2003.
Очерки истории Рудного Алтая.- Усть-Каменогорск.- 1970.
Потапов Л.П. Одежда алтайцев // Сб. МАЭ.- 1951.- Вып. XIII.
Психологический словарь. / Под ред. Зинченко В. П., Мещерякова Б. Г. 2-е изд., перераб. и дополн. М., 1997.
Сироткин М. Я. Алтайский фольклор. Горно-Алтайск, 1960.
Соколова С. Оригами. С нами не соскучишься: аппликации, закладки. - М.: Махагон, 1999.
Трофимов А. А. Проблемы народного искусства Алтая. Горно-Алтайск, 1985.
Фурсова Е.Ф. Головные уборы русских крестьянок Южного Алтая во второй половине XIX - начале XX вв. // Изв. Со АН СССР. – 1985. – №2 (9) – стр. 57-63.
Фурсова Е.Ф. Древние элементы в мужской набедренной одежде русских крестьян Алтая и Восточного Казахстана // Проблемы реконструкций в этнографии.- Новосибирск, 1984
Фурсова Е.Ф. Женская погребальная одежда у русского населения Алтая Традиции и инновации в быту и культуре народов Сибири.-Новосибирск, 1983.
Фурсова Е.Ф. Поликовые рубахи крестьянок Южного Алтая второй половины XIX - начала XX вв. // Культурно-бытовые процессы у русских, Сибири ХУШ - начала XX вв. - Новосибирск, 1985.
Фурсова Е.Ф. Традиционная одежда русских крестьян – старожилов Верхнего Приобъя (конец XIX - начало XX вв.). – Новосибирск, 1997.
Фурсова Е.Ф. "Шуликаны" и нечистая сила в селах Западной Сибири Гуманитарные науки в Сибири. Серия археологии и этнографии.-1994.-N4. -С. 68-80.
Фурсова Е.Ф. "Целительные" свойства рубах русских крестьян // Изв. СО АН СССР. История, филология и философия,- 1992.- N 1
Шелегина О.Н. Очерки материальной культуры русских крестьян Западной Сибири. – Новосибирск, 1992.
Щербик Г.А. Коллекция крестьянской одежды в фондах Восточно-Казахстанского историко-краеведческого музея // Культурно-бытовые процессы у русских Сибири XVIII – начала ХХ вв.- Новосибирск, 1985.
Приложение 1
Наглядный материал к занятию «Способы и приемы завязывания шалей крестьянками Южного Алтая»

Приложение 2
Образцы орнаментов
|
|
|
||||||
|
|
|
|
|
|
|||
|
|
|
|
|
|
|||
|
|
|
|
|
|
|||
|
|
|
|
|
|
|||
|
|
|
|
|
|
|||
|
|
|
|
|
|
|||
|
|
|
||||||
|
|
|
|
|
|
|
|
||||||||||||||||
|
|
|
|
|
|
|
|
||||||||||||||||
|
|
|
|
|
|
|
|||||||||||||||||
|
|
|
|
|
|
|
|
|
|
||||||||||||||
|
|
|
|
|
|
|
|
|
|
||||||||||||||
|
|
|
|
|
|
|
|
|
|
|
|
||||||||||||
|
|
|
|
|
|
|
|
|
|
|
|
||||||||||||
|
|
|
|
|
|
|
|
|
|
|
|
||||||||||||
|
|
|
|
|
|
|
|
|
|
||||||||||||||
|
|
|
|
|
|
|
|
|
|
||||||||||||||
|
|
|
|
|
|
|
|||||||||||||||||
|
|
|
|
|
|
|
|
||||||||||||||||
|
|
|
|
|
|
|
|
Приложение 3
Орнамент для вышивки
Приложение 4
Карточки для самостоятельной работы
Сравни и дорисуй узоры. Как они называются?

Повтори узоры. Как они называются и каким цветом выполняются

Вставь недостающие узоры

4. Закончи рисунок так, чтобы правая сторона оказалась такой же, как левая, и раскрась

5. Два из этих животных одинаковые. Найди их и раскрась. Кого они напоминают


6. Этот узор был вышит на подоле женской рубахи 50 лет назад. Сравни его с орнаментальными узорами. Что в них общее? Чем отличается данная вышивка? Упрости узор и вышей его на платье для куклы

