Обучение учащихся VII-VIII классов при освоении технологических операций на токарно-винторезном станке
Размещено на http://www.
Факультет технологии и предпринимательства специальность 030600 «Технология и предпринимательство» Кафедра технологии обработки конструкционных материалов и общетехнических дисциплин
Квалификационная работа
на тему: «Обучение учащихся VII-VIII классов при освоении технологических операций на токарно-винторезном станке»
2008
Автореферат
Социально-экономические преобразования в стране, кризисные явления переходного периода в сфере материального производства и услуг обусловили необходимость кардинального переосмысления образовательных и воспитательных задач трудовой и профессиональной подготовки подрастающего поколения к эффективной творческой самореализации в новых условиях как цели его прогрессивного социального развития, обеспечения благосостояния государства и личности.
В современных условиях нужно готовить не просто профессионала, работника в сфере производства продукции или услуг, а ориентироваться на подготовку субъекта собственной жизнедеятельности. От уровня технологического состояния страны сегодня зависят не только ее экономическое благополучие и образ жизни населения, но и положение в мировом сообществе, возможности экономической и политической интеграции с другими странами.
При конструировании структуры процесса обучения учащихся изготовлению изделий на токарно-винторезных станках необходимо опираться на разработки М.Н. Скаткина, И.Я. Лернера, на интегративные результаты психолого-педагогических исследований, которые различной степенью глубины и достоверности раскрывают пути развития индивида, включенного в ту или иную интересную для него деятельность: развитие через включение в деятельность, самодеятельность (А.Н. Леонтьев), дифференциация обучения и развития (М. Старр), обучение приемам мыслительности (Л.Н. Лында), предрасположенности человека к той или иной деятельности, развитие через включение в проблемную ситуацию (А.М. Матюшкин). Исследованию различных сторон процесса развития личности посвящены работы П.Н. Андрианова, О.Н. Кордун, И.Ф. Карпенко, И.Г. Китаева, В.Д. Путилина, В.Ф. Шилова.
Таким образом, социальная и педагогическая значимость проблемы позволила определить тему нашей квалификационной работы: «Обучение учащихся VII-VIII классов при овладении технологических операций на токарно-винторезном станке».
Цель исследования: выявить, теоретически обосновать, спроектировать модель процесса обучения учащихся VII-VIII классов при освоении технологических операций на токарно-винторезном станке.
Объект исследования: процесс и результат обучения учащихся основной школы в образовательной области «Технология».
Предмет исследования: содержание, формы и методы обучения учащихся VII-VIII классов в процессе овладения технологическими операциями работы на токарно-винторезном станке.
Квалификационная работа состоит из введения, 2-х глав, заключения, списка литературы и приложения.
Во введении обосновывается актуальность выбранной темы работы, анализируется состояние проблемы в теории и практике, определяются объект, предмет, гипотеза, цель, задачи и методы исследования, практическая значимость исследования и положения, выносимые на защиту.
В первой главе «Теоретические основы обучения учащихся VII-VIII классов работе на токарно-винторезном станке в образовательной области «Технология» раскрыты вопросы, составляющие эмпирико-теоретические предпосылки исследования.
Во второй главе «Опытно-экспериментальная проверка модели процесса обучения учащихся VII-VIII классов при освоении технологических операций на токарно-винторезном станке» характеризуются методика и результаты констатирующего и формирующего эксперимента (раздельно по каждому виду) по обучению учащихся работе и безопасному обслуживанию токарно-винторезных станков.
В заключение квалификационной работы подводятся общие итоги исследования, делаются выводы.
В списке использованной литературы содержится библиографическое описание использованных источников.
Содержание
Введение
Глава 1. Теоретические основы обучения учащихся VII-VIII классов работе на токарно-винторезном станке в образовательной области «Технология»
1.1 Обучение учащихся VII-VIII классов при освоении технологических операций на токарно-винторезном станке как социально-педагогическая проблема
1.2 Анализ объема и содержания обучения учащихся в программах образовательной области «Технология»
1.3 Построение оптимальной модели процесса обучения учащихся VII-VIII классов при освоении технологических операций на токарно-винторезном станке
Глава 2. Опытно-экспериментальная проверка модели процесса обучения учащихся VII-VIII классов при освоении технологических операций на токарно-винторезном станке
2.1 Содержание, формы и методы обучения учащихся VII-VIII классов при освоении технологических операций на токарно-винторезном станке
2.2 Дидактическое обеспечение занятий по обучению учащихся VII-VIII классов работе на токарно-винторезных станках
2.3 Результаты экспериментальной проверки оптимальной модели обучения учащихся VII-VIII классов в процессе работы на токарно-винторезном станке
Заключение
Список использованной литературы
технологический обучение токарный винторезный станок
Введение
Актуальность темы квалификационной работы. Социально-экономические преобразования в стране, кризисные явления переходного периода в сфере материального производства и услуг обусловили необходимость кардинального переосмысления образовательных и воспитательных задач трудовой и профессиональной подготовки подрастающего поколения к эффективной творческой самореализации в новых условиях как цели его прогрессивного социального развития, обеспечения благосостояния государства и личности.
Для понимания происходящих процессов и их регулирования необходимо использование новых подходов, соответствующих нынешней социокультурной ситуации. Социально-экономическое и педагогическое развитие общества требует от подрастающего поколения готовности к работе на современном производстве. От сформированности у подрастающих поколений технологической культуры зависит как будущее самого производства, так и будущее государства.
Поэтому каждому человеку необходимо быть способным комплексно подходить к оценке результатов, выбору способов своей деятельности. Этому и призвана научить «Технология». Важность формирования у молодежи технологической культуры в настоящее время признается во всем мире. И в базисный учебный план общеобразовательных учебных заведений России, утвержденный Министерством образования, вошла новая образовательная область - «Технология». Сущность технологического образования заключается в овладении обучающимися технологической культурой, достигнутым уровнем преобразовательной деятельности в материальном и духовном производстве и сфере услуг. Основной целью технологического образования является подготовка молодежи к успешному и гармоничному функционированию в информационно и технологически насыщенном мире.
В современных условиях нужно готовить не просто профессионала, работника в сфере производства продукции или услуг, а ориентироваться на подготовку субъекта собственной жизнедеятельности. От уровня технологического состояния страны сегодня зависят не только ее экономическое благополучие и образ жизни населения, но и положение в мировом сообществе, возможности экономической и политической интеграции с другими странами.
Использование современных технологий определяется не столько развитием материальной базы промышленности, сколько духовно-нравственным состоянием общества, готовностью молодого поколения производить, усваивать и практически использовать новые знания, приборы, материалы и новые технологии. Овладение этой областью знаний способствует обретению технологической компетентности. Школьники осваивают разнообразные способы и средства преобразования материалов, энергии, информации с учетом экономической эффективности и возможных экологических последствий человеческой деятельности, приобретают обще трудовые умения и навыки, развивают творческие способности. В системе общего образования «технология» формирует у учащихся систему технологических знаний и умений, закладывающую основы для успешной созидательной и преобразовательной деятельности, внутреннюю потребность и уважительное отношение к процессу и результатам труда, формированию трудовой, графической, предпринимательской, экологической, информационной, этической, эстетической культур. Изучение «технологии» позволяет учащимся получить представления о широко распространенных способах преобразования материалов, энергии, информации, об отдельных видах декоративно-прикладного искусства, их художественных особенностях и традициях, освоить элементарные трудовые приемы, развить творческие способности в процессе разнообразных видов трудовой деятельности с доступными для обработки материалами.
Самое главное заключается в том, что «технология» знакомит учащихся с различными видами будущей трудовой деятельности, способствует их профессиональному самоопределению, выявлению и развитию творческих способностей.
Изучение этой образовательной области создает культурные и духовные предпосылки для сохранения и развития национальных традиций народов России, закладывает фундамент экономического развития страны. Современный научно-технический и социальный прогресс быстро, кардинально и неоднократно изменяет условия труда и содержание деятельности человека на протяжении всей его жизни. В этих обстоятельствах особое значение приобретает прогнозирование развития содержания и форм деятельности, включая и способности человека, с тем расчетом, чтобы все это учесть при определении содержания и форм учебного процесса в стенах общеобразовательной школы. Если иметь в виду не только развитие способностей в сфере профессиональной деятельности, но и всего спектра социальных способностей человека, его общекультурного, нравственного и эстетического воспитания, то становится очевидной глобальность социальной задачи разностороннего развития личности. И вот тут обнаруживается весьма ощутимый пробел общего образования, когда напрочь отсутствует технологическое образование как его составной компонент. Вряд ли можно в этом плане всерьез воспринимать характер изучения основ наук, трудовое и профессиональное обучение в школе в том его виде, в каком они существуют на сегодняшний день. Технология во всех ее проявлениях перестала быть только практическим применением науки.
Широкое и глубокое проникновение технологии во все сферы человеческой жизни и деятельности - от медицины до сельского хозяйства, от досуга до управления, от биологии до связи и т.д. - обязывает подрастающее поколение иметь, как минимум, базовые понятия и знания технологии, являющейся частью культуры современного общества. Технологическая подготовка учащихся позволит им более гармонично сосуществовать в информационно и технологически насыщенном обществе, лучше и заботливее использовать дары окружающего мира, глубоко познать его и эффективнее реализовать свой интеллектуальный потенциал.
Технологическое образование необходимо развивать как в ширину - обогащение соответствующими знаниями и умениями учащихся, так и в глубину - вооружение их концептуальными знаниями в технологических областях для тех, кто выберет технологию в качестве своей основной специальности. Такая возможность предоставляется и за счет введения в общеобразовательной школе курса «Технология» и использования так называемого «свободного технологического пространства» в процессе внеклассной и внешкольной трудовой деятельности. Внедрение курса «Технология» в систему образования дает возможность перейти от традиционного аккумулирования знаний к необходимому умению осмысленно применять и реализовывать эти знания и умения в творческой и преобразовательной продуктивной деятельности в интересах общества.
Исходя их указанных требований, анализ проблем, стоящих перед современным производством и процессом подготовки к работе в этих условиях рабочих, сегодняшних школьников вскрыл основные качества личности, необходимые современному рабочему. Это профессиональная мобильность и самостоятельность, которые обеспечиваются и подкрепляются наличием политехнических и специальных знаний, а также предельным уровнем продуктивного технического мышления, ответственного за практическое воплощение имеющихся знаний в умения. Тенденция объединения трудовых функций и сближение труда рабочего с трудом инженерно-технического работника требуют от производственника глубокого осмысленного знания техники и осуществляемых на этой основе умственных действий, анализа, планирования, конструирования, контроля, коррекции.
Из анализа труда современного рабочего вытекает, что необходимо знать современную технику, в которую входят станки с ЧПУ, знание ПЭВМ, робототехника, современные технологические линии с автоматизированными процессами. Отсюда ясно, что основу действий рабочего составляет решение производственно-технических задач, предполагающих высокий уровень технической грамотности.
Исследование показало, что под технической грамотностью понимается формирование у учащихся знаний, умений, навыков, позволяющих им свободно ориентироваться в различных видах технической документации: чертежах, схемах и др., самостоятельно разрабатывать или модернизировать имеющиеся конструкции, искать пути рационального использования конструкционных материалов, ориентироваться в возможных заменах материалов и деталей, не ухудшая качества, разрабатываемой конструкции.
Кроме того, задача обучения состоит в том, чтобы раскрыть научные основы, суть производственных процессов, теоретически обосновать разнообразие производственных операций, уяснить устройство, принцип действия и способ использования соответствующих орудий труда.
Другими словами, теоретические знания должны строиться на широком использовании знаний учащихся в области основ наук, поскольку закономерности, изучаемые в курсах физики, химии и математики составляют теоретическую основу технических и технологических процессов обработки материалов и создания новых конструкций.
В ходе изучения курса "Технология" для мальчиков все более очевидной становится техническая грамотность, включающая знакомство со структурой и перспективой развития черной и цветной металлургии, химической, деревообрабатывающей, нефтехимической и другими отраслями промышленности; перспективными материалами, способами их использования и методами обработки; начальное изучение машин, механизмов и деталей машин и механизмов, как основе конструкторской и технологической деятельности.
Таким образом, при конструировании структуры процесса обучения учащихся в образовательной области «Технология» и, в частности, выполнению технологических операций на токарно-винторезных станках необходимо опираться на разработки М.Н. Скаткина, И.Я. Лернера, на интегративные результаты психолого-педагогических исследований, которые различной степенью глубины и достоверности раскрывают пути развития индивида, включенного в ту или иную интересную для него деятельность: развитие через включение в деятельность, самодеятельность (А.Н. Леонтьев), дифференциация обучения и развития (М. Старр), обучение приемам мыслительности (Л.Н. Лында), предрасположенности человека к той или иной деятельности, развитие через включение в проблемную ситуацию (А.М. Матюшкин). Исследованию различных сторон процесса развития личности посвящены работы П.Н.Андрианова, О.Н. Кордун, И.Ф. Карпенко, И.Г. Китаева, В.Д. Путилина, В.Ф. Шилова.
Однако, несмотря на достаточно большое количество работ, посвященных различным аспектам использования современных образовательных технологий в процессе обучения учащихся в образовательной области «Технология», эта проблема до сих пор остается сложной и многоаспектной. Таким образом, социальная и педагогическая значимость проблемы позволила определить тему нашей квалификационной работы: «Обучение учащихся VII-VIII классов при освоении технологических операций на токарно-винторезном станке».
Цель исследования: выявить, теоретически обосновать, спроектировать модель процесса обучения учащихся VII-VIII классов при освоении технологических операций на токарно-винторезном станке.
Объект исследования: процесс и результат обучения учащихся основной школы в образовательной области «Технология».
Предмет исследования: содержание, формы и методы обучения учащихся VII-VIII классов в процессе овладения технологическими операциями работы на токарно-винторезном станке.
Гипотеза исследования: спроектированная модель процесса обучения учащихся VII-VIII классов при освоении технологии обработки металла на токарно-винторезном станке будет эффективна, если:
- будут раскрыты теоретические основы обучения учащихся технологии обработки металла на токарно-винторезном станке;
- проведен анализ объема и содержания обучения учащихся VII-VIII классов в программах образовательной области «Технология»;
- будет спроектирована оптимальная модель процесса обучения учащихся VII-VIII классов при освоении технологических операций на токарно-винторезном станке;
- будут обоснованы, разработаны содержание, формы и методы обучения учащихся в процессе обработки металла на токарно-винторезном станке;
- будут получены положительные результаты опытно-экспериментальной проверки оптимальной модели процесса обучения учащихся работе на токарно-винторезном станке.
Задачи квалификационной работы:
Раскрыть теоретические основы обучения учащихся VII-VIII классов работе на токарно-винторезном станке в образовательной области «Технология».
Провести анализ объема и содержание обучения в образовательной области «Технология» и раскрыть методические возможности обучения учащихся VII-VIII классов технологическим операциям при работе на токарно-винторезном станке.
Спроектировать оптимальную модель процесса обучения учащихся VII-VIII классов при освоении технологических операций на токарно-винторезном станке.
Разработать содержание, формы и методы обучения учащихся VII-VIII классов работе на токарно-винторезном станке.
Апробировать разработанную модель процесса обучения учащихся VII-VIII классов в образовательной области «Технология».
Методической и теоретической основой исследования являются: диалектико-материалистический, историко-аналитический, теоретический и системно-деятельный подход к формированию и развитию гармоничной личности, философские учения о связи теории с практикой, роли трудового обучения, производительного труда в ее становлении как социального субъекта; фундаментальные исследования ведущих отечественных ученых - дидактов, педагогические теории и концепции известных педагогов в области подготовки учащихся к трудовой, производительной деятельности.
Квалификационная работа проводилась при помощи следующих методов исследования: изучение научных трудов и документов по теме исследования; теоретический анализ и синтез процесса обучения конструированию; изучение, анализ и обобщение педагогического опыта в обучении конструированию на занятиях в школьных мастерских; анализ содержания трудового обучения в сельских школах; организации и руководства производительным трудом учащихся; педагогический эксперимент (констатирующий и формирующий), в процессе которого использовалось наблюдение, беседа, анкетирование и статистическая обработка материала.
Экспериментальной базой квалификационной работы по проверке спроектированной модели процесса обучения учащихся VII-VIII классов работе на токарно-винторезном станке является СОШ №5 п. Октябрьского Красноармейского района Краснодарского края.
В педагогическом эксперименте принимали участие д.п.н., профессор Щеколдин А.Г., д.п.н., профессор Заречная Л.П., к.т.н., доцент Зиновьев А.И., к.п.н., доцент Радченко Н.В., к.эк.н., доцент Махненко А.Я., к.п.н., доцент Заречный А.В., старший преподаватель Ильиных А.П., директор СОШ №5 - Максименко Нелли Павловна, заместители директора по учебной и воспитательной работе, учитель технологии - Мищенко Андрей Эдуардович, студент факультета технологии и предпринимательства Лукьянченко Д.А., учащиеся VIII «А» класса – 12 мальчиков. Всего в эксперименте приняло участие 29 человек.
Практическая значимость исследования состоит в разработке, обосновании, экспериментальной проверке и внедрении в практику общеобразовательной школы модели процесса обучения учащихся VII-VIII классов технологии обработки металлов на токарно-винторезном станке.
Положения, выносимые на защиту:
Теоретические основы обучения учащихся основной школы выполнению технологических операций на токарно-винторезном станке в слесарных мастерских;
Анализ объема и содержания обучения учащихся в программах образовательной области «Технология»;
Оптимальная модель процесса обучения учащихся VII-VIII классов при освоении технологических операций на токарно-винторезном станке;
Положительные результаты опытно-экспериментальной проверки спроектированной модели процесса обучения учащихся изготовлению изделий на токарно-винторезном станке.
Квалификационная работа состоит из введения, II-х глав, заключения, списка литературы и приложения.
Глава 1. Теоретические основы обучения учащихся VII-VIII классов работе на токарно-винторезном станке в образовательной области «Технология»
1.1 Обучение учащихся VII-VIII классов при освоении технологических операций на токарно-винторезном станке как социально-педагогическая проблема
Важнейшей чертой современного производства является все более широкое внедрение гибких, перестраиваемых систем, робототехнических комплексов, что ведет к увеличению творческого начала, когда все шаблонное передается технике, а функция человека перестраивается на разработку и переналадку оборудования для выпуска новой, оригинальной, пользующейся спросом продукции. Отсюда ясно, что возрастающий приоритет в промышленном производстве приобретают рабочие широкого профиля (наладчики, операторы, ремонтники и др.). Это требует новых подходов к содержанию и методам трудовой и политехнической подготовки учащихся. В настоящее время выпускник школы должен быть конкурентоспособным, как для продолжения образования, так и для нахождения своего места в трудовой деятельности.
Исходя их указанных требований, анализ проблем, стоящих перед современным производством и процессом подготовки к работе в этих условиях рабочих, сегодняшних школьников вскрыл основные качества личности, необходимые современному рабочему. Это профессиональная мобильность и самостоятельность, которые обеспечиваются и подкрепляются наличием политехнических и специальных знаний, а также предельным уровнем продуктивного технического мышления, ответственного за практическое воплощение имеющихся знаний в умения. Тенденция объединения трудовых функций и сближение труда рабочего с трудом инженерно-технического работника требуют от производственника глубокого осмысленного знания техники и осуществляемых на этой основе умственных действий, анализа, планирования, конструирования, контроля, коррекции.
Из анализа труда современного рабочего вытекает, что необходимо знать современную технику, в которую входят станки с ЧПУ, знание ПЭВМ, робототехника, современные технологические линии с автоматизированными процессами. Отсюда ясно, что основу действий рабочего составляет решение производственно-технических задач, предполагающих высокий уровень технической грамотности.
Исследование показало, что под технической грамотностью понимается формирование у учащихся знаний, умений, навыков, позволяющих им свободно ориентироваться в различных видах технической документации: чертежах, схемах и др., самостоятельно разрабатывать или модернизировать имеющиеся конструкции, искать пути рационального использования конструкционных материалов, ориентироваться в возможных заменах материалов и деталей, не ухудшая качества, разрабатываемой конструкции.
Проблема построения процесса обучения и развития в нем личности была и остается одной из стержневых проблем педагогики. На различных исторических этапах ее решение менялось, что обусловлено сменой методологических установок, появлением новых трактовок понимания, сущности развития личности и самого процесса обучения, переосмыслением роли последнего в этом развитии. В основу педагогической деятельности отечественной общеобразовательной школы заложена концепция формирования всесторонне и гармонично развитой творческой личности. Рыночная экономика предъявляет дополнительные требования к обще трудовым и профессиональным качествам работника. Поэтому неоспоримые преимущества получат те из них, кто с детства приучен добросовестно, трудиться, и обладает для этого необходимыми знаниями, умениями и навыками. Причем, и это очень существенно, речь идет не о подготовке школьников к конкретной профессии (это было главной задачей трудового обучения недавнего прошлого), а о формировании личности, готовой правильно осуществить выбор профессии, осознать значение мобильности профессиональных функций.
Образовательная область «Технология» заняла в новом учебном плане отечественной школы место, которое раньше отводилось предмету «Трудовое обучение». Но это не простая подмена, подретушированная некоторыми изменениями. Главная суть преобразования - в объективных требованиях, обусловливающих необходимость разработки новых подходов к трудовой и технологической подготовке молодежи. Эти объективные требования вызваны изменениями в мировом общественном производстве в связи с появлением новых технологий во всех сферах деятельности человека. Высокие технологии в промышленности, принципиально новые подходы к сельхозпроизводству, появление информационного мира резко меняют функции человека. Главными в современном производстве становятся работа с новой информацией, черпаемой из единого мирового информационного пространства, и творческие решения постоянно возникающих производственных задач. Сегодня, очевидно, что лидерами мирового развития становятся страны, поставившие целью и способные обеспечить высокий уровень образованности своего народа, гуманитарной, естественной и технологической культуры молодежи, ведущую роль науки как созидательной силы общества. По существу, в обеспечении национальной безопасности ключевая роль отводится образовательной системе как основе решения глобальных проблем, стоящих перед современной цивилизацией: экологией, энергетикой, информацией, развитием межнациональных отношений.
Само понятие «технология», введенное в название нового учебного предмета, несет совершенно иное содержание, чем прежде (представление о способах получения и преобразования сырья, материалов и т.д.). Современное применение понятия «технология» охватывает как материальный, так и социальный, духовный аспекты человеческой деятельности, тесно взаимосвязанные между собой. Авторы «Концепции формирования технологической культуры молодежи в общеобразовательной школе» (П.Р. Атутов, О.А. Кожина, В.П. Овечкин, В.Д. Симоненко, Ю.Л. Хотунцев) определяют технологию как область знаний, методов и средств, используемых для оптимального преобразования и применения материи (материалов), энергии и информации по плану и в интересах человека, общества, окружающей среды. Изучение средств и методов этих преобразований направлено, в конечном счете, на развитие личности, ее преобразующего мышления.
«Технология» органично вписывается в образование человека XXI в., так как концепция этой дисциплины прочно связана с современной парадигмой образования, непосредственно вытекает из нее. Процесс технологизации, начавшийся в середине XIX в., принял сегодня поистине глобальные масштабы. Это вызвано все большим усложнением производственных, экономических и социальных процессов, широким разделением труда, борьбой производителей за высокое качество продукции, ее конкурентоспособность на внутреннем и внешнем рынках.
Человечество подошло к черте, когда деятельность оценивается, прежде всего, по ее социальным, экологическим, экономическим и другим последствиям. Для подобных комплексных подходов к выбору способа деятельности, для реализации именно такого, а не прежнего технократического решения требуется иная идеология, другой взгляд на порядок вещей, если угодно отличающееся мышление. Вот почему, не отвергая в принципе той базы, которую создала на основе политехнического принципа прежняя система трудовой подготовки, образовательная область «Технология» вносит целый ряд принципиальных новаций. При этом включение учащихся в процессы проектирования, конструктирования и моделирования, реализации проекта с последующей оценкой достигнутого результата деятельности становится обязательным фактором взаимодействия учителя и учеников. Проектно-творческий метод следует рассматривать как основной связующий элемент программы, ее сердцевину.
Технология в широком смысле понимается как преобразующая деятельность человека, а не только как труд, связанный с материальным производством. Содержанием этой деятельности является интегрированный из различных наук массив знаний, которым должны овладеть школьники.
Введение «Технологии» в школьный курс, как в начальной, так и на последующих ступенях обучения, позволит решить проблему технологического образования - подготовить личность, приспособленную к технологизированному обществу и его социально-экономическим условиям.
Таким образом, формирование технологической культуры предполагает сознательное овладение системой методов и средств преобразовательной деятельности по созданию материальных и духовных ценностей. Оно предусматривает изучение современных и перспективных энерго - и материало-сберегающих, безотходных технологий преобразования материалов, энергии и информации в сферах производства и услуг с использованием ЭВМ, учет социальных и экологических последствий применения принятой технологии, использование психологии общения и культуры человеческих отношений в повседневной деятельности, определение потребностей в конкретной продукции и возможностей ее реализации. Тогда понятие «подготовка школьников к будущей самостоятельной трудовой жизни» приобретает требуемое наполнение и становится ясной стратегия единого образовательного пространства, ее нацеленность.
Вместе с тем при ясном видении целей, к которым стремишься, легче найти путь их достижения.
Во-первых, представляется, что занятия в школьных мастерских, при всем различии возможностей школьной базы и современного производства, должны приучать детей к умению делать выводы по аналогии, на основе анализа и синтеза полученных знаний. Надо утвердить школьников в понимании того, что в последнее десятилетие спрос на неквалифицированный и малоквалифицированный труд резко упал. В самостоятельной жизни твердо стоят на ногах и уверенно себя чувствуют только профессионально подготовленные люди.
Во-вторых, на занятиях по технологии важно подводить школьников к мысли, что только добросовестная работа, со строжайшим соблюдением технологических требований, будет пользоваться спросом, создавать устойчивую репутацию изготовителю. Мы сможем преодолеть отставание в конкурентоспособности нашей продукции лишь при воспитании технологической культуры у подрастающего поколения.
В-третьих, школьники должны постигнуть новую для них ответственность перед самими собой, ответственность за собственное будущее. Возможно, учитель, ограниченный возможностями базы обучения, привязанный к устаревшей технике, знакомящий детей с первоначальными умениями и навыками по технологии, захочет найти для себя в этом «оправдание», если не поймет своего предназначения. Оно представляется в развитии интеллекта у будущего члена общества, привитии ему привычки и потребности к самообразованию, выработке уже в школе установки на активную жизненную позицию. Эти цели можно и должно достигать при любой трудовой деятельности. Если эти качества сформированы при работе на универсальном токарном станке в школе, они проявятся еще более значительно, когда их обладатель станет управлять оборудованием с числовым программным управлением на производстве.
Учебной программой уделяется большое внимание обучению учащихся станочным операциям и общим сведениям о машине. Это не случайно. Во-первых, одна из главных задач трудового обучения в школе состоит в том, чтобы дать учащимся правильное представление о характере современного общественного производства и о путях его дальнейшего развития. Наиболее показательным в этом отношении является замена ручного труда механизированным и автоматизированным. Поэтому было бы недопустимым ограничиться в трудовом обучении ознакомлением учащихся только с ручными видами работ.
Во-вторых, опрос учащихся показывает, что многие школьники на основании жизненного опыта имеют представления о машине, механизме, детали. Это свидетельствует о том, что сама жизнь требует ознакомления учащихся IV—VIII классов с элементами машиноведения на научной основе, что важно для политехнического образования.
В-третьих, в IX классе учителю значительно легче будет обеспечить формирование новых понятий, если он сможет опереться на знания учащихся об устройстве какой-либо конкретной машины, приобретенные в восьмилетней школе.
При обучении учащихся станочным операциям и при ознакомлении с общими сведениями о машине перед учителем труда, кроме общих учебно-воспитательных задач трудового обучения, ставятся следующие основные задачи:
Раскрыть преимущества машинного труда по сравнению с ручной работой.
Познакомить с общим устройством сверлильного и токарного станков для обработки древесины и металлов и дать на этой основе представление о технологической машине.
Сформировать основные машиноведческие понятия о детали, механизме, машине. Дать представление о классификации машин.
Обучить работе на деревообрабатывающих и металлорежущих станках. Дать представление об обработке материалов снятием стружки.
Познакомить на базе деревообрабатывающих и металлорежущих станков с типовыми деталями машин, видами их соединений и механизмов.
Познакомить с процессом разборки и сборки машин и их узлов.
Познакомить с процессом развития орудий труда.
Ознакомить с принципом действия и устройства двигателя внутреннего сгорания.
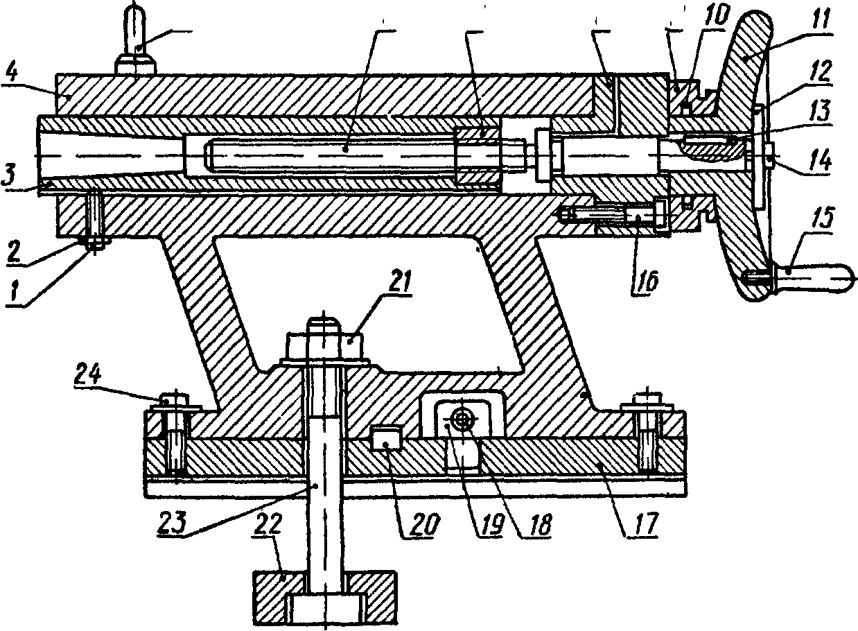
Устройство и классификация станков:

Рисунок 1. Сборочные единицы (узлы) и механизмы токарно-винторезного станка.
1 - передняя бабка, 2 - суппорт, 3 - задняя бабка, 4 - станина, 5 и 9 - тумбы, 6 - фартук, 7 - ходовой винт, 8 - ходовой валик, 10 - коробка подач, 11 - гитары сменных шестерен, 12 – электро - пусковая аппаратура, 13 - коробка скоростей, 14 – шпиндель.
Токарно-винторезные станки предназначены для обработки, включая нарезание резьбы, единичных деталей и малых групп деталей. Однако бывают станки без ходового винта. На таких станках можно выполнять все виды токарных работ, кроме нарезания резьбы резцом.
Техническими параметрами, по которым классифицируют токарно-винторезные станки, являются наибольший диаметр D обрабатываемой заготовки (детали) или высота Центров над станиной (равная 0,5 D), наибольшая длина L обрабатываемой заготовки (детали) и масса станка. Ряд наибольших диаметров обработки для токарно-винторезных станков имеет вид: D = 100, 125, 160, 200, 250, 320, 400, 500, 630, 800, 1000, 1250, 1600, 2000 и далее до 4000мм.
Наибольшая длина L обрабатываемой детали определяется расстоянием между центрами станка. Выпускаемые станки при одном и том же значении D могут иметь различные значения L. По массе токарные станки делятся на легкие - до 500кг (D=100-200 мм), средние - до 4 т (D=250-500мм), крупные - до 15 т (D=630-1250мм) и тяжелые - до 400 т (D=1600-4000мм).
Легкие токарные станки применяются в инструментальном производстве, приборостроении, часовой промышленности, в экспериментальных и опытных цехах предприятий. Эти станки выпускаются как с механической подачей, так и без нее.
На средних станках производится 70-80% общего объема токарных работ. Эти станки предназначены для чистовой и получистовой обработки, а также для нарезания резьбы разных типов и характеризуются высокой жесткостью, достаточной мощностью и широким диапазоном частот вращения шпинделя и подач инструмента, что позволяет обрабатывать детали на экономичных режимах с применением современных прогрессивных инструментов из твердых сплавов и сверхтвердых материалов. Средние станки оснащаются различными приспособлениями, расширяющими их технологические возможности, облегчающими труд рабочего и позволяющими повысить качество обработки, и имеют достаточно высокий уровень автоматизации.
Крупные и тяжелые токарные станки применяются в основном в тяжелом и энергетическом машиностроении, а также в других отраслях для обработки валков прокатных станов, железнодорожных колесных пар, роторов турбин и др. Все сборочные единицы (узлы) и механизмы токарно-винторезных станков имеют одинаковое название, назначение и расположение.
Весь упор в работе делается на развитие познавательных и творческих способностей личности учащихся. Нигде не сказано: научить строгать или пилить, допустим, деревянную планку, или научить точить болты (хотя эти элементы и присутствуют). Побуждая учеников сознательно и творчески разрабатывать новые изделия, мы явственно увидим ту разницу, которая пока плохо воспринимается будущими учителями при произнесении слов «деятельность продуктивного или репродуктивного характера».
Накопленный опыт преподавания технологии в российской школе позволяет констатировать: при правильно поставленных задачах повышается качество образования, развиваются качества личности, логическое мышление, умение планировать, инициатива, видение перспективы, поиск и обработка информации, овладение коммуникативными навыками (техническая графика, грамотная речь), складывается достоверное представление о производстве, экономике и предпринимательстве - через практическую работу, ориентированную на проблемный метод обучения. Волей судьбы на плечи учителей школы сегодня возложена историческая ответственность за будущее нашей страны, ибо подготовка поколения, вступающего в жизнь в XXI веке, будет доверена им.
Учитель технологии должен понимать: именно он отвечает за то, как реализуется творческий потенциал, которым обладает, в принципе, каждый его ученик, и как будет сформирована психологическая и практическая готовность к активной самостоятельной творческой деятельности.
При рыночных отношениях общеобразовательная школа не должна обязательно давать своим воспитанникам профессию, но должна формировать личность, готовую правильно осуществить выбор профессии, осознать значение мобильности профессиональных функций в условиях научно-технического прогресса и конкурентной борьбы. Успешность формирования такой личности определяется не столько содержанием трудового обучения, сколько его направленностью, подчиненностью определенным задачам, установленным приоритетам.
Таким образом, задачи современного образования требуют, чтобы учащиеся имели общие понятия о машине, детали, механизме и т. п. На базе этих понятий можно систематизировать знания учащихся по машиноведению.
Такой подход позволяет расширить или совмещать различные виды деятельности, формировать у школьников комплексные технические знания, умения и навыки работы на различных станках, вырабатывать у них широкую подвижность трудовых функций.
Совмещение различных видов деятельности в рамках одной профессии, считают ученые-педагоги (С.Я. Батышев, B.C. Безрукова, и др.), расширяет спектр применяемых знаний, в него входят все новые и новые элементы. В силу своей многоплановости практико-познавательные взаимодействия с техникой требуют комплексного применения знаний, причем в ряде случаев учащимся приходится применять комплексно и в различных сочетаниях уже ранее интегрированные знания.
Поэтому, для того чтобы подготовить школьников к мобильному переключению на новую технику и технологию, к быстрой адаптации к новым условиям труда нужны структуры познавательной деятельности, сохраняющие определенную инвариантность в знаниях о предметном содержании труда, о способах и приемах анализа технических объектов. Подобные структуры познавательной деятельности по своей природе имеют политехнический характер и закрепляются в опыте поисковой деятельности учащихся в процессе изучения на принципах общности механизмов.
Методические проблемы обучения школьников VII классов устройству и выполнению различных технологических операций на токарно-винторезных станках на принципах преемственности знаний и умений связаны с обучением школьников выявлению общности на основе системного политехнического анализа станков.
Наиболее удобным приемом формирования комплексных технических знаний и умений учащихся представляется составление кинематических схем сравниваемых технических объектов, выявления как осуществляется передача движения, устройств и работа каждого механизма, его роль в обработке детали, что общего со сравниваемым другим станком, предназначенным для обработки металлолом и т.д.
У. Эшби и другие ученые считают, что изучение технических объектов на примере общности механизмов требует создания упрощенной, а вернее обобщенной модели позволяющей найти общие характеристики в конструкции и действии сравниваемого оборудования.
Также анализ педагогической практики, работ, посвященных общим и частным методам обучения (А.Н. Алексюк, Ю.К. Бабанский, Д.В. Вилькеев, И.Я. Лернер, М.И. Махмутов и др.) и проблемам политехнического образования (П.Р. Атутов, С.Я. Батышев, Ю.К. Васильев, В.Г. Зубов, П.И. Ставский), приводит к выводу, что политехническая подготовка в образовательной области «Технология» должна обеспечиваться специфическим набором методов.
Для разработки и проектирования оптимальной модели процесса обучения учащихся VII-VIII классов при овладении технологическими операциями на токарно-винторезных станках необходимо выполнить анализ содержания данного образовательного модулю программ образовательной области «Технология» и выявить основные методические приемы оптимального построения учебного процесса.
1.2 Анализ объема и содержания обучения учащихся в программах образовательной области «Технология»
Образовательная область «Технология» является одной из содержательных областей учебного плана общеобразовательных учреждений. Ее введение обусловлено объективно существующей в обществе потребностью в трудовом становлении подрастающего поколения. Она имеет особое значение для полноценного развития личности обучающихся, призвана привить им трудолюбие, ввести в мир созидательного труда.
Основная психолого-педагогическая цель реализации в учебном процессе образовательной области «Технология» – профессиональное самоопределение молодежи, то есть формирование отношения личности к себе как к субъекту будущей профессиональной деятельности, что позволит подготовить человека в будущем к перемене профессии, адаптации к жизни и профессиональной деятельности в условиях рыночной экономики.
«Для того чтобы раскрыть конкретные механизмы развития и осуществления индивидуальности личности в системе общественных отношений необходимо выделить система образующие основания этих многочисленных систем».
Такими подсистемами, в частности являются политехническая и трудовая подготовка, которые обеспечивают соответствующее политехническое образование. В концепции функциональной природы политехнических знаний Атутов П.Р. обосновывает то, что одним из основных факторов развития личности учащегося выступает политехническое образование, а политехническая подготовка действенное средство ее формирования.
Политехническая подготовка, предусматривая теоретическое и практическое овладение общими научными основами и объектами современной техники, обогащает сферу общественных отношений школьников, средств их деятельности и нормы сознательного поведения. Это оказывает существенное влияние на процесс становления учащихся.
Область «Технология» обеспечивает формирование политехнических и обще трудовых знаний и умений в области технологии, экономики, организации и экологии современного производства, представления о перспективах его развития, о мире профессий, об основах предпринимательства, о ведении домашнего хозяйства; воспитывает общественно ценные мотивы выбора профессии и трудолюбие, вооружает опытом самостоятельной практической деятельности; содействует развитию технологического мышления, творческого отношения к действительности, стремления к созиданию, проявлению индивидуальности у каждого обучающегося.
Предмет нашего исследования обуславливает необходимость провести анализ программного содержания обучения учащихся сельской школ с целью выявления исходных предпосылок выработки практических умений и навыков в процессе работы на токарно-винторезных станках. Нами не случайно делается акцент на содержании образования сельских школ, так как опытно-экспериментальная проверка методики, проводимая нами в период педагогических практик, была реализована в сельской школе и поэтому вся исследовательская работа построена на материале сельской школы. В виду того, что основными нормативными документами организации обучения учащихся в образовательной области «Технология» является учебные планы и программы, проанализируем программу «Трудовое обучение для сельских школ. Технология» 1998 года, составленная под руководством д.п.н., профессора В.Д. Симоненко. Данные для анализа представлены в таблице №1.
Таблица № 1. Тематическое планирование V-XI классы.
|
V класс |
|||
|
№ |
Подразделы и темы |
Количество учебных часов |
|
|
подраздел |
Тема |
||
|
Технология обработки древесины (изготовление изделий из древесины налаженными инструментами и на налаженном оборудовании) |
|||
Вводное занятие |
2 |
||
|
Сведения по материаловедению. Элементы графической грамоты. |
2 |
||
|
Разметка, строгание и пиление |
4 |
||
|
Сверление отверстий. Изготовление изделий из древесины |
2 |
||
|
Отделка деталей и их подготовка к сборке |
2 |
||
|
Сборка и отделка изделия |
4 |
||
Итого |
16 |
||
|
Элементы машиноведения |
|||
|
Сведения по истории развития технике. Понятие об изделии и детали. |
2 |
||
|
Устройство и управление сверлильным станком |
2 |
||
Итого |
4 |
||
|
VI класс |
|||
|
Вводное занятие |
2 |
2 |
|
Элементы машиноведения |
4 |
4 |
|
Технология обработки древесины |
|||
Работа на токарном станке по дереву |
4 |
||
|
Изготовление изделий из древесины с наладкой инструментов и приспособлений |
4 |
||
|
Технология изготовления деталей, включающих шиповые соединения |
6 |
||
|
Итого |
14 |
||
|
VII класс |
|||
Технология обработки древесины |
|||
|
Технология токарной обработки древесины (продолжение) |
4 |
||
|
Разработка конструкций изделия и технологии изготовления его деталей |
2 |
||
|
Изготовление деталей изделия из древесины с элементами художественной отделки |
4 |
||
|
Сборка и его отделка |
2 |
||
|
Итого |
12 |
||
|
Элементы машиноведения |
|||
|
Общность механизмов различных станков. Устройство токарно – винторезного станка |
2 |
||
|
Устройство и принцип действия настольного горизонтально –фрезерного станка |
2 |
||
|
Итого |
4 |
||
|
Художественная обработка материалов. Художественная обработка древесины |
|||
|
Столярня подготовка поверхности древесины к отделки |
2 |
||
|
Отделка древесины лакокрасочными материалами |
2 |
||
|
Выжигание |
2 |
||
|
Резьба по дереву |
4 |
||
|
Мозаика по дереву |
4 |
||
|
Общие основы художественного конструирования |
4 |
||
|
Орнамент и узор |
2 |
||
Итого |
20 |
||
Художественная обработка металла (вариативная часть) |
|||
Вводное занятие |
1 |
||
Металлопластика |
4 |
||
Пропильной металл |
4 |
||
Изделия из проволоки |
5 |
||
Чеканка на резиновой подкладке |
6 |
||
Итого |
20 |
||
|
VIII класс |
|||
Графика |
|||
Введение |
2 |
||
Техника черчения и правила выполнения чертежей |
10 |
||
Формы и формообразование |
4 |
||
Метод проецирования. Ортогональное проецирование и комплексные чертежи. Эскизы предметов |
7 |
||
Развертки поверхностей, ограничивающих геометрические тела и предметы простых формирование |
2 |
||
Перспектива и аксонометрия |
5 |
||
Технический рисунок |
4 |
||
Элементы графического дизайна |
- |
||
Итого |
34 |
||
|
IX класс |
|||
Профессиональное самоопределение |
|||
Внутренний мир человека и система представлений о себе |
2 |
||
Профессиональные интересы и склонности |
2 |
||
Способности, условия их проявления и развития |
2 |
||
Природные свойства нервной системы |
2 |
||
Психические процессы и их роль в профессиональной деятельности |
2 |
||
Мотивы, ценностные ориентации и их роль в профессиональном самоопределении |
2 |
||
Профессиональные и жизненные планы. Профессиональная пригодность |
2 |
||
Здоровье и выбор профессии |
2 |
||
Отрасли общественного производства. Профессии, специальности, должности |
2 |
||
Профессиональная проба |
2 |
||
Итого |
20 |
||
Проект |
16 |
||
|
Графика |
|||
Повторение сведений о техническом рисунке и комплексных чертежах |
1 |
||
Пересечение простейших геометрических образов. Сечения |
4 |
||
Разрезы |
4 |
||
Расширение сведений об изображениях |
2 |
||
Чертежи типовых деталей и их соединений |
5 |
||
Чертеж общего вида. Сборочный чертеж |
8 |
||
Схемы, графики, диаграммы |
3 |
||
Архитектурно – строительные чертежи |
4 |
||
Расширение сведений о графике |
- |
||
Контрольная работа |
1 |
||
Обзор разновидностей графических изображений и особенности их применения в жизни человека и его профессиональной деятельности |
1 |
||
Выставка и обсуждение творческих работ – проектов учащихся по графике |
1 |
||
Итого |
34 |
||
|
X класс |
|||
Техническое творчество |
|||
Человек и техника |
2 |
||
Устройство (морфология) техники |
4 |
||
Техническое творчество как вид технологии |
10 |
||
Технология изготовления объектов техники |
4 |
||
Итого |
20 |
||
Введение в художественное конструирование |
|||
Развитие материальной культуры и прикладного искусства |
2 |
||
Зарождение и становление дизайна |
1 |
||
Дизайн в России. |
2 |
||
Формообразование |
2 |
||
Практическая работа |
2 |
||
Композиция |
2 |
||
Практическая работа |
4 |
||
Цвет |
1 |
||
Практическая работа |
4 |
||
Итого |
20 |
||
Проект |
16 |
||
|
XI класс |
|||
Производство и окружающая среда |
|||
Биологические основы экологии |
2 |
||
Научно – техническая революция второй половины XX века |
2 |
||
Глобальные проблемы человечества |
2 |
||
Энергетика и экология |
2 |
||
Загрязнение атмосферы |
2 |
||
Загрязнение гидросферы |
2 |
||
Уничтожение лесов и химизация сельского хозяйства |
2 |
||
Природоохранная деятельность |
2 |
||
Экологическое мышление и экологическая мораль |
2 |
||
Итого |
18 |
||
Техническое творчество. Основы проектирования изделий |
|||
Последовательность проектирования |
3 |
||
Информационная база технического творчества |
3 |
||
Основы изобретательской деятельности |
6 |
||
Выбор темы проекта и проведение экспериментов |
8 |
||
Итого |
20 |
||
|
Введение в художественное конструирование |
|||
Последовательность выполнения проекта |
2 |
||
Техника выполнения проектной графики |
2 |
||
Практическая работа |
4 |
||
Объемное проектирование (макетирование) |
2 |
||
Практическая работа |
10 |
||
Итого |
20 |
||
Проект |
16 |
Анализ данных таблицы №1 показал, что на протяжении V-VII классов ученики изучают 5 разделов работ: «Технология работ в крестьянском хозяйстве», «Техника в крестьянском хозяйстве», «Электротехнические устройства в быту», «Технология обработки конструкционных материалов с элементами машиноведения», «Творческий проект».
При этом бюджет времени для освоения раздела «Техники в крестьянском хозяйстве» увеличился на 2 часа по сравнению V-го класса с последующими классами, тогда как на изучение раздела «Электротехнические устройства в быту» в VI и VII классах отводится на 2 часа меньше, чем в V классе. В остальных разделах бюджет времени остается неизменным на протяжении всех трех классов.
Анализ данных таблицы также показал, что содержание обучения на этапе профильного трудового обучения является переходным этапом от обще трудового к углубленному трудовому или профессиональному обучению. В его основе лежит идея введения учащихся в один из профилей современного производства, нормы и правила трудовой деятельности по основным профессиям такого профиля.
Внутри этапную преемственность имеют только два раздела программы («Графика» и «Творческий проект»), третий раздел «домашняя экономика» имеет внутри этапную преемственность только за счет отдельных тем программы, которые продолжают свое развитие и углубление в IX классе.
Исходя из задач исследования, представляется необходимым проведение более подробного анализа содержания программы на предмет обучения токарно-винторезных станков.
Представление о машинах учащиеся получают главным образом на примере деревообрабатывающего и металлорежущего оборудования, в частности токарного станка. Объясняется это несколькими причинами.
Работой на указанном оборудовании завершается изучение обработки древесины и металлов, которое проходит на протяжении всего обучения в мастерских; таким образом, достигается ознакомление с технологией и техникой производства. Кроме того, как показал специальный анализ, в токарном станке более полно, чем в какой-либо другой машине, представлены часто встречающиеся в практике детали и механизмы, что позволяет формировать у учащихся такие важные понятия машиноведения, как «деталь», «механизм». На примере токарного станка очень удобно сформировать представление о том, что в конструкции различных по своему назначению и устройству машин может содержаться много общих узлов и деталей. Благодаря этому возможно сравнение токарного станка с другими машинами и выявление общих элементов в их конструкции.
Токарный станок вполне приемлем для изучения школьниками с точки зрения санитарно-гигиенических условий. Существующие типоразмеры станков позволяют подобрать такие из них, которые требуют затрат мускульной энергии, соответствующих физическому развитию учащихся. Токарный станок сравнительно недорог и весьма распространен, что дает основание рассчитывать на помощь в оснащении школьных мастерских шефствующими предприятиями.
Программа предусматривает ознакомление учащихся с типовыми деталями на примере токарного станка (валы, подшипники, шкивы, шестерни, крепежные детали и др.) и видами их соединений (подвижными и неподвижными, разъемными и неразъемными). Кроме того, рассматриваются некоторые наиболее распространенные механизмы передачи вращательного движения (ременные, фрикционные, цепные, зубчатые, червячные) и механизмы преобразования движения (винтовые, реечные, кривошипно-шатунные). Знания о деталях и механизмах закрепляются в процессе практических работ по разборке и сборке частей станка.
На базе металлорежущих станков учащимся рассказывают о сложной машине, состоящей из двигателя, передаточных механизмов и рабочих органов. Вместе с тем учащиеся получают представление о том, что современные машины появились в результате эволюции простых орудий труда. Процесс развития прослеживают, начиная с ручных орудий. Однако программа нацеливает не только на ознакомление с прошлым машин, но и с их будущим. Будущее металлорежущих станков – в комплексной автоматизации технологических процессов. С элементами автоматизации и надо познакомить учащихся.
Большое значение для изучения основ техники имеет ознакомление учащихся с элементами электротехники – устройством бытовых электронагревательных приборов, трехфазного асинхронного двигателя, электропривода и др.
С технологией производства учащиеся знакомятся на примере обработки древесины и металлов, а также на примере электромонтажных работ. При этом они получают представление, как о ручной, так и о машинной обработке материалов. Ручная работа занимает в программе больший удельный вес, чем машинная. Объясняется это рядом причин. Во-первых, работа на станках связана с большей опасностью травматизма, чем работа с ручными инструментами. Во-вторых, ручной труд имеет еще довольно широкое применение, с чем нельзя не считаться. В-третьих, не следует забывать, что часть приемов, составляющих содержание трудовых операций при обработке материалов вручную, используется и при работе на станках (измерение, закрепление заготовок, координация движений и др.). Таким образом, между ручной и машинной обработкой материалов существует преемственность. От мастерства учителя зависит эффективность использования этой преемственности.
Изучение обработки металлов и древесины предусмотрено программой не случайно. Указанные материалы широко распространены в народном хозяйстве. Поэтому, знакомясь с технологией обработки древесины и металлов, учащиеся получают некоторое представление о многих отраслях промышленности и строительства. Кроме того, технология обработки древесины и металлов типична для механической обработки материалов. Технологические процессы включают в себя такие операции, которые в несколько измененном виде можно встретить при механической обработке любого материала (выбор заготовки, измерение размеров, разметка, резание и др.). Благодаря этому создается возможность для показа учащимся общих принципов механической технологии, что имеет большое значение для расширения их политехнического кругозора.
Одновременно программа предусматривает ознакомление учащихся с некоторыми общими сведениями о пластмассах. Ознакомление это носит в основном теоретический характер, однако можно с уверенностью сказать, что по мере развития химической промышленности знания учащихся в этой области будут постепенно расширяться и в программу будут включены обязательные практические работы.
Ознакомление учащихся с механической технологией включает изучение определенного объема теоретических сведений и овладение соответствующими практическими умениями и навыками. Так учащиеся получают краткие сведения о фанере, о физических и механических свойствах древесины. Знакомятся они с механическими свойствами черных и цветных металлов, основными сортами и свойствами стали. Большое внимание уделено программой ознакомлению с технической документацией и порядком ее составления и применения. По каждой трудовой операции, которой обучаются учащиеся, сообщаются необходимые теоретические сведения: значение операции и ее место в технологическом процессе, конструкция режущих инструментов, правила выполнения трудовых приемов, техника безопасности и др.
Значительное место занимает в программе обучение чтению чертежей. Учащиеся знакомятся также с выполнением эскизов тех предметов, которые они изготовляют.
Трудовые операции, которым обучают учащихся, подобраны в программе так, чтобы создавалось достаточно полное представление о профессии, к которой они относятся. Например, при изучении слесарного дела ребята осваивают разметку, правку, гибку, резание ножовкой и ножницами, рубку, работу с проволокой, соединение деталей из листового металла и проволоки, опиливание, сверление, нарезание резьбы, паяние, сборку, окончательную отделку изделий. Вместе с тем такие операции, которые могут выполнить лишь рабочие высокой квалификации, не отрабатываются. Так, среди слесарных операций не изучаются шабрение и притирка.
Таким образом, анализ программного содержания образовательной области «Технология» показа, что учащиеся VII классов знакомятся с простейшими токарными станками. Работая на станках, учащиеся выполняют наиболее характерные, часто встречающиеся операции. Для токарного станка – это обтачивание наружных цилиндрических поверхностей, подрезание торцов и уступов, прорезание канавок, отрезание.
1.3 Построение оптимальной модели процесса обучения учащихся VII-VIII классов при освоении технологических операций на токарно-винторезном станке
Уроки технологии имеют свою оправданную специфику, выражаемую рядом особенностей по сравнению с уроками других учебных предметов.
Во-первых, на занятиях по технологии сложилась оправдавшая себя практика сдвоенных уроков. Это объясняется тем, что центральное место на уроках технологии отводится именно практической работе учащихся. При сдвоенном занятии школьники успевают решить поставленные задачи.
Во-вторых, занятия по технологии требуют специальной их подготовки с точки зрения создания безопасных условий для работы учащихся. Это непременное условие, вне зависимости от темы урока, так как применяемые инструменты и оборудование могут стать источниками травматизма из-за неумелости их использования школьниками.
В-третьих, само построение занятий по технологии, предполагая значительную долю самостоятельности со стороны учащихся, требует от преподавателя усиления контроля за всеми аспектами ситуации в классе: от предотвращения возможной травмы до предупреждения типичных ошибок в действиях школьников.
Таким образом, рассмотрим методические приемы выработки технологических операций на токарно-винторезных станках у учащихся VII-VIII классов. Выявленные в процессе анализа программного содержания знания учащихся об устройстве и действии токарно-винторезного станка становятся более прочными благодаря закреплению и некоторому расширению их в процессе практических работ по разборке и сборке машин и их узлов.
Знакомство учащихся с машинной обработкой древесины и металлов на занятиях в мастерских ограничивается главным образом изучением сверлильного, токарного и фрезерного станков. На производстве же применяется много других станков. Поэтому учебный процесс должен строиться таким образом, чтобы учащиеся на примере сверлильного, токарного и фрезерного станков получили общее представление о станках и обработке материалов на них. Для этого нужно рассматривать каждый станок и вид обработки не сам по себе, а в связи с другими станками и другими видами обработки.
Сравнивая между собой различные группы станков, нетрудно увидеть в них много общего. Объясняется это тем, что обработка материалов на различных металлорежущих станках основана на одних и тех же законах физики, химии и других наук. Поэтому, усвоив общие закономерности, использованные при обработке материалов на металлорежущих станках, можно разобраться в принципе действия и устройства незнакомого станка.
При показе учащимся того-общего, что есть во всех металлорежущих станках, целесообразно остановиться на следующих трех узловых вопросах:
1. Образование заданной формы детали. Конечная цель обработки материалов на станках состоит в получении детали заданной формы и размеров.
По своей внешней форме детали весьма разнообразны, и это создает впечатление, что для обработки деталей, для придания им разнообразных форм должны существовать и разнообразные методы обработки.
Такое неправильное представление исчезает, если рассмотреть детали с точки зрения их геометрической формы. Оказывается, что даже наиболее сложные детали представляют собой сочетание нескольких простых геометрических тел. Так, детали, обрабатываемые на токарных станках, по своей форме чаще всего представляют собой сочетание цилиндров разных размеров, реже — конус и еще реже — шар.
Поэтому, несмотря на огромное разнообразие деталей, все они обрабатываются на станках всего лишь девяти групп. На станках каждой группы можно придавать детали только определенную геометрическую форму. Зная это, легко установить, на каком станке следует обрабатывать данную деталь в зависимости от ее формы.
Таким образом, чтобы учащиеся могли разобраться в том, как на металлорежущих станках достигается обработка детали любой формы, им необходимо рассмотреть детали машин как геометрические тела.
2. Основные движения станка. Решающее значение при образовании формы детали имеют основные движения. В этом легко убедиться на примере токарного станка. Главное движение токарного станка — вращательное, поэтому детали, обработанные на нем, представляют собой круглые тела. Однако форма их в осевом сечении зависит от траектории движения резца. В зависимости от траектории движения резца детали можно придать форму цилиндра, конуса или шара.
Таким образом, для придания детали заданной формы и размеров станок должен иметь основные движения. Однако по своему характеру, как сами движения, так и их сочетания отличаются у станков различных групп. Так, на кругло шлифовальных станках оба основных движения — вращательные, на поперечно-строгальном — прямолинейные, на токарном станке деталь имеет вращательное движение, а резец — поступательное, на фрезерном — наоборот, на сверлильном станке оба основных движения совершает инструмент. Образование заданной формы детали объясняется во всех случаях использованием одного и того же правила сложения движений.
3. Классификация частей станка по назначению. По своему внешнему виду металлорежущие станки весьма разнообразны. Объясняется это тем, что на них приходится обрабатывать детали разной формы и размеров. Однако каждый станок, независимо от его конструкции, выполняет одно и то же назначение. Поэтому части каждого металлорежущего станка можно разделить в зависимости от их назначения на следующие четыре группы: для закрепления детали и инструмента; для обеспечения основного (главного) движения; для обеспечения движения подачи; для соединения в одно целое всех частей станка.
Знакомя учащихся с устройством и работой токарно-винторезного станка, следует обратить их внимание, прежде всего на основные части и типовые механизмы станка и не загружать память учащихся второстепенными вопросами.
Объяснение устройства токарного станка целесообразно проводить по такому плану:
а) рассказ о назначении и применении токарных станков;
б) показ и объяснение устройства основных частей станка: станины, стола, хобота, электродвигателя, пускового устройства;
в) демонстрация и объяснение устройства и работы передаточного механизма и его деталей: ведущий вал электродвигателя; ведущий шкив ременной передачи; ремень; ведомый шкив ременной передачи; шпиндель (ведомый вал); патрон;
г) обобщение сведений об устройстве и работе токарного станка: закрепление детали; передача движения резания; передача движения подачи.
На примере токарного станка можно интересно и убедительно проиллюстрировать развитие орудий труда. Для этого следует познакомить учащихся с простейшими приспособлениями, применявшимися с незапамятных времен для обработки отверстий в камне, в которых приводом служил охотничий лук. На базе этого приспособления возник токарный станок с ручным лучковым приводом. Указанные конструкции описываются в литературе по истории техники.
Учитель обращает внимание учащихся на то, что токарный станок с лучковым приводом был весьма неудобен, так как половина времени уходила на обратный (холостой) ход лука, причем перемещением лука была занята одна рука работающего. Дальнейшее развитие токарного станка выразилось в появлении сначала ножного привода, а затем и люнета. Ножной привод, в свою очередь, был заменен приводом, вынесенным за пределы станка: маховик передачи вращал вспомогательный рабочий, а движение на шпиндель передавалось через канатную передачу, благодаря чему токарь мог сосредоточить свое внимание на инструменте.
Во второй половине XVIII столетия изобрели паровую машину, которую стали использовать как источник энергии для приведения в движение машин на заводах и фабриках. Один двигатель обслуживал группу станков. При этом движение с двигателя передавалось на трансмиссионный вал, а с последнего — на станки с помощью ременных передач. В цехах возникали «леса» ремней, создавая для рабочих неудобства и опасность травмирования.
В 1712г. русский изобретатель А.К. Нартов создал механизированный суппорт («держалку»). Во второй половине XIX столетия паровая машина стала уступать место электродвигателю, что открыло путь к созданию индивидуального привода станка.
Превращение простых орудий труда в машины-орудия может быть показано учащимся и на других примерах. Замена пробойника сверлом привела вместе с тем к присоединению простого орудия труда к механизму (ручная дрель), а затем и к сверлильному станку. То же самое можно показать учащимся и на других примерах: рубка зубилом — резание на рычажных ножницах — резание на механических ножницах; гибка вручную — гибка в приспособлении — гибка на прессе; резание ручной ножовкой — резание на приводной ножовке; опиливание вручную — опиливание на станке и др.
Обзор развития орудий труда завершается формированием у учащихся представления об автоматизации технологических процессов. С механизацией труда учащиеся встречаются на занятиях в мастерских неоднократно. С автоматизацией учащиеся мало знакомы; чаще всего их знания в этой области ограничиваются общими представлениями об автоматах по продаже газированной воды, почтовых открыток и т. п. Опираясь на эти представления, целесообразно показать, в чем заключается автоматизация работы на токарном станке. Для этого можно рассмотреть технологию изготовления болта и наметить вместе с учащимися, какие элементы работы станочника могут быть автоматизированы, а затем в общих чертах объяснить по схеме устройство простейшего токарного станка-автомата. На экскурсии или с помощью кинофильма желательно показать учащимся станок-автомат в действии.
Под методами обучения технологии понимаются способы совместной деятельности учителя и учащихся, при помощи которых: достигается усвоение каждым учащимся технологических знаний, умений и навыков, осуществляется разностороннее развитие его личности.
В определении понятия метода обучения технологии выделяются четыре характерных признака: деятельность учителя, деятельность учащихся, усвоение учащимися технологических знаний, умений и навыков и развитие личности ученика.
Действительно, любой момент процесса обучения, так или иначе, протекает под влиянием учителя. Более того, учитель в процессе обучения играет руководящую роль. Даже самостоятельная учебная работа учащихся осуществляется по заданию учителя. Вместе с тем, в конечном итоге результат обучения непосредственно зависит от деятельности ученика, от его усилий, проявления настойчивости и т.д.
Выбор методов обучения в преподавании технологии зависит от целого ряда факторов. Прежде всего, он зависит от целей и задач обучения. Если преследуется цель ознакомления учащихся с устройством того или иного рабочего инструмента, то обычно проводится объяснение устройства этого инструмента, его показ, показ модели или наглядного изображения данного инструмента. Если ставится цель формирования у учащихся умений и навыков в выполнении тех или иных рабочих приемов, то в этом случае не обойтись без упражнений или практической работы учащихся.
Большое влияние на выбор методов обучения оказывает содержание учебного материала. Простой описательный фактический материал можно изложить с помощью рассказа. Изучение технических явлений, требующих раскрытия их сущности, выполняется с помощью объяснения и, возможно, применения средств наглядности.
На выбор практических методов обучения технологии значительное влияние оказывает учебно-материальная база. Она является одним из главных условий применения этих методов обучений. При выборе методов обучения технологии учитывается также уровень предшествующей технологической подготовки учащихся, их личный опыт.
В общеобразовательной школе действующая программа трудового обучения была разработана на основе конструкторско-технологической системы обучения, ведущей идеей которой является органическое сочетание исполнительской и творческой деятельности учащихся. Учащиеся ставятся в такие условия, когда непосредственному изготовлению объекта труда должны предшествовать разработка его конструкции и технологии обработки. Таким образом, учащиеся вначале решают ряд технических вопросов и только после этого переходят к обработке деталей, их сборке и т.д.
Нетрудно заметить, что конструкторско-технологическая система предопределяет содержание лишь интеллектуальной деятельности учащихся, а формирование трудовых практических умений и навыков может проходить по-разному. Так, в большинстве случаев обучение в мастерских проходит по предметно - операционной системе.
Это обусловлено рядом причин. Во-первых, программой не предусматривается изолированное изучение отдельных операций, более того, вообще не сказано, сколько времени надо потратить на изучение той или иной операции. Это значит, что трудовые практические умения и навыки не будут формироваться пооперационной или операционно-комплексной системе. Во-вторых, стержнем, вокруг которого строится процесс обучения школьников, является перечень объектов труда, подлежащих изготовлению, а он - типовой, т. е. одни изделия могут заменяться другими, исходя из местных условий, проще говоря - из материальных возможностей.
Усвоение знаний, умений и навыков в обучении технологии имеет характерные особенности. Дело в том, что технические знания, которые осваивают ученики при изучении технологии, обслуживают предметно-практическую деятельность людей и поэтому носят во многом практический характер. Следовательно, и овладение этими знаниями носит практическую направленность.
Развитие личности ученика при изучении технологии также имеет свои особенности. Технологическая деятельность имеет универсальный характер. В ней проявляются практически все качества личности. Поэтому, в процессе обучения технологии осуществляется и физическое развитие (укрепление здоровья в физическом труде), и интеллектуальное (развитие технического мышления), и нравственное (формирование правильного отношения к труду).
Методы обучения технологии включают в себя отдельные элементы, называемые приемами обучения. Например, метод показа рабочего действия состоит из следующих приемов: показ действия в рабочем темпе, показ действия в замедленном темпе и показ действия с расчленением на отдельные трудовые движения.
Один и тот же прием обучения может входить в различные методы обучения технологии. Примером может служить запись учениками определений новых понятий и при объяснении нового материала учителем, и при выполнении учениками лабораторной или практической работы, и в ходе беседы и т. д.
В общей теории обучения, или дидактике, раскрываются различные подходы к классификации методов обучени, по источнику знаний учащихся, по характеру их познавательной деятельности и т. д.
В обучении технологии, в теории и на практике, распространена классификация методов обучения по источнику знаний учащихся. Учащиеся овладевают технологическими знаниями, умениями и навыками через словесное восприятие, непосредственное чувственное восприятие и практическую деятельность. Словесное восприятие технологических знаний учащимися осуществляется через слово учителя или письменное слово учебной книги. В основе чувственного восприятия лежит образ технического объекта, явления или процесса. Овладение знаниями, умениями и навыками через практическую деятельность особенно характерно для технологического обучения, так как сами технические знания, как уже отмечалось, носят во многом практическую направленность и поддаются усвоению главным образом через практику.
В соответствии с классификацией методов обучения технологии по источнику знаний, они делятся на три группы.
В первую группу входят методы преподавания технологии, в которых источником знаний для учащихся является слово учителя или письменное слово учебной книги. Это методы словесного сообщения и закрепления технико-технологических знаний.
Вторую группу методов обучения технологии составляют методы, где источником знаний для учащихся является образ технического объекта, процесса или явления. Это - метод демонстрации.
Третью группу методов обучения технологии составляют методы, в которых источником знаний, умений и навыков для учащихся являются их практические действия. Эти методы так и называются - методы практической работы учащихся.
Именно они и являются наиболее эффективными при обучении учащихся работе на токарно-винторезных станках.
На основании проведенной работы мы можем выдвинуть следующие методические приемы овладения технологическими операциями работы на токарно-винторезных станках:
- включать учащихся, как в коллективную, так и в индивидуальную деятельность, заключающую в себе возможность самостоятельного решения различных вопросов и задач;
- использовать практические методы обучения;
- применение разнообразных типов урока;
- создавать условия для эстетического воспитания учащихся;
- стимулировать творческую деятельность учащихся;
- воспитывать бережное отношение к оборудованию;
- воспитывать потребность, интерес к деятельности;
- точность и аккуратность выполнения задания.
Такая методика проведения работ позволяет развивать у школьников не только самостоятельность, но и активность, вырабатывает инициативу и творческое отношение к изучаемому материалу. Проведенная нами работа позволила спроектировать оптимальную модель процесса обучения учащихся VII-VIII классов при овладении технологических операций на токарно-винторезных станках (Приложение №1).
Глава 2. Опытно-экспериментальная проверка модели процесса обучения учащихся VII-VIII классов при освоении технологических операций на токарно-винторезном станке
2.1 Содержание, формы и методы обучения учащихся VII-VIII классов при освоении технологических операций на токарно-винторезном станке
В первой главе квалификационной работы нами были раскрыты теоретические основы обучения учащихся VII-VIII классов при освоении технологических операций на токарно-винторезных станках, выявлены исходные предпосылки формирования у учащихся необходимых знаний, умений и навыков в программном содержании обучения учащихся в образовательной области «Технология», что позволило нам спроектировать и обосновать экспериментальную модель процесса обучения учащихся в указанном направлении.
Основываясь на указанные в первой главе методические рекомендации, в том числе разработанные педагогической наукой, мы построили опытно-экспериментальную работу. Применение данной методики рассмотрим на примере разработанных уроков. Однако в рамках квалификационной работы не представляется возможным раскрытие всех проводимых нами занятий в процессе экспериментальной работы, которая нами была организована в VII классах СОШ №5 поселка Октябрьского Красноармейского района Краснодарского края, поэтому ограничимся раскрытием методики проведения отдельных занятий.
План-конспект урока.
Тема: «Основные токарные операции».
Цели: обеспечить усвоение учащимися приемов работы на токарно-винторезном станке ТВ-6; способствовать воспитанию трудовой дисциплины учащихся; развивать умение организовывать свою практическую деятельность.
Тип урока: комбинированный (освоение новых знаний, обобщение и систематизация изученного).
Методы обучения: устный опрос, рассказ, показ приемов учителем, демонстрация наглядных пособий, практическая работа.
Наглядные пособия: приложения 2 рис. 741-748.
Ход урока:
I. Организационно - подготовительная часть.
Приветствие учителя, контроль посещаемости, проверка готовности учащихся к уроку, сообщение темы и целей урока.
II. Теоретическая часть.
1. Повторение пройденного материала.
Вопросы:
Из каких частей состоит токарно-винторезный станок?
Какие операции по обработке металлов можно выполнять на токарно-винторезном станке?
Какие инструменты используются при токарной обработке металла?
Из каких элементов состоит токарный резец?
Какие виды резцов вам известны?
Как осуществляются пуск и остановка станка?
Как закрепляют заготовку на токарном станке?
Как установить необходимую частоту вращения шпинделя?
Как вручную перемещают суппорт в продольном и поперечном направлении?
Как можно перемещать резцедержатель с резцом при неподвижном суппорте?
Как осуществляется механическая подача резца?
Каковы правила техники безопасности при работе на токарно-винторезном станке?
2. Изложение нового материала.
План рассказа учителя:
Режимы резания при точении.
Обтачивание цилиндрических поверхностей.
Подрезание уступов и торцов.
Отрезание заготовок.
5) Сверление.
1. Режимы резания при точении.
Для выполнения операций по обработке металлов на токарном станке необходимо, чтобы заготовка совершала вращательное движение, а резец, касаясь заготовки режущей кромкой, перемещался вдоль заготовки и срезал слой металла. При обработке разных заготовок и различными инструментами скорости вращения заготовок и перемещение резца также будут различными. Изменяется и толщина снимаемого с заготовки слоя металла. Все это отражается на режимах обработки.
Режимы обработки на токарно-винторезном станке определяются скоростью резания, подачей и глубиной резания при точении.
Скоростью резания при точении называется длина пути, который проходит в одну минуту точка обрабатываемой поверхности. Обозначается скорость резания буквой и измеряется в метрах в минуту (м/мин). Скорость резания тесно связана с частотой вращения заготовки (и), которая измеряется в оборотах в минуту (мин 1)-Зная частоту вращения и диаметр заготовки, можно подсчитать скорость резания. За один оборот заготовки точка обрабатываемой поверхности пройдет путь, равный длине окружности, диаметр которой равен диаметру заготовки. За несколько оборотов заготовки эта точка пройдет путь, равный нескольким длинам таких окружностей. Следовательно, Х> м/мин, где v - скорость резания, 1000м/мин; к - постоянное число 3,14; D - диаметр обрабатываемой заготовки, мм; п - частота вращения шпинделя (заготовки), мин 1; 1000 - коэффициент перевода миллиметров в метры.
Подача - это величина перемещения резца за один оборот обрабатываемой заготовки. Она обозначается буквой s и измеряется в миллиметрах на один оборот заготовки (мм/об).
Глубиной резания называется толщина снимаемого слоя металла, измеренная по перпендикуляру к обработанной поверхности заготовки. Обозначается буквой t и измеряется в миллиметрах (мм).
2. Обтачивание цилиндрических поверхностей.
Обтачивание цилиндрических поверхностей осуществляют проходными прямыми или отогнутыми резцами из быстрорежущей стали. Используют также резцы с пластинками из твердого сплава.
Выбор того или иного резца зависит от свойств обрабатываемого материала.
Обтачивание цилиндрических поверхностей обычно производится в два приема: сначала снимают большую часть припуска (черновое обтачивание), а затем оставшуюся часть (чистовое точение). Для чернового обтачивания используют более массивные резцы, так как они должны выдерживать большие нагрузки при снятии значительного слоя металла. Заготовку закрепляют в патроне и проверяют, нет ли биения. При необходимости пере закрепляют ее. В резцедержателе закрепляют резец, предварительно выверив его положение по линии центров и выдвижению головки резца из резцедержателя (вылету резца). Линией центров называют условную линию, которую можно провести по оси отверстия шпинделя и пиноли задней бабки, установленной в исходном положении. Свое название линия центров получила от того, что на этой линии находятся острия упорных центров, вставленных в отверстия шпинделя и пиноли задней бабки. Затем определяют необходимую частоту вращения шпинделя и, пользуясь рукоятками коробки скоростей, по таблице режимов работы станка устанавливают ее.
Для получения заданного диаметра детали (при черновом обтачивании с учетом припуска на чистовое точение) необходимо установить резец на соответствующую глубину резания. При этом следует иметь в виду, что после одного прохода резца заготовка уменьшится по радиусу на величину глубины резания, а по диаметру на удвоенную величину этой глубины.
Установка глубины резания может производиться способом пробных стружек или с помощью лимба поперечной подачи.
Способ пробных стружек заключается в следующем. Включается шпиндель станка. Вращением маховичка продольной подачи и рукоятки винта поперечной подачи вручную подводится резец к заготовке так, чтобы его вершина коснулась поверхности около самого торца. Установив момент касания, вращением маховичка продольной подачи резец отводят вправо от заготовки и с помощью рукоятки поперечной подачи устанавливают требуемую глубину резания. Затем ручной продольной подачей обтачивают заготовку на длине 3-5мм (пробная стружка), возвращают резец вправо, останавливают станок и измеряют диаметр обработанной поверхности. Если диаметр больше требуемого, резец устанавливают на несколько большую глубину, снова снимают пробную стружку и повторяют измерение. Эти операции повторяют до тех пор, пока не получат заданный размер, после чего начинают обработку заготовки. По окончании обработки отводят резец назад и останавливают станок. В таком же порядке производится и чистовое точение.
Для ускорения установки резца на требуемую глубину на современных токарных станках предусмотрено специальное приспособление - лимб поперечной подачи. Он представляет собой втулку или кольцо, по окружности которого нанесены деления, и располагается около рукоятки винта поперечной подачи. Деления отсчитываются по риске, находящейся на неподвижной втулке.
Принцип устройства лимба заключается в следующем. При полном обороте рукоятки винта поперечные салазки перемещаются на величину шага этого винта. Предположим, что лимб разделен на 80 равных частей, а винт поперечной подачи имеет резьбу с шагом 2мм. За один оборот рукоятки винта, то есть на 80 делений лимба, резец переместится в поперечном направлении на 2мм. Если рукоятку повернуть только на одно деление, то перемещение резца составит 2мм:80=0,025мм. Эту величину называют ценой деления лимба.
Устанавливается резец на определенную глубину резания с помощью лимба поперечной подачи, нужно учитывать зазор между винтом и гайкой (так называемый люфт винта). Если данное обстоятельство упустить из виду, то величина перемещения резца может не соответствовать заданной по лимбу. Чтобы этого не произошло, необходимо соблюдать следующее правило. Всегда подводить требуемое деление лимба к риске правым вращением рукоятки винта. Ошибочный поворот рукоятки винта поперечной подачи больше требуемого нельзя исправить поворотом рукоятки назад только на величину ошибки. Нужно сделать полный оборот рукоятки в обратную сторону и снова вращать ее вправо до совпадения расчетного деления лимба с риской.
При установке глубины резания с помощью лимба также следует делать пробные замеры, но в данном случае установка резца производится значительно быстрее и точнее.
3. Подрезание уступов и торцов.
Обработка уступов - поверхностей заготовки, образованных достаточно быстрым переходом от одного размера диаметра к другому (от меньшего к большему или, наоборот), - во многих случаях специально не производится. Уступ образуется во время обтачивания цилиндрических поверхностей, и его наклон соответствует па-клону главной режущей кромки резца к оси заготовки. Если потребуется, чтобы уступ был расположен под прямым углом к оси заготовки, то обычный проходной резец устанавливают так, чтобы главная режущая кромка располагалась тоже под прямым углом к оси заготовки. При установке и закреплении резца это проверяется угольником. Производится и специальная обработка уступов, когда требуется их расположение под прямым углом к оси заготовки. Эта операция - подрезание уступов - выполняется подрезными резцами, у которых главная режущая кромка параллельна оси резца.
После обтачивания заготовки обычно возникает необходимость обработать и ее торец - плоскую поверхность, ограничивающую длину заготовки цилиндрической, конической и другой формы, - так, чтобы его поверхность была ровной и располагалась точно под прямым углом к оси заготовки. Эту операцию называют подрезанием торца.
Для того чтобы подрезать торец заготовки, ее закрепляют в патроне. Проверяют, чтобы не было биения заготовки, при необходимости пере закрепляют. В резцедержателе устанавливают подрезной резец. Вершина головки резца должна быть точно по центру заготовки. Это устанавливают и контролируют по центру задней бабки. Операцию подрезания торца осуществляют в следующем порядке. Включают станок, подводят резец к заготовке так, чтобы вершина его головки слегка коснулась торца. Далее рукояткой поперечной подачи немного отводят резец назад, а маховичком продольной подачи смещают его влево, к передней бабке, на величину снимаемого с торца слоя металла. Величину перемещения резца можно установить по лимбу продольной подачи. Непосредственное подрезание торца осуществляется ручной поперечной подачей резца к центру заготовки. Каретка суппорта при этом должна быть закреплена. При подходе вершины головки резца к центру заготовки подачу уменьшают. Правильность подрезки торца проверяют с помощью измерительной линейки.
4. Отрезание заготовок.
Эта операция производится с помощью отрезных резцов, которые обычно выполняются составными: державка - из углеродистой стали, а режущая часть (пластинка) - из быстрорежущей стали или твердого сплава. Длина головки резца должна быть несколько больше радиуса обрабатываемой заготовки.
При отрезании закрепляют заготовку в патроне и по возможности поджимают задним центром. Устанавливают отрезные резцы перпендикулярно оси заготовки точно по линии центров.
Отрезание заготовки следует производить как можно ближе к кулачкам патрона. Не нужно перемещать резец до самого центра заготовки, так как в месте отреза может образоваться очень тонкий стержень, который под давлением резца и веса отрезаемой части заготовки согнется, резец окажется защемленным и произойдет его поломка. Как только между частями заготовки, закрепленной в патроне и отрезаемой, останется перемычка, которая может быть легко переломлена, следует вывести резец, остановить станок и отломить отрезаемую часть. После чего снова включить станок и зачистить торец оставшейся в патроне части заготовки.
Чтобы производить отрезание сразу до конца, применяют резец, у которого правый угол режущей кромки идет впереди левого. Бобышка, оставшаяся у закрепленной части заготовки, срезается при последующей обработке.
При отрезании заготовок достаточно большого диаметра, чтобы не зажимать отрезной резец в месте разрезания, применяется специальный прием, называемый «отрезание в разгонку». Суть этого приема заключается в том, что отрезание производят широкой полосой разреза, и поперечная подача резца перемежается с продольной: переместив резец в поперечном направлении, затем перемещают его несколько в продольном направлении, допустим, вправо. Далее снова в поперечном, потом в продольном влево и т. д.
5. Сверление.
Одна из самых распространенных технологических операций - сверление - может выполняться не только на сверлильном, но и на токарном станке. При этом сущность операции не меняется. Применяется тот же режущий инструмент - сверло. Изменяются только приемы выполнения этой операции. Если при работе на сверлильном станке вращательное и поступательное движение относительно заготовки совершает сверло, то на токарном станке вращательное движение совершает заготовка, а поступательное - сверло.
Заготовку для сверления на токарном станке закрепляют в трех кулачковом само центрирующем патроне так же, как и при точении или подрезании торцов. Способ закрепления сверл на токарном станке зависит от формы их хвостовиков.
Сверла с цилиндрическим хвостовиком закрепляют в сверлильном патроне, а затем сам патрон устанавливают и закрепляют в отверстии пиноли задней бабки. Сверла с коническим хвостовиком помещают в отверстие пиноли задней бабки. В случае, если размер хвостовика сверла меньше размера конического отверстия в пиноли, применяют переходную втулку. Сверло должно быть установлено строго по линии центров. Это можно проверить, подвинув заднюю бабку со сверлом ближе к переднему центру, закрепленному в патроне: вершины центра и сверла должны совпадать.
Перед сверлением у закрепленной в патрон заготовки слегка подрезают торец. При этом делают небольшое углубление в центре заготовки, которое направит сверло по центру в начале сверления.
Для выполнения сверления заднюю бабку с закрепленным в пиноли сверлом придвигают ближе к заготовке и закрепляют ее в нужном положении. Включают станок и вращением маховичка пиноли задней бабки подводят сверло к заготовке. Убедившись, что вершина сверла совпадает с центром заготовки, начинают осторожно сверлить, подавая сверло маховичком пиноли. Если отверстие достаточно глубокое, то необходимо периодически выводить сверло из отверстия и очищать его от стружки. При сильном нагреве сверло охлаждают специальной эмульсией или водой.
Отверстие диаметром свыше 10мм рекомендуется сверлить вначале сверлом малого диаметра, а затем рассверливать сверлом нужного диаметра.
III. Практическая часть.
Практическая работа «Изготовление втулки на токарно-винторезном станке».
1. Организация рабочего места.
Для выполнения работы понадобятся: станок ТВ-6, токарные резцы, ключи для крепления патрона, отвертки, напильники, молоток, крючок для удаления стружки, щетка для чистки станка, обтирочный материал, контрольно-измерительные инструменты, заготовки.
2. Вводный инструктаж.
Задания:
1) закрепите заготовку в трехкулачковом самоцентрирующем патроне;
2) установите проходной и подрезной резцы в резцедержателе;
3) настройте станок на заданные режимы резания;
4) подведите проходной резец к заготовке на расстояние 8-10мм от ее края;
5) включите станок и обточите наружную цилиндрическую поверхность заготовки до диаметра 18мм на длину 30-32мм;
6) выключите станок и проверьте качество и точность обработки;
7) смените позицию резцедержателя, установив подрезной резец;
8) включите станок и подрежьте правый торец заготовки и проточите углубление в центре ее торца;
9) выключите станок и проверьте качество торца с помощью измерительной линейки;
установите в пиноли задней бабки сверло диаметром 10мм;
включите станок и просверлите отверстие глубиной 32-35мм, периодически выводя сверло из отверстия для облегчения выхода стружки;
выключите станок и проверьте глубину отверстия штангенциркулем с глубиномером;
установите отрезной резец и включите станок;
отрежьте заготовку длиной 30-32мм;
выключите станок и проверьте качество обработанной детали.
Правила техники безопасности: те же, что и для предыдущей практической работы.
3. Текущий инструктаж:
Задания учащиеся выполняют вместе с учителем. Текущие наблюдения учителя, контроль за соблюдением правил техники безопасности, ответы на возникающие вопросы в процессе работы, проверка правильности выполнения заданий
Возможные ошибки:
1) при обтачивании цилиндрических поверхностей:
- часть поверхности детали осталась необработанной; причины: недостаточные размеры заготовки (мало припуска на обработку), кривизна заготовки, неправильная ее установка и неточная выверка;
- неправильные размеры обточенной поверхности; причины: неточная установка резца на глубину резания или неправильное измерение детали при снятии пробной стружки;
- неровность обработанной поверхности; причины: большая подача резца, дрожание резца из-за большого вылета или недостаточно прочного закрепления его в резцедержателе, дрожание детали вследствие непрочного закрепления ее или биения шпинделя.
2) при подрезании уступов и торцов:
- неточность размеров длины детали при подрезании торцов и неправильное расположение уступа по длине заготовки; причины: ошибки в измерении заготовки, недостаточно прочное закрепление заготовки в патроне и резца в резцедержателе, слабое закрепление заготовки и резца, их смещение в результате нажима резца на заготовку во время резания;
- неперпендикулярное расположение торца или уступа к оси детали; причины: неточность направляющих суппорта при работе с поперечной подачей, отжим резца из-за непрочного его закрепления в резцедержателе, отход плохо застопоренной каретки суппорта при работе поперечной подачей.
3) при отрезании заготовок:
- поломка резца; причины: установка резца ниже линии центров (повышение давления на переднюю грань); установка резца выше линии центров (увеличение трения задней поверхности резца обрабатываемую поверхность).
4) при сверлении:
- диаметр отверстия больше требуемого; причина - неправильный подбор сверла (сверло большего диаметра) или неправильная заточка сверла (режущие кромки неодинаковой длины);
- несовпадение оси отверстия с осью заготовки; причина – увод сверла в начале врезания из-за отсутствия центрального углубления в заготовках;
- диаметр отверстия по краям больше, чем посередине; причина - положение сверла не на линии центра вследствие смещения задней бабки или биения заготовки.
4. Заключительный инструктаж.
Разбор допущенных ошибок и анализ причин, их вызвавших; разъяснение возможностей применения полученных знаний, умений и навыков в дальнейшем изучении технологии обработки металлов.
IV. Итоговая часть.
1. Установка на следующий урок.
На следующем уроке продолжится знакомство с технологией токарной обработки металла. Учащиеся получат представление о нарезании наружной и внутренней крепежной резьбы.
2. Домашнее задание:
повторить изученный на данном уроке материал;
доработать и исправить ошибки в операционной карте, разрабатываемой ранее;
прочитать параграф 24 (3, с.112-118).
Уборка рабочих мест.
2.2 Дидактическое обеспечение занятий по обучению учащихся VII-VIII классов работе на токарно-винторезных станках
В предыдущем параграфе мы рассмотрели методические приемы овладения технологическими операциями работы на токарно-винторезных станках в представленных уроках технологии. Применение дидактических средств обучения коренным образом изменяет структуру урока, помогает с большей пользой использовать каждую минуту учебного времени, максимально четко и доходчиво изложить сложный материал и обеспечить быстрое и прочное его усвоение, сократить время на передачу информации и контроль за ее усвоением, увеличив одновременно продолжительность самостоятельной работы учащихся на уроке. Средства обучения расширяют границы опыта и наблюдений учащихся, открывают возможности для более глубокого понимания основных законов развития природы и общества, активизации процесса обучения и его тесной связи с жизнью, для организации разнообразной самостоятельной работы на уроке. Они лучше доносят до учащихся сущность изучаемых явлений, помогают выделить основные понятий и показать взаимосвязь между ними.
Обладая высокой степенью наглядности, средства обучения дают возможность организовать передачу информации на таком уровне, который был бы доступен для данной категории учащихся, а постоянный оперативный контроль в процессе изложения позволяет более объективно судить о ее доступности.
В их перечень также входят различные средства наглядности (наглядные пособия), которые можно подразделить на ряд групп (классификация В.Д. Симоненко, Е.М. Муравьева).
Средства натурального показа предназначены для демонстрации технических объектов и процессов в натуре. К ним относятся:
натуральные объекты: образцы материалов конструкций, рабочие и контрольно – измерительные инструменты, различные приборы, аппараты и другие технические устройства, а также их механизмы, детали и узлы. К натуральным объектам в полной мере относятся все технические объекты учебно-трудового процесса;
натуральные процессы - технологические процессы, наблюдаемые на уроках учащимися;
реальные трудовые действия – взаимодействия работающего с инструментом и обрабатываемым материалом.
Технические модели и макеты как подобия изучаемых объектов для показа внешнего вида изучаемых объектов и явлений, их детали и конструкции.
Учебная техническая модель – аналог изучаемого объекта или его части. Они позволяют показать не только внешний вид изучаемого объекта, но и на примере действующих моделей демонстрировать работу объекта, динамику движения и взаимодействия его деталей.
Учебные макеты дают объемное изображение внешнего вида изучаемых объектов с точным соблюдением их пропорций.
Реальное изображение вида изучаемых объектов, процессов и трудовых действий.
Самый распространенный вид - плакаты, размеры которых подбираются таким образом, чтобы их можно было прочесть с последних рядов класса. Плакаты меньшего размера сшиваются в альбомы для индивидуального просмотра. Изображения на плакатах могут отражать как внешний вид изделий, форму, устройство изделий, так и технологические процессы, требования техники безопасности.
Условные изображения изучаемых объектов, процессов и действий – чертежи, эскизы, кинематические и электрические схемы. Они используются для раскрытия устройства, принципа действия, конструкции изучаемых объектов, действий и процессов.
Для повышения эффективности применения средств наглядности их необходимо привести в систему. Это выражается в создании методических шкафов, в которых для каждой темы сделаны отделения.
Отдельные средства наглядности могут располагаться на демонстрационных щитах (стендах).
В процессе проводимых нами занятий использовались письменные инструкции. Применение письменных инструкций дает возможность повысить активность и самостоятельность учащихся, приблизить занятия в учебных мастерских к условиям производства.
Инструкция должна быть лаконичной и вместе с тем содержать все необходимые сведения для выполнения практической работы. Приводим в качестве примера две инструкции.
Инструкция к работе: «Разборка и сборка задней бабки токарного станка».
I. Правила безопасной работы.
Пользоваться можно только исправным инструментом соответствующих размеров Пользование прокладками, если ключ имеет большие размеры, чем требуется, а также наращивание ручки ключей трубками или другими предметами запрещается, так как это может привести к соскальзыванию инструмента и ранению.
Не разрешается приступать к работе, не ознакомившись с устройством задней бабки по чертежу.
Перед началом работы следует, подготовить место для размещения деталей Маленькие детали складывают в коробку пиноль задней бабки необходимо тщательно оберегать от грязи и пыли.
Пользоваться молотком можно только с разрешения учителя ни в коем случае не разрешается использовать зубило для отвинчивания болтов и гаек.
Для правильной сборки задней бабки необходимо представлять себе ее устройство и взаимодействие отдельных деталей, а также хорошо знать последовательность разборки, чтобы суметь произвести сборку в обратном порядке.

Рис. 1. Задняя бабка токарного станка.
14 16, 18, 24 — винт; 2, 7, 19, 21 — гайка; 3 — пиноль; 4 — корпус; 5 — рукоятка; б — силовой винт; 7 — гайка; 8 — головка; 9 — лимбовая втулка; 10 — пружина; 11 — маховик; 12 — шайба; 13 — шпонка; 15 — рукоятка; 17 — плита; 20 — шпонка; 22 — поперечник; 23 — болт.
II. Содержание работы.
Инструменты гаечные ключи 12, 10 и 8мм, отвертка 5мм.
Последовательность работы.
1. Ознакомиться с устройством задней бабки по чертежу.
2. Отвинтить гайку 21 с болта 23 и, опустив поперечник 22 вместе с болтом 23 вниз, вынуть их и положить на верстак.
3. Снять бабку вместе с нижней плитой 17 и перенести на верстак.
4. Вращать маховик 11 до тех пор, пока пиноль 3 с гайкой 7 не сойдут с силового винта 6, после чего вынуть пиноль.
5. Вывинтить винт 14, снять шайбу 12 и маховик 11 с лимбовой втулкой 9, пружиной 10 и рукояткой 15.
6. Снять лимбовую втулку 9 с маховика 11 и вынуть из нее пружину 10.
7. Вынуть шпонку 13.
8. Вывинтить винт 16 и вынуть головку 8, а также силовой винт 6.
9. Вывинтить винт 1 и свинтить с него гайку 2.
10. Вынуть рукоятку 5 с сухариками и снять сухарики.
11. Вывинтить винт 18 для поперечного перемещения корпуса 4 задней бабки.
12. Вывинтить винт 24, который соединяет корпус бабки с плитой 17.
13. Разъединить корпус с плитой 17, вынуть гайку 19 и шпонку 20.
14. Протереть все детали тряпкой.
15. Смазать поверхности, между которыми происходит трение, тонким слоем смазки.
16. Собрать бабку и установить ее на место.
III. Задания.
1. Определить шаг винта задней бабки.
2. Определить наибольшее возможное смещение корпуса задней бабки относительно плиты.
IV. Вопросы для повторения.
1. Как предупредить само отвинчивание пиноли?
2. Для чего предназначена пружина, которая установлена в лимбовой втулке?
3. Для чего предназначена гайка на винте?
Инструкция к работе.
«Наладка станка и обработка наружной цилиндрической поверхности».
I. Правила безопасной работы.
До начала работы:
1) застегнуть все пуговицы, чтобы не было свисающих частей одежды, которые могут быть захвачены вращающимися частями станка; волосы убрать под головной убор;
2) ознакомиться с размещением кнопок и рукояток управления и назначением каждой из них;
3) проверить, чтобы все органы управления были выключены либо находились в нейтральном положении.
Во время работы запрещается:
1) опираться на станок;
2) переключать на ходу ременную передачу;
3) переключать на ходу коробку скоростей и коробку подач;
4) оставлять станок без надзора;
5) останавливать патрон руками после выключения станка;
6) производить на ходу замер детали.
Нарушение этих правил может привести к несчастному случаю.
Помни, что кнопка «Стоп» окрашена в красный цвет.
Содержание работы.
1. Установить патрон в шпинделе, для чего выполнить следующее: протереть тряпкой резьбу на конце шпинделя и в отверстии патрона и смазать ее маслом; навинтить патрон; предохранить патрон от само отвинчивания.
2. Установить токарный проходной резец, выполнив следующее: протереть тряпкой центр и отверстие в пиноли задней бабки, установить центр в заднюю бабку; подвести заднюю бабку к суппорту; пользуясь набором подкладок, установить проходной резец так, чтобы вершина его совпадала с вершиной центра (подкладок должно быть не более двух, они не должны быть короче той части резца, которая закреплена в резцедержателе, вылет резца не должен превышать 1,5 высоты); закрепить резец.
3. Проверить соответствие размеров заготовки размерам, заданным на чертеже.
4. Закрепить заготовку.
5. Настроить станок на заданный режим работы.
6. Включить станок.
7. Подвести резец до соприкосновения с заготовкой.
8. Отвести резец с суппортом вправо.
9. Установить резец на заданную глубину резания; совместить нулевое деление лимба с риской на неподвижной втулке винта; определить цену деления лимба, повернуть винт поперечной подачи в соответствии с заданной глубиной резания.
10. Проточить поясок длиной 5-7мм.
11. Остановить станок.
12. Проверить размеры заготовки штангенциркулем.
13. Проточить заготовку начерно, пользуясь ручной подачей.
14. Установить резец на заданную глубину резания для чистового обтачивания.
15. Проточить заготовку начисто, пользуясь механической подачей.
16. Остановить станок.
17. Проверить размер заготовки штангенциркулем.
18. Снять деталь и резец.
19. Навести порядок на рабочем месте.
III. Вопросы для повторения.
1. Почему ограничивается длина вылета резца?
2. Почему резец не разрешается закреплять одним болтом?
3. Как устранить возможность само отвинчивания патрона?
2.3 Результаты экспериментальной проверки оптимальной модели обучения учащихся VII-VIII классов в процессе работы на токарно-винторезном станке
Экспериментальной базой квалификационной работы по проверке спроектированной модели процесса обучения учащихся VII-VIII классов работе на токарно-винторезном станке является СОШ №5 п. Октябрьского Красноармейского района Краснодарского края.
В педагогическом эксперименте принимали участие д.п.н., профессор Щеколдин А.Г., д.п.н., профессор Заречная Л.П., к.т.н., доцент Зиновьев А.И., к.п.н., доцент Радченко Н.В., к.эк.н., доцент Махненко А.Я., к.п.н., доцент Заречный А.В., старший преподаватель Ильиных А.П., директор СОШ №5 - Максименко Нелли Павловна, заместители директора по учебной и воспитательной работе, учитель технологии - Мищенко Андрей Эдуардович, студент факультета технологии и предпринимательства Лукьянченко Д.А., учащиеся VIII «А» класса – 12 мальчиков. Всего в эксперименте приняло участие 29 человек.
Экспериментальная работа проводилась в процессе прохождения педагогических практик. Экспериментальная работа состояла из констатирующего и формирующего экспериментов.
С целью выявления уровня знаний и умений учащихся VIII «А» класса по технологии обработки конструкционных материалов механическим способом, на примере токарно-винторезного станка, в рамках программы, нами было проведено вводное и заключительное анкетирование.
Вопросы анкеты:
Назовите устройство токарно-винторезных станков?
Какие Вы знаете правила и приемы управления станками?
Что является технической документацией?
Какие Вы знаете измерительные инструменты?
Какие Вы знаете режимы работы и технологию для изготовления изделия заданной формы?
Назовите правила безопасности труда и производственной санитарии в процессе выполнения работ на токарно-винторезных станках?
Для чего предназначены и как используются режущие инструменты?
Как осуществляется техобслуживание токарно-винторезных станков?
Сводная таблица результатов анкетирования в процессе констатирующего эксперимента.
|
№ |
Ф. И. |
Номер вопроса |
Средний |
|||||||
|
1 |
2 |
3 |
4 |
5 |
6 |
7 |
8 |
балл |
||
|
1. |
Авдеев А. |
4 |
3 |
4 |
5 |
4 |
5 |
4 |
4 |
4,1 |
|
2. |
Андоненко А. |
4 |
5 |
4 |
4 |
4 |
4 |
5 |
4 |
4,2 |
|
3. |
Бабичев М. |
4 |
4 |
4 |
4 |
4 |
4 |
4 |
4 |
4 |
|
4. |
Бондаренко А. |
5 |
4 |
4 |
4 |
4 |
5 |
4 |
4 |
4,2 |
|
5. |
Вяльцев Е. |
5 |
4 |
4 |
4 |
4 |
5 |
4 |
4 |
4,2 |
|
6. |
Губский В. |
5 |
3 |
3 |
4 |
4 |
4 |
4 |
4 |
3,8 |
|
7. |
Демидов А. |
4 |
2 |
4 |
3 |
3 |
3 |
3 |
3 |
3,1 |
|
8. |
Додосьян А. |
5 |
3 |
3 |
4 |
3 |
3 |
3 |
3 |
3,4 |
|
9. |
Левицкий Е. |
4 |
3 |
4 |
3 |
4 |
4 |
4 |
4 |
3,7 |
|
10. |
Макеев В. |
3 |
2 |
3 |
3 |
3 |
3 |
3 |
3 |
2,8 |
|
11. |
Скрипка Н. |
4 |
3 |
4 |
4 |
3 |
3 |
3 |
3 |
3,4 |
|
12. |
Харченко |
5 |
5 |
4 |
4 |
4 |
4 |
4 |
4 |
4,2 |
|
Средний балл |
4 |
3,4 |
3,7 |
3,9 |
3,6 |
3,9 |
3,7 |
4,1 |
3,8 |
Для выявления, имеющегося, у учащихся уровня практических умений и навыков работе на токарно-винторезных станках в процессе уроков учащиеся выполняли различные упражнения на токарно-винторезных станках, которые также оценивались нами.
Сводная таблица результатов анкетирования в процессе формирующего эксперимента.
|
№ |
Ф. И. |
Номер вопроса |
Средний балл |
|||||||
|
1 |
2 |
3 |
4 |
5 |
6 |
7 |
8 |
балл |
||
|
1. |
Авдеев А. |
4 |
5 |
5 |
4 |
5 |
4 |
4 |
4 |
4,3 |
|
2. |
Андоненко А. |
4 |
4 |
5 |
5 |
3 |
5 |
5 |
4 |
4,3 |
|
3. |
Бабичев М. |
4 |
3 |
4 |
4 |
4 |
5 |
5 |
4 |
4,1 |
|
4. |
Бондаренко А. |
4 |
3 |
4 |
4 |
4 |
5 |
4 |
4 |
4 |
|
5. |
Вяльцев Е. |
5 |
4 |
5 |
4 |
3 |
5 |
5 |
5 |
4,5 |
|
6. |
Губский В. |
3 |
4 |
4 |
3 |
5 |
5 |
3 |
4 |
3,8 |
|
7. |
Демидов А. |
3 |
4 |
4 |
5 |
3 |
5 |
4 |
4 |
4 |
|
8. |
Додосьян А. |
4 |
4 |
3 |
5 |
4 |
5 |
4 |
4 |
4,1 |
|
9. |
Левицкий Е. |
3 |
4 |
4 |
4 |
4 |
4 |
5 |
4 |
4 |
|
10. |
Макеев В. |
3 |
4 |
5 |
3 |
3 |
5 |
3 |
3 |
3,6 |
|
11. |
Скрипка Н. |
4 |
3 |
3 |
4 |
5 |
3 |
5 |
5 |
4 |
|
12. |
Харченко Н. |
4 |
4 |
4 |
4 |
5 |
3 |
4 |
4 |
4 |
|
Средний балл |
3,8 |
3,8 |
4,1 |
4,1 |
3,9 |
4,6 |
4,2 |
4,2 |
4,1 |
Анализ результата экспериментальной работы показал, что качество знаний учащихся, выявленное в констатирующей части нашего эксперимента в целом составило 3,8. Наглядно результаты констатирующего эксперимента представлены в приложении №3.
Выявив, результат констатирующего эксперимента мы провели ряд занятий. После проведения экспериментальных уроков мы провели заключительное анкетирование по тем же вопросам. Качество знаний учащихся, достигнутое после изучения разработанных нами и изученных учащимися на уроке тем, определились также средним баллом. Выявление также имеющегося у учащихся уровня практических умений и навыков работе на токарно-винторезных станках оценивался нами по результатам выполнения полноценного изделия на токарно-винторезных станках. В процессе формирующего эксперимента установлено: средний балл достиг 4,1, что свидетельствует об уровне качества усвоения учащимися разработанных нами занятий.
Таким образом, результаты формирующего эксперимента, в отличие от констатирующего, повысились на 0,3 балла, что свидетельствует об эффективности и доступности разработанных нами содержания, форм и методов проведенных занятий.
Результаты, полученные, нами экспериментально в процессе констатирующего и формирующего эксперимента представим в виде графика.
Заключение
В квалификационной работе «Обучения учащихся VII-VIII классов при овладении технологических операций на токарно-винторезном станке» нами были определены социально-педагогические аспекты проблемы технологического образования на современном этапе и выбор пути их решения; проведен анализ объема и содержания учебных программ образовательной области «Технология» с целью выявления места в них, обучения учащихся работе на токарно-винторезных станках; спроектирована оптимальная модель процесса обучения школьников при овладении технологических операций на токарно-винторезных станках и экспериментально проверена эффективность предложенной модели обучения.
Практическая и теоретическая значимость выпускной квалификационной работы заключается в разработке и внедрение в практику средней общеобразовательной школы №5 поселка Октябрьского Красноармейского района Краснодарского края содержания, форм, методов обучения учащихся VII-VIII классов технологии обработки металлов на токарно-винторезных станках.
На основании результатов проведенной экспериментальной работы мы можем выдвинуть следующие методические приемы формирования знаний, умений и навыков учащихся работе на токарно-винторезных станках:
- включать учащихся, как в коллективную, так и в индивидуальную деятельность, заключающую в себе возможность самостоятельного решения различных вопросов и задач;
-использовать практические методы обучения;
- применение разнообразных типов урока;
- создавать условия для эстетического воспитания учащихся;
- стимулировать творческую деятельность учащихся;
- воспитывать бережное отношение к оборудованию;
- воспитывать потребность, интерес к деятельности;
- точность и аккуратность выполнения задания.
Таким образом, проведенная нами теоретическая разработка проблемы и опытно-экспериментальная работа позволяют утверждать, что цели и задачи квалификационной работы решены, гипотеза подтвердилась.
Список использованной литературы
Андрианов П.Н. Техническое творчество учащихся (из опыта работы) - М.: Просвещение, 2006 - 128с.
Атутов П.Р. Связь трудового обучения с основами наук. - М.: Просвещение, 2008 - 128с.
Атутов П.Р., Кальней В.А. и др. Трудовая подготовка школьников. - К.:Радянская школа, 2007 - 227с.
Атутов П.Р., Поляков В.А. Роль трудового обучения в политехническом образовании школьников. - М.: Просвещение, 2005 - 128с.
Батышев С.Я. Производственная педагогика. - М.: Машиностроение, 2004 - 672с.
Батышев С.Я. Трудовая подготовка школьников: Вопросы теории и методики. - М.: Педагогика, 2001 - 192с.
Бронников Н.Л., Матяш Н.В., Симоненко В.Д. Методика обучения учащихся 5 класса технологии. - Брянск, 2000 - 147с.
Гусарчук Д.М. Триста ответов любителю художественных работ по дереву. - М.: Лесная промышленность, 2006 - 248с.
Гушулей И.Н., Рига В.В. Основы деревообработки: проб. учеб. Пособие для уч-ся VII кл. сред. шк. - М.: Просвещение, 2008 - 159с.
Дидактика технологического образования. / Под ред. П.Р. Атутова. - М.: ИОСД РАО, 2008 - 176с.
Дидактика технологического образования. Книга для учителя. Ч. 1. / Под ред. П.Р. Атутова. - М.: ИОСД РАО, 2007 - 230с.
Занятия по техническому труду: пособие для учителя труда IV кл. (в соответствии с существующей структурой школы) / Г.Б. Волошин, А.А. Воронов, А.И. Гедвилло и др.; под ред. Д.А. Тхоржевского. - М.: Просвещение, 2005 - 128с.
Занятия по трудовому обучению, V кл.: обраб. древесины, металла, электротехн. работы, ремонтные работы в быту: Пособие для учителя труда /Г.Б. Волошин, А.А. Воронов, А.И. Гедвилло и др.; под ред. Д.А. Тхоржевского. - 2-е изд., перераб и доп. - М.: Просвещение, 2009 - 176с.
Занятия по трудовому обучению, VI-VII кл.: обраб. древесины, металла, электротехн. и др. работы: Пособие для учителя труда / Г.Б. Волошин, А.А. Воронов, А.И. Гедвилло и др.; под ред. Д.А. Тхоржевского. - 2-е изд., перераб и доп. - М.: Просвещение, 2000 - 208с.
Заречная Л.П. Проблемы подготовки учителя обслуживающего труда в ретроспективе развития педагогического образования. - Славянск-на-Кубани: СФ АГПИ, 2008 - 181с.
Заречная Л.П. Теория и практика профессионально-педагогической подготовки учителя обслуживающего труда. - Славянск-на-Кубани: СФ АГПП, 2008 - 637с.
Иванович К.А., Энштейн Д.А. (ред.). Трудовое политехническое обучение в средней школе. Педагогика. - М.: Просвещение, 2002
Иляева Л.М., Симоненко В.Д., Шипицын Н.П. Творческие проекты для учащихся 5-7 классов по технологии обработки конструкционных материалов. - Брянск: изд. БГУ, 2005
Казакевич В.М. и др. Основы методики трудового обучения / В.М. Казакевич, В.А. Поляков, А.Е. Ставроский; под ред. В.А. Полякова. - М.: Просвещение, 2003 - 192с.
Коваленко В.И. Кулененок В.В. Объекты труда: V кл.: обработка древесины и металла. Электротехнические работы: Пособие для учителя. - М.: Просвещение, 2000 - 176с.
Лихачев Б.Т. Педагогика. Курс лекций. - М.: Педагогика, 2006
Методика обучения технологии. Книга для учителя. /Под редакцией В.Д. Симоненко. - Брянск - Ишим: Изд. ИГПИ НМЦ «Технология». 2008 -295с.
Методика трудового обучения с практикумом: Учебное пособ. для студентов пединститутов и учащихся педучилищ / Д.А. Тхоржевский и др. /Под ред. Д.А. Тхоржевского. - М.: Просвещение, 2006 - 447с.
Муравьев Е.М. Технология обработки металлов: учебное пособие для учащихся классов общеобразовательных учреждений. - М.: Просвещение, 2005 - 224с.
Педагогика: педагогические теории, системы, технологии. / С.А. Смирнов, И.Б. Котов, Е.Н. Шиянов, Т.Н. Бабаев: Под ред. Смирнова С.А. - 2-е изд., испр. и доп. - М.: ИЦ «Академия», 2009 - 544с.
Педагогика: учебное пособие для студентов педвузов и педколледжей /Под ред. П.И. Пидкасистого. - М.: Педагогическое общество России, 2000 - 64с.
Педагогическая практика / Под ред. В.К. Розова. - М.: Просвещение, 2001 - 159с.
Педагогическая энциклопедия. - М.: Сов. энциклопедия, 2004
Педагогические основы профессионального обучения учащихся общеобразовательных школ с учетом требований научно-технического прогресса. - М.: Просвещение, 2008 - 36с.
Подласый И.П. Педагогика. Новый курс: учебник для студ. педвузов: в 2-х кн. - М.: Гуманит. изд. центр «ВЛАДОС», 2009 - кн. 2.: Процесс воспитания - 256с.
Программно-методические материалы: технология, V-XI кл. / сост. А.В. Марченко. - 2-е изд., перераб. и доп. - М.: Дрофа, 2009 - 192с.
Программы «Технология»: классы: для средних общеобразовательных учреждений РФ. - М, 2000
Профессиональная педагогика: учебник для студентов, учащихся по пед. специальностям и направления. - 2-е изд., перераб. и доп. - М.: Ассоциация «Профессиональное образование», 2009 - 904с.
Самородский А.Т., Симоненко В.Д., Тищенко А.Т. Технология. Трудовое обучение: учебник для учащихся 7 класса (вариант для мальчиков) общеобразовательной школы / под ред. В. Д. Симоненко. - М.: Вентана-Граф, 2009 - 192с.
Самородский А.Т., Симоненко В.Д., Тищенко А.Т. Технология. Трудовое обучение: учебник для учащихся 6 класса (вариант для мальчиков) общеобразовательной школы / под ред. В. Д. Симоненко. - М.: Вентана-Граф, 2008 - 168с.
Скаткин М.Н. Дидактика средней школы. - М.: Просвещение, 2002
Сластенин В.А., Подымова Л.С. Педагогика: Инновационная деятельность. — М.: ИЧП, Издательство «Магистр», 2007
Справочник по трудовому обучению: обработка древесины и металла, электротехнические и ремонтные работы: Пособие для уч-ся V-VII классов / И.А. Карабанов, А.А. Деркачев, В.А. Юдицкий и др.; Под ред. И.А.Карабанова. - М.: Просвещение, 2001
Техническое моделирование и конструирование. - М.: Просвещение, 2003 - 255с.
Технология: Учебник для 5 класса общеобразовательных учреждений: вариант для мальчиков / А. Т. Тищенко, П.С. Самородский, В. Д. Симоненко. - 6-е изд. - М.: Просвещение, 2002 - 174с.
Трудовое обучение: пробное учебное пособие для 4 класса средней школы / А.К. Бешенков, Е.В. Васильченко, А.И. Иванов и др. - М.: Просвещение, 2008 - 191с.
Трудовое обучение: пробное учебное пособие для 6 класса средней школы / А.К. Бешенков, Е.В. Васильченко, А.И. Воловиченко и др.; под ред. П.Р. Атутова, В.А. Полякова. - М.: Просвещение, 2009-224с.
Трудовое обучение: пробное учебное пособие для 7 класса средней школы / А.К. Бешенков, Е.В. Васильченко, А.И. Иванов и др.; под пел. П.Р. Атутова. В.А. Полякова. - М.: Просвещение, 2000 - 176с.
Школа и труд / Под ред. П.Р. Атутова, В.А. Кальней. - М.: Педагогика, 2007 - 215с.
Шуркова Н.Е. Практикум по педагогической технологии. - М., 2008 - 349с.
Щеколдин А.Г. Трудовое политехническое обучение в сельской школе зоны интенсивного земледелия. - Краснодар: Краснодарское кн. изд-во, 2003
Щеколдин А.Г., Заречная Л.П., Осадчий А.С., Краснобокий Ю.Н. Учитель трудового обучения сельской школы. Монография. - К., 2007