Конструкции абсорберов
Конструкции абсорберов
Реферат выполнил: ст-т гр. 50-2 Каштанов Р.Д.
Казанский Государственный Технологический Университет
Казань 2003.
Введение
Аппараты, в которых осуществляются абсорбционные процессы, называют абсорберами. Как и другие процессы массопередачи, абсорбция протекает на границе раздела фаз. Поэтому абсорберы должны иметь развитую поверхность соприкосновения между жидкостью и газом. По способу образования этой поверхности абсорберы можно условно разделить на следующие группы: поверхностные и пленочные, насадочные, барботажные (тарельчатые), распыливающие.
Поверхностные и пленочные абсорберы
В абсорберах этого типа поверхностью соприкосновения фаз является зеркало неподвижной или медленно движущейся жидкости, или же поверхность текущей жидкой пленки.
Поверхностные абсорберы. Эти абсорберы используют для поглощения хорошо растворимых газов (например, для поглощения хлористого водорода водой). В указанных аппаратах газ проходит над поверхностью неподвижной или медленно движущейся жидкости (рис.XI-6). Так как поверхность соприкосновения в таких абсорберах мала, то устанавливают несколько последовательно соединенных аппаратов, в которых газ и жидкость движутся противотоком друг к другу. Для того чтобы жидкость перемешивалась по абсорберам самотеком, каждый последующий по ходу жидкости аппарат располагают несколько ниже предыдущего. Для отвода тепла, выделяющегося при абсорбции, в аппаратах устанавливают змеевики, охлаждаемые водой или другим охлаждающим агентом, либо помещают абсорберы в сосуд с проточной водой.
Более совершенным аппаратом такого типа является абсорбер (рис.XI-7), состоящий из ряда горизонтальных труб, орошаемых снаружи водой. Необходимый уровень жидкости в каждом элементе 1 такого аппарата поддерживается с помощью порога 2.

Пластинчатый абсорбер (рис.XI-8) состоит из двух систем каналов: по каналам 1 большого сечения движутся противотоком газ и абсорбент, по каналам 2 меньшего сечения –– охлаждающий агент (как правило, вода). Пластинчатые абсорберы обычно изготавливают из графита, так как он является химически стойким, хорошо проводящим тепло.

Поверхностные абсорберы имеют ограниченное применение вследствие их малой эффективности и громоздкости.
Пленочные абсорберы. Эти аппараты более эффективны и компактны, чем поверхностные абсорберы. В пленочных абсорберах поверхностью контакта фаз является поверхность текущей пленки жидкости. Различают следующие разновидности аппаратов данного типа: 1) трубчатые абсорберы; 2) абсорберы с плоско-параллельной или листовой насадкой; 3) абсорберы с восходящим движением пленки жидкости.
Трубчатый абсорбер (рис.XI-9) сходен по устройству с вертикальным кожухотрубчатым теплообменником. Абсорбент поступает на верхнюю трубную решетку 1, распределяется по трубам 2 и стекает по их внутренней поверхности в виде тонкой пленки. В аппаратах с большим числом труб для более равномерной подачи и распределения жидкости по трубам используют специальные распределительные устройства. Газ движется по трубам снизу вверх навстречу стекающей жидкой пленки. Для отвода тепла абсорбции по межтрубному пространству пропускают воду или другой охлаждающий агент.

Абсорбер с плоскопараллельной насадкой (рис.XI-10). Этот аппарат представляет собой колонну с листовой насадкой 1 в виде вертикальных листов из различного материала (металл, пластические массы и др.) или туго натянутых полотнищ из ткани. В верхней части абсорбера находятся распределительные устройства 2 для равномерного смачивания листовой насадки с обеих сторон.

Абсорбер с восходящим движением пленки (рис.XI-11) состоит из труб 1, закрепленных в трубных решетках 2. Газ из камеры 3 проходит через патрубки 4, расположенные соосно с трубами 1. Абсорбент поступает в трубы через щели 5. Движущийся с достаточно большой скоростью газ увлекает жидкую пленку в направлении своего движения (снизу вверх), т.е. аппарат работает в режиме восходящего прямотока. На выходе из труб 1 жидкость сливается на верхнюю трубную решетку и выводится из абсорбера. Для отвода тепла абсорбции по межтрубному пространству пропускают охлаждающий агент. Для увеличения степени извлечения применяют абсорберы такого типа, состоящие из двух или более ступеней, каждая из которых работает по принципу прямотока, в то время как в аппарате в целом газ и жидкость движутся противотоком друг к другу. В аппаратах с восходящим движением пленки вследствие больших скоростей газового потока (до 30-40 м/сек) достигаются высокие значения коэффициентов массопередачи, но, вместе с тем, гидравлическое сопротивление этих аппаратов относительно велико.
Насадочные абсорберы
Широкое распространение в промышленности в качестве абсорберов получили колонны, заполненные насадкой –– твердыми телами различной формы. В насадочной колонне (рис.7) насадка 1 укладывается на опорные решетки 2, имеющие отверстия или щели для прохождения газа и стока жидкости. Последняя с помощью распределителя 3 равномерно орошает насадочные тела и стекает вниз. По всей высоте слоя насадки равномерного распределения жидкости по сечению колонны обычно не достигается, что объясняется пристеночным эффектом –– большей плотностью укладки насадки в центральной части колонны, чем у ее стенок. Вследствие этого жидкость имеет тенденцию растекаться от центральной части колонны к ее стенкам. Поэтому для улучшения смачивания насадки в колоннах большого диаметра насадку иногда укладывают слоями (секциями) высотой 2-3 м и под каждой секцией, кроме нижней, устанавливают перераспределители жидкости 4.

В насадочной колонне жидкость течет по элементу насадки главным образом в виде тонкой пленки, поэтому поверхностью контакта фаз является в основном смоченная поверхность насадки, и насадочные аппараты можно рассматривать как разновидность пленочных. Однако в последних пленочное течение жидкости происходит по всей высоте аппарата, а в насадочных абсорберах –– только по высоте элемента насадки. При перетекании жидкости с одного элемента насадки на другой пленка жидкости разрушается и на нижележащем элементе образуется новая пленка. При этом часть жидкости проходит через расположенные ниже слои насадки в виде струек, капель и брызг. Часть поверхности насадки бывает смочена неподвижной (застойной) жидкостью.
Основными характеристиками насадки является ее удельная поверхность а (м2/м3) и свободный объем (м3/м3). Величину свободного объема для непористой насадки обычно определяют путем заполнения насадки водой. Отношение объема воды к объему, занимаемому насадкой, дает величину . Эквивалентный диаметр насадки находится по формуле

Гидродинамические режимы. Насадочные абсорберы могут работать в различных гидродинамических режимах.
Первый режим –– пленочный –– наблюдается при небольших плотностях орошения и малых скоростях газа. Количество задерживаемой в насадке жидкости при этом режиме практически не зависит от скорости газа.
Второй режим –– режим подвисания. При противотоке фаз вследствие увеличения сил трения газа о жидкость на поверхности соприкосновения фаз происходит торможение жидкости газовым потоком. В результате этого скорость течения жидкости уменьшается, а толщина ее пленки и количество удерживаемой в насадке жидкости увеличиваются. В режиме подвисания с возрастанием скорости газа увеличивается смоченная поверхность насадки и соответственно –– интенсивность процесса массопередачи. В режиме подвисания спокойное течение пленки нарушается: появляются завихрения, брызги, т.е. создаются условия перехода к барботажу. Все это способствует увеличению интенсивности массообмена.
Третий режим –– режим эмульгирования –– возникает в результате накопления жидкости в свободном объеме насадки. Накопление жидкости происходит до тех пор, пока сила трения между стекающей жидкостью и поднимающимся по колонне газом не уравновесит силу тяжести жидкости, находящейся в насадке. При этом наступает обращение или инверсия фаз (жидкость становится сплошной фазой, а газ –– дисперсной). Образуется газо-жидкостная дисперсная система, по внешнему виду напоминающая барботажный слой (пену) или газо-жидкостную эмульсию. Режим эмульгирования начинается в самом узком сечении насадки, плотность засыпки которой, как указывалось, неравномерна по сечению колонны. Путем тщательного регулирования подачи газа режим эмульгирования может быть установлен по всей высоте насадки. Гидравлическое сопротивление колонны при этом резко возрастает.
Режим эмульгирования соответствует максимальной эффективности насадочных колонн, прежде всего за счет увеличения поверхности контакта фаз, которая в этом случае определяется не только (и не столько) геометрической поверхностью насадки, а поверхностью пузырьков и струй газа в жидкости, заполняющей весь свободный объем насадки. Однако при работе колонны в таком режиме ее гидравлическое сопротивление относительно велико.
В режимах подвисания и эмульгирования целесообразно работать, если повышение гидравлического сопротивления не имеет существенного значения (например, в процессах абсорбции, проводимых при повышенных давлениях). Для абсорберов, работающих при атмосферном давлении, величина гидравлического сопротивления может оказаться недопустимо большой, что вызовет необходимость работать в пленочном режиме. Поэтому наиболее эффективный гидродинамический режим в каждом конкретном случае можно установить только путем технико-экономического расчета.

В обычных насадочных колоннах поддержание режима эмульгирования представляет большие трудности. Имеется специальная конструкция насадочных колонн с затопленной насадкой, называемых эмульгационными (рис.XI-14). В колонне 1 режим эмульгирования устанавливают и поддерживают с помощью сливной трубы, выполненной в виде гидравлического затвора 2. Высоту эмульсии в аппарате регулируют посредством вентилей 3. Для более равномерного распределения газа по сечению колонны в ней имеется тарелка 4. Эмульгационные колонны можно рассматривать как насадочные лишь условно. В этих колоннах механизм взаимодействия фаз приближается к барботажному.
Пределом нагрузки насадочных абсорберов, работающих в пленочном режиме, является точка эмульгирования, или инверсия. В обычных насадочных колоннах пленочный режим неустойчив и сразу переходит в захлебывание. Поэтому эту точку называют точкой захлебывания насадочных колонн. С увеличением скорости орошения снижается предельная скорость газа. В точке инверсии скорость газа уменьшается также с увеличением вязкости жидкости и снижением ее плотности. При одинаковых расходах газа и жидкости скорость газа, соответствующая точке инверсии, выше для более крупной насадки.
Четвертый режим –– режим уноса, или обращенного движения жидкости, выносимой из аппарата газовым потоком. Этот режим на практике не используется.
Выбор насадок. Для того чтобы насадка работала эффективно, она должна удовлетворять следующим основным требованиям: 1) обладать большой поверхностью в единице объема; 2) хорошо смачиваться орошаемой жидкостью; 3) оказывать малое гидравлическое сопротивление газовому потоку; 4) равномерно распределять орошающую жидкость; 5) быть стойкой к химическому воздействию жидкости и газа, движущихся в колонне; 6) иметь малый удельный вес; 7) обладать высокой механической прочностью; 8) иметь невысокую стоимость.
Насадок, полностью удовлетворяющих всем указанным требованиям, не существует, т.к., например, увеличение удельной поверхности насадки влечет за собой увеличение гидравлического сопротивления аппарата и снижение предельных нагрузок. В промышленности применяют разнообразные по форме и размерам насадки (рис.XI-15), которые в той или иной мере удовлетворяют требованиям, являющимся основными при проведении конкретного процесса абсорбции. Насадки изготавливают из разнообразных материалов (керамика, фарфор, сталь, пластмасса и др.), выбор которых диктуется величиной удельной поверхности насадки, смачиваемостью и коррозионной стойкостью.

В качестве насадки используют также засыпаемые навалом в колонну куски кокса или кварца размерами 25-100 мм. Однако вследствие ряда недостатков (малая удельная поверхность, высокое гидравлическое сопротивление и др.) кусковую насадку в настоящее время применяют редко.
Широко распространена насадка в виде тонкостенных керамических колец высотой, равной диаметру (кольца Рашига), который изменяется в пределах 15-150 мм. Кольца малых размеров засыпают в абсорбер навалом. Большие кольца (размерами не менее 5050 мм) укладывают правильными рядами, сдвинутыми друг относительно друга. Этот способ заполнения аппарата насадкой называют загрузкой в укладку, а загруженную таким образом насадку –– регулярной. Регулярная насадка имеет ряд преимуществ перед нерегулярной, засыпанной в абсорбер навалом: обладает меньшим гидравлическим сопротивлением, допускает большие скорости газа. Однако для улучшения смачивания регулярных насадок необходимо применять более сложные по конструкции оросители. Хордовая деревянная насадка обычно используется в абсорберах, имеющих значительный диаметр. Основное ее достоинство –– простота изготовления, недостатки –– относительно небольшая удельная поверхность и малый свободный объем.
За последние годы стали применяться спиральные насадки, выполненные из металлических лент и проволоки, различные металлические сетчатые насадки, а также насадки из стеклянного волокна.
При выборе размеров насадки следует учитывать, что чем больше размеры ее элемента, тем выше допустимая скорость газа (и соответственно –– производительность абсорбера) и ниже его гидравлическое сопротивление. Общая стоимость абсорбера с насадкой из элементов больших размеров будет ниже за счет уменьшения диаметра аппарата, несмотря на то, что его высота несколько увеличится по сравнению с высотой аппарата, имеющего насадку меньших размеров (вследствие снижения величины удельной поверхности насадки и интенсивности массопередачи).
Мелкая насадка предпочтительнее также при проведении процесса абсорбции под повышенным давлением, т.к. в этом случае гидравлическое сопротивление абсорбера не имеет существенного значения. Кроме того, мелкая насадка, обладающая большей удельной поверхностью, имеет преимущества перед крупной тогда, когда для осуществления процесса абсорбции необходимо большое число единиц переноса или теоретических ступеней изменения концентраций.
Основные достоинства насадочных колонн является простота устройства и низкое гидравлическое сопротивление. Недостатки: трудность отвода тепла и плохая смачиваемость насадки при низких плотностях орошения. Отвод тепла из этих аппаратов и улучшение смачиваемости достигаются путем рециркуляции абсорбента, что усложняет и удорожает абсорбционную установку. Для проведения одного и того же процесса требуются насадочные колонны обычно большего объема, чем барботажные.
Насадочные колонны мало пригодны при работе с загрязненными жидкостями. Для таких жидкостей в последнее время стали применять абсорберы с «плавающей» насадкой. В этих абсорберах в качестве насадки используют главным образом легкие полые или сплошные пластмассовые шары, которые при достаточно высоких скоростях газа переходят во взвешенное состояние.
В абсорберах с «плавающей» насадкой допустимы более высокие скорости газа, чем в абсорберах с неподвижной насадкой. При этом увеличение скорости газа приводит к большому расширению слоя шаров и, следовательно, к незначительному увеличению гидравлического сопротивления аппарата.
Барботажные (тарельчатые) абсорберы
Тарельчатые абсорберы представляют собой, как правило, вертикальные колонны, внутри которых на определенном расстоянии друг от друга размещены горизонтальные перегородки –– тарелки. С помощью тарелок осуществляется направленное движение фаз и многократное взаимодействие жидкости и газа.
В настоящее время в промышленности применяются разнообразные конструкции тарельчатых аппаратов. По способу слива жидкости с тарелок барботажные абсорберы можно подразделить на колонны: 1) с тарелками со сливными устройствами и 2) с тарелками без сливных устройств.

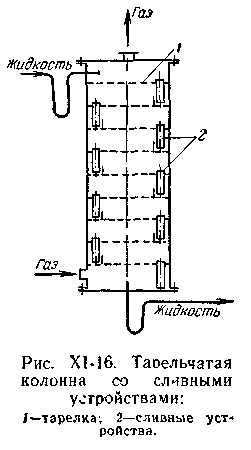
Тарельчатые колонны со сливными устройствами. В этих колоннах перелив жидкости с тарелки на тарелку осуществляется при помощи специальных устройств –– сливных трубок, карманов и т.п. Нижние колонны трубок погружены в стакан на нижерасположенных тарелках и образуют гидравлические затворы, исключающие возможность прохождение газа через сливное устройство.
Принцип работы колонн такого типа виден из рис.XI-16, где в качестве примера показан абсорбер с ситчатыми тарелками. Жидкость поступает на верхнюю тарелку 1, сливается с тарелки на тарелку через переливные устройства 2 и удаляются из нижней части колонны. Газ поступает в нижнюю часть аппарата проходит последовательно сквозь отверстия или колпачки каждой тарелки. При этом газ распределяется в виде пузырьков и струй в слое жидкости на тарелке, образуя на ней слой пены, являющийся основной областью массообмена и теплообмена на тарелке. Отработанный газ удаляется сверху колонны.
Переливные трубки располагают на тарелках таким образом, чтобы жидкость на соседних тарелках протекала во взаимопротивоположных направлениях. За последнее время все шире применяют сливные устройства в виде сегментов, вырезанных в тарелке и ограниченных порогом –– переливом.
К тарелкам со сливными устройствами относятся: ситчатые, колпачковые, клапанные и балластные, пластинчатые.
Гидродинамические режимы работы тарелок. Эффективность тарелок любых конструкций в значительной степени зависит от гидродинамических режимов их работы. Поэтому до описания основных конструкций тарелок рассмотрим эти режимы.
В зависимости от скорости газа и плотности орошения различают три основных гидродинамических режима работы барботажных тарелок: пузырьковый, пенный и струйный, или инжекционный. Эти режимы отличаются структурой барботажного слоя, которая в основном определяет его гидравлическое сопротивление и высоту, а также величину поверхности контакта фаз.
Пузырьковый режим. Такой режим наблюдается при небольших скоростях газа, когда он движется сквозь слой жидкости в виде отдельных пузырьков. Поверхность контакта фаз на тарелке, работающей в пузырьковом режиме, невелика.
Пенный режим. С увеличением расхода газа выходящие из отверстия и прорези отдельные пузырьки сливаются в сплошную струю, которая на определенном расстоянии от места истечения разрушается вследствие сопротивления барботажного слоя с образованием большого количества пузырьков. При этом на тарелке возникает газо-жидкостная дисперсная система –– пена, которая является нестабильной и разрушается сразу же после прекращения подачи газа. В указанном режиме контактирование газа и жидкости происходит на поверхности пузырьков и струй газа, а также на поверхности капель жидкости, которые в большом количестве образуются над барботажным слоем при выходе пузырьков газа из барботажного слоя и разрушении их оболочек. При пенном режиме поверхность контакта фаз на барботажных тарелках максимальна.
Струйный (инжекционный) режим. При дальнейшем увеличении скорости газа длина газовых струй увеличивается, и они выходят на поверхность барботажного слоя, не разрушаясь и образуя большое количество крупных брызг. Поверхность контакта фаз в условиях такого гидродинамического режима резко снижается.
Следует отметить, что переход от одного режима к другому происходит постепенно. Общие методы расчета границ гидродинамических режимов (критических точек) для барботажных тарелок отсутствуют. Поэтому при проектировании тарельчатых аппаратов обычно расчетным путем определяют скорость газа, соответствующую нижнему и верхнему пределам работы тарелки, и затем выбирают рабочую скорость газа.
Ситчатые тарелки. Колонна с сетчатыми тарелками (рис. XI-18) представляет собой вертикальный цилиндрический корпус 1 с горизонтальными тарелками 2, в которых равномерно по всей поверхности просверлено значительное число отверстий диаметром 1—5 мм. Для слива жидкости и регулирования ее уровня на тарелке служат переливные трубки 3, нижние концы которых погружены в стаканы 4.
Газ проходит сквозь отверстия тарелки и распределяется в жидкости в виде мелких струек и пузырьков. При слишком малой скорости газа жидкость может просачиваться (или «проваливаться») через отверстия тарелки на нижерасположенную, что должно привести к существенному снижению интенсивности массопередачи. Поэтому газ должен двигаться с определенной скоростью и иметь давление, достаточное для того, чтобы преодолеть давление слоя жидкости на тарелке и предотвратить стекание жидкости через отверстия тарелки.
Ситчатые тарелки отличаются простотой устройства, легкостью монтажа, осмотра и ремонта. Гидравлическое сопротивление этих тарелок невелико. Ситчатые тарелки устойчиво работают в довольно широком интервале скоростей газа, причем в определенном диапазоне нагрузок по газу и жидкости эти тарелки обладают высокой эффективностью. Вместе с тем ситчатые тарелки чувствительны к загрязнениям и осадкам, которые забивают отверстия тарелок. В случае внезапного прекращения поступления газа или значительного снижения его давления с ситчатых тарелок сливается вся жидкость, и для возобновления процесса требуется вновь запускать колонну.

Разновидностью абсорберов с ситчатыми тарелками являются так называемые пенные абсорберы, тарелки которых, как указывалось, отличаются от ситчатых конструкцией переливного устройства. При одинаковом числе тарелок эффективность пенных аппаратов выше, чем эффективность абсорберов с ситчатыми тарелками. Однако вследствие большой высоты пены на тарелках гидравлическое сопротивление пенных абсорберов значительно, что ограничивает область их применения.
Колпачковые тарелки. Менее чувствительны к загрязнениям, чем колонны с ситчатыми тарелками, и отличаются более высоким интервалом устойчивой работы колонны с колпачковыми тарелками (рис. Х1-19). Газ на тарелку 1 поступает по патрубкам 2, разбиваясь затем прорезями колпачка 3 на большое число отдельных струй. Прорези колпачков наиболее часто выполняются в виде зубцов треугольной или прямоугольной формы. Далее газ проходит через слой жидкости, перетекающей по тарелке от одного сливного устройства 4 к другому. При движении через слой значительная часть мелких струй распадается и газ распределяется в жидкости в виде пузырьков. Интенсивность образования пены и брызг на колпачковых тарелках зависит от скорости движения газа и глубины погружения колпачка в жидкость.

На рис. Х1-20 показана схема работы колпачка при неполном (а) и полном (б) открытии прорезей, причем в последнем случае колпачок работает наиболее эффективно» Сечение и форма прорезей колпачка имеют второстепенное значение, но желательно устройство узких прорезей, так - как при этом газ разбивается на более мелкие струйки, что спосоосгвует увеличению поверхности соприкосновения фаз. Для создания большей поверхности контакта фаз на тарелках обычно устанавливают значительное число колпачков, расположенных на небольшом расстоянии друг от друга.
Колпачковые тарелки изготовляют с радиальным или диаметральным переливами жидкости. Тарелка с радиальным переливом жидкости (рис. Х1-21, а) представляет собой стальной диск 1, который крепится на прокладке 2 болтами 3 к опорному кольцу 4. Колпачки 5 расположены на тарелке в шахматном порядке. Жидкость переливается на лежащую ниже тарелку по периферийным сливным трубкам 6, движется к центру и сливается на следующую тарелку по центральной трубке 7, затем снова течет к периферии и т. д.

Тарелка с диаметральным переливом жидкости (рис. Х1-21, б) представляет собой срезанный с двух сторон диск /, установленный на опорном листе 2. С одной стороны тарелка ограничена приемным порогом 3, а с другой — сливным порогом 4 со сменной гребенкой 5, при помощи которой регулируется уровень жидкости на тарелке. В тарелке этой конструкции периметр слива увеличен путем замены сливных трубок сегментообразными отверстиями, ограниченными перегородками 6, что снижает вспенивание жидкости при ее переливе.
Колпачковые тарелки устойчиво работают при значительных изменениях нагрузок по газу и жидкости. К их недостаткам следует отнести сложность устройства и высокую стоимость, низкие предельные нагрузки по газу, относительно высокое гидравлическое сопротивление, трудность очистки. Поэтому колонны с колпачковыми тарелками постепенно вытесняются новыми, более прогрессивными конструкциями тарельчатых аппаратов.

На рис. Х1-22 показана распространенная конструкция штампованного капсюльного колпачка. Он состоит из патрубка, который развальцован в отверстии тарелки 2, и планки 3, приваренной к верхней части патрубка. К планке с помощью болта 4 крепится колпачок 5 диаметром 80—150 мм, закрепляемый на требуемой высоте контргайкой.
Колпачковые тарелки устойчиво работают при значительных изменениях нагрузок по газу и жидкости. К их недостаткам следует отнести сложность устройства и высокую стоимость, низкие предельные нагрузки по газу, относительно высокое гидравлическое сопротивление, трудность очистки. Поэтому колонны с колпачковыми тарелками постепенно вытесняются новыми, более прогрессивными конструкциями тарельчатых аппаратов.
Клапанные и балластные тарелки (рис. XI-23). Эти тарелки получают за последнее время все более широкое распространение, особенно для работы в условиях значительно меняющихся скоростей газа.
Принцип действия клапанных тарелок (рис. Х1-23. а, б) состоит в том, что свободно лежащий над отверстием в тарелке круглый клапан 1 с изменением расхода газа своим весом автоматически регулирует величину площади зазора между клапаном и плоскостью тарелки для прохода газа и тем самым поддерживает постоянной скорость газа при его истечении в барботажный слой. При этом с увеличением скорости газа в колонне гидравлическое сопротивление клапанной тарелки увеличивается незначительно. Высота подъема клапана ограничивается высотой кронштейна-ограничителя 2 и обычно не превышает 8 мм. Пластинчатые клапаны (рис. X1-23, в) работают так же, как и круглые. Они имеют форму неравнобокого уголка, одна из полок которого (более длинная) закрывает прямоугольное отверстие в тарелке.
Балластные тарелки (рис. X1-23, г) отличаются по устройству от клапанных тем, что в них между легким круглым клапаном 1 и кронштейном-ограничителем 2 установлен на коротких стойках, опирающихся на тарелку, более тяжелый, чем клапан, балласт 3. Клапан начинает подниматься при небольших скоростях газа. С дальнейшим увеличением скорости газа клапан упирается в балласт и затем поднимается вместе с ним. Балластные тарелки отличаются более равномерной работой и полным отсутствием провала жидкости во всем интервале скоростей газа.
Достоинства клапанных и балластных тарелок: сравнительно высокая пропускная способность по газу и гидродинамическая устойчивость, постоянная и высокая эффективность в широком интервале нагрузок по газу. Последнее достоинство является особенностью клапанных и балластных тарелок по сравнению с тарелками других конструкций. К недостаткам этих тарелок следует отнести их повышенное гидравлическое сопротивление, обусловленное весом клапана или балласта. Известны разновидности клапанных и балластных тарелок, отличающиеся конструкцией клапанов (балластов) и ограничителей.

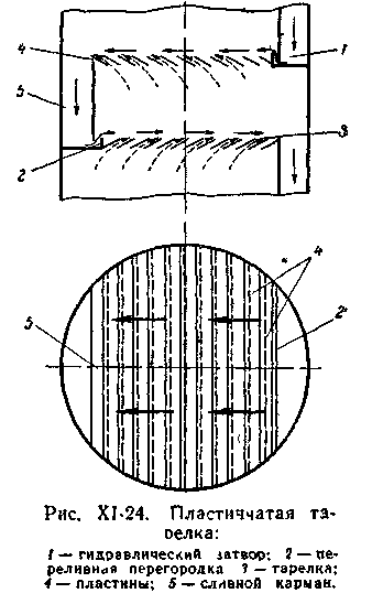
Пластинчатые тарелки. Эти тарелки, в отличие от тарелок, рассмотренных выше, работают при однонаправленном движении фаз, т. е. каждая ступень работает по принципу прямотока, что позволяет резко повысить нагрузки по газу и жидкости, в то время как колонна в целом работает с противотоком фаз. В колонне с пластинчатыми тарелками (рис. Х1-24) жидкость (движение которой показано на рисунке сплошными стрелками) поступает с вышележащей тарелки в гидравлический затвор 1 и через переливную перегородку 2 попадает на тарелку 3, состоящую из ряда наклонных пластин 4. Дойдя до первой щели, образованной наклонными пластинами, жидкость встречается с газом (пунктирные стрелки), который с большой скоростью (20—40 м/сек) проходит сквозь щели. Вследствие небольшого угла наклона пластин (αт = 10—15°) газ выходит на тарелку в направлении, близком к параллельному по отношению к плоскости тарелки. При этом происходит эжектирование жидкости, которая диспергируется газовым потоком на мелкие капли и отбрасывается вдоль тарелки к следующей щели, где процесс взаимодействия жидкости и газа или пара повторяется. В результате жидкость с большой скоростью движется вдоль тарелки от переливной перегородки 2 к сливному карману 5. В данном случае нет, необходимости в установке переливного порога у кармана 5, что уменьшает общее гидравлическое сопротивление тарелки.
Таким образом, пластинчатые тарелки работают так, что в отличие от тарелок других конструкций жидкость является дисперсной фазой, а газ — сплошной, и контактирование жидкости и газа осуществляется на поверхности капель и брызг. Описанный гидродинамический режим газожидкостной дисперсной системы на контактной тарелке может быть определен как капельный или капельно-брызговой.

Этот режим позволяет резко повысить нагрузки по жидкости и газу в колоннах с пластинчатыми тарелками.
Помимо работы пластинчатых тарелок в интенсивном капельном режиме к числу их достоинств относятся: низкое гидравлическое сопротивление, возможность работы с загрязненными жидкостями, низкий расход металла при их изготовлении. На тарелках этого типа уменьшается продольное перемешивание жидкости, что приводит к увеличению движущей силы массопередачи. Недостатками пластинчатых тарелок являются: трудность отвода и подвода тепла, снижение эффективности при небольших расходах жидкости. В настоящее время разработан ряд других конструкций тарелок с однонаправленным движением жидкости и газа, описание которых приводится в специальной литературе.
Колонны с тарелками без сливных устройств (рис. Х1-25). В тарелке без сливных устройств газ и жидкость проходят через одни и те же отверстия или щели. На тарелке одновременно с взаимодействием жидкости и газа путем барботажа происходит сток части жидкости на нижерасположенную тарелку — «проваливание» жидкости. Поэтому тарелки такого типа обычно называют провальными. К ним относятся дырчатые, решетчатые, трубчатые и волнистые тарелки.
Распыливающие абсорберы
В абсорберах этого типа тесный контакт между фазами достигается путем распыливания или разбрызгивания различными способами жидкости в газовом потоке.
Полый распыливающий абсорбер (рис.XI-28) представляет собой колонну, в верхней части корпуса 1 которой имеются форсунки 2 для распыливания жидкости (главным образом механические). В распыливающих абсорберах объемные коэффициенты массопередачи быстро снижаются по мере удаления от форсунок вследствие коалесцениции капель и уменьшения поверхности фазового контакта. Поэтому оросители (форсунки) в этих аппаратах обычно устанавливают на нескольких уровнях.
К достоинствам полых распыливающих абсорберов относятся: простота устройства, низкое гидравлическое сопротивление, возможность работы с загрязненными газами, легкость осмотра, очистки и ремонта. Недостатки этих аппаратов: невысокая эффективность, значительный расход энергии на распыление жидкости, трудность работы с загрязненными жидкостями, необходимость подачи больших количеств абсорбента для увеличения количества капель и соответственно –– поверхности контакта фаз, низкие допустимые скорости газа, значения которых ограничены уносом капель жидкости.
Распыливающие абсорберы применяются главным образом для поглощения хорошо растворимых газов, т.к. вследствие высокой относительной скорости фаз и турбулизации газового потока коэффициенты массоотдачи в газовой фазе (г) в этих аппаратах достаточно высоки.

Значительно более эффективными аппаратами являются прямоточные распыливающие абсорберы, в которых распыленная жидкость захватывается и уносится газовым потоком, движущимся с большой скоростью (20-30 м/сек и более), а затем отделяется от газа в специальной камере. К аппаратам такого типа относится абсорбер Вентури (рис.XI-29), основной частью которого является труба Вентури. Жидкость поступает в конфузор 1 трубы, течет в виде пленки и в горловине 2 распыливается газовым потоком. Далее жидкость выносится газом в диффузор 3, в котором постепенно снижается скорость газа, и кинетическая энергия газового потока переходит в энергию давления с минимальными потерями. Сепарация капель происходит в камере 4.
К распыливающим относятся также механические абсорберы, в которых разбрызгивание жидкости производится с помощью вращающихся устройств, т.е. с подводом внешней энергии для образования возможно большей поверхности контакта фаз между газом и жидкостью.
Механические абсорберы компактнее и эффективнее распыливающих абсорберов других типов. Однако они значительно сложнее по устройству и требуют больших затрат энергии на осуществление процесса.
Во многих случаях в системах газ –– жидкость для диспергирования одной фазы в другой оказывается достаточным использование энергии потока газа, взаимодействующего с жидкостью, и подвод внешней энергии для этой цели нецелесообразен.
Список литературы
Касаткин А.Г. «Основные процессы и аппараты химической технологии»; изд. «Химия», М., 1971.
Для подготовки данной работы были использованы материалы с сайта http://ref.com.ua