Паровоздушная газификация углей
Паровоздушная газификация углей
Выполнил студент группы 5-ХТТ-17 Могутнов В.В.
Украинский государственный химико-технологический университет
Днепропетровск 2003
В общей части дипломной работы был проведен литературный анализ методов газификации угля, выбор о обоснование принципиальной технологической схемы получения генераторного газа методом паровоздушной газификации. Приведены параметры и описания процесса, произведен экономический расчет цены исследования.
На основании технического анализа по содержанию балластных компонентов и выходу летучих, выбрано сырьё процесса газификации.
Изучено влияние скорости подачи окислителей на степень конверсии угля. Выбраны основные оптимальные показатели процесса переработки низкосортного обогащенного концентрата: расход воздуха и пара, температура.
В дипломной работе приведены меры по технике безопасности, промышленной санитарии и противопожарной техники, при проведении в испытательной лаборатории. А также рассчитаны затраты на проведении исследовательской части и определена цена исследования.
Введение
Быстрое развитие производственных сил, связана с большим расходом топлива и углеводородного сырья, неравномерность и сложность добычи горючих ископаемых сопровождается ростом цен и увеличение транспортных расходов и материальных затрат.
В химической индустрии наиболее неотложной задачей является перевод угольной базы производства связанного азота, синтетического метанола. Этот перевод сулит уменьшать крупнотонажность химических предприятий от сезонных колебаний в снабжении природным газом, освободить от применения значительных количеств жароупорных легированных сталей.
Переход на твердое топливо несёт и ряд негативных явлений для промышленного производства. Анализ, подготовка производства и преодоление трудностей является задачей науки.
Работа с твердым топливом в аппаратурно-техническом плане сложнее, чем с жидкими и газообразными углеводородами. Добыча и транспортировка твердого топлива, его сушке, измельчение, подача в газогенератор, удаление золы, очистка технологического газа все это требует помощи механических и технологических приспособлений. Кроме того, все технологические операции требуют энергетических затрат.
Таким образом, переход на новую сырьевую базу связан: с ростом удельных капитальных затрат, уменьшение КПД процесса, увеличение расхода рабочей силы на тонну конечного продукта. Но с какими бы затратами не был связан этот переход, его нельзя рассматривать как альтернатива, это неизбежная необходимость. И чем раньше будет развита подготовка к этому переходу, тем он пройдет более безболезненно. Наиболее важным звеном при решении задачи- это проблема газификации твердого топлива- получение генераторного газа [1].
1. Литературный обзор
Газификация угля – производство горючего (технологического) газа при неполном окислении органической массы угля, имеет давнюю историю с периодами бурного развития и спадами. Впервые горючий газ из угля получил англичанин Мэрдок в 1792 г. как попутный продукт при производстве "светильного масла". К 50-м годам XIX в. практически во всех крупных и средних городах Европы и Северной Америки действовали газовые заводы для производства отопительного, бытового и светильного газа [2]. Это был "золотой век" газификации угля. Начиная с 60-х годов XIX в., все более серьезную конкуренцию углю начинает оказывать нефть. В начале 1960-х годов разработка месторождений дешевой нефти на Ближнем Востоке и в Западной Сибири привела практически к полной ликвидации этой отрасли промышленности. Сохранились лишь небольшие островки в уникальных регионах. Например, в ЮАР углепереработка (главным образом на основе газификации угля) стала крупной промышленным сектором из-за эмбарго на поставку нефти. Началось триумфальное шествие нефти. Однако уже в 1972 г. оно омрачилось первым "энергетическим кризисом", который по существу был спровоцирован на политической основе странами-участниками ОПЕК. Мировые цены на нефть подскочили с 5-7 до 24 долл. США за баррель (1 т сырой нефти сорта Brent ≈ 8,06 баррелей), и стало ясно, что углепереработку списывать в архив рано, так как в большинстве развитых стран много угля и мало или совсем нет нефти. Интересно заметить, что если бы не этот первый "энергетический кризис", то крах социалистической системы мог наступить еще в 1970-е гг. Активный приток "нефтедолларов" продлил агонию СССР. Этот кризис преподнес цивилизованному миру очень важный урок. Во-первых, все осознали, что запасы углеводородного сырья распределены крайне неравномерно и неудобно, и, во-вторых, эти запасы - исчерпаемы. Запасы же угля и других твердых горючих ископаемых – нефтяных сланцев, битумных песков, торфа и т.п. распределены более равномерно, и сроки их исчерпания оценивается многими сотнями лет. Но самый главный результат этот кризиса заключается в активизации работ по энергосбережению.
К прогнозам исчерпаемости природных ресурсов следует относиться очень осторожно. Как правило, за ними стоят политическая конъюнктура и узко корпоративные интересы. В 1970-1980 гг. научная периодика была полна прогнозов, согласно которым сегодня, в 2002 г., мы должны были добывать из недр остатки нефти и газа. Предрекалось, что в период 1995-2020 гг. начнется второй “золотой век” угля. Была популярна точка зрения, что "нефть – это эпизод в эпоху угля". Панические прогнозы относительно перспектив нефтяного рынка инициировали разработку новых технологических процессов переработки угля, причем приоритетным было получение жидкого топлива, как прямым ожижением угля, так и косвенным, т.е. синтезом жидких углеводородов из “угольного” синтез-газа. В США, Великобритании, Германии, Японии, бывшем СССР и ряде других стран при государственной поддержке были начаты масштабные программы создания технологий углепереработки. В какой-то мере это напоминало гонку конца 1940-х начала 1950-х годов в области создания атомной бомбы. В ней участвовали сотни фирм с мировыми именами и к 1980-м годам были сооружены десятки демонстрационных и пилотных установок для газификации, ожижения и термической переработки угля.
В середине 1980-х годов интерес к углепереработке пошел на убыль. причин несколько. Во-первых, политикой "кнута и пряника" США установили контроль над странами - производителями нефти. Наиболее амбициозных (Ирак, Иран) наказали в назидание другим. В результате рост цен на нефть замедлился. В течение 1980-х годов цены на нефть снизились с 40 долл. США за баррель (что соответствует примерно 65 долл. США за баррель в современных ценах с поправкой на инфляцию) до минимального уровня 9,13 долл. США за баррель в декабре 1998 г. и в настоящее время колеблются в "коридоре" 17-27 долл. США за баррель.
Во-вторых, эффективно сработали государственные программы энергосбережения, что в конечном итоге привело к снижению темпа роста потребления нефти и природного газа. С середины 1970-х годов энергоемкость единицы ВВП в развитых странах снизилась на 22 %, а нефтеемкость на 38 % [3].
В-третьих, динамичное развитие нефтегазовой отрасли и масштабные работы по разведке новых месторождений нефти и газа показали, что запасы углеводородного сырья на самом деле значительно больше, чем предполагалось. Последние 20 лет ежегодный прирост разведанных запасов нефти и газа опережает их потребление, и прогнозные сроки исчерпания регулярно отодвигаются. По достаточно авторитетным данным глобальную замену нефти углем следует ожидать после середины XXI в., а замену природного газа углем – к концу века. Если, конечно, не произойдет прорыва в развитии технологии ядерного синтеза.
В-четвертых, ни одна из разрабатываемых технологий не позволила повысить рентабельность процесса получения жидкого топлива из угля в такой степени, чтобы "синтетическая нефть" могла конкурировать с природной нефтью.
В итоге “эпоха угля” не наступила и интерес к переработке угля уменьшился. Большинство программ было свернуто, а оставшиеся - радикально урезаны. Более десятка проектов были завершены на стадии 5-летней готовности, т.е. при изменении конъюнктуры рынка углеводородного сырья можно в течение 5 лет на основе демонстрационных установок производительностью 10-60 т/ч по углю развернуть промышленное производство. Если от коммерческого использования технологий прямого и непрямого ожижения угля в конце 1980-х гг. пока отказались, то интерес к газификации угля хотя и уменьшился, но не прекратился. Например, в ряде регионов, где природного газа нет или мало (Северная Америка, Китай и др.), использование газа из угля для синтеза метанола и аммиака экономически оправдано и построен ряд промышленных предприятий.
В 1990-е годы бурное развитие получила внутрицикловая газификация для производства электроэнергии, т.е. использование бинарного цикла, при котором горючий газ утилизируется в газовой турбине, а продукты сгорания используются при генерации пара для паровой турбины. Первая коммерческая электростанция с внутрицикловой газификацией – Cool Water, США, шт. Калифорния, мощностью 100 МВт (60 т/ч по углю) была построена в 1983 г. Использовался газогенератор Texaco с подачей топлива в виде водо-угольной суспензии. После 1993 г. в разных странах было введено в эксплуатацию 18 электростанций с внутри цикловой газификацией твердого топлива мощностью от 60 до 300 МВт. На рис.1 приведены данные по мировому производству газа из твердых топлив с 1970 г., а в табл. 1.2 – структура его потребления.
Рис. 1. Суммарная мощность газогенераторных установок
Динамика потребления газа из угля в мире
Таблица 1.2
|
Целевое использование |
Использование в 2001 г., МВт по газу |
Доля в 2001 г., % |
Вводится в эксплуатацию до конца 2004 г., МВт по газу |
Годовой прирост мощности в 2002-2004 гг., % |
|
Химическое производство |
18 000 |
45 |
5 000 |
9,3 |
|
Внутрицикловая газификация (производство электроэнергии) |
12 000 |
30 |
11 200 |
31 |
|
Синтез по Фишеру-Тропшу |
10 000 |
25 |
0 |
0 |
|
ВСЕГО |
40 000 |
100 |
17 200 |
14,3 |
Приведенные данные наглядно демонстрируют ускорение динамики вовлечения газификации угля в мировую промышленность. Повышенный интерес к внутрицикловой газификации угля в развитых странах объясняется двумя причинами. Во-первых, ТЭС с внутрицикловой газификацией экологически менее опасна. Благодаря предварительной очистке газа сокращаются выбросы оксидов серы, азота и твердых частиц. Во-вторых, использование бинарного цикла позволяет существенно увеличить КПД электростанции и, следовательно, сократить удельный расход топлива.
В табл.1.2 приведены характерные величины удельных выбросов и КПД для ТЭС с внутрицикловой газификацией и для ТЭС с традиционным сжиганием угля.
Величины удельных выбросов и КПД для ТЭС с внутрицикловой газификацией и с традиционным сжиганием угля
Таблица 1.2
|
Параметры |
Традиционная угольная ТЭС |
ТЭС с внутрицикловой газификацией |
|
Концентрация вредных веществ в дымовых газах (для угольной ТЭС – согласно Евростандарту), мг/м3 - SOx - NOx - Твердые частицы |
130 150 16 |
10 30 10 |
|
Электрический КПД, % |
33-35 |
42-46 |
Необходимо отметить, что удельные капитальные затраты при использовании внутрицикловой газификации составляют примерно 1500 долл. США за 1кВт с перспективой снижения до 1000-1200 долл. США, в то время как для традиционной угольной ТЭС удельные капитальные затраты составляют примерно 800-900 долл. США за 1 кВт. Ясно, что ТЭС с внутрицикловой газификацией твердого топлива более привлекательна при наличии экологических ограничений в месте размещения и при использовании достаточно дорогого топлива, так как расход топлива на 1 кВт сокращается. Эти условия характерны для развитых стран. В настоящее время использование внутрицикловой газификации твердого топлива считается самым перспективным направлением в энергетике.
Для современной химической промышленности и энергетики требуются газогенераторы с единичной мощностью по углю 100 т/ч и более. К началу 1970-х годов в промышленном масштабе было реализовано три типа газогенераторов [4].
Cлоевые газогенераторы. В разное время действовало более 800 газогенераторов, в том числе более 30 газогенераторов “Лурги” с единичной мощностью по углю до 45 т/ч. После 1977 г. введено в эксплуатацию еще 130 газогенераторов “Лурги”.
Газогенераторы Винклера с кипящим слоем. Было сооружено более 40 аппаратов с единичной мощностью до 35 т/ч по углю.
Пылеугольные газогенераторы Копперса-Тотцека. К началу 1970-х годов эксплуатировалось более 50 аппаратов с единичной мощностью до 28 т/час по углю.
Не случайно все самые мощные газогенераторы имели немецкое происхождение. Причина в том, что в Германии нет собственной нефти, но имеются большие запасы угля. В 1920-1940 гг. в Германии была реализована беспрецедентная по масштабам программа углепереработки с производством моторных топлив, металлургического топлива, газов различного назначения и широкого спектра продуктов углехимии, включая пищевые продукты. Во время второй мировой войны с использованием жидких продуктов пиролиза, прямого и непрямого ожижения угля производилось до 5,5 млн. т в год моторного топлива. Именно немецкие разработки того времени определили на многие десятилетия стратегию развития технологий углепереработки, в том числе газификации топлива.
Если проанализировать конструктивные особенности и принцип действия современных промышленных газогенераторов (к настоящему времени до промышленного масштаба доведено еще более десяти конструкций газогенераторов), можно выделить четыре основополагающих инженерных решения.
1. Создание Фрицем Винклером (концерн BASF) в 1926 г. газогенератора с кипящим слоем. Эта технология послужила основой для современных процессов HTW (Hoch-Temperatur Winkler) и KRW (Kellogg-Rust-Westinghouse) и др.
2. Разработка фирмой "Лурги" в 1932 г. слоевого газогенератора, работающего под давлением 3 МПа. Использование повышенного давления для интенсификации процесса газификации реализовано почти во всех современных промышленных газогенераторах.
3. Разработка Генрихом Копперсом и Фридрихом Тотцеком в 1944-45 гг. пылеугольного газогенератора с жидким шлакоудалением. Первый промышленный аппарат этого типа был построен в 1952 г. в Финляндии. Пылеугольный принцип газификации с жидким шлакоудалением реализован в промышленных аппаратах Destec, Shell, Prenflo, разработанных на основе газогенератора Копперса-Тотцека, в аппарате Texaco и др. Удаление шлака в жидком виде реализовано в слоевом газогенераторе BGL (British Gas– Lurgy), разработанном на основе газогенератора Лурги.
4. Разработка фирмой Texaco в 1950-е годы газификаторов для переработки тяжелых нефтяных остатков. Всего построено более 160 таких установок. В 1970-е годы была разработана модификация аппарата Texaco для газификации водо-угольной суспензии. Принцип подачи угля в аппарат в виде водо-угольной суспензии использован и в газогенераторе Destec.
Были попытки использовать и ряд других технических решений для создания новых газогенераторов: использование внешнего теплоносителя, в том числе тепла ядерного реактора; газификация в расплавах солей, железа, шлака; двух - трехступенчатая газификация; газификация в плазме; каталитическая газификация и др.
В 1930-1950 гг. были разработаны теоретические основы физико-химических процессов горения и газификации угля, выполнены фундаментальные исследования, не потерявшие актуальности до настоящего времени. В данном направлении неоспоримо лидерство советских ученых: А.С.Предводителева, Л.Н.Хитрина, Я.Б.Зельдовича, Н.В.Лаврова, Д.А.Франк-Каменецкого, Б.В.Канторовича и др.
Газификации могут быть подвергнуты любые виды твердых топлив от бурых углей до антрацитов.
Активность твердых топлив и скорость газификации в значительной степени зависит от минеральных составляющих, выступающих в роли катализаторов. Относительное каталитическое влияние микроэлементов углей при газификации может быть представлено рядом:
Mn>Ba>>B, Pb, Be>>Y, Co>Ga>Cr>Ni>V>Cu.
К основным параметрам, характеризующим отдельные процессы газификации твердых топлив, могут быть отнесены:
тип газифицирующего агента;
температура и давление процесса;
способ образования минерального остатка и его удаление;
способ подачи газифицирующего агента;
способ подвода тепла в реакционную зону.
Все эти параметры взаимосвязаны между собой и во многом определяются конструктивными особенностями газогенераторов.
Обычно газифицирующими агентами служат воздух, кислород и водяной пар. При паро-воздушном дутье отпадает необходимость в установке воздухоразделения, что удешевляет процесс, но получается газ низкокалорийный, поскольку сильно разбавлен азотом воздуха.
Температура газификации в зависимости от выбранной технологии может колебаться в широких пределах 850-2000 0С. диапазон давлений газификации от 0.1 до 10.0 МПа и выше. Газификация под давлением предпочтительна в случаях получения газа, используемого затем его в синтезах, которые проводятся при высоких давлениях (снижаются затраты на сжатие синтез-газа).
В газогенераторах с жидким шлакоудалением процесс проводят при температурах выше температуры плавления золы (обычно выше 1300-1400 0С). ”Сухозольные“ газогенераторы работают при более низких температурах, и зола из него выводится в твердом виде [6].
По способу подачи газифицирующего агента и по состоянию топлива при газификации различают слоевые процессы, при которых слой кускового топлива продувается по противоточной схеме газифицирующими агентами, а также объёмные процессы, в которых большей частью по прямоточной схеме топливная пыль взаимодействует с соответствующем дутьем.
Процесс газификации угля первого поколения: Лурьги, Винклера и Копперс-Тотцека, достаточно хорошо изучены и применяются в промышленности в ряде стран для получения в основном синтез-газа и заменителя природного газа.
Большинство крупных газогенераторов на твердом топливе работают по прямому процессу с газификацией топлива в движущемся слое. При этом движение топлива и дутья происходит навстречу друг другу. По этой схеме подаваемое в газогенератор дутьё происходит через шлковую зону, где оно несколько подогревается, и далее поступает в зону горения топлива при недостатке кислорода. Кислород дутья вступает в реакции с углеродом образуя оксид и диоксид углерода одновременно.
Основными недостатками процесса Лурьги является сравнительно небольшая скорость разложения водяного пара дутья, необходимость использования водяного пара как охлаждающего теплоносителя, предотвращающего сплавления и спекания золы, а также содержания в газе высших углеводородов и фенолов [9].
Повышение температуры реализовано в процессе БГЛ с жидким шлакоудалением, разработанном фирмой “ British gas “ на основе процесса Лурьги. Этим способом можно перерабатывать малореакционные и коксующие угли широкого гранулометрического состава. Выделенные из газа смолы и пыль возвращают в газогенератор, причем количество возврата может доходить до 15% на уголь. Процесс проверен на установки мощностью по углю 350 т/сут. В Ухтфильде. Процесс считается перспективным для применения в США , где ведутся работы по его совершенствованию [10].
Процесс Винклера основан на использовании псевдоожиженного слоя топлива. Принцип газификации мелкозернистого топлива в кипящем слое заключается в том, что при определенной скорости дутья и крупности топлива, лежащей на решетки слой топлива приходит в движение.
Процесс Винклера обеспечивает высокую производительность, возможность переработки различных углей и управлением составом конечных продуктов. Однако в этом процессе велики потери непрореагированного угля до 20-30% (масс.), выносимого из реактора, что ведет к потере теплоты и снижению энергетической эффективности процесса. Псевдоожиженный слой отличается большой чувствительностью к изменению режима процесса, а низкое давление лимитируется производительность газогенераторов [5].
По методу Винклера в разных странах работают 16 заводов ( Испании, Японии, Германии, Кореи и другие). Газогенератор типа Винклера имеет диаметр 5,5 м; высоту 23 м и максимальная единичная мощность действующих газогенераторов этого типа в настоящее время составляет 33 тыс. м3 газа в час [6].
В США разработан процесс газификации угля в аппарате с последующей агломерацией золы- так называемый процесс-V, предназначенный для производства низкокалорийного газа, который может быть использован в качестве сырья для получения водорода, аммиака или метанола, а также как топлива. Газификацию проводят в присутствии кислорода и паров воды в псевдоожиженном слое при давлении 5,7-7 МПа и температуре 980-1100 0С. Угольная пыль отделяется в циклонах, причем из внешнего циклона пыль возвращается в газогенератор. Газ не содержит жидких продуктов, что облегчает его очистку [6].
Вследствие высокой температуры процесса для газификации могут быть использованы угли любого типа включая спекающиеся, а полученный газ беден метаном и не содержит конденсирующиеся углеводородов, что облегчает его последующую очистку. К недостаткам процесса можно отнести низкое давление, повышенный расход кислорода, необходимость тонкого размола топлива [5].
Первый промышленный газогенератор этого типа производительностью 4 тыс. м3 в час синтез газа, был создан в 1954 году. По методу Коппер-Тотцека в мире работают 16 заводов (Япония, Греция и другие). Газогенератор Коппер-Тотцека с двумя форсунками имеет диаметр 3-3,5 м; длину 7,5 м и объём 28 м3 в час [6].
Известны неудачные попытки осуществить прямоточную факельную газификацию в условиях сухого золоудаления. В настоящее время газификацию угольной пыли проводят с жидким шлакоудалением. Для этой цели получили распространение газогенераторы вертикального типа, близкие по конструктивному оформлению к котельным агрегатам с пылеугольным сжиганием (Бабкок-Вилькокс) и газогенераторы с горизонтальной камерой газификации (Копперс-Тотцек).
Большие работы по созданию газогенераторов для газификации пылевидных топлив под высоким давлением с жидким шлакоудолением проводит американская фирма “Тексако”, которая является первопроходцем в применении для газификации водо-угольных суспензий. В газогенератор подают водную суспензию угля с концентрацией до 70% (мас.), что упрощает решение многих технических вопросов и позволяет автоматизировать процесс [5]. В 1984 году японской фирмой “Убе Индастриз” пущен крупнейший в мире газогенератор Тексако мощностью по углю 1500 тонн в сутки, вырабатывающий газ для синтеза аммиака [7]. На заводе Aioi (Япония) в 1987 году была сооружена пилотная установка производительностью 6 т. в сутки угля для газификации водо-угольных су суспензии по процессу Тексако, как наиболее прогрессивному. По проектным данным процесс осуществляется под давлением 1,96-2,94 МПа при температуре 1400 0С с получением смеси газов из оксида углерода, диоксида углерода и водорода, до 1991 года проводились научно-исследовательские работы совместно с “Tokyo Electric Power Co” и было переработано 533 тонны угля. Степень конверсии углерода достигала 100%. В синтез-газе содержалось до 52,3% оксида углерода, 33,2% водорода, 12,7% диоксида углерода. На воздушном дутье при подогреве суспензии до 150 0С степень конверсии достигала 72% [8].
Недостатком этого способа подачи угля является значительный расход тепла на испарение воды в газогенераторе, но уголь не требует предварительной сушки и исключается подача пара в газогенератор . Процесс Тексако характеризуется также повышенным удельным расходом кислорода 400-450 м3 на 1000 м3 синтез-газа. Соотношение уголь : вода в суспензии колеблется в разных пределах от 70:30 до 45:55. Водо-угольные суспензии используются также для газификации под давлением 10 МПа в газогенераторе Би-2эс. Кроме того, при эксплуатации оборудования газогенераторных станций, на которых используются водо-угольные суспензии, выявлены трудности по предотвращению коррозии циркуляционных насосов и инжекционных клапанов. Однако эти недостатки не уменьшают значимости, так как процесс высокоэффективен [9].
Производство газа из твердых горючих ископаемых может осуществляться на основе двух технологических приёмов: в газогенераторах наземного типа и под землёй (подземная газификация угля).
Подземную газификацию углей как метод физико-химического превращения угля в горючий газ непосредственно на месте залегания угольных пластов впервые начали реализовывать в бывшем Советском Союзе в 1933 году. В начале 60-х годов эксплуатировали пять опытно-промышленных станций “Подземгаз”, в том числе в Украине на каменных углях- Лисичанскую в Донбассе.
Основные стадии процесса подземной газификации углей- бурение с поверхности земли на угольный пласт скважин, соединение этих скважин каналами по угольному пласту, и наконец, нагнетание в одни скважины воздушного или кислородного дутья и извлечение из других скважин образовавшегося газа. Газообразование в канале происходит за счет химического взаимодействия свободного и связанного кислорода с углеродом и термического разложения угля.
Недостатки традиционной технологии подземной газификации угля- низкая теплота сгорания получаемого газа, за счет осуществления процесса на воздушном дутье, недостаточная стабильность и управляемость процесса, недостаточная экологическая чистота предприятий подземной газификации углей, прежде всего из-за неполного улавливания соответствующих продуктов, большой объём буровых и подготовительных работ, достигающей в себестоимости газа 30-35%; несмотря на это традиционная подземная газификация является надежной базой для её дальнейшего совершенствования.
В США наиболее интенсивные работы по подземной газификации угля были начаты в 1972 году. В течении 1972-1989 годах было проведено более тридцати экспериментов в различных горно-геологических условиях. Если первые полевые работы проводили на воздушном дутье с получением низкокалорийного газа, то основное большинство последующих испытаний осуществляли на парокислородном дутье с получением среднекалорийного газа. Наилучшие результаты с США были достигнуты при направленном подводе дутья к реакционной поверхности угольного пласта, что подтверждает результаты ранее проведенных экспериментов у нас в стране.
В настоящее время наиболее детальное и квалифицированное исследование возможностей подземной газификации угля в США осуществляет компания “Энерджи Интернейшинал”. В докладе ее президента А.Г. Синглтона проанализированы результаты подземной газификации угля в США и сформулированы некоторые аспекты.
Основные выводы исследований подземной газификации угля следующие:
1) Эксплуатационные затраты на производство генераторного газа при подземной газификации угля меньше, чем при надземной газификации угля.
2) Капитальные затраты, при близких по размерам предприятий, гораздо меньше чем при подземной газификации угля.
Экологические показатели технологии подземной газификации угля выходят на максимум при более низкой производительности предприятия.
Синтез-газ при подземной газификации угля вполне успешно конкурирует с аналогичным продуктом, получаемым при паровым риформинге природного газа.
Широкомасштабное промышленное внедрение подземной газификации угля в нашей стране возможно только при условии повышения степени управляемости процесса, одновременном снижении удельных затрат и увеличении использовании угольного пласта.
Основные резервы повышения эффективности подземной газификации угля.
совершенствование схемы газификации к конструкции подземного газогенератора с целью активного и направленного взаимодействия окислителя с реакционной поверхности огневого забоя, несмотря на выгазовывания угольного пласта.
Снижение непроизводительных потерь тепла.
Большие перспективы открываются перед подземной газификации угля при переходе на большие глубины 700 м и более.
Американские исследователи провели технико-экономическое сравнение различных вариантов использования генераторного газа, полученного при надземной газификации угля и подземной газификации угля. Согласно этим данным, применение подземной газификации угля позволяет снизить эксплуатационные затраты по сравнению с наземной газификацией угля при производстве генераторного газа. Практически более 78% запасов каменных и почти 34% бурых углей Украины могут быть использованы для подземной газификации угля.
На основании обобщения литературных и с учетом реальных условий воплощение на территории Украины нами выбрана схема паровоздушная газификации угля в стационарном слое.
2. Физико-химические основы процесса
Газификацией называют высокотемпературные процессы взаимодействия органической массы твердых или жидких горючих ископаемых или продуктов их термической переработки с воздухом, кислородом, водяным паром, диоксидом углерода или их смесями, в результате которых органическая часть топлива обращается в горючие газы.
Единственным твердым остатком при газификации должна явиться негорючая часть угля — зола. В действительности не удается полностью перевести органическую массу угля в газ, и в шлаке остается часть горючей массы топлива.

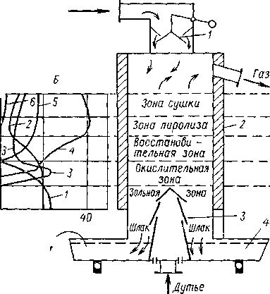
Общие принципы работы аппаратов для газификации — газогенераторов—можно рассмотреть на примере простейшего газогенератора, изображенного на рис 2.
Рис. 2. Схема работы слоевого газогенератора:
А — устройство газогенератора 1 — затвор, 2 — корпус газогенератора, 3 — колосниковая решетка; 4 — чаша для отвода золы;
Б — изменение состава газа по высоте газогенератора (паровоздушное дутье, обогащенное кислородом)- 1 — кислород, 2 — водяной пар, 3 — диоксид углерода, 4 — монооксид углерода, 5 — водород, 6 — метан и пары смолы; В — распределение температур по высоте газогенератора
Газогенератор такого типа представляет собой вертикальную шахту из листовой стали, футерованной огнеупорным кирпичом. В верхней части его имеется загрузочный люк, снабженный затвором 1. В нижней части газогенератора установлена колосниковая решетка 3, через которую в шахту непрерывно подается газифицирующий агент. Сверху непрерывно поступает уголь. При подаче в газогенератор воздуха в зоне, расположенной непосредственно у колосниковой решетки (окислительная зона, или зона горения), происходит горение твердого горючего ископаемого с образованием СО и СО2 по реакциям-
2С + О2 = 2СО + 218,8 МДж/кмоль углерода (2.1)
С + О2 = СО2 + 394,4 МДж/кмоль углерода (2.2)
Образующийся диоксид углерода в восстановительной зоне восстанавливается новыми порциями углерода в оксид углерода:
СО2 + С = 2СО— 175,6 МДж/кмоль углерода (2.3)
Если вместе с воздухом в генератор подают также водяной пар, то в восстановительной зоне дополнительно протекают реакции:
С + Н2О = СО + Н2 — 132,57 МДж/кмоль углерода (2.4)
С + 2Н2О = СО2 + 2Н2 — 89,5 МДж/кмоль углерода (2.5)
В этом случае образующийся газ содержит два горючих компонента: оксид углерода и водород.
В газовой фазе могут протекать и другие реакции. Так, возможна реакция между оксидом углерода и водяным паром:
СО + Н2О=СО2 + Н2 + 43,1 МДж/кмоль (2.6)
При взаимодействии СО и Н2 может образоваться метан:
СО + ЗН2 =СН4 + Н2О + 203,7 МДж/кмоль (2.7)
который в условиях процесса подвергается термическому распаду
СН4 —> С + 2Н2 —71,1 МДж/кмоль (2.8)
Сочетание всех этих реакций и определяет состав образующегося газа, который изменяется по высоте газогенератора. После окислительной и восстановительной зон, называемых вместе зоной газификации, выходят горячие газы при температуре 800—900 °С. Они нагревают уголь, который подвергается пиролизу в вышележащей зоне. Эту зону принято называть зоной пиролиза, или зоной полукоксования. Выходящие из этой зоны газы подогревают уголь в зоне сушки. Вместе эти две зоны образуют зону подготовки топлива. Таким образом, при слоевой газификации сочетается термическая переработка топлива и собственно газификация полукокса или кокса, полученного в зоне подготовки топлива. Поэтому газ, отводимый из аппарата, содержит не только компоненты, образовавшиеся в процессе газификации, но и продукты пиролиза исходного твердого горючего ископаемого (газ пиролиза, пары смолы, водяной пар). При охлаждении отводимого из газогенератора газа происходит конденсация смолы и воды, которые далее необходимо очистить и подвергнуть переработке.
В этом процессе изменяется и состав твердой фазы. В зону газификации, как отмечалось выше, поступает уже не уголь, а кокс, а из окислительной зоны выводится раскаленный шлак, который охлаждается в чаше 4 с водой, выполняющей одновременно функции гидравлического затвора, а затем выводится из аппарата.
Из изложенного выше следует, что газификация представляет собой сложное сочетание гетерогенных и гомогенных процессов. Возможно и последовательное, и параллельное протекание этих реакций. Механизм этих процессов до сих пор еще до конца не выяснен. Так, если первой стадией взаимодействия кислорода и углерода в зоне горения считают образование поверхностного углерод-кислородного адсорбционного комплекса, то вопрос о том, что является первичным продуктом взаимодействия водяного пара с раскаленным коксом, является предметом дискуссий.
В газогенераторе протекает ряд экзотермических и эндотермических реакций. Равновесия реакций (2.1) и (2.2) смещены в сторону образования СО и СО2. Равновесие эндотермических реакций (2.3) — (2.5) при повышении температуры смещены в сторону образования соответственно СО и Н2, но выход указанных продуктов (равновесный) уменьшается при повышении давления.
Равновесие экзотермической реакции (2.6) сдвинуто в сторону образования исходных продуктов при температурах выше 1000 °С и не зависит от давления.
Образование метана по реакции (2.7) более вероятно при повышении давления газификации.
Термодинамические расчеты позволяют определить равновесные составы газов в зависимости от температуры и давления газификации. Однако использовать результаты этих расчетов для предсказания реального состава газов трудно из-за значительных различий в скоростях реакций и влияния на процесс ряда технологических факторов.
Скорость реакций газификации лимитируется скоростью химических превращений в газовой фазе и на поверхности твердой фазы, а также скоростью диффузии. При температурах 700—800 °С процесс газификации тормозится преимущественно химической реакцией, а при температурах выше 900 °С — преимущественно диффузией. В реальных условиях суммарный процесс газификации протекает в промежуточной области, и скорость его зависит от кинетических и диффузионных факторов.
Процессы газификации интенсифицируют путем повышения температуры, увеличения давления газификации (что позволяет значительно увеличить парциальные давления реагирующих веществ), а также увеличения скорости дутья, концентрации кислорода в дутье или развития реакционной поверхности.
Для приближения процесса газификации к кинетической области используют тонкоизмельченный уголь и ведут процесс при высоких скоростях газовых потоков.
Выход газа, его состав и теплота сгорания изменяются в зависимости от того, что используется в качестве дутья. Названия газов, получаемых при использовании различных видов дутья, приведены ниже:
Дутье Название
Сухой воздух Воздушный газ
Смесь воздуха и водяного пара Полуводяной газ
Водяной пар (при внешнем подводе тепла) Водяной газ
Смесь кислорода и водяного пара Оксиводяной газ (газ парокислородного дутья)
Для сопоставления составов и свойств этих газов следует сделать следующие допущения: газовая смесь состоит только из горючих компонентов (единственный возможный балласт — азот воздуха); газифицируется чистый углерод; не учитываются потери тепла. Газы, отвечающие этим допущениям, называют идеальными генераторными газами.
Получаемые на практике генераторные газы отличаются по выходу и составу от идеальных. Во-первых, уголь нельзя считать чистым углеродом, поэтому выход горючих компонентов в расчете на 1 кг органической массы угля всегда значительно меньше. В первую очередь это относится к молодым углям, отличающимся высоким содержанием кислорода, а тем более к торфу.
Во-вторых, в генераторных газах всегда содержится заметное количество СО2. Химическое равновесие в газогенераторах не достигается, поэтому содержание СО2 всегда превышает равновесную концентрацию.
В-третьих, в зоне подготовки угля образуются пары воды и летучие продукты термического разложения, которые попадают в состав газа.
В любом газе содержится большее или меньшее количество азота, что снижает реальную теплоту сгорания газа, так как при сжигании газа часть тепла расходуется на нагревание балластного азота.
В реальных условиях газификации вследствие неравномерного распределения зон и смешения потоков часть горючих газов сгорает с образованием водяного пара и СО2. Кроме того, в реальных условиях газификации неизбежны различные тепловые потери (в окружающую среду, с горячими газами, со шлаком и уносимым топливом). Поэтому фактические значения термических коэффициентов полезного действия значительно меньше величин, рассчитанных для идеальных условий.
Процессы газификации можно классифицировать по следующим признакам:
1) по теплоте сгорания получаемых газов (в МДж/м3): получение газов с низкой (4,18—6,70), средней (6,70—18,80) и высокой (31—40) теплотой сгорания;
2) по назначению газов: для энергетических (непосредственного сжигания) и технологических (синтезы, производство водорода, технического углерода) целей;
3) по размеру частиц используемого топлива: газификация крупнозернистых, мелкозернистых и пылевидных топлив;
4) по типу дутья: воздушное, паровоздушное, кислородное, парокислородное, паровое;
5) по способу удаления минеральных примесей: мокрое и сухое золоудаление, жидкое шлакоудаление;
6) по давлению газификации: при атмосферном (0,1 — 0,13 МПа), среднем (до 2—3 МПа) и высоком давлении (выше 2—3 МПа);
7) по характеру движения газифицируемого топлива: в псевдостационарном опускающемся слое, в псевдоожиженном (кипящем) слое, в движущемся потоке пылевидных частиц;
8) по температуре газификации: низкотемпературная (до 800 °С), среднетемпературная (800—1300 °С) и высокотемпературная (выше 1300 °С);
9) по балансу тепла в процессе газификации: автотермический (стабильная температура поддерживается за счет внутренних источников тепла в системе) и аллотермические, т. е. нуждающиеся в подводе тепла со стороны для поддержания процесса газификации. Внешний подвод тепла можно осуществлять с помощью твердых, жидких и газообразных теплоносителей [10].
3. Выбор, обоснование и описание технологической схемы
В предложенной нами работе принят метод паровоздушной газификации угля в неподвижном (стационарном) слое, позволяющие применять угли почти всех марок и получать химические продукты с минимальным количеством стадий. Применяя паровоздушную газификацию угля позволяет удешевить получение генераторного газа, причем процесс идет при атмосферном давлении.
Выбранный процесс имеет ряд существенных достоинств перед другими способами газификации углерода твердого топлива:
возможность построения агрегатов большой единичной мощности;
универсальность метода, который позволяет применять все виды угля, а также переход с паро-воздушного дутья на кислородное и парокислородное дутье;
небольшая металлоемкость;
малое количество стадий для подготовки угля.
Основные параметры выбранного процесса газификации представлены в таблице 3.1
Основные параметры выбранного процесса газификации
Таблица 3.1
|
Показатель |
Процесс газификации |
|
Крупность угля, мм |
1…3 |
|
Температуры, 0С |
|
|
- паровоздушная смесь |
400 |
|
- газогенератор |
950 |
|
Масса загружаемого угля, гр |
50 |
3.1. Принцип работы лабораторной установки
Изучение процесса паровоздушной газификации низкосортного Павлоградского угля проводили на лабораторной установке периодического действия с газогенератором стационарного типа рис .
Газогенератор имел высоту 0.5 м, внутренний диаметр 0.04 м. Объем реакционной зоны составлял 0.05 м.
Воздух компрессором (1) направляется в парообразователь (5), где смешивается с паром, образующимися в парообразователе при подаче воды из резервуара (3). Полученная паровоздушная смесь заданной температуры поступала в газогенератор (6), на решетку в которую предварительно загружалась навеска угля. Температурный режим в реакторе поддерживался электронагревателем (7). Выходящий из газогенератора газ охлаждался в холодильнике (8), проходил сепаратор (9), фильтр-смолоотделитель (10) и далее направляется на хроматографический анализ (12). Контрольно-измерительная аппаратура обеспечивает учет расхода воздуха, пара, выхода газа, замер температур.

Рис. 1. Схема лабораторной установки по газификации угля. На схеме:
1–компрессор; 2–расходомер; 3–резервуар для воды; 4–гидрозатвор; 5–парообразователь с пароперегревателем; 6–реактор (газогенератор (ГГ)); 7–электронагреватель для ГГ; 8–холодильник; 9–сепаратор; 10–фильтр; 11–газовый счетчик; 12–блок анализа.
3.2. Техническая характеристика угля
Для проведения эксперимента применяли обогащенный концентрат Павлоградской ЦОФ ш. Сташкова. Оценка топлива как сырья для газификации проводилась на основании данных технического анализа. Для анализа были взят рядовой уголь марки ДГ ш. Днепровская и обогащенный концентрат Павлоградской ЦОФ марки ДГ ш. Сташкова.
Технический анализ углей выполняли в соответствии с ГОСТами 6379-59, 6383-52, 6382-53.
Влажность угля определялся по формуле W=((a-b)/a)*100 %, где а- навеска угля до сушки, г; в- навеска угля после сушки ,г.
Зольность Аа=(в*100)/а ,% где в- влажность зольного остатка, г
Выход летучих веществ Va=((b*100)/a)-W ,%
Полученные результаты приведены в табл 3.1
|
Уголь |
Технический анализ |
||
|
Зольность |
Влажность |
Выхолд летучих веществ |
|
|
Рядовой |
20.5 |
6.7 |
32.5 |
|
Обогащенный концентрат |
5.1 |
9.8 |
38.2 |
Таким образом, в результате проведения исследований установлено, что данные угли отвечают трабованиям, предъявляемому к сырью для газификации. Для проведения экспериментных исследований процесса газификации нами был выбран по содержанию балластных компонентов, выходу летучих веществ обогащенный концентрат Павлоградской ЦОФ ш. Сташкова, фракционного состава.
3.3. Влияние скорости подачи газифицирующих агентов.
Исследовано влияние скорости подачи окислителей на степень конверсии угля в условиях данной лабораторной установки. Серию опытов проводили при постоянном соотношении воздух/пар = 7:1 и температуре в газогенераторе 950 0С. Продолжительность процесса составляла 75 мин. Полученные результаты представлены на рис.3.1 .
Так как скорость газового потока определяет время контакта окислителя с топливом, то установлено, что при одинаковой продолжительности процесса, низкая интенсивность дутья не обеспечивает достаточной конверсии угля. В тоже время при превышении оптимальной скорости подачи, реагирующие вещества не успевают взаимодействовать полностью. В результате получаемый газ содержит больше негорючих компонентов в своем составе и степень превращения угля уменьшается. Кроме того, значительно возрастает вероятность уноса.
Рис. 3.1. Влияние
скорости подачи газифицирующих агентов
на степень превращения угля.
С учетом выше изложенного, была выбрана скорость подачи газифицирующих агентов 1,7 мл/мин.
3.4. Анализ полученных данных
Чтобы выбрать оптимальный расход показателей газифицирующих агентов был проведена серия экспериментов.
В качестве входных переменных использовали расход воздуха и расход пара.
Температура в реакционной зоне составляла 950 0С, газа на выходе из реактора 700 0С. Скорость роста температуры в газогенераторе 15 0С/мин. Паровоздушная дутьевая смесь подогревалась до 400 0С.
В приведённой табл. 3.2 видно, что если увеличить расхода пара в дутье с 0,4 до 0,6 кг на 1 кг рабочего топлива, степень разложения пара уменьшается. При этом на выходе наблюдается возрастание концентрации водорода и снижение оксида углерода.
Концентрация диоксида углерода в газе возрастает, т.к. реакция его образования является источником тепла для осуществления эндотермических реакций разложения водяного пара, что приводит к некоторому снижению теплоты сгорания газа, и это частично компенсируется за счет увеличения содержания водорода. Кроме того, увеличивается выход газа. Также увеличение пара в дутья приводит к торможению процессов пиролиза, обусловленных спекаемостью исходного угля. Это имеет прежде всего большое технологическое значение, т.к. повышает устойчивость работы установки.
При увеличении расхода воздуха теплота сгорания получаемого газа уменьшается, хотя выход его достаточно высокий. В составе газа наблюдается более высокое содержание азота, диоксида углерода, остаточного кислорода.
Таким образом, при недостатке окислителей наблюдается низкая степень конверсии угля, а излишек компонентов дутья ведет к получению большего количества газа, но низкокалорийного. Поэтому, необходимо произвести серию экспериментов по газификации для определения оптимальных условий. В области расходов, которая составляла для воздуха и пара 2,5-3,5 м3 и 0,4-0,5 кг, соответственно.
Сравнительные результаты опытов газификации обогащенного концентрата марки ДГ.
Таблица 3.1
|
№ |
Показатели |
Опыт |
||||||||
|
1 |
2 |
3 |
4 |
5 |
6 |
7 |
8 |
9 |
||
|
1 |
Расход дутья: воздуха, м3/кг пара, кг/кг |
2,5 0,4 |
2,5 0,5 |
2,5 0,6 |
3,5 0,4 |
3,5 0,6 |
4,5 0,4 |
4,5 0,5 |
4,5 0,6 |
3,5 0,5 |
|
2 |
Состав сухого газа, %об.: CO2 H3 CO CH4 O2 N2 |
9,0 12,5 21,5 2,3 0,3 54,4 |
9,7 13,3 20,6 2,3 0,3 53,8 |
10,4 14,2 19,7 2,2 0,3 53,2 |
12,8 9,5 14,8 1,9 0,4 60,6 |
13,8 10,7 13,7 1,8 0,4 59,6 |
17,8 6,2 5,8 1,7 0,8 67,7 |
18,0 6,4 5,6 1,7 0,8 67,5 |
18,2 6,5 5,4 1,7 0,8 67,4 |
13,3 10,1 14,2 1,9 0,4 60,1 |
|
3 |
Выход сухого газа, м3/кг |
3,60 |
3,65 |
3,69 |
4,57 |
4,63 |
5,23 |
5,25 |
5,27 |
4,60 |
|
4 |
Теплота сгорания газа, Qн МДж/м3 |
4,90 |
4,87 |
4,82 |
3,59 |
3,54 |
2,02 |
2,01 |
2,00 |
3,57 |
|
5 |
Влажность газа, г/м3 |
49,17 |
70,03 |
87,54 |
63,60 |
98,67 |
69,31 |
87,04 |
104,36 |
81,17 |
|
6 |
Степень конверсии угля, % |
82,6 |
83,9 |
85,1 |
88,7 |
89,9 |
91,1 |
86,4 |
87,8 |
89,0 |
|
7 |
Степень разложения пара, % |
54,38 |
46,12 |
44,85 |
30,67 |
27,47 |
12,3 |
11,74 |
11,64 |
28,73 |
|
8 |
к.п.д. газификации, % |
63,72 |
64,21 |
64,30 |
59,27 |
59,21 |
38,17 |
38,12 |
38,08 |
59,32 |
Сравнительные результаты паровоздушной газификации в выбранной области расходов окислителей
Таблица 3.2
|
№ |
Показатели |
Опыт |
|||||||
|
1 |
2 |
3 |
4 |
5 |
6 |
7 |
8 |
||
|
1 |
Расход дутья: воздуха, м3/кг пара, кг/кг |
2,7 0,4 |
2,7 0,5 |
2,9 0,4 |
2,9 0,5 |
3,1 0,4 |
3,1 0,5 |
3,3 0,4 |
3,3 0,5 |
|
2 |
Состав сухого газа, %об.: CO2 H3 CO CH4 O2 N2 |
8,1 13,3 22,3 2,3 0,3 53,7 |
9,0 14,1 21,2 2,3 0,2 53,2 |
9,2 12,3 20,9 2,3 0,2 55,1 |
9,9 13,2 19,9 2,3 0,1 54,6 |
10,5 11,3 18,8 2,2 0,3 56,9 |
11,1 12,0 17,9 2,2 0,3 56,5 |
11,7 10,4 16,8 2,0 0,4 58,7 |
12,2 11,0 16,1 2,0 0,4 58,3 |
|
3 |
Выход сухого газа, м3/кг |
3,90 |
3,94 |
4,16 |
4,20 |
4,30 |
4,34 |
4,45 |
4,48 |
|
4 |
Теплота сгорания газа, Qн МДж/м3 |
5,09 |
5,04 |
4,81 |
4,78 |
4,40 |
4,37 |
3,97 |
3,95 |
|
5 |
Влажность газа, г/м3 |
52,63 |
70,33 |
54,55 |
72,39 |
58,52 |
75,64 |
61,05 |
78,30 |
|
6 |
Степень конверсии угля, % |
89,4 |
90,4 |
93,1 |
94,2 |
92,0 |
93,1 |
90,2 |
91,6 |
|
7 |
Степень разложения пара, % |
49,47 |
45,56 |
45,9 |
42,1 |
40,02 |
37,67 |
35,44 |
33,29 |
|
8 |
к.п.д. газификации, % |
71,72 |
71,73 |
72,29 |
72,53 |
68,35 |
68,51 |
63,82 |
63,93 |
4.охрана труда
4.1. Оценка условий, в которых проводилась исследовательская работа.
Данной работой предусматривалось исследование твердых горючих ископаемых в частности угля, в исследовательской лаборатории кафедры химической технологии топлива и углеродных материалов УДХТУ.
К группе физически-вредных промышленных факторов во время проведения работ в исследовательской лаборатории относят:
повышенная температура 9500С поверхности оборудования, может быть получены ожог руки;
повышенный уровень шума 20 дБ, в следствии работы лабораторных установок, может привести к снижению слуха, поражение центральной нервной системы, органов пищеварения и др.;
опасный уровень напряжения в электрической цепи оборудования (380 В), замыкание может произойти через тело человека, это очень опасно, возможны смертельные случаи;
повышенный уровень вибрации от работы лабораторных установок, негативно действует на нервную систему, приводит к нарушению координации движения человека, возможны виброзаболевания.
Во время исследования в воздух помещения может попадать газообразные вещества: водород, оксид и диоксид углерода, метан. Вдыхаемый в больших количествах оксид углерода поступает в кровь, уменьшает приток кислорода к тканям, повышает количество сахара в крови, ослабляет подачу кислорода к сердцу. У здоровых людей этот эффект проявляется в уменьшении способности выносить физические нагрузки. У людей с хроническими болезнями сердца он может воздействовать на всю жизнедеятельность организма.
По степени влияния на организм человека вредные вещества определяются на четыре класса опасности. Класс опасности вредных веществ определяется в зависимости от предельно допустимой концентрации вредных веществ в воздухе рабочей зоны.
Оксид углерода: ПДК= 20 мг/м3, класс опасности – 4-й – вещество малоопасное.
Бензин: ПДК=100 мг/м3 ,класс опасности – 4-й- вещество малоопасное.
4.2. Мероприятия по обеспечению безопасности и здоровых условий труда в лаборатории
Электрическое оборудование в исследовательской лаборатории питается переменным током напряжением 380/220 В, частотой 50 Гц. По степени электроопасности лаборатория относиться к категории помещений с повышенной опасностью, потому что имеет токопроводящий железобетонный пол.
Основным способом по образовании электрической безопасности в лаборатории при применении электрического оборудования это заземление. Для заземления оборудования предусматривается трубчатое заземление, размещенное по контуру постройки, где находится лаборатория.
Для искусственного заземления применяют вертикальные электроды. В качестве вертикальных электродов применяют стальные трубы длиною 2,5 м, диаметром 3 см.
Сопротивление растекания тока одного вертикального электрода определяют по формуле 2.1:
Re=
(4.1)
Где p- удельное сопротивление грунта в месте размещения заземления, 100Ом*м,
l- длина трубчатого электрода, 2,5 м;
d- диаметр трубчатого электрода, 0.03 м;
t- глубина размещения середины электрода от поверхности земли,
t=t0+l/2=2 м
t0- расстояние от верхней точки трубчатого заземления до поверхности земли ,0.75 м;
Re=
Ом
Поскольку Re>Rдоп , т.е. 36,73 Ом > 4 Ом , определяем количество заземлений без учета соединительного проводника:
n’=Re/Rдоп (4.2)
где Rдоп – допустимое сопротивление заземляющего устройства, 4 Ом.
По формуле (2.2):
n’=36.73/4
10
Определяем количество вертикальных электродов :
n =n’/
e
, (4.3)
где

e
– коэффициент использования вертикальных
электродов, который учитывает обоюдное
экранирования,
e
=0.55 (заземление размещено по контуру).
По формуле (4.3):
n =10/0.55
18
Определяем длину соединительной полосы:
z =a*n*l
где а -отношение расстояния между электродами к их длине, 1,
z=1*18*2.5=45 м.
Сопротивление растекания тока соединительной полосы, без учета экранирования определяется по формуле :
Rш=
(4.4)
где b- ширена соединительной полосы , 0.03 м , По формуле (4.4):
Rш=
Ом
Общее сопротивление заземляющего устройства определяется по формуле
R з=
(4.5)
где
ш-
коэффициент использования соединительной
штанги ,
ш=
0.27 (заземление расположено по контуру).
По формуле (4.5):
Rз=
Oм
Таким образом Rз<Rдоп , т.е. 3.01 Ом< 4 Ом , что соответствует требованием, ПУЭ поэтому конечным принимаем количество трубчатых заземлений 18 штук.
В исследовательской лаборатории нормальные санитарно-гигиенические требования воздушной среды обеспечивается за счет общей вентиляции.
Во всех помещениях исследовательской лаборатории предусматривается вентиляция, которая обеспечивает нормальную циркуляцию воздуха. Воздухообмен в лабораторном помещении рассчитывается таким образом, чтобы фактическая концентрация ядовитых газов, паров и пыли в воздухе не превышало предельно-допустимых концентраций.
-вытяжная вентиляция в лаборатории включается за 20 минут до начала работы и выключается по окончании рабочего дня. Проводить работы при поломанной или выключенной вентиляции запрещается.
Все работы, которые связаны с выделением вредных паров или газов предусматривается проводить в вытяжных шкафах при надежно рабочей тяги.
Для кипячения и испарения в вытяжном шкафу разрешается применение электроплитки только с закрытой спиралью. Для предотвращения электрической искры в шкафу, необходимо чтобы внутреннее освещение было выполнено в герметических плафонах, а выключатели были размещены внешней стороне стенки шкафа. Шнуры к электроприборов и установок должны иметь надежную изоляцию.
Для предотвращения падения дверей шкафа, они должны иметь внешние ручки и надежные стопорные устройства.
При работе в вытяжном шкафу с целью более эффективного действия тяги необходимую дверь открывать на 1/3 или 1/4 её объема, а другие должны быть закрыты.
Работая под тягой голову необходимо держать с наружи шкафа, иначе человек будет вдыхать все вредные испарения, которые выделяются при реакциях. По окончании работы в шкафу все двери необходимо хорошо закрыть и выключить тягу. При остановке двигателя, который образует тягу, сразу все работы в вытяжном шкафу останавливают.
Расчет местной вытяжной вентиляции проводится по формуле:
W=n*F*Vc*3600 (4.6)
где n- количество вытяжных шкафов в помещении лаборатории, 4;
W- объемная скорость воздуха, которое выводится, м3/ч ;
F- площадь нижнего сечения открытой двери шкафа, 0.385 м2;
V- скорость движения воздуха, которое выводиться в сечение F, 1 м/с;
По формуле (4.6):
W= 4*0.385*1*3600=5544 м3/ч
Таким образом, выбираем вентилятор В-Ц4-70 продуктивностью 5800 м3/ч, номер вентилятора 5, частота вращения 1500 об/мин.
Нормальные и здоровые условия работы в исследовательской лаборатории обеспечиваются с помощью освещения, естественного и искусственного.
Солнечный свет дает оздоровительно-биологическое воздействие на организм человека, поэтому природный свет является наиболее гигиеничным. Таким образом, помещение лаборатории днём, как правило, освещается природным светом.
Основным видом природного освещение это боковое- световые входы в внешних стенах. Разряд работ, которые выполняются-III- высокой точности.
Природное освещение с любой точки в помещении характеризуется коэффициентом природного освещения (КЕО), %:
EIIIH=EB/EH*100%
где EB,EH- освещение соответственно в середине помещения и вне сооружения.
Так как сооружение находится в IV поясе светового климата, то коэффициент естественного освещения имеет значение:
EIIIH= EIIIH*m*c , (4.7)
EIVH- значение КЕО для домов, расположенных в IV поясе светового климата (г. Днепропетровск);
EIIIH- нормативное значение КПО для сооружений, расположенных в III поясе светового климата, для данного разряда работ EIIIH= 2% (табл. 1.3);
m- коэффициент светового климата, 0.9 (табл. 1.3.);
с- коэффициент солнечного климата, 0.9 (табл. 1.4.).
По формуле (2.7):
EIIIH= 2.0*0.9*0.9=1.62%
Основным видом искусственного освещения это общее. В качестве источника света применяют люминесцентные лампы (ЛД-20).
По характеру светового потока предусмотрено применять светильники рассеянного света, типа ШЛП, в котором защитный угол в поперечной и продольной плоскости 300.
Необходимое количество светильников определяется по формуле:
N=
, (4.8)
где Emin- минимальное нормативное освещение для данного разряда работы, 300 лк (для работы высокой точности);
S- площадь помещения, 300 м2;
к- коэффициент запаса, 1.5;
z- поправочный коэффициент светильника, 1.2;
F- световой поток одной лампы, 1960 лм;
n- количество ламп в светильнике, 2;
u- коэффициент использования осветительной установки, определяется в зависимости от показателя помещения и коэффициента отражения от стен и потолка.
Показатель помещения определяется по формуле:
f=
(4.9)
где a,b-соответственно длина 7,3 и ширена 5 помещения, м
Н- высота подвеса светильника над рабочей поверхностью , 4м.
По формуле (4.9):
f=
На основании показателя помещения, который равен 0.74 и коэффициентов отражения потолка рп=70% и стен рст=50% (т.к. потолок и стены покрашены в светлый цвет) определяем коэффициент использования осветительной установки u= 57% =0.57.
Тогда по формуле (4.8) необходимое количество светильников будет равна:
N=
шт
Остаточное принимаем парное количество светильников 10 штук, которые размещены в 2 ряда.
Метеоусловия в помещении лаборатории в холодный период года:
температура воздуха 18 0С;
относительная влага 60%;
Воздух рабочей зоны метеоусловия помещения лаборатории соответствуют допустимым нормам по температуре, относительной влажности и скорости движения воздуха в рабочей зоне для легкой категории работ.
Отопление помещения лаборатории осуществляется с помощью батарей центрального отопления.
Водоснабжение – очищенная речная вода, которая подается через сеть водопроводов.
Канализация с помощью канализационных сетей осуществляется выведение сточных вод.
Порядок сбора, утилизации и удаление с помещений химикатов и ЛВЖ:
отработанные кислоты и щелочи следует собирать отдельно в специальный сосуд, и после нейтрализации в конце рабочего дня сливать в канализацию или в соответствии с местными условиями в другое, специально предназначенное место;
запрещается сливать в канализацию концентрированные кислоты и щёлочи;
отработанные ЛВВ и горючие жидкости следует собирать в герметически закрытую тару, которая в конце рабочего дня удаляется с лаборатории для регенерации или уничтожения этих веществ;
категорически запрещается сливать горючие жидкости, смолу и ядовитых веществ в канализацию.
4.3. Характеристика помещений по пожаро- и взрывоопасностью
При выполнении исследовательской работе применялись такие вещества как бензин, уголь. По группе горючести они относятся к горючим и легковозгорающим веществам. Основные показатели этих веществ приведены в табл.4.1.
Таблица 4.1. Основные показатели веществ по пожаро- и взрывоопасностью
|
Вещество |
Температура, 0С |
Нижняя концентрационная граница, |
||
|
вспышки |
самовозгорания |
|||
|
Бензин |
225 |
-39 |
0,76 % об. |
|
|
Метан |
650 |
5.28- 14.1 % об. |
||
|
Оксид углерода |
605 |
12.5 % об. |
||
|
Водород |
510 |
4.12- 75 % об. |
||
|
Уголь |
335 |
495 |
60 г/м3 |
Хотя при исследовательской работе в лаборатории использовались горючие и легковозгорающие вещества, но применяются они в малых количествах, и работа с ними проводилась в вытяжных шкафах при работающей вентиляции, поэтому помещение лаборатории относят к категории не взрывоопасных, а пожароопасных помещений. Согласно с классификацией помещений и сооружений по пожаровзрывоопасностью в соответствии с ОНТП 24-86 помещение лаборатории относят к пожароопасной категории В. А в соответствии с правилами установки электроустановок (ПУЭ), помещение лаборатории относят к пожароопасной зоны П-I.
Лаборатория находится в четырёхэтажном здании, который имеет три эвакуационные выходы на случай аварийной ситуации. Степень огнестойкости здания, где находится лаборатория-I.
4.4. Противопожарные меры безопасности
Исследовательская лаборатория по пожарной безопасностью и взрывоопасности относится к категории В.
Для предупреждения пожаров и возгорания в исследовательской лаборатории необходимо выполнять следующие правила пожарной безопасности:
горючие растворители и моющие вещества следует заменять негорючими;
запрещается применять самодельные нагревательные спирали, устанавливать термостаты в сушильные шкафы на деревянные, не защищенные от возгорания столы и на расстоянии не ближе 1 м от горючих материалов;
нагрев легковозгорающих материалов необходимо осуществлять на водяных, масляных, песочных и воздушных банях у небольших количествах;
нагрев легковозгорающих веществ на открытом огне запрещается;
работу нагревательных устройств необходимо постоянно контролировать.
Порядок и нормы хранения пожаро- , взрывоопасных веществ:
- легковозгорающие и горючие вещества должны хранится в лабораторному помещении в толстостенных банках с притертыми пробками. Банки помещают в специальные металлические ящики с плотно притертыми крышками, стенки и дно которых выложены из асбеста. На внутренней стороне крышки делают четкую надпись с указанием наименований и общим количеством допустимых норм хранения горючих и легковозгорающих веществ, для данного помещения;
- общий запас в каждом рабочем помещении огнеопасных веществ не должен превышать суточные потребности, но не более 2-3 л на одного работника. Общий запас определяется при утверждении с пожарной охраной в каждом отдельном случае и указывается в специальной инструкции;
бутылки, в которых содержится не более 50 мл легковозгорающей жидкости, должны хранится в железных ящиках для горючих веществ. Запрещается хранить горючие жидкости в полиэтиленовой, а также в тонкостенной посуде емкостью более 200 мл;
запрещается хранить топливо в вытяжном шкафу, в котором проводится работа с нагревательными приборами, и рядом с окислителями или рядом от горючих предметов;
при случайных разливах огнеопасных жидкостей сразу выключить все нагревательные приборы и электросеть. Разлитую жидкость засыпают песком, потом осторожно собирают песок с жидкостью на деревянную лопату или фанеру, алюминиевый лист, применять стальной лист за счет искрообразования при ударах нельзя;
перед началом работы с ЛВЖ работающий должен приготовить предметы пожаротушения.
Способы пожаротушения в исследовательской лаборатории должно находится на видном месте. Основными способами гашения пожаров это огнетушители. Для гашения пожаров применяют огнетушители разных типов: химические, пенные, углекислотные, порошковые.
Наиболее распространение получили жидкие огнетушители марки ОХП-10 и воздушно-пенные огнетушители марки ОХП-10, которые применяются для гашения твердых предметов и горючих жидкостей, которые не смешиваются с водой.
Углекислотные и порошковые огнетушители применяют главным образом для тушения пожаров на электроустановках, автомашинах, в библиотеках и т.д. При тушении на электроустановках, которые находятся под напряжением лучше применять ручной огнетушитель ОУ-5.
Пенные огнетушители нельзя применять при тушении электрооборудования и электроустановок, а также электропроводов, которые находятся под напряжением, вещества, которые взаимодействуют с водой, щелочные металлы.
Также в домах, где находится лаборатория, предусматривается внутренняя противопожарное водообеспечение, которое осуществляется от внутренних пожарных кранов.
В случае пожара необходимо вызвать пожарную команду по телефону “01”. Указать точный адрес, где горит, наличие людей и их количество, сообщить свою фамилию. Выключить силовую и осветительную линию, приступить к тушению пожара, применяя способами пожаротушения.
5. ЭКОНОМИЧЕССКАЯ ЧАСТЬ
Целью написания данного подраздела дипломной работы с определением расходов на проведения исследовательской работы, а также определения цены опыта.
Сумма расхода будет суммироваться с последующих систем расходов:
основные и дополнительные материалы;
заработная плата;
начисления на заработную плату;
энергетические расходы;
амортизационные отчисления;
накладные расходы.
В дипломной работе проводилась исследования на счет выбора вариантов переработки угля Павлоградского бассейна. Для этого в исследовательской лаборатории была проведена паровоздушная газификация с различным расходом подачей пара.
5.1. Определение длительности исследования
Для определения длительности работы необходимо для каждого эксперимента составить сетевой график, а расчеты длительности работы и план их проведения привести в таблице.
Таблица 5.1 План проведения паровоздушной газификации
|
Шифр работы |
Наименование работы |
Длительность работы, мин. |
Исполнитель |
Оклад |
Необходимое количество работы, чел-часов |
|
1 |
2 |
3 |
4 |
5 |
6 |
|
1 |
Выдача задания на проведения газификации |
||||
|
1 |
2 |
3 |
4 |
5 |
6 |
|
2 |
Подготовка сырья |
20 |
Студент |
50 |
0,33 |
|
3 |
Подготовка оборудования |
60 |
Лаборант Студент |
115 50 |
1,00 |
|
4 |
Проведения опыта |
180 |
Лаборант Студент |
115 50 |
2,00 |
|
5 |
Анализ результатов |
75 |
Студент |
50 |
1,25 |
|
6 |
Отключение оборудования |
5 |
Лаборант |
115 |
0,08 |
Таким образом, длительность проведения газификации составляет 340 мин, но в ходе проведения эксперемента этот циклработ повторяеться четыре раза , поэтому общая длительность будет составлять 1360 минут.
Для расчета сетевого графика табличным методом исходными есть номера предварительных и последующих действий, а также ожидание длительности работы tожij. Ранний срок выполнения действия – Tpi , ранний срок окончания работы- Троij.
Ранний срок выполнения действия находится по формуле:
Трi=t*[L*(j/i)max], (5.1)
где t*[L*(j/i)max] -длительность максимельного из путей от исходного события до данного проишествия.
Поздний срок окончания действия – Tпi, поздний срок окончания работы- Tпзij, поздний срок начала работы- Тпнij. Поздний срок выполнения действия опредиляется по формуде:
Тнi=t*(Lкр)-t*[L*(i/C)max], (5.2)
где t*[L*(i/C)max]-длительность максимальноготиз путей от события к завершению событию С;
t*(Lкр)-длительность критического пути.
Таблица 5.2 Расчет сетевого графика проведения газификации.
|
действие |
параметры |
Резерв времени |
||||||
|
i |
j |
Tрпij |
tожij |
Tроij |
Tпнij |
Tпоij |
tожij |
Tij |
|
1 |
2 |
0 |
20 |
20 |
0 |
20 |
20 |
0 |
|
2 |
3 |
20 |
60 |
80 |
20 |
60 |
80 |
0 |
|
3 |
4 |
80 |
180 |
260 |
80 |
180 |
260 |
0 |
|
3 |
5 |
80 |
75 |
155 |
125 |
75 |
260 |
185 |
|
4 |
6 |
260 |
5 |
265 |
260 |
5 |
265 |
0 |
|
5 |
6 |
155 |
5 |
160 |
260 |
5 |
265 |
185 |
5.2. Денежные расходы на проведение исследования
5.2.1. Расчет расходов на сырьё и материалы
Исследования проводились в Украинском государственном химико-технологическом университете в исследовательской лаборатории кафедры химической технологии топлива.
Для проведения исследований ,необходимы основные и вспомогательные материалы .
К основным материалам относят: уголь (его стоимость и необходимое количество приведено в таблице 5.3). Вспомогательным материалом есть техническая вода (её стоимость и необходимое количество приведено в таблице 5.4)
Таблица 5.3 расчет необходимого количества основных материалов и их стоимость.
|
Материал |
Количество материала пошедшее на исследование |
Цена ,грн/кг |
Сумма ,грн |
|
Кг |
|||
|
Уголь |
0.05 |
0.24 |
0.02 |
Таблица 5.4 Расчет необходимого количества вспомогательных материалов и их стоимость
|
материал |
Количество материала пошедшего на исследование ,л |
Цена ,грн/л |
Сумма, грн |
|
Вода техническая |
120 |
0.01 |
12.00 |
Таким образом, расход на сырье и материалы будут составлять 12+0.02=12.01 грн.
5.2.2 Расчет расхода на заработную плату
Для проведения исследований был задействован персонал исследовательской лаборатории кафедры химической технологии топлива. В связи с этим, в числе других расходов на проведение исследований следует учитывать расходы и на заработную плату всех кто принимал участие в исследовании. Расход на заработную плату приведены в таблице 5.5
Таблица 5.5 Расчет расхода на заработную плату
|
Профессия |
Среднечасовая заработная плата, грн |
Количество чел.-часов |
Сумма ,грн |
|
1. Лаборант |
0.72 |
12.32 |
8.87 |
|
2. Студент |
0.31 |
18.32 |
5.68 |
Таким образом, расходы на заработную плату будут составлять
8.87+5.68=14.55
5.2.3 Расчет объёма начисления на заработную плату составляет 37,5% от основной заработной платы и составляется из:
-пенсионный фонд (32%):
-фонд занятости (1,5%);
-фонд социального страхования (4%).
Таким образом, объём начисления на заработную плату будет составлять
(14.55*37,5)/100=5.46 грн.
5.2.4. Расчет расхода на электроэнергию
Некоторые устройства, которые использовались в исследовании, были электрические, т.е. питались от сети переменного тока, напряжением 220 В, частотой 50 Гц. Исходя из этого, каждое устройство потребляет некоторое количество электроэнергии.
Расход электроэнергии (Е) находится по формуле:
Е=М*к*Е*а,
где М-мощность двигателя оборудования, кВт;
к- коэффициент использования мощности , 0,9;
Е- время работы, на данной установки в процессе проведения исследования;
а- тариф за 1 кВт*час электроэнергии, 0,2 грн.
Расход на электроэнергию, которое потребляется в процессе исследования, приведены в таблице 5.6
Таблица 5.6 Расход на электроэнергию
|
Оборудование |
Мощность, кВт |
Время работы, часов |
Цена, грн |
|
Лабораторная установка |
6 |
3 |
3,24 |
|
Аналитические весы |
0,1 |
0,5 |
0,009 |
|
Хроматограф |
0.5 |
3 |
0.27 |
|
Сумма, грн |
3.52 |
Таким образом, расход на электроэнергию будет составлять 3.52 грн.
Амортизационные отчисления
норма амортизации представляет собой установленный годовой процент погашения стоимости основных фондов, в соответствии с которым предприятие осуществляют амортизационные отчисления. Для оборудования, которое применялось в исследовательской работе и которое относится к третьей группе, среднегодовая норма амортизации составляет 15%, другое оборудование относят ко второй группе и их среднегодовая норма амортизации составляет 25%.
Время отведенное на проведение эксперимента составляет 2 месяца, т. о. расчет амортизации оборудования приводится на весь период.
Расходы на амортизацию оборудования рассчитывается по формуле:
А=Ф*Н*t/12*100 , (5.4)
где А- объём амортизационных отчислений, грн:
Ф- стоимость оборудования, грн;
Н- норма амортизации, %;
t- время работы оборудования , мес.;
12- количество месяцев в году.
Объём амортизационных отчислений приведены в таблице 5.7
Таблица 5.7 Объём амортизационных отчислений
|
Оборудование |
Стоимость, грн |
Норма амортизации, % |
Объём амортизационных отчислений, грн |
|
1. Лабораторная установка |
2000 |
15 |
25 |
|
2. Хроматограф |
300 |
15 |
3.75 |
|
3. Аналитические весы ВЛА-200г-М |
98 |
25 |
4.08 |
Итого 32.83
Таким образом , объём амортизационных отчислений будет составлять 32.83 грн.
5.2.6. Накладные расходы
Накладные расходы включают разные расходы, которые связанные с обслуживанием оборудования (ремонт, освещение, отопление помещений, командировочные и др.). сумма накладных расходов принимается в размере 120% от суммы заработной платы исполнителей исследовательской работы.
( 14.55*120)/100=17.46 грн.
Таким образом, накладные расходы будут составлять 17.46 грн.
5.2.7 смета затрат на проведение исследовательской работы
Имея все необходимые данные можно получить общее количество расхода, необходимых для проведения исследования.
Смета затрат на проведение исследовательской работы приведено в таблице 5.8
Таблица 5.8 Смета затрат на проведение исследования
|
Затраты |
Сумма ,грн |
Процент к итогу |
|
1. Основные материалы |
0.02 |
0.02 |
|
2. Вспомогательные материалы |
12 |
14 |
|
3. Энергетические расходы |
3.52 |
4.1 |
|
4. Заработная плата |
14.55 |
16.95 |
|
5. Начисление на заработную плату |
5.46 |
6.36 |
|
5. Амортизация оборудования |
32.83 |
38.24 |
|
7. Накладные расходы |
17.46 |
20.34 |
|
Всего затрат |
85.84 |
100 |
Таким образом, расход на проведение исследовательской работы составляют 85.84 грн.
5.3. Расчет цены исследования
Цена исследования рассчитывается на основе расхода на исследования и нормативной рентабельности по формуле 5.5
Ц=С+
, (5.5)
Где Ц- цена исследования, грн;
Р- нормативная рентабельность ,30%;
С- расход на исследование, грн.
Таким образом, цена исследования будет равняться:
Ц=
грн.
Вывод
Результаты расчетов экономической части дипломной работы свидетельствует про то, что затраты на проведения исследования составило 85.84 грн., а цена исследования составила 111.6 грн. При этом наибольшая часть затрат пошла на амортизационные отчисления, поскольку при проведении исследований было задействована значительное количество денежного оборудования.
6. Выводы
В данной работе применяли метод паровоздушной газификации угля, которая позволяет использовать угли практически всех марок и получать газовую смесь (генераторный газ), который пригоден для замены природного газа.
Технический анализ сырья показал возможность использования выбранного угля.
Разработана и произведена сборка, монтаж установки по переработки низкосортного угля методом паровоздушной газификации.
Таким образом, в результате данного исследования выбраны оптимальные условия процесса паровоздушной газификации в стационарном слое низкосортного концентрата Павлоградской ЦОФ:
расход воздуха 2,9 м3/кг угля;
расход пара 0,5 кг/кг угля;
температура газификации 950 0С;
при продолжительность газификации 1,5 часа, теплоёмкость полученного газа 4,78 МДж/м3, а количество образующейся смолы 1.5 г.
Список литературы
Гамбург Д.Ю, Семёнов, В.П. производство генераторного газа на базе твердого топлива //Химическая промышленность.-1983.- №5.-с. 4-10.
Химические вещества из угля. Пер. с нем./ Под ред. Ю.Фальбе – М: Химия, 1980. – 616 с.
Бекаев Л.С., Марченко О.В., Пинегин С.П. и др. Мировая энергетика и переход к устойчивому развитию – Новосибирск: Наука, 2000. – 300 с.
Шиллинг Г.-Д., Бонн Б., Краус У. Газификация угля / Пер. с нем. и ред. С.Р. Исламова – М: Недра, 1986 – 175 с.
Тереньтьев Т.А., Тюков В.М., Смаль Ф.В. Моторное топливо из альтернативных сырьевых ресурсов –М.: Химия 1989.- 271с.
Капустин М.А., Нефедов Б.К. Окись углерода и водород- перспективное исходное сырье для синтезов продуктов нефтехимии. // Тематический обзор. Сер. Нефтехимия и сланцепереработка. М.: ЦНИТ, -1981.- 58с.
Зорина Т.И. и др. Современные тенденции развития технологии газификации твердого топлива. // Химия твердого топлива. - 1986.- №3.-с.82-93.
Yanome Senrou, abe Seiichi, Tanako Eitaro // Ishik anajuma- Narita English.- 1991.- №5.- с.309-314.
Альтшулер В.С. Современное состояние и развитие технологии газификации твердого топлива // Химическая технология. – 1985.- №1.- с.309-314.
Химическая технология твердых горючих ископаемых: Учеб. Для вузов/Под ред. Г.Н Макарова, Г.Д. Харламповича. - М.: Химия. 1986.-496., ил.
Для подготовки данной применялись материалы сети Интернет из общего доступа