Технико-экономическая характеристика отдельных способов производства стали
Технико-экономическая характеристика отдельных способов производства стали
Курсовая работа по дисциплине технико-экономические основы производства на тему:
Выполнила студентка ГЦ-22/1 Сегида Е.Ю.
Харьковский национальный университет им.В.Н.Каразина
Харьков 2004
Введение
Металлургическое производство возникло на заре развития человеческого общества. Такие металлы, как железо, медь, серебро, золото, ртуть, олово и свинец, нашли свое применение еще до нашей эры.
Металлы относятся к числу наиболее распространенных материалов, которые человек использует для обеспечения своих жизненных потребностей. В наши дни трудно найти такую область производства, научно-технической деятельности человека или просто его быта, где металлы не играли бы главенствующей роли как конструкционный материал.
Металлы разделяют на несколько групп: черные, цветные и благородные. К группе черных металлов относятся железо и его сплавы, марганец и хром. К цветным относятся почти все остальные металлы периодической системы Д. И. Менделеева.
Железо и его сплавы являются основой современной технологии и техники. Еще в середине 70х годов прошлого столетия академик Патон Б.Е. назвал двадцатый век «железным», не согласиться с ним невозможно. В ряду конструкционных металлов железо стоит на первом месте и не уступит его еще долгое время, несмотря на то, что цветные металлы, полимерные и керамические материалы находят все большее применение. Железо и его сплавы составляют более 90 % всех металлов, применяемых в современном производстве.
Самым важнейшим из сплавов железа является его сплав с углеродом. Углерод придает прочность сплавам железа. Эти сплавы образуют большую группу чугунов и сталей.
Современный высокий уровень металлургического производства основан на глубоких теоретических исследованиях, крупных открытиях, сделанных в разных странах мира, и богатом практическом опыте.
Развитие металлургии идет по пути дальнейшего совершенствования плавки и разливки металла, механизации и автоматизации производства, внедрения новых прогрессивных способов работы, обеспечивающих улучшение технико-экономических показателей плавки и качества готовой продукции.
Украина сегодня занимает 7 место в мире по производству стали.
Способы производства стали и их технико-экономические характеристики, пути повышения качества производимой стали и основные принципы размещения предприятий по ее производству я постараюсь раскрыть в этой работе.
Понятие «сталь» и ее классификации и применение
Железо и его сплавы являются основой современной технологии и техники. В ряду конструкционных металлов железо стоит на первом месте и не уступит его еще долгое время, несмотря на то, что цветные металлы, полимерные и керамические материалы находят все большее применение. Железо и его сплавы составляют более 90 % всех металлов, применяемых в современном производстве.
Самым важнейшим из сплавов железа является его сплав с углеродом. Углерод придает прочность сплавам железа. Эти сплавы образуют большую группу чугунов и сталей.
Сталями называют сплавы железа с углеродом, содержание которого не превышает 2,14 %. Сталь – важнейший конструкционный материал для машиностроения, транспорта и во многих других отраслях народного хозяйства.
Сталеплавильное производство – это получение стали из чугуна и стального лома в сталеплавильных агрегатах металлургических заводов. Сталеплавильное производство является вторым звеном в общем производственном цикле черной металлургии. В современной металлургии основными способами выплавки стали являются кислородно-конвертерный, мартеновский и электросталеплавильный процессы. Соотношение между этими видами сталеплавильного производства меняется.
Сталеплавильный процесс является окислительным процессом, так как сталь получается в результате окисления и удаления большей части примеси чугуна – углерода, кремния, марганца и фосфора. Отличительной особенностью сталеплавильных процессов является наличие окислительной атмосферы. Окисление примесей чугуна и других шихтовых материалов осуществляется кислородом, содержащимся в газах, оксидах железа и марганца. После окисления примесей, из металлического сплава удаляют растворенный в нем кислород, вводят легирующие элементы и получают сталь заданного химического состава.
Единой мировой классификации сталей нет. В зависимости от способа производства, химического состава, структуры, назначения и качества стали классифицируют:
По назначению: топочную и котельную, для железнодорожного транспорта (рельсовую, для бандажей железнодорожных колес и т.п.), конструкционную (применяется при изготовлении различных металлоконструкций для строительства зданий, мостов, различных машин и т.п.), шарикоподшипниковую, инструментальную ( для изготовления различных инструментов, резцов, валков прокатных станков, деталей кузнечно-штамповочного оборудования и т.п.), рессорно-пружинную, трансформаторную, нержавеющую, орудийную, трубную и др.
По качеству: обыкновенного качества, качественная, и высококачественная. Различия между этими группами заключаются в допускаемом содержании вредных примесей ( в первую очередь серы и фосфора), а также в особых требованиях по содержанию неметаллических включений и т.п. Например, в сталях обыкновенного качества содержание серы и фосфора допускается до 0,055-0,060%, в качественных сталях – не более 0,040-0,045%, в высококачественных – не более 0,020-0,030%.
По химическому составу: углеродистые (низкоуглеродистые содержат до 0.3% углерода;
среднеуглеродистые–от 0.3 до 0.6%; высокоуглеродистые – более 0.6%), легированные (низколегированные–до2.5% легирующих добавок; среднелегированные – 2.5-10%,высоколегированные – более 10%), в том числе хромистые, марганцовистые, хромоникелевые и т.п.
По характеру застывания стали в изложницах: спокойные, кипящие и полуспокойные. Поведение металла при кристаллизации в изложницах зависит от степени его раскисленности – чем полнее раскислена сталь, тем спокойнее кристаллизуется слиток.
По способу производства: 1) по типу агрегата – конвертерная ( в том числе кислородно-конверторная, бессемеровская, томасовская), мартеновская, электросталь, сталь электрошлакового переплава и т.д.;
2) по технологии – основная и кислая мартеновская, основная и кислая электросталь, обработанная вакуумом, синтетическими шлаками, продувкой инертными газами и т.п.;
3) по состоянию – в твердом состоянии (губчатое железо – продукт прямого восстановления), в электролитическом – (продукт электролиза железосодержащих материалов), в порошкообразном ( продукт процессов распыления на мельчайшие капли жидкой стали), в тестообразном ( продукт сыродутного, кричного, пудлингового процессов, продукт процесса «Астон-Байерс»), в жидком, литом (продукт конверторного, мартеновского и т.п. процессов).
Применения в качестве конструкционных материалов.
Некоторые d-элементы широко используются для изготовления конструкционных материалов, главным образом в виде сплавов. Сплав-это смесь (или раствор) какого-либо металла с одним или несколькими другими элементами.
Сплавы, главной составной частью которых служит железо, называются сталями. Выше мы уже говорили, что все стали подразделяются на два типа: углеродистые и легированные.
Углеродистые стали. По содержанию углерода эти стали в свою очередь подразделяются на низкоуглеродистую, среднеуглеродистую и высокоуглеродистую стали. Твердость углеродистых сталей возрастает с повышением содержания углерода. Например, низкоуглеродистая сталь является тягучей и ковкой. Ее используют в тех случаях, когда механическая нагрузка не имеет решающего значения. Различные применения углеродистых сталей указаны в таблице. На долю углеродистых сталей приходится до 90% всего объема производства стали.
|
Тип стали |
Содержание углерода, % |
Применения |
|
Низкоуглеродистая |
0,2 |
Общее машиностроение: корпуса автомашин, проволока, трубы, болты и гайки |
|
Среднеуглеродистая |
0,3-0,6 |
Балки и фермы, пружины |
|
Высокоуглеродистая |
0,6-1,5 |
Сверла, ножи, молотки, резцы |
Легированные стали. Такие стали содержат до 50% примеси одного или нескольких металлов, чаще всего алюминия, хрома, кобальта, молибдена, никеля, титана, вольфрама и ванадия.
Нержавеющие стали содержат в качестве примесей к железу хром и никель. Эти примеси повышают твердость стали и делают ее устойчивой к коррозии. Последнее свойство обусловлено образованием тонкого слоя оксида хрома (III) на поверхности стали.
Инструментальные стали подразделяются на вольфрамовые и марганцовистые. Добавление этих металлов повышает твердость, прочность и устойчивость при высоких температурах (жаропрочность) стали. Такие стали используются для бурения скважин, изготовления режущих кромок металлообрабатывающих инструментов и тех деталей машин, которые подвергаются большой механической нагрузке.
Кремнистые стали используются для изготовления различного электрооборудования: моторов, электрогенераторов и трансформаторов.
Основные способы производства стали
Шлаки сталеплавильных процессов.
Роль шлаков в процессе производства стали исключительно велика. Шлаковый режим, определяемый количеством и составами шлака, оказывает большое влияние на качество готовой стали, стойкость футеровки и производительность сталеплавильного агрегата. Шлак образуется в результате окисления составляющих части шихты, из оксидов футеровки печи, флюсов и руды. По свойствам шлакообразующие компоненты можно разделить на кислотные (SiO2; P2O5; TiO2; и др.), основные (CaO; MgO; FeO; MnO и др.) и амфотерные (Al2O3; Fe2O3; Cr2O3; и др.) оксиды. Важнейшими компонентами шлака, оказывающими основное влияние на его свойства, являются оксиды SiO2 и CaO.
Шлак выполняет несколько важных функций в процессе выплавки стали:
Связывает все оксиды (кроме СО), образующиеся в процессе окисления примесей чугуна. Удаление таких примесей, как кремний, фосфор и сера, происходит только после их окисления и обязательного перехода в виде оксидов из металла в шлак. В связи с этим шлак должен быть надлежащим образом подготовлен для усвоения и удержания оксидов примесей;
Во многих сталеплавильных процессах служит передатчиком кислорода из печной атмосферы к жидкому металлу;
В мартеновских и дуговых сталеплавильных печах через шлак происходит передача тепла металлу;
Защищает металл от насыщения газами, содержащимися в атмосфере печи.
Изменяя состав шлака, можно отчищать металл от таких вредных примесей, как фосфор и сера, а также регулировать по ходу плавки содержание в металле марганца, хрома и некоторых других элементов.
Для того, чтобы шлак мог успешно выполнять свои функции, он должен в различные периоды сталеплавильного процесса иметь определенный химический состав и необходимую текучесть (величина обратная вязкости). Эти условия достигаются использованием в качестве шихтовых материалов плавки расчетных количеств шлакообразующих — известняка, извести, плавикового шпата, боксита и др.
Конвертерный способ
Производство стали в кислородных конвертерах
Кислородно-конвертерный процесс представляет собой один из видов передела жидкого чугуна в сталь без затраты топлива путем продувки чугуна в конвертере технически чистым кислородом, подаваемым через фурму, которая вводится в металл сверху. Количество воздуха необходимого для переработки 1 т чугуна, составляет 350 кубометров.
Впервые кислородно-конвертерный процесс в промышленном масштабе был осуществлен в Австрии в 1952 - 1953 гг. на заводах в городах Линце и Донавице (за рубежом этот процесс получил название ЛД по первым буквам городов, в нашей стране - кислородно-конвертерного).
В настоящее время работают конвертеры емкостью от 20 до 450 т, продолжительность плавки в которых составляет 30 - 50 мин.
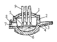
Кислородный конвертер (рис. 1) представляет собой сосуд 1 грушевидной формы из стального листа, футерованный внутри основным кирпичом 2. Рабочее положение конвертера вертикальное. Кислород подается в него под давлением 0,8...1 МПа с помощью водоохлаждаемой фурмы 3, вводимой в конвертер через горловину 4 и располагаемой над уровнем жидкого металла на расстоянии 0,3...0,8 м.
Конвертеры изготовляют емкостью 100...350 т жидкого чугуна. Общий расход технического кислорода на получение 1 т стали, составляет 50...60 м3.
Материалами для получения стали в кислородном конвертере служат жидкий передельный чугун и стальной лом. Для наводки шлака в конвертер добавляют железную руду и известь, а для его разжижения — боксит и плавиковый шпат.
Перед началом работы конвертер поворачивают на цапфах 5 вокруг горизонтальной оси и с помощью завалочной машины загружают до 30 % металлолома, затем заливают жидкий чугун при температуре 1250...1400 °С, возвращают конвертер в исходное вертикальное положение, вводят кислородную фурму, подают кислород и добавляют шлакообразующие материалы.
Изменение металла по ходу плавки показано (на рис. 2). При продувке происходит окисление углерода и других примесей как непосредственно кислородом дутья, так и оксидом железа FeO. Одновременно образуется активный шлак с необходимым содержанием СаО, благодаря чему происходит удаление серы и фосфора с образованием устойчивых соединений P2O5- ЗСаО и CaS в шлаке.
В момент, когда содержание углерода достигает заданного для выплавляемой марки стали, подачу кислорода прекращают, конвертер поворачивают и выливают вначале сталь, а затем — шлак.
Для уменьшения содержания кислорода сталь при выпуске из конвертера раскисляют, т. е. вводят в нее элементы с большим, чем у железа, сродством к. кислороду (Si, Mn, A1). Взаимодействуя с оксидом железа FeO, они образуют нерастворимые оксиды МпО, SiO2, А1203, переходящие в шлак.
Производительность кислородного конвертера емкостью 300 т достигает 400...500 т/ч, в то время как производительность мартеновских и электропечей не превышает 80 т/ч. Благодаря высокой производительности и малой металлоемкости кислородно-конвертерный способ становится основным способом производства стали.
Рис.1 Схема кислородного конвертера Рис.2 Схема изменения металла по ходу плавки
Процесс занимает главенствующую роль среди существующих способов массового производства стали. Такой успех кислородно-конвертерного способа заключается в возможности переработки чугуна практически любого состава, использованием металлолома от 10 до 30 %, возможность выплавки широкого сортамента сталей, включая легированные, высокой производительностью, малыми затратами на строительство, большой гибкостью и качеством продукции за небольшой промежуток времени.
При конверторном способе производства, благодаря тому, что окисление фосфора и серы идет одновременно имеется возможность остановить процесс на заданном содержании углерода и получить довольно широкую гамму углеродистых сталей при низком содержании серы и фосфора.
Кислородно-конвертерный процесс с верхней продувкой.
Конвертер имеет грушевидную форму с концентрической горловиной. Это обеспечивает лучшие условия для ввода в полость конвертера кислородной фурмы, отвода газов, заливки чугуна и завалки лома и шлакообразующих материалов. Кожух конвертера выполняют сварным из стальных листов толщиной от 20 до 100 мм. В центральной части конвертера крепят цапфы, соединяющиеся с устройством для наклона. Механизм поворота конвертера состоит из системы передач, связывающих цапфы с приводом. Конвертер может поворачиваться вокруг горизонтальной оси на 360о со скоростью от 0,01 до 2 об/мин. Для большегрузных конвертеров емкостью от 200 т применяют двухсторонний привод, например, четыре двигателя по два на каждую цапфу

Рис. 3. Конвертер емкостью 300 т с двухсторонним приводом механизма поворота
В шлемной части конвертера имеется летка для выпуска стали. Выпуск стали через летку исключает возможность попадания шлака в металл. Летка закрывается огнеупорной глиной, замешанной на воде.
Ход процесса. Процесс производства стали в кислородном конвертере состоит из следующих основных периодов: загрузки металлолома, заливки чугуна, продувки кислородом, загрузки шлакообразующих, слива стали и шлака.
Загрузка конвертера начинается с завалки стального лома. Лом загружают в наклоненный конвертер через горловину при помощи завалочных машин лоткового типа. Затем с помощью заливочных кранов заливают жидкий чугун, конвертер устанавливают в вертикальное положение, вводят фурму и включают подачу кислорода с чистотой не менее 99,5 % О2. Одновременно с началом продувки загружают первую порцию шлакообразующих и железной руды (40 - 60 % от общего количества). Остальную часть сыпучих материалов подают в конвертер в процессе продувки одной или несколькими порциями, чаще всего 5 - 7 минут после начала продувки.
На процесс рафинирования значительное влияние оказывают положение фурмы (расстояние от конца фурмы до поверхности ванны) и давление подаваемого кислорода. Обычно высота фурмы поддерживается в пределах 1,0 - 3,0 м, давление кислорода 0,9 - 1,4 МПа. Правильно организованный режим продувки обеспечивает хорошую циркуляцию металла и его перемешивание со шлаком. Последнее, в свою очередь, способствует повышению скорости окисления содержащихся в чугуне C, Si, Mn, P.
Важным в технологии кислородно-конвертерного процесса является шлакообразование. Шлакообразование в значительной мере определяет ход удаления фосфора, серы и других примесей, влияет на качество выплавляемой стали, выход годного и качество футеровки. Основная цель этой стадии плавки заключается в быстром формировании шлака с необходимыми свойствами (основностью, жидкоподвижностью и т. д.). Сложность выполнения этой задачи связана с высокой скоростью процесса (длительность продувки 14 - 24 минуты). Формирование шлака необходимой основности и заданными свойствами зависит от скорости растворения извести в шлаке. На скорость растворения извести в шлаке влияют такие факторы, как состав шлака, его окисленность, условия смачивания шлаком поверхности извести, перемешивание ванны, температурный режим, состав чугуна и т. д. Раннему формированию основного шлака способствует наличие первичной реакционной зоны (поверхность соприкосновения струи кислорода с металлом) с температурой до 2500о. В этой зоне известь подвергается одновременному воздействию высокой температуры и шлака с повышенным содержанием оксидов железа. Количество вводимой на плавку извести определяется расчетом и зависит от состава чугуна и содержания SiO2 руде, боксите, извести и др. Общий расход извести составляет 5 - 8 % от массы плавки, расход боксита 0,5 - 2,0 %, плавикового штампа 0,15 - 1,0 %. Основность конечного шлака должна быть не менее 2,5.
Окисление всех примесей чугуна начинается с самого начала продувки. При этом наиболее интенсивно в начале продувки окисляется кремний и марганец. Это объясняется высоким сродством этих элементов к кислороду при сравнительно низких температурах (1450 - 1500о С и менее).
Окисление углерода в кислородно-конвертерном процессе имеет важное значение, т. к. влияет на температурный режим плавки, процесс шлакообразования и рафинирования металла от фосфора, серы, газов и неметаллических включений.
Характерной особенностью кислородно-конвертерного производства является неравномерность окисления углерода как по объему ванны, так и в течение продувки.
С первых минут продувки одновременно с окислением углерода начинается процесс дефосфорации - удаление фосфора. Наиболее интенсивное удаление фосфора идет в первой половине продувки при сравнительно низкой температуры металла, высоком содержании в шлаке (FeO); основность шлака и его количество быстро увеличивается. Кислородно-конвертерный процесс позволяет получить < 0,02 % Р в готовой стали.
Условия для удаления серы при кислородно-конвертерном процессе нельзя считать таким же благоприятным, как для удаления фосфора. Причина заключается в том, что шлак содержит значительное количество (FeO) и высокая основность шлака (> 2,5) достигается лишь во второй половине продувки. Степень десульфурации при кислородно-конвертерном процессе находится в пределах 30 - 50 % и содержание серы в готовой стали составляет 0,02 - 0,04 %.
По достижении заданного содержания углерода дутые отключают, фурму поднимают, конвертер наклоняют и металл через летку (для уменьшения перемешивания металла и шлака) выливают в ковш.
Полученный металл содержит повышенное содержание кислорода, поэтому заключительной операцией плавки является раскисление металла, которое проводят в сталеразливном ковше. Для этой цели одновременно со сливом стали по специальному поворотному желобу в ковш попадают раскислители и легирующие добавки.
Шлак из конвертера сливают через горловину в шлаковый ковш, установленный на шлаковозе под конвертером.
Течение кислородно-конвертерного процесса обусловливается температурным режимом и регулируется изменением количества дутья и введением в конвертер охладителей - металлолома, железной руды, известняка. Температура металла при выпуске из конвертера около 1600о С.
Во время продувки чугуна в конвертере образуется значительное количество отходящих газов. Для использования тепла отходящих газов и отчистки их от пыли за каждым конвертером оборудованы котел-утилизатор и установка для очистки газов.
Управление конвертерным процессом осуществляется с помощью современных мощных компьютеров, в которые вводится информации об исходных материалах (состав и количество чугуна, лома, извести), а также о показателях процесса (количество и состав кислорода, отходящих газов, температура и т. п.).
Кислородно-конвертерный процесс с донной продувкой.
В середине 60-х годов опытами по вдуванию струи кислорода, окруженной слоем углеводородов, была показана возможность через днище без разрушения огнеупоров. В настоящее время в мире работают несколько десятков конвертеров с донной продувкой садкой до 250 т. Каждая десятая тонна конвертерной стали, выплавленной в мире, приходится на этот процесс.
Основное отличие конвертеров с донной продувкой от конвертеров с верхним дутьем заключается в том, что они имеют меньший удельный объем, т. е. объем приходящийся на тонну продуваемого чугуна. В днище устанавливают от 7 до 21 фурм в зависимости от емкости конвертера. Размещение фурм в днище может быть различным. Обычно их располагают в одной половине днища так, чтобы при наклоне конвертера они были выше уровня жидкого металла. Перед установкой конвертера в вертикальное положение через фурмы пускается дутье.
В условиях донной продувки улучшаются условия перемешивания ванны, увеличивается поверхность металл-зарождения и выделения пузырьков СО. Таким образом, скорость обезуглероживания при донной продувке выше по сравнению с верхней. Получение металла с содержанием углерода менее 0,05 % не представляет затруднений.
Условия удаления серы при донной продувке более благоприятны, чем при верхней. Это также связанно с меньшей окисленностью шлака и увеличением поверхности контакта газ - металл. Последнее обстоятельство способствует удалению части серы в газовую фазу в виде SO2.
Преимущества процесса с донной продувкой состоят в повышении выхода годного металла на 1 - 2 %, сокращении длительности продувки, ускорении плавления лома, меньшей высоте здания цеха и т. д. Это представляет определенный интерес, прежде всего, для возможной замены мартеновских печей без коренной реконструкции зданий мартеновских цехов.
Конвертерный процесс с комбинированной продувкой.
Тщательный анализ преимуществ и недостатков способов выплавки стали в конвертерах с верхней и нижней продувкой привел к созданию процесса, в котором металл продувается сверху кислородом и снизу - кислородом в защитной рубашке или аргоном (азотом). Использование конвертера с комбинированной продувкой по сравнению с продувкой только сверху позволяет повысить выход металла, увеличить долю лома, снизить расход ферросплавов, уменьшить расход кислорода, повысить качество стали за счет снижения содержания газов при продувке инертным газом в конце операции.
Мартеновский способ

Рис.5 Схема мартеновской печи
1,2,10,11-регенераторы, 3,9-канал для газа, 4,8-канал для воздуха,
5-окна, 6-под, 7-пространство, 12,14-клапаны, 13-труба
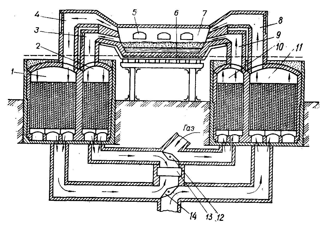
Мартеновская печь (рис. 5) представляет собой регенеративную пламенную печь, высокая температура в которой (1750... 1800 °С) достигается за счет сгорания газа в плавильном пространстве. Газ и воздух подогреваются в регенераторах. Слева от плавильного пространства 7 находятся каналы для газа 3 и воздуха 4, соединенные с регенераторами 1 и 2. Такие же каналы для газа 9 и воздуха 8 имеются справа от плавильного пространства 7; они соответственно соединены с регенераторами 10 и 11. Каждый из регенераторв имеет насадку из выложенного в клетку огнеупорного кирпича. Шихта загружается через окна 5.
Подаваемые в печь газ и воздух проходят через предварительно нагретые до температуры 1200... 1250 °С регенераторы 10 и 11, нагреваются в них и поступают в плавильное пространство печи. Здесь газ и воздух смешиваются и сгорают, образуя пламя высокой температуры. Продукты сгорания по каналам 3 и 4 поступают в регенераторы 1 и 2, нагревают их, охлаждаясь до 500...600 °С, и уходят в дымовую трубу 13. По мере охлаждения регенераторов 10 и 11 направление газа и воздуха в печи меняют на обратное переключением клапанов 12 и 14. Тогда газ и воздух поступают в плавильное пространство по каналам 3 и 4, пройдя нагретые регенераторы 1 и 2, а продукты сгорания выходят по каналам 8 и 9, нагревают насадку регенераторов 10 и 11 и уходят в трубу 13. Таким образом, газ и воздух при работе печи проходят через попеременно нагреваемые то левые, то правые регенераторы.
Мартеновские печи, работающие на мазуте, имеют с каждой стороны по одному регенератору для нагрева только воздуха.
В нашей стране эксплуатируются мартеновские печи емкостью от 20 до 900 т жидкой стали. Важной характеристикой этих печей является также площадь пода 6. Для печи емкостью 900 т она составляет около 120 м2.
Показатели работы мартеновских печей: съем стали с 1 м2 пода печи в сутки и расход топлива на тонну выплавленной стали. На отечественных заводах съем стали составляет около 10 т/м2 в сутки, а расход топлива при скрап-рудном процессе— 120... 180 и при скрап-процессе — 170... 250 кг/т.
Интенсификация мартеновского производства достигается использованием печей большей емкости, хорошей подготовки шихтовых материалов, автоматизации процесса плавки. Повышению производительности печей и экономии топлива способствует применение кислородного дутья.
Сущность мартеновского процесса состоит в переработке чугуна и металлического лома на поду отражательной печи. В мартеновском процессе в отличие от конвертерного не достаточно тепла химических реакций и физического тепла шихтовых материалов. Для плавление твердых шихтовых материалов, для покрытия значительных тепловых потерь и нагрева стали до необходимых температур в печь подводиться дополнительное тепло, получаемое путем сжигания в рабочем пространстве топлива в струе воздуха, нагретого до высоких температур.
Для обеспечение максимального использования подаваемого в печь топлива (мазут или предварительно подогретые газы) необходимо, чтобы процесс горения топлива заканчивался полностью в рабочем пространстве. В связи с этим в печь воздух подается в количестве, превышающем теоретически необходимое. Это создает в атмосфере печи избыток кислорода. Здесь также присутствует кислород, образующийся в результате разложения при высоких температурах углекислого газа и воды.
Таким образом, газовая атмосфера печи имеет окислительный характер, т. е. в ней содержится избыточное количество кислорода. Благодаря этому металл в мартеновской печи в течение всей плавки подвергается прямому или косвенному воздействию окислительной атмосферы.
Для интенсификации горения топлива в рабочем пространстве часть воздуха идущего на горение, может заменяться кислородом. Газообразный кислород может также подаваться непосредственно в ванну (аналогично продувке металла в конвертере).
В результате этого во время плавки происходит окисление железа и других элементов, содержащихся в шихте. Образующиеся при этом оксиды металлов FeO, Fe2O3, MnO, CaO, P2O5, SiO2 и др. Вместе с частицами постепенно разрушаемой футеровки, примесями, вносимыми шихтой, образуют шлак. Шлак легче металла, поэтому он покрывает металл во все периоды плавки.
Шихтовые материалы основного мартеновского процесса состоят, как и при других сталеплавильных процессах, из металлической части (чугун, металлический лом, раскислители, легирующие) и неметаллической части (железная руда, мартеновский агломерат, известняк, известь, боксит).
Чугун может применятся в жидком виде или в чушках. Соотношение количества чугуна и стального лома в шихте может быть различным в зависимости от процесса, выплавляемых марок стали и экономических условий.

Рис. 4. Схема двухванной сталеплавильной печи:
1 – топливно-кислородные фурмы; 2 – фурмы для вдувания твердых материалов; 3 – свод печи; 4 – вертикальные каналы; 5 – шлаковики; 6 – подины печей
Мартеновский процесс. Материалами для выплавки стали в мартеновской печи могут быть: стальной лом (скрап), жидкий я твердый чугуны, железная руда. По характеру шихтовых материалов основной мартеновский процесс делиться на несколько разновидностей, наибольшее распространение из которых :
1) скрап-рудный процесс на шихте из жидкого чугуна с добавкой 25...39 % стального скрапа и железной руды;
2) скрап-процесс на шихте из стального лома и 25...45 % чушкового передельного чугуна.
Флюсом в обоих процессах обычно служит известняк СаСО3 (8...12 % от массы металла).
Более широкое применение в металлургии получил скрап-рудный процесс выплавки стали в основной мартеновской печи. Вначале в печь загружают и прогревают железную руду и известняк, затем добавляют стальной скрап и заливают жидкий чугун. В процессе плавки примеси в чугуне окисляются за счет оксида железа руды и скрапа:
3Si + 2Fе2Оз== 3SiO2+ 4Fe; ЗМп + Fe20з== ЗМпО + 2Fe;
6Р + 5Fе2Оз= ЗРзО5+ lOFe; ЗС + Ре20з= ЗСО + 2Fe.
Сера удаляется в результате взаимодействия сернистого железа с известью:
FeS + СаО == FeO + CaS.
Оксиды SiO2, MnO, P2O5, CaO, а также сульфид CaS образуют шлак, периодически выпускаемый из печи в шлаковые чаши.
Для интенсификации процесса плавления и окисления примесей ванну продувают кислородом, подаваемым через водоохлаждаемые фурмы. Продувка кислородом позволяет в 2...3 раза сократить длительность процесса, уменьшить расход топлива и железной руды.
После плавления шихты начинается период кипения ванны. В это время интенсивно окисляется углерод в металле. В момент, когда содержание его достигает заданного, а количество серы и фосфора уменьшается до минимума, кипение прекращают и начинают раскисление стали в ванне печи ферромарганцем, ферросилицием и алюминием. Окончательно сталь раскисляют алюминием и ферросилицием в сталеразливочном ковше при выпуске стали из печи.
Этот процесс широко применяется на заводах с полным металлургическим циклом.
Скрап-процесс применяют на машиностроительных заводах, не располагающих жидким чугуном. От скрап-рудного процесса он несколько отличается завалкой и плавлением шихты.
Основной скрап-процесс применяется для выплавки углеродистых и легированных сталей.
Показатели работы мартеновских печей: съем стали с 1 м2 пода печи в сутки и расход топлива на тонну выплавленной стали. На отечественных заводах съем стали составляет около 10 т/м2 в сутки, а расход топлива при скрап-рудном процессе— 120... 180 и при скрап-процессе — 170... 250 кг/т.
Интенсификация мартеновского производства достигается использованием печей большей емкости, хорошей подготовки шихтовых материалов, автоматизации процесса плавки. Повышению производительности печей и экономии топлива способствует применение кислородного дутья. я твердый чугуны, железная руда. В зависимости от их соотношения в шихте различают:
1) скрап-рудный процесс на шихте из жидкого чугуна с добавкой 25...39 % стального скрапа и железной руды;
2) скрап-процесс на шихте из стального лома и 25...45 % чушкового передельного чугуна.
Флюсом в обоих процессах обычно служит известняк СаСО3 (8...12 % от массы металла).
Более широкое применение в металлургии получил скрап-рудный процесс выплавки стали в основной мартеновской печи. Вначале в печь загружают и прогревают железную руду и известняк, затем добавляют стальной скрап и заливают жидкий чугун. В процессе плавки примеси в чугуне окисляются за счет оксида железа руды и скрапа:
3Si + 2Fе2Оз== 3SiO2+ 4Fe; ЗМп + Fе20з== ЗМпО + 2Fe;
6Р + 5Fе2Оз= ЗРзО5+ lOFe; ЗС + Fе20з= ЗСО + 2Fe.
Сера удаляется в результате взаимодействия сернистого железа с известью:
FeS + СаО == FeO + CaS. Оксиды SiO2, MnO, P2O5, CaO, а также сульфид CaS образуют шлак, периодически выпускаемый из печи в шлаковые чаши.
Для интенсификации процесса плавления и окисления примесей ванну продувают кислородом, подаваемым через водоохлаждаемые фурмы. Продувка кислородом позволяет в 2...3 раза сократить длительность процесса, уменьшить расход топлива и железной руды.
После плавления шихты начинается период кипения ванны. В это время интенсивно окисляется углерод в металле. В момент, когда содержание его достигает заданного, а количество серы и фосфора уменьшается до минимума, кипение прекращают и начинают раскисление стали в ванне печи ферромарганцем, ферросилицием и алюминием. Окончательно сталь раскисляют алюминием и ферросилицием в сталеразливочном ковше при выпуске стали из печи.
Скрап-процесс применяют на машиностроительных заводах, не располагающих жидким чугуном. От скрап-рудного процесса он несколько отличается завалкой и плавлением шихты. Таким процессом работают заводы, на которых нет доменного производства.
Основной скрап-процесс применяется для выплавки углеродистых и легированных сталей.
При мартеновском способе выплавки, сталь получают более качественную, чем в конвертерах, но и времени по производству ее затрачивается значительно больше.
Электросталеплавильный способ
Электросталеплавильное производство - это получение качественных и высококачественных сталей в электрических печах, обладающих существенными преимуществами по сравнению с другими сталеплавильными агрегатами.
Выплавка стали в электропечах основана на использовании электроэнергии для нагрева металла. Тепло в электропечах выделяется в результате преобразовании электроэнергии в тепловую при горении электрической дуги либо в специальных нагревательных элементах, либо за счет возбуждения вихревых токов.
В отличие от конвертерного и мартеновского процессов выделение тепла в электропечах не связанно с потреблением окислителя. Поэтому электроплавку можно вести в любой среде - окислительной, восстановительной, нейтральной и в широком диапазоне давлений - в условиях вакуума, атмосферного или избыточного давления. Электросталь, предназначенную для дальнейшего передела, выплавляют, главным образом в дуговых печах с основной футеровкой и в индукционных печах.

Рис. 6. Схема рабочего пространства дуговой электропечи:
1 – куполообразный свод; 2 – стенки; 3 – желоб; 4 – сталевыпускное отверстие; 5 – электрическая дуга; 6 – сферический под; 7 – рабочее окно; 8 – заслонка; 9 – электроды
Дуговые печи бывают различной емкости (до 250 т) и с трансформаторами мощностью до 125 тысяч киловатт.
Источником тепла в дуговой печи является электрическая дуга, возникающая между электродами и жидким металлом или шихтой при приложении к электродам электрического тока необходимой силы. Дуга представляет собой поток электронов, ионизированных газов и паров металла и шлака. Температура электрической дуги превышает 3000о С. Дуга, как известно, может возникать при постоянном и постоянном токе. Дуговые печи работают на переменном токе. При горении дуги между электродом и металлической шихтой в первый период плавки, когда катодом является электрод, дуга горит, т. к. пространство между электродом и шихтой ионизируется за счет испускания электронов с нагретого конца электрода. При перемене полярности, когда катодом становится шихта - металл, дуга гаснет, т. к. в начале плавки металл еще не нагрет и его температура недостаточна для эмиссии электронов. При последующей перемене полярности дуга вновь возникает, поэтому в начальный период плавки дуга горит прерывисто, неспокойно.
После расплавления шихты, когда ванна покрывает ровным слоем шлака, дуга стабилизируется и горит ровно.
Выплавка стали в кислых электродуговых печах
Электродуговые печи с кислой футеровкой обычно используются при выплавке стали для фасонного литья. Емкость их составляет от 0,5 до 6,0-10 т. Кислая футеровка более термостойкая и позволяет эксплуатировать печь с учетом условий прерывной работы многих литейных цехов машиностроительных заводов. Основным недостатком печей с кислой футеровкой является то, что во время плавки из металла не удаляются сера и фосфор. Отсюда, очень высокие требования к качеству применяемой шихты по содержанию этих примесей.
Плавление в кислой печи длится примерно так же, как в основной печи (50-70 мин). В окислительный период удалятся меньшее количество углерода (0,1 - 0,2 %) и из-за повышенного содержания FeO в шлаке металл кипит без присадок железной руды. Содержание SiO2 в шлаке к концу окислительного периода повышается до 55 - 65 %. Когда металл нагрет, начинается восстановление кремния по реакции:
(SiO2) + 2[C] = [Si] + 2COгаз
К концу окислительного процесса содержание Si в металле увеличивается до 0,4 %.
Плавка с рафинированием в ковше печным шлаком.
Применяется на печах емкостью 100 - 200 т. После окончания окислительного периода и раскисления металла наводят новый шлак с высоким содержанием СаО. В течение 40 - 60 мин шлак раскисляют молотым коксом и ферросилицием. Перед выпуском в шлак дают CaF2. Высокое (10 - 20 %) содержание CaF2 обеспечивает высокую рафинирующую способность шлака. При выпуске из печи вначале выпускают в ковш жидкий шлак и затем мощной струей металл. Перемешивание металла со шлаком обеспечивает высокую степень рафинирования от примесей (от серы) и неметаллических включений. Одной из форм рафинирования стали в ковше можно считать технологию синтетических шлаков на основе СаО - Al2O3. В этом случае требуются дополнительные затраты для плавления шлака.
Плавка стали в индукционной печи.
В индукционных печах для выплавки металла используется тепло, которое выделяется в металле за счет возбуждения в нем электрического тока переменным магнитным полем. Источником магнитного поля в индукционной печи служит индуктор. Проводящая электрический ток шихта, помещенная в тигель печи, подвергается воздействию переменного магнитного поля, возникающего от индуктора, нагревается в следствие теплового воздействия вихревых токов.
По сравнению с дуговыми электропечами индукционные печи имеют ряд преимуществ: отсутствие электродов и электрических дуг позволяет получать стали и сплавы с низким содержанием углерода и газов; плавка характеризуется низким угаром легирующих элементов, высоким техническим КПД и возможностью точного регулирования температуры металла.


Рисунок 7. Схема индукционной печи:
1 – каркас; 2 – подовая плита; 3 – водоохлаждаемый индуктор; 4 – изоляционный слой; 5 – тигель; 6 – абсоцементная плита; 7 – сливной носок; 8 – воротник; 9 – гибкий токоподвод; 10 – опорные брусья
Индукционная печь состоит из огнеупорного тигля, помещенного в индуктор. Индуктор представляет собой соленоид, выполненный из медной водоохлаждаемой трубки. Ток к индуктору подается гибкими кабелями. Воду для охлаждения подводят резиновыми шлангами. Вся печь заключена в металлический кожух. Сверху тигель закрывается сводом. Для слива металла печь может наклоняться в сторону сливного носка.
Тигель печи изготавливается набивкой или выкладывается кирпичом. Для набивки используют молотые огнеупорные материалы - основные (магнезит) или кислые (кварцит).
Поскольку плавка в индукционной печи происходит очень быстро, шихта для нее используется, как правило, из высококачественного металлолома известного состава. Перед плавкой происходит точный расчет шихты по содержанию углерода, серы и фосфора, а также легирующих элементов. Шихту загружают в тигель таким образом, чтобы она плотно заполняла весь объем тигля. После загрузки шихты включают ток на полную мощность. По мере проплавления шихты загружают оставшуюся часть. Затем на поверхность металла загружают шлакообразующую смесь, состоящую из извести, магнезитового порошка и плавикового шпата. В процессе плавки шлак раскисляют добавками порошка кокса и молотого раскислителя. По ходу плавки добавляют легирующие материалы. Металл раскисляют кусковыми ферросплавами и в конце плавки алюминием.
В индукционных печах выплавляют, как правило, стали и сплавы сложного химического состава.
Разливка стали
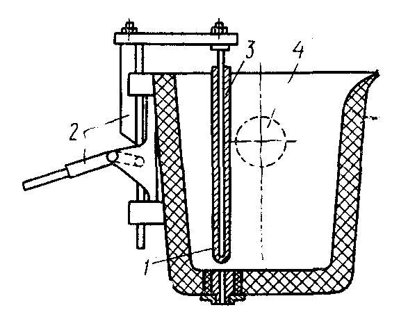
Из сталеплавильного агрегата сталь выпускается в сталеразливочный ковш, предназначенный для кратковременного хранения и разливки стали. Сталеразливочный ковш (рис. 8) имеет форму усеченного конуса с большим основанием вверху. Ковш имеет сварной кожух, изнутри футеруется огнеупорным шамотным кирпичом. Перемещают ковш с помощью мостового крана или на специальной железнодорожной тележке.
Сталь из ковша разливают через один или два стакана, расположенных в днище ковша. Отверстие закрывают или открывают изнутри огнеупорной пробкой при помощи стопора.
Емкость сталеразливочных ковшей достигает 480 т.
В сталеплавильных цехах сталь из ковша разливают либо в изложницы, либо на машинах непрерывной разливки.


Рис.9.Схема сталеразливочного ковша
Рис 8. Схема разливки стали по изложницам
A – разливка сверху: 1 – сталеразливочный ковш; 2 – изложница; 3 – поддон;
Б – разливка сифоном: 1 – сталеразливочный ковш; 2 – центровая трубка; 3 – прибыльная надставка; 4 – изложница; 5 – поддон; 6 – сифонные трубки
Сталь разливают в изложницы или кристаллизаторы установок для непрерывной разливки.
Изложницы представляют собой чугунные формы для получения слитков различного сечения. Масса слитков для прокатки обычно составляет 10...12 т (реже —до 25 т), а для поковок достигает 250...300 т. Легированные стали иногда разливают в слитки массой в несколько сотен килограммов.
Применяют два способа разливки стали в изложницы: сверху и сифоном.
При разливке сверху (рис.10,а) сталь заливают из ковша 2 в каждую изложницу 1 отдельно. При такой разливке поверхность
слитков вследствие попадания брызг жидкого металла на стенки изложницы может быть загрязненной пленками оксидов.
При сифонной разливке (рис. 10 ,б) сталью заполняют одновременно от 2 до 60 установленных на поддоне 5 изложниц через центровой литник 3 и каналы в поддоне. В этом случае сталь поступает в изложницы снизу, что обеспечивает плавное, без разбрызгивания их заполнение, поверхность слитка получается чистой, сокращается время разливки. Сталь в надставке 4 сохраняется в жидком состоянии, благодаря чему уменьшаются раковина и отходы слитка при обрезке.
Разливку сверху обычно применяют для углеродистых, а разливку сифоном — для легированных сталей.
0100090000037800000002001c00000000000400000003010800050000000b0200000000050000000c0290037606040000002e0118001c000000fb021000070000000000bc02000000cc0102022253797374656d000376060000ea040000e85d110004ee8339d8bdcb0b0c020000040000002d01000004000000020101001c000000fb02ceff0000000000009001000000cc0440001254696d6573204e657720526f6d616e0000000000000000000000000000000000040000002d010100050000000902000000020d000000320a2d000000010004000000000075068d0320591600040000002d010000030000000000
Рис. 10 Схема изложниц: Рис.11 Схема УНРС
а-с верхней разливкой
б-с сифонной разливкой
Непрерывная разливка стали производится на специальных установках — УНРС (рис. 11). Жидкую сталь из ковша 6 через промежуточное устройство 5 непрерывно заливают сверху в водоохлаждаемую изложницу без дна — кристаллизатор 4, а из нижней его части вытягивают со скоростью 1...2,5 м/мин с помощью валков 3 затвердевающий слиток. На выходе из кристаллизатора слиток охлаждается водой, окончательно затвердевает и попадает в зону резки, где его разрезают газовым резаком 2 на слитки определенной длины. Полученные слитки с помощью кантователя / опускаются на роликовый конвейер и подаются на прокатные станы.
На УНРС получают слитки прямоугольного сечения размерами от 150 Х 500 до 300 Х 200 мм, квадратного со стороной от 150 до 400 мм, а также круглые в виде толстостенных труб.
Благодаря непрерывному питанию и направленному затвердеванию в слитках., полученных на УНРС, отсутствуют усадочные раковины. Поэтому выход годных заготовок может достигать 96... 98 % массы разливаемой стали, поверхность получаемых слитков отличается хорошим качеством, а металл слитка — плотным и однородным строением
Затвердевание и строение стальных слитков
Процесс затвердевания стального слитка и образование кристаллической структуры в нем был рассмотрен выше. Необходимо добавить, что строение слитка определяется не только условиями охлаждения, но и степенью раскисления. По этому признаку стали делятся на кипящие, спокойные и полуспокойные.
Кипящей называют сталь, не полностью раскисленную в печи. Ее раскисление продолжается в изложнице за счет взаимодействия оксида железа FeO с углеродом. Образующийся при этом оксид углерода СО выделяется из ста держит неметаллических примесей, обладает высокой пластичностью.

Рис.12 Схематическое изображениесталей
а - кипящей, б - спокойной, в - полуспокойной
Спокойную сталь получают при полном раскислении металла в печи и ковше (рис. 12, б). Такая сталь затвердевает без выделения газов, в слитке образуется плотная структура, а усадочная раковина концентрируется в верхней части, что значительно уменьшает выход годного металла.
Полуспокойная сталь получается при раскислении ферромарганцем и недостаточным количеством ферросилиция или алюминия. В этом случае слиток не имеет концентрированной усадочной раковины, в нижней части он обычно имеет строение спокойной, а в верхней — кипящей стали (рис. 12,в). Такая сталь по качеству и стоимости является промежуточной между кипящей и спокойной.
Пути повышения качества стали
Выплавленные в кислородных конвертерах, мартеновских и электрических печах стали не всегда удовлетворяют по своим свойствам требованиям современной техники.
Непрерывное развитие техники представляет все более высокие требования к качеству стали. Для повышения их качества разработаны специальные технологические процессы внепечного рафинирования и рафинирующих переплавов.
Многочисленные способы получения металлов высокого качества могут быть условно разделены на три группы:
Обработка жидкого металла вне сталеплавильного агрегата
Выплавка стали в вакууме
Специальные способы электроплавки металлов
Обработка жидкого металла вне сталеплавильного агрегата.
При внепечной обработке металл, выплавленный в обычном сталеплавильном агрегате (мартеновской печи, конвертере или электропечи), подвергается внешнему воздействию в сталеразливочном ковше. Основной целью внепечной обработки жидкой стали в ковше является снижение содержания растворенных в металле газов, неметаллических включений и серы.
В настоящее время нет такого способа обработки жидкой стали в ковше, который позволил бы одновременно значительно снизить в металле содержание неметаллических включений, серы и газов. Поэтому в зависимости от поставленной задачи применяется тот или иной способ внепечной обработки металлов.
Обработка металлов в ковше синтетическим шлаком приводит к снижению в стали количества серы, неметаллических включений и кислорода. Сущность метода заключается в том, что металл выпускают из печи в ковш, частично заполненный жидким шлаком (4 - 5 % от массы металла), который предварительно выплавляют в специальном агрегате. Жидкий шлак и металл интенсивно перемешиваются. Сера, кислород и неметаллические включения переходят из металла в шлак. При обработке металла синтетическим шлаком важную роль играет его состав и физико-химические свойства. Шлак должен иметь низкие температуру плавления и вязкость, а также обладать высокой основностью и низкой окисленностью. Этим требованиям отвечают известково-глиноземистые шлаки, содержащие 50 - 55 % СаО, 38 - 42 % Al2O3, 1,5 - 4 % SiO2, 0,15 - 0,5 % FeO. Шлаки такого состава обладают высокой рафинирующей способностью.
Повышение качества стали, обработанной синтетическим шлаком, компенсируют затраты, связанные с выплавкой такого шлака.
Продувка металла в ковше порошкообразными материалами является одним из современных способов повышения качества стали и производительности сталеплавильных агрегатов.

рис.13 Схема установки ЭШП
1-электрод, 2-расправленный шлак,
3-ванна, 4-изложница, 5-полученный слиток, 6- поддон
Электрошлаковый переплав (ЭШП) заключается в следующем. Переплавляемая сталь подается в установку в виде расходуемого (переплавляемого) электрода 1 (рис. 13). Расплавленный шлак 2 (смесь 60...65 % CaF2, 25...30 % Al2O3, CaO и другие добавки) обладает большим электросопротивлением и при прохождении электрического тока в нем генерируется тепло, достаточное для расплавления электрода. Капли металла проходят слой шлака, собираются в ванне и затвердевают в водоохлажденной изложнице, образуя слиток. При этом кристаллизация металла происходит последовательно и направлена снизу вверх, что способствует удалению неметаллических включений и пузырьков газа и тем самым образованию плотной и однородной структуры слитка. В конце переплава поддон опускают и затвердевший слиток извлекают из изложницы.
Современные установки ЭШП позволяют получать слитки различного сечения массой 40т.
Жидкий металл в потоке инертного газа (аргона) через фурму вводят измельченные десульфураторы и раскислители. В результате такой обработки можно получить металл с содержанием серы и кислорода менее 0,005 % каждого.
Обработка жидкой стали аргоном в ковше является наиболее простым способом повышения качества металла. Аргон вдувают в жидкую сталь через пористые и огнеупорные пробки, которые устанавливают в днище ковша. Аргон не растворяется в жидкой стали, поэтому при продувке металла аргоном в объеме жидкой стали образуется большое количество пузырей, которые интенсивно перемешивают металл и выносят на его поверхность неметаллические включения. Кроме того, водород и азот, растворенные в стали, переходят в пузыри аргона и вместе с ним покидают жидкий металл, т. е. происходит дегазация стали.
Наиболее простым способом является вакуумирование стали в ковше. В этом случае ковш с жидким металлом помещают в герметичную камеру, из которой откачивают воздух. При снижении давления в камере металл закипает вследствие бурного выделения из металлов газов. После дегазации металла камеру разгерметизируют, а ковш с вакуумированной отправляют на разливку.
Ковшевое вакуумирование неэффективно при обработке полностью раскисленной стали и больших масс металла. В этом случае вследствие слабого развитии реакции C + O = CO металл кипит вяло. Для улучшении дегазации стали вакуумную обработку металлов в ковше совмещают с продувкой его аргоном и электромагнитным перемешиванием. Обычно дегазацию металла в ковше проводят в течение 10 - 15 мин. Более длительная обработка приводит к значительному снижению температуры металла.
Парционное и циркуляционное вакуумирование стали применяют при дегазации больших масс металла.
При парционном вакуумировании футурованная вакуумная камера не большого объема помещается над ковшом с жидким металлом. Патрубок камеры, футерованный изнутри и снаружи, погружен в жидкий металл. Под действием атмосферного давления порция металла (10 - 15 % от общей массы) поднимается в камеру и дегазируется. При движении ковша вниз или камеры вверх металл вытекает, а при обратном движении вновь поднимается в камеру, для полной дегазации стали необходимо провести от 30 до 60 циклов вакуумной обработки.
При циркуляционном способе вакуумирования стали применяют вакуумную камеру с двумя патрубками. Жидкий металл из ковша поднимается в камеру по одному патрубку, дегазируется и вытекает обратно в ковш по второму патрубку. Происходит непрерывная циркуляция металла через вакуумную камеру. Подъем жидкой стали в камеру происходит за счет действия аргона, который подают во входной патрубок.
Струйное вакуумирование металла применяется в основном при отливке крупных слитков. Этот способ является более совершенным, т. к. устраняется вторичное окисление при разливке вакуумированного металла из ковша в изложницы.
При отливке слитков в вакууме струя металла, переливаемого из ковша а изложницу, установленную в вакуумной камере, разрывается выделяющимися газами на множество мелких капель металла. Поверхность металла резко возрастает, что приводит глубокой дегазации стали. Кроме того, сталь также дегазируется в изложницы.
Последнее время для получения стали с очень низким содержанием углерода обработку металла в вакууме совмещают с продувкой его кислорода или смесью аргона и кислорода.
Рафинированная синтетическим шлаком сталь отличается низким содержанием кислорода, серы и неметаллических включений, что обеспечивает ей высокую пластичность и ударную вязкость.
Производство стали в вакуумных печах.
Применение вакуума при выплавки стали позволяет получать металл практически любого химического состава с низким содержанием газов, неметаллических включений, примесей цветных металлов.
Как уже отмечалось, реакции дегазации и раскисления металла углеродом в вакууме протекают более полно. Кроме того при плавки металла в глубоком вакууме (<10-2 Па) из металла удаляются некоторые неметаллические включения.
Производство стали в вакуумных индукционных печах.
В настоящее время вакуумные индукционные печи делятся на периодические и полунепрерывные. В печах периодического действия после каждой плавки печь открывают для извлечения слитка и загрузки шихты. В печах полунепрерывного действия загрузка шихты, смена изложниц и извлечение слитка проводятся без нарушения вакуума в плавильной камере.
В промышленности применяют печи полунепрерывного действия. Печи периодического действия используют в основном в лабораториях и для фасонного литья. Емкость существующих вакуумных индукционных печей достигает 60 т.

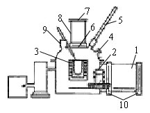
Рис. 14. Схема вакуумной индукционной печи полунепрерывного действия
Здесь показана схема вакуумной индукционной печи полунепрерывного действия. Печи этого типа имеют три камеры: плавильную (2), загрузочную (8) и камеру изложниц (1). В плавильной камере установлен водоохлаждаемый индикатор с огнеупорным тиглем (3), в котором проводиться плавление шихты. Каркас тигля, выполненный из уголков нержавеющей стали, опирается на цапфы. При сливе металла и чистке тигля последний наклоняется с помощью механического или гидравлического привода. Камера изложниц и загрузочная камера сообщаются с плавильной камерой через вакуумные затворы (6 и 10), которые позволяют загружать шихту в печь и выгружать слиток без нарушения вакуума в плавильной камере. Присадка легирующих и раскислителей осуществляется через дозатор (9), установленный на крышке печи (7). Для контроля процесса плавки печь снабжена гляделкой (4) и термопарой (5).
Технология выплавки металла в вакуумной индукционной печи полунепрерывного действия определяется маркой выплавляемой стали и качеством шихтовых материалов. Для плавки применяют шихтовые материалы, очищенные от масла и влаги. Для легирования используют ферросплавы и чистые металлы. Перед загрузкой шихту предварительно прокаливают. После загрузки печи включают ток и расплавление шихты ведут на максимальной мощности. При появлении первых порций жидкого металла и при наличии в шихте углерода в печь напускают аргон до давления 1,3 • 104 Па для предотвращения выплесков жидкого металла в следствие бурного протекания реакции [C] + [O] = COгаз. После полного расплавления шихты металл рафинируют при давлении 1,3 - 0,13 Па от водорода, азота, кислорода и примесей цветных металлов. Раскисление стали происходит в основном по реакции [C] + [O] = COгаз, равновесие которой при низких давлениях сдвигается вправо. В период рафинировки осуществляют также легирование металла. В первую очередь присаживают хром и ванадий, потом титан. Перед разливкой в металл вводят алюминий, редкоземельные металлы, кальций и магний. Для получения плотного слитка разливку проводят обычно в атмосфере аргона.
Основным недостатком вакуумных индукционных печей является контакт жидкого металла с огнеупорной футеровки тигля, что может приводить к загрязнению металла материалом тигля.
Производство стали в вакуумных дуговых печах.
Вакуумные дуговые печи (ВДП) подразделяют на печи с нерасходуемым и расходуемым электродом.
Нерасходуемый электрод изготавливают из вольфрама или графита. При плавке с нерасходуемым электродом измельченная шихта загружается в водоохлаждаемый медный тигель и под действием электрической дуги расплавляется, рафинируется от вредных примесей и затем кристаллизуется в виде слитка.
Эти печи промышленного применения не нашли, так как в них не возможно получать слитки большой массы. В настоящее время распространение получили вакуумные дуговые печи с расходуемым электродом.

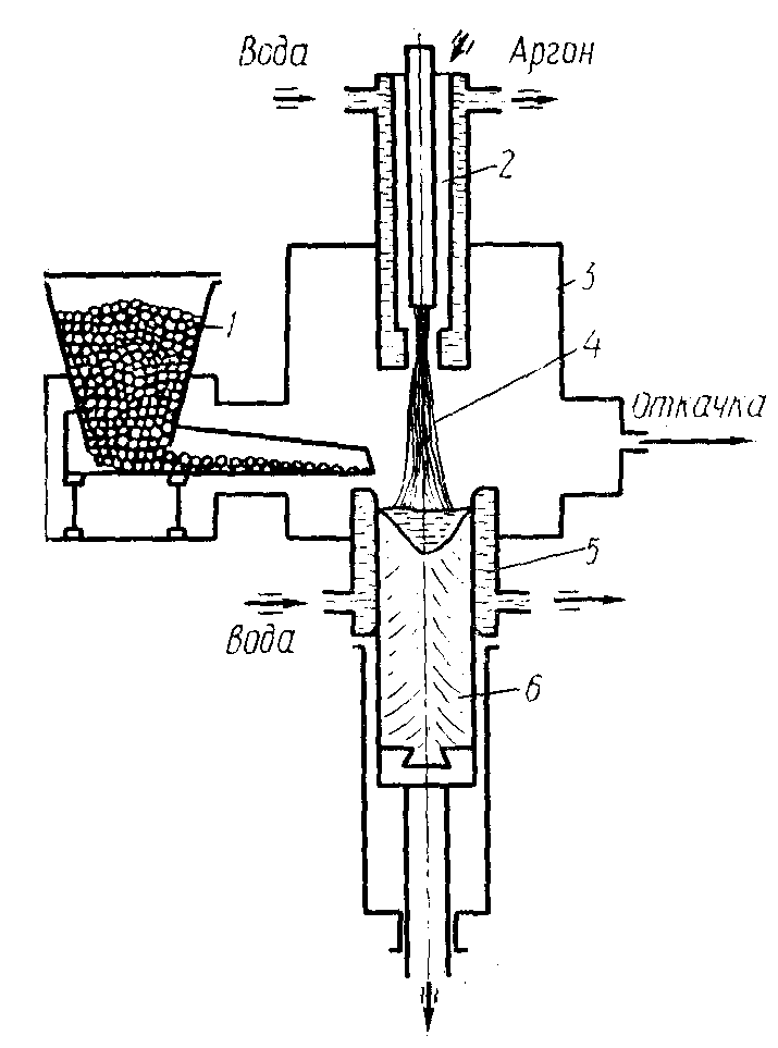
Рис.15 Схема вакуумной дуговой печи
1–источник питания; 2–рабочая камера; 3–электродержатель; 4–механизм подачи электрода; 5–к вакуумным насосам; 6–электрод; 7–жидкий металл; 8–слиток; 9–кристаллизатор; 10–шток для подъема поддона; 11–поддон.
Здесь представлена схема ВДП с расходуемым электродом. Печь состоит из рабочей камеры, медного водоохлаждаемого кристаллизатора, электрододержателя, механизма подачи электродов и системы вакуумных насосов. Расходуемый электрод крепится к электродержателю, который через вакуумное уплотнение проходит сквозь верхний торец рабочей камеры.
Электродержатель служит для провода тока к электроду и фиксации его в камере печи. Электродежатель с помощью гибкой подвески связан с механизмом подачи электрода. Расходуемый электрод представляет собой подлежащий переплаву исходный металл. Он может быть круглого или квадратного сечения. Как правило, расходуемые электроды содержат все необходимые легирующие элементы. Диаметр электрода выбирается таким, чтобы зазор между электродом и стенкою кристаллизатора был больше длины дуги, горящей между электродом и ванной жидкого металла. В противном случае возможен переброс электрической дуги на стенку кристаллизатора.
Кристаллизатор представляет собой медную водоохлаждаемую трубку со стенкой толщиной от 8 до 30 мм. Кристаллизаторы бывают двух типов: глухие и сквозные. При плавки металла в сквозном кристаллизаторе можно вытягивать слиток вниз по ходу плавки. Сквозные кристаллизаторы применяют при плавке тугоплавких металлов и сплавов. При плавке стали используют глуходонные кристаллизаторы. Сверху кристаллизатор имеет фланец. Через кристаллизатор к слитку подводится ток.
Вакуумные дуговые печи работают как на постоянном, так и на переменном токе. При переплаве стальных электродов применяют постоянный ток. «Плюс» подается на электрод, «минус» – на слиток.
После установки расходуемого электрода в камере печи и откачки ее до необходимого давления (около 10-2 Па) зажигают электрическую дугу между электродом и металлической затравкой, лежащей на дне кристаллизатора. Под действием тепла электрической дуги нижний торец электрода оплавляется и капли металла стекают в кристаллизатор, образуя жидкую металлическую ванну. По мере оплавления электрод с помощью механизма подается вниз для поддержания расстояния между электродом и металлом.
Рафинирование металла от вредных примесей происходит во время прохождения жидких капель металла через электрическую дугу и с поверхности расплава в кристаллизаторе.
Одним из преимуществ вакуумного дугового переплава является отсутствие контакта жидкого металла с керамическими материалами. Основной недостаток – ограниченное время пребывания металла в жидком состоянии, что существенно снижает рафинирующие возможности вакуума.
Плазменно-дуговая плавка.
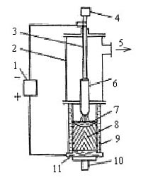
Плазменно-дуговой переплав (ПДП) применяется для получения стали и сплавов особо высокой чистоты. Источником тепла в установке служит плазменная дуга (рис. 16). Исходным материалом для получения слитков служит стружка или другие дробленные отходы металлообрабатывающей промышленности. Металл плавится и затвердевает в водоохлаждаемом кристаллизаторе, а образующийся слиток вытягивается вниз. Благодаря высокой температуре из металла интенсивно испаряются сера и фосфор, а также удаляются неметаллические включения.

рис.16. Схема плазменной дуги
Плазменная плавка специальных сталей и сплавов является одним из важных способов получения металла высокого качества. В плазменных печах источником энергии является низкотемпературная плазма (Т = 105 К). Плазмой называется ионизированный газ, в котором концентрации положительных и отрицательных зарядов равны. Степень ионизации низкотемпературной плазмы близка к 1 %. Низкотемпературная плазма получается при введении в дуговой электрический разряд газообразного вещества. В этом случае газ ионизируется и образуется плазма. В металлургии в качестве плазмообразующего газа чаще всего применяют аргон.
Для плавки стали применяют два типа агрегатов: печи с огнеупорной футеровкой и медным водоохлаждаемым кристаллизатором.
Плазменные печи с огнеупорной футеровкой во многом похожи на дуговые сталеплавильные печи. В отличие от дуговых сталеплавильных печей в плазменной печи вместо графитовых электродов устанавливают один или три плазматрона, что зависит от размеров печи. В печах постоянного тока анодом служит ванна жидкого металла, ток к которой подводится через подовой электрод.
Металлургические возможности плазменных печей с нейтральной атмосферой очень широки и металл можно раскислять, десульфурировать, рафинировать от газов и неметаллических включений, легировать азотом.
Слитки полученные этим способом, имеют высококачественную поверхность.
Электронно-лучевая плавка
(ЭЛП) осуществляется за счет тепла, образующегося в результате облучения переплавляемого металла потоком электронов. Переплав ведется в вакуумных установках при остаточном давлении 0,001 Па, а затвердевание слитка—в водоохлаждаемом кристаллизаторе (рис. 17). Глубокий вакуум и благоприятные условия затвердевания обеспечивают получение особо чистого металла. Поэтому ЭЛП применяют для получения сталей особо высокой чистоты, сплавов со специальными свойствами, а также чистых тугоплавких металлов (W, Mo, Nb и др.).
Длительность плавки на печах емкостью 5-100т составляет 3,5-6,5 ч. Длительность заправки возрастает с 15-20 до 35 мин при росте емкости печи, длительность завалки равна 5-10 мин. Продолжительность периода плавления составляет 1,2-3,0 ч, возрастая при увеличении емкости печи. Длительность окислительного периода изменяется в пределах 0,5-1,5 ч. Длительность восстановительного периода обычно уменьшается при росте емкости печи для 80–т печах составляет 30-40 мин.
Выход годных слитков по отношению к массе шихты при выплавке стали составляет 88-90% ; выход годных слитков по отношению к массе жидкого металла равен 98- 98,5% для слитков массой 4-6,5т и 97-97,5% для 1-2т.
Простои составляют 4-9% календарного времени. Доля исходных материалов в себестоимости 90-94% для высоколегированных сталей.
Важным техническим показателем процесса электроплавки является расход электроэнергии на 1т стали.Расход электроэнергии колеблется в пределах от 500 до 1000 квт*ч на 1т. Эти величины приблизительно соответствуют расходу теплоты 500-900 тыс. кал, что на 25-35% меньше расхода теплоты в мартеновском процессе.
Легирование стали
Легированием называют процесс присадки в сталь легирующих элементов, чтобы получить так называемую легированную сталь, т. е. такую сталь в составе которой находятся специальные (легирующие) примеси, введенные в нее в определенных количествах для того, чтобы сообщить стали какие-либо особые физико-химические или механические свойства.
Легирующими могут быть как элементы, не встречающиеся в простой стали, так и элементы, которые в небольших количествах содержатся во всякой стали (С, Мn, Si, Р, S). Очень часто операцию легирования совмещают с операцией раскисления (особенно если металл легируют марганцем, кремнием или алюминием).
С точки зрения влияния на свойства стали легирующие элементы делят на две большие группы:
1-я—легирующие элементы, расширяющие γ oбласть твердых растворов. В эту группу входят и элементы, обладающие неограниченной растворимостью в железе (никель, марганец, кобальт), и элементы, образующие сплавы, в которых гомогенная область непрерывного ряда твердых растворов ограничивается гетерогенной вследствие появления новых фаз (углерода, азота, меди).
2-я — легирующие элементы, суживающие γ область. Сюда входят и элементы, образующие с железом сплавы с полностью замкнутой γ областью (бериллий, алюминий, кремний, фосфор, титан, ванадий, хром, молибден, вольфрам), и элементы, образующие сплавы с суженной γ областью (ниобий, тантал, цирконий, церий).
.Главное - избежать ненужного взаимодействия легирующих примесей с кислородом, чтобы уменьшить «угар» легирующих и обеспечить получение в стали минимума продуктов окисления - неметаллических включений, загрязняющих стали и снижающих их качество.
В зависимости от степени сродства к кислороду легирующие элементы также делят на две большие группы:
1-я — легирующие элементы, сродство к кислороду у которых меньше, чем у железа (никель, кобальт, молибден, медь). Они в условиях плавки и разливки практически не окисляются, поэтому могут быть введены в металл в любой момент плавки. Обычно эти элементы вводят в металл в начале плавки вместе с шихтой. Отходы, образующиеся при выплавке и прокатке (ковке, штамповке) сталей, содержащих эти элементы, а также отходы изделий, изготовленных из этих сталей, следует хранить и использовать отдельно (экономически выгодно загружать в печь не чистые никель, медь и т, п., а отходы шихты, содержащие эти примеси; если такие отходы загружать в печь при выплавке стали любой марки, то сталь при выпуске будет содержать никель, медь и т. д., а это не всегда полезно)
2-я — легирующие элементы, сродство к кислороду у которых больше, чем у железа (например, кремний, марганец, алюминий, хром, ванадий, титан). Чтобы избежать большого угара этих элементов при легировании, их вводят в металл после раскисления или одновременно с раскислением в самом конце плавки (часто даже в ковш, а иногда и непосредственно в изложницу или кристаллизатор).
Кроме легирующих этих двух основных групп применяют легирующие, введение которых в металл связано с возможной опасностью для здоровья, так как пары этих металлов или их соединений вредны. К таким элементам относятся сера, свинец, селен, теллур. Эти элементы вводят в металл непосредственно в процессе разливки стали и при этом принимают специальные меры безопасности. Легирующие примеси вводят в металл или в чистом виде, или в виде сплавов, или в виде соединений. Во всех случаях для удешевления стали стремятся использовать максимальное количество дешевых отходов (шлак, руду), содержащих нужный элемент. Иногда для легирования и раскисления стали применяют, так называемые экзотермические брикеты, в состав которых могут входить содержащие легирующий элемент окислы, порошкообразные раскислители и восстановители, и окислители. Кроме того, в состав смесей могут входить различные шлакообразующие добавки, обеспечивающие, получение включений, быстро удаляющихся из металла. При выпуске металла в ковш, в который загружены подобные брикеты, они «зажигаются», при реакции между восстановителями и окислителями выделяется необходимое количество тепла, легирующие примеси, входящие к состав окислов, восстанавливаются. Металл при таком методе работы не охлаждается. При правильном подборе состава смесей получают сталь, более чистую, при одновременном сокращении расхода раскислителей и легирующих.
Особенности размещения предприятий по производству стали
В наше время сложилась вполне определенная классификация металлургических заводов. Различают заводы с полным металлургическим циклом, которые включают выплавку чугуна, стали, выпуск проката (интегрированные заводы), заводы, не имеющие доменного производства (неинтегрированные заводы) и мини-заводы.
Рассмотрим каждое из вышеперечисленных предприятий.
Интегрированные заводы отличаются большой мощностью отдельных агрегатов, чем крупнее агрегат, тем выше его производительность, тем дешевле обходится производство металла. Чтобы работа крупных металлургических агрегатов была устойчивой, ритмичной, максимально эффективной, их нужно «кормить» доброкачественным сырьем, для доменного цеха это в первую очередь руда в виде агломерата или офлюсованных железорудных окатышей, кокс, флюсы, именно поэтому принцип размещения таких предприятий «на сырьё», т.е. вблизи месторождений коксового угля, железной и марганцевой руд. Такие предприятия имеют в своем составе также сталеплавильные и прокатные цехи, а значит имеют листопрокатное производство, выпускают также сортовой прокат, рельсы и др. Главный потребитель широкоформатного листа – судостроение. Судостроительные заводы располагаются в прибрежный зонах; если и металлургический завод построен на берегу, то нет проблем по доставке товара потребителю. Очень удобно, если и месторождения сырья расположены в прибрежных зонах. Но в любом случае, доминирующий фактор, влияющий на размещение предприятий с полным металлургическим циклом, – наличие сырья.
Неинтегрированные заводы не имеют доменных цехов и не имеют, стало быть, жидкого чугуна. Следует отметить, что при современных средствах транспортировки, данные предприятия можно располагать далеко от доменных цехов, что очень удобно, т.к. современные неинтеграционные заводы - это электросталеплавильные предприятия, которые потребляют огромное количество энергии, значит целесообразно их размещение вблизи крупных теплоэлектростанций. В размещении предприятий такого рода не последнюю роль играет потребитель, значит, при выборе местоположения электросталеплавильного предприятия, необходимо учитывать наличие потребителя вблизи теплоэлектроцентралей.
Третья группа заводов, узкоспециализированные предприятия, которые работают на привозных чугунных болванках и скрапах, главным поставщиком которых являются машиностроительные заводы. Такие предприятия специализируются на производстве проката, главным потребителем которого являются также машиностроительные заводы. Таким образом, четко вырисовывается принцип размещения этих предприятий: « на потребителя», в роли которого выступают машиностроительные заводы.
Таким образом, не сложно сделать вывод, что особенности размещения определяются специализацией предприятий по производству стали.
Технико-экономические показатели данных технологических процессов, рыночные аспекты их применения и перспективы развития
Для сравнения технологических процессов и определения наиболее выгодных необходимо использовать параметры, которые имеют место во всех сравниваемых процессах. Таким показателем экономической эффективности технологических процессов является себестоимость продукции, выраженная в денежной форме.
Экономическая
эффективность работы конвертера
определяется по формуле:
где П – годовая производительность конвертера, т. стали в год; Т –масса металла, шихты; 1440 – число минут в сутках; а –выход годных слитков; п –число рабочих суток в году; t – длительность плавки, мин.
Основной показатель, характеризующий производительность мартеновских печей, является съем стали с 1 м2 площади пода печи в сутки с (т/м2):

где
C – съем стали, Р—суточная производительность,
S – площадь пода печи, м2.
Производительность электропечей определяется по формуле:
где П – годовая производительность конвертера, т. стали в год; Т –продолжительность плавки, ч.; а –выход годных слитков; п –число рабочих суток в году; в – масса металлической шихты на одну плавку.
Себестоимость электростали будет определяться расходом металлической шихты на 1 тонну годных слитков и стоимости передела. Она включает также расход энергии, электродов, огнеупоров, изложниц, зарплату персоналу.
Основные технико-экономические показатели способов производства стали.
|
Показатель |
Способ производства стали |
||
|
конвертер-ный |
мартеновский |
электропла-вильный |
|
|
Вместимость плавильного агрегата, т. |
250-400 |
400-600 |
200-300 |
|
Выход годного (стали),% |
89-92 |
91-95 |
92-98 |
|
Длительность плавки, ч |
0.4-1 |
6-10 |
6-10 |
|
Готовая производительность, тыс. т. слитков |
1200-1400 |
370-490 |
400-600 |
|
Расход технологического топлива на 1 т стали Условного топлива, кг Кислорода, м2 Электроэнергии, кВт*ч |
- |
90-120 |
- |
|
60-70 |
40-50 |
8-17 |
|
|
- |
- |
500-700 |
|
|
Удельный вес металлолома в шихте, % |
20-25 |
30-60 |
До 100 |
В условиях рынка используют научно-технические достижения: увеличивается выпуск конкурентно-0способных изделий на основе наукоемких, ресурсосберегающих и экологически безопасных технологий. Роль этих технологий является определяющим фактором в достижении максимальных прибылей.
Так, более высокие технико-экономические показатели у кислородно-конвертерного способа выплавки стали. Это обусловленно рядом его преимуществ: большая производительность агрегата на единицу емкости и одного рабочего, ниже (на 54-10%) удельные капитальные затраты на строительство цеха той же производительности, меньше в 2-3 раза расход огнеупоров на единицу мощности агрегата. Экономическая эффективность обеспечивается за счет снижения ее себестоимости путем снижения расходов по переделу, доля которого в себестоимости составляет до10% (13-14% при мартеновской плавке; 25% -- при электроплавке).
В настоящее время наметилась устойчивая тенденция к сокращению мартеновского способа производства и переход на конверторный, как более экономически выгодный.
В то же время наметилось два экономически целесообразных пути совершенствования мартеновского производства. Так, как основным недостатком является большое количество расходуемого топлива и продолжительность процесса, то ускорению процессу способствует применение кислорода. Происходит интенсификация горения, усиливается окислительная способность печей, а следовательно, умсеньшается время плавки, снижается расход топлива. Увеличивается производительность.
Второй экономически выгодный путь – это переоборудование мартеновских печей в двухванные.
Перечисленные выше способы относятся к эволюционным путям совершенствования технологических процессов. Поскольку эволюция – это постоянное изменение, совершенствование технических средств труда без коренных изменений как самих средств, так и научных основ. Сюда также относятся механизация и автоматизация производства.
Кроме того, существует также революционный путь развития, когда преобразование производства происходит в результате изменение или замены рабочего хода (изменение технологического процесса). При этом часто приходится применять дорогостоящее оборудование, но при хорошей организации работы можно достичь снижение себестоимости продукции. К таким новым технологиям относится процесс прямого восстановления железа с помощью водорода.
В основе этого процесса лежит восстановление железа водородом или приролдным газом. Мелко раздробренный железный концентрат смешивают с водой и в виде пульпы подают по трубе с месторождения на металлический комбинат. Вода поступает в специальные отстойники, где очищается и поступает в водоворот. А из руды с помощью специальных добавок и обработке во вращающихся барабанах получают окатыши сферической формы. Которые поступают в шахтную печь. Там с помощью водородаоксиды железа восстанавливается до железа. Это позволяет получать высококачественную сталь, сократить технологический цикл (отсутствует доменное и коксохимическое производство), уменьшаается потребность в воде, практически отсутствуют вредные выбросы.
Показатели качества продукции данных технологических процессов и форма организации производства как современный уровень развития нашей цивилизации
При конверторном способе производства, благодаря тому, что окисление фосфора и серы идет одновременно имеется возможность остановить процесс на заданном содержании углерода и получить довольно широкую гамму углеродистых сталей при низком содержании серы и фосфора.
Электроплавка позволяет получить высококачественные стали. Отличительной особенностью ее является активное раскисление шлака, что приводит к непрерывному переходу кислорода, растворенного в металле, в шлак. Поэтому нет необходимости раскислять с помощью алюминия, а, следовательно, нет загрязнений тугоплавкими солями алюминия стали. Однако способ требует большого количества энергии. Поэтому сейчас стали использоваться новые методики рафинирования, т.е. повышение качества стали. К таким методикам относятся: плазменный, электрошлаковый, вакуумно-дуговой, вакуумно-индукционный и др. процессы. Общей их особенностью является создание условий для рафинирования жидкой стали. Сталь, полученная этими методами, отличается высокой химической и структурной однородностью, низким содержанием вредных примесей . методы позволяют сократить продолжительность электроплавки на 10-30 минут и получить мартеновским и конверторным способами сталь электропечного ассортимента.
Также в условиях НТП основным направлением преобразования производства является электронизация – широкое обеспечение средствами вычислительной техники, что позволяет ускорить самые разнообразные процессы, сэкономить ресурсы, энергию, повысить качество продукции.
Уделяют также внимание комплексной автоматизации – созданию полностью автоматизированных цехов и заводов, промышленных роботов и манипуляторов.
Так, поворот конвертера, его подъем и опускание водоохлаждаемой кислородной фурмы, загрузка сыпучих добавок и др. производятся с пульта управления. Продолжительность и режим дутья, время отбора проб определяет счетно-вычислительная техника. Все это позволяет снизить время производства стали и снизить себестоимость продукции при неизменном или повышающемся качестве.
Заключение
Человек с самого раннего возраста привыкает к окружающим его металлическим предметам домашнего обихода, не замечает и не задумывается, откуда они берутся.
Дамасские и булатные стали известны со II-III веков н.э. Почти все мировые культуры их использовали. Технологией ее изготовления владели кельтские и саксонские племена. Мечи викингов демонстрируют сложную структуру узора. Одна из высших форм такой стали производилась в Японии. Общеизвестны дамасские клинки из Средней Азии. В России существовало массовое производство. Это знаменитые Златоустовские клинки. Однако не все из этих клинков могли рубить железо (гвозди, прутки), некоторые могли гнуться в дугу, а то и вокруг пояса. Металл знаменитых дамасских клинков имел более высокое содержание углерода, чем большинство современных сталей. После искусной ковки дамасская сталь приобретала исключительную прочность, вязкость и характерный узорчатый рисунок. Остается загадкой, как изготовляли дамасскую сталь. Сегодня, используя высокие технологии, металлурги пытаются произвести сталь, похожую по свойствам на дамасскую, но пока их усилия тщетны, хотя с каждым годом качество получаемой стали и технико-экономические показатели ее производства улучшаются.
Будущее человечества тесно связано с использованием новых сплавов на металлической основе. Металл – фундамент современной цивилизации, основа основ технического прогресса. И чем выше поднимается человечество по ступеням развития, тем больше его нужда в металлах.
Список литературы
1. Анчишкин А.И. Наука-техника-экономика., М.: «Экономика», 1989г.
2. Васильева И.Н. Экономические основы технологического развития: Учебное пособие для студентов ВУЗов. – М.: Банки и биржи, изд. Объединение «ЮНИТИ», 1995г.
3. Волков М.И., Борщ И.М., Грушко И.М., Королев И.В. Дорожно-строительные материалы, М.: «Транспорт», 5издание, 1975г.
4. Воскобойников В.Г., Кудрин В.А., Якушев А.М. Общая металлургия М.:«Металлургия», 4издание, 1985г.
5. Воскобойников В.Г., Макаров Л.П. Технология и экономика переработки железных руд, М.: «Металлургия», 1977г., 255с.
6. Глинка Н.Л. Общая химия, Издание двадцать третье.
7. Гуляев А.П. Металлургия, 1966 г.
8. Дворин М.Д., Дмитриенко В.В., Крутикова Л.В. и др. Системы технологий отраслей народного хозяйства: Учебное пособие. Хабаровск: Изд-во ХПИ, 1991г.
9. Жадан В.Т., Гринберг Б.Г., Никонов В.Я. Технология металлов и других конструкционных материалов, Издание второе.
10. Кудрин В.А. Металлургия стали М.: «Металлургия», 1981г., 485с.
11. Медоваров Б.И. Металлургия: вчера, сегодня, завтра, К.: «Наукова думка», 1986г.
12. Основы металлургического производства (черная металлургия) М.: «Металлургия» 1988г.
13. Основы технологий важнейших отраслей промышленности./ Под ред. И.А. Сидорова: Учебник для экономических специальностей ВУЗов: - М.: «Высшая школа», 1971г.
14. Основы технологий важнейших отраслей промышленности часть 1-ая./ под ред. И.В. Ченцова:– Минск: «Высшая школа», 1989г.
15. Технология металлов и конструкционные материалы /под ред. Б.А. Кузьмина – М.: «Машиностроение», 1981г.
16. Хрущев А.Т. География промышленности СССР, М.: «Высшая школа», 1990г.
17. Энциклопедия «Радость познания», Том 1 «Наука и вселенная» М.: «МИР» 1983г.
Для подготовки данной применялись материалы сети Интернет из общего доступа