Организация монтажа теплотрассы (работа 2)
Организация монтажа теплотрассы
Курсовая работа
Уральский государственный технический университет
Екатеринбург 2004
1. Характеристика объекта
За исходные данные принят курсовой проект теплотрассы длинной 15 км. от ТЭЦ до смесительной станции. Прокладка трубопровода – подземная в непроходных каналах, через каждые 150 м. длины магистрали устроены неподвижные опоры, а через 300 м. устроены камеры с сальниковыми кампенсаторами. Трасса прямолинейная, без ответвлений, проходит по открытой равнинной местности в удалении от жилых построек.
2. Метод производства СМР
Строительно-монтажные работы производятся поточным методом. Применение этого метода наиболее целесообразно, т.к. сокращается количество рабочих (по сравнению с параллельным методом) и время выполнения всего объема работ (по сравнению с последовательным). На все виды работ создаются отдельные квалифицированные бригады.
Вся теплотрасса делится на 5 захватки, одинаковых по объему, на которых каждая бригада последовательно выполняет СМР.
Организация поточного метода производства работ предусматривает:
а) выявление объектов, близких между собой по объемно-планировочным и конструктивным решениям, а так же технологии их возведения;
б) расчленение процесса возведения объектов на отдельные работы, предпочтительно равные или кратные по трудоемкости;
в) установление целесообразной последовательности выполнения работ;
г) закрепление отдельных видов работ за определенными бригадами рабочих;
д) расчет последовательности перехода ведущих строительных бригад рабочих и машин с объекта на объект с учетом соблюдения запланированного ритма строительства.
Выполнение отдельных этапов работ совмещают, обеспечивая тем самым последовательное осуществление однородных процессов и параллельное разнородных.
3. Технология производства работ
Перечень необходимых работ:
Проектно-сметные работы (включают составление проектно-сметной документации, спецификаций материалов и санитарно-технического оборудования, заказа на изготовление фасонных частей в ЦЗМ)
Подготовительные работы (включают планировку трассы, подготовку трассы для земляных работ, планировку отвалов и бровок, нивелирование трассы)
Земляные работы:
а) планировка трассы бульдозером;
б) отрывка траншеи экскаватором;
в) отрывка котлованов под тепловые камеры;
г) планировка дна траншеи вручную;
Разгрузка и комплектование материалов;
укладка лотков
Устройство основания тепловых камер;
Разгрузка и раскладывание труб вдоль трассы;
Сборка труб в звенья на бровке траншеи ;
Монтаж скользящих опор;
Укладка плетей труб в канал на опоры;
Монтаж неподвижных опор;
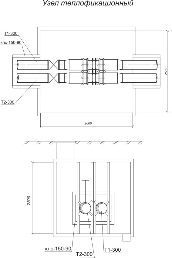
Монтаж узлов т/с
Предварительное испытание труб тепловой сети;
Тепловая изоляция труб;
Монтаж бетонных блоков стен тепловых камер;
Перекрытие лотков плитами;
Перекрытие тепловых камер плитами и установка люков;
Гидроизоляция наружной поверхности каналов;
Засыпка траншеи бульдозером;
Промывка тепловой сети;
Окончательное испытание трубопроводов тепловой сети;
Сдача объекта в эксплуатацию.
4. Транспортировка
1. Рытье траншей и котлованов ведет одноковшовый экскаватор с обратной лопатой ЭО-3322, вместимостью ковша 0,5 м3, весом 14,1т .наибольшая глубина копания 4,2 м, наибольший радиус копания 7,36 м.
2. Укладку труб на бровку, укладку плетей в каналы, плит для камер и каналов, изоляции, опор осуществляют автомобильные краны КС-3575, грузоподъемностью 10 т.
3. Обратную засыпку грунта осуществляет бульдозер ДЗ-15А, весом 6,25 т,
4. Трубы доставляются трубовозами УПЛ-2916, грузоподъемностью 29 т.
5. Перевоз ж/б плит происходит при помощи полуприцепа-площадки ПЛ22-12, грузоподъемностью 22 т.
6. Все остальные необходимые материалы и изделия, оборудование (компрессоры и сварочные аппараты) доставляются бортовыми автомобилями марки КРАЗ-257, грузоподъемностью 12т.
5. Спецификация материалов и санитарно-технического оборудования
Таблица 1
|
№ п/п |
Наименование материалов и оборудования |
Ед. изм. |
Кол-во |
Вес ед.изм. кг |
Общий вес, кг |
габаритные размеры м |
||
|
длина |
шир. |
выс. |
||||||
|
1 |
2 |
3 |
4 |
5 |
6 |
7 |
8 |
9 |
|
1 |
Трубы стальные ГОСТ 10704-76, Ду 300 мм: |
п.м |
15000 |
62,54 |
968100 |
10 |
0,3 |
0,3 |
|
2 |
Сальниковые компенсаторы, Ду 300-2.5Т1.05 |
шт. |
50 |
169 |
8 450 |
|||
|
3 |
Задвижки Ду 300 30ч47бр |
шт. |
17 |
61,2 |
1040 |
|||
|
4 |
Каналы из лотковых элементов серии 3.006-2 КЛ150*90 |
шт. |
2500 |
530 |
1325000 |
5,97 |
0,45 |
0,3 |
|
5 |
Камеры железобетонные сборные (по типовому проекту 3.903КЛ-3) |
шт. |
50 |
3800 |
190000 |
2,6 |
2,6 |
2,5 |
|
6 |
Опоры железобетонные неподвижные щитовые |
шт. |
100 |
18,54 |
1854 |
|||
|
7 |
Скользящие опоры, из стали толщиной 10 мм |
шт. |
3000 |
3,6 |
10800 |
|||
|
9 |
Изоляционные минераловатные маты d 333*8 |
м. |
15000 |
31,2 |
468000 |
|||
|
10 |
Электроды для сварочных работ |
кг |
- |
- |
500 |
|||
|
11 |
Битум |
л. |
1600 |
1,00 |
1600 |
|||
|
12 |
Рубероид |
м2. |
2050 |
1,00 |
2050 |
|||
|
13 |
Фланцы плоские приварные с патрубком (ВСтЗ сп5) Ду 300 |
шт. |
600 |
14,49 |
8694 |
|||
|
14 |
Болты с шестигранной уменьшенной головкой, Ст20, d 24 м |
1000 шт. |
2,5 |
413,2 |
1033 |
|||
|
15 |
Гайки шестигранные нормальной точности, Ст 20, d 24 мм |
1000 шт. |
2,5 |
110,2 |
276 |
|||
|
16 |
Шайбы, Ст 20, d 24 мм |
1000 шт. |
2,5 |
32,33 |
81 |
|||
|
17 |
Прокладки паронитовые |
шт. |
600 |
0,5 |
300 |
|||
|
18 |
Щебень |
м3. |
15000 |
3,00 |
450000 |
|||
|
18 |
Пеньковый смольный канат, диаметром 20,7 мм |
м. |
60 |
1,00 |
60 |
|||
|
19 |
Деревянные брёвна под лежни |
100 |
||||||
|
ВСЕГО |
|
3437938 |

6. Ведомость подсчета объемов работ
Таблица 2.
|
№ |
Наименование работ |
Ед. изм. |
Кол-во |
|
1 |
Подготовительные работы |
% |
10 |
|
2 |
Земляные работы |
м3 |
60000 |
|
3 |
Монтаж лотков |
м |
15000 |
|
4 |
Установка скользящих опор |
1 опора |
3000 |
|
5 |
Монтаж оснований камер |
1 плита |
50 |
|
6 |
Монтаж неподвижных опор |
1 опора |
100 |
|
7 |
Доставка труб на бровку |
% |
10 |
|
8 |
Укладка в звенья и сварка плетей на бровке |
звено |
500 |
|
9 |
Опуск плетей в лотки на скользящие опоры |
звено |
500 |
|
10 |
Монтаж узла колодца |
1 камера |
50 |
|
11 |
Испытание стыков на прочность |
1стык |
500 |
|
12 |
Испытание трассы на плотность |
м |
30000 |
|
13 |
Антикоррозийная изоляция стыков и тепловая изоляция трубопроводов |
м |
30000 |
|
14 |
Перекрытие лотков ж/б плитами |
м |
15000 |
|
15 |
Закрытие тепловых узлов ж/б камерами |
1 плита |
50 |
|
16 |
Гидроизоляция лотков и колодцев |
м |
15000 |
|
17 |
Засыпка землей траншей и котлованов |
м |
15000 |
|
18 |
Сдача объекта |
м |
15000 |
7. Производственная калькуляция затрат времени и стоимости рабочей силы
таблица 3
|
№ |
Обосно-вание ЕНиР |
Описание работ |
Изме-ри-тель работ |
Кол-во |
На единицу измерения |
На полный объем работ |
||
|
норма врем, чел.ч |
расцен руб.к. |
норма врем., чел.ч |
расцен., руб.коп. |
|||||
|
1 |
Е2-1 |
Подготовительные работы |
100м |
150 |
2,01 |
2-01 |
301,5 |
301-50 |
|
2 |
Е2-1-13 |
Разработка грунта при устройстве траншей одноковшовыми экскаваторами, оборудованными обратной лопатой, 0.5м3 грунт 2 группы |
100м3 |
600 |
2,3 |
2-44 |
1380 |
1464-00 |
|
3 |
Е2-1-31 №2 |
Разработка грунта в котлованах одноковшовыми экскаваторами, оборудованными обратной лопатой, |
100м3 |
13,5 |
2,5 |
2-65 |
33,75 |
33-76 |
|
4 |
Е9-2-56 |
Подготовка дна в траншеях и котлованах |
1м3 |
1500 |
1,3 |
0-76 |
1950 |
1140-00 |
|
5 |
Е2-1-11 |
Подготовка бровки |
100м2 |
300 |
0,28 |
0-29 |
84 |
87-00 |
|
6 |
Е1-5 №7а,б |
Погрузка или выгрузка материалов (грузов) стреловыми самоходными кранами грузоподъемностью до 25 т |
100 т |
35 |
6,3 |
4-92 |
220,5 |
172-20 |
|
7 |
Е9-2-24 №2 |
Устройство типовых каналов из лотковых элементов; Ду 300 мм |
м. |
15000 |
1,55 |
1-15 |
23250 |
17250 |
|
8 |
Е9-2-39 |
Устройство оснований тепловых камер |
м2 |
450 |
0,80 |
0-61 |
360 |
274-50 |
|
9 |
Е9-2-1 №5 |
Укладка стальных трубопроводов при сборке труб в звенья на бровке траншеи; Ду 300 мм |
м. |
1500 |
0,06 |
0-043 |
90 |
64-50 |
|
10 |
Е22-2-1, №1,4 |
Сварка труб Ду 300 мм |
1стык |
3000 |
0,60 |
0-55 |
1800 |
1650-00 |
|
11 |
Е9-2-1,г |
Антикоррозийная изоляция стыков трубопроводов, битумной мастикой; Ду 300мм |
1стык |
3000 |
0,34 |
0-248 |
1020 |
720-00 |
|
12 |
Е9-2-18, б |
Установка скользящих опор Ду300мм |
шт. |
3000 |
0,15 |
0-12 |
450 |
360-00 |
|
13 |
Е9-2-1,г №5 |
Укладка звеньев труб в траншею Ду 300 мм |
м |
500 |
0,21 |
0-16 |
105 |
80-00 |
|
14 |
Е9-2-18, а |
Установка неподвижных опор Ду 300 мм |
шт. |
100 |
2,9 |
2-48 |
290 |
248-00 |
|
15 |
Е9-2-29 |
Установка колодцев с узлами т/с |
шт. |
50 |
3,8 |
2-68 |
190 |
134-00 |
|
16 |
Е9-2-9 |
Предварительное испытания трубопроводов на прочность и герметичность Ду 300мм |
м |
15000 |
0,04 |
0-09 |
600 |
1350-00 |
|
17 |
Е9-2-13 №6 |
Тепловая изоляция трубопроводов матами; Ду 300мм |
1 м 2труб |
15000 |
0,92 |
0-62 |
13800 |
9300-00 |
|
18 |
Е9-2-28 №19 |
Устройство сборных ж/б камер |
1 плита |
200 |
0,84 |
0-61 |
168 |
122-00 |
|
19 |
Перекрытие лотков плитами |
м |
15000 |
0,45 |
0-20 |
6750 |
3000-00 |
|
|
20 |
Е9-2-29 |
Перекрытие тепловых камер плитами и установка люков |
1 коло-дец |
50 |
0,89 |
0-70 |
44,5 |
35-00 |
|
21 |
Е9-2-24 №2 |
Гидроизоляция наружной поверхности каналов |
м. |
15000 |
0,34 |
0-23 |
5100 |
3450-00 |
|
22 |
Е2-1-34 №3 |
Засыпка траншей и котлованов бульдозерами |
100м3 |
613,5 |
0,38 |
0-40 |
233,13 |
245-40 |
|
Е9-2-39 |
Промывка сети |
м |
15000 |
0,14 |
0-11 |
2100 |
1650-00 |
|
|
16 |
Е9-2-9 |
Окончательные испытания трубопроводов на прочность и герметичность Ду 300мм |
м |
15000 |
0,24 |
0-19 |
3600 |
2850-00 |
|
23 |
Сдача объекта |
ч |
8 |
0,5 |
0-51 |
4 |
4-08 |
|
|
ВСЕГО |
|
66924,4 |
47485-94 |
ВСЕГО в ценах 200 3 1092176-60
8. Строительный генплан

9. Ведомость объема перевозок и требуемых транспортных средств
Определение объема перевозок и потребности в транспортных средствах.
Выбор способов перевозки грузов производится в ППР с учетом погрузочно-разгрузочных операций в местах отправления и получения санитарно-технических материалов, заготовок и оборудования и с учетом обеспечения поставки их на стройплощадку в необходимые сроки.
Исходными данными для указанных расчетов являются: сводная спецификация материалов и оборудования, ведомость заготовок и расстояние от ОМТС, ЦЗМ до стройплощадки.
Потребность в транспортных средствах определяется из условия необходимых сроков доставки и продолжительности одного рейса:
t=tп + tр + tм + L/Vср,
где tп - продолжительность погрузки, принимаемая 0,5 ч;
tр - продолжительность разгрузки, принимаемая 0,3 ч;
tм - время маневрирования при погрузке и разгрузке, принимаемое 0,2 ч;
L/Vср — - время доставки, ч;
L - расстояние перевозки туда и обратно: от ЦЗМ-30 км, от ОМТС-50км;
Vср - средняя скорость движения транспорта: от ЦЗМ-30 км/ч, от ОМТС-50 км/ч.
Получаем, t=3 ч в обоих случаях.
Коэффициент использования грузоподъемности машин принимаем для сантехнических материалов и оборудования, равным 0,8.
Ведомость объема перевозок и требуемых транспортных средств
таблица 4
|
№ |
Характер перевозок (наим. материалов, заготовок, оборудов.) |
вес, т |
расст. км. |
объем превозок, т•км |
срок доставки |
вид трансп. грузо-подъемн т. |
коэф. исполз. грузо-подъем. |
продол-жит. перевозки |
ко-во рейсов, машин |
|
1 |
Из ОМТС до стойплощадки 1.изоляция, каналы, опоры скользящие и неподвижные, электроды, оснастка 2. трубы 3.ж/б плиты камер |
8878 1091 338 |
50 |
443900 54550 16900 |
в соответствии с графиком поставок на объект |
КРАЗ-257 12т. УПЛ-2916 29т ПЛ-22-12 22т |
0,8 |
3 |
30;30 6;8 6;3 |
|
2 |
От ЦЗМ до стройплощадки |
42 |
30 |
1260 |
КРАЗ-257 12т. |
0,8 |
3 |
5;1 |
10. Ведомость и расчет площадей временных зданий для обслуживания работающих на стройплощадке
таблица 4
|
№ |
Временные здания |
Кол-во рабо-таю-щих |
Кол-во поль-зующих-ся % |
Площадь помещения |
Тип времен-ного здания |
Разме-ры зда-ния, м |
Прим. |
|
|
на одного работа-ющего |
общая |
|||||||
|
Служебные |
||||||||
|
1 |
Контора |
6 |
100 |
4 |
24 |
передв. вагон |
9х2,7 |
1 помещ. |
|
2 |
Диспетчерская |
2 |
100 |
7 |
14 |
« |
« |
|
|
Санитарно-бытовые |
||||||||
|
3 |
Гардеробная |
62 |
70 |
0,7 |
31 |
« |
10,3х3 |
5 помещ. |
|
4 |
Душевая |
62 |
50 |
0,54 |
16,7 |
« |
5,4х3,1 |
На 1 душевую сетку 5 чел. 2,5 м2 5 помещ. |
|
5 |
Сушилка |
62 |
40 |
0,2 |
5 |
« |
2х2,5 |
5 помещ. |
|
6 |
Столовая |
62 |
50 |
0,8 |
25 |
« |
5х5 |
5 помещ. |
|
7 |
Туалет с умывальной |
62 |
100 |
0,1 |
6,3 |
контейн. |
2,1хЗ |
16чел на 1очко. 5 помещ. |
11. Электроснабжение строительной площадки
Электроснабжение строительства от действующих систем напряжением 6 или 10 кВт осуществляется через трансформаторную подстанцию. Электроэнергия на строительной площадке потребляется для производственных нужд, для наружного и внутреннего освещения. Электропотребители и их мощность, устанавливаемая в период максимального потребления электроэнергии, определяются на основании календарного плана производства работ, графика работы машин и стройгенплана.
Общая потребная электрическая мощность на строительной площадке для временного электроснабжения определяется по формуле:
Wпр = 1,1(Рпр • kс + Рно • kс +Рво • kс), кВт,
где kc-коэффициент спроса: kc=0,35+0,7+1+0,8=2,85;
Рпр - установленная мощность на производственные нужды:
Рпр =(2+1+2,4)15=81кВт;
Рно - мощность на наружное освещение:
Рно =1,5+0,8+1+2,4+5=10,7кВт;
Рво - мощность на внутреннее освещение:
Рво =0,3+0,2+0,3+0,1+0,1+0,1=1,1кВт.
Получаем, Wпр =319 кВт.
Берем силовой трансформатор ТМ-320/10 с максимальным напряжением 10В, мощностью 320 кВт, массой (с маслом) 1750 кг.
12. Расчет потребности строительства в воде
Водоснабжение строительства должно осуществляться с учетом действующих систем водоснабжения. При решении вопроса о временном водоснабжении строительной площадки определяется схема расположения сети и диаметры трубопровода, подающего воду на следующие нужды: хозяйственно-бытовые (Вхоз, л/с), душевые установки (Вдуш, л/с), пожаротушение (Впож, л/с).
Полная потребность в воде составит:
Вобщ=0,5(Вхоз+ Вдуш)+Впож, л/с,
где Вхоз =В2макс k5 /(t2 3600)= 25*194*2/ 8*3600=0,34 л/с;
k5 - коэффициент неравномерности потребления, принимаем равным 2;
t2 - число часов работы в смену, равно 8 ч;
Вдуш= В2макс k6 /(t3 3600)= 40* 97/0,75*3600 =1,44 л/с;
k6 - коэффициент неравномерности потребления, принимаем равный 1;
t3 - продолжительность работы душевой установки, принимаемая 0,75ч;
Получаем, Вобщ=10,9 л/с.
Диаметр трубопровода для временного водопровода:
,
мм.
где V- скорость воды в трубопроводе; 2 м/с - для больших диаметров.
Получаем, Д - 83 мм.
15. Расчет сетевого графика табличным методом.
таблица 6
|
кол-во входя-щих работ |
шифр работ |
про-дол-жит. работ |
ранние сроки |
поздние сроки |
резервы |
отм. критич. пути |
|||
|
начало |
оконч. |
начало |
оконч. |
общ. |
частн. |
||||
|
0 |
1-2 |
2 |
0 |
2 |
0 |
2 |
0 |
0 |
+ |
|
1 |
2-3 |
2 |
2 |
4 |
6 |
8 |
4 |
0 |
|
|
1 |
2-7 |
0 |
2 |
2 |
2 |
2 |
0 |
0 |
+ |
|
1 |
3-4 |
2 |
4 |
6 |
8 |
10 |
4 |
0 |
|
|
1 |
3-8 |
0 |
4 |
4 |
7 |
7 |
3 |
2 |
|
|
1 |
4-5 |
2 |
6 |
8 |
18 |
20 |
12 |
0 |
|
|
1 |
4-9 |
0 |
6 |
6 |
10 |
10 |
4 |
0 |
|
|
1 |
5-6 |
2 |
8 |
10 |
20 |
22 |
12 |
0 |
|
|
1 |
5-10 |
0 |
8 |
8 |
19 |
19 |
11 |
3 |
|
|
1 |
6-11 |
0 |
10 |
10 |
22 |
22 |
12 |
0 |
|
|
1 |
7-8 |
3 |
2 |
5 |
2 |
5 |
0 |
0 |
+ |
|
2 |
8-9 |
3 |
5 |
8 |
7 |
10 |
2 |
0 |
|
|
2 |
8-13 |
0 |
5 |
5 |
5 |
5 |
0 |
0 |
+ |
|
2 |
9-10 |
3 |
8 |
11 |
16 |
19 |
8 |
3 |
|
|
2 |
9-14 |
0 |
8 |
8 |
10 |
10 |
2 |
0 |
|
|
2 |
10-11 |
3 |
11 |
14 |
19 |
22 |
7 |
0 |
|
|
2 |
10-15 |
0 |
11 |
11 |
25 |
25 |
14 |
5 |
|
|
2 |
11-12 |
3 |
14 |
17 |
22 |
25 |
8 |
0 |
|
|
2 |
11-16 |
0 |
14 |
14 |
30 |
30 |
16 |
0 |
|
|
1 |
12-17 |
0 |
17 |
17 |
25 |
25 |
18 |
10 |
|
|
1 |
13-14 |
5 |
5 |
10 |
5 |
10 |
0 |
0 |
+ |
|
2 |
14-15 |
5 |
10 |
15 |
15 |
20 |
5 |
0 |
|
|
2 |
14-19 |
0 |
10 |
10 |
10 |
10 |
0 |
0 |
+ |
|
2 |
15-16 |
5 |
15 |
20 |
25 |
30 |
10 |
5 |
|
|
2 |
15-20 |
0 |
15 |
15 |
20 |
20 |
5 |
0 |
|
|
2 |
16-17 |
5 |
20 |
25 |
35 |
40 |
15 |
10 |
|
|
2 |
16-21 |
0 |
20 |
20 |
30 |
30 |
10 |
0 |
|
|
2 |
17-18 |
5 |
25 |
30 |
53 |
58 |
28 |
0 |
|
|
2 |
17-22 |
0 |
25 |
25 |
40 |
40 |
15 |
5 |
|
|
1 |
18-23 |
0 |
30 |
30 |
58 |
58 |
28 |
0 |
|
|
1 |
19-20 |
10 |
10 |
20 |
10 |
20 |
0 |
0 |
+ |
|
2 |
20-21 |
10 |
20 |
30 |
20 |
30 |
0 |
0 |
+ |
|
2 |
20-25 |
0 |
20 |
20 |
36 |
36 |
16 |
8 |
|
|
2 |
21-22 |
10 |
30 |
40 |
30 |
40 |
0 |
0 |
+ |
|
2 |
21-26 |
0 |
30 |
30 |
40 |
40 |
10 |
0 |
|
|
2 |
22-23 |
10 |
40 |
50 |
40 |
50 |
0 |
0 |
+ |
|
2 |
22-27 |
0 |
40 |
40 |
48 |
48 |
8 |
0 |
|
|
2 |
23-24 |
10 |
50 |
60 |
58 |
68 |
8 |
4 |
|
|
2 |
23-28 |
0 |
50 |
50 |
50 |
50 |
0 |
0 |
+ |
|
1 |
24-29 |
0 |
60 |
60 |
68 |
68 |
8 |
4 |
|
|
1 |
25-26 |
4 |
20 |
24 |
36 |
40 |
16 |
10 |
|
|
2 |
26-27 |
4 |
30 |
34 |
44 |
48 |
14 |
0 |
|
|
2 |
26-31 |
0 |
30 |
30 |
40 |
40 |
10 |
0 |
|
|
2 |
27-28 |
4 |
40 |
44 |
56 |
50 |
16 |
0 |
|
|
2 |
27-32 |
0 |
40 |
40 |
48 |
48 |
8 |
0 |
|
|
2 |
28-29 |
4 |
50 |
54 |
56 |
58 |
6 |
4 |
|
|
2 |
28-33 |
0 |
50 |
50 |
50 |
50 |
0 |
0 |
+ |
|
2 |
29-30 |
4 |
60 |
64 |
68 |
72 |
8 |
0 |
|
|
2 |
29-34 |
0 |
60 |
60 |
68 |
68 |
8 |
6 |
|
|
1 |
30-35 |
4 |
64 |
68 |
72 |
76 |
8 |
0 |
|
|
1 |
31-32 |
5 |
30 |
35 |
40 |
45 |
10 |
6 |
|
|
2 |
32-33 |
5 |
40 |
45 |
45 |
50 |
5 |
0 |
|
|
2 |
32-37 |
0 |
40 |
40 |
50 |
50 |
10 |
6 |
|
|
2 |
32-43 |
0 |
40 |
40 |
50 |
50 |
10 |
0 |
|
|
2 |
33-34 |
5 |
50 |
55 |
55 |
60 |
5 |
5 |
|
|
2 |
33-38 |
0 |
50 |
50 |
54 |
54 |
4 |
0 |
|
|
2 |
33-44 |
0 |
50 |
50 |
50 |
50 |
0 |
0 |
+ |
|
2 |
34-35 |
5 |
60 |
65 |
65 |
70 |
5 |
0 |
|
|
2 |
34-39 |
0 |
60 |
60 |
64 |
64 |
4 |
0 |
|
|
2 |
34-45 |
0 |
60 |
60 |
64 |
64 |
4 |
0 |
|
|
2 |
35-36 |
5 |
68 |
73 |
75 |
80 |
7 |
0 |
|
|
2 |
35-40 |
0 |
68 |
68 |
71 |
71 |
3 |
3 |
|
|
2 |
35-46 |
0 |
68 |
68 |
71 |
71 |
3 |
0 |
|
|
1 |
36-41 |
0 |
73 |
73 |
75 |
75 |
2 |
0 |
|
|
1 |
36-47 |
0 |
73 |
73 |
75 |
75 |
2 |
2 |
|
|
1 |
37-38 |
2 |
40 |
42 |
50 |
52 |
10 |
0 |
|
|
2 |
38-39 |
2 |
50 |
52 |
61 |
63 |
11 |
7 |
|
|
2 |
38-49 |
0 |
50 |
50 |
60 |
60 |
10 |
0 |
|
|
2 |
39-40 |
2 |
60 |
62 |
62 |
64 |
2 |
0 |
|
|
2 |
39-50 |
0 |
60 |
60 |
66 |
66 |
6 |
5 |
|
|
2 |
40-41 |
2 |
68 |
70 |
72 |
74 |
4 |
4 |
|
|
2 |
40-51 |
0 |
68 |
68 |
72 |
72 |
4 |
0 |
|
|
2 |
41-42 |
2 |
73 |
75 |
77 |
79 |
4 |
0 |
|
|
2 |
41-52 |
0 |
73 |
73 |
81 |
81 |
8 |
0 |
|
|
1 |
42-53 |
0 |
75 |
75 |
83 |
83 |
8 |
0 |
|
|
1 |
43-44 |
2 |
40 |
42 |
58 |
60 |
18 |
10 |
|
|
2 |
44-45 |
2 |
50 |
52 |
50 |
52 |
0 |
0 |
+ |
|
2 |
44-49 |
0 |
50 |
50 |
56 |
56 |
6 |
0 |
|
|
2 |
45-46 |
2 |
60 |
62 |
66 |
68 |
6 |
0 |
|
|
2 |
45-50 |
0 |
60 |
60 |
60 |
60 |
0 |
0 |
+ |
|
2 |
46-47 |
2 |
68 |
70 |
72 |
74 |
4 |
4 |
|
|
2 |
46-51 |
0 |
68 |
68 |
72 |
72 |
4 |
0 |
|
|
2 |
47-48 |
2 |
73 |
75 |
87 |
89 |
8 |
0 |
|
|
2 |
47-52 |
0 |
73 |
73 |
79 |
79 |
6 |
0 |
|
|
1 |
48-53 |
0 |
75 |
75 |
89 |
89 |
14 |
10 |
|
|
2 |
49-50 |
1 |
50 |
51 |
50 |
51 |
0 |
0 |
+ |
|
3 |
50-51 |
1 |
60 |
61 |
72 |
72 |
12 |
0 |
|
|
3 |
50-55 |
0 |
60 |
60 |
76 |
76 |
16 |
0 |
|
|
3 |
50-61 |
0 |
60 |
60 |
60 |
60 |
0 |
0 |
+ |
|
3 |
51-52 |
1 |
68 |
69 |
72 |
73 |
4 |
0 |
|
|
3 |
51-56 |
0 |
68 |
68 |
77 |
77 |
9 |
0 |
|
|
3 |
51-62 |
0 |
68 |
68 |
77 |
77 |
9 |
0 |
|
|
3 |
52-53 |
1 |
73 |
74 |
88 |
89 |
15 |
0 |
|
|
3 |
52-57 |
0 |
73 |
73 |
79 |
79 |
6 |
6 |
|
|
3 |
52-63 |
0 |
73 |
73 |
79 |
79 |
6 |
0 |
|
|
3 |
53-54 |
1 |
75 |
76 |
98 |
99 |
23 |
0 |
|
|
3 |
53-58 |
0 |
75 |
75 |
89 |
89 |
14 |
0 |
|
|
3 |
53-64 |
0 |
75 |
75 |
89 |
89 |
14 |
0 |
|
|
1 |
54-59 |
0 |
76 |
76 |
99 |
99 |
22 |
0 |
|
|
1 |
54-65 |
0 |
76 |
76 |
99 |
99 |
22 |
10 |
|
|
1 |
55-56 |
2 |
60 |
62 |
76 |
78 |
16 |
0 |
|
|
2 |
56-57 |
2 |
68 |
70 |
77 |
79 |
9 |
6 |
|
|
2 |
56-67 |
0 |
68 |
68 |
78 |
78 |
10 |
0 |
|
|
2 |
57-58 |
2 |
73 |
75 |
87 |
89 |
14 |
12 |
|
|
2 |
57-68 |
0 |
73 |
73 |
79 |
79 |
6 |
0 |
|
|
2 |
58-59 |
2 |
75 |
77 |
97 |
99 |
22 |
12 |
|
|
2 |
58-69 |
0 |
75 |
75 |
89 |
89 |
14 |
0 |
|
|
2 |
59-60 |
2 |
77 |
79 |
107 |
109 |
30 |
0 |
|
|
2 |
59-70 |
0 |
77 |
77 |
99 |
99 |
22 |
0 |
|
|
1 |
60-71 |
0 |
79 |
79 |
109 |
109 |
30 |
0 |
|
|
1 |
61-62 |
2 |
75 |
77 |
75 |
77 |
0 |
0 |
+ |
|
2 |
62-63 |
2 |
77 |
79 |
77 |
79 |
0 |
0 |
+ |
|
2 |
62-67 |
0 |
77 |
77 |
78 |
78 |
2 |
0 |
|
|
2 |
63-64 |
2 |
79 |
81 |
87 |
89 |
8 |
0 |
|
|
2 |
63-68 |
0 |
79 |
79 |
79 |
79 |
0 |
0 |
+ |
|
2 |
64-65 |
2 |
81 |
83 |
97 |
99 |
16 |
0 |
|
|
2 |
64-69 |
0 |
81 |
81 |
89 |
89 |
8 |
0 |
|
|
2 |
65-66 |
2 |
83 |
85 |
107 |
109 |
24 |
14 |
|
|
2 |
65-70 |
0 |
83 |
83 |
99 |
99 |
16 |
0 |
|
|
1 |
66-71 |
0 |
85 |
85 |
109 |
109 |
24 |
10 |
|
|
2 |
67-68 |
1 |
77 |
78 |
78 |
79 |
1 |
0 |
|
|
3 |
68-69 |
1 |
79 |
80 |
88 |
89 |
9 |
0 |
|
|
3 |
68-73 |
0 |
79 |
79 |
79 |
79 |
0 |
0 |
+ |
|
3 |
69-70 |
1 |
81 |
82 |
98 |
99 |
18 |
18 |
|
|
3 |
69-74 |
0 |
81 |
81 |
89 |
89 |
8 |
0 |
|
|
3 |
70-71 |
1 |
83 |
84 |
108 |
109 |
25 |
0 |
|
|
3 |
70-75 |
0 |
83 |
83 |
99 |
99 |
16 |
8 |
|
|
3 |
71-72 |
1 |
84 |
85 |
118 |
119 |
34 |
0 |
|
|
3 |
71-76 |
0 |
84 |
84 |
109 |
109 |
25 |
0 |
|
|
1 |
72-77 |
0 |
85 |
85 |
119 |
119 |
34 |
0 |
|
|
1 |
73-74 |
10 |
79 |
89 |
79 |
89 |
0 |
0 |
+ |
|
2 |
74-75 |
10 |
89 |
99 |
89 |
99 |
0 |
0 |
+ |
|
2 |
74-79 |
0 |
81 |
81 |
103 |
103 |
22 |
12 |
|
|
2 |
75-76 |
10 |
99 |
109 |
99 |
109 |
0 |
0 |
+ |
|
2 |
75-80 |
0 |
99 |
99 |
104 |
104 |
5 |
0 |
|
|
2 |
76-77 |
10 |
109 |
119 |
109 |
119 |
0 |
0 |
+ |
|
2 |
76-81 |
0 |
109 |
109 |
109 |
109 |
0 |
0 |
+ |
|
2 |
77-78 |
10 |
119 |
129 |
119 |
129 |
0 |
0 |
+ |
|
2 |
77-82 |
0 |
119 |
119 |
120 |
120 |
1 |
0 |
|
|
1 |
78-83 |
0 |
129 |
129 |
129 |
129 |
0 |
0 |
|
|
1 |
79-80 |
1 |
81 |
82 |
103 |
104 |
22 |
0 |
|
|
2 |
80-81 |
1 |
99 |
100 |
108 |
109 |
9 |
0 |
|
|
2 |
80-85 |
0 |
99 |
99 |
104 |
104 |
5 |
0 |
|
|
2 |
81-82 |
1 |
100 |
110 |
119 |
120 |
19 |
0 |
|
|
2 |
81-86 |
0 |
109 |
109 |
109 |
109 |
0 |
0 |
+ |
|
2 |
82-83 |
1 |
119 |
120 |
128 |
129 |
9 |
6 |
|
|
2 |
82-87 |
0 |
119 |
119 |
120 |
120 |
1 |
0 |
|
|
2 |
83-84 |
1 |
129 |
130 |
137 |
138 |
8 |
0 |
|
|
2 |
83-88 |
0 |
129 |
129 |
129 |
129 |
0 |
0 |
+ |
|
1 |
84-89 |
0 |
130 |
130 |
138 |
138 |
8 |
0 |
|
|
1 |
85-86 |
5 |
99 |
104 |
104 |
109 |
5 |
5 |
|
|
2 |
86-87 |
5 |
104 |
109 |
115 |
120 |
11 |
0 |
|
|
2 |
86-91 |
0 |
109 |
109 |
109 |
109 |
0 |
0 |
|
|
2 |
87-88 |
5 |
119 |
124 |
124 |
129 |
10 |
0 |
|
|
2 |
87-92 |
0 |
119 |
119 |
120 |
120 |
1 |
1 |
|
|
2 |
88-89 |
5 |
129 |
134 |
133 |
138 |
4 |
0 |
|
|
2 |
88-93 |
0 |
129 |
129 |
129 |
129 |
0 |
0 |
+ |
|
2 |
89-90 |
5 |
134 |
139 |
142 |
147 |
6 |
4 |
|
|
2 |
89-94 |
0 |
134 |
134 |
138 |
138 |
4 |
0 |
|
|
1 |
90-95 |
0 |
139 |
139 |
147 |
147 |
8 |
0 |
|
|
1 |
91-92 |
9 |
109 |
118 |
111 |
120 |
2 |
2 |
|
|
2 |
92-93 |
9 |
119 |
128 |
120 |
129 |
1 |
0 |
|
|
2 |
92-97 |
0 |
119 |
119 |
144 |
144 |
25 |
0 |
|
|
2 |
93-94 |
9 |
129 |
138 |
129 |
138 |
0 |
0 |
+ |
|
2 |
93-98 |
0 |
129 |
129 |
147 |
147 |
28 |
0 |
|
|
2 |
94-95 |
9 |
138 |
147 |
138 |
147 |
0 |
0 |
+ |
|
2 |
94-99 |
0 |
138 |
138 |
150 |
150 |
12 |
0 |
|
|
2 |
95-96 |
9 |
147 |
156 |
147 |
156 |
0 |
0 |
+ |
|
2 |
95-100 |
0 |
147 |
147 |
153 |
153 |
4 |
0 |
|
|
1 |
96-101 |
0 |
156 |
156 |
156 |
156 |
0 |
0 |
+ |
|
1 |
97-98 |
3 |
119 |
122 |
144 |
147 |
25 |
0 |
|
|
2 |
98-99 |
3 |
129 |
132 |
147 |
150 |
3 |
3 |
|
|
2 |
99-100 |
3 |
138 |
141 |
150 |
153 |
12 |
0 |
|
|
2 |
100-101 |
3 |
147 |
150 |
153 |
156 |
5 |
3 |
|
|
2 |
101-102 |
3 |
156 |
159 |
156 |
159 |
0 |
0 |
+ |
|
1 |
102-103 |
0 |
159 |
159 |
159 |
159 |
0 |
0 |
+ |
|
1 |
103-104 |
3 |
159 |
162 |
159 |
162 |
0 |
0 |
+ |
|
1 |
104-105 |
0 |
162 |
162 |
162 |
162 |
0 |
0 |
+ |
|
1 |
105-106 |
3 |
162 |
165 |
162 |
165 |
0 |
0 |
+ |
|
1 |
106-107 |
0 |
165 |
165 |
165 |
165 |
0 |
0 |
+ |
|
1 |
107-108 |
2 |
165 |
167 |
165 |
167 |
0 |
0 |
+ |
15. Технико-экономические показатели
|
№ п/п |
Наименование показателя |
Единица измерения |
Величина показателя |
|
|
2 |
Протяжённость магистральных тепловых сетей |
км |
15 |
|
|
3 |
Параметры теплоносителя: температура горячей воды давление |
С кПа |
150 1,6 |
|
|
4 |
Годовой расход теплоносителя. |
Гкал |
1550 |
|
|
5 |
Расход металла на тепловые сети |
т |
17 |
|
|
6 |
Сметная стоимость строительства сетей |
тыс.руб. |
1092 |
|
|
8 |
Стоимость 1 км сетей |
тыс.руб. |
73 |
|
|
9 |
Срок строительства |
дни |
164 |
|
|
10 |
Трудоёмкость строительства |
чел./дни |
3772 |
|
|
12 |
Средняя заработная плата на 1 рабочего в день |
руб. |
330 |
|
|
13 |
Удельный вес ФЗП в стоимости СМР |
% |
18,5 |
|
|
14 |
Уровень механизации работ |
% |
50 |
|
|
15 |
Экономическая эффективность |
тыс.руб. |
Список литературы
1 .Экономика и организация строительства: Методические указания по разработке раздела дипломного проекта / А.М.Платонов, Т.К.Руткаускас, С.Г.Королёв, Г.Э.Коротковский. Свердловск: УПИ, 1989. 37 с.
Для подготовки данной применялись материалы сети Интернет из общего доступа