Водяное отопление
Водяное отопление
Реферат
Общие сведения о местном отоплении индивидуальных жилых домов
К настоящему времени сложились два основных типа индивидуальных жилых зданий: усадьбы для круглогодичного проживания жильцов и дома (дачи) для проживания только в летний период. С технологической точки зрения требования к усадьбам и летним домам заметно различаются. Поскольку в летних домах проживают в основном в летний период, разность температур помещения и наружного воздуха относительно невелика. Поэтому наружные стены домиков обычно имеют небольшое термическое сопротивление теплопередаче от воздуха внутреннего помещения к наружному. Как правило, стены летних садовых домиков изготавливают из облегченных конструкций. И в этих домиках отопление, как правило, отсутствует.
Необходимость создания комфортных условий в летнем садовом домике и в зимнее время обязывает хозяев использовать различные варианты отопления, причем в качестве теплогенераторов используются в основном печи на твердом топливе. Кроме печей и каминов могут быть рекомендованы также электронагреватели (ТЕНы, рефлекторы, электрокамины и т.д.). В этих случаях не следует использовать водяные системы отопления, поскольку при отрицательных температурах нужно сливать воду из системы, а затем вновь заполнять ее водой - занятие, связанное с определенными неудобствами, Избежать их можно, если использовать в качестве теплоносителя незамерзающую жидкость - антифриз. Однако следует считаться с тем, что антифриз достаточно дорог и токсичен.
Что касается теплоснабжения усадебных и дачных домиков с круглогодичным проживанием жильцов, то их устройства дол лены обеспечивать весь комплекс удобств, предоставляемых городским жителям: отопление, горячее водоснабжение, возможность приготовления пищи. В то же время основные теллопотребляющие элементы домов - системы отопления и горячего водоснабжения - имеют некоторые особенности в сравнении с системами отопления и горячего водоснабжения городских жилых зданий. Они состоят в следующем:
1) поскольку дома усадебного типа имеют небольшой объем и соответственно небольшие теллопотери, их обычно подсоединяют к наружным теплосетям, обслуживаемым групповой или индивидуальной котельной с температурой теплоносителя не более 95°С. Присоединение квартирных систем отопления к теплосети в этом случае молено производить без подмешивающих устройств в виде элеваторов;
2) ввиду того, что усадебные дома имеют один-два этажа, в них, как правило, целесообразно применять наиболее простую однотрубную систему отопления;
3) из-за отсутствия регуляторов для небольших расходов сетевой воды для присоединения к теплосети систем горячего водоснабжения следует использовать емкостные водонагреватели, в которых вода теплосети нагревает местную воду через поверхность размещенного в нем змеевика (бойлерные котлы).
Для отопления малоэтажных здании в настоящее время применяют печное, водяное, электрическое и воздушное отопление.
Наиболее совершенно электрическое отопление, удобством регулирования тепловой нагрузки, отсутствием громоздких отопительных приборов, высокой гигиеничностью. Единственный, но часто решающий недостаток электрического отопления - его дороговизна. Стоимость единицы отпущенного тепла при электрическом отоплении в несколько раз выше, чем при выработке тепла в печах или котлах.
Наибольшее распространение получили водяные и воздушные системы отопления. При оценке теплотехнических свойств теплоносителей решающими показателями являются весовая и объемная тепловая емкость и температура. С точки зрения количества тепла, содержащегося в единице объема, вода имеет огромные преимущества по сравнению с водой. Например, при обычных для систем отопления температурах воды 80°С и воздуха 70°С объемная теплоемкость составляет: воды(Cv = РСg = 975x1 = 975 ккал), воздуха(Cv =0.25 ккал); т.е. теплоемкость воды больше чем теплоемкость воздуха почти в 4000 раз. Соответственно объемный расход ее, необходимый для отопления одного и того же помещения в тысячи раз меньше расхода воздуха, в силу этого требуется гораздо меньшее сечение соединительных коммуникаций, транспортирующих разогретый теплоноситель в отапливаемое помещение. Большие объемы нагретого воздуха затрудняют его транспортировку и распределение по отапливаемым помещениям. Из-за значительных диаметров разделительных воздуховодов вентилятор для передачи нагретого воздуха необходимо располагать вблизи отапливаемого жилого помещения, что связано с проникновением в помещение шума от работающего вентилятора.
Вместе с тем воздух как теплоноситель имеет ряд преимуществ по сравнению с водой.
Во-первых, он передает тепло в помещение непосредственно, т.е. без установки отопительных приборов. Проникающая способность воздуха велика, за счет высокой конвенционной способности осуществляется эффективное отопление помещения.
Во-вторых, не требуется устройств канализации теплоносителя (воздуха).
Достоинства воздушного отопления оценены человеком давно. Известно, что отопление горячими газами было первым способом искусственного отопления жилища.
Простой и древний способ отопления путем сжигания топлива внутри помещения соседствовал с центральными установками водяного и воздушного отопления. Так, в г. Эфесе, основанном в X веке до н.э. па территории современной Турции, для отопления помещений уже в то время использовалась система трубок, в которые подавалась горячая вода из котлов, находящихся в подвалах домов. В Хакасии и многих других местах нашей страны применялось напольное отопление с использованием теплоты продуктов сгорания централизованно-сжигаемого топлива. Система воздушного отопления, созданная в Италии, подробно описана еще Витрувием (конец I века до н.э.). Наружный воздух нагревался в подпольных каналах, предварительно-прогретых горячими газами, и поступал в отапливаемые помещения. По такому нее принципу отапливались помещения замков в Германии в средние века.
На развитие отопительной техники оказывал влияние вид применяемого топлива. В течении многих столетий использовалось твердое топливо (дрова, уголь) и отопительные установки приспосабливались к его сгоранию. Известны многочисленные конструкции очагов и жаровен, каминов и особенно печей, получивших широкое распространение в России. Отопительные печи для сжигания твердого топлива часто применяют и сейчас.
С открытием новых видов топлива (природный газ, нефть) создаются отопительные установки и тепловые станции для их сжигания с нагреванием промежуточной среды, переносящей теплоту в помещения.
В современных системах воздушного отопления малоэтажных зданий воздух нагревают обычно в калориферах-теплообменниках, печах, в которых тепло передается воздуху через стенку продуктами сгорания топлива или электрическими нагревателями. Нагретая изнутри металлическая (или кирпичная) поверхность калорифера (печи) охлаждается снаружи, отдавая тепло воздуху. Теплоотдача воздуху тем выше, чем больше поверхность теплообмена, поэтому искусственно увеличивают поверхность теплообмена или увеличивают скорость движения воздуха, соприкасающегося с поверхностью теплообменника.
Плотность воздуха при средней температуре 4-70°С примерно в тысячу раз меньше чем воды, поэтому его нагревающая способность (коэффициент теплопередачи) значительно (в 30-50 раз) меньше, чем этот показатель для воды. Таким образом в огневоздушных калориферах (теплообменниках) существует опасность перегрева разделяющей стенки теплообменника. Чтобы исключить это негативное явление, применяют принудительное движение воздушной среды в теплообменнике с помощью вентиляторов. Промышленностью, к сожалению, выпускается мало вентиляторов с низкой производительностью и поэтому в большинстве случаев применяются огневоздушные калориферы и теплообменники, в которых используется, так называемая естественная тяга, возникающая при его нагреве. Недостатком калориферов с естественной тягой является незначительная величина возникающего напора воздуха. Это ограничивает протяженность распределительных воздуховодов и создает трудности в распределении нагретого воздуха по помещениям.
Указанный недостаток калориферов с естественной тягой не является определяющим. Главная причина того, что воздушное отопление еще мало распространено в малоэтажных зданиях, состоит в недостаточном выпуске дешевых и малопроизводительных вентиляторов, а также в создаваемом ими шуме. Кроме того, конструкции разработанных к настоящему времени калориферов предусмотрены только для сжигания сетевого газа или жидкого топлива. Поэтому наибольшее распространение для отопления малоэтажных зданий получило печное и водяное отопления. Причем движение воды в водяных системах можно осуществить, без применения насосов, используя естественный напор, возникающий в следствии охлаждения воды в нагревательных приборах.
Принцип действия и устройство системы водяного отопления с естественной циркуляцией теплоносителя
Принципиальная схема системы водяного отопления с естественной циркуляцией теплоносителя показана на рис. 1.1. Вода от котла к приборам теплообменника и обратно двигается под действием гидростатического напора, возникающего благодаря различной плотности охлажденной и нагретой жидкости (теплоносителя).
Какая же сила заставляет воду циркулировать в системе, т.е. двигаться по трубам из котла в нагревательные приборы и обратно в котел? Эта сила возникает при нагревании воды в котле и охлаждении ее в нагревательных приборах. Вода, нагретая в котле 1, как более легкая, поднимается по главному подающему стояку 2 вверх. Из стояка она поступает в разводящие магистральные трубопроводы 3, а из них через подающие стояки 4 - в нагревательные приборы. Здесь вода остывает и поэтому становится более тяжелой. Например плотность воды при 400С составляет 992,24 кг/м3, при 70 °С - 977,8 кг/м3, при 95°С -961,9 кг/м3. Охлажденная вода через обратные стояки 5 и обратную линию 6 опускается вниз и своим весом вытесняет нагретую воду из котла вверх - в главный подающий стояк.
Описанный процесс непрерывно повторяется и в результате происходит постоянная циркуляция воды в системе.


Сила циркуляции, или, как принято говорить, циркуляционное давление, зависит от разности весов столба горячей и столба охлажденной (обратной) воды, следовательно, она зависит от разности температур горячей и обратной воды. Кроме того, циркуляционное давление обуславливается ещё высотой расположения нагревательного прибора над котлом: чем выше расположен прибор, тем больше для него циркуляционное давление.
Это можно доказать следующим образом.
В системах водяного отопления наибольшая температура горячей воды обычно равна 95°С, а охлажденной - 70°С. Если пренебречь охлаждением воды в трубах, то можно считать, что в нагревательный прибор вода поступает с температурой 95°С, а уходит из него с температурой 70°С. При этом условии определим сначала для верхнего, а затем для нижнего нагревательного прибора циркуляционное давление, под влиянием которого происходит через них движение воды.
Проведем на рис. 1.1а пунктирные горизонтальные линии через центры нагревательных приборов и котла. Допустим, что эти линии являются границей между водой с температурой 95°С и водой с температурой 70°C. Очевидно, что на участке ВГДЛЕ температура воды будет одинакова и равна 95°С, следовательно, здесь не может возникнуть сила, которая заставила бы воду циркулировать. Одинакова и равна 70°С; температура на участке АКИЗ, поэтому и тут не может быть создана необходимая сила. Остается раcсмотреть остальные два участка - АВ и ЕЗ. На участке АВ температура воды равна 95°С, а на участке ЕЗ она составляет 70°С. При таком соотношении температур налицо необходимое условие для возникновения циркуляционного давления - вследствие разности весов воды на участке ЕЗ и АВ и создается; циркуляция в кольце АБВГДЛЕЖЗИК. Сказанное относится к верхнему нагревательному прибору.
Для прибора, расположенного в нижнем этаже и включенного в кольцо АБВГДЛМЖЗИК, циркуляционное давление будет создаваться разностью весов столба воды ЖЗ и столба АБ, так как на участке БГДМЖ температура одинакова и равна 95°С, а на участке АЕИЗ температура тоже одинакова и равна 70°С. Но высота столбов воды АВ и ЕЗ соответственно больше высоты столбов воды АБ и ЖЗ. Следовательно, и разница в весе столбов АВ и ЕЗ будет больше разницы в весе столбов АБ и ЖЗ, отсюда циркуляционное давление для прибора второго этажа больше, чем для прибора первого этажа.
Этим объясняется следующее часто наблюдающееся явление: в системах водяного отопления нагревательные приборы верхних этажей прогреваются лучше, чем приборы нижних этажей.
Из приведенных выше рассуждений вытекает, что в двухтрубных системах отопления нагревательные приборы, расположенные на одном уровне с котлом или ниже его, работать не будут или же будут очень слабо прогреваться. Для указанных систем практикой установлено наименьшее расстояние между центром нагревательных приборов нижнего этажа и центром котла в 3 метра. В связи с этим котельные для систем отопления должны иметь достаточное заглубление. Указанного недостатка лишены однотрубные системы отопления. В этом случае гидростатический напор, заставляющий циркулировать воду в системе, будет образовываться из-за охлаждения воды в трубопроводах, подводящих нагретую воду к нагревательным приборам, а также отводящих охлажденную воду от приборов к котлу.
Это охлаждение полезно, во-первых, для создания гидростатического напора, а во-вторых, для дополнительного, обогрева помещения, поэтому указанные трубопроводы прокладывают открыто и не изолируют. Напротив, охлаждение воды в главном стояке (подъемном трубопроводе) вредно, ибо приводит к снижению температуры и увеличению плотности и, как следствие, к уменьшению гидростатического напора. В связи с этим подъемный стояк от котла необходимо тщательно теплоизолировать.
Количество тепла, отдаваемого помещению нагревательными приборами, зависит от количества поступающей в прибор воды и ее температуры. В свою очередь, количество воды, которое может быть пропущено через трубопровод к прибору, зависит от циркуляционного давления, заставляющего воду двигаться по трубе. Чем больше циркуляционное давление, тем меньше может быть диаметр трубы для пропуска определенного количества воды и наоборот чем меньше циркуляционное давление, тем больше должен быть диаметр трубы.
Но для нормального действия системы отопления требуется еще одно условие: чтобы циркуляционное давление было достаточным для преодоления всех сопротивлений, которые встречает движущаяся в этой системе вода. Известно, что вода при своем движении в системе отопления встречает сопротивления, вызываемые трением воды о стенки труб, а кроме них, еще и местные сопротивления, к которым относятся отводы, тройники, крестовины, краны, нагревательные приборы и котлы.
Сопротивление вследствие трения зависит от диаметра и длины трубопровода, а также от скорости движения воды (если скорость увеличится в два раза, то сопротивление - в четыре раза, т.е. в квадратичной зависимости). Чем меньше диаметр и больше длина трубопровода и чем выше скорость воды, тем больше сопротивление создается на пути воды и наоборот. В схеме отопления, изображенной на рис. 1.1а имеется два кольца: одно, проходящее через ближайший к котлу стояк, и другое, которое проходит через дальний стояк. Так как первое кольцо короче второго, то при одинаковой в обеих кольцах тепловой нагрузке и одинаковых диаметров труб будет проходить по короткому кольцу больше воды, чем требуется по расчету, ж в результате по длинному кольцу будет проходить меньше воды, чем следует по расчету. Чтобы этого избежать необходимо для дальнего стояка применять трубы большего диаметра, чем для ближайшего стояка, и таким образом уравнять сопротивления в обеих кольцах. При большей длине труб сопротивление возрастает, с увеличением диаметра труб оно падает.
Величина местного сопротивления зависит, во-первых, от скорости воды, следовательно, и от изменения сечения, вызывающего изменение этой скорости (например, в кранах, нагревательных приборах, котлах и т.д.), во-вторых, от изменения направления, по которому движется вода, и изменения количества воды (например, в отводах, тройниках, крестовинах, вентилях).
Показанная ка рис. 1.1а система отопления - это система с верхней разводкой. Здесь горячая вода поднимается через главный стояк в магистральный трубопровод, прокладываемый обычно на чердаке.
На рис. 1.16 показана система отопления с нижней разводкой. В этой системе подающая магистраль, питающая восходящие стояки, располагается на первом этаже в подпольном канале или же в подвале здания. Обратные стояки присоединяются к общей обратной магистрали.
По принципу действия система отопления с нижней разводкой не отличается от системы с верхней разводкой. И тут, и там циркуляция создается потому, что горячая вода, как более легкая, вытесняется обратной водой вверх по стоякам; остывая в нагревательных приборах, эта вода опускается вниз через обратные стояки и снова поступает в котел.
В системах с естественным побуждением в зданиях небольшой этажности величина циркуляционного давления невелика, и поэтому в них нельзя допускать больших скоростей движения воды в трубах; следовательно, диаметры труб должны быть большими. Система может оказаться экономически невыгодной. Поэтому применение систем с естественной циркуляцией допускается лишь для небольших зданий.
Перечислим недостатки систем отопления с естественной циркуляцией воды:
сокращен радиус действия (до 30м по горизонтали) из-за небольшого циркуляционного давления;
повышена стоимость (до 5-7% стоимости здания), в связи с применением труб большого диаметра;
увеличены расход металла и затраты труда на монтаж системы;
замедлено включение системы в действие;
повышены опасность замерзания воды в трубах, проложенных в неотапливаемых помещениях.
Вместе с тем, отметим преимущества системы с естественной циркуляцией воды, определяющие в отдельных случаях ее выбор:
относительная простота устройства и эксплуатации;
независимость действия от снабжения электрической энергией;
отсутствие насоса, а соответственно шума и вибраций;
сравнительная долговечность (при правильной эксплуатации система может действовать 35-40 лет и более без капитального ремонта);
саморегулирование, обусловливающее ровную температуру помещений. В системе при изменении температуры и плотности воды изменяется и расход вследствие возрастания или уменьшения естественного циркуляционного давления. Одновременное изменение температуры и расхода воды обеспечивает теплопередачу приборов, необходимую для поддержания заданной температуры помещений, т.е. придает системе тепловую устойчивость.
Устройство систем водяного отопления с искусственной циркуляцией теплоносителя
В системах водяного отопления с естественной циркуляцией циркуляционные давления измеряются всего лишь десятками миллиметров водяного столба. Столь малые давления не позволяют устраивать данные системы в зданиях, .имеющих большую протяженность, кроме того,
они требуют применения труб значительных диаметров, что ведет к большому расходу металла.

Перечисленных недостатков лишены системы водяного отопления с искусственной циркуляцией. В них циркуляция воды создается центробежными насосами. Насосы, действующие в замкнутых кольцах системы: отопления, заполненных водой, воду не поднимают, а только ее перемещают, создавая циркуляцию, и поэтому называются циркуляционными.



Циркуляционный насос включает, как правило, обратную магистраль системы отопления для увеличения срока службы деталей, взаимодействующих с горячей водой. На рис. 1.2 изображены системы отопления с искусственной циркуляцией. Расширительный бак подсоединяют не к подающей, а к обратной магистрали.
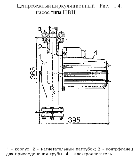
В системах отопления целесообразно применять специальные циркуляционные насосы перемещающие значительное количество воды и развивающие сравнительно небольшие давления. Это малошумные горизонтальные лопастные насосы центробежного типа, соединенные в единый блок с электродвигателями и закрепляемые непосредственно на трубах (без фундамента), например насосы типа ЦНИПС (рис. 1.3) или ЦВЦ (рис. 1.4).
Применение насосных: систем отопления позволяет существенно увеличить протяженность, трубопровода и уменьшить металлоемкость системы отопления за счет уменьшения диаметров разводящих трубе проводов. Кроме того, с установкой циркуляционного насоса появляется возможность применения новых схемных решений системы отопления, например, отказ от верхней разводки трубопроводов. Однако применение насосных систем отопления возможно только при условии надежного электроснабжения.
При отсутствии теплогенераторов на твердом топливе с топками длительного горения могут найти применение системы водяного отопления с баком аккумулятором и циркуляционным насосом типа ЦВЦ (рис. 1.5) такая система позволяет значительно сократить эксплуатационные затраты по обслуживанию генератора теплоты.
Принцип подобной системы отопления состоит в том, что тепловую мощность теплогенератора выбирают в 3 раза больше, чем теплопотери отапливаемого дом, за счет чего появляется возможность не только обеспечивать компенсацию теплопотерь дома, но и аккумулировать теплоту в специальном баке, которы начинает работать по прекращении эксплуатации теплогенератора. Объем бака-аккумулятора подбирают таким образом, чтобы время его разрядки составляло не менее 8 часов (при работе теплогенераторов два раза в сутки по 4 часа). Для эффективной работы системы бак-аккумулятор тщательно теплоизолирован с целью исключении потерь теплоты.

Конструктивные схемы систем водяного отопления
Конструктивно системы водяного отопления (как с естественным, так и с искусственным побуждением) подразделяют:
по шесту прокладки подающей магистрали - на системы с верхней и нижней разводкой;
по способу присоединения нагревательных приборов к подающим стоякам - на однотрубные и двухтрубные;
по расположению стояков - на системы с вертикальными и горизонтальными стояками;
по схеме прокладки магистрали - на системы с тупиковой схемой и с попутным движением воды в магистралях.
Однотрубные и двухтрубные системы отопления
Однотрубные системы водяного отопления не имеют обратных стояков, и вода, охлажденная в нагревательных приборах, возвращается в подающие стояки.
В однотрубных системах в нижние нагревательные приборы поступает смесь горячей воды и воды, охлажденной в верхних приборах. Так как температура этой смеси ниже температуры воды б приборах верхних этажей, то поверхность нагрева нижних приборов должна быть несколько увеличена.
В однотрубных системах вода циркулирует в нагревательных приборах и стояках, которые их питают, вследствие разности температур воды в тех и других. Однотрубные системы можно устраивать по двум схемам. При схеме радиаторы поступает из стояка только часть воды, остальная вода направляется по стояку к нижерасположенным радиаторам, Количество воды для каждого нагревательного прибора можно регулировать кранами, установленными у приборов.
Другая проточная система.. Здесь вся вода из стояка проходит последовательно через все нагревательные приборы, начиная с верхней. В отличии от простой однотрубной системы, в проточной системе в нижележащие радиаторы поступает не смесь горячей и охлажденной в верхних приборах воды, а только охлажденная вода.
В проточных системах нельзя ставить у нагревательных приборов обычные краны двойной регулировки. Если бы были установлены такие краны, то, перекрыв у того или иного прибора крап, уменьшили бы подачу воды во все приборы, присоединенные к стояку, а полностью закрыв один из кранов, можно прекратить циркуляцию воды через все приборы данного стояка. Между тем установка нагревательных приборов без кранов влечет за собой большие неудобства, так как тогда становится невозможным регулировать температуру воздуха в помещениях.
Однотрубные системы отопления могут выполнятся только с верхней развод-ком, поэтому их применяют в зданиях, где имеются чердаки и где можно располагать подающие магистрали в верхних этажах. Поэтажный пуск данных систем в действие невозможен, и в этом их недостаток,
Однако по сравнению с двухтрубными системами (рис. 1.6) отопления однотрубные проще в монтаже и, кроме того, имеют более красивый внешний вид. Достоинство их в том, что на устройство однотрубной системы требуется меньше труб, чем на устройство двухтрубной.
Все эти положительные особенности однотрубных систем весьма существенны и вполне оправдывают их широкое применение.
Системы отопления с вертикальными и горизонтальными стояками
Если нагревательные приборы разных этажей подключаются к единому стояку, то такая система является системой с вертикальными стояками. Если нагревательные приборы одного этажа подключаются к единому стояку - это система с горизонтальными стояками. Преимуществом системы с горизонтальным расположением стояка является меньшая стоимость монтажа и экономия труб. Недостатком является сложность эксплуатации и возможность скопления воздуха в нагревательных приборах с образованием воздушных пробок.
Системы отопления тупиковые я с попутным движением воды в магистралях
Показанные на рис. 1.2 системы отопления относятся к так называемым тупиковым системам, в которых циркуляционные кольца не равны по длине, причем самое короткое кольцо проходит через стояк, ближайший к котлу, а самое длинное - через стояк, наиболее отдаленный от котла.
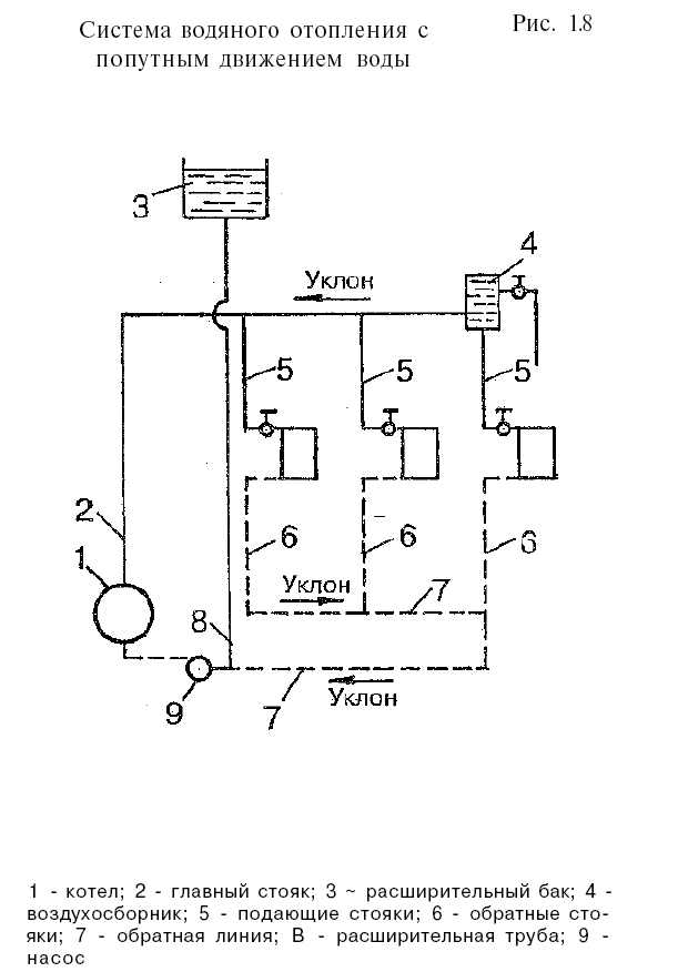
На рис. 1.8 изображена система отопления другого типа, где длина всех колец одна и та же и, следовательно, одинаково сопротивление колец (при одинаковой тепловой нагрузке стояков). Такие системы называют системами с попутным движением воды, причем их обычно устанавливают только в системах с насосной циркуляцией. В этих системах все стояки и нагревательные приборы находятся почти в равных условиях, что значительно облегчает регулировку.
Недостаток систем с попутным движением воды: состоит в том, что для их устройства требуется большее количество труб, чем для тупиковых систем.

Список литературы
Чернов Г.С.- Водяное отопление дома, дач,2005
Горбов А.Н.- Ремонт сантехники,2001
Белов Н.В.- Сам себе слесарь, 2003
Большая энциклопедия Кирилла и Мефодия – 2007
Журнал "Сантехника, отопление, кондиционирование, 2002. №4
Интернет: http://tgv.ulstu.ru/library/scientists/
Для подготовки данной применялись материалы сети Интернет из общего доступа