Водоподготовка и водный режим станции
Водоподготовка и водный режим станции
Реферат по дисциплине «Введение в направление»
Выполнил: студент Габовская И.В. группа ТЭ-52
Новосибирский государственный технический университет
Новосибирск, 2009
Введение
Вопросы водоподготовки и организации водно-химичского режима электростанции имеют большое значение для обеспечения работы электростанции и предприятий тепловых сетей без повреждений и снижения экономичности, вызываемых коррозией внутренних поверхностей водоподготовительного, теплоэнергетического и сетевого оборудования, а также без образования накипи и отложений на теплопередающих поверхностях, отложений в проточной части турбин, шлама в оборудовании и трубопроводах электростанций и тепловых сетей.
Тепловые электростанции потребляют большое количество воды. Основными потребителями являются конденсаторы турбин где вода (циркуляционная) используется для конденсации отработавшего пара и поддержания вакуума. Кроме того, вода расходуется для охлаждения водорода генераторов и охлаждающего воздуха крупных электродвигателей, для охлаждения масла турбогенераторов и питательных турбонасосов , для охлаждения подшипников вспомогательных механизмов -техническая вода, для гидрощлакозолоудаления, для восполнения потерь пара и конденсата в цикле станции.
Использование воды в теплоэнергетике
Оборудование современных электростанций эксплуатируется при высоких тепловых нагрузках, что требует жесткого ограничения толщины отложений на поверхностях нагрева по условиям температурного режима их металла в течение рабочей компании. Такие отложения образуются из примесей, поступающих в циклы электростанций, в том числе и с добавочной водой, поэтому обеспечение высокого качества водных теплоносителей электростанции является важнейшей задачей. Использование водного теплоносителя высокого качества упрощает также решение задач получения чистого пара, минимизации скоростей коррозии конструктивных материалов котлов, турбин и оборудования конденсатно-питательного тракта.
Для удовлетворения разнообразных требований к качеству воды, потребляемой при выработке электрической и тепловой энергии, возникает необходимость специальной физико-химической обработки ее. Подготовка воды осуществляется в специальном цехе, который называется цех «химводоочистки» (ХВО). За этим цехом закреплена задача организации и контроля за водно-химическим режимом всех групп оборудования. [2]
Химически подготовленная вода является, по существу, исходным сырьем, которое после надлежащей обработки (отчистки) используется для следующих целей: а) в качестве исходного вещества для получения пара в котлах, парогенераторах, испарителях, паропреобразователях; б) для конденсации отработавшего в паровых турбинах пара; в) для охлаждения различных аппаратов и агрегатов станции; г) в качестве теплоносителя в тепловых сетях и системах горячего водоснабжения.
Одновременно с отчисткой природной воды на электростанциях необходимо решать комплексно вопросы, связанные с утилизацией различными методами образующихся при этом сточных вод. Такое решение является мерой защиты от загрязнения природных источников питьевого и промышленного водоснабжения [1].
Выбор метода обработки воды, составление общей схемы технологического процесса при применении различных методов, определение требований, предъявляемых к качеству ее, существенно зависят от состава исходных вод, типа электростанции, параметров ее, применяемого основного оборудования (паровых котлов, турбин), система теплофикации и горячего водоснабжения. При применении термических методов обработки воды экономичность их зависит также от того, как включена обессоливающая установка в схему станции, и от характеристик и параметров оборудования. Поэтому до того как перейти к рассмотрению методов обработки воды необходимо хотя бы в самом общем виде познакомиться с типами и схемами тепловых электростанций.
Типичные схемы обращения воды в циклах электростанций и теплоэлектростанций


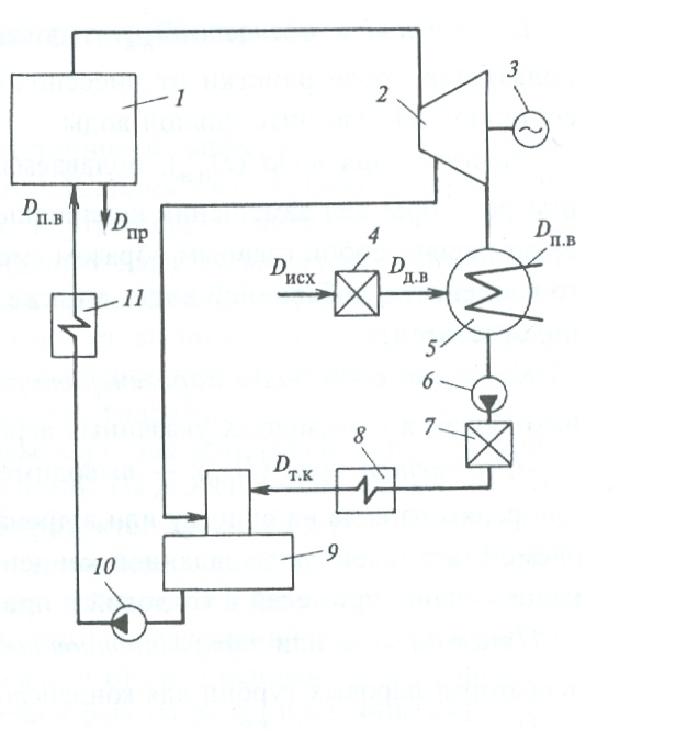
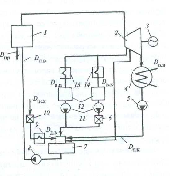
Рис.1. Питательная схема обращения Рис. 2. Питательная схема обращения
воды в тракте КЭС: воды в цикле ТЭЦ:
1 – котел, реактор кипящего типа, 1 – котел; 2 – турбина с отборами пара для парогенератор; 2 – конденсационная нужд производства и теплофикации; 3 - турбина; 3 – электрогенератор; 4 – электрогенератор; 4 – конденсатор; 5 – конводоподготовительная установка (ВПУ); денсатный насос; 6 – установка очистки 5 – конденсатор турбины; 6 – конденсат- возвратного загрязненного производственноный насос; 7 – блочная обессоливающая го конденсата; 7– деаэратор; 8 - питательный установка (БОУ); 8 – ПНД; 9 – деаэратор; насос; 9 – подогреватель добавочной воды;
10 – питательный насос; 11 – ПВД 10 – ВПУ; 11 – насос возвратного конденсата; 12 – баки возвратного конденсата; 13 –
теплофикационный потребитель пара; 14 –
производственный потребитель пара
Природная (техническая) вода используется в качестве исходного сырья на водоподготовительной установке, а также для других целей на станциях.
Добавочная вода направляется на контур для восполнения потерь пара и конденсата после обработки с применением физико-химических методов отчистки.
Турбинный конденсат содержащий незначительное количество растворенных и взвешенных примесей, - основная составляющая питательной воды.
Возвратный конденсат от внешних потребителей пара используется после очистки от внесенных загрязнений. Он является основной частью питательной воды.
Питательная вода, подаваемая в котлы, парогенераторы или реакторы для замещения испарившейся воды в этих агрегатах, представляет собой главным образом смесь турбинного и возвратного конденсата, добавочной воды, а также конденсата регенеративных подогревателей.
Котловая вода, вода парогенератора, реактора - вода, находящаяся в элементах указанных агрегатов.
Продувочная вода – выводимая из котла, парогенератора ил и реактора вода на отчистку или в дренаж для поддержания в испаряемой (котловой) воде заданной концентрации примесей. Состав и концентрация примесей в котловой и продувочной водах одинаковы.
Охлаждающая или циркуляционная вода используется в конденсаторах паровых турбин для конденсации отработавшего пара.
Подпиточная вода подается в тепловые сети для восполнения потерь циркулирующей в них воды [2].
Методы обработки воды
На тепловых электростанциях применяются различные методы обработки воды, однако в основном их можно разделить на безреагентные, или физические методы и методы, в которых используются различные препараты (химические реагенты). Безреагентные (физические) методы применяются и как отдельные этапы в общем технологическом процессе обработки воды, и как самостоятельные методы, обеспечивающие получение воды требуемого качества. Применяя химическую обработку (включая также методы ионного обмена), можно получить как умягченную, так и глубокообессоленную воду; при одном из наиболее распространенных на станции физических методов – термической обработке воды – всегда получают дистиллят, т.е. воду с очень небольшим содержанием примесей. Однако в ряде случаев при термической обработке, проводимой в целях глубокого обессоливания, применяется умягченная вода, т.е. вода, уже прошедшая химическую обработку или ионирование.
Для заполнения контура паротурбинной установки восполнения потерь в нем на современных крупных станций может применяться только глубокообессоленная вода. В настоящее время такую воду получают почти всегда химическим и термическим методами обессоливания. Заполнение тепловых сетей и компенсация потерь в них проводятся обычно водой, умягченной ионированием [2].
Теперь рассмотрим то, что поступает на станцию вместе с водой и каким обработкам подвергается вода.
Добавочная вода, несмотря на то, что она предварительно очищается, вносит в цикл электростанции соли и другие химические соединения. Значительная доля солей поступает также через неплотности конденсаторов с присасываемой циркуляционной водой, не проходящей очистки, кроме грубо механической и иногда хлорирования.
Доля присасываемой охлаждающей воды в конденсаторах паровых турбин не должна превышать 0,015% количества основного конденсата. Для уменьшения присосов конденсаторы турбин оборудуют двойными трубными досками с отводом просачивающейся воды.
На промышленных станциях обратный конденсат с производства в ряде случаев имеет повышенную жесткость и загрязнен продуктами коррозии металлов или производственными примесями. Это вносит в цикл станции дополнительные загрязнения. С течением времени вносимые соли будут накапливаться, если их не отводить, что может привести к отложениям солей в трубах котла, к ухудшению качества вырабатываемого пара и к заносу солями проточной части турбин. Во избежание этого необходимо выводить загрязнения из пароводяного цикла электростанции [3].
Помимо отчистки добавочной воды требуется еще дополнительная внутрикотловая обработка воды. Котловая и питательна вода барабанных котлов подвергается различной коррекционной обработке реагентами (фосфатами, комплексонами и др.), обеспечивающими выпадение накипеобразователей в форме легкоподвижного неприкипающего шлама, выводимого с периодической продувкой.
Методы организации водного режима подразделяются на физико-химические и физико-механические. К первым относится коррекционная обработка питательной и котловой воды реагентами, ко вторым - ступенчатое испарение и промывка пара. Физические методы удаления растворенных О2 и СО2 (деаэрация, отсос газов из теплообменников) сочетаются с коррекционной обработкой питательной воды аммиаком, нейтрализующими аминами и гидразином.
Для поддержания водно-химического режима барабанных котлов в целях предотвращения кальциевого и магниевого накипобразования повсеместное применение получил коррекционный фосфатный режим котловой воды. С его помощью можно предотвратить образование кальциевой накипи на поверхностях нагрева: дозированное введение раствора фосфорнокислых солей натрия в котловую воду переводит остатки ионов, накипеобразователей в шлам, удаляемый с продувкой. Недостатком фосфатного режима обработки котловой воды является неспособност предотвращать образование сложных бескальциевых ферро- и алюмосиликатных накипей в барабанных котлах высокого давления. Чтобы избежать этих отложений, надо снизить концентрацию соединений железа, алюминия и кремния в питательной и котловой воде.
В последние годы в связи с усовершенствованием технологии умягчения воды и пароведением работ по уплотнению конденсаторов соли кальция и магния в котлы практически не попадают и в составе накипи и шлама соединения Са и Мg содержаться в ничтожном количестве. В то же время при создании фосфатного режима иногда наблюдается образование феррофосфатных отложений, подшламовая коррозия парогенерирующих труб. В связи с этим потери на станциях восполняются химобессоленной водой или дистиллятом, а конденсаторы надежно уплотнены.
Водно – химический режим прямоточных котлов существенно отличается от режима барабанных котлов. В первых нет возможности производить продувку. Суть продувки заключается в том, что часть котловой воды (вода, которая циркулирует в поверхностях нагрева котлов и их необогреваемых трубах) выводиться из циркуляционного контура либо из, так называемых, «соленых» отсеков барабанных котлов, либо из специальных выносных устройств – сепараторов. За счет этого солесодержание котловой воды в барабанных котлах снижается.
В прямоточных котлах все примеси, поступающие с питательной водой и образующиеся в котле за счет коррозии, уносятся с паром и образуют отложения в турбинах или проходят транзитом через турбину и загрязняют конденсат. Поэтому такие котлы должны работать на питательной воде с минимальным содержанием примесей, могущих давать отложения в котле и в турбине [1].
При эксплуатации водоподготовительных установок образуются сточные воды в количестве 5-20% расхода обрабатываемой воды, которые обычно содержат шлам, состоящий из карбонатов кальция и магния, гидроксида магния, железа и алюминия, органических веществ, песка, а так же различные соли серной и соляной кислот с концентрацией, достигающей десятков грамм на кубический дециметр, переходящие в стоки при регенерации фильтров. С учетом известных предельно допустимых концентраций вредных веществ в водоемах стоки водоподготовительных установок перед их сбросом должны соответствующим образом очищаться, причем затраты на обезвреживание стоков обычно сопоставимы с затратами на приготовление воды требуемого качества, поэтому задача создания малосточных водоподготовительных установок является актуальной [2].
Заключение
В данном реферате рассмотрены вопросы водоподготовки на теплоэлектростанции (ТЭС). Отмечены особенности работы собственно ТЭС и их оборудования, организации и контроля водного режима. Представлены методы и выбор обработки воды.
Список литературы
1. Елизаров Д.П. Теплоэнергетические установки электростанций: Учебник для вузов. – 2-е изд., перераб. и доп. – М.: Энергоиздат, 1982.
2. Копылов А.С., Лавыгин В.М., Очков В.Ф. Водоподготовка в энергетике: Учебное пособие для вузов.- М.: Издательство МЭИ, 2003.
3. Рыжкин В.Я. Тепловые электрические станции. Учебник для вузов. – 2-е изд., перераб. и доп. – М.: Энергия, 1976.
Для подготовки данной применялись материалы сети Интернет из общего доступа