Акустические методы контроля материалов
Введение
Упругость - это свойство твердых тел восстанавливать свои форму и объем (а жидкостей и газов - только объем) после прекращения действия внешних сил. Среду, обладающую упругостью, называют упругой средой. Упругие колебания - это колебания механических систем, упругой среды или ее части, возникающие под действием механического возмущения. Упругие или акустические волны - механические возмущения, распространяющиеся в упругой среде. Частный случай акустических волн - слышимый человеком звук, отсюда происходит термин акустика (от греч. akustikos- слуховой) в широком смысле слова - учение об упругих волнах, в узком - учение о звуке. В зависимости от частоты упругие колебания и волны называют по-разному.
Таблица 1 - Диапазоны частот упругих колебаний
|
Название колебаний и волн |
Качественное определение |
Частота, Гц |
|
|
Физический диапазон |
Условный диапазон |
||
|
Инфразвук |
Ниже границы слышимости |
Ниже 16-25 |
Ниже 20 |
|
Звук |
Диапазон слышимости |
От 16-25 до (15-20)*103 |
20…20*103 |
|
Ультразвук |
Выше границы слышимости |
От (15-20)*103 до 109 |
20*103…1*109 |
|
Гиперзвук |
Длина волны меньше длины свободного пробега молекул воздуха |
Выше 109 |
Выше 109 |
Упругие колебания и акустические волны, особенно ультразвукового диапазона, широко применяют в технике. Мощные ультразвуковые колебания низкой частоты применяют для локального разрушения хрупких прочных материалов (ультразвуковая долбежка); диспергирования (тонкого измельчения твердых или жидких тел в какой-либо среде, например жиров в воде); коагуляции (укрупнения частиц вещества, например, дыма) и других целей. Другая область применения акустических колебаний и волн - контроль и измерение. Сюда относят звуковую и ультразвуковую локацию, ультразвуковую медицинскую диагностику, контроль уровня жидкости, скорости потока, давления, температуры в сосудах и трубопроводах, а также использование акустических колебаний и волн для неразрушающего контроля (НК).
В своей контрольной работе я планирую рассмотреть акустические методы контроля материалов, их типы и особенности.
1. Типы акустических волн
Методы акустического контроля используют волны малой амплитуды. Это область линейной акустики, где напряжение (или давление) пропорционально деформации. Область колебаний с большими амплитудами или интенсивностями, где такая пропорциональность отсутствует, относится к нелинейной акустике.
В неограниченной твердой среде существует два типа волн, которые распространяются с разными скоростями: продольные и поперечные.

Рис. 1 - Схематическое изображение продольных (а) и поперечных (б) волн
Волну u>l> называют продольной волной или волной расширения-сжатия (рис. 1. а), потому что направление колебаний в волне совпадает с направлением ее распространения.
Волну u>t> называют поперечной или волной сдвига (рис. 1. б). Направление колебаний в ней перпендикулярно направлению распространения волны, а деформации в ней сдвиговые. В жидкостях и газах поперечных волн не существует, так как в этих средах отсутствует упругость формы. Продольные и поперечные волны (их обобщенное название - объемные волны) наиболее широко используют для контроля материалов. Эти волны лучше всего выявляют дефекты при нормальном падении на их поверхность.
Вдоль поверхности твердого тела распространяются поверхностные (волны Рэлея) и головные (ползущие, квазиоднородные) волны.

Рис. 2 - Схематическое изображение волн на свободной поверхности твердого тела: а - рэлеевский, б - головной
Поверхностную волну успешно применяют для выявления дефектов вблизи поверхности изделия. Она избирательно реагирует на дефекты в зависимости от глубины их залегания. Дефекты, расположенные на поверхности, дают максимальное отражение, а на глубине больше длины волны практически не выявляются.
Квазиоднородная (головная) волна почти не реагирует на поверхностные дефекты и неровности поверхности, в то же время с ее помощью можно обнаружить подповерхностные дефекты в слое, начиная от глубины порядка 1... 2 мм. Контролю тонких изделий такими волнами мешают боковые поперечные волны, которые отражаются от противоположной поверхности ОК и дают ложные сигналы.
Если между собой граничат две твердые среды (рис. 3, в), модули упругости и плотности которых не сильно отличаются, то вдоль границы распространяется волна Стоунли (или Стонсли), Такие волны находят применение для контроля соединения биметаллов.
Поперечные волны, распространяющиеся вдоль границы раздела двух сред и имеющие горизонтальную поляризацию, называют волнами Лява. Они возникают, когда на поверхности твердого полупространства имеется слой из твердого материала скорость распространения в котором поперечных волн меньше, чем в полупространстве. Глубина проникновения волны в полупространство возрастает с уменьшением толщины слоя. В отсутствие слоя волна Лява в полупространстве превращается в объемную, т.е. в плоскую, горизонтально поляризованную, поперечную волну. Волны Лява находят применение для контроля качества покрытий (плакировок), наносимых на поверхность.

Рис. 3 - Волны на границе двух сред: а - затухающая рэлеевского типа на границе твердое тело - жидкость, б - слабозатухающая на той же границе, в - волна Стоунли на границе двух твердых тел
Если твердое тело имеет две свободные поверхности (пластина), то в нем могут существовать специфические типы упругих волн. Их называют волнами в пластинах или волнами Лэмба и относят к нормальным волнам, т. е. волнам, бегущим (переносящим энергию) вдоль пластины, слоя или стержня, и стоячим (не переносящим энергии) в перпендикулярном направлении. Нормальные волны распространяются в пластине, как в волноводе, на большие расстояния. Их успешно применяют для контроля листов, оболочек, труб толщиной 3... 5 мм и менее.
Также выделяют особый вид волн – ультразвуковые волны. Они по своей природе не отличаются от волн слышимого диапазона и подчиняются тем же физическим законам. Но, у ультразвука есть специфические особенности, которые определили его широкое применение в науке и технике. Отражение, преломление и возможность фокусировки ультразвука используется в ультразвуковой дефектоскопии, в ультразвуковых акустических микроскопах, в медицинской диагностике, для изучения макронеоднородностей вещества. Наличие неоднородностей и их координаты определяются по отражённым сигналам или по структуре тени.
2. Преломление, отражение, дифракция, рефракция акустических волн
Преломле́ние - явление изменения пути следования светового луча (или других волн), возникающее на границе раздела двух прозрачных (проницаемых для этих волн) сред или в толще среды с непрерывно изменяющимися свойствами.
Преломление звука - изменение направления распространения звуковой волны при её прохождении через границу раздела двух сред.
При падении на границу раздела двух однородных сред (воздух – стена, воздух – водная поверхность и т.д.) плоская звуковая волна может частично отражаться и частично преломляться (проходить во вторую среду.
Необходимым условием для преломления является различие скоростей распространения звука в обеих средах.
По закону преломления, преломленный луч (OL") лежит в одной плоскости с падающим лучом (OL) и нормалью к поверхности раздела сред, проведенной в точке падения O. Отношение синуса угла падения α к синусу угла преломления β равно отношению скоростей звуковых волн в первой и второй средах C>1> и C>2> (закон Снеллиуса):
sinα/sinβ=C>1>/C>2>
Из закона преломления следует, что чем выше скорость звука в той или иной среде, тем больше угол преломления.
Если скорость звука во второй среде меньше, чем в первой, то угол преломления будет меньше угла падения, если же скорость во второй среде больше, то угол преломления будет больше угла падения.Если удельное акустическое сопротивление обеих сред близки друг к другу, то почти вся энергия перейдёт из одной среды в другую.
Важной характеристикой среды является удельный акустический импеданс, определяющей условия преломления звука на ее границе. При нормальном падении плоской волны на плоскую границу раздела двух сред величина коэффициента преломления определяется только отношением акустических импедансов этих сред. Если акустические импедансы сред равны, то волна проходит границу без отражения. При нормальном падение волны на границу двух сред коэффициент прохождения W волны определяются только акустическими импедансами данных сред Z>1>=ρ>1>С>1> и Z>2>=ρ>2>С>2>. Формула Френеля (для нормального падения) имеет вид:
W=2Z>2>/(Z>2>+Z>1>).
Формула Френеля для волны падающей на границу раздела под углом:
W=2Z>2>cosβ/(Z>2>cosβ+Z>1>cosα).
ОТРАЖЕНИЕ ЗВУКА - явление, возникающее при падении звуковой волны на границу раздела двух упругих сред и состоящее в образовании волн, распространяющихся от границы раздела в ту же среду, из которой пришла падающая волна. Как правило, отражение звука сопровождается образованием преломлённых волн во второй среде. Частный случай отражения звука - отражение от свободной поверхности. Обычно рассматривается отражение на плоских границах раздела, однако можно говорить об отражении звука от препятствий произвольной формы, если размеры препятствия значительно больше длины звуковой волны. В противном случае имеет место рассеяние звука или дифракция звука.
Измерив амплитуду отраженной волны, мы можем оценить размер отражающего объекта.
Амплитуды (энергии) отраженной от границы двух сред и прошедшей в другую среду зависит от характеристик этих сред. Эта характеристика называется акустическим сопротивлением (характеристическим импедансом) и для каждой среды описывается выражением
z =rC
где r - плотность материала, а C - скорость упругой волны в этом материале.
Амплитуда (энергия) отраженной волны зависит также от формы отражающего тела и его расположения относительно распространяющейся волны. Параметры отраженной волны определяются формой и расположением отражающего тела. Исследуя параметры отраженной волны, мы сможем определить форму дефекта. Это очень важно для оценки степени его опасности (обычно плоскостные дефекты типа трещин более опасны, чем округлые дефекты - поры).
В твердых телах картина отражения и прохождения упругих волн более сложная. Волны не только отражаются от границы раздела, но и преломляются и трансформируются (преобразуются из одного типа в другой). Что под этим понимается? На рис. 4 показана схема падения луча продольной волны под углом на границу раздела двух твердых сред.

Рис. 4 - Преобразование (трансформация) упругих волн при падении на границу раздела двух материалов
Видно, что от границы раздела отражается не одна, а две волны. Одна продольная, а другая сдвиговая (поперечная). Причем угол отражения продольной волны, как и в оптике, равен углу падения продольной волны.
Во вторую среду проходят также две волны. Продольная – с углом, отличным от угла падения, и сдвиговая, угол которой также отличается от угла отражения сдвиговой волны в первом твердом теле. Углы падения, отражения и преломления подчиняются закону Снеллиуса (закон синусов)

Из выражения следует, что угол b равен углу gi, так как скорость распространения в первой среде для продольной волны одинакова. Мы ранее установили, что скорости упругих волн зависят от упругих характеристик материалов и плотностей. Значит, углы отражения и преломления также зависят от упругих свойств материалов и их плотностей. При угле падения равном 900 трансформации упругих волн не происходит. В то же время, замечательное свойство упругих волн отражаться от находящихся внутри материала неоднородностей, отличающихся по акустическим (упругим) характеристикам, используется для обнаружения дефектов. На этом принципе построена вся ультразвуковая дефектоскопия, дефектометрия, толщинометрия и т.д.
Рефракция звука - изменение направления распространения звука в неоднородной среде (атмосфера, океан, толща земли), скорость звука в которой является функцией координат.
Рефракцию звука (РЗ) можно рассматривать как следствие эффекта преломления волн для случаев, когда физические свойства среды непрерывно изменяются от точки к точке в направлении распространения волны. Частным случаем такой среды является макронеоднородная структура, состоящая из множества тонких однородных слоев s1, s2, ..., sn, причем скорость распространения звуковых волн c изменяется от слоя к слою так, что c1 > c2 > ... > cn или с1 < c2 < ...< cn. При прохождении волны через границы между соседними слоями имеют место эффекты отражения и преломления волн, в частности, выполняются законы Снеллиуса и соотношения для коэффициентов прохождения и отражения. Результирующей картиной многократного преломления волнового луча в среде c вышеописанными свойствами является изменение направления луча: он искривляется в сторону меньшей скорости звука. При плоско-слоистой неоднородности среды лучи представляют собой плоские кривые, лежащие в плоскостях, перепендикулярных слоям. Согласно закону Снеллиуса, в таких средах выполняется соотношение (cos q)/ c = const, где q - угол скольжения, которое является уравнением луча.
Более общим случаем является т.н. плавно неоднородная среда, в которой скорость распространения упругих волн является непрерывной функцией координат. Такая среда не является слоистой, поскольку не содержит контрастных, в акустической смысле, границ, на которых выполняются классические законы отражения и преломления.
Рефракция звука является важным фактором, влияющим на распространение звука в атмосфере, океане и толще Земли. Рефракционные эффекты могут наблюдаться также при распространении ультразвука в изделиях и материалах, если скорость звука в них меняется по толщине, например, вследствие поверхностной цементации. Поэтому рефракция звука положена в основу акустических методов контроля качества цементации массивных сооружений (плотин и т.п.) и степени уплотнения грунтов под собственным весом и при внешних нагрузках.
Дифракция (огибание волнами препятствий) имеет место тогда, когда длина ультразвуковой волны сравнима (или больше) с размерами находящегося на пути препятствия. Если препятствие по сравнению с длиной акустической волны велико, то явления дифракции нет. При одновременном движении в ткани нескольких ультразвуковых волн в определённой точке среды может происходить суперпозиция этих волн. Такое наложение волн друг на друга носит общее название интерференции. Если в процессе прохождения через биологический объект ультразвуковые волны пересекаются, то в определённой точке биологической среды наблюдается усиление или ослабление колебаний. Результат интерференции будет зависеть от пространственного соотношения фаз ультразвуковых колебаний в данной точке среды. Если ультразвуковые волны достигают определённого участка среды в одинаковых фазах (синфазно), то смещения частиц имеют одинаковые знаки и интерференция в таких условиях способствует увеличению амплитуды ультразвуковых колебаний. Если же ультразвуковые волны приходят к конкретному участку в противофазе, то смещение частиц будет сопровождаться разными знаками, что приводит к уменьшению амплитуды ультразвуковых колебаний.
3. Прием и излучение ультразвука
Ультразвук - это упругие колебания и волны с частотами приблизительно от 1,5- 2 ×104гц (15-20 кгц) и до 109 гц (1 Ггц), область частот ультразвука от 109 до 1012-13гц принято называть гиперзвуком. Область частот ультразвука можно подразделить на три подобласти: ультразвук низких частот (1,5×104-105 гц) - УНЧ, ультразвук средних частот (105 - 107 гц) - УСЧ и область высоких частот ультразвука (107-109гц) - УЗВЧ.
Для генерирования ультразвуковых колебаний применяют разнообразные устройства, которые могут быть разбиты на 2 основные группы - механические (источником ультразвука является механическая энергия потока газа или жидкости) и электромеханические (ультразвуковая энергия получается преобразованием электрической). Механические излучатели ультразвука - воздушные и жидкостные свистки и сирены - отличаются сравнительной простотой устройства и эксплуатации, не требуют дорогостоящей электрической энергии высокой частоты, кпд их составляет 10-20%. Основной недостаток всех механических ультразвуковых излучателей - сравнительно широкий спектр излучаемых частот и нестабильность частоты и амплитуды, что не позволяет их использовать для контрольно-измерительных целей; они применяются главным образом в промышленной ультразвуковой технологии и частично - как средства сигнализации.
Основной метод излучения ультразвука - преобразование тем или иным способом электрических колебаний в колебания механические. В диапазоне УНЧ возможно применение электродинамических и электростатических излучателей. Широкое применение в этом диапазоне частот нашли излучатели ультразвука, использующие магнитострикционный эффект в никеле и в ряде специальных сплавов, также в ферритах. Для излучения УСЧ и УЗВЧ используется главным образом явление пьезоэлектричества. Основными пьезоэлектрическими материалами для излучателей ультразвука служат пьезокварц, ниобат лития, дигидрофосфат калия, а в диапазоне УНЧ и УСЧ - главным образом различные пьезокерамические материалы. Магнитострикционные излучатели представляют собой сердечник стержневой или кольцевой формы с обмоткой, по которой протекает переменный ток, а пьезоэлектрические - пластинку (рис. 5) или стержень из пьезоэлектрического материала с металлическими электродами, к которым прикладывается переменное электрическое напряжение. В диапазоне УНЧ широкое распространение получили составные пьезоизлучатели, в которых пьезокерамическая пластинка зажимается между металлическими блоками.

Рис. 5 - Излучение (приём) продольных волн L пластинкой, колеблющейся по толщине в твердое тело: 1 - кварцевая пластинка среза Х толщиной l/2, где l - длина волны в кварце; 2 - металлические электроды; 3 - жидкость (трансформаторное масло) для осуществления акустического контакта; 4 - генератор электрических колебаний; 5 - твёрдое тело
Предельная интенсивность излучения ультразвука определяется прочностными и нелинейными свойствами материала излучателей, а также особенностями использования излучателей. Диапазон интенсивности при генерации ультразвука в области УСЧ чрезвычайно широк: интенсивности от 10-14-10-15вт/см2 до 0,1вт/см2 считаются малыми. Для многих целей необходимо получить гораздо большие интенсивности, в этих случаях можно воспользоваться фокусировкой ультразвука.
Выбор метода генерации ультразвука зависит от области частот ультразвука, характера среды (газ, жидкость, твёрдое тело), типа упругих волн и необходимой интенсивности излучения.
Вследствие обратимости пьезоэффекта он широко применяется и для приёма ультразвука. Изучение ультразвукового поля может производиться и оптическими методами: ультразвук, распространяясь в какой-либо среде, вызывает изменение её оптического показателя преломления, благодаря чему его можно визуализировать, если среда прозрачна для света.
4. Ультразвук в различных средах
Ультразвуковые волны распространяются только в материальной среде. Они характеризуются длиной волны частотой (f) и скоростью распространения (С). Длина волны выражается отношением скорости распространения к частоте колебания.
Частотная граница между звуковыми и ультразвуковыми волнами поэтому условна; она определяется субъективными свойствами человеческого слуха и соответствует усреднённой верхней границе слышимого звука. Однако благодаря более высоким частотам и, следовательно, малым длинам волн имеет место ряд особенностей распространения ультразвука. Так, для УЗВЧ длины волн в воздухе составляют 3,4․10-3-3,4․10-5 см, в воде 1,5․10-2-1,5 ․10-4 см и в стали 5․10-2- 5․10-4 см. Ультразвуковые колебания низкочастотного диапазона будут приближаться по своим физическим свойствам к звукам, у высокочастотных ультразвуков появляются особенности, не свойственные звукам.. Частотная характеристика и длина волны в значительной мере определяет особенности распространения колебаний в окружающей среде. Если низкочастотные ультразвуки обладают способностью распространяться в воздушной среде, то ультразвуки высокой частоты практически в воздухе не распространяются.
Ультразвук в газах и, в частности, в воздухе распространяется с большим затуханием. Жидкости и твёрдые тела (в особенности монокристаллы) представляют собой, как правило, хорошие проводники ультразвука, затухание в которых значительно меньше. Так, например, в воде затухание ультразвука при прочих равных условиях приблизительно в 1000 раз меньше, чем в воздухе. Поэтому области использования УСЧ и УЗВЧ относятся почти исключительно к жидкостям и твёрдым телам, а в воздухе и газах применяют только УНЧ. Ввиду малой длины волны ультразвука на характере его распространения сказывается молекулярная структура среды, поэтому, измеряя скорость ультразвука с и коэффициент поглощения α, можно судить о молекулярных свойствах вещества. Характерная особенность распространения ультразвука в газах и жидкостях - существование отчётливо выраженных областей дисперсии, сопровождающейся резким возрастанием его поглощения. Коэффициент поглощения ультразвука в ряде жидкостей существенно превосходит рассчитанный по классической теории и не обнаруживает предсказанного этой теорией увеличения, пропорционального квадрату частоты. Все эти эффекты находят объяснение в релаксационной теории, которая описывает распространение ультразвука в любых средах и является теоретической базой современной молекулярной акустики, а основной экспериментальный метод - измерение зависимости с и особенно α от частоты и от внешних условий (плотности, упругости, вязкости, температуры и др.). Так, например, при повышении температуры воздуха на 1° скорость увеличивается на 0,5 м/с.
5. Отражение и рассеяние ультразвука
Отражение ультразвука происходит на границе раздела сред с различными акустическими импедансами (комплексное сопротивление, которое вводится при рассмотрении колебаний акустических систем). Величина отражения ультразвука прямо пропорциональна разности акустических импедансов сред. Ультразвук отражается от обьектов, размеры которых составляют не менее 1/4 длины волны. Угол падения ультразвука равен углу отражения. Чем ближе угол падения к 90 градусам, тем больше величина отраженного ультразвука. От способности ткани к отражению зависит качество ее визуализации, в основном контрастность изображения. Коэффициент отражения (КО) определяется отношением акустических импедансов двух смежных сред ткани. В зависимости от соотношения длины волны зондирующего излучения и размеров объектов отражения различают три типа отражателей:
I) Одиночные отражатели, размеры которых меньше длины волны. Они отражают ультразвук в соответствии с рэлеевской теорией диффузного рассеяния во всех направлениях. Амплитуда сигналов, идущих от диффузных отражателей незначительная.
II) Отражатели, размеры которых соизмеримы с длиной волны. В этом случае растет амплитуда эхосигналов.
III) Зеркальные отражатели, размеры которых намного больше длины волны. В этом случае отражение становится направленным, а амплитуда эхосигналов еще более возрастает. В реальных биологических средах присутствуют обычно все три типа отражателей.
Если в среде имеются неоднородности, то происходит рассеяние звука, которое может существенно изменить простую картину распространения ультразвука и, в конечном счете, также вызвать затухание волны в первоначальном направлении распространения.
6. Акустические методы в неразрушающем контроле
Для акустического метода неразрушающего контроля применяют колебания ультразвукового и звукового диапазонов частотой от 50 Гц до 50 МГц. Интенсивность колебаний обычно невелика, не превышает 1 кВт/м2. Такие колебания происходят в области упругих деформаций среды, где напряжения и деформации связаны пропорциональной зависимостью (область линейной акустики).
Кроме упругости по объёму, в твёрдом теле существует упругость по форме, поэтому в теле могут распространяться волны двух типов: продольные и поперечные. Акустические волны в твёрдых телах характеризуются либо смещение, либо колебательными скоростями, либо тензорами деформации или напряжения.
Для контроля применяют разные типы (моды) волн, отличающиеся направлением колебаний частиц, скоростью распространения и другими признаками.
В объёме твёрдого тела, как уже было сказано выше, могут распространяться продольные и поперечные волны. В продольной волне колебательные скорости частиц среды совпадают с направлением распространения волны, в поперечной - перпендикулярны ему.
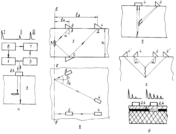
Известно много акустических методов неразрушающего контроля (рис.5), некоторые применяются в нескольких вариантах. Их делят на две большие группы - активные и пассивные методы.
Активные методы основаны на излучении и приёме упругих волн, пассивные - только на приёме волн, источником которых служит сам контролируемый объект.
Активные методы делят на методы прохождения, отражения, комбинированные (использующие как прохождение, так и отражение), импедансные и методы собственных частот.
Методы прохождения (рис. 6) используют излучающие и приёмные преобразователи, расположенные по разные или по одну сторону контролируемого изделия. Применяют импульсное или (реже) непрерывное излучение и анализируют сигнал, прошедший через контролируемый объект.
К методам прохождения относят:
амплитудный теневой метод;
временной теневой метод;
велосиметрический метод.

Рис. 6 - Методы прохождения: а - теневой; б - временной теневой; в – велосимметрический: 1 - генератор; 2 - излучатель; 3 - объект контроля; 4 - приёмник; 5 - усилитель; 6 - измеритель амплитуды; 7 - измеритель времени пробега; 8 - измеритель фазы
В методах отражения (рис. 7) используют как один, так и два преобразователя; применяют импульсное излучение. К этой подгруппе относят следующие методы дефектоскопии:
эхо-метод;
эхо-зеркальный метод;
дельта-метод;
дифракционно-временной метод;
ревербирационный метод.

Рис. 7 - Методы отражения: а - эхо; б - эхо-зеркальный; в - дельта-метод; г - дифракционно-временной; д – ревербереционный: 1 - генератор; 2 - излучатель; 3 - объект контроля; 4 - приёмник; 5 - усилитель; 6 - синхронизатор; 7 – индикатор
В комбинированных методах (рис. 8) используют принципы как прохождения, так и отражения акустических волн:
зеркально-теневой метод;
эхо-теневой метод;
эхо-сквозной метод.

Рис. 8 - Комбинированные методы, использующие прохождение и отражение: а - зеркально-теневой; б - эхо-теневой; в - эхо-сквозной: 2 - излучатель; 4 - приёмник; 3 - объект контроля
Методы собственных частот (рис. 9) основаны на измерении этих частот (или спектров) колебаний контролируемых объектов. Собственные частоты измеряют при возбуждении в изделиях как вынужденных, так и свободных колебаний. Свободные колебания обычно возбуждают механическим ударом, вынужденные - воздействием гармонической силы меняющейся частоты.

Рис. 9 - Методы собственных частот. Методы колебаний: вынужденных: а – интегральный, б – локальный; свободных: в – интегральный, г – локальный. 1 - генератор непрерывных колебаний меняющейся частоты; 2 - излучатель; 3 - объект контроля; 4 - приёмник; 5 - усилитель; 6 - индикатор резонанса; 7 - модулятор частоты; 8 - индикатор; 9 - спектроанализатор; 10 - ударный вибратор; 11 - блок обработки информации
Импедансные методы (рис. 10, а) используют зависимость импедансов изделий при их упругих колебаниях от параметров этих изделий и наличия в них дефектов. Пассивные акустические методы основаны на анализе упругих колебаний волн, возникающих в самом контролируемом объекте. Наиболее характерным пассивным методом является акустико-эмиссионный метод (рис. 10, б). Явление акустической эмиссии состоит в том, что упругие волны излучаются самим материалом в результате внутренней динамической локальной перестройки его структуры. Такие явления, как возникновение и развитие трещин под влиянием внешней нагрузки, аллотропические превращения при нагреве или охлаждении, движение скоплений дислокаций, - наиболее характерные источники акустической эмиссии. Контактирующие с изделием пьезопреобразователи принимают упругие волны и позволяют установить место их источника (дефекта).

Рис. 10 - Методы контроля: а - импедансный; б - акустико-эмиссионный: 1 - генератор; 2 - излучатель; 3 - объект контроля; 4 - приёмник; 5 - усилитель; 6 - блок обработки информации с индикатором
Пассивными акустическими методами являются вибрационно-диагностический и шумодиагностический. При первом анализируют параметры вибраций какой-либо отдельной детали или узла (ротора, подшипников, лопатки турбины) с помощью приёмников контактного типа, при втором - изучают спектр шумов работающего механизма, обычно с помощью мокрофонных приёмников.
По частотному признаку акустические методы делят на низкочастотные и высокочастотные. К первым относят колебания в звуковом и низкочастотном (до нескольких десятков кГц), ультразвуковом диапазоне частот. Ко вторым - колебания в высокочастотном ультразвуковом диапазоне частот: обычно от нескольких сот кГц до 20 МГц. Высокочастотные методы обычно называют ультразвуковыми.
Заключение
В ходе изложения материала было рассказано о достижении теории и практики в решении различных задач акустического контроля. Развитие акустических методов происходит по пути изыскания новых путей решения рассматривавшихся акустических задач, а именно, разработки, способов излучения и приема коротких импульсов с узкой диаграммой направленности при пониженном требовании к акустическому контакту, улучшении отношения сигнал - помеха при контроле материалов с крупнозернистой анизотропной структурой; достижения высокой разрешающей способности; разработки высокоинформативных способов оценки формы, размера дефектов; наглядного представления результатов контроля.
Другой подход к определению тенденций развития исходит из задач, вытекающих из требований промышленности. Здесь можно назвать требования по контролю новых материалов типа армированных пластиков, металлокерамики, созданию высокоэффективных способов контроля сварки давлением, измерения внутренних напряжений в изделиях, гарантированного прогнозирования безопасности работы объектов и ряд других.
Для решения перечисленных проблем находят новые методы и способы контроля, предлагают новые пьезоматериалы, расширяют освоенный частотный диапазон, разрабатывают новую аппаратуру с повышенной чувствительностью и эффективными средствами представления информации, ведут исследования по излучению, распространению, дифракции волн, способам обработки результатов контроля.
Литература
1. Бреховских Л.М., Годин О.А. Акустика слоистых сред. - М.: Наука, 1989. - 416 с.
2. Викторов И.А. Ультразвуковые поверхностные волны в твердых телах. - М.: Наука, 1981. - 288 с.
3. Ермолов И.Н. Теория и практика ультразвукового контроля. - М.: Машиностроение, 1981. - 240 с.
4. Иванов В.И., Белов В.М. Акустикоэмиссионный контроль сварки и сварных соединений. - М.: Машиностроение, 1981. - 284 с.
5. Ланге Ю.В. Акустические низкочастотные методы неразрушающего контроля многослойных конструкций. - М.: Машиностроение, 1991.
6. Методы акустического контроля металлов / Под ред. Н.П. Алешина. - М.: Машиностроение, 1989. - 456 с.
7. Потапов А.И. Контроль качества и прогнозирование надежности конструкций из композитных материалов. - Л.: Машиностроение, 1980.- 261 с.
8. Приборы для неразрушающего контроля материалов и изделий. Справочник. В 2 кн. / Под ред. В.В. Клюева. - М.: Машиностроение, 1986. Кн. 2. - 352 с.
9. Скучик Е. Основы акустики. В 2 т. - М.: Мир, 1976. Т. 2. -546 с.
10. Ультразвук. Маленькая энциклопедия / Под ред. А.П. Галяминой. - М.: Советская энциклопедия, 1979. - 400 с.
11. Ультразвуковые пьезопреобразователи для неразрушающего контроля / Под ред. И.Н. Ермолова. - М.: Машиностроение, 1986. - 280 с.
12. Физическая акустика. В 4 т. Под ред. У. Мэзона. Т. 1. Методы и приборы ультразвуковых исследований. Ч.А. - М.: Мир, 1966. - 592 с.
13. Чебанов В.Е. Лазерный ультразвуковой контроль материалов. - Л.: Из-дат. Ленинградского университета, 1986. - 232 с.
14. Шрайбер Д.С. Ультразвуковая дефектоскопия. - М.: Металлургия, 1965. - 392 с.
Приложение
Свойство тел восстанавливать свои форму и объем после прекращения действия внешних сил – это…
а) упругость
б) ползучесть
в) твердость
2. Колебания механической системы, упругой среды или ее части, возникающие под действием механического возмущения – это…
а) механические колебания
б) упругие колебания
в) циклические колебания
3. Слышимый диапазон звука
а) ниже 20 Гц
б) выше 109 Гц
в) 20-20*103 Гц
4. Волны с частотой колебания 20*103 … 1*109 Гц
а) гиперзвук
в) инфразвук
в) ультразвук
5. Волну u>l> называют … волной или волной расширения-сжатия, потому что направление колебаний в волне совпадает с направлением ее распространения.
а) продольной
б) поперечной
в) рэлеевской
6. Волну u>t> называют … или волной сдвига.
а) продольной
б) поперечной
в) рэлеевской
7. Поверхностную волну применяют для выявления дефектов …
а) вблизи поверхности изделия
б) в глубине изделия
в) рядом с изделием
8. Основной метод излучения ультразвука …
а) преобразование механических колебаний в электрические
б) преобразование электрических колебаний в световые
в) преобразование электрических колебаний в механические
9. Для приема ультразвука широко применяется
а) светоэффект
б) пьезоэффект
в) мультиэффект
10. Ультразвуковые волны распространяются только в … среде
а) материальной
б) нематериальной
в) интерактивной
11. Ультразвук в газах распространяется …
а) без затухания
б) с меньшим затуханием
в) с большим затуханием
12. Отражение ультразвука происходит на границе с … акустическими импендансами
а) одинаковыми
б) различными
в) любыми
13. Для акустического метода неразрушающего контроля применяют колебания ультразвукового и звукового диапазонов частотой …
а) 50 Гц – 50 МГц
б) 10 Гц – 10 МГц
в) 100 Гц – 100 МГц
14. В теле могут распространяться волны:
а) диагональные и поперечные
б) угловые и продольные
в) продольные и поперечные
15. Излучающие и приемные преобразователи, расположенные по разные или одну сторону контролируемого изделия, используют …
а) методы отражения
б) методы прохождения
в) методы собственных частот
16. К методам прохождения относят:
а) амплитудный теневой метод
б) временной теневой метод
в) велосиметрический метод
г) все вышеперечисленные
17. Применяют импульсное излучение, используют как один, так и два преобразователя, в …
а) методах отражения
б) методах прохождения
в) методах собственных частот
18. Принципы, как прохождения, так и отражения акустических волн, используют в…
а) комбинированных методах
б) методах прохождения
в) методах собственных частот
19.Пассивнями акустическими методами являются:
а) методы отражения и собственных частот
б) методы прохождения и отражения
в) вибрационно-диагностический и шумодиагностический
20. Изменение направления распространения звуковой волны при ее прохождении через границу раздела двух сред – это…
а) отражение
б) преломление
в) затухание
21. Явление, возникающее при падении звуковой волны на границу раздела двух упругих сред и состоящее в образовании волн, распространяющихся от границы раздела в ту же среду, из которой пришла падающая волна – это …
а) отражение
б) преломление
в) затухание
22. Изменение направления распространения звука в неоднородной среде (атмосфера, океан, толща земли), скорость звука в которой является функцией координат – это …
а) отражение
б) преломление
в) рефракция
23. Можно определить форму дефекта, исследуя параметры …
а) преломленной волны
б) отраженной волны
в) падающей волны
24. В основе акустических методов контроля качества цементации массивных сооружений (плотин и т.п.) и степени уплотнения грунтов под собственным весом и при внешних нагрузках лежит ...
а) отражение
б) преломление
в) рефракция
25. Когда длина ультразвуковой волны сравнима (или больше) с размерами находящегося на пути препятствия, имеет место …
а) рефракция
б) дифракция
в) интерференция
1.а, 2.б, 3.в, 4.в, 5.а, 6.б, 7.а, 8.в, 9.б, 10.а, 11.в, 12.б, 13.а, 14.в, 15.б, 16.г, 17.а, 18.а, 19.в, 20.б, 21.а, 22.в, 23.б, 24.в, 25.в.