Альтернативные виды топлива




Малогабаритная установка для производства биодизтоплива (БДТ)
В преддверии топливного кризиса (по разным источникам нефтезапасы составляют около 50 лет) в Украине сложилось объективно - необходимые условия для освоения производства "БДТ" на основе растительных масел, прежде всего на минизаводах.
Установка предназначена для получения "БДТ" в условиях мини цехов.
Комплектность установки - гидростанция, гидродинамический кавитатор, контрольно - измерительная и соединительная аппаратура, пульт управления.
Технология получения "БДТ" базируется на дозировании и диспергировании рапсового масла с дизельным топливом нефтяного происхождения. Количество рапсового масла в "БДТ" составляет 20 - 30 %.
Технологический процесс получения "БДТ" складывается из следующих стадий:
1. подготовка сырья (рапсовое масло);
2. дозирование и диспергирование рапсового масла в потоке дизельного топлива нефтяного происхождения;
3. входной анализ и определение качества продукции;
4. заключительный анализ и паспортизация готовой продукции "БДТ".
Биодизтопливо на основе рапсового масла может быть пригодными для использования в двигателях всех модификации без их конструктивного изменения. (Гідродинамічна установка для отримання біодизельного палива. Патент на корисну модель UA 31463 C10L8/00. Заявлено 05.12..2007. Опубл.10.04..2008.) Бюл .№7. Авторы: Топилин Г.Е., доктор технических наук, Уминский С.М., кандидат технических наук.
Телефон: 68 - 83 - 11 (домашний);
8 067 9759598
8 050 1601628
1. Введение. Общие положения
Проблема производства топлива на основе биомассы уже давно назрела, и особенно она актуальна для Украины. Биодизельное топливо, которое среди специалистов получило название «биодизель», уже производится и используется в развитых европейских егранак (Германия, Франция, Австрия и др.), а также в США. По данным Британской ассоциации биотоплив и растительных масел (ЕАВРО), в 2002 году производство биодизельного топлива в Европе достигло 825 тыс. тонн, а к- 2010 году возростет до 1625 тыс. тонн. При работе двигателей на биодизеле значительно снижаются выбросы неблагоприятных для окружающей среды продуктов сгорания, в числе которых сера (на 98%), сажа (от 50 до 61 %), углекислые вещества (на 30-40%).
Решение проблемы биодизеля предусматривается и в Украине (Указ Президента Украины N1094). В настоящее время в Министерстве аграрной политики Украины формируется концепция государственной программы по разработке и внедрению технологий и оборудования для производства биодизеля. Разработана опытно-скспсриментальная установка по производству биодизеля на основе растительного масла и традиционного дизельного топлива. Одновременно проведены исследования по использованию растительного масла (РМ) в смеси с дизельным топливом нефтяного происхождения (ДТ) в разных соотношениях: 50% РМ и 50 % (ДТ), 60% РМ и 40% (ДТ), а также использование чистого метилового эфира с (ДТ) в различных соотношениях.
2. Назначение
Малогабаритная установка, (в дальнейшем - «установка») создана для получения биодизеля в условиях минизаводов (фермеров, мини-цехов, крестьянских хозяйств и других предприятий) из любого очищенного растительного масла и традиционного дизельного топлива. Настоящее описание предназначено для правильной эксплуатации «установки» у потребителей.
3. Работа установки
Установка для производства биодизтоплива с гидродинамическим кавитатором апробирована в условиях агропроизводства, получены обнадеживающие результаты (см. таблицу 1).
Таблица 1. Свойства биодизтоплива по сравнению сдизтопливом нефтяного происхождения
|
Топливо |
Показатели |
|||
|
Цетановоеее число |
Кинематическая вязкость при |
Температура вспышки, ОС |
Плотность при 1=200С |
|
|
число |
1=200С, мм2/ч |
кг/мЗ |
||
|
Биодизтопливо |
50 |
7,83 |
52 |
848 |
|
на основе |
||||
|
растительного масла |
||||
|
Традиционное |
48 |
6,0 |
40 |
850 |
|
дизельное топливо нефтяного происхождения |
Установлено, что биодизсль по своим физико-эксплуатационным свойствам практически не отличается от дизельного топлива нефтяного происхождения; выбросы отработанных газов значительно снижаются; выбросы твердых частиц уменьшаются до 50%; работоспособность дизелей, практически не изменяется без конструктивной модернизации основных узлов и агрегатов; работа дизельных двигателей на биодизеле экологически безопасна, что имеет большое значение для зашиты окружающей среды.
По своим техническим характеристикам установка может быть использована для обеспечения биодизелем агропроизводства, учитывая простоту ее конструкции, производительность и небольшие габаритные размеры, а также достаточные возможности возделывания растительного масла в Украине.
4.Принципиальная схема работы установки
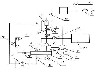
На рис. 1 представлена принципиальная схема, на рис. 2 - общий вид установки. Установка (рис. 1) имеет приводной электродвигатель 1; соединительную муфту 2; краны 4, 7, 10,12 и манометр 9, предназначенные для регулирования технологического процесса и контроля давления в системе; смеситель-дозатор 13 эжекторного типа для насыщения растительного масла дизельным топливом; гидродинамический излучатель 8, в котором происходит интенсивное диспергирование дизтоплива с маслом. Магистраль (а) - для всасывания масла и насыщения его дизтопливом, магистраль (б) служит для подачи дизтоплива из емкости 11, магистраль (в) - для выхода биодизеля в технологические баки, магистраль (с) - для выхода смешенного продукта в технологические баки.

Рис. 1. Принципиальная схема установки

Рис. 2. Установка
5. Установка работает таким образом
1 Этап:
При включении приводного электродвигателя I через муфту 2 начинает вращаться гидронасос 3 и всасывает масло из внешнего источника в магистраль (а) при этом кран 4 должен быть открыт, а краны 7,10,12 закрыты. После того, как отрегулировали крапом 12 подачу дизтоплива из емкости 11 в смеситель инжектор 13, краном 4 регулируем предварительное рабочее давление в нагнетающей магистрали смесителя-дозатора 13 , которое контролируется манометром 9. Масло под давлением проходит по нагнетающей магистрали смесителя-дозатор а 13 и по магистрали (с) подается в технологический бак. После насыщения масла дизтопливом установку 01ключаем, а краны 10, 12 закрываем.
2 Этап:
При включении приводного электрод вига 1елн 1 через муфту 2 начинает вращаться гидронасос 3 и всасывает смешанный продукт из внешнего источника в магистраль (а) при этом кран 4 должен быть открыт, а краны 7,10,12 закрыты. После тою, открываем краном 7 подачу смешанного продукта в гидродинамический излучатель 8, краном 4 регулируем предварительное рабочее давление в нагнетающей магистрали гидродинамического излучателя 8, которое контролируется манометром 9. Масло под давлением проходит по нагнетающей магистрали гидродинамического излучателя 8.Диепергированое, таким образом, дизтопливо с маслом, иначе говоря, биодизель, из излучателя 8 поступает в магистраль (в), а затем в бак готовой продукции. Выход биодшеля из кавитатора должен быть свободным, без ПОДПОра. По окончании работ установку отключаем, а крап 7 закрываем.
Работа при закрытом вентиле более 1-ой минуты - запрещается!
6. Технические данные
Рабочее давление 16-20 ктс/см2
Интервал рабочих температур 24-120С
Расход масла 1.0-2,2 мЗ/час
Мощность излучения в ближней зоне 1,8-2,2 МПа
Производительность 400 л/ч
7. Рекомендации по монтажу и эксплуатации установки
После монтажа надо проверить центровку валов электродвигателя и гидронасоса. Допускаемая величина перекоса и параллельного смещения валов не более 0,3 мм на длиннее \ 00 мм. Она обеспечиваемся за счет установки прокладок.
Следует убедиться в отсутствии касания между собой подвижных и неподвижных деталей и отсутствии заеданий при проворачивании электродвигателя и насоса. Электрооборудование установки должно монтироваться в соответствии с действующими строительными нормами и правилами (СНиП). Правилами устройства электроустановок (ПУЭ) и эксплуатироваться в соответствии с Правилами технической эксплуатации электроустановок потребителем и Правилами техники безопасности при эксплуатации электроустановок потребителем (ПТЭ и ПТБ). Заземлить корпус электродвигателя по ГОСТ 12.2.007.0-75.
Правильность направления вращения следует проверить кратковременным пуском электродвигателя. При неправильном (левом) вращении его вала следует перебросить фазы (подводящие провода) электропитания двигателя.
8. Меры безопасности
К эксплуатации установки должен допускаться только персонал, ознакомленный с конструкцией теплоагрегата, обладающий опытом по обслуживанию насосов, и ознакомившийся с настоящей инструкцией.
Во время работы агрегата все вращающиеся части должны быть о(раждены. При проведении ремонтных работ электродвигатель должен быть полностью отключен от сети путем отсоединения ее проводов.
При эксплуатации агрегата постоянные рабочие места должны располагаться с учетом обеспечения октавных уровней звукового давления согласно ГОСТ 12.1.003-83 и октавных уровней виброскорости - согласно ГОСТ 12.1.012-78.
При эксплуатации установки необходимо соблюдать следующие требования:
Следите за наличием масла в гидронасосе и пополняйте ее по мере надобности;
Следите за исправностью схемы кип и А, обеспечивающих автоматическое отключение
электродвигателя при нарушении параметров работы;
При работе периодически контролируйте работу узлов относительно их перегрева. В случае перегрева или повышенных вибрациях немедленно остановите электродвигатель и устраните причины, вызвавшие эти неполадки.
Резкие колебания стрелок приборов, а также повышенные шум и вибрация установки указывают на ненормальную ее работу. В этом случае следует остановить электродвигатель и устранить неисправности.
9.Порядок остановки
Выключите электродвигатель. Плавно закрой те вентиль на нагнетании. Выключите электродвигатель гидронасоса. Прекратите подачу масла.
10. Подготовка установки к работе
К монтажу установки должны допускаться тшько механики и слесари, знающие ее конструкцию, обладающие обслуживанием и ремонтом насосов, и ознакомившиеся с настоящей инструкцией.
При размещении установки необходимо обеспечить свободный к ней доступ и электродвигателю для обслуживания их во время эксплуатации, а также возможность разборки и сборки установки. При монтаже установки требуется обеспечить горизонтальность и после затвердении цементного раствора подливки, произвести окончательную затяжку фундаментных бол тов.
При подготовке фундамента необходимо предусмотреть 50-80 мм запаса по высоте для последующей подливки фундаментной плиты цементным раствором.
При подъеме установки запрещается поднимать агрегат за рым - болт электродвигателя или за вал.
К гидронасосу подсоедините всасывающий и напорный трубопроводы, а также трубопроводы других систем. Допустимая не параллельность фланцев не более 0,15 мм на длине 100 мм. Запрещается устранять перекос фланцев подтяжкой болтов или простановкой косых прокладок. Всасывающий и напорный I рубопроводы должны быть закреплены на отдельных опорах и иметь температурные компенсаторы. (Лучше всего в качестве последних использовать прорезиненные шланги.) Передача нагрузок от трубопроводов на фланцы установки не допускается.
Всасывающий трубопровод гидронасоса должен быть по возможности коротким и прямым. При установке фильтра на всасывающем трубопроводе он должен иметь живое сечение, площадь которого в 1,3 ра^1 больше площади всасывающего патрубка.
На напорном трубопроводе, отходящем от насоса, должны быть установлены вентиль и обратный клапан (при необходимости). Установка обратного клапана обязательна при параллельной работе нескольких теплогенераторов, при работе теплогснератора на геометрическую высоту или на емкость пол давлением.
На нагнетающем трубопроводе после насоса рекомендуется установить манометр для измерения давлении перекачиваемой жидкости, а на всасывающем трубопроводе перед кавитатором -мановакууметр.
Утечки ш уплотнения вала насоса собираются в корьло и отводятся в дренаж. Для отвода утечки должен быть проложен дренажный трубопровод.
Следует проверить действие вентилей трубопроводов и кранов манометров. Исходное положение вентилей и кранов перед пуском закрытое.
Смонтированную систему следует нспы га I ь на герметичность и прочность пробным давлением по ГОСТ 356-80, но не более 0,3 МПа (3 кгс/см2).
Проверить вращение вала насоса. Вал должен проворачиваться ог руки без заеданий. Направление вращения ротора - по часовой стрелке, если смотреть со стороны двигателя. ВНИМАНИЕ: вращение ротора против часовой стрелки (даже кратковременное) не допускается. Предусматриваются следующие виды технического обслуживания:
- повседневное;
- периодическое (один раз в месяц).
При повседневном обслуживании должны осуществляться следуюшие действия: Произведите внешний осмотр.
А дальше все работы проводите при отключенном электродвигателе и наличии таблички
«НЕ ВКЛЮЧАТЬ!» на его автомате пуска.
Убедитесь, что температура корпуса насоса не превышает допусч имую. Уберите ветошью грязь и
посторонние предметы с оборудования.
Убедитесь в отсутствии [ечи по фланцевым соединениям. Проверьте величину утечки через уплотнения. Утечка наружу не должна превышать 2103 мЗ/час.
При периодическом обслуживании должны осуществляться следующие действия:
Все работы проводите при отключенном электродвига1еле и наличии таблички «НЕ
ВКЛЮЧАТЬ!» на его автомате пуска.
Произведите подтяжку всех крепежных деталей установки, а также его
крепления к фундаментной плите.
Через 4000 часов работы произведите ревизию.
При наличии износа деталей узлов и агрегатов установки.
После выработки ресурса установки осуществите его капитальный ремонт.
При этом рекомендуется следующий порядок разборки-сборки агрегата.
Разборку и сборку установки производите только стандартным инструментом с использованием спец. инструмента, Перед разборкой очистите установку, и ее электродвигатель снаружи ог пыли и грязи!
Для ревизии проточной части, уплотнения вала и при текущем ремонте производится частичная разборка установки. Порядок разборки агрегата, следующий:
Закройте вентили на напорной и всасывающей линиях.
Обесточьте агрегат.
Отсоедините трубопроводы от насоса.
Слейте жидкость из кавитатора через штуцер, к которому был присоединен трубопровод, отводящий от теплогенератора нагретую воду.
Отсоедините трубопровод слива утечек
Снимите кожух муфты.
Снимите монтажный приставок соединительной муфты, отвернув гайки крепления проставки и вынув пальцы упругой муфты.
Отверните болты крепления установки к фундаментной плите.
Снимите гидронасос вместе с его валом и корпусом узла уплотнения с фундаменпюй плиты. Дальнейшая разборка установки должна производиться на специализированном участке, исключающем загрязнение ее деталей. Сборка установки производится в порядке, обратном разборке. Перед сборкой все детали должны быть подготовлены к сборке; т.е. очищены от грязи, ржавчины, заусенцев. Острые углы у всех деталей должны быть притуплены.
При сборке необходимо соблюдать чистоту. Все детали перед сборкой необходимо протереть чистыми сухими концами.
Все резьбовые соединения при сборке смазать смазкой по ГОСТ 3333-80. Все гайки в собранной установке должны быть затянуты равномерно. Затяжка гаек не должна вызывать перекоса соединяемых деталей. Концы шпилек должны выступать из гаек на одинаковую высоту (1 ... 4) нитки резьбы) в одном соединении. Утопление в гайке торца шпильки не допускается.
ВИГОТОВЛЕННЯ БІОДИЗЕЛЬНОГО ПАЛИВА ДЛЯ МОБІЛЬНОЇ ТЕХНІКИ
Підсумовані матеріали та розроблено пристрій для виробництва біодизельн6ого палива в умовах агровиробництва.
ВСТУП
Європейські країни (Німеччина, Австрія, Франція й ін.) успішно організують виробництво біодизплива «БДП» для тракторной техніки та автомобілів [1]. Принцип виробництва «БДП» - відбувається етерифікація рапсового масла з метиловим або етиловим спиртом при наявності молочного каталізатора. Результатом етерифікації являється активізована суміш, вміщуюча біодизельне паливо, гліцерин і інші компоненти. За кордоном, наприклад, країнах ЄС, комплекс « виробництво олії - отримання біодизеля » збираеться в єдиному виробничому циклі.
Основні виробники «БДП» в країнах ЄС:
Diester Indastrie (Франція );
INEOS Chlor (Великобританія);
ADM, RVM (Германія );
Novaol , DR Zubrificanti (Італія);
Bionet Europa SC (Іспанія).
В Європі щорічно виробляється 600 тис. т. біопалива. за останні 10 років попит на «БДП» виріс на 5 млн. т. Прогнозується в закордонних країнах виробництво біодизеля до кінця 2010 р. – 12 млн. т. Загальна ж потреба – 25 млн. т. В Україні склались об’єктивно умови для освоєння виробництва «БДП» на основі рапсового масла, перед усім на міні заводах, агро - виробництвах. Такий прецендент уже є, наприклад, Польська компанія «Man – Zoil». Вирішення проблеми виробництва біодизеля передбачено і в Україні ( Указ Президента, України №1094). Згідно указу, міністерством аграрної політики України сформульована концепція державної програми по розробці и впровадженню технологій і обладнання для виробництва альтернативного палива включая «БДП».
МЕТОДИКА ДОСЛІДЖЕНЬ
Покладаючись на закордонний досвід [1] та розробки [2,3] була розроблена – універсальна гідродінамічна установка для виробництва «БДП» на основі диспергування на молекулярному рівні рапсової олії з етанолом в присутністі каталізатору (наприклад, гідроксіду натрію ).
Установка призначена для отримання «БДП»в умовах агропромислового виробництва. Принципова схема універсальної установки для отримання «БДП» представлена на рис.1. Установка включає в себе технологічну ємність 1 для сировини ( рапсове масло), гідростанцію, що складається з електродвигуна 3, муфти 4, насоса 5, бай – паса 6 і вентилятора 7 для регулювання тиску олії в системі. Бай – пас 6 нагнітаючою магістраллю 8 і через кран 9 з’єднаний з дозатором – змішувачем 10 інжекторного типу і гідродинамічним диспергатором 19. Дозатор – змішувач 10 і диспегатор 19 встановлені послідовно, при чому вихід дозатора з’єднаний з виходом диспергатора. Дозатор – змішувач 10 має полость розрідження «Р» між соплом 11 и розширювачем 12, розміщеним в його корпусі назустріч одне одному. Порожнина розрідження дозатора трубопроводом 17 через кран 18, з’єднана з колектором 13. Колектор 13 з’єднаний арматурою через крани 14, 15 і 16 з внутрішніми порожнинами бака 35, що має три секції 20, 21 і 22 для компонентів. Секція 20 призначена для дизельного палива нафтового походження, секція 21 – для метанолу, секція 22 – каталізатора ( гідроксид натрію). Вихід дозатора 10 з’єднаний з виходом гідродинамічного диспергатора 19. Одночасно вихід із диспергатора трубопроводом з’єднаний з технологічною ємністю 24, для гідродинамічної активної суміші рапсового масла з компонентами, що надходять із секції 20, 21 и 22 бака 35 через колектор 13 и дозатор – змішувач 10. Ємність 24 через кран 25 з’єднана з сепаратором 26 для розділення фаз «біодизель» і «водно – гліцеринова суміш», відповідно поступающих в ємності 27 і 28. Ємность 28 для «водно – гліцеринової суміші» з’єднана з фільтром вологоочисником 29, який в свою чергу з’єднаний з ємністю 30 для гліцерину и 31 для збору вологи ( води). Ємність 24 оснащена дренажним трубопроводом 32 з краном 33 для видачі готової продукції. Установка обладнана вимірювальними приборами ( манометром 36, датчиком температури 37, витратоміром біодизеля 34 ).
Установка конструктивно виконана по модульно – блочному типу, універсальна [4]. Універсальність установки передбачується її можливістю працювати в трьох режимах, а саме:
Отримання «БДП» на основі диспергування холодно пресованого очищеного рапсового масла (РМ), дизельного палива (ДП) нафтового походження і метанолу (М), з впливом каталізатора (К).
Отримання «БДП» на основі чистого метилового ефіру (МЕ), з динамічно активізованої суміші (РМ) и (М) обробленого каталізатором (К) .
Отримання «БДП» з суміші «ДТ» и «РМ» диспергуванням компонентів на молекулярному рівні.

Рис.1. Універсальна установка для виробництва біодизельного палива.
РЕЗУЛЬТАТИ ДОСЛІДЖЕНЬ
Універсальна установка працює в режимах 1, 2 и 3 таким чином:
В режимі 1 - крани 14; 15; и 16 бака 35 відчинені для проходження в дозатор змішувач 10 всіх компонентів. При включенні приводного електродвигуна 3 через муфту 4 починає обертати гідронасос 5, який всмоктує «РМ» з ємності 1 в бай – пас 6 и напірну магістраль 8, установки.
Після цього краном 6 бай паса регулюється робочий тиск в магістралі 8, який контролюється манометром 36. Рапсове масло під тиском проходить по напірній магістралі 8 при відкритому крані 9 і попадає в дозатор – змішувач 10. Одночасно при відкритих кранах 14, 15 и 16 із секцій 20, 21 и 22 бака 35 в колектор 13 потрапляють компоненти ( «ДТ», «МТ» И «К» ), які предварительно в ньому змішувавсь, всмоктуються через відкритий кран 18 і трубопровід 17 в порожнину розрідження «Р» дозатора 10.
В дозаторі змішувачі 10 рапсове масло інтенсивно насичується компонентами («ДТ», «М» и «К» ). Попередньо насичена суміш попадає в гідродинамічний кавітатор 19.В кавітаторі 19 виконується глибоке диспергування суміші компонентів з «РМ» на молекулярному рівні.
Активована суміш получая властивості «БДП» поступає по трубопроводу 23 в технологічну ємність 24, а потім – в сепаратор 26 при відкритому крані 25. В сепараторі 26, суміш розділяється на фази «біодизель» и «водно- гліцеринова суміш», потім кожна фаза поступає в відповідності ємності 27 і 28. Далі «водно – гліцеринова суміш» подається з ємності 27 в фільтр вологоочисник 29, де розділяється на гліцерин і воду. Гліцерин зливається в ємність 30, а волога (вода ) в ємність 31.
В результаті готова продукція «БДП» з ємності 27 по трубопроводі 32 при відкритому крані 33 через витратомір 34 видається споживачеві. Гліцерин може бути використаний при виробництві кормових добавок для птиць.
В режимі 2 . Установка працює при закритому крані 14 и відкритих кранах 15 і 16 для потрапляння відповідних компонентів (метанолу і каталізатора ) через колектор 13 в порожнину розрідження «Р» дозатора змішувача 10. Технологічний процес отримання «БДП» аналогічний роботі в режимі 1.
В режимі 3. Установка працює при закритих кранах 15 і 16 бака 35 и відкритому крані 14 для потрапляння «ДТ» нафтового походження через трубопровід 13 порожнину розрідження «Р» дозатора змішувача 10. В подальшому подібним чином, як і по п.п.1 і 2, протікає технологічний процес отримання «БДП» на основі диспергуваня «ДТ» і «РМ».
Установка апробована в умовах агровиробництва, отримані результати наведені у таблиці 1.
Таблиця 1. Показники біодизельного палива та дизельного палива нафтового походження
|
Вид палива |
Показники |
|||
|
Цетанове число |
Кінематична вязкість при t=20°C, мм2/c |
Температура вспышки |
Плотность при t=20°C, кг/м3 |
|
|
Біодизельне паливо з рапсової олії |
40 |
7,83 |
52 |
848 |
|
Дизельне паливо нафтового походження |
50 |
6,0 |
40 |
860 |
ВИСНОВКИ
Універсальна установка для виробництва біодизельного палива випробувана в ЮНТЦ (УААН), отримані обнадіюючи результати, а саме:
біодизель по своїм фізико – експлуатаційним властивостям практично не відрізняється від дизельного палива нафтового походження;
викиди відпрацьованих газів значно зменшуються;
викиди твердих частин зменшуються до 50 %;
працездатність дизелів практично не змінюються без конструктивної модернізації основних вузлів і агрегатів;
робота дизельних двигунів на біодизелі екологічно безпечна, що має більше значення для захисту навколишнього середовища;
продуктивність установки 1100 л/год. біодизеля. Установка може бути використана для забезпечення біодизелем агровиробництва, враховуючи простоту її конструкції, продуктивність и невеликі габаритні розміри, а також можливість вирощування рапса в Україні.
Виробництво біодизеля можна легко організувати, в т. ч. умовах фермерського господарства. Вартість біодизеля в даний час не перевищує вартість традиційного нафтового дизельного палива і має тенденцію до зниження. Біодизель отримав широке розповсюдження в багатьох країнах світу. Серед яких, Германія, Австралія, Австрія, Чехія, Франція, Італія, Швеція, США, а також інші країни. Спеціалісти по моторній техніці вважають біодизель кращим паливом для двигунів з самозапалюванням. Спираючись на закордонний досвід, розроблена нами установка буде корисною для вирішення проблем забезпечення агро виробництва України дизельним паливом.
ЛІТЕРАТУРА
1. Білл Вэйзон. Перспективи і задачі постачань олії на біодизельный ринок Єс-Україна.: Олійно-жировий комплекс, №4(7) 2004, с. 70-71.
2.Г.Є. Топілін, С.М. Умінський. Гідродинамічна установка для отримання біодизельного палива. Патент на корисну модель UA 31463 C10L8/00 Заявлено 05.12.2007. Опубл.10.04.2008. Бюл .№7
3.G.Topilin, S.Yminski,Y.Yakovenko. Biodiesel fuel FOR AGRICULTURAL MACHINERY. POLISH ACADEMY OF SCIENCE DEPARTAMENT IN LUBLIN. COMMISSION OF MOTORIZATION AND POWER INDUSTRY IN AGRICULTURE. TEKA. LUBLIN. 2008. Volume 8-7 . p 283-287
ГИДРОДИНАМИЧЕСКАЯ УСТАНОВКА ДЛЯ ЛОКАЛЬНОЙ СИСТЕМЫ ОТОПЛЕНИЯ И ГОРЯЧЕГО ВОДООБЕСПЕЧЕНИЯ
Разроботана и апробирована в условиях агропроизводства гидродинамическая установка для нагрева жидкостей, позволяющая внедрить энергозберегающие технологии получения тепла.

ВСТУПЛЕНИЕ
В сложившейся ситуации дефицита и дороговизны печного топлива, нет актуальнее проблемы, чем гарантированная поставка тепла для потребителей аграрного сектора. В связи с этим перед наукой стоит важнейшая задача создания и внедрения энергосберегающих технологий и малогабаритного оборудования для обеспечения теплом агроцехов, помещений фермерских и крестьянских хозяйств, сельских дошкольных и школьных учреждений, объектов здравоохранения и быта.
МЕТОДИКА ИССЛЕДОВАНИЙ
Цель работы – обосновать и разработать энергосберегающую гидродинамическую установку, которая обеспечивает эффективное протекание технологических процессов в агропроизводстве, нуждающихся в нагреве жидкостей, а также отоплении производственных, обитаемых социальных помещений и других объектов.
Сообразуясь с целью исследования, нами разработана на уровне патента [1] гидродинамическая установка (теплогенератор), предназначенная для термообработки бытовых и технологических систем теплоснабжения кавитационно-термическим методом и применяемая в составе систем отопления и горячего водоснабжения. На рис. 1 представлена общая схема предлагаемой гидродинамической установки нагрева жидкости.
Установка имеет приводной электродвигатель 1, муфту 2, которая соединяет насос 3, бай – пас 4, излучатель 5, краны 13, 14, 15, 16, 17, которые предназначены для регуляции процесса, манометр 11, емкость 9, термометр 12.
В основу установки нагрева жидкости положен гидродинамический излучатель, который превращает энергию турбулентной затопленной струи жидкости в тепловую энергию, нагревая жидкость. Конструктивная схема гидродинамического излучателя представлена на рис. 2. Наиболее целесообразным является механизм гидродинамического излучения за счет пульсации кавитационной области, которая образуется между соплом 2 и препятствием 3 (рис. 2).

Рис.1. Схема гидродинамической установки нагрева жидкости.

Рис.2. Схема гидродинамического кавитатора.
Отбивающие поверхности могут быть выпуклыми, плоскими и вогнутыми. Лучшим в энергетическом отношении является вогнутый отражатель в виде лунки. Гидродинамический излучатель работает под давлением жидкости, которая создается насосной станцией.
Гидродинамический излучатель имеет входной 4 и выходной 5 штуцер (рис. 2), причем диаметр выходного штуцера 1,5-2,0 раза больше входного (рис. 2).
Гидродинамический излучатель состоит из корпуса 1, в котором расположенные сопло 2 и отражатель 3, регулировочного устройства 6 и завихрителя потока жидкости 7.С помощью механизма регуляции 6 можно изменять величину зазора между соплом и отражателем излучателя.
Излучатель настраивается установкой определенного зазора между соплом и отражателем. Оптимальный зазор – 2,9 мм. Контроль режима работы излучателя осуществляется с помощью специального акустического датчика (гидрофона). В большинстве случаев настраивать излучатель можно на слух по максимуму звучания акустического режима.
Гидродинамический излучатель 5 вмонтированный в нагнетающую магистраль установки (рис. 1), вход которой соединен с насосом 3 через бай-пас 4, а выход подключен трубопроводом к технологической емкости 9. На входе излучателя установлен завихритель 6 для повышения интенсивности закручивания жидкости с целью предыдущего нагрева, выполненный в виде втулки с двухзаходной внутренней резьбой.
Гидродинамическая установка работает таким образом: в режиме нагрева жидкости при включении приводного электродвигателя 1 через муфту 2 начинает работать насос 3 и всасывает жидкость из емкости 9 по магистрали 18 во всасывающую магистраль насоса 3, при этом краны 13, 15, 16 должны быть закрытыми, а краны – 14, 17 открытыми. Краном 14 регулируется предыдущее рабочее давление нагнетающей магистрали, которое контролируется манометром 11. Жидкость под давлением проходит по нагнетающей магистрали 7 и попадает в излучатель 5, где проходит нагревание жидкости. Краном 14 регулируется рабочее давление в излучателе 5.
Жидкость, которая прошла по магистрали через излучатель попадает в емкость 9, при этом кран 15 открытый. Этот режим повторяется несколько раз для нагревания жидкости до определенной температуры, которая контролируется термометром 12.
Нагретая жидкость через открытый кран 16 и магистраль подается к потребителю 10, при этом кран 16 открытый.
Предложенная установка для нагрева жидкости обеспечивает снижение расхода энергии в несколько раз, уменьшение металлоемкости и увеличение производительности оборудования и позволяет повысить качество и пищевую ценность с.х. продукции в условиях мини цехов и фермерских хозяйств.
РЕЗУЛЬТАТЫ ИССЛЕДОВАНИЙ
Предлагаемая гидродинамическая установка изготовлена и апробирована в условиях агропроизводства, получены положительные результаты (см. табл.1).
Таблица 1. Сравнительная характеристика стоимости 1кв.м площади помещения обогреваемого различными топливными агрегатами (по данным Инютина С.В.)
|
Топливное устройство |
Энерго затраты на 1000 кв. м. |
|
|
Котел газовый КЧМ - 96 |
46200 м. куб/час |
|
|
Электрокотлы « Руснит » |
94500 кВт |
|
|
Теплогенератор |
17300кВт |
|
|
Жидкотогиивный котел КЧМ-5 с горелкой |
40320 л ДТ |
В процессе испытаний установлено, что в сравнении с классическими нагревателями (тэны, котлы и проч.) гидродинамический излучатель имеет ряд существенных преимуществ, которые обеспечивают его эффективное использование:
- при одинаковой производительности имеет на порядок меньшие габариты;
- за счет высокого КПД превращения энергии потока в энергию ультразвуковых колебаний потребляет значительно меньшую мощность на привод (1,1 кВт при производительности 2,5 м. куб/час.);
- обеспечивает гибкую регуляцию производительности (от 0 до 2,5 м. куб/час);
- не имеет движущихся частей, что обуславливает его высокую надежность в эксплуатации и высокий ресурс;
- затрата электроэнергии снижается на 20-30% в сравнении с классическими теплогенераторами. Нагрев жидкости непосредственно в объеме при ее движении, обеспечивает экологическую чистоту, исключает изменение качества состава жидкости, появление накипи и других неблагоприятных явлений в нагреваемой жидкости. Нагрев жидкости осуществляется в одном узле без применения нагревательных элементов, что обеспечивает простоту системы нагрева, эффективность и безопасность эксплуатации установки. За счет модульности конструкции и широкого типоразмера установок производительность может быть любая. Использование современной автоматики позволяет обеспечить автоматический режим работы установки и полный контроль технических параметров продукта нагрева. Потребитель получает горячую воду по заданным температурным параметрам. За счет автоматизации процесса, отпадает необходимость в постоянном обслуживающем персонале. Оборудование может монтироваться в здании потребителя и включаться в существующую систему подачи горячей воды.
Техническая характеристика установки:
принцип действия- гидродинамический;
рабочая жидкость - вода, масло, другие жидкости;
потребляемая мощность, кВт - 1,7 - 5,5;
напряжение, В - 380;
Тепловая производительность, ккал/час от 6000 до 24000
Скорость нагрева жидкости в установке, град/мин - 2,4 - 4,0
температура нагрева - до 140 *С;
кпд - 99%;
условия работы - пожаробезопасна;
габаритные размеры, мм: 700х300х400
вес, кг - от 18 до 46;
технологический процесс - автоматизирован.
Разработанная установка по патенту [1] может быть использована в системах отопления помещений, прямого горячего водоснабжения, горячего водообеспечения через бойлер или с вентиляционным калорифером. В качестве примеров использования гидродинамической установки на рис.3 и рис.4 приведены характерные схемы соответственно для локального отопления (рис.3) и горячего водоснабжения (рис.4) [2].
Полагаясь на типовые схемы, (рис.3, рис.4) опытно-экспериментальные установки внедрены в МП "МНЗ" и фермерских хозяйствах Беляевского и Савранского районах Одесской области. Одновременно считаем необходимым отметить, что гидродинамический кавитатор по патенту [1], благодаря модульно - блочному конструктивному исполнению может быть широко использован ( кроме получения тепла) в различных процессах, а именно:
диспергирование ( эмульгирование) - ( глубокое измельчение или перемешивание среды или компонентов на молекулярном уровне с сохранением однородности смеси на 90 и более суток);
утилизация жидких нефтешламов и превращение его в топливо (создание стабильных топливных эмульсий из нефтешлама);
обработка обводненного мазута с целью экономии до 18%;
для обеззараживания и очистки воды безреагентными способами;
для обработки дизельного топлива с целью его экономии, уве-личения фильтруемости, снижения зольности, температуры застывания, температуры вспышки;
для обработки нефти с целью увеличения выхода светлых нефте-продуктов;
производства биодизельного топлива;
мойки стеклотары и деталей;
сушки фруктов лекарственных трав и лесоматериалов;
пастеризации молока и соков;
производства лицитина и кормовых добавок;
производства красок, олифы и других строительных смесей.

Рис.3. Схема локального отопления здания. 1-теплогенератор, 2-циркуляционный насос, 3- пульт управления, 4- батареи водяного отопления, 5- бак-накопитель горячей воды.

Рис.4. Схема горячего водоснабжения душевой. 1-теплогенератор, 2-циркуляционный насос, 3- пульт управления, 4- датчик температуры, 5- бойлер-теплообменник , 6- первичный контур теплообменника, 7- бак первичного контура.
ВЫВОДЫ
Гидродинамическая установка по своим техническим характеристикам и функциональным возможностям обеспечивает энергосберегающие требования, предъявляемые к системам локального отопления помещений и горячего водоснабжения, апробирована в реальных условиях эксплуатации, может быть использована в цехах аграрного сектора и в быту.
ЛИТЕРАТУРА
1. Топилін Г.Е.,Умінський С.М. Гідродинамічна установка для нагрівання рідини, Патент на корисну модель UA 31462 F25B29/00 .Заявлено 05.12..2007. Опубл.10.04.2008. Бюл .№7.
ДВОХСТУПЕНЕВА ОЧИСТКА РОСЛИННОЇ ОЛІЇ
Розроблена установка для двохступеневої очистки рослинної олії та приставлені результати досліджень якості сировини та готової продукції.

ВСТУП
Важливим етапом у виробництві рослинної олії слугує процес її очистки від фосфатидів, механічних і інших небажаних домішків. Найбільш ефективним способом очистки олії тонкодисперсних частин є фільтрація. Суть її являється у протіканні олії через досить дрібні отвори фільтруючої перегородки. Олія проходить через отвори фільтруючих елементів, а частинки, розмір яких більше розмірів отворів , затримуються на її поверхні, утворюючи осадок. В залежності від якості фільтруючої перегородки і режиму фільтрації (тиск, температура, час т. д.) можна досягти різного ступеня очистки олії.
Відома існуюча установка для очистки рослинної олії типу „ФП2-3000" [1] за одноразовий прохід через фільтруючі перегородки. Фільтруючі елементи встановлюються у фільтрпресі, який вміщує в собі цілий ряд розміщених послідовно рам і плит. Кожна плита обгортається фільтруючою тканиною так, щоб дві плити з двох сторін і рама, яка знаходиться між ними, утворювала самостійний фільтруючий елемент.
Основні недоліки установки „ ФП2-3000 " :
великі габаритні розміри;
складність конструкції;
висока енергомісткість;
низька надійність роботи із-за постійних неполадок рамок.
З цих причин установка не знайшла практичного використання в умовах агровиробництва.В Україні серійно виготовляється установка типу „ВНП" [2]. Установка виконана у виді фільтрів „ВНП" з напірними пластинчастими фільтруючими елементами, а також гідростанція, технологічні ємкості, контрольно-вимірювальна апаратура (манометр, термометр) з'єднувальна арматура [2]. Основні її технічні характеристики, наприклад „ВНП-6": площа фільтрування 5,9м2; габаритні розміри 650*2250 мм, вага 560кг. Ціна установки „ВНП" від 7000-50000 у.о.
Недоліки установки типу „ВНП" :
складна конструкція;
низька ремонтопридатність;
велика працемісткість технічного обслуговування.
Головним недоліком очищення олії на цій установці є невідповідність вимогам ГОСТ-1129-93 „Олія соняшникова. Технічні умови" по тонкій очистці і освітленню продукції . Тому установка „ВНП" не прийнятна для використання в умовах міні-цехів агровиробництва.
МЕТОДИКА ДОСЛІДЖЕНЬ
Мета роботи - обґрунтувати та розробити малогабаритну установку для тонкої очистки рослинного олії. Розроблена малогабаритна установка для двохступеневої очистки рослинної олії [3].
На рис. 1. представлена принципова схема установки. Установка має приводний електродвигун (1), муфта (2), яка з'єднує насос (3), бай-пас(4), з'єднувальну арматуру з кранами (12), (13), (14), (15), (20), (21), які призначені для регулювання процесу очистки олії, контрольно-вимірювальну апаратуру ( манометр (18), термометр (19)), ємкість (11) для сировини (неочищеної олії ) і ємкість (10) для готової продукції ( очищеної олії).В основу установки покладено фільтр (5), для двохступеневої очистки рослинної олії (рис.1.). Фільтр (5) складається з корпуса (6) циліндричної форми. В середині в порожнині корпуса (6) встановлюється каркас жорсткості (16), обгорнутий фільтруючим елементом (7) ( бельтинг-тканина , міткаль, тканина із синтетичного волокна-лавсан, капрон або дрібна сітка). По центру вертикальної осі вмонтований керамічний фільтр (8), в середині каркаса жорсткості (16) для тонкої очистки. Вхід фільтра(5) олієпроводом (17) через бай-пас (4) з'єднаний з виходом насоса (3), а вихід фільтра (8) під'єднанний до ємкості (10) готової продукції (очищеної олії).
Очистка олії від механічних домішок, фосфатидів і інших небажаних речовин здійснюється у два етапи, а саме :
- попередня очистка олії бельтинг-тканиною;
- тонка очистка мікрофільтрація олії керамічним фільтром.
Комплексна очистка олії реалізується в одному фільтрі (5), розділеному на два рівні 1 і 2 ( рис.1.).
Установка працює таким чином : в робочому режимі при вмиканні електродвигуна (1) через муфту (2) починає працювати насос (3) і всмоктує олій із ємкості (11) по магістралі, з'єднуючи ємкість (11) з насосом (3), при цьому крани (12), (13) повинні бути відкритими, а краном (21) бай-пас регулюється попередній робочий тиск в системі, який контролюється манометром (19). Температура олії фіксується термометром (18). При відкритому крані (13) під тиском олій проходить по магістралі у фільтр (5), де на 1-ому етапі попередньо очищається, проникаючи через фільтруючий елемент (7). Потім попередньо очищений олій проходить через керамічний фільтр (8) у порожнину - 2 друга ступінь (мікрофільтрація). При відкритому крані (20) очищений олій по олієпроводу (9) потрапляє в ємкість (10) як готовий продукт.
При засмічені фільтруючих елементів (7),(8) фільтра (5) очищається стисненим повітрям у зворотному напрямку. Злив забруднення здійснюється відкриттям крану (14).

Рис. 1.Установки для двохступеневої очистки рослинної олії
РЕЗУЛЬТАТИ ДОСЛІДЖЕНЬ
Запропонована установка виготовлена та апробована в умовах агровиробництва, отримані результати наведені в таблиці 1.
Таблиця1. Показники якості соняшникової олії після двохступеневої очистки
|
№ |
Назва показників |
Показники |
|
1 |
Сорт |
Вищий |
|
2 |
Масова частина нежирних речовин, % |
Відсутні |
|
3 |
Масова частка летучих речовин, % |
0,10 |
|
4 |
Ступінь прозорості, Фем |
25 |
|
5 |
Кислотне число, кон/г |
0,35-0,40 |
|
6 |
Перекисне число, моль/кг |
5,00-10,0 |
|
7 |
Кольорове число, мг/йоду |
10 |
Із таблиці 1 можна побачити, що очищена на запропонованій установці олія, відповідає вимогам ГОСТ 1129-93 „Олії соняшникови. Технічні умови".
Розроблена установка має ряд переваг:
простота в обслуговуванні;
не накопичується осад (кислотне і перекисне число);
освітлення рослинної олії;
відсутні втрати олії в технологічному процесі;
витрата електроенергії зменшується на 20 - 30 % у порівнянні з існуючими фільтрами;
висока надійність в експлуатації.
ВИСНОВКИ
В результаті експерименту доказано, що установка забезпечує комплексну очистку олії від фосфатидів, механічних і інших домішок. Якість очищеної олії відповідає вимогам державного стандарту. Установка за своїми техніко-економічними характеристиками може бути використана в міні-цехах агровиробництва.
ЛІТЕРАТУРА
1.Топілін Г.Є., Кедь І.А. Установка для двохступеневої очистки рослинної олії. - Патент України на винахід (корисну модель)№ 2008 04888, 15.04.2008.
УСТАНОВКА ДЛЯ КОМПЛЕКСНОЇ ОЧИСТКИ РОСЛИННОЇ ОЛІЇ
Винахід відноситься до обладнання олійно-жирової промисловості та може бути використано для комплексної очистки рослинних олій (соняшникове, рапсове, соєве, оливкове, горіхове) від механічних домішків, води та легко киплячих фракцій, коагуляції та видалення фосфатидів, восків та концерогенних речовин.
Проблема отримання високоякісної соняшникової олії особливо актуальна для України, як виробника стратегічного продукту.
В теперішній час у міні-цехах агровиробництва та фермерських господарствах широко розповсюджена спрощена технологія отримання соняшникової олії, яка базується на простому та примітивному обладнанні. Однак ця технологія не включає в себе комплексну очистку олії, яка відповідала би вимогам діючого стандарту ГОСТ 1129-23 «Масло соняшникове. Технічні умови» по вмісту механічних домі шків, вологи та концерогенних речовин.
Для отримання високоякісних поживних масел їх необхідно максимально очистити від супутніх неблагоприємних речовин (механічних домі шків, фосфатидів, восків, гідрофобних фракцій та інш.), з одноразовим висвітленням продукту.
Цей процес можна реалізувати на основі фізичних методів та технічних засобів центробіжних апаратів, керамічних фільтрів, не прибігаючи до використання різноманітного роду адсорбентів, відбілюючих глин та інших хімічних реагентів, небезпечних для здоров’я споживача.
Відомі фільтр-преси з вертикальним розташуванням перегородок [1].
Фільтр-прес складається: з вертикально розташованих чергуючих рифлених плит та пустотілих рам, таким чином, що кожна пара суміжних плит та рама утворюють самостійну фільтруючу чарунку. Кожна рама огортається фільтровальною тканиною або металевою сіткою.
Ці фільтри-преси мають ряд недоліків: низька виробничість та надійність праці, використання ручної праці при зачищенні робочих елементів фільтрування, велика займаєма площа, високий питомий розхід електроенергії та інш. Крім того, перші порції очищеної олії достатньо мутні, потребується повторна фільтрація. З цих причин такі фільтр-преси не знайшли практичного використання в умовах міні-цехів агровиробництва та фермерських господарствах.
Ближнім аналогом вибраний патент № 2055867, RU, 1996.03.10, «Роспатент» [2]. Сутність очищення заключається в обробці масла мілко дисперсним адсорбентом з подальшим фільтруванням. В якості адсорбенту використовується порошок з природних опок та трепелів, які попередньо активуються прокаліванням при температурі 250-3500С на протязі 0,5-1,0 г; кількість адсорбенту по відношенню до маси очищаючої олії складає 0,5-4,0%.
Технологічний процес очистки реалізується на спеціальній установці [2]. Головним недоліком роботи такої установки є – порушення екології навколишньої середи, використаний адсорбент сам потребує регенерації (відновлення первинних властивостей) або утилізації. Одноразова якість отриманого продукту не відповідає вимогам ГОСТ 1129-23 «Масло соняшникове. Технічні умови.»
Мета винаходу – обґрунтувати та розробити установку для комплексного очищення рослинної олії в умовах міні-цехів агровиробництва та фермерських господарств.
Для комплексної очистки рослинної олії розроблена блочно-модульна установка.
Гідравлічна схема установки представлена на фіг. 1.
Вона включає в себе насосну станцію 1, колектор – розподілювач 2, електронагрівач 3, центрифугу 4, технологічний бак 5 та ємність 21, дегазатор 7, блок –фільтрів 9, вакуумметр 6, гідродинамічний випромінювач 8, блок запірних кранів 10, 11, 12, 13, 14, 15, 17, 22, 18, 19 та датчик температури 16.
Гідродинамічни випромінювач 7 працює при малих тисках (1,5-2,0 кгс/см2) в режимі коагуляції фосфатидів, механічних домі шків та баків.
Схема гідродинамічного випромінювача представлена на фіг 2.
Випромінювач складається з вхідного сопла 2 з визначеними прохідними січеннями. Випромінювач збирається у вигляді гідродинамічної труби, секції затискаються фланцами 4, стяжними болтами 5. між секціями встановлюються маслостійкі ущільнені кільця 6. На виході з кавітатору встановлюється вентиль 7 для підпору і регулювання тиску.
Робота випромінювача заснована на генеруванні обурень у рідинній середі (в даному випадку – олії) у вигляді деякого поля швидкостей при періодичному перериванні струї. Ці обурення оказують обратну дію на основі струї у сопла, сприяє встановленню автоматичного режиму. Механізм випромінювання звуку обуреннями може бути різним у залежності від конструкції випромінювача.
Гідродинамічний випромінювач встановлюється вертикально, виходом до гори. Діаметр виходної секції Д>2> більше ніж вхідного Д>1>, тобто Д>2> > Д>1>. співвідношення тиску олії Р>1> на вході випромінювача та тиску Р>2> на виході, регулюється вентилем 3.
Маслоочищуюча установка (Фіг 2,1) працює наступним чином.
Масло (вихідна сировина) з зовнішньої ємності 21 передається до відкритого крану 15 та потрапляє у всасуючу магістраль насосу 1, нагнітаюча магістраль якого з’єднана з колектором 2. Колектор 2 містить запірно-регулюючий клапан, через кран 10 олія потрапляє до випромінювача 8, кран 11 зєднаний з дегазатором 7, кран 12 підключає блок фільтрів 9, кран 13 подає олію до нагнітателя 3, а кран 14 зєднаний з центрифугою 4.
Злив олії з вищезгаданих пристроїв здійснюється у технологічний бак 5, який з’єднується з насосною станцією 1 при допомозі крану 16, крім того технологічний бак 5 обладнаний вакуумною станцією 6 та запірним вакуумним краном 17.
Тиск у системі контролюється манометрами 18 та 19, рівень вакуума вакуумметром 20, температура олії вимірюється датчиком температури 16.
Маслоочищуюча установка працює в наступних режимах:
видалення води та легкокиплячих фракцій;
коагуляція восків та механічних домі шків
очистка олії від механічнх домішок та інших неблагоприємних речовин;
тонка очистка та висвітлення олії.
Видалення вологи та летючих речовин з олії здійснюється таким чином:
відкриваються крани 15 та 13;
інші крани перекриваються;
включається насосна станція 1.
При цьому олія із зовнішнього джерела подається до баку 5 за допомогою насосу 1, подавання здійснюється до заданого рівня.
Після заповнення олією бака 5 крани 13 та 15 перекриваються, а кран 16 відкривається, при цьому олія з баку 5 подається до насосу 1 та далі через електронагнітатель 3, його підключають до електричної сітки за допомогою пускового пристрою. Олія нагрівається до температури плавлення восків. Контроль за температурою нагріву олії проводиться за допомогою показуючого термодатчика 15. після нагріву олії до потрібної температури електродвигун 3 вимикають від електричної сітки. Відкривають кран 11 для включення дегазатора 7, при цьому поступово відкривається кран 13, до отримання тиску олії на манометрі 18 величини 16 кг/см2.
Після початку стійкої роботи включають вакуумну станцію та відкривають кран 17, рівень вакуума у баку 5 контролюють за допомогою вакуумметра 20. при роботі насосу 1 під вакуумом у баку 5 тиск у колекторі може мінятися, тому його треба регулювати краном 13, кран 22 рівнеоміра під вакуумом преркривається.
Видалення механічних домішків
Видалення механічних домішків робиться за допомогою блока фільтрів 9 або центрифуги 4, для цього необхідно: відкрити кран 13 повністю; перекрити кран 11; відкрити кран 10, при цьому включається випромінювач 8; регулюючи відкриття крана 13, встановити тиск на манометрі 19 величину 8 кгс/см 2.
Після обробки олія випромінювачем 8 виробляється очистка олії через блок фільтрів 9 в наступному порядку:
повністю відкривається кран 13; перекривається кран 10 та 11;
відкривається кран 12, поступово перекривається кран 13 та встановлюється тиск в колекторі 2 величиною 2-3 атм., яке контролюється по манометру 18. при цьому, установка працює в циклічному режимі.
очистка олії додатково проводиться за допомогою центрифуги 4.
Коагуляцію восків та механічних домішків здійснюють:
Без нагріву олії (електронагрівач виключений), при температурі нижче точки плавленя восків; тиск олії у випромінювачі Р = 1,5…..2 атм., оптимальне співвідношення Р>1> та тиску Р>2> повинно бути Р>1>/Р>2> = 3…4 кгс/см 2.
Положення випромінювача – вертикальне; час обробки олії в режимі коагуляції – 30 хв.; тиск олії у колекторі 6-8 кгм/см2.
Тонка очистка та висвітлення олії здійснюється:
шляхом підключення блоку 9 фільтрації ( набір фільтрів встановлюється, виходячи з олії та мети очистки);
тиск не більше 5 кгм/см2, (оптимальний тиск 2,0….2,5 кгс /см2);
температура олії – до 60 0С;
перепад тиску олії до та після фільтрів не більше 1,5 кгс /см2
Дослідно-експериментальний образець розробленої установки апробований у виробництві. Отримані обнадійливі результати.
Комплексно очищена олія відповідає вимогам ГОСТ 1129-93 «Олія соняшникова , Технічні вимоги.», готова продукція за своїми показниками відноситься до вищого сорту.
Крім того, установка забезпечує отримання екологічно чистої рослинної олії по безвідхідної технології в умовах фермерських господарств, ефективність методу отримання висвітленої екологічно чистої рослинної олії при зберіганні органолептичних якостей та смакових цінностей продукту. Такий ефект досягається використанням при виробництві олії тільки фізико-механічних процесів без використання хімічної обробки. Технологія реалізовується компактною установкою, яка виконана по модульно – блочному типу, якою легко керувати.
Технічна характеристика установки:
виробничість: 150-450, л/ч;
залишкове утримання механічних домі шків не більше % масових 0,005. залишкове утримання води в олії – відсутнє.
споживна міцність 9,5 кВт;
сировина – насіння соняшника та інших олійних культур;
обслуговуючий персонал – один оператор.

Фіг. 1 Гідравлічна схема установки

Фіг. 2 Схема гідродинамічного випромінювача
Наше предприятие занимается разработкой новых технологий и изготовлением опытных образцов высокотехнологического и энергосберегающего оборудования.
Одним из направлений является изучение явления кавитации и изготовление кавитационных смесителей.
Функции навигационного смесителя
- диспергированне ( эмулъгирование) - ( глубокое измельчение и/или перемешивание среды или компонентов на молекулярном уровне с сохранением однородности смеси на 90 и более суток);
- утилизация жидких нефтешламов и превращение его в топливо (создание стабильных толивных эмульсий из нефтешлама);
- обработка обводненного мазута с целью экономии до 18%;
- для обеззараживания и очистки воды безреагентными способами;
- для обработки дизельного топлива с целью его экономии, увеличения филътруемости, снижения зольности, температуры застывания, температуры вспышки;
- для обработки нефти с целью увеличения выхода светлых нефтепродуктов;
- нагрев жидкости до температуры + 95 град.
Преимущества использования:
- глубокое диспергирование продукта на молекулярном уровне;
- имеется возможность настройки и управления процессом диспергирования. От диспергирования ( измельчения) продукта на молекулярном уровне (разрушение полимерных молекул без изменения свойств исходного вещества) до разрушения сложных органических молекул на более простые составляющие, с одновре-меным связыванием свободных радикалов. Это позволяет разрушать пестициды и гербициды до примитивных неорганических компонентов, которые легко сжигаются (без образования вредных веществ) или позволяют извлекать из них необходимые элементы.
Возможные области использования -
- Утилизация подтоварных балластных вод на судах ( Они смешиваются и подаются в маршевый двигатель. Экономия топлива и экономия затрат на слив загрязненной воды);
- Смешивание низкокачественного органического топлива ( мазута) для обеспечения надежного горения в котлах (с отработанным маслом, угольной пылью и др.);
- Обработка нефти перед ее ратификацией на НПЗ (увеличивает выход светлых нефтепродуктов на 5 - 10%);
- Использовано на металлургических комбинатах для обжиговых печей (уменьшается содержание сернистого ангидрида в 10 раз);
- Обработка ДТ- в процессе обработки из дизельного топлива удаляются капельная и связанная вода, механические примеси, части смолисто-асфательновых соединений и высокомолекулярных полициклических ароматических углеводородов.
- Получение смесевого бензина;
- Обогрев помещений;
- Получение БДТ.
Сейчас нет актуальнее проблемы, чем гарантированная поставка недорогого тепла, для любого потребителя -
- в дошкольных и школьных учреждениях;
- в здравоохранении;
- в производстве;
- в быту и т.п.
Нашим предприятием изготовлена установка (тегшогенератор) предназначенная для термообработки бытовых и технологических систем теплоснабжения кавитационно-термическим методом и применяемая в составе систем отопления и горячего водоснабжения.
Нагрев жидкости непосредственно в объеме при ее движении, обеспечивает экологическую чистоту, исключает изменение качества состава жидкости, появление накипи и других неблагоприятных явлений в нагреваемой жидкости.
Нагрев жидкости осуществляется в одном узле без применения нагревательных элементов, что обеспечивает простоту системы нагрева, эффективность и безопасность эксплуатации установки
За счет модульности конструкции и широкого типоразмера установок производительность может быть любая.
Использование современной автоматики позволяет обеспечить автоматический режим работы установки и полный контроль технических параметров продукта нагрева. Потребитель получает горячую воду по заданным температурным параметрам. За счет автоматизации процесса, отпадает необходимость в постоянном обслуживающем персонале.
Оборудование может монтироваться в здании потребителя и включаться в существующую систему подачи горячей воды.
КАВИТАЦИОННЫЙ СМЕСИТЕЛЬ- ПРЕОБРАЗОВАТЕЛЬ
( для нефтяной, топливной, пищевой и лакокрасочной пром-ности )
Функции кавитационного смесителя
- диспергирование ( эмульгирование) - (глубокое измельчение и/или перемешивание среды или компонентов на молекулярном уровне с сохранением однородности смеси на 90 и более суток);
- утилизация жидких нефтешламов и превращение его в топливо ( создание стабильных толивных эмульсий из нефтешлама);
- переработка отработанного машинного масла;
- обработка обводненного мазута с целью экономии до 18%;
- для обеззараживания и очистки воды безреагентными способами;
- для обработки дизельного топлива с целью его экономии, увеличения фильтруемости, снижения зольности, температуры застывания, температуры вспышки;
- для обработки нефти с целью увеличения выхода светлых нефтепродуктов;
- для смешивания и получения высокодисперсных красок;
- нагрев жидкости до температуры + 150 град.
Преимущества использования:
глубокое диспергирование продукта на молекулярном уровне; имеется возможность настройки и управления процессом диспергирования. От диспергирозания (измельчения) продукта на молекулярном уровне (разрушение полимерных молекул без изменения свойств исходного вещества ) до разрушения сложных органических молекул на более простые составляющие, с одновременым связыванием свободных радикалов. Это позволяет разрушать пестициды и гербициды до примитивных неорганических компонентов, которые легко сжигаются ( без образования вредных веществ) или позволяют извлекать из них необходимые элементы.
Возможные области использования
- Утилизация подтоварных балластных вод на судах ( Они смешиваются и подаются з маршевый двигатель. Экономия топлива и экономия затрат на слив загрязненной воды);
- Смешивание низкокачественного органического топлива ( мазута ) для обеспечения надежного горения в котлах (с отработанным маслом, угольной пылью и др.);
- Обработка нефти перед ее ратификацией на НПЗ ( увеличивает выход светлых нефтепродуктов на 5 - 10% );
- Использовано на металлургических комбинатах для обжиговых печей ( уменьшается содержание сернистого ангидрида в 10 раз );
- Обработка ДТ- в процессе обработки из дизельного топлива удаляются капельная и связанная вода, механические примеси, части смолисто-асфательновых соединений и высокомолекулярных полициклических ароматических углеводородов.
производительгость от тонны и
стабильность смеси после обработки 90-120 суток;
исполнение в черном или нержавеющем металлах,
Сейчас нет актуальнее проблемы, чем гарантированная поставка недорогого тепла, для любого потребителя
- в дошкольных и школьных учреждениях;
- в здравоохранении; в производстве;
- быту и т.п.
На базе разработок нашим предприятием изготовлена и внедрена установка ( теплогенератор ) предназначенная для термообработки бытовых и технологических систем теплоснабжения кавитационно-термическим методом и применяемая в составе-систем отопления и горячего водоснабжения.
Нагрев жидкости', непосредственно в объеме при ее движении, обеспечивает экологическую чистоту, исключает изменение качества состава жидкости, появление накипи и других неблагоприятных явлений в нагреваемой жидкости.
Нагрев жидкости осуществляется в одном узле без применения нагревательных элементов, что обеспечивает простоту системы нагрева, эффективность и безопасность эксплуатации установки
За счет модульности конструкции и широкого типоразмера установок производительность может быть любая.
Использование современной автоматики позволяет обеспечить автоматический режим работы установки и полный контроль технических параметров продукта нагрева. 11отребнтель получает горячую воду по заданным температурным параметрам. За счет автоматизации процесса, отпадает необходимость в постоянном обслуживающем персонале.
Оборудование может 'монтироваться в здании потребителя и включаться в существующую систему подачи горячей воды.
Устройство и принцип работы
Установка состоит из электродвигателя, насоса, резервуара, аппарата нагрева, смонтированных на раме, в нижней части рамы установлены резинометаллические амортизаторы, блока управления.
Электродвигатель через полумуфту вращает насос, который обеспечивает циркуляцию жидкости по замкнутому кольцу: насос-аппарат нагрева — резервуар - насос. В аппарате нагрева жидкость разогревается'за счет гидродинамического соударения струй.
Установка укомплектована кранами для отбора жидкости из резервуара и приборами контроля: термометр, манометр с запорным краном.
Блок управления обеспечивает ручной и автоматический пуск и остановку установки в диапазоне заданных температур, для чего в резервуаре и на системе отопления установлены датчики предельной и рабочей температур.
Техническая характеристика:
- принцип действия -гидродинамический, рабочая жидкость - вода, масло; потребляемая мощность. кВт - 1,7 - 5,5,
- напряжение,В - 380
- Тепловая производительность, ккал/час от 6000 до 24000
- Скорость нагрева жидкости в установке, град/мин - 2,4- 4,0
- температура нагрева - до 85 град С; 1. кпд-99%;
- условия работы - пожаробезопасен;
- габаритные размеры, мм: 700 х 300 х 400
- вес, кг - От 18 до 46;
комплектация - по согласованию с заказчиком, цена договорная
Все пуско-наладочные работы производятся нашей фирмой. Расчетные схемы и проект подключения фирма выполнят по заявке заказчика.
Сравнительная характеристика стоимости 1 кв. м площади помещения обогреваемого
|
различными топливными агрегатами |
||
|
Топливное устройство |
Энерго затраты на 1000 кв. iv |
Стоимость 1 I |
|
Котел газовый КЧМ - 96 |
46200 м. куб/год |
18,94 |
|
Электрокотлы « Руснит » |
94500 кВт |
22,68 |
|
Тепло генератор |
17300кВт |
4,15 |
|
Жидкотогиивный котел КЧМ-5 с итаг горелкой |
40320 л ДТ |
145,15 |
В настоящее время наше предприятие занимается разработкой следующего технологического оборудования и технологий:
- гидротация подсолнечного масла,
- нейтрализация (рафинация ) подсолнечного масла; дезодорация подсолнечного масла;
- фильтрация (сверхцентрифуга) подсолнечного масла,
получение биодизельного топлива из масла рапса, сои, подсолнечника с применением метанола,
- получение бензина (А-92 и А-95 ) с применением этанола;
- очистка трансформаторного масла.
Проблема производства топлива на основе биомассы актуальна для европейских стран, включая и Украину. Достоинства БДТ:
- улучшает смазку двигателя;
- дымностъ сжигаемых веществ уменьшается на 60йо, по сравнению с ДТ;
- большее количество кислорода 10,8%, поэтому он лучше сгорает в двигателе;
- при использовании БДТ в окружающую среду практически не выбрасываются соединения серы;
- БДТ нейтрально в отношении эмиссии ССЪ.
Температура вспышки БДТ не ниже 50 град. - ДТ не ниже 40
Цетановое число БДТ- 51, ДТ - 48, Больше ЦЧ легче запускается, тише работает и меньше изнашивается.
Очень важной характеристикой топлива является плотность. Плотность БДТ - 0,84-0,89г/смЗ, ДТ -0,84 - 0,86г/смЗ при температуре 20 град. Плотность БДТ меньше зависит от температуры, поэтому его расходуется меньше.
Кинематическая вязкость ДТ при температуре 20 град составляет 1,8-6,0 мм2/с, а БДТ - 7,6- 8,8. Лучшими свойствами обладает ДТ, поэтому оно лучше фильтруется, однако БДТ имеет лучшие смазочные и герметизирующие свойства.
Свойство образовывать пепел увеличивает не только количество нагара, но и износ цилиндра, поэтому этот парамегр не должен превышать 0,01% для ДТ и 0,02% для БДТ, однако пепел БДТ имеет биологическое происхождение и не обладает абразивными свойствами.
БДТ может изготавливаться из холодно прессованного масла рапса, подсолнечника с добавлением дизельного топлива или с добавлением метилового спирта + щелочь.
На нашем предприятии разработан и апробирован гидродинамический аппарат для производства БДТ производительностью ЗООл/ч.
Разрабатывается технология получения БДТ из пальмового масла.
Гидравлический кавитатор
1. Общее положение
Предназначен для получения биодизтоплива на основе рапсового масла.
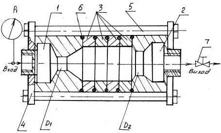
Робота кавитатора основана на генерировании возмущений в жидкой среде (в данном случае - масле) в виде некоторого поля скоростей при периодическом прерывании струи. Эти возмущения оказывают обратное действие на основании струи у сопла, способствуя установлению автоматического режима. Механизм излучения звука возмущениями может быть различным в зависимости от конструкции кавитатора.
2. Устройство кавитатора
Общий вид кавитатора представлен на сборочном чертеже 1.03.00.СБ.
Кавитатор состоит из входного 1 и выходного 3 сопла с определёнными проходными сечениями. Между ними устанавливаются переходные секции 4. в секцию 5, устанавливается переходник 8 для манометра. Кавитатор собирается в виде гидродинамической трубы, секции зажимаются фланцами 5 стяжными болтами 7. Между секциями устанавливаются маслостойкие уплотнительные кольца. На входе из кавитатора устанавливается кран для подпора и регулирования давления.
3. Технические данные
Давление масла на входе 17 - 20 кгс/см
Интервал рабочих температур 25 - 85 °С
Расход масла 1000 - 1200 кг/час
4. Комплект поставки.
Кавитатор в сборе 1 шт.
5. Требование по технике безопасности.
Не производить разборку кавитатора во время его работы.
6. Условия работы.
На входе в кавитатор обязательно устанавливается фильтр для очистки масла.
МАЛОГАБАРИТНАЯ УСТАНОВКА ДЛЯ ПОЛУЧЕНИЯ ГИДРОДИНАМИЧЕСКИ АКТИВНОЙ СМЕСИ БЕНЗИНА С ЭТАНОЛОМ
Установка предназначена для получения смесевых бензинов с этанолом в условиях автозаправочных станций, нефтехимхо-зяйств агропредприятий, фермерских хозяйств.
Технология получения гидродинамически активной смеси базируется на дозировании и деспергировании с бензином нефтяного происхождения. Количество этанола в смеси составляет 8 - 22%. Производительность установки от 300кг до 20 т/час.
Смесевые бензины с этанолом прошли испытания в условиях рядовой эксплуатации на подконтрольной группе автомобилей в течении всех сезонов. Средний пробег составил 16000 км. По итогам испытаний получены положительные результаты в сравнении с товарным бензином, а именно:
- мощность двигателя увеличивается до 2,5% при одновременном снижении расхода топлива на 3%;
- выбросы СО уменьшаются на 26,3%, СН - на 4,5%, НО - на 5,7%;
- запуск двигателей надежный и легкий при положительных температурах и нормальный при отрицательных ( до - 25 С ) температурах окружающей среды;
- не снижается показатель безотказности работы двигателя;
- не снижается периодичность замены картерного масла, их физико-химические показатели не ухудшаются.
Смесевые бензины с этанолом являются перспективными для карбюраторных двигателей. Опытно-экспериментальная установка для получения гидродинамически активной смеси бензина с этанолом внедрена в фирме « Петрол » Одесской области. Основными источниками на данный момент является нефть, природный газ и уголь, однако запасы этих источников быстро истощаются и с их помощью полученная энергия постоянно дорожает. Кроме того, при сжигании ископаемого горючего, в атмосферу выбрасывается большое количество опасных для людей соединений, в воздухе быстро повышается концентрация диоксида углерода, которая увеличивает парниковый эффект. Поэтому все больше внимания привлекают виды альтернативного топлива, энергетические ресурсы которого не иссекают.