Анализ производства муки
.;;.;;.;;.;;.;;.;;.;;.;;.;;;;;o;;;;;;;;;;;;;;;;;-;;;-;;;.;;.;;.;;.;;.;;.;;.;;.;;.;;;.;;.;;.;;.;;.;;.;;.;;.;;.;;;Содержание
Введение
1. Химический состав зерна и пшеничной муки
1.2 Этапы подготовки зерна к помолу
1.3 Влияние технологических свойств зерна на качество и выход муки
2. Анализ производства муки на ЗАО «Балаково-мука»
3. Формирование помольной партии
4. Г.Т.О.
5. Схема технологического процесса.
5.1 Определение нормы выхода муки
6. Экономика
7.Экология
8. Безопасность жизнедеятельности
Выводы
Предложения для модернизации производства
Список литературы
Введение
Развитие мукомольной промышленности было важнейшим звеном в развитии техники в целом. Это легко объяснимо. Ведь первой основной потребностью человека, как всякого живого организма, является питание, для поддержания жизни Хлеб со времен оседлости человека служит основной частью пищи, поэтому технология переработки зерна в муку играла и играет большую роль в развитии производственных сил общества. Развитие техники данного производства сопровождалось многими выдающимися открытиями в области механики, которые способствовали изобретению большого числа разнообразных машин. С появлением мельниц возникла мукомольная промышленность. Теория и практика технологии производства муки и крупы постоянно развиваются. Во-первых, переработка зерна в муку принципиальная необходимость. Во-вторых, для измельчения зерна необходимы затраты значительного количества энергии. Поэтому мельница всегда была объектом технической мысли, техника и технология помола постоянно развивались и совершенствовались.
В России водяные и ветряные мельницы появились уже в девятом веке, в двенадцатом веке они были повсюду. В 1803 году в одной только Московской губернии было 656 водяных мельниц. Первая мельница с паровым двигателем была построена в Лондоне в 1785году, а в России - в 1818году, в селе Воротынец Нижегородской губернии - раньше, чем в остальных европейских странах. Паровая машина Черепановых мощностью около 4 лошадиных сил (около 3 кВт), созданная в 1824 году, также работала на жерновой мельнице производственной мощностью 1,5 тонн в сутки. В 1892 году в 56 губерниях европейской части России работало свыше 800 крупных паровых мельниц.
На мельницах широко применяли различные двигатели внутреннего сгорания. В 1914 году в Санкт- Петербурге мельница ржаного сеяного помола была переведена на электропривод и стала первым электрифицированным предприятием России. Даже на небольших зерновых ветряных или водяных мельницах издавна была предусмотрена механизация физически тяжелых операций.
Огромную роль в развитии мельницы сыграло изобретение вальцевого станка. В России его впервые применили на мельнице в 1822 году. С тех пор станки стали активно конкурировать с жерновами, а затем на крупных мельницах совершенно вытеснили их. В 1880 году в Поволжье почти все мельницы были вальцовыми, а всего в России таких мельниц было уже 180.
Современная мельница представляет собой полностью механизированное предприятие, причем управление процессом и контроль технологических операций в значительной мере осуществляются автоматизированными системами. Вместе с крупяными предприятиями длительное время существовали мельницы сельскохозяйственного типа. По данным статистики, еще в 1931 году на территории СССР было более 200 000 ветряных и водяных мельниц, которые обеспечивали нужды сельских жителей.
В 19 веке выход муки разных сортов при помоле пшеницы составлял 75-80%. При этом условия конструкции, диктовали производство большого разнообразия сортов муки. Как правило, на каждой мельнице их было не мене 5, а на некоторых даже 12 сортов. Такое положение около 10 лет сохранялось и после 1917 года в новой РСФСР, а затем и в бывшем СССР. Качество муки на различных мельницах значительно отличалось. В 1927 году в РСФСР и УССР впервые введены единые стандарты на муку. Действующий в настоящее время стандарт утвержден в 1988 году. Во второй половине 19 века в России происходил бурный рост промышленности, быстро развивалось и мукомолье: только в период с 1860 по 1896 годы было построено более 800 товарных мельниц. Опираясь на прочный экономический фундамент, Россия экспортировала не только зерно, но и муку, которая отличалась высоким качеством и заслуженно пользовалась повышенным спросом в западных странах. Строительство и эксплуатация мельниц требовали литературного обеспечения. Инженерное руководство по этому вопросу было опубликовано уже в 1812 году В.Левшиным. В дальнейшем такая техническая литература появляется достаточно регулярно. Д.И.Менделеев в своей «Технологии» большой раздел посвятил мукомольному производству. В 1876 году первый инженер – мукомол и профессор Санкт – Петербургского технологического института П.А. Афанасьев опубликовал «Курс мукомольных мельниц»; в 1884 году его ученик профессор К.А. Зворыкин издал «Курс по мукомольному производству». Эстафету от этих ученых принял профессор П.А.Козьмин, издавший в 1912 году учебник «Мукомольное производство». Активно велась и подготовка специалистов. Первые технические школы в России были организованны еще при Екатерине Второй, в 1782 году насчитывалось 8 таких школ, в 1786 – уже 165 школ. За период с1876 по1917 годы диплом инженера имели более 100 мукомолов. Современные мельницы отвечают всем инженерным требованиям. Сложный многофакторный технологический процесс, насыщенность предприятий технологическим и вспомогательным оборудованием, автоматизированными системами контроля и управления предъявляют повышенные требования к профессиональным знаниям, организационной способности и общему культурному и интеллектуальному уровню инженеров – технологов.
Химический состав зерна и пшеничной муки
Зерно хлебных культур характеризуется высоким содержанием крахмала. Химические вещества неравномерно распределены по анатомическим частям зерна, что связано с различной органической функцией зародыша, эндоспермы и оболочек, а так же цветковых пленок.(Кретович Н.И.; Егоров Т.А.; Беркутова Н.С; Швецова И.А.)
Химический состав зерна Таблица 1.
|
белки |
10--20 |
|
жиры |
2 –2,5 |
|
крахмал |
60 --75 |
|
клетчатка |
2--3 |
|
зольность |
1,5—2,2 |
В таблице 2 приведено содержание основных химических веществ в различных частях зерновки пшеницы. Данные таблицы 2 свидетельствуют, что оболочки отличаются повышенным содержанием клетчатки, а зародыш и алейроновый слой - белками и липидами. Крахмал присутствует только в эндосперме (без алейронового слоя). Заметно отличаются анатомические части зерновки по зольности, что используют на практике для контроля качества сортовой муки.
Таблица 2.
Содержание основных химических веществ в анатомических частях зерновки пшеницы, %
|
Анатомические части |
белки |
жиры |
крахмал |
клетчатка |
пентозами |
зольность |
|
Плодовая оболочка |
5--8 |
1--2 |
----- |
20--22 |
25--30 |
3,5-24,5 |
|
Семенная оболочка |
12-20 |
0-0,2 |
----- |
1—1,5 |
14--36 |
7--20 |
|
Алейроновый слой |
16-20 |
10-15 |
----- |
5-7 |
6-8 |
14,5-17 |
|
Зародыш со щитком |
24-42 |
13-24 |
----- |
2--2,5 |
9-11 |
5,5 -6,5 |
|
Крахмалистая часть, эндосперм |
12-15 |
0,7-1 |
75-80 |
0,1-0,2 |
2-3 |
0,35-0,5 |
Нагляднее эти различия видны в таблице 3. В оболочках содержатся главным образом не усваиваемые человеческим организмом вещества. Зародыш и алейроновый слой содержат большое количество белка и жира, присутствие последнего в муке значительно уменьшает срок ее хранения. Поэтому алейроновый слой и зародыш в процессе размола зерна должны быть удалены в отруби. Крахмал, как основное запасное питательное вещество для нового растения, формируется только во внутренней части эндосперма, расположенной под алейроновым слоем.
Таблица 3
Относительное распределение основных химических веществ по анатомическим частям зерновки пшеницы, % от общего количества.
|
Анатомические части зерновки |
Массовое содержание анатомических частиц, % |
крахмал |
белки |
клетчатка |
липиды |
Минеральные вещества |
|
Плодо вая и семенная оболочки с алейроновым слоем |
15 |
0 |
20 |
90 |
30 |
65 |
|
Зародыш со щитком |
2,5 |
0 |
10 |
3 |
20 |
10 |
|
Крахмалистая часть эндосперм |
82,5 |
100 |
70 |
7 |
50 |
25 |
Данные (Козакова Е.Д.) свидетельствуют,что белки, способные образовывать клейковину, так же расположены в крахмалистой части эндосперм пшеницы. В оболочке много клетчатки, лигнина и пинтозолов. Неравномерно распределены химические вещества и в пределах эндоспермы. Анализ показывает, что по мере продвижения от его центра к периферии содержание биологически ценных соединений (белков, витаминов, минеральных веществ) возрастает. Особенно велико относительное содержание этих биологически ценных веществ в субалейроновом и алейроновом слоях эндосперма. Клетки алейронового слоя имеют толстые стенки, не поддающиеся ферментам пищеварительного тракта человека, поэтому включать алейроновый слой в муку практически бесполезно. Кроме того, в нем велико содержание липидов, что, при хранении муки отрицательно влияет на ее качество. Также неравномерно распределены по анатомическим частям зерновки и ферменты. Активность протеина в зародыше в 8-13 раз выше, чем в эндосперме, а в алейроновом слое в 50-70 раз. Несомненно, что это связанно с сохранением жизнедеятельности клеток алейронового слоя и зародыша. Кретович В.А отметил, что основное количество витаминов сосредоточено в алейроновом слое и зародыше, то есть в тех частях зерна, клетки которого сохранили жизнедеятельность и обеспечили развитие нового растения из семени. Так, наиболее 50% тиамина сосредоточенно в алейроновом слое, крахмалистой части эндосперма и зародыше; ниацин, который почти полностью сконцентрирован в алейроновом слое. Такое распределение связанно с биологической функцией витаминов, которые обеспечивают нормальное протекание физиологических процессов. В связи с удалением зародыша и алейронового слоя в побочные продукты крупа и сортовая мука имеют невысокое содержание витаминов и других важных биологических веществ. В процессе помола зерна по определенным технологическим системам мука формируется из различных областей эндоспермы зерна, поэтому химический состав и технологические свойства муки, полученной соединением индивидуальных потоков, заметно варьируется (Крестович В. А.). Мука служит основой для получения бесчисленного количества пищевых продуктов. Пищевая ценность этих продуктов определяется химическим составом, наличием в них набора веществ, необходимых для покрытия энергетических и физиологических затрат человека в процессе жизнедеятельности. Исследованиями (Беркутова Н.С. и Швецова И.А.) установлено, что рациональное питание предусматривает использование основных рационов для различных групп людей в зависимости от возраста, пола, климатических условий, вида трудовой деятельности. Но во всех рационах хлебобулочные изделия занимают одно из первых мест. Важнейшая роль в пищевой ценности продуктов принадлежит белку. Суточная потребность человека в белках составляет 80-120 грамм. За счет потребления изделий из муки она удовлетворяется на 30-40%. Потребность в углеводах (около 400г) обеспечивается в размере 50-60%. Мука содержит мало жиров, потребность которых должна восполняться за счет других продуктов. Важное значение имеет наличие в пище таких биологически важных веществ, как незаменимые аминокислоты, непредельные жирные кислоты, витамины и минеральные вещества. В белках зерна различных культур содержится от 25 до 38 % незаменимых аминокислот. Это соотношение снижается в белках муки вследствие удаления побочных продуктов богатых белком зародыша и алейронового слоя. Однако с повышением сортности муки содержание белков в ней снижается, поэтому степень удовлетворения потребности человека в незаменимых аминокислотах уменьшается. Так, при ежедневном употреблении 500 граммов хлеба, только из муки высшего сорта, она не превышает 30%, первого сорта – достигает 35%, второго –около 40%, из муки обойной – 45-55%. Это же характерно и для других биологически активных соединений. Так, потребность в различных витаминах обеспечивается на 15 - 60 %, а в минеральных веществах от 15 до 80 %. Наиболее ценной в питательном отношении является обойная мука, в которой содержится весь набор питательных элементов зерна. Кроме того, за счет измельченных оболочек зерна в ней присутствуют волокнистые вещества, способствующие выведению из пищеварительного тракта различных шлаков и улучшению физиологической функции кишечника. В условиях современных мельниц технолог имеет возможность формировать различные сорта муки с повышенным или пониженным содержанием белка, крахмала, минеральных веществ, витаминов и т. д.
1.2 Этапы подготовка зерна к помолу
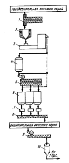
Основные этапы переработки зерна: подготовка зерна к размолу, размол зерна в муку, хранение и упаковка, муки в тару. Для получения кондиционной муки необходима тщательная подготовка зерна, которая включает следующие основные операции: формирование помольной партии, очистку зерна от примесей, очистку поверхности зерна сухим или влажным способами, гидротермическую обработку зерна (БутовскийВ.А., Мельников Е.А.). Формирование помольной партии проводят для поддержания стабильности технологического процесса переработки зерна в течение длительного времени и получение муки с заданными хлебопекарными свойствами. Смешивая разнокачественное зерно, не только получают муку со стабильными свойствами, но и добиваются рационального и эффективного сырья. Формирование партий позволяет не только использовать для переработки зерно пониженного качества, из которого самостоятельно невозможно выработать кондиционную муку, но часто сопровождается эффектом смесительной ценности, приводящим к улучшению хлебопекарных свойств. Переработка высококачественного зерна без добавления партий пониженного качества приводит к нерациональному использованию сырья и получения муки со значительными колебаниями хлебопекарных свойств. Оптимальное соотношение отдельных компонентов в помольной партии устанавливают пробными лабораторными помолами смесей с различным соотношением компонентов и последующей оценкой их хлебопекарных свойств. (Личко И.М.) Формируют партии либо на элеваторах, либо непосредственно в подготовительных отделениях мукомольных заводов. Содержащаяся в зерновой массе примеси ухудшают качество вырабатываемой муки, могут быть причиной поломки рабочих органов машин, поэтому при подготовке зерна к помолу необходимо удалить основное количество примесей, используя их отличия от зерна в физических свойствах (Мерко И. Т.). Выделяют крупные и мелкие примеси в машинах, рабочими органами которых являются сита или решета. Чаще всего применяют штампованные сита с круглыми или продолговатыми отверстиями. Для отделения крупных и мелких примесей в основном используют комбинированные воздушно- ситовые сепараторы (А1-БИС-100).
Технологическая схема А1-БИС l – исходное зерно, ll – крупные примеси, lll – мелкие примеси, Vl - очищенное зерно, V- легкие примеси. Легкие примеси выделяют в воздушных сепараторах потоками воздуха, движущегося со скоростью, достаточной для уноса легких примесей и недостаточной для уноса зерна. Минеральные примеси выделяют по плотности, которая примерно в два раза больше, чем у зерна. Для их разделения используют несколько типов камнеотделителей, наиболее совершенный из них– вибропневматический.


Для повышения эффективности очистки зерна от примесей и разделения зерновой массы на фракции по плотности применяют новую машину – концентратор, принцип действия которого основан на просеивание зерна на плоском наклонном сите в восходящем потоке воздуха.

Технологическая схема концентратора типа А1-БЗК. 1,2 –ситовые рамы.3- регулировочный клапан. I – исходное зерно, II – тяжелая фракция зерна,III – легкая фракция зерна,IV – трудноотделимые примеси, V – мелкие примеси, VI – легкие примеси.
Металломагнитные примеси выделяют с помощью статических магнитов, реже – электромагнитов. Обязательно устанавливают магнитные сепараторы перед машинами ударно – истирающего действия (обоечные, щеточные машины), машинами для измельчения зерна, а так же на контроле готовой продукции (Бутковский В.А, Мельников Е.М.).
Технологическая схема магнитного сепаратора У1-БММ 1- приемный патрубок,2- распределительный конус, 3,5 – магниты,4- диамагнитный диск, 6 – выпускной конус I-исходная мука, II- очищенная мука, III- металлические примеси.
На поверхности зерен, особенно в бородке и бороздке, всегда имеется не удаленная, в зерноочистительных машинах, пыль и прилипшая грязь, от которых необходимо по возможности избавиться. Сухим способом очищают зерно в основном в обоечных машинах, реже – в щеточных машинах, в обоечных машинах - зерно обрабатывают бичами, которые подхватывают его и отбрасывают к рабочей поверхности, выполненной из стального листа, абразивного материала или специальной металлотканой сетки. Обоечные машины со стальной поверхностью воздействуют на зерно наиболее мягко; с абразивной поверхностью – наиболее интенсивно; обоечные машины с металлической сеткой по интенсивности воздействия занимают промежуточное положение (Егоров Г.А.).

Технологическая схема обоечной машины РЗ-БГО-6 1- приемное устройство, 2- бичевой ротор, 3- сетчатый цилиндр, 4- пневмосепарирующий канал, 5- подвижная сетка. I – исходное зерно, II – продукты шелушения, III – очищенное зерно, IV – воздух с легкими примесями.
Для более мягкой очистки и частичного извлечения пыли и грязи из бороздки применяют щеточные машины, в которых зерно обрабатывается щетками вращающегося щеточного барабана и неподвижными щетками щеточной деки. Влажным способом поверхность зерна очищают в моечных машинах мокрого шелушения. Наиболее эффективна очистка зерна в моечных машинах. В них удаляется пыль и грязь не только с поверхности зерна, но и из бороздки, кроме того, выделяются минеральные и легкие примеси. Моечные машины состоят из моечной ванны и очистительной колонки (Бутковский В.А.).

Технологическая схема моечной машины Ж9- БМА.1-приемная воронка, 2- задвижка, 3- шаровое основание, 4- ось, 5- приемный ковш, 6- верхние шнетки, 7 – нижние шнетки, 8- ижекторная труба, 9-выход мелких примесей, 10 – ситовой цилиндр, 11- бичевой ротор. I –исходное зерно, II- легкие примеси, III- вода, VI – воздух,V – очищенное зерно.
Несколько мене эффективными, но требующими почти в 10 раз меньшего расхода воды, являются машины мокрого шелушения. Эти машины представляют собой, по сути, отсилосную колонку с небольшой моечной ванной в ее нижней части. Технология производства сортовой муки основана на избирательном измельчении эндосперма и оболочек зерна. Оболочки, обладая большим сопротивлением к измельчению, дробятся в меньшей степени, чем эндосперм, и чем больше разница их прочностных свойств, тем эффективнее последующее разделение. У сухого зерна различие в прочностных свойствах эндосперма и оболочек меньше, чем у влажного, поэтому перед размолом его необходимо увлажнять (Мерко И.Т.) Увлажнение является основой, так называемой гидротермической обработки зерна, то есть обработки водой и теплом. Существует несколько способов обработки: холодное, горячее и скоростное кондиционирование. Наиболее распространено холодное кондиционирование, как наиболее простое и достаточно эффективное. Технологическая схема холодного кондиционирования включает всего две операции: увлажнение зерна и его отволаживание (отлежку) в бункерах.


После увлажнения влага постепенно проникает в зерно. Вначале она сосредоточена в оболочках. Проникая, в эндосперм, влага способствует ее разупрочнению, образуя в ней закритические напряжения, вследствие повышения градиента влажности и неравномерного набухания биополимеров. Так как, влажность наружных и внутренних слоев эндоспермы различна, набухают они неравномерно, что вызывает напряженное состояние материала. Кроме того, крахмал и белки в клетках эндоспермы каждого слоя набухают также не равномерно. В результате при достижении критических значений напряжения в эндосперме начинается образование микротрещин. Трещины являются капиллярами, по которым влага проникает внутрь зерновки с расклинивающим эффектом. Таким образом, происходят предразрушение и разупрочнение эндоспермы. Для завершения этого процесса требуется время – от нескольких часов до суток и более. По – иному изменяются свойства оболочек. С повышением влажности они пластифицируются, снижается их хрупкость. Это происходит вследствие набухания полисахаридов – гемицеллюлоз, клетчатки и лигнина (Трисвятский Л.А.). Таким образом, холодное кондиционирование способствует усилению дифференциации структурно – механических свойств оболочек и эндоспермы, что облегчает проведение сортового помола и снижает дробимость оболочек. Завершает процесс подготовки зерна к помолу дополнительное увлажнение и отволаживание непосредственно перед размолом. Продолжительность отволаживания на заключительном этапе кондиционирования 20-30 минут. За столь небольшое время влага успевает проникнуть в эндосперм, остается в оболочках, что способствует еще большей их пластификации (Личко И.М.)
1.3 Влияние технологических свойств зерна на качество и выход муки
В мукомольном производстве технологические свойства зерна принято оценивать по выходу и зольности (белизне муки). Выход и качество готовой продукции зависят от особенностей анатомического строения зерна, относительного содержания эндоспермы (ядра), формы и крупности зерна, особенности организации и выделения технологического процесса. На выход и качество муки непосредственное влияние оказывает влажность зерна и способы подготовки его и окончательной переработки (Егоров Г.А.). Зольность – количество золы, образовавшейся при сжигании зерна или других продуктов и вычисленная в процентах к сухому веществу сжигаемого продукта. Зольность анатомических частей зерна неодинакова: наибольшую зольность имеют оболочки с алейроновым слоем, наименьшую - эндосперм. Зольность, будучи косвенным показателем соотношения частей, зерна, имеет большое значение для контроля степени отделения оболочек эндоспермы и оценки качества муки. Чем выше зольность муки, тем больше в ней содержится оболочек, тем темнее мука и ниже ее сорт.
Таблица 4. Зольность зерна мягкой пшеницы, %, на абсолютно сухое вещество
|
зольность |
зерно |
эндосперм |
Оболочки с алейроновым слоем |
зародыш |
|
максимальная |
2,03 |
0,51 |
9,83 |
6,08 |
|
средняя |
1,95 |
0,46 |
8,49 |
5,98 |
|
минимальная |
1,81 |
0,38 |
7,54 |
5,11 |
Зольность служит также важным показателем мукомольных свойств зерна, так как она характеризует качество конечных продуктов переработки. Зольность зерна, как относительный показатель ее качества используют при расчете выхода муки. Зольность зерна зависит от сортовых особенностей и почвенно-климатических условий по произрастанию. Однако из зерна различной зольности необходимо получить муку зольностью не выше нормы. В последние годы такой показатель качества муки, как зольность успешно заменяется показателем ее белизны, определяемой с помощью специальных приборов – белизномеров (Беркутова Н.С, Швецова И.А., Бутковский Е.А.). Стекловидность- это важный показатель технологических свойств зерна, который определяет режим подготовки зерна к помолу, к стекловидным зернам относят, зерна которые слабо преломляют луч света при просвечивании, кажутся прозрачными, мучнистые зерна не прозрачны и при просвечивании кажутся темными, в разрезе они белые. Встречаются зерна частично стекловидные. Стекловидность, характеризуется структурно механическими свойствами эндоспермы и сопротивляемостью зерна разрушающим усилиям, влияет на интенсивность его измельчения и на условия формирования промежуточных продуктов по их количеству и качеству. Стекловидное зерно вымалывается легче, чем мучнистое, и дает большой выход крупок. Влажность имеет большое значение не только при хранении зерна, но и при его переработке. Следует отличать естественную влажность зерна, с которым оно поступает на предприятие. Хранится и передается на переработку, от так называемой технологической влажности, которая создается искусственно и с которой зерно размалывают. При сортовом помоле, в процессе гидротермической обработки зерну придают оптимальную влажность, величина которой в зависимости от определенных показателей зерна колеблется от 14,5 до 16,5 и которая предопределяет лучшие результаты его переработки (Трисвятский Л.А.). При гидротермической обработке пшеницы вода в оболочках с развитой капиллярной системой выступает, как пластификатор, способствуя нарастанию пластических деформаций и, следовательно, усилению прочности и вязкости оболочек. Проникновение воды снижает прочность эндосперма. При переработке зерна повышенной влажности (15,5 – 16,5 %) значительно улучшается качество муки, но снижается производительность мукомольного завода и увеличивается расход электроэнергии на выработку муки. Зерно влажностью свыше 18% практически размолоть в муку невозможно. При переработке сухого зерна с плотностью менее15%, его оболочки легко деформируются, дробятся и, попадая вместе с частицами эндоспермы в муку, резко ухудшают ее качество. Поэтому увлажнению зерна в мукомольном производстве уделяют большое внимание. Линейные размеры зерна (длина, ширина, толщина) дают представление о его крупности. Размеры зерен пшеницы - толщина от 1,5 до 3,3; ширина от 1,6 до 4,0; длина от 4,8 до 8,0 мм. (Егоров Г.А.). При переработке выполненного зерна округлой формы получают больше муки, чем при переработке зерна, имеющего граненую форму и заостренные края. Если относительное содержание зерен крупной и средней фракции в зерновой партии составляет 85%, то зерно считают однородным или выровненным по крупности. Проход через сито с отверстиями размером 1,72,0 мм относят к неполноценным зернам. Выровненное зерно лучше очищается от примесей, так как можно более точно подобрать соответствующий размер отверстий сит для сепарирующих машин, размер и форму ячеек в триерах, скорость воздушного потока в аспирационных машинах, выбрать рабочие зазоры в измельчающих машинах. Выравненность зерна значительно влияет на выход и качество продуктов измельчения пшеницы. Поэтому на мукомольных заводах зерно сортируют по крупности и выделяют фракцию мелкого зерна. Мелкое зерно имеет очень низкие мукомольные свойства, его присутствие в перерабатываемом зерне существенно снижает выход и качество муки. Поэтому его отбирают проходам через сита с отверстиями размером 2,0 ? 20 мм или 2,2?2,0 и используют для кормовых целей. Натура – это масса 1 л. зерна, выраженная в граммах. На величину натуры в состоянии свободного уплотнения влияют форма, характер поверхности и влажность зерна, его выравненность, характер и количество примесей (Мерко И.Т.). Зерна округлой формы или с гладкой поверхностью укладываются плотнее, чем удлиненные или с шероховатой поверхностью. При повышении влажности натура зерна уменьшается. Крупные органические примеси уменьшают натуру, минеральные – увеличивают. В однородном по форме и качеству зерне, чем выше натура, тем меньше содержится оболочек и больше эндоспермы, следовательно, тем лучше мукомольные свойства зерна. Таким образом, как следует из обзора литературы, вопросы мукомольного производства изучены достаточно хорошо. Однако в связи с появлением новых сортов пшеницы и увеличения количества мини- мельниц необходимо дальнейшее изучение технологии получения муки. Поэтому тема дипломной работы посвящена изучению особенности получения муки на мини- мельнице ЗАО «Балаково- мука».
2. Анализ производства муки на ЗАО «Балаково- мука»
Закрытое акционерное общество « Балаково- мука», занимается производством муки высшего и первого сортов. Предприятие находится в девяти километровой зоне от города Балаково, на территории Балаковского элеватора. Предприятие оборудовано складами для зерна, отрубей и хранения готовой продукции. ЗАО «Балаково- мука» оснащено чешским оборудованием марки «Прокоп», которое является основным средством производства. Процесс производства на нем полностью механизирован. Здание предприятия имеет три этажа с поэтажным размещением машин. Максимальное количество зерна, которое мельница может переработать в сутки 50-60 тонн, но в настоящий период предприятие перерабатывает лишь 25 тонн в сутки, из-за отсутствия рынка сбыта продукции и средств на закупку продовольственного зерна. На ЗАО «Балаково- мука» имеется производственная лаборатория. Лаборатория оснащена необходимым оборудованием для контроля качества поступающего сырья и готовой продукции. Трудовые ресурсы предприятия ЗАО «Балаково- мука» составляют 31 человек. Такая численность рабочих оптимальна для предприятия. Продукция предприятия реализуется в городе Балаково и Балаковском районе, а так же в городе Саратове. Целью данной работы является изучение технологии производства муки высшего и первого сортов в условиях ЗАО «Балаково- мука». Основным сырьем предприятия является зерно. Поставщиками зерна являются близь лежащие хозяйства, а также хозяйства соседних областей, в частности Волгоградской области и Жирновского района. Контроль качества зерна, поступающего на ЗАО «Балаково- мука» осуществляется работниками производственной технологической лаборатории, которая проводит проверку соответствия качества зерна нормам, установленным действующей нормативной документации. Для проверки соответствия качества зерна требованиям нормативно-технологической документации, анализируют среднюю пробу массой 2,0- 0,1 кг, выделенную из объединенной или среднесуточной пробы. Стандарты на зерно предусматривают определенные органолептические показатели: Запах, цвет, вкус согласно ГОСТ10967-90, а так же физико-химические показатели: влажность, засоренность зерна, выравненность зерна, натуры зерна, зараженность зерна вредителями, повреждения зерна пшеницы клопом- черепашкой, стекловидность, определения типового состава зерна пшеницы, определение качества и количества сырой клейковины. Определению анализируемых показателей качества зерна пшеницы и готовой продукции осуществляется по ГОСТ, в производственно-технической лаборатории:
Схема 1 Схема выделения навесок из средней пробы для анализа




































ГОСТ-10967-90 Зерно. Методы определения запаха и цвета
ГОСТ-10840-64 Зерно. Методы определения натуры
ГОСТ-10987-76 Зерно. Методы определения стекловидности
ГОСТ-13586.1-68 Зерно. Методы определения количества и качества клейковины в пшенице
ГОСТ-13586.4-83 Зерно. Методы определения зараженности и поврежденности вредителями
ГОСТ-13586.5-93 Зерно. Методы определения влажности
ГОСТ - 30483-97 Зерно. Методы определения общего и фракционного содержания сорной и зерновой примесей; содержание мелких зерен и крупности; содержание зерен пшеницы, поврежденных клопом черепашкой; содержание металломагнитной примеси
Методика определения:
Определение цвета, вкуса и запаха зерна (ГОСТ10967-90). Для определения цвета берут навеску массой 100 грамм, освобожденного от примесей и при рассеянном дневном свете или при освещении лампами накаливания с использованием расеевателя сравнивают с эталонами зерна. По результатам сравнения зерну исследуемой пробы присваивают ту степень обесцвеченности, которую имеет эталон зерна, наиболее близкий к нему по цвету.
Запах зерна. Запах зерна определяют в целом или размолотом зерне. Запах свежее смолотого зерна ощущается лучше, чем целого, он должен быть свойственным здоровому зерну. ГОСТ 10967-90. Исследуем запах зерна. Средний образец зерна (размолотого) согреваем дыханием и исследуем на присутствие постороннего запаха. Определения влажности зерна. Определение влажности зерна осуществляется согласно ГОСТ13586.5-93 стандартным методом высушивания двух параллельных навесок в электрическом сушильном шкафу СЭШ-ЗМ. Взвешивают чистые бюксы с погрешностью не более 0,01 грамм. Размалывают на лабораторной мельнице навеску зерна массой 20-30грамм. Размолотое зерно просеивают, остаток на сите № 1 не более 5%, проход через сито №8 – не менее 50%. Помещают размолотое зерно во взвешенные бюксы, доводят до 5 грамм. Бюксы закрывают крышкой и ставят в эксикатор. По достижения в камере сушильного шкафа температуры 130 градусов Цельсия отключают термометр и разогревают шкаф до 140 градусов Цельсия. Затем включают термометр и быстро помещают открытые бюксы с навесками в шкаф. Образец высушивают 40 минут, по окончании высушивания бюксы вынимают из шкафа тигельными щипцами, закрывают крышками, перенося ТВ эксикатор для полного охлаждения. Охлажденные бюксы взвешивают. Влажность (%) вычисляют по формуле:
010009000003ce2e00000000ff15000000001610000026060f002220574d4643010000000000010025a2000000000200000000200000dc100000dc300000010000006c0000000000000000000000e90000002e0000000000000000000000f0170000ce04000020454d4600000100dc3000000c00000001000000000000000000000000000000900600001a040000b801000013010000000000000000000000000000c0b6060038320400460000002c00000020000000454d462b014001001c000000100000000210c0db010000006000000060000000460000004403000038030000454d462b224004000c000000000000001e4009000c00000000000000244001000c000000000000003040020010000000040000000000803f214007000c000000000000000840000590020000840200000210c0db01000000000000000000000000000000000000000100000089504e470d0a1a0a0000000d49484452000000ea0000002f0803000000da6fa67b000000017352474200aece1ce9000000097048597300000ec400000ec401952b0e1b0000004e504c544500000000004800007400489c0074bf480000484800484848489c9c489cdf74000074004874007474bfff9c48009cdfbf9cdfffbf7400bfffffdf9c48dfffffffbf74ffdf9cffffbfffffdfffffffd24562f6000001b14944415468deed99617383200c86d34ab7c9a62b22a2ffff8f8e40bd9b8352efba2a44f2a5f62e1f78fa264df085e9300105b5a0ee1c9a3707419500c7401d2e701054fdd58d2d45545bab0aa0ea0ddf0c781735989d09aaa83567824de2f4fd79d5bceaa3a8816ccdbd6a4fb680357f6f50ae73373d44f5b3353f77f65b0ea8c385a15ec8e61ea3a8a1ece19209aac4638f2deaa91ef66a305bc1ad18524715288969417c3c5d03a8e6afc8c44db84036d67016bd3a2b54cf8f515503d9633bff40a9a3ba8e93785c275614d5cff6499345751d67ebd2708c6d1345f5b3b179e592365554e114c2623480f6ccc23627786a85b2ed120979a0be200aea16cd6827057ed4d455556e26ca672e2bb914b07063b09ee8a3da75462e9737a2a8a676d9532f8b3242351bcd1b9b0e81ea5db348a32e068ddb868816f007bf232bfc53a482aaaa5ec176cdbaebb069967715ba052c986dd7cd06eb7ea86e2334b232e2a8f86a1aaf937809dd48d772892ba805b5a0be2056596e245043069de62b91732be0bf961b8a4b14d5b7dc565be9b9a1fa961b5954df72a38a1ab4dc68a2060c3aaaa801838e2aaa6fd0c95fde793c7e005b630a148b7fa4a80000000049454e44ae42608200000840010824000000180000000210c0db01000000030000000000000000000000000000001b40000040000000340000000100000002000000000000bf000000bf00006a4300003c4203000000000000b3000000b3ffff6943000000b3000000b3ffff3b422100000008000000620000000c00000001000000150000000c00000004000000150000000c0000000400000051000000342c00000000000000000000e90000002e00000000000000000000000000000000000000ea0000002f0000005000000090000000e0000000542b0000000000002000cc00ea0000002f00000028000000ea0000002f00000001000800000000000000000000000000000000001a0000000000000000000000ffffff00bfffff0000007400ffbf7400489cdf009cdfff000000480074007400ffffbf00dfffff0000489c0074bfff009c480000ffffdf000074bf00df9c4800bf74000048000000bfdf9c0048007400ffdf9c004848480074000000004848009c9c48000101010101010101010101010101010101010101010101010101010101010101010101010101010101010101010101010101010101010101010101010101010101010101010101010101010101010101010101010101010101010101010101010101010101010101010101010101010101010101010101010101010101010101010101010101010101010101010101010101010101010101010101010101010101010101010101010101010101010f1215010102030d0e01010a0b001215010105000000001709010101010101010101010101010101010101010101010101010101010101010101010100000101010101010101010101010101010101010101010101010101010101010101010101010101010101010101010101010101010101010101010101010101010101010101010101010101010101010101010101010101010101010101010101010101010101010101010101010101010101010101010101010101010101010101010101010101010101010101010101010101010101010101010101010101010101010101010101010101010101010c00040101010f170901010607110a0b0401010a0b0004010101010101010101010101010101010101010101010101010101010101010101010101010000010101010101010101010101010101010101010101010101010101010101010101010101010101010101010101010101010101010101010101010101010101010101010101010101010101010101010101010101010101010101010101010101010101010101010101010101010101010101010101010101010101010101010101010101010101010101010101010101010101010101010101010101010101010101010101010101010101010101060711010101051215010102031101010101010a0b00040101010101010101010101010101010101010101010101010101010101010101010101010100000101010101010101010101010101010101010101010101010101010101010101010101010101010101010101010101010101010101010101010101010101010101010101010101010101010101010101010101010101010101010101010101010101010101010101010101010101010101010101010101010101010101010101010101010101010101010101010101010101010101010101010101010101010101010101010101010101010101010a0b0d0e01010c001001010a0b0d0e010101010a0b0004010101010101010101010101010101010101010101010101010101010101010101010101010000010101010101010101010101010101010101010101010101010101010101010101010101010101010101010101010101010101010101010101010101010101010101010101010101010101010101010101010101010101010101010101010101010101010101010101010101010101010101010101010101010101010101010101010101010101010101010101010101010101010101010101010101010101010101010101010101010101010101010f170901010203110101010f1215010101010a0b00040101010101010101010101010101010101010101010101010101010101010101010101010100000101010101010101010101010101010101010101010101010101010101010101010101010101010101010101010101010101010101010101010101010101010101010101010101010101010101010101010101010101010101010101010101010101010101010101010101010101010101010101010101010101010101010101010101010101010101010101010101010101010101010101010101010101010101010101010101010101010101010105000401010a0b0d0e01010c0004010101010a0b0004010101010101010101010101010101010101010101010101010101010101010101010101010000010101010101010101010101010101010101010101010101010101010101010101010101010101010101010101010101010101010101010101010101010101010101010101010101010101010101010101010101010101010101010101010101010101010101010101010101010101010101010101010101010101010101010101010101010101010101010101010101010101010101010101010101010101010101010101010101010101010101010607110101010f00040101060711010101010a0b000401010101010101010101010101010101010101010101010101010101010101010101010101000001010101010101010101010101010101010101010101010101010101010101010101010101010101010101010101010101010101010101010101010101010101010101010101010101010101010101010101010101010101010101010101010101010101010101010101010101010101010101010101010101010101010101010101010101010101010101010101010101010101010101010101010101010101010101010101010101010101010101020316040101050017090102030d0e010a0b0000000401010101010101010101010101010101010101010101010101010101010101010101010101000001010101010101010101010101010101010101010101010101010101010101010101010101010101010101010101010101010101010101010101010101010101010101010101010101010101010101010101010101010101010101010101010101010101010101010101010101010101010101010101010101010101010101010101010101010101010101010101010101010101010101010101010101010101010101010101010101010101010f100203110f11010f1213141502030d0e0101010203000401010101010101010101010101010101010101010101010101010101010101010101010101000001010101010101010101010101010101010101010101010101010101010101010101010101010101010101010101010101010101010101010101010101010101010101010101010101010101010101010101010101010101010101010101010101010101010101010101010101010101010101010101010101010101010101010101010101010101010101010101010101010101010101010101010101010101010101010101010101010101010105000004010c00000d0e0a0b0000040101010101010101010101010101010101010101010101010101010101010101010101010101010101010101010000010101010101010101010101010101010101010101010101010101010101010101010101010101010101010101010101010101010101010101010101010101010101010101010101010101010101010101010101010101010101010101010101010101010101010101010101010101010101010101010101010101010101010101010101010101010101010101010101010101010101010101010101010101010101010101010101010101010101010101010101010101010101010101010101010101010101010101010101010101010101010101010101010101010101010101010101010101010101000001010101010101010101010101010101010101010101010101010101010101010101010101010101010101010101010101010101010101010101010101010101010101010101010101010101010101010101010101010101010101010101010101010101010101010101010101010101010101010101010101010101010101010101010101010101010101010101010101010101010101010101010101010101010101010101010101010101010101010101010101010101010101010101010101010101010101010101010101010101010101010101010101010101010101010101010101010101010100000101010101010101010101010101010101010101010101010101010101010101010101010101010101010101010101010101010101010101010101010101010101010101010101010101010101010101010101010101010101010101010101010101010101010101010101010101010101010101010101010101010101010101010101010101010101010101010101010101010101010101010101010101010101010101010101010101010101010101010101010101010101010101010101010101010101010101010101010101010101010101010101010101010101010101010101010101010101010000010101010101010101010101010101010101010101010101010101010101010101010101010101010101010101010101010101010101010101010101010101010101010101010101010101010101010101010101010101010101010101010101010101010101010101010101010101010101010101010101010101010101010101010101010101010101010101010101010101010101010101010101010101010101010101010101010101010101010101010101010101010101010101010101010101010101010101010101010101010101010101010101010101010101010101010101010101010101000001010101010101010101010101010101010101010101010101010101010101010101010101010101010101010101010101010101010101010101010101010101010101010101010101010101010101010101010101010101010101010101010101010101010101010101010101010101010101010101010a0b0000121501010f0000000d0e01010101010101010101010101010101010101010101010101010101010101010101010101010101010101010101010101010101010101010101010101010101010101010101010101010101010101010101010101010101010101010101010101010101010000010101010101010101010101010101010101010101010101010101010101010101010101010101010101010101010101010101010101010101010101010101010101010101010101010101010101010101010101010101010101010101010101010101010101010101010101010101010101010101010101010500040101010a0b001101010101010101010101010101010101010101010101010101010101010101010101010101010101010101010101010101010101010101010101010101010101010101010101010101010101010101010101010101010101010101010101010101010101010101000001010101010101010101010101010101010101010101010101010101010101010101010101010101010101010101010101010101010101010101010101010101010101010101010101010101010101010101010101010101010101010101010101010101010101010101010101010101010101010101010101010f1101010106070d0e0101010101010101010101010101010101010101010101010101010101010101010101010101010101010101010101010101010101010101010101010101010101010101010101010101010101010101010101010101010101010101010101010101010101010100000101010101010101010101010101010101010101010101010101010101010101010101010101010101010101010101010101010101010101010101010101010101010101010101010101010101010101010101010101010101010101010101010101010101010101010101010101010101010101010101010101020304010a0b0004010101010101010101000000000000010101010101010101010101010101010101010101010101010101010101010101010101010101010101010101010101010101010101010101010101010101010101010101010101010101010101010101010101010101010100000101010101010101010101010101010101010101010101010101010101010101010101010101010101010101010101010101010101010101010101010101010101010101010101010101010101010101010101010101010101010101010101010101010101010101010101010101010101010101010101010101010c0d0e0c001101010101010101010101010101010101010101010101010101010101010101010101010101010101010101010101010101010101010101010101010101010101010101010101010101010101010101010101010101010101010101010101010101010101010101010100000101010101010101010101010101010101010101010101010101010101010101010101010101010101010101010101010101010101010101010101010101010101010101010101010101010101010101010101010101010101010101010101010101010101010101010101010101010101010101010101010101010a0b190317090101010101010101010101010101010101010101010000000000000000000000000000000000000000000000000000000000000000000000000000000000000000000000000000000000000000000000000000000000000000000000000101010101010101010101010000010101010101010101010101010101010101010101010101010101010101010101010101010101010101010101010101010101010101010101010101010101010101010101010101010101010101010101010101010101010101010101010101010101010101010101010101010101010101010101010101010101010607001001010101010101010101010000000000000101010101010101010101010101010101010101010101010101010101010101010101010101010101010101010101010101010101010101010101010101010101010101010101010101010101010101010101010101010101000001010101010101010101010101010101010101010101010101010101010101010101010101010101010101010101010101010101010101010101010101010101010101010101010101010101010101010101010101010101010101010101010101010101010101010101010101010101010101010101010101010101060717090101010101010101010101010101010101010101010101010101010101010101010101010101010101010101010101010101010101010101010101010101010101010101010101010101010101010101010101010101010101010101010101010101010101010101010100000101010101010101010101010101010101010101010101010101010101010101010101010101010101010101010101010101010101010101010101010101010101010101010101010101010101010101010101010101010101010101010101010101010101010101010101010101010101010101010101010101010a0b121811010101010101010101010101010101010101010101010101010101010101010101010101010101010101010101010101010101010101010101010101010101010101010101010101010101010101010101010101010101010101010101010101010101010101010101010000010101010101010101010101010101010101010101010101010101010101010101010101010101010101010101010101010101010101010101010101010101010101010101010101010101010101010101010101010101010101010101010101010101010101010101010101010101010101010101010101010101050011020304010101010101010101010101010101010101010101010101010101010101010101010101010101010101010101010101010101010101010101010101010101010101010101010101010101010101010101010101010101010101010101010101010101010101010101000001010101010101010101010101010101010101010101010101010101010101010101010101010101010101010101010101010101010101010101010101010101010101010101010101010101010101010101010101010101010101010101010101010101010101010101010101010101010101010101010101010203170901050d0e0101010101010101010101010101010101010101010101010101010101010101010101010101010101010101010101010101010101010101010101010101010101010101010101010101010101010101010101010101010101010101010101010101010101010101000001010101010101010101010101010101010101010101010101010101010101010101010101010101010101010101010101010101010101010101010101010101010101010101010101010101010101010101010101010101010101010101010101010101010101010101010101010101010101010101010101010f001001010a0b1001010101010101010101010101010101010101010101010101010101010101010101010101010101010101010101010101010101010101010101010101010101010101010101010101010101010101010101010101010101010101010101010101010101010101010000010101010101010101010101010101010101010101010101010101010101010101010101010101010101010101010101010101010101010101010101010101010101010101010101010101010101010101010101010101010101010101010101010101010101010101010101010101010101010101010101010c0017090101010500040101010101010101010101010101010101010101010101010101010101010101010101010101010101010101010101010101010101010101010101010101010101010101010101010101010101010101010101010101010101010101010101010101010101010100000101010101010101010101010101010101010101010101010101010101010101010101010101010101010101010101010101010101010101010101010101010101010101010101010101010101010101010101010101010101010101010101010101010101010101010101010101010101010101010101010c0000001709010c000000100101010101010101010101010101010101010101010101010101010101010101010101010101010101010101010101010101010101010101010101010101010101010101010101010101010101010101010101010101010101010101010101010101010101010000010101010101010101010101010101010101010101010101010101010101010101010101010101010101010101010101010101010101010101010101010101010101010101010101010101010101010101010101010101010101010101010101010101010101010101010101010101010101010101010101010101010101010101010101010101010101010101010101010101010101010101010101010101010101010101010101010101010101010101010101010101010101010101010101010101010101010101010101010101010101010101010101010101010101010101010101010101010101000001010101010101010101010101010101010101010101010101010101010101010101010101010101010101010101010101010101010101010101010101010101010101010101010101010101010101010101010101010101010101018408000026060f00fe10574d4643010000000000010000000000000002000000dc10000000000000dc300000010101010101010101010101010101010101010101010101010101010101010101010101010101010101010101010101010101010101010101010101010101010101010101010101010101010101010101010101010101010101010101010101010101010101010101010101010101010101010101010101010101010101010101010101010101010101010101010000010101010101010101010101010101010101010101010101010101010101010101010101010101010101010101010101010101010101010101010101010101010101010101010101010101010101010101010101010101010101010101010101010101010101010101010101010101010101010101010101010101010101010101010101010101010101010101010101010101010101010f1215010102030d0e01010a0b0012150101010f00000000000012150101010101010101010101010101010101010f1215010102030d0e01010a0b0012150106070000000012150101010101010101010101010000010101010101010101010101010101010101010101010101010101010101010101010101010101010101010101010101010101010101010101010101010101010101010101010101010101010101010101010101010101010101010101010101010101010101010101010101010101010101010101010101010101010101010101010101010101010101010101010101010101010101010c00040101010f170901010607110a0b04010101010a0b00040101010101010101010101010101010101010101010c00040101010f170901010607110a0b0401050004010512150101010101010101010101010000010101010101010101010101010101010101010101010101010101010101010101010101010101010101010101010101010101010101010101010101010101010101010101010101010101010101010101010101010101010101010101010101010101010101010101010101010101010101010101010101010101010101010101010101010101010101010101010101010101010101010607110101010512150101020311010101010101010a0b00040101010101010101010101010101010101010101010607110101010512150101020311010101010a0b12150101010101010101010101010101010000010101010101010101010101010101010101010101010101010101010101010101010101010101010101010101010101010101010101010101010101010101010101010101010101010101010101010101010101010101010101010101010101010101010101010101010101010101010101010101010101010101010101010101010101010101010101010101010101010101010101010a0b0d0e01010c001001010a0b0d0e0101010101010a0b00040101010101010101010101010101010101010101010a0b0d0e01010c001001010a0b0d0e010101010a0b12150101010101010101010101010101000001010101010101010101010101010101010101010101010101010101010101010101010101010101010101010101010101010101010101010101010101010101010101010101010101010101010101010101010101010101010101010101010101010101010101010101010101010101010101010101010101010101010101010101010101010101010101010101010101010101010101010f170901010203110101010f12150101010101010a0b0004010101010101010101050000000000170901010101010f170901010203110101010f1215010101010102031709010101010101010101010101010000010101010101010101010101010101010101010101010101010101010101010101010101010101010101010101010101010101010101010101010101010101010101010101010101010101010101010101010101010101010101010101010101010101010101010101010101010101010101010101010101010101010101010101010101010101010101010101010101010101010101010105000401010a0b0d0e01010c00040101010101010a0b00040101010101010101010101010101010101010101010105000401010a0b0d0e01010c00040101010101010c000d0e010101010101010101010101000001010101010101010101010101010101010101010101010101010101010101010101010101010101010101010101010101010101010101010101010101010101010101010101010101010101010101010101010101010101010101010101010101010101010101010101010101010101010101010101010101010101010101010101010101010101010101010101010101010101010101010607110101010f000401010607110101010101010a0b0004010101010101010101010101010101010101010101010607110101010f000401010607110101010101010607170901010101010101010101010100000101010101010101010101010101010101010101010101010101010101010101010101010101010101010101010101010101010101010101010101010101010101010101010101010101010101010101010101010101010101010101010101010101010101010101010101010101010101010101010101010101010101010101010101010101010101010101010101010101010101010101020316040101050017090102030d0e01010101010a0b000401010101010101010101010101010101010101010101020316040101050017090102030d0e01020317090500170901010101010101010101010100000101010101010101010101010101010101010101010101010101010101010101010101010101010101010101010101010101010101010101010101010101010101010101010101010101010101010101010101010101010101010101010101010101010101010101010101010101010101010101010101010101010101010101010101010101010101010101010101010101010101010f100203110f11010f1213141502030d0e01010101010a0b000401010101010101010101010101010101010101010f100203110f11010f1213141502030d0e01010203000000040101010101010101010101010100000101010101010101010101010101010101010101010101010101010101010101010101010101010101010101010101010101010101010101010101010101010101010101010101010101010101010101010101010101010101010101010101010101010101010101010101010101010101010101010101010101010101010101010101010101010101010101010101010101010101010105000004010c00000d0e0a0b0000040101010101010a0b000401010101010101010101010101010101010101010105000004010c00000d0e0a0b000004010101010101010101010101010101010101010101010000010101010101010101010101010101010101010101010101010101010101010101010101010101010101010101010101010101010101010101010101010101010101010101010101010101010101010101010101010101010101010101010101010101010101010101010101010101010101010101010101010101010101010101010101010101010101010101010101010101010101010101010101010101010101010101010101010208090a0b00040101010101010101010101010101010101010101010101010101010101010101010101010101010101010101010101010101010101010101010100000101010101010101010101010101010101010101010101010101010101010101010101010101010101010101010101010101010101010101010101010101010101010101010101010101010101010101010101010101010101010101010101010101010101010101010101010101010101010101010101010101010101010101010101010101010101010101010101010101010101010101010101010101010101010101010101010101060700000004010101010101010101010101010101010101010101010101010101010101010101010101010101010101010101010101010101010101010101010000010101010101010101010101010101010101010101010101010101010101010101010101010101010101010101010101010101010101010101010101010101010101010101010101010101010101010101010101010101010101010101010101010101010101010101010101010101010101010101010101010101010101010101010101010101010101010101010101010101010101010101010101010101010101010101010101010101010500000401010101010101010101010101010101010101010101010101010101010101010101010101010101010101010101010101010101010101010101000001010101010101010101010101010101010101010101010101010101010101010101010101010101010101010101010101010101010101010101010101010101010101010101010101010101010101010101010101010101010101010101010101010101010101010101010101010101010101010101010101010101010101010101010101010101010101010101010101010101010101010101010101010101010101010101010101010101010203040101010101010101010101010101010101010101010101010101010101010101010101010101010101010101010101010101010101010101010100000101010101010101010101010101010101010101010101010101010101010101010101010101010101010101010101010101010101010101010101010101010101010101010101010101010101010101010101010101010101010101010101010101010101010101010101010101010101010101010101010101010101010101010101010101010101010101010101010101010101010101010101010101010101010101010101010101010101010101010101010101010101010101010101010101010101010101010101010101010101010101010101010101010101010101010101010101010101010000010101010101010101010101010101010101010101010101010101010101010101010101010101010101010101010101010101010101010101010101010101010101010101010101010101010101010101010101010101010101010101010101010101010101010101010101010101010101010101010101010101010101010101010101010101010101010101010101010101010101010101010101010101010101010101010101010101010101010101010101010101010101010101010101010101010101010101010101010101010101010101010101010101010101010101010101010101010101000001010101010101010101010101010101010101010101010101010101010101010101010101010101010101010101010101010101010101010101010101010101010101010101010101010101010101010101010101010101010101010101010101010101010101010101010101010101010101010101010101010101010101010101010101010101010101010101010101010101010101010101010101010101010101010101010101010101010101010101010101010101010101010101010101010101010101010101010101010101010101010101010101010101010101010101010101010101010100004c000000640000000000000000000000e90000002e0000000000000000000000ea0000002f0000002900aa0000000000000000000000803f00000000000000000000803f0000000000000000000000000000000000000000000000000000000000000000220000000c000000ffffffff460000001c00000010000000454d462b024000000c000000000000000e000000140000000000000010000000140000000400000003010800050000000b0200000000050000000c022f00ea00030000001e0004000000070104000400000007010400ff150000410b2000cc002f00ea00000000002f00ea000000000028000000ea0000002f00000001000800000000000000000000000000000000001a0000000000000000000000ffffff00bfffff0000007400ffbf7400489cdf009cdfff000000480074007400ffffbf00dfffff0000489c0074bfff009c480000ffffdf000074bf00df9c4800bf74000048000000bfdf9c0048007400ffdf9c004848480074000000004848009c9c48000101010101010101010101010101010101010101010101010101010101010101010101010101010101010101010101010101010101010101010101010101010101010101010101010101010101010101010101010101010101010101010101010101010101010101010101010101010101010101010101010101010101010101010101010101010101010101010101010101010101010101010101010101010101010101010101010101010101010f1215010102030d0e01010a0b001215010105000000001709010101010101010101010101010101010101010101010101010101010101010101010100000101010101010101010101010101010101010101010101010101010101010101010101010101010101010101010101010101010101010101010101010101010101010101010101010101010101010101010101010101010101010101010101010101010101010101010101010101010101010101010101010101010101010101010101010101010101010101010101010101010101010101010101010101010101010101010101010101010101010c00040101010f170901010607110a0b0401010a0b0004010101010101010101010101010101010101010101010101010101010101010101010101010000010101010101010101010101010101010101010101010101010101010101010101010101010101010101010101010101010101010101010101010101010101010101010101010101010101010101010101010101010101010101010101010101010101010101010101010101010101010101010101010101010101010101010101010101010101010101010101010101010101010101010101010101010101010101010101010101010101010101060711010101051215010102031101010101010a0b00040101010101010101010101010101010101010101010101010101010101010101010101010100000101010101010101010101010101010101010101010101010101010101010101010101010101010101010101010101010101010101010101010101010101010101010101010101010101010101010101010101010101010101010101010101010101010101010101010101010101010101010101010101010101010101010101010101010101010101010101010101010101010101010101010101010101010101010101010101010101010101010a0b0d0e01010c001001010a0b0d0e010101010a0b0004010101010101010101010101010101010101010101010101010101010101010101010101010000010101010101010101010101010101010101010101010101010101010101010101010101010101010101010101010101010101010101010101010101010101010101010101010101010101010101010101010101010101010101010101010101010101010101010101010101010101010101010101010101010101010101010101010101010101010101010101010101010101010101010101010101010101010101010101010101010101010101010f170901010203110101010f1215010101010a0b00040101010101010101010101010101010101010101010101010101010101010101010101010100000101010101010101010101010101010101010101010101010101010101010101010101010101010101010101010101010101010101010101010101010101010101010101010101010101010101010101010101010101010101010101010101010101010101010101010101010101010101010101010101010101010101010101010101010101010101010101010101010101010101010101010101010101010101010101010101010101010101010105000401010a0b0d0e01010c0004010101010a0b0004010101010101010101010101010101010101010101010101010101010101010101010101010000010101010101010101010101010101010101010101010101010101010101010101010101010101010101010101010101010101010101010101010101010101010101010101010101010101010101010101010101010101010101010101010101010101010101010101010101010101010101010101010101010101010101010101010101010101010101010101010101010101010101010101010101010101010101010101010101010101010101010607110101010f00040101060711010101010a0b000401010101010101010101010101010101010101010101010101010101010101010101010101000001010101010101010101010101010101010101010101010101010101010101010101010101010101010101010101010101010101010101010101010101010101010101010101010101010101010101010101010101010101010101010101010101010101010101010101010101010101010101010101010101010101010101010101010101010101010101010101010101010101010101010101010101010101010101010101010101010101010101020316040101050017090102030d0e010a0b0000000401010101010101010101010101010101010101010101010101010101010101010101010101000001010101010101010101010101010101010101010101010101010101010101010101010101010101010101010101010101010101010101010101010101010101010101010101010101010101010101010101010101010101010101010101010101010101010101010101010101010101010101010101010101010101010101010101010101010101010101010101010101010101010101010101010101010101010101010101010101010101010f100203110f11010f1213141502030d0e0101010203000401010101010101010101010101010101010101010101010101010101010101010101010101000001010101010101010101010101010101010101010101010101010101010101010101010101010101010101010101010101010101010101010101010101010101010101010101010101010101010101010101010101010101010101010101010101010101010101010101010101010101010101010101010101010101010101010101010101010101010101010101010101010101010101010101010101010101010101010101010101010101010105000004010c00000d0e0a0b0000040101010101010101010101010101010101010101010101010101010101010101010101010101010101010101010000010101010101010101010101010101010101010101010101010101010101010101010101010101010101010101010101010101010101010101010101010101010101010101010101010101010101010101010101010101010101010101010101010101010101010101010101010101010101010101010101010101010101010101010101010101010101010101010101010101010101010101010101010101010101010101010101010101010101010101010101010101010101010101010101010101010101010101010101010101010101010101010101010101010101010101010101010101010101000001010101010101010101010101010101010101010101010101010101010101010101010101010101010101010101010101010101010101010101010101010101010101010101010101010101010101010101010101010101010101010101010101010101010101010101010101010101010101010101010101010101010101010101010101010101010101010101010101010101010101010101010101010101010101010101010101010101010101010101010101010101010101010101010101010101010101010101010101010101010101010101010101010101010101010101010101010101010100000101010101010101010101010101010101010101010101010101010101010101010101010101010101010101010101010101010101010101010101010101010101010101010101010101010101010101010101010101010101010101010101010101010101010101010101010101010101010101010101010101010101010101010101010101010101010101010101010101010101010101010101010101010101010101010101010101010101010101010101010101010101010101010101010101010101010101010101010101010101010101010101010101010101010101010101010101010101010000010101010101010101010101010101010101010101010101010101010101010101010101010101010101010101010101010101010101010101010101010101010101010101010101010101010101010101010101010101010101010101010101010101010101010101010101010101010101010101010101010101010101010101010101010101010101010101010101010101010101010101010101010101010101010101010101010101010101010101010101010101010101010101010101010101010101010101010101010101010101010101010101010101010101010101010101010101010101000001010101010101010101010101010101010101010101010101010101010101010101010101010101010101010101010101010101010101010101010101010101010101010101010101010101010101010101010101010101010101010101010101010101010101010101010101010101010101010101010a0b0000121501010f0000000d0e01010101010101010101010101010101010101010101010101010101010101010101010101010101010101010101010101010101010101010101010101010101010101010101010101010101010101010101010101010101010101010101010101010101010000010101010101010101010101010101010101010101010101010101010101010101010101010101010101010101010101010101010101010101010101010101010101010101010101010101010101010101010101010101010101010101010101010101010101010101010101010101010101010101010101010500040101010a0b001101010101010101010101010101010101010101010101010101010101010101010101010101010101010101010101010101010101010101010101010101010101010101010101010101010101010101010101010101010101010101010101010101010101010101000001010101010101010101010101010101010101010101010101010101010101010101010101010101010101010101010101010101010101010101010101010101010101010101010101010101010101010101010101010101010101010101010101010101010101010101010101010101010101010101010101010f1101010106070d0e0101010101010101010101010101010101010101010101010101010101010101010101010101010101010101010101010101010101010101010101010101010101010101010101010101010101010101010101010101010101010101010101010101010101010100000101010101010101010101010101010101010101010101010101010101010101010101010101010101010101010101010101010101010101010101010101010101010101010101010101010101010101010101010101010101010101010101010101010101010101010101010101010101010101010101010101020304010a0b0004010101010101010101000000000000010101010101010101010101010101010101010101010101010101010101010101010101010101010101010101010101010101010101010101010101010101010101010101010101010101010101010101010101010101010100000101010101010101010101010101010101010101010101010101010101010101010101010101010101010101010101010101010101010101010101010101010101010101010101010101010101010101010101010101010101010101010101010101010101010101010101010101010101010101010101010101010c0d0e0c001101010101010101010101010101010101010101010101010101010101010101010101010101010101010101010101010101010101010101010101010101010101010101010101010101010101010101010101010101010101010101010101010101010101010101010100000101010101010101010101010101010101010101010101010101010101010101010101010101010101010101010101010101010101010101010101010101010101010101010101010101010101010101010101010101010101010101010101010101010101010101010101010101010101010101010101010101010a0b190317090101010101010101010101010101010101010101010000000000000000000000000000000000000000000000000000000000000000000000000000000000000000000000000000000000000000000000000000000000000000000000000101010101010101010101010000010101010101010101010101010101010101010101010101010101010101010101010101010101010101010101010101010101010101010101010101010101010101010101010101010101010101010101010101010101010101010101010101010101010101010101010101010101010101010101010101010101010607001001010101010101010101010000000000000101010101010101010101010101010101010101010101010101010101010101010101010101010101010101010101010101010101010101010101010101010101010101010101010101010101010101010101010101010101000001010101010101010101010101010101010101010101010101010101010101010101010101010101010101010101010101010101010101010101010101010101010101010101010101010101010101010101010101010101010101010101010101010101010101010101010101010101010101010101010101010101060717090101010101010101010101010101010101010101010101010101010101010101010101010101010101010101010101010101010101010101010101010101010101010101010101010101010101010101010101010101010101010101010101010101010101010101010100000101010101010101010101010101010101010101010101010101010101010101010101010101010101010101010101010101010101010101010101010101010101010101010101010101010101010101010101010101010101010101010101010101010101010101010101010101010101010101010101010101010a0b121811010101010101010101010101010101010101010101010101010101010101010101010101010101010101010101010101010101010101010101010101010101010101010101010101010101010101010101010101010101010101010101010101010101010101010101010000010101010101010101010101010101010101010101010101010101010101010101010101010101010101010101010101010101010101010101010101010101010101010101010101010101010101010101010101010101010101010101010101010101010101010101010101010101010101010101010101010101050011020304010101010101010101010101010101010101010101010101010101010101010101010101010101010101010101010101010101010101010101010101010101010101010101010101010101010101010101010101010101010101010101010101010101010101010101000001010101010101010101010101010101010101010101010101010101010101010101010101010101010101010101010101010101010101010101010101010101010101010101010101010101010101010101010101010101010101010101010101010101010101010101010101010101010101010101010101010203170901050d0e0101010101010101010101010101010101010101010101010101010101010101010101010101010101010101010101010101010101010101010101010101010101010101010101010101010101010101010101010101010101010101010101010101010101010101000001010101010101010101010101010101010101010101010101010101010101010101010101010101010101010101010101010101010101010101010101010101010101010101010101010101010101010101010101010101010101010101010101010101010101010101010101010101010101010101010101010f001001010a0b1001010101010101010101010101010101010101010101010101010101010101010101010101010101010101010101010101010101010101010101010101010101010101010101010101010101010101010101010101010101010101010101010101010101010101010000010101010101010101010101010101010101010101010101010101010101010101010101010101010101010101010101010101010101010101010101010101010101010101010101010101010101010101010101010101010101010101010101010101010101010101010101010101010101010101010101010c0017090101010500040101010101010101010101010101010101010101010101010101010101010101010101010101010101010101010101010101010101010101010101010101010101010101010101010101010101010101010101010101010101010101010101010101010101010100000101010101010101010101010101010101010101010101010101010101010101010101010101010101010101010101010101010101010101010101010101010101010101010101010101010101010101010101010101010101010101010101010101010101010101010101010101010101010101010101010c0000001709010c00000010010101010101010101010101010101010101010101010101010101010101010101010101010101010101010101010101010101010101010101010101010101010101010101010101010101010101010101010101010101010101010101010101010101010101000001010101010101010101010101010101010101010101010101010101010101010101010101010101010101010101010101010101010101010101010101010101010101010101010101010101010101010101010101010101010101010101010101010101010101010101010101010101010101010101010101010101010101010101010101010101010101010101010101010101010101010101010101010101010101010101010101010101010101010101010101010101010101010101010101010101010101010101010101010101010101010101010101010101010101010101010101010101010100000101010101010101010101010101010101010101010101010101010101010101010101010101010101010101010101010101010101010101010101010101010101010101010101010101010101010101010101010101010101010101010101010101010101010101010101010101010101010101010101010101010101010101010101010101010101010101010101010101010101010101010101010101010101010101010101010101010101010101010101010101010101010101010101010101010101010101010101010101010101010101010101010101010101010101010101010101010101010000010101010101010101010101010101010101010101010101010101010101010101010101010101010101010101010101010101010101010101010101010101010101010101010101010101010101010101010101010101010101010101010101010101010101010101010101010101010101010101010101010101010101010101010101010101010101010101010101010101010101010f1215010102030d0e01010a0b0012150101010f00000000000012150101010101010101010101010101010101010f1215010102030d0e01010a0b0012150106070000000012150101010101010101010101010000010101010101010101010101010101010101010101010101010101010101010101010101010101010101010101010101010101010101010101010101010101010101010101010101010101010101010101010101010101010101010101010101010101010101010101010101010101010101010101010101010101010101010101010101010101010101010101010101010101010101010c00040101010f170901010607110a0b04010101010a0b00040101010101010101010101010101010101010101010c00040101010f170901010607110a0b0401050004010512150101010101010101010101010000010101010101010101010101010101010101010101010101010101010101010101010101010101010101010101010101010101010101010101010101010101010101010101010101010101010101010101010101010101010101010101010101010101010101010101010101010101010101010101010101010101010101010101010101010101010101010101010101010101010101010607110101010512150101020311010101010101010a0b00040101010101010101010101010101010101010101010607110101010512150101020311010101010a0b12150101010101010101010101010101010000010101010101010101010101010101010101010101010101010101010101010101010101010101010101010101010101010101010101010101010101010101010101010101010101010101010101010101010101010101010101010101010101010101010101010101010101010101010101010101010101010101010101010101010101010101010101010101010101010101010101010a0b0d0e01010c001001010a0b0d0e0101010101010a0b00040101010101010101010101010101010101010101010a0b0d0e01010c001001010a0b0d0e010101010a0b12150101010101010101010101010101000001010101010101010101010101010101010101010101010101010101010101010101010101010101010101010101010101010101010101010101010101010101010101010101010101010101010101010101010101010101010101010101010101010101010101010101010101010101010101010101010101010101010101010101010101010101010101010101010101010101010101010f170901010203110101010f12150101010101010a0b0004010101010101010101050000000000170901010101010f170901010203110101010f1215010101010102031709010101010101010101010101010000010101010101010101010101010101010101010101010101010101010101010101010101010101010101010101010101010101010101010101010101010101010101010101010101010101010101010101010101010101010101010101010101010101010101010101010101010101010101010101010101010101010101010101010101010101010101010101010101010101010101010105000401010a0b0d0e01010c00040101010101010a0b00040101010101010101010101010101010101010101010105000401010a0b0d0e01010c00040101010101010c000d0e010101010101010101010101000001010101010101010101010101010101010101010101010101010101010101010101010101010101010101010101010101010101010101010101010101010101010101010101010101010101010101010101010101010101010101010101010101010101010101010101010101010101010101010101010101010101010101010101010101010101010101010101010101010101010101010607110101010f000401010607110101010101010a0b0004010101010101010101010101010101010101010101010607110101010f000401010607110101010101010607170901010101010101010101010100000101010101010101010101010101010101010101010101010101010101010101010101010101010101010101010101010101010101010101010101010101010101010101010101010101010101010101010101010101010101010101010101010101010101010101010101010101010101010101010101010101010101010101010101010101010101010101010101010101010101010101020316040101050017090102030d0e01010101010a0b000401010101010101010101010101010101010101010101020316040101050017090102030d0e01020317090500170901010101010101010101010100000101010101010101010101010101010101010101010101010101010101010101010101010101010101010101010101010101010101010101010101010101010101010101010101010101010101010101010101010101010101010101010101010101010101010101010101010101010101010101010101010101010101010101010101010101010101010101010101010101010101010f100203110f11010f1213141502030d0e01010101010a0b000401010101010101010101010101010101010101010f100203110f11010f1213141502030d0e01010203000000040101010101010101010101010100000101010101010101010101010101010101010101010101010101010101010101010101010101010101010101010101010101010101010101010101010101010101010101010101010101010101010101010101010101010101010101010101010101010101010101010101010101010101010101010101010101010101010101010101010101010101010101010101010101010101010105000004010c00000d0e0a0b0000040101010101010a0b000401010101010101010101010101010101010101010105000004010c00000d0e0a0b000004010101010101010101010101010101010101010101010000010101010101010101010101010101010101010101010101010101010101010101010101010101010101010101010101010101010101010101010101010101010101010101010101010101010101010101010101010101010101010101010101010101010101010101010101010101010101010101010101010101010101010101010101010101010101010101010101010101010101010101010101010101010101010101010101010208090a0b00040101010101010101010101010101010101010101010101010101010101010101010101010101010101010101010101010101010101010101010100000101010101010101010101010101010101010101010101010101010101010101010101010101010101010101010101010101010101010101010101010101010101010101010101010101010101010101010101010101010101010101010101010101010101010101010101010101010101010101010101010101010101010101010101010101010101010101010101010101010101010101010101010101010101010101010101010101060700000004010101010101010101010101010101010101010101010101010101010101010101010101010101010101010101010101010101010101010101010000010101010101010101010101010101010101010101010101010101010101010101010101010101010101010101010101010101010101010101010101010101010101010101010101010101010101010101010101010101010101010101010101010101010101010101010101010101010101010101010101010101010101010101010101010101010101010101010101010101010101010101010101010101010101010101010101010101010500000401010101010101010101010101010101010101010101010101010101010101010101010101010101010101010101010101010101010101010101000001010101010101010101010101010101010101010101010101010101010101010101010101010101010101010101010101010101010101010101010101010101010101010101010101010101010101010101010101010101010101010101010101010101010101010101010101010101010101010101010101010101010101010101010101010101010101010101010101010101010101010101010101010101010101010101010101010101010203040101010101010101010101010101010101010101010101010101010101010101010101010101010101010101010101010101010101010101010100000101010101010101010101010101010101010101010101010101010101010101010101010101010101010101010101010101010101010101010101010101010101010101010101010101010101010101010101010101010101010101010101010101010101010101010101010101010101010101010101010101010101010101010101010101010101010101010101010101010101010101010101010101010101010101010101010101010101010101010101010101010101010101010101010101010101010101010101010101010101010101010101010101010101010101010101010101010101010000010101010101010101010101010101010101010101010101010101010101010101010101010101010101010101010101010101010101010101010101010101010101010101010101010101010101010101010101010101010101010101010101010101010101010101010101010101010101010101010101010101010101010101010101010101010101010101010101010101010101010101010101010101010101010101010101010101010101010101010101010101010101010101010101010101010101010101010101010101010101010101010101010101010101010101010101010101010101000001010101010101010101010101010101010101010101010101010101010101010101010101010101010101010101010101010101010101010101010101010101010101010101010101010101010101010101010101010101010101010101010101010101010101010101010101010101010101010101010101010101010101010101010101010101010101010101010101010101010101010101010101010101010101010101010101010101010101010101010101010101010101010101010101010101010101010101010101010101010101010101010101010101010101010101010101010101010100000c00000040092900aa000000000000002f00ea0000000000040000002701ffff030000000000100,
где m1, m2- масса навески муки до и после высушивания. За окончательный результат анализа принимают средний арифметический результатов двух параллельных определений.
Определение засоренности зерна. Определение проводят по ГОСТ 9353-85. Навеску массой 50 грамм просеивают через сито диаметром 1 мм и разбирают ее на основное зерно, сорную и зерновую примесь. К основному зерну относят - целые и поврежденные зерна, по характеру повреждений, не относящиеся к сорной и зерновой примесям. 50% массы битых и изъеденных зерен не зависимо от характера и размера повреждений,а также зерна семена партии низких классов других зерновых и зернобобовых культур, не отнесенные к сорной и зерновой примесям. К сорной примеси относят - весь проход через сита с отверстиями диаметром 1 мм., в остаток на сите: минеральную примесь, органическую примесь семена всех дикорастущих растений; семена культурных растений, не отнесенных к зерновой примеси; зерна с явно испорченной эндоспермом; вредную примесь. К зерновой примеси относят примеси, которые по своим свойствам и составу не могут быть использованы вместе с зерном основной культуры. Нормальные и частично поврежденные зерна основной культуры и других культурных растений, которые по своей ценности близки к основному зерну. Зерновая примесь, имея некоторую пищевую и кормовую ценность, в меньшей степени отражается на качестве основного зерна, чем сорная.
Таблица 5. Способы удаления компонентов зерновой примеси.
|
примеси |
Способ удаления |
|
Крупные мелкие(по ширине и толщине) |
Ситовое сепарирование |
|
легкие |
Аэродинамическое воздействие |
|
Укороченные и удлиненные. |
Ячеистое сепарирование |
|
Трудноотделимые. |
Фракционное сепарирование |
|
Металломагнитные. |
Магнитное сепарирование |
Натура зерна – это масса 1л зерна, выраженная в граммах. На величину натуры в состоянии свободного уплотнения влияют: форма и характер поверхности, влажность зерна, его выравненность, характер и количество примесей (ГОСТ 10840-64). Натуру зерна определяют- в литровой пурке с падающим грузом (марки ПХ-1М). Из зерна с высокой натурой получается большой выход муки высшего и первого сортов. Ё12Определение стекловидности ГОСТ 10987-76. Выделяем без выбора 100 зерен, разрезаем лезвием поперек и относим к одной из групп по стекловидности (стекловидное, частично стекловидное, мучнистое). Общую стекловидность вычисляют по формуле:
,
Где Пс – полностью стекловидные
После подсчета стекловидных – С и мунчистых – М зерен, частично стекловидные - Чс определяют по формуле:
Чс = 100- С+М. 0100090000039c03000000007a02000000007a02000026060f00ea04574d464301000000000001009fb20000000001000000c804000000000000c8040000010000006c00000000000000000000007b000000180000000000000000000000af0c00008e02000020454d4600000100c80400000c00000001000000000000000000000000000000900600001a040000b801000013010000000000000000000000000000c0b6060038320400460000002c00000020000000454d462b014001001c000000100000000210c0db010000006000000060000000460000005401000048010000454d462b224004000c000000000000001e4009000c00000000000000244001000c000000000000003040020010000000040000000000803f214007000c0000000000000008400005a0000000940000000210c0db01000000000000000000000000000000000000000100000089504e470d0a1a0a0000000d494844520000007c000000190103000000c9e9d814000000017352474200aece1ce9000000097048597300000ec400000ec401952b0e1b00000003504c5445ffffffa7c41bc80000000e4944415428cf636018054302000001a9000113eb4d0e0000000049454e44ae4260820840010824000000180000000210c0db01000000030000000000000000000000000000001b40000040000000340000000100000002000000000000bf000000bf0000f8420000c84103000000000000b3000000b3fffff742000000b3000000b3ffffc7412100000008000000620000000c00000001000000150000000c00000004000000150000000c00000004000000510000001002000000000000000000007b00000018000000000000000000000000000000000000007c0000001900000050000000300000008000000090010000000000002000cc007c00000019000000280000007c000000190000000100010000000000000000000000000000000000020000000000000000000000ffffff00fffffffffffffffffffffffffffffff0fffffffffffffffffffffffffffffff0fffffffffffffffffffffffffffffff0fffffffffffffffffffffffffffffff0fffffffffffffffffffffffffffffff0fffffffffffffffffffffffffffffff0fffffffffffffffffffffffffffffff0fffffffffffffffffffffffffffffff0fffffffffffffffffffffffffffffff0fffffffffffffffffffffffffffffff0fffffffffffffffffffffffffffffff0fffffffffffffffffffffffffffffff0fffffffffffffffffffffffffffffff0fffffffffffffffffffffffffffffff0fffffffffffffffffffffffffffffff0fffffffffffffffffffffffffffffff0fffffffffffffffffffffffffffffff0fffffffffffffffffffffffffffffff0fffffffffffffffffffffffffffffff0fffffffffffffffffffffffffffffff0fffffffffffffffffffffffffffffff0fffffffffffffffffffffffffffffff0fffffffffffffffffffffffffffffff0fffffffffffffffffffffffffffffff0fffffffffffffffffffffffffffffff04c0000006400000000000000000000007b0000001800000000000000000000007c000000190000002900aa0000000000000000000000803f00000000000000000000803f0000000000000000000000000000000000000000000000000000000000000000220000000c000000ffffffff460000001c00000010000000454d462b024000000c000000000000000e000000140000000000000010000000140000000400000003010800050000000b0200000000050000000c0219007c00030000001e0004000000070104000400000007010400ed000000410b2000cc0019007c000000000019007c0000000000280000007c000000190000000100010000000000000000000000000000000000020000000000000000000000ffffff00fffffffffffffffffffffffffffffff0fffffffffffffffffffffffffffffff0fffffffffffffffffffffffffffffff0fffffffffffffffffffffffffffffff0fffffffffffffffffffffffffffffff0fffffffffffffffffffffffffffffff0fffffffffffffffffffffffffffffff0fffffffffffffffffffffffffffffff0fffffffffffffffffffffffffffffff0fffffffffffffffffffffffffffffff0fffffffffffffffffffffffffffffff0fffffffffffffffffffffffffffffff0fffffffffffffffffffffffffffffff0fffffffffffffffffffffffffffffff0fffffffffffffffffffffffffffffff0fffffffffffffffffffffffffffffff0fffffffffffffffffffffffffffffff0fffffffffffffffffffffffffffffff0fffffffffffffffffffffffffffffff0fffffffffffffffffffffffffffffff0fffffffffffffffffffffffffffffff0fffffffffffffffffffffffffffffff0fffffffffffffffffffffffffffffff0fffffffffffffffffffffffffffffff0fffffffffffffffffffffffffffffff00c00000040092900aa0000000000000019007c0000000000040000002701ffff030000000000
Определение сырой клейковины в зерне. Для зерна проводят определение количества и качества клейковины по ГОСТ 13586,1-68. Навеску зерна массой 50 грамм, выделяют из зерна, подготовленного к помолу, и размалывают на лабораторной мельнице. Из молотого зерна (шрота) выделяют навеску массой 25 грамм. Воду для замеса берут в количестве 14 см? и температурой (18± 2 ̊̊) С. Шрот смешивают с водой, тщательно замешивают, скатывают в шарик и кладут на отлежку под стекло на 20 минут. Затем отмывают клейковину под слабой струей водопроводной воды, температурой (18± 2 ̊̊) С. Закончив отмывание клейковины, ее сжимают между ладонями, выворачивая несколько раз пальцами. Далее взвешивают на весах с допустимой погрешностью ± 0,01 г. Содержание клейковины Х (%), рассчитывают по формуле:
0100090000039049000000002123000000001610000026060f002220574d4643010000000000010096bf000000000300000000200000f02b0000f04b0000010000006c0000000000000000000000970000007400000000000000000000008c0f0000f70b000020454d4600000100f04b00000c00000001000000000000000000000000000000900600001a040000b801000013010000000000000000000000000000c0b6060038320400460000002c00000020000000454d462b014001001c000000100000000210c0db010000006000000060000000460000001404000008040000454d462b224004000c000000000000001e4009000c00000000000000244001000c000000000000003040020010000000040000000000803f214007000c000000000000000840000560030000540300000210c0db01000000000000000000000000000000000000000100000089504e470d0a1a0a0000000d494844520000009800000075080300000085c6d84f000000017352474200aece1ce9000000097048597300000ec400000ec401952b0e1b00000066504c544500000000004800007400484800489c0074bf48000048004848007448480048489c489c9c489cdf74000074004874007474744874bfff9c48009c48489cbf9c9cdfffbf7400bfbf74bfdf9cbfffffdf9c48dfdf9cdfffffffbf74ffdf9cffffbfffffdfffffff73da8ec6000002694944415478daedd80d4fc2301006e08274880e15942a93eee3ffff49efdab1315a228cd55ce2bbc4f055e993ebf53a4e35422f05d8d4b07aabd47cef9e96999aedfc3b4a6d06a3aaf5f1350d3a8e4f1c317230c73de119ad5a1c083290151dd4aa9c3e9c407605ecfdcdc38a878c488d75b35aa5bb111ca416566fdd90930fd3c1cac74f376bb9fcc8f2eedd93b9abd73d0573d31a73b7b0f787ec77985d7cbbd98c2e4e968f976cb0dc9b764d73f7d2c7382dcc6817065a41d34f576f0731e960c63fba07de24e38157eccabc5a6bde76d59af3a7cdf6e18c51985114e3fe5fa686552f3bce68a3297ff405571456ad673bfe4b05e34d68e65fcb5dd3a7983dab62218c3c65c6b0f391d3c10acd015ae57eb6b82b9afc6536ef77ebf4304a319e8e52a5cbf732cb9b4b305f455c3672c412c2dc5963395665e613b9deba542b9f0e1198af60ae9624ceb13eb18e3bcc2a7f2d62301aa5dbf29f7657daae14d171e88bbd0960ed3b7ea0ed3ea2ccbfe338c7fdd8cd300e3d059c1f725911b33e118ad11b3bd9521a0e95ab57c260aef614a3f775c2e4a7dad3dfb34b82d1d1b6d2c25cbe5cf0792b14362815be908b58cae74bbf1ed4fdd71d30bb384cf1832b41b9d834831b27294b6974d3df6d098a983f8b2864b21653b53ffeccd9ad9f8c7271eb15768084c0820e901cd85907480c2cde0112008b778004c0a21d2011bb32d60112000b3a407c804d7c888dfab6a003240516748084c0c20e5082fb9131df16768084442cec00c980453a405292ff2f2ec000030c30c000030c30c000030c30c000030c30c000030c30c000030c30c000030c30c000030c30c000030c30c000030cb07f05fb016ec6b63b7494df2b0000000049454e44ae42608200000840010824000000180000000210c0db01000000030000000000000000000000000000001b40000040000000340000000100000002000000000000bf000000bf000018430000ea4203000000000000b3000000b3ffff1743000000b3000000b3ffffe9422100000008000000620000000c00000001000000150000000c00000004000000150000000c0000000400000051000000784600000000000000000000970000007400000000000000000000000000000000000000980000007500000050000000b00000000001000078450000000000002000cc0098000000750000002800000098000000750000000100080000000000000000000000000000000000220000000000000000000000ffffff00dfffff0000489c0074000000ffffbf009cdfff000000480048000000ffdf9c00ffbf7400bfffff000000740074bfff009c480000ffffdf00489cdf00df9c480048489c004874740048480000bf7400007400480074bfbf00480048009cbf9c00740074009cdfdf000074bf00480074009cdfbf00004848009c4848009c9c48000101010101010101010101010101010101010101010101010101010101010101010101010101010101010101010101010101010101010101010101010101010101010101010101010101010101010101010101010101010101010101010101010101010101010101010101010101010101010101010101010101010101010101010101010101010101010101010101010101010101010101010101010101010101010101010101010101010101010101010101010101010101010101010101010101010101010101010101010101010101010101010101010101010101010101010101010101010101010101010101010101010101010101010101010101010101010101010101010101010101010101010101010101010101010101010101010101010101010101010101010101010101010101010101010101010101010101010101010101010101010101010101010101010101010101010101010101010101010101010101010101010101010101010101010101010101010101010101010101010101010101010101010101010101010101010101010101010101010101010101010101010101010101010101010101010101010101010101010101010101010101010101010101010101010101010101010101010101010101010101010101010101010101010101010101010101010101010101010101010101010101010101010101010101010101010101010101010101010101010101010101010101010101010101010101010101010101010101010101010101010101010101010101010101010101010101010101010101010101010101010101010101010101010101010101010101010101010101010101010101010101010101010101010101010101010101010101010101010101010101010101010101010101010101010101010101010101010101010101010101010101010101010101010101010101010101010101010101010101010101010101010101010101010101010101010101010101010101010101010101010101010101010101010101010101010101010101010101010101010101010101010101010101010101010101010101010101010101010101010101010101010101010101010101010101010101010101010101010101010101010101010101010101010101010101010101010101010101010101010101010101010101010101010101010101010101010101010101010101010101010101010101010101010101010101010101010101010101010101010101010101010101010101010101010101010101010101010101010101010101010101010101010101010101010101010101010101010101010101010101010101010101010101010101010101010101010101010101010101010101010101010101010101010101010101010101010101010101010101010101010101010101010101010101010101010101010101010101010101010101010101010101010101010101010101010101010101010101010101010101010101010101010101010101010101010101010101010101010101010101010101010101010101010101010101010101010101010101010101010101010101010101010101010101010101010101010101010101010101010101010101010101010101010101010101010101010101010101010101010101010101010101010101010101010101010101010101010101010101010101010101010101010101010101010101010101010101010101010101010101010101010101010101010101010101010101010101010101010101010101010101010101010101010101010101010101010101010101010101010101010101010101010101010101010101010101010101010101010101010101010101010101010101010101010101010101010101010101010101010101010101010101010101010101010101010101010101010101010101010101010101010101010101010101010101010101010101010101010101010101010101010101010101010101010101010101010101010101010101010101010101010101010101010101010101010101010101010101010101010101010101010101010101010101010101010101010101010101010101010101010101010101010101010101010101010101010101010101010101010101010101010101010101010101010101010101010101010101010101010101010101010101010101010101010101010101010101010101010101010101010101010101010101010101010101010101010101010101010101010101010101010101010101010101010101010101010101010101010101010101010101010101010101010101010101010101010101010101010101010101010101010101010101010101010101010101010101010101010101010101010101010101010101010101010101010101010101010101010101010101010101010101010101010101010101010101010101010101010101010101010101010101010101010101010101010101010101010101010101010101010101010101010101010101010101010101010101010101010101010101010101010101010101010101010101010101010101010101010101010101010101010101010101010101010101010101010101010101010101010101010101010101010101010101010101010101010101010101010101010101010101010101010101010101010101010101010101010101010101010101010101010101010101010101010101010101010101010101010101010101010101010101010101010101010101010101010101010101010101010101010101010101010101010101010101010101010101010101010101010101010101010101010101010101010101010101010101010101010101010101010101010101010101010101010101010101010101010101010101010101010101010101010101010101010101010101010101010101010101010101010101010101010101010101010101010101010101010101010101010101010101010101010101010101010101010101010101010101010101010101010101010101010101010101010101010101010101010101010101010101010101010101010101010101010101010101010101010101010101010101010101010101010101010101010101010101010101010101010101010101010101010101010101010101010101010101010101010101010101010101010101010101010101010101010101010101010101010101010101010101010101010101010101010101010101010101010101010101010101010101010101010101010101010101010101010101010101010101010101010101010101010101010101010101010101010101010101010101010101010101010101010101010101010101010101010101010101010101010101010101010101010101010101010101010101010101010101010101010101010101010101010101010101010101010101010101010101010101010101010101010101010101010101010101010101010101010101010101010101010101010101010101010101010101010101010101010101010101010101010101010101010101010101010101010101010101010101010101010101010101010101010101010101010101010101010101010101010101010101010101010101010101010101010101010101010101010101010101010101010101010101010101010101010101010101010101010101010101010101010101010101010101010101010101010101010101010101010101010101010101010101010101010101010101010101010101010101010101010101010101010101010101010101010101010101010101010101010101010101010101010101010101010101010101010101010101010101010101010101010101010101010101010101010101010101010101010101010101010101010101010101010101010101010101010101010101010101010101010101010101010101010101010101010101010101010101010101010101010101010101010101010101010101010101010101010101010101010101010101010101010101010101010101010101010101010101010101010101010101010101010101010101010101010101010101010101010101010101010101010101010101010101010101010101010101010101010101010101010101010101010101010101010101010101010101010101010101010101010101010101010101010101010101010101010101010101010101010101010101010101010101010101010101010101010101010101010101010101010101010101010101010101010101010101010101010101010101010101010101010101010101010101010101010101010101010101010101010101010101010101010101010101010101010101010101010101010101010101010101010101010101010101010101010101010101010101010101010101010101010101010101010101010101010101010101010101010101010101010101010101010101010101010101010101010101010101010101010101010101010101010101010101010101010101010101010101010101010101010101010101010101010101010101010101010101010101010101010101010101010101010101010101010101010101010101010101010101010101010101010101010101010101010101010101010101010101010101010101010101010101010101010101010101010101010101010101010101010101010101010101010101010101010101010101010101010101010101010101010101010101010101010101010101010101010101010101010101010101010101010101010101010101010101010101010101010101010101010101010101010101010101010101010101010101010101010101010101010101010101010101010101010101010101010101010101010101010101010101010101010101010101010101010101010101010101010101010101010101010101010101010101010101010101010101010101010101010101010101010101010101010101010101010101010101010101010101010101010101010101010101010101010101010101010101010101010101010101010101010101010101010101010101010101010101010101010101010101010101010101010101010101010101010101010101010101010101010101010101010101010101010101010101010101010101010101010101010101010101010101010101010101010101010101010101010101010101010101010101010101010101010101010101010101010101010101010101010101010101010101010101010101010101010101010101010101010101010101010101010101010101010101010101010101010101010101010101010101010101010101010101010101010101010101010101010101010101010101010101010101010101010101010101010101010101010101010101010101010101010101010101010101010101010101010101010101010101010101010101010101010101010101010101010101010101010101010101010101010101010101010101010101010101010101010101010101010101010101010101010101010101010101010101010101010101010101010101010101010101010101010101010101010101010101010101010101010101010101010101010101010101010101010101010101010101010101010101010101010101010101010101010101010101010101010101010101010101010101010101010101010101010101010101010101010101010101010101010101010101010101010101010101010101010101010101010101010101010101010101010101010101010101010101010101010101010101010101010101010101010101010101010101010101010101010101010101010101010101010101010101010101010101010101010101010101010101010101010101010101010101010101010101010101010101010101010101010101010101010101010101010101010101010101010101010101010101010101010101010101010101010101010101010101010101010101010101010101010101010101010101010101010101010101010101010101010101010101010101010101010101010101010101010101010101010101010101010101010101010101010101010101010101010101010101010101010101010101010101010101010101010101010101010101010101010101010101010101010101010101010101010101010101010101010101010101010101010101010101010101010101010101010101010101010101010101010101010101010101010101010101010101010101010101010101010101010101010101010101010101010101010101010101010101010101010101010101010101010101010101010101010101010101010101010101010101010101010101010101010101010101010101010101010101010101010101010101010101010101010101010101010101010101010101010101010101010101010101010101010101010101010101010101010101010101010101010101010101010101010101010101010101010101010101010101010101010101010101010101010101010101010101010101010101010101010101010101010101010101010101010101010101010101010101010101010101010101010101010101010101010101010101010101010101010101010101010101010101010101010101010101010101010101010101010101010101010101010101010101010101010101010101010101010101010101010101010101010101010101010101010101010101010101010101010101010101010101010101010101010101010101010101010101010101010101010101010101010101010101010101010101010101010101010101010101010101010101010101010101010101010101010101010101010101010101010101010101010101010101010101010101010101010101010101010101010101010101010101010101010101010101010101010101010101010101010101010101010101010101010101010101010101010101010101010101010101010101010101010101010101010101010101010101010101010101010101010101010101010101010101010101010101010101010101010101010101010101010101010101010101010101010101010101010101010101010101010101010101010101010101010101010101010101010101010101010101010101010101010101010101010101010101010101010101010101010101010101010101010101010101010101010101010101010101010101010101010101010101010101010101010101010101010101010101010101010101010101010101010101010101010101010101010101010101010101010101010101010101010101010101010101010101010101010101010101010101010101010101010101010101010101010101010101010101010101010101010101010101010101010101010101010101010101010101010101010101010101010101010101010101010101010101010101010101010101010101010101010101010101010101010101010101010101010101010101010101010101010101010101010101010101010101010101010101010101010101010101010101010101010101010101010101010101010101010101010101010101010101010101010101010101010101010101010101010101010101010101010101010101010101010101010101010101010101010101010101010101010101010101010101010101010101010101010101010101010101010101010101010101010101010101010101010101010101010101010101010101010101010101010101010101010101010101010101010101010101010101010101010101010101010101010101010101010101010101010101010101010101010101010101010101010101010101010101010101010101010101010101010101010101010101010101010101010101010101010101010101010101010101010101010101010101010101010101010101010101010101010101010101010101010101010101010101010101010101010101010101010101010101010101010101010101010101010101010101010101010101010101010101010101010101010101010101010101010101010101010101010101010101010101010101010101010101010101010101010101010101010101010101010101010101010101010101010101010101010101010101010101010101010101010101010101010101010101010101010101010101010101010101010101010101010101010101010101010101010101010101010101010101010101010101010101010101010101010101010101010101010101010101010101010101010101010101010101010101010101010101010101010101010101010101010101010101010101010101010101010101010101010101010101010101010101010101010101010101010101010101010101010101010101010101010101010101010101010101010101010101010101010101010101010101010101010101010101010101010101010101010101010101010101010101010101010101010101010101010101010101010101010101010101010101010101010101010101010101010101010101010101010101010101010101010101010101010101010101010101010101010101010101010101010101010101010101010101010101010101010101010101010101010101010101010101010101010101010101010101010101010101010101010101010101010101010101010101010101010101010101010101010101010101010101010101010101010101010101010101010101010101010101010101010101010101010101010101010101010101010101010101010101010101010101010101010101010101010101010101010101010101010101010101010101010101010101010101010101010101010101010101010101010101010101010101010101010101010101010101010101010101010101010101010101010101010101010101011610000026060f002220574d464301000000000001000000000000000300000000200000f00b0000f04b0000010101010101010101010101010101010101010101010101010101010101010101010101010101010101010101010101010101010101010101010101010101010101010101010101010101010101010101010101010101010101010101010101010101010101010101010101010101010101010101010101010101010101010101010101010101010101010101010101010101010101010101010101010101010101010101010101010101010101010101010101010101010101010101010101010101010101010101010101010101010101010101010101010101010101010101010101010101010101010101010101010101010101010101010101010101010101010101010101010101010101010101010101010101010101010101010101010101010101010101010101010101010101010101010101010101010101010101010101010101010101010101010101010101010101010101010101010101010101010101010101010101010101010101010101010101010101010101010101010101010101010101010101010101010101010101010101010101010101010101010101010101010101010101010101010101010101010101010101010101010101010101010101010101010101010101010101010101010101010101010101010101010101010101010101010101010101010101010101010101010101010101010101010101010101010101010101010101010101010101010101010101010101010101010101010101010101010101010101010101010101010101010101010101010101010101010101010101010101010101010101010101010101010101010101010101010101010101010101010101010101010101010101010101010101010101010101010101010101010101010101010101010101010101010101010101010101010101010101010101010101010101010101010101010101010101010101010101010101010101010101010101010101010101010101010101010101010101010101010101010101010101010101010101010101010101010101010101010101010101010101010101010101010101010101010101010101010101010101010101010101010101010101010101010101010101010101010101010101010101010101010101010101010101010101010101010101010101010101010101010101010101010101010101010101010101010101010101010101010101010101010101010101010101010101010101010101010101010101010101010101010101010101010101010101010101010101010101010101010101010101010101010101010101010101010101010101010101010101010101010101010101010101010101010101010101010101010101010101010101010101010101010101010101010101010101010101010101010101010101010101010101010101010101010101010101010101010101010101010101010101010101010101010101010101010101010101010101010101010101010101010101010101010101010101010101010101010101010101010101010101010101010101010101010101010101010101010101010101010101010101010101010101010101010101010101010101010101010101010101010101010101010101010101010101010101010101010101010101010101010101010101010101010101010101010101010101010101010101010101010101010101010101010101010101010101010101010101010101010101010101010101010101010101010101010101010101010101010101010101010101010101010101010101010101010101010101010101010101010101010101010101010101010101010101010101010101010101010101010101010101010101010101010101010101010101010101010101010101010101010101010101010101010101010101010101010101010101010101010101010101010101010101010101010101010101010101010101010101010101010101010101010101010101010101010101010101010101010101010101010101010101010101010101010101010101010101010101010101010101010101010101010101010101010101010101010101010101010101010101010101010101010101010101010101010101010101010101010101010101010101010101010101010101010101010101010101010101010101010101010101010101010101010101010101010101010101010101010101010101010101010101010101010101010101010101010101010101010101010101010101010101010101010101010101010101010101010101010101010101010101010101010101010101010101010101010101010101010101010101010101010101010101010101010101010101010101010101010101010101010101010101010101010101010101010101010101010101010101010101010101010101010101010101010101010101010101010101010101010101010101010101010101010101010101010101010101010101010101010101010101010101010101010101010101010101010101010101010101010101010101010101010101010101010101010101010101010101010101010101010101010101010101010101010101010101010101010101010101010101010101010101010101010101010101010101010101010101010101010101010101010101010101010101010101010101010101010101010101010101010101010101010101010101010101010101010101010101010101010101010101010101010101010101010101010101010101010101010101010101010101010101010101010101010101010101010101010101010101010101010101010101010101010101010101010101010101010101010101010101010101010101010101010101010101010101010101010101010101010101010101010101010101010101010101010101010101010101010101010101010101010101010101010101010101010101010101010101010101010101010101010101010101010101010101010101010101010101010101010101010101010101010101010101010101010101010101010101010101010101010101010101010101010101010101010101010101010101010101010101010101010101010101010101010101010101010101010101010101010101010101010101010101010101010101010101010101010101010101010101010101010101010101010101010101010101010101010101010101010101010101010101010101010101010101010101010101010101010101010101010101010101010101010101010101010101010101010101010101010101010101010101010101010101010101010101010101010101010101010101010101010101010101010101010101010101010101010101010101010101010101010101010101010101010101010101010101010101010101010101010101010101010101010101010101010101010101010101010101010101010101010101010101010101010101010101010101010101010101010101010101010101010101010101010101010101010101010101010101010101010101010101010101010101010101010101010101010101010101010101010101010101010101010101010101010101010101010101010101010101010101010101010101010101010101010101010101010101010101010101010101010101010101010101010101010101010101010101010101010101010101010101010101010101010101010101010101010101010101010101010101010101010101010101010101010101010101010101010101010101010101010101010101010101010101010101010101010101010101010101010101010101010101010101010101010101010101010101010101010101010101010101010101010101010101010101010101010101010101010101010101010101010101010101010101010101010101010101010101010101010101010101010101010101010101010101010101010101010101010101010101010101010101010101010101010101010101010101010101010101010101010101010101010101010101010101010101010101010101010101010101010101010101010101010101010101010101010101010101010101010101010101010101010101010101010101010101010101010101010101010101010101010101010101010101010101010101010101010101010101010101010101010101010101010101010101010101010101010101010101010101010101010101010101010101010101010101010101010101010101010101010101010101010101010101010101010101010101010101010101010101010101010101010101010101010101010101010101010101010101010101010101010101010101010101010101010101010101010101010101010101010101010101010101010101010101010101010101010101010101010101010101010101010101010101010101010101010101010101010101010101010101010101010101010101010101010101010101010101010101010101010101010101010101010101010101010101010101010101010101010101010101010101010101010101010101010101010101010101010101010101010101010101010101010101010101010101010101010101010101010101010101010101010101010101010101010101010101010101010101010101010101010101010101010101010101010101010101010101010101010101010101010101010101010101010101010101010101010101010101010101010101010101010101010101010101010101010101010101010101010101010101010101010101010101010101010101010101010101010101010101010101010101010101010101010101010101010101010101010101010101010101010101010101010101010101010101010101010101010101010101010101010101010101010101010101010101010101010101010101010101010101010101010101010101010101010101010101010101010101010101010101010101010101010101010101010101010101010101010101010101010101010101010101010101010101010101010101010101010101010101010101010101010101010101010101010101010101010101010101010101010101010101010101010101010101010101010101010101010101010101010101010101010101010101010101010101010101010101010101010101010101010101010101010101010101010101010101010101010101010101010101010101010101010101010101010101010101010101010101010101010101010101010101010101010101010101010101010101010101010101010101010101010101010101010101010101010101010101010101010101010101010d000008090101010101100000001501010101000001010000010101010101010101010101010101010101010101010101010101010101010101010101010101010101010101010101010101010101010101010101010101010101010101010101010101010101010101010101010101010101010101010101010101010101010101010101010101010101010101010101010101010101010110000a0101010101010110000e0f0101010100000101000001010101010101010101010101010101010101010101010101010101010101010101010101010101010101010101010101010101010101010101010101010101010101010101010101010101010101010101010101010101010101010101010101010101010101010101010101010101010101010101010101010101010101010b0c0a01010d0809010106070e0f010101010000010100000101010101010101010101010101010101010101010101010101010101010101010101010101010101010101010101010101010101010101010101010101010101010101010101010101010101010101010101010101010101010101010101010101010101010101010101010101010101010101010101010101010101010101020311010110000e0f0102030405010101010000000000000101010101010101010101010101010101010101010101010101010101010101010101010101010101010101010101010101010101010101010101010101010101010101010101010101010101010101010101010101010101010101010101010101010101010101010101010101010101010101010101010101010101010101011015010110081f1101011c0809010101010000010100000101010101010101010101010101010101010101010101010101010101010101010101010101010101010101010101010101010101010101010101010101010101010101010101010101010101010101010101010101010101010101010101010101010101010101010101010101010101010101010101010101010101010101010d0405011c041e18090110000a010101010000010100000101010101010101010101010101010101010101010101010101010101010101010101010101010101010101010101010101010101010101010101010101010101010101010101010101010101010101010101010101010101010101010101010101010101010101010101010101010101010101010101010101010101010101010b1d0902030e0f1c1501060715010101010000010100000101010101010101010101010101010101010101010101010101010101010101010101010101010101010101010101010101010101010101010101010101010101010101010101010101010101010101010101010101010101010101010101010101010101010101010101010101010101010101010101010101010101010101010203110b0c15010b0c0a0b0c0e0f010101010101010101010101010101010101010101010101010101010101010101010101010101010101010101010101010101010101010101010101010101010101010101010101010101010101010101010101010101010101010101010101010101010101010101010101010101010101010101010101010101010101010101010101010101010101011c1506071101010d04051c0809010101010101010101010101010101010101010101010101010101010101010101010101010101010101010101010101010101010101010101010101010101010101010101010101010101010101010101010101010101010101010101010101010101010101010101010101010101010101010101010101010101010101010101010101010101010101010d0e1b07110101011c1510000a01010101010101010101010101010101010101010101010101010101010101010101010101010101010101010101010101010101010101010101010101010101010101010101010101010101010101010101010101010101010101010101010101010101010101010101010101010101010101010101010101010101010101010101010101010101010101061617000a0101010618190711010101010101010101010101010101010101010101010101010101010101010101010101010101010101010101010101010101010101010101010101010101010101010101010101010101010101010101010101010101010101010101010101010101010101010101010101010101010101010101010101010101010101010101010101010101010101010212130809010101011014070e0f0101010101010101010101010101010101010101010101010101010101010101010101010101010101010101010101010101010101010101010101010101010101010101010101010101010101010101010101010101010101010101010101010101010101010101010101010101010101010101010101010101010101010101010101010101010101010203000809010101010203000405010101010101010101010101010101010101010101010101010101010101010101010101010101010101010101010101010101010101010101010101010101010101010101010101010101010101010101010101010101010101010101010101010101010101010101010101010101010101010101010101010101010101010101010101010101010102030000040501010101010607000809010101010101010101010101010101010101010101010101010101010101010101010101010101010101010101010101010101010101010101010101010101010101010101010101010101010101010101010101030000080901011c0000000e0f010101010101010101010101010101010101010101010101010101010101010101010101010101010101010101010101010101010101010101010101010101010101010101010101010101010101010101010101010101010101010101010101010101010101010101010101010101010101010101010101010101010101010101010101010101010101010110000a0101010203001501010101010101010101010101010101010101010101010101010101010101010101010101010101010101010101010101010101010101010101010101010101010101010101010101010101010101010101010101010101010101010101010101010101010101010101010101010101010101010101010101010101010101010101010101010101010101010101011c1501010106070e0f01010101010101010101010101010101010101010101010101010101010101010101010101010101010101010101010101010101010101010101010101010101010101010101010101010101010101010101010101010101010101010101010101010101010101010101010101010101010101010101010101010101010101010101010101010101010101010101010b0c0a010203000a010101010101010101000000000000010101010101010101010101010101010101010101010101010101010101010101010101010101010101010101010101010101010101010101010101010101010101010101010101010101010101010101010101010101010101010101010101010101010101010101010101010101010101010101010101010101010101010101010d0e0f0d001501010101010101010101010101010101010101010101010101010101010101010101010101010101010101010101010101010101010101010101010101010101010101010101010101010101010101010101010101010101010101010101010101010101010101010101010101010101010101010101010101010101010101010101010101010101010101010101010101010203210c04050101010101010101010101010101010101010101010000000000000000000000000000000000000000000000000000000000000000000000000000000000000000000000000000000000000000000000000000000000000001010101010101010101010101010101010101010101010101010101010101010101010101010101010101010101010101010101010101010101010607001101010101010101010101010000000000000101010101010101010101010101010101010101010101010101010101010101010101010101010101010101010101010101010101010101010101010101010101010101010101010101010101010101010101010101010101010101010101010101010101010101010101010101010101010101010101010101010101010101010101060704050101010101010101010101010101010101010101010101010101010101010101010101010101010101010101010101010101010101010101010101010101010101010101010101010101010101010101010101010101010101010101010101010101010101010101010101010101010101010101010101010101010101010101010101010101010101010101010101010101010203081f150101010101010101010101010101010101010101010101010101010101010101010101010101010101010101010101010101010101010101010101010101010101010101010101010101010101010101010101010101010101010101010101010101010101010101010101010101010101010101010101010101010101010101010101010101010101010101010101010101011000150b0c0a010101010101010101010101010101010101010101010101010101010101010101010101010101010101010101010101010101010101010101010101010101010101010101010101010101010101010101010101010101010101010101010101010101010101010101010101010101010101010101010101010101010101010101010101010101010101010101010101010b0c040501100e0f0101010101010101010101010101010101010101010101010101010101010101010101010101010101010101010101010101010101010101010101010101010101010101010101010101010101010101010101010101010101010101010101010101010101010101010101010101010101010101010101010101010101010101010101010101010101010101010101011c0011010102031101010101010101010101010101010101010101010101010101010101010101010101010101010101010101010101010101010101010101010101010101010101010101010101010101010101010101010101010101010101010101010101010101010101010101010101010101010101010101010101010101010101010101010101010101010101010101010101010d00040501010110000a0101010101010101010101010101010101010101010101010101010101010101010101010101010101010101010101010101010101010101010101010101010101010101010101010101010101010101010101010101010101010101010101010101010101010101010101010101010101010101010101010101010101010101010101010101010101010101010d0000000405010d000000110101010101010101010101010101010101010101010101010101010101010101010101010101010101010101010101010101010101010101010101010101010101010101010101010101010101010101010101010101010101010101010101010101010101010101010101010101010101010101010101010101010101010101010101010e06000026060f00120c574d4643010000000000010000000000000003000000f00b000000000000f04b00000101010101010101010101010101010101010101010101010101010101010101010101010101010101010101010101010101010101010101010101010101010101010101010101010101010101010101010101010101010101010101010101010101010101010101010101010101010101010101010101010101010101010101010101010101010101010101010101010101010101010101010101010101010101010101010101010101010101010101010101010101010101010101010101010101010101010101010101010101010101010101010101010101010101010101010101010101010101010101010101010101010101010101010101010101010101010101010101010101010101010101010101010101010101010101010101010101010101010101010101010101010101010101010101010101010101010101010101010101010101010101010101010101010101010d0000080901010101011000000015010101011c000000000000000e0f01010101010101011c0000000000000809010101010d0000000e0f010101010b0c0000040501010101010101010101010101010101010101010101010101010101010101010101010101010101010101010101010101010101010101010101010101010101010101010101010101010101010101010101010101010110000a0101010101010110000e0f010101010d000000000000000e0f010101010101010101010203000a0101010101011000150102030e0f0101011c001510000e0f01010101010101010101010101010101010101010101010101010101010101010101010101010101010101010101010101010101010101010101010101010101010101010101010101010101010101010101010101010b0c0a01010d0809010106070e0f010101010203150101010106200f010101010101010101010203000a01010101010b0c040501010d001101010b0c08090b0c08090101010101010101010101010101010101010101010101010101010101010101010101010101010101010101010101010101010101010101010101010101010101010101010101010101010101010101010101010101020311010110000e0f01020304050101010101060711010101010101010101010101010101010203000a01010101010d00150101010b0c0e0f01060708090203000a0101010101010101010101010101010101010101010101010101010101010101010101010101010101010101010101010101010101010101010101010101010101010101010101010101010101010101010101010101011015010110081f1101011c08090101010101010d000a0101010101010101010101010101010203000a01010101011000110101010203080901060704050203000a0101010101010101010101010101010101010101010101010101010101010101010101010101010101010101010101010101010101010101010101010101010101010101010101010101010101010101010101010101010d0405011c041e18090110000a010101010101010d000a01010101010101010101010101010203000a01010101011c000a010101011c080901060708090b0c000a0101010101010101010101010101010101010101010101010101010101010101010101010101010101010101010101010101010101010101010101010101010101010101010101010101010101010101010101010101010b1d0902030e0f1c15010607150101010101010101100809010101010101010101010101010203000a01010101011c000a010101011c000a010b0c08090b0c08090101010101010101010101010101010101010101010101010101010101010101010101010101010101010101010101010101010101010101010101010101010101010101010101010101010101010101010101010101010203110b0c15010b0c0a0b0c0e0f01010101010101011008090101010101010101010101010203000a01010101011c000a010101011c000a01011c001510000e0f010101010101010101010101010101010101010101010101010101010101010101010101010101010101010101010101010101010101010101010101010101010101010101010101010101010101010101010101010101011c1506071101010d04051c080901010101010101010203040501010101010101010101010203000a01010101011c000a010101011c000a010102030000080901010101010101010101010101010101010101010101010101010101010101010101010101010101010101010101010101010101010101010101010101010101010101010101010101010101010101010101010101010101010d0e1b07110101011c1510000a0101010101010101010d001101010101010101010101010203000a01010101011000110101010203080901010101010101010101010101010101010101010101010101010101010101010101010101010101010101010101010101010101010101010101010101010101010101010101010101010101010101010101010101010101010101010101010101061617000a01010106181907110101010101010101010d001501010101010101010b1a050203000a01010101010607110101010b0c0405010101010101010101010101010101010101010101010101010101010101010101010101010101010101010101010101010101010101010101010101010101010101010101010101010101010101010101010101010101010101010101010101010212130809010101011014070e0f01010d04050101010d001501010101010101010106070000000a010101010102030e0f01010d00150101010101010101010101010101010101010101010101010101010101010101010101010101010101010101010101010101010101010101010101010101010101010101010101010101010101010101010101010101010101010101010101010101020300080901010101020300040501010d000e0f010b0c000a01010101010101010101011000000a0101010101010d0011010b0c0405010101010101010101010101010101010101010101010101010101010101010101010101010101010101010101010101010101010101010101010101010101010101010101010101010101010101010101010101010101010101010101010101010203000004050101010101060700080901010203000000000a010101010101010101010101010b0c0a010101010101010607000004050101010101010101010101010101010101010101010101010101010101010101010101010101010101010101010101010101010101010101010101010101010101010101010101010101010101010101010101010101010101010101010101010101010101010101010101010101010101010101010101010101010101010101010101010101010101010101010101010101010101010101010101010101010101010101010101010101010101010101010101010101010101010101010101010101010101010101010101010101010101010101010101010101010101010101010101010101010101010101010101010101010101010101010101010101010101010101010101010101010101010101010101010101010101010101010101010101010101010101010101010101010101010101010101010101010101010101010101010101010101010101010101010101010101010101010101010101010101010101010101010101010101010101010101010101010101010101010101010101010101010101010101010101010101010101010101010101010101010101010101010101010101010101010101010101010101010101010101010101010101010101010101010101010101010101010101010101010101010101010101010101010101010101010101010101010101010101010101010101010101010101010101010101010101014c0000006400000000000000000000009700000074000000000000000000000098000000750000002900aa0000000000000000000000803f00000000000000000000803f0000000000000000000000000000000000000000000000000000000000000000220000000c000000ffffffff460000001c00000010000000454d462b024000000c000000000000000e000000140000000000000010000000140000000400000003010800050000000b0200000000050000000c0275009800030000001e000400000007010400040000000701040021230000410b2000cc00750098000000000075009800000000002800000098000000750000000100080000000000000000000000000000000000220000000000000000000000ffffff00dfffff0000489c0074000000ffffbf009cdfff000000480048000000ffdf9c00ffbf7400bfffff000000740074bfff009c480000ffffdf00489cdf00df9c480048489c004874740048480000bf7400007400480074bfbf00480048009cbf9c00740074009cdfdf000074bf00480074009cdfbf00004848009c4848009c9c4800010101010101010101010101010101010101010101010101010101010101010101010101010101010101010101010101010101010101010101010101010101010101010101010101010101010101010101010101010101010101010101010101010101010101010101010101010101010101010101010101010101010101010101010101010101010101010101010101010101010101010101010101010101010101010101010101010101010101010101010101010101010101010101010101010101010101010101010101010101010101010101010101010101010101010101010101010101010101010101010101010101010101010101010101010101010101010101010101010101010101010101010101010101010101010101010101010101010101010101010101010101010101010101010101010101010101010101010101010101010101010101010101010101010101010101010101010101010101010101010101010101010101010101010101010101010101010101010101010101010101010101010101010101010101010101010101010101010101010101010101010101010101010101010101010101010101010101010101010101010101010101010101010101010101010101010101010101010101010101010101010101010101010101010101010101010101010101010101010101010101010101010101010101010101010101010101010101010101010101010101010101010101010101010101010101010101010101010101010101010101010101010101010101010101010101010101010101010101010101010101010101010101010101010101010101010101010101010101010101010101010101010101010101010101010101010101010101010101010101010101010101010101010101010101010101010101010101010101010101010101010101010101010101010101010101010101010101010101010101010101010101010101010101010101010101010101010101010101010101010101010101010101010101010101010101010101010101010101010101010101010101010101010101010101010101010101010101010101010101010101010101010101010101010101010101010101010101010101010101010101010101010101010101010101010101010101010101010101010101010101010101010101010101010101010101010101010101010101010101010101010101010101010101010101010101010101010101010101010101010101010101010101010101010101010101010101010101010101010101010101010101010101010101010101010101010101010101010101010101010101010101010101010101010101010101010101010101010101010101010101010101010101010101010101010101010101010101010101010101010101010101010101010101010101010101010101010101010101010101010101010101010101010101010101010101010101010101010101010101010101010101010101010101010101010101010101010101010101010101010101010101010101010101010101010101010101010101010101010101010101010101010101010101010101010101010101010101010101010101010101010101010101010101010101010101010101010101010101010101010101010101010101010101010101010101010101010101010101010101010101010101010101010101010101010101010101010101010101010101010101010101010101010101010101010101010101010101010101010101010101010101010101010101010101010101010101010101010101010101010101010101010101010101010101010101010101010101010101010101010101010101010101010101010101010101010101010101010101010101010101010101010101010101010101010101010101010101010101010101010101010101010101010101010101010101010101010101010101010101010101010101010101010101010101010101010101010101010101010101010101010101010101010101010101010101010101010101010101010101010101010101010101010101010101010101010101010101010101010101010101010101010101010101010101010101010101010101010101010101010101010101010101010101010101010101010101010101010101010101010101010101010101010101010101010101010101010101010101010101010101010101010101010101010101010101010101010101010101010101010101010101010101010101010101010101010101010101010101010101010101010101010101010101010101010101010101010101010101010101010101010101010101010101010101010101010101010101010101010101010101010101010101010101010101010101010101010101010101010101010101010101010101010101010101010101010101010101010101010101010101010101010101010101010101010101010101010101010101010101010101010101010101010101010101010101010101010101010101010101010101010101010101010101010101010101010101010101010101010101010101010101010101010101010101010101010101010101010101010101010101010101010101010101010101010101010101010101010101010101010101010101010101010101010101010101010101010101010101010101010101010101010101010101010101010101010101010101010101010101010101010101010101010101010101010101010101010101010101010101010101010101010101010101010101010101010101010101010101010101010101010101010101010101010101010101010101010101010101010101010101010101010101010101010101010101010101010101010101010101010101010101010101010101010101010101010101010101010101010101010101010101010101010101010101010101010101010101010101010101010101010101010101010101010101010101010101010101010101010101010101010101010101010101010101010101010101010101010101010101010101010101010101010101010101010101010101010101010101010101010101010101010101010101010101010101010101010101010101010101010101010101010101010101010101010101010101010101010101010101010101010101010101010101010101010101010101010101010101010101010101010101010101010101010101010101010101010101010101010101010101010101010101010101010101010101010101010101010101010101010101010101010101010101010101010101010101010101010101010101010101010101010101010101010101010101010101010101010101010101010101010101010101010101010101010101010101010101010101010101010101010101010101010101010101010101010101010101010101010101010101010101010101010101010101010101010101010101010101010101010101010101010101010101010101010101010101010101010101010101010101010101010101010101010101010101010101010101010101010101010101010101010101010101010101010101010101010101010101010101010101010101010101010101010101010101010101010101010101010101010101010101010101010101010101010101010101010101010101010101010101010101010101010101010101010101010101010101010101010101010101010101010101010101010101010101010101010101010101010101010101010101010101010101010101010101010101010101010101010101010101010101010101010101010101010101010101010101010101010101010101010101010101010101010101010101010101010101010101010101010101010101010101010101010101010101010101010101010101010101010101010101010101010101010101010101010101010101010101010101010101010101010101010101010101010101010101010101010101010101010101010101010101010101010101010101010101010101010101010101010101010101010101010101010101010101010101010101010101010101010101010101010101010101010101010101010101010101010101010101010101010101010101010101010101010101010101010101010101010101010101010101010101010101010101010101010101010101010101010101010101010101010101010101010101010101010101010101010101010101010101010101010101010101010101010101010101010101010101010101010101010101010101010101010101010101010101010101010101010101010101010101010101010101010101010101010101010101010101010101010101010101010101010101010101010101010101010101010101010101010101010101010101010101010101010101010101010101010101010101010101010101010101010101010101010101010101010101010101010101010101010101010101010101010101010101010101010101010101010101010101010101010101010101010101010101010101010101010101010101010101010101010101010101010101010101010101010101010101010101010101010101010101010101010101010101010101010101010101010101010101010101010101010101010101010101010101010101010101010101010101010101010101010101010101010101010101010101010101010101010101010101010101010101010101010101010101010101010101010101010101010101010101010101010101010101010101010101010101010101010101010101010101010101010101010101010101010101010101010101010101010101010101010101010101010101010101010101010101010101010101010101010101010101010101010101010101010101010101010101010101010101010101010101010101010101010101010101010101010101010101010101010101010101010101010101010101010101010101010101010101010101010101010101010101010101010101010101010101010101010101010101010101010101010101010101010101010101010101010101010101010101010101010101010101010101010101010101010101010101010101010101010101010101010101010101010101010101010101010101010101010101010101010101010101010101010101010101010101010101010101010101010101010101010101010101010101010101010101010101010101010101010101010101010101010101010101010101010101010101010101010101010101010101010101010101010101010101010101010101010101010101010101010101010101010101010101010101010101010101010101010101010101010101010101010101010101010101010101010101010101010101010101010101010101010101010101010101010101010101010101010101010101010101010101010101010101010101010101010101010101010101010101010101010101010101010101010101010101010101010101010101010101010101010101010101010101010101010101010101010101010101010101010101010101010101010101010101010101010101010101010101010101010101010101010101010101010101010101010101010101010101010101010101010101010101010101010101010101010101010101010101010101010101010101010101010101010101010101010101010101010101010101010101010101010101010101010101010101010101010101010101010101010101010101010101010101010101010101010101010101010101010101010101010101010101010101010101010101010101010101010101010101010101010101010101010101010101010101010101010101010101010101010101010101010101010101010101010101010101010101010101010101010101010101010101010101010101010101010101010101010101010101010101010101010101010101010101010101010101010101010101010101010101010101010101010101010101010101010101010101010101010101010101010101010101010101010101010101010101010101010101010101010101010101010101010101010101010101010101010101010101010101010101010101010101010101010101010101010101010101010101010101010101010101010101010101010101010101010101010101010101010101010101010101010101010101010101010101010101010101010101010101010101010101010101010101010101010101010101010101010101010101010101010101010101010101010101010101010101010101010101010101010101010101010101010101010101010101010101010101010101010101010101010101010101010101010101010101010101010101010101010101010101010101010101010101010101010101010101010101010101010101010101010101010101010101010101010101010101010101010101010101010101010101010101010101010101010101010101010101010101010101010101010101010101010101010101010101010101010101010101010101010101010101010101010101010101010101010101010101010101010101010101010101010101010101010101010101010101010101010101010101010101010101010101010101010101010101010101010101010101010101010101010101010101010101010101010101010101010101010101010101010101010101010101010101010101010101010101010101010101010101010101010101010101010101010101010101010101010101010101010101010101010101010101010101010101010101010101010101010101010101010101010101010101010101010101010101010101010101010101010101010101010101010101010101010101010101010101010101010101010101010101010101010101010101010101010101010101010101010101010101010101010101010101010101010101010101010101010101010101010101010101010101010101010101010101010101010101010101010101010101010101010101010101010101010101010101010101010101010101010101010101010101010101010101010101010101010101010101010101010101010101010101010101010101010101010101010101010101010101010101010101010101010101010101010101010101010101010101010101010101010101010101010101010101010101010101010101010101010101010101010101010101010101010101010101010101010101010101010101010101010101010101010101010101010101010101010101010101010101010101010101010101010101010101010101010101010101010101010101010101010101010101010101010101010101010101010101010101010101010101010101010101010101010101010101010101010101010101010101010101010101010101010101010101010101010101010101010101010101010101010101010101010101010101010101010101010101010101010101010101010101010101010101010101010101010101010101010101010101010101010101010101010101010101010101010101010101010101010101010101010101010101010101010101010101010101010101010101010101010101010101010101010101010101010101010101010101010101010101010101010101010101010101010101010101010101010101010101010101010101010101010101010101010101010101010101010101010101010101010101010101010101010101010101010101010101010101010101010101010101010101010101010101010101010101010101010101010101010101010101010101010101010101010101010101010101010101010101010101010101010101010101010101010101010101010101010101010101010101010101010101010101010101010101010101010101010101010101010101010101010101010101010101010101010101010101010101010101010101010101010101010101010101010101010101010101010101010101010101010101010101010101010101010101010101010101010101010101010101010101010101010101010101010101010101010101010101010101010101010101010101010101010101010101010101010101010101010101010101010101010101010101010101010101010101010101010101010101010101010101010101010101010101010101010101010101010101010101010101010101010101010101010101010101010101010101010101010101010101010101010101010101010101010101010101010101010101010101010101010101010101010101010101010101010101010101010101010101010101010101010101010101010101010101010101010101010101010101010101010101010101010101010101010101010101010101010101010101010101010101010101010101010101010101010101010101010101010101010101010101010101010101010101010101010101010101010101010101010101010101010101010101010101010101010101010101010101010101010101010101010101010101010101010101010101010101010101010101010101010101010101010101010101010101010101010101010101010101010101010101010101010101010101010101010101010101010101010101010101010101010101010101010101010101010101010101010101010101010101010101010101010101010101010101010101010101010101010101010101010101010101010101010101010101010101010101010101010101010101010101010101010101010101010101010101010101010101010101010101010101010101010101010101010101010101010101010101010101010101010101010101010101010101010101010101010101010101010101010101010101010101010101010101010101010101010101010101010101010101010101010101010101010101010101010101010101010101010101010101010101010101010101010101010101010101010101010101010101010101010101010101010101010101010101010101010101010101010101010101010101010101010101010101010101010101010101010101010101010101010101010101010101010101010101010101010101010101010101010101010101010101010101010101010101010101010101010101010101010101010101010101010101010101010101010101010101010101010101010101010101010101010101010101010101010101010101010101010101010101010101010101010101010101010101010101010101010101010101010101010101010101010101010101010101010101010101010101010101010101010101010101010101010101010101010101010101010101010101010101010101010101010101010101010101010101010101010101010101010101010101010101010101010101010101010101010101010101010101010101010101010101010101010101010101010101010101010101010101010101010101010101010101010101010101010101010101010101010101010101010101010101010101010101010101010101010101010101010101010101010101010101010101010101010101010101010101010101010101010101010101010101010101010101010101010101010101010101010101010101010101010101010101010101010101010101010101010101010101010101010101010101010101010101010101010101010101010101010101010101010101010101010101010101010101010101010101010101010101010101010101010101010101010101010101010101010101010101010101010101010101010101010101010101010101010101010101010101010101010101010101010101010101010101010101010101010101010101010101010101010101010101010101010101010101010101010101010101010101010101010101010101010101010101010101010101010101010101010101010101010101010101010101010101010101010101010101010101010101010101010101010101010101010101010101010101010101010101010101010101010101010101010101010101010101010101010101010101010101010101010101010101010101010101010101010101010101010101010101010101010101010101010101010101010101010101010101010101010101010101010101010101010101010101010101010101010101010101010101010101010101010101010101010101010101010101010101010101010101010101010101010101010101010101010101010101010101010101010101010101010101010101010101010101010101010101010101010101010101010101010101010101010101010101010101010101010101010101010101010101010101010101010101010101010101010101010101010101010101010101010101010101010101010101010101010101010101010101010101010101010101010101010101010101010101010101010101010101010101010101010101010101010101010101010101010101010101010101010101010101010101010101010101010101010101010101010101010101010101010101010101010101010101010101010101010101010101010101010101010101010101010101010101010101010101010101010101010101010101010101010101010101010101010101010101010101010101010101010101010101010101010101010101010101010101010101010101010101010101010101010101010101010101010101010101010101010101010101010101010101010101010101010101010101010101010101010101010101010101010101010101010101010101010101010101010101010101010101010101010101010101010101010101010101010101010101010101010101010101010101010101010101010101010101010101010101010101010101010101010101010101010101010101010101010101010101010101010101010101010101010101010101010101010101010101010101010101010101010101010101010101010101010101010101010101010101010101010101010101010101010101010101010101010101010101010101010101010101010101010101010101010101010101010101010101010101010101010101010101010101010101010101010101010101010101010101010101010101010101010101010101010101010101010101010101010101010101010101010101010101010101010101010101010101010101010101010101010101010101010101010101010101010101010101010101010101010101010101010101010101010101010101010101010101010101010101010101010101010101010101010101010101010101010101010101010101010101010101010101010101010101010101010101010101010101010101010101010101010101010101010101010101010101010101010101010101010101010101010101010101010101010101010101010101010101010101010101010101010101010101010101010101010101010101010101010101010101010101010101010101010101010101010101010101010101010101010101010101010101010101010101010101010101010101010101010101010101010101010101010101010101010101010101010101010101010101010101010101010101010101010101010101010101010101010101010101010101010101010101010101010101010101010101010101010101010101010101010101010101010101010101010101010101010101010101010101010101010101010101010101010101010101010101010101010101010101010101010101010101010101010101010101010101010101010101010101010101010101010101010101010101010101010101010101010101010101010101010101010101010101010101010101010101010101010101010101010101010101010101010101010101010101010101010101010101010101010101010101010101010101010101010101010101010101010101010101010101010101010101010101010101010101010101010101010101010101010101010101010101010101010101010101010101010101010101010101010101010101010101010101010101010101010101010101010101010101010101010101010101010101010101010101010101010101010101010101010101010101010101010101010101010101010101010101010101010101010101010101010101010101010101010101010101010101010101010101010101010101010101010101010101010101010101010101010101010101010101010101010101010101010101010101010101010101010101010101010101010101010101010101010101010101010101010101010101010101010101010101010101010101010101010101010101010101010101010101010101010101010101010101010101010101010101010101010101010101010101010101010101010101010101010101010101010101010101010101010101010101010101010101010101010101010101010101010101010101010101010101010101010101010101010101010101010101010101010101010101010101010101010101010101010101010101010101010101010101010101010101010101010101010101010101010101010101010101010101010101010101010101010101010101010101010101010101010101010101010101010101010101010101010101010101010101010101010101010101010101010101010101010101010101010101010101010101010101010101010101010101010101010101010101010101010101010101010101010101010101010101010101010101010101010101010101010101010101010101010101010101010101010101010101010101010101010101010101010101010101010101010101010101010101010101010101010101010101010101010101010101010101010101010101010101010101010101010101010101010101010101010101010101010101010101010101010101010101010101010101010101010101010101010101010101010101010101010101010101010101010101010101010101010101010101010101010101010101010101010101010101010101010101010101010101010101010101010101010101010101010101010101010101010101010101010101010101010101010101010101010101010101010101010101010101010101010101010101010101010101010101010101010101010101010101010101010101010101010101010101010101010101010101010101010101010101010101010101010101010101010101010101010101010101010101010101010101010101010101010101010101010101010101010101010101010101010101010101010101010101010101010101010101010101010101010101010101010101010101010101010101010101010101010101010101010101010101010101010101010101010101010101010101010101010101010101010101010101010101010101010101010101010101010101010101010101010101010101010101010101010101010101010101010101010101010101010101010101010101010101010101010101010101010101010101010101010101010101010101010101010101010101010101010101010101010101010101010101010101010101010101010101010101010101010101010101010101010101010101010101010101010101010101010101010101010101010101010101010101010101010101010101010101010101010101010101010101010101010101010101010101010101010101010101010101010101010101010101010101010101010101010101010101010101010101010101010101010101010101010101010101010101010101010101010101010101010101010101010101010101010101010101010101010101010101010101010101010101010101010101010101010101010101010101010101010101010101010101010101010101010101010101010101010101010101010101010101010101010101010101010101010101010101010101010101010101010101010101010101010101010101010101010101010101010101010101010101010101010101010101010101010101010101010101010101010101010101010101010101010101010101010101010101010101010101010101010101010101010101010101010101010101010101010101010101010101010101010101010101010101010101010101010101010101010101010d000008090101010101100000001501010101000001010000010101010101010101010101010101010101010101010101010101010101010101010101010101010101010101010101010101010101010101010101010101010101010101010101010101010101010101010101010101010101010101010101010101010101010101010101010101010101010101010101010101010101010110000a0101010101010110000e0f0101010100000101000001010101010101010101010101010101010101010101010101010101010101010101010101010101010101010101010101010101010101010101010101010101010101010101010101010101010101010101010101010101010101010101010101010101010101010101010101010101010101010101010101010101010101010b0c0a01010d0809010106070e0f010101010000010100000101010101010101010101010101010101010101010101010101010101010101010101010101010101010101010101010101010101010101010101010101010101010101010101010101010101010101010101010101010101010101010101010101010101010101010101010101010101010101010101010101010101010101020311010110000e0f0102030405010101010000000000000101010101010101010101010101010101010101010101010101010101010101010101010101010101010101010101010101010101010101010101010101010101010101010101010101010101010101010101010101010101010101010101010101010101010101010101010101010101010101010101010101010101010101011015010110081f1101011c0809010101010000010100000101010101010101010101010101010101010101010101010101010101010101010101010101010101010101010101010101010101010101010101010101010101010101010101010101010101010101010101010101010101010101010101010101010101010101010101010101010101010101010101010101010101010101010d0405011c041e18090110000a010101010000010100000101010101010101010101010101010101010101010101010101010101010101010101010101010101010101010101010101010101010101010101010101010101010101010101010101010101010101010101010101010101010101010101010101010101010101010101010101010101010101010101010101010101010101010b1d0902030e0f1c1501060715010101010000010100000101010101010101010101010101010101010101010101010101010101010101010101010101010101010101010101010101010101010101010101010101010101010101010101010101010101010101010101010101010101010101010101010101010101010101010101010101010101010101010101010101010101010101010203110b0c15010b0c0a0b0c0e0f010101010101010101010101010101010101010101010101010101010101010101010101010101010101010101010101010101010101010101010101010101010101010101010101010101010101010101010101010101010101010101010101010101010101010101010101010101010101010101010101010101010101010101010101010101010101011c1506071101010d04051c0809010101010101010101010101010101010101010101010101010101010101010101010101010101010101010101010101010101010101010101010101010101010101010101010101010101010101010101010101010101010101010101010101010101010101010101010101010101010101010101010101010101010101010101010101010101010101010d0e1b07110101011c1510000a01010101010101010101010101010101010101010101010101010101010101010101010101010101010101010101010101010101010101010101010101010101010101010101010101010101010101010101010101010101010101010101010101010101010101010101010101010101010101010101010101010101010101010101010101010101010101061617000a0101010618190711010101010101010101010101010101010101010101010101010101010101010101010101010101010101010101010101010101010101010101010101010101010101010101010101010101010101010101010101010101010101010101010101010101010101010101010101010101010101010101010101010101010101010101010101010101010101010212130809010101011014070e0f0101010101010101010101010101010101010101010101010101010101010101010101010101010101010101010101010101010101010101010101010101010101010101010101010101010101010101010101010101010101010101010101010101010101010101010101010101010101010101010101010101010101010101010101010101010101010203000809010101010203000405010101010101010101010101010101010101010101010101010101010101010101010101010101010101010101010101010101010101010101010101010101010101010101010101010101010101010101010101010101010101010101010101010101010101010101010101010101010101010101010101010101010101010101010101010101010102030000040501010101010607000809010101010101010101010101010101010101010101010101010101010101010101010101010101010101010101010101010101010101010101010101010101010101010101010101010101010101010101010101030000080901011c0000000e0f010101010101010101010101010101010101010101010101010101010101010101010101010101010101010101010101010101010101010101010101010101010101010101010101010101010101010101010101010101010101010101010101010101010101010101010101010101010101010101010101010101010101010101010101010101010101010110000a010,
где М2 – масса отмытой клейковины, г; МН – масса шрота взятого для отмывания клейковины, г; Качество клейковины определяют на приборе типа ИДК-1М. Для этого из взвешенной клейковины выделяют навеску массой 4 грамма, обминают ее 3-4 раза пальцами и формируют в шарик и помещают на 15 минут в чашку с водой температурой (18± 2 ̊̊) С. По результатам определений устанавливают группу качества клейковины.
Определение поврежденности зерна пшеницы клопом- черепашкой. Определения проводят по трем признакам повреждения в соответствии с ГОСТ 13586.4-83. Из двух навесок массой 10 грамм состоящих только из целого зерна выделяют поврежденные зерна. Их взвешивают и выражают их содержание в процентах по отношению к взятым навескам. За окончательный результат анализа принимают среднее арифметическое результатов двух параллельных определений.
Определение зараженности зерна вредителями. Зараженность определяют по ГОСТ 13586,4-93. Среднюю пробу - просеивают на рассеевателе У1-ЕРЗ или в ручную (используя набор сит с отверстиями диаметром 2,5 и 1,5 мм). Сход с сита с отверстиями 2,5мм помещают на анализную доску и выявляют наличие крупных насекомых. Обнаруженных насекомых и клещей подсчитывают по отдельным видам. Проход через сито с отверстиями 2,5мм поместить на белое стекло анализной доски, а проход через сито с отверстиями диаметром 1,5 мм – на черное стекло и рассмотреть под лупой. При этом выделить более мелких вредителей.
3. Формирование помольной партии
Партия - любое количество однородного по качеству зерна (зерновой массы), удостоверенного одним документом и предназначенного к одновременной приемке, сдаче, отгрузке или хранящегося в одной емкости. Размер партии может быть различным - от одного или нескольких мешков до эшелона, однако однородность партии по органолептическим признакам зерна основной культуры (форме, окраске) обязательна.
При оценке определяют ряд показателей, характеризующих партию зерна в целом, - органолептические свойства, влажность, содержание примесей, натуру, отсутствие или наличие амбарных вредителей. Кроме того, обязательно исследуют качество зерна основной культуры: крупность и выравненность, у пленчатых культур - пленчатость, стекловидность и другие свойства зерна, учитываемые при переработке.
Органолептическая оценка имеет важное значение, поскольку окончательное суждение о достоинстве продукта питания можно иметь только при потреблении его в пищу. Нормальное зерно любой культуры имеет характерные для нее естественную окраску, блеск, запах и вкус. Эти показатели легко изменяются при неблагоприятных условиях созревания, уборки, перевозки, нарушении режимов сушки и хранения.
На пути движения от поля до потребителя оценка качества зерна проводится по нескольким стандартам. Государственные закупки проводятся по стандартам на зерно заготовляемое. Хлебохранилища передают на переработку по стандартам на зерно, поставляемое целевое (распределяемое, мукомольное, крупяное, пивоваренное и др.). При использовании на посев оценка производится по стандарту на зерно семенное; при продаже другим странам пользуются стандартом на зерно, направляемое на экспорт; оценка зерна производится по стандарту на правила отбора проб и методы испытаний.
В стандартах на зерно, для всех культур установлена классификация - деление на типы, подтипы по ботаническим признакам, окраске, районам выращивания и т. п. Кроме того, установлены базисные (расчетные) и ограничительные кондиции. Указано также, что у данной культуры считают основным зерном, сорной и зерновой примесями.
Базисные кондиции - нормы качества, которым должно отвечать созревшее зерно. Они установлены по основным показателям качества зерновой массы и для большинства культур находятся в следующих пределах (в %): влажность -14 - 15, зерновая и сорная примеси - 1 - 3, натура - в зависимости от культуры и района выращивания.
Были проанализированы партии зерна, поступающие на ЗАО "Балаково-мука"
Основным методом был сравнительно-анатомический и лабораторный. На их основе дана оценка качества поступающего зерна на ЗАО "Балаково-мука"; эффективность подготовки зерна к помолу, выявлены особенности технологии производства, определены основные показатели качества зерна и муки, дана экономическая оценка предприятию.
Было проанализировано 6 партий зерна поступившего на ЗАО «Балаково- мука». Таблица 6 Качественные показатели партий зерна, поступившего на ЗАО «Балаково- мука».
|
№ партии |
Сорт, год |
Натура г\л |
Влажность % |
Клейковина % |
Качество клейковин усл.ед |
Сорная примесь % |
Зерновая примесь % |
Количество проросших зерен% |
Стеклов идность% |
зараженность |
|
1 |
Саратовская Остеестая 2007г |
765 |
13,5 |
26 |
70 |
0,6 |
3,0 |
0,7 |
47 |
КЛЕЩ 1 СТЕПЕНИ |
|
2 |
Безостая1, 2007г |
751 |
13,5 |
28 |
70 |
0,5 |
2.5 |
0,6 |
44 |
НЕТ |
|
3 |
Прохоровка. 2007г |
748 |
13,2 |
20 |
80 |
0,4 |
3,0 |
0,5 |
44 |
НЕТ |
|
4 |
Безостая1, 2007г |
740 |
13,2 |
26 |
75 |
1,0 |
3,0 |
2,0 |
48 |
КЛЕЩ 1 СТЕПЕНИ |
|
5 |
Саратовская Остеестая 2007г |
751 |
13,4 |
27 |
75 |
1,5 |
3,0 |
1,0 |
45 |
НЕТ |
|
6 |
Прохоровка. 2007г |
776 |
13,5 |
22 |
85 |
0,4 |
2,4 |
0,02 |
43 |
нет |
Данные таблицы свидетельствуют, что натура зерна поступающего на ЗАО «Балаково- мука» колеблется от 776 до 740, что в пределах нормы. Это объясняется тремя причинами различной выполненностью зерна; неодинаковым количественным составом примесей в зерновой массе, разной влажностью зерна. Чем выше натура зерна, тем меньше содержится оболочек и больше эндосперма, следовательно, тем лучше мукомольные свойства зерна.
Влажность зерна в 6 партиях существенно не отличается (13,2- 13,5). Для проведения холодного кондиционирования, при такой влажности зерна наблюдается лучшее поглощение воды. После проведения гидротермической обработки выполненность зерна увеличивается до 14,0 до 16,5%.
Хлебопекарные свойства муки зависят от качества и количества клейковины, которая в партиях зерна колеблется от 20 до 28% и качеством не ниже второй группы. Такое зерно принадлежит ко второму классу, оно обеспечивает выработку муки, удовлетворяющей по этому показателю требованиям стандарта. Повышенное содержание примесей в зерновой массе снижает качество вырабатываемой муки. Примеси могут сделать муку не пригодной для употребления. Наличие примесей, особенно трудноотделимых, приводит к необходимости сложной и многоступенчатой очистки зерна. В данных партиях процент сорной и зерновой примеси не превышает пределов допустимой нормы. Для проросшего зерна характерна повышенная активность ферментов. Зерно имеет низкое качество. Из сильно проросшего зерна хлеб получается глинистым и липким. В зерне, поступающим на переработку, должно быть не более 3% проросших зерен. В нашем случае максимальное количество зерен не превышает 2%, такой процент не повлияет на качество готовой продукции. При измельчении стекловидное зерно превращается в крупки, которые перед дальнейшим размолом сортируются по добротности. Благодаря этому получают большие выходы лучших сортов муки, состоящих практически из центральной части эндосперма. Зерно мягкой пшеницы делят на три группы стекловидности: высоко стекловидные – более 60%; средне стекловидные – 40-60%; низко стекловидное (мучнистое) менее 40%. На данном предприятии зерно со стекловидностью от 48 до 43% и оно считается средне стекловидным. Зараженность клещами допускается 1 степени.
Таблица 7 Показатели качества зерна,поступившего на ЗАО «Балаково-мука» (средние показатели из 6 партий)
|
Наименование показателя |
стандартные |
фактические |
|
натура |
750 |
755 |
|
Влажность,% |
13,5 |
13,4 |
|
Качество клейковины усл. ед. |
25 |
25 |
|
Клейковина,% |
Не ниже второй группы |
75-первая группа |
|
Сорная примесь, % |
Не более 2 |
0,7 |
|
Зерновая примесь, % |
Не более 5 |
2,8 |
|
Стекловидность, % |
50-60 мягкая пшеница |
45 |
|
Количество проросших зерен, % |
Не более 3 |
0,8 |
|
Засоренность вредителями |
Не допускается, кроме зараженности клещами не выше второй степени |
Встречается зараженность клещами первой степени |
Анализ средних данных из 6 партий зерна показывает что зерно, поступающее на ЗАО «Балаково- мука» соответствует требованиям стандарта. На предприятии используют зерно разных типов и подтипов, старого и нового урожая, хорошего и пониженного качества. Разность качества зерна партий усложняет и снижает эффективность процесса его переработки, требует корректировки режимов работы технологических систем. Для обеспечения стабильной работы мельницы, увеличения выработки муки высоких сортов, улучшения ее качества и правильного использования имеющегося на предприятии зерна, смешивая зерно, составляют помольную партию. Смешивание позволяет правильно и равномерно использовать имеющееся зерно и партии зерна с пониженными технологическими свойствами. Кроме этого при смешивании проявляется смесительная ценность зерна, то есть способность его сделать качество смеси выше ее средне взвешенной величины. Порядок расчета помольной смеси из трех компонентов. Составим помольную партию зерна массой 25 тонн со средневзвешенным значением содержания клейковины 26% из трех компонентов: количество клейковины первой- 28% (Безостая1), второй- 26% (Саратовская Остеестая), третий- 20% (Прохоровка)
Таблица 8 Порядок расчета помольной смеси, состоящий из трех компонентов.
|
Элементы расчета |
Составная часть |
||
|
первая |
вторая |
третья |
|
|
Содержание сырой клейковины, % |
28 |
26 |
20 |
|
Отклонение по содержанию сырой клейковины от заданной помольной партии |
|||
|
При смешивании составных частей, %: первой и второй и |
26-28=2 |
26-24=2 |
|
|
третьей |
26-24=2 |
------- |
26-20 |
|
Расчетное соотношение каждой части смеси |
6 |
2 |
2 |
|
Сумма помольной смеси |
6+2+20100090000034c0200000000d40100000000d401000026060f009e03574d46430100000000000100b17700000000010000007c030000000000007c030000010000006c00000000000000000000000d0000000e00000000000000000000006e0100008801000020454d46000001007c0300000c00000001000000000000000000000000000000900600001a040000b801000013010000000000000000000000000000c0b6060038320400460000002c00000020000000454d462b014001001c000000100000000210c0db010000006000000060000000460000005c01000050010000454d462b224004000c000000000000001e4009000c00000000000000244001000c000000000000003040020010000000040000000000803f214007000c0000000000000008400005a80000009c0000000210c0db01000000000000000000000000000000000000000100000089504e470d0a1a0a0000000d494844520000000e0000000f0103000000eeda6c37000000017352474200aece1ce9000000097048597300000ec400000ec401952b0e1b00000006504c5445000000ffffffa5d99fdd000000124944415418d363f8ff87011935623090100084ac1cba8608a1350000000049454e44ae426082000840010824000000180000000210c0db01000000030000000000000000000000000000001b40000040000000340000000100000002000000000000bf000000bf000060410000704103000000000000b3000000b3ffff5f41000000b3000000b3ffff6f412100000008000000620000000c00000001000000150000000c00000004000000150000000c0000000400000051000000bc00000000000000000000000d0000000e000000000000000000000000000000000000000e0000000f0000005000000030000000800000003c000000000000002000cc000e0000000f000000280000000e0000000f0000000100010000000000000000000000000000000000020000000000000000000000ffffff00fffc0101fffc0101fffc0101fffc1919fffc0101fffc010181fc0101fffc1919fffc010181fc0101fffc0101fffc1919fffc0101fffc0101fffc01014c0000006400000000000000000000000d0000000e00000000000000000000000e0000000f0000002900aa0000000000000000000000803f00000000000000000000803f0000000000000000000000000000000000000000000000000000000000000000220000000c000000ffffffff460000001c00000010000000454d462b024000000c000000000000000e000000140000000000000010000000140000000400000003010800050000000b0200000000050000000c020f000e00030000001e000400000007010400040000000701040043000000410b2000cc000f000e00000000000f000e0000000000280000000e0000000f0000000100010000000000000000000000000000000000020000000000000000000000ffffff00fffc0101fffc0101fffc0101fffc1919fffc0101fffc010181fc0101fffc1919fffc010181fc0101fffc0101fffc1919fffc0101fffc0101fffc01010c00000040092900aa000000000000000f000e0000000000040000002701ffff030000000000 10 |
||
|
Масса каждой части в помольной смеси |
|
|
|
Расчет
проводят только по одному показателю,
подчиняющегося правилу смешивания (по
стекловидности, выходу клейковины,
зольности). Для проверки правильности
расчета по показателю клейковины каждую
составную часть выражаем в тонно-процентах.
Затем составные части суммируем и делим
на массу зерна заданной помольной
партии. Тонно-процент: первой части 150100090000032e0e000000002a08000000002a08000026060f004a10574d46430100000000000100d93f0000000001000000281000000000000028100000010000006c00000000000000000000006d000000180000000000000000000000400b00008e02000020454d4600000100281000000c00000001000000000000000000000000000000900600001a040000b801000013010000000000000000000000000000c0b6060038320400460000002c00000020000000454d462b014001001c000000100000000210c0db01000000600000006000000046000000f0020000e4020000454d462b224004000c000000000000001e4009000c00000000000000244001000c000000000000003040020010000000040000000000803f214007000c00000000000000084000053c020000300200000210c0db01000000000000000000000000000000000000000100000089504e470d0a1a0a0000000d494844520000006e000000190803000000e7a2ebb0000000017352474200aece1ce9000000097048597300000ec400000ec401952b0e1b00000051504c544500000000004800007400489c0074bf48000048004848489c489cdf74000074004874747474bfff9c48009cdfbf9cdfffbf7400bf9c48bfffbfbfffffdf9c48dfffffffbf74ffdf9cffffbfffffdfffffff8696cdcd0000015b4944415448c7ed95d972c3200c4549825b689d9ab60408ffffa165112096c4743ad327eb21e338ba1c495c08b1ff1ae4c01db83fe1ee57e2628d5f847fa653cb49d054fa5d9c22979b353ce41b7efef66ffce75ee82522b0bec589f452e50e54585b859644148941adfd4cde0187f40d2e17a197a6810a2709db1fe5e5131735c4b99a4e5ba0d16ea42ce0d86477fa6593358e8df62ef0f4e2c6dd8c26746bb8af06572a49895069ca6716e340ef5d93b348fce1f4c15b9a9529498c5dd6f9cbad8e71a017844a921627c9b79df1122dce5aee9e04c3578b71a0f7c389032a38679716a792504e3a53d098ac5f6f58af178f4b6218e6f98bd7bc4c032361670ef7ce1d39085ae9bddfddf0d6a756d10bb30f7113b74ad1fbee2a5c3e088577bf8612c35c7e71cc330ee9bbbd13f08cbcae602ebe80982be72e4d992eb1a26f9c69deb6eaeacad687f4e9830099acd13b9f141f1e7faf076e327e0026e4f8cdc636e97c0000000049454e44ae426082000840010824000000180000000210c0db01000000030000000000000000000000000000001b40000040000000340000000100000002000000000000bf000000bf0000dc420000c84103000000000000b3000000b3ffffdb42000000b3000000b3ffffc7412100000008000000620000000c00000001000000150000000c00000004000000150000000c0000000400000051000000d40b000000000000000000006d00000018000000000000000000000000000000000000006e000000190000005000000094000000e4000000f00a0000000000002000cc006e00000019000000280000006e0000001900000001000800000000000000000000000000000000001b0000000000000000000000ffffff00dfffff0000489c00ffbf74000074bf00bf740000489cdf0074bfff009c480000ffffdf00bfffff000000740074000000ffffbf009cdfff000000480074747400df9c4800489cbf0048000000ffdf9c0048004800bfdf9c009c484800bfffbf00480074000101010101010101010101010101010101010101010101010101010101010101010101010101010101010101010101010101010101010101010101010101010101010101010101010101010101010101010101010101010101010101010101010101010101010101010101010101060201010101010101010101010101010101010101010101010101010101010101010101010101010101010101010101010101010101010101010101010101010101010101010101010101010101010101010101010101010101010101010101010101010101010101010101010101010101010101010101010101010101010101010101010101010101010101010101010101010101010101010101010101010101010101010101010101010101010101010101010101010101010101010101010101010101010101010101010101010101010101010101010101010101010101010101010101010101010101010101010101010101010101010101010101010101010101010101010101010101010101010101010101010101010101010101010101010101010101010101010101010101010101010101010101010101010101010101010101010101010101010101130b01010101010101010101010101010101010101010101010101010101010101010101010101010101010101010101010101010101010101010101010101010101010101010101010101010101010101010101010101010101010101010101010101010101010101010101010101010101010b1a1501010101010101080d0e010101010101010500000000000000090a0101010105000000000401010101010101010101010101010101010101010101010101010101010101010101010105000000120101010500000000000000090a01010b0c00000d0e0101010101010101010101051415010101010108000601010101010101010800000000000000090a01010b0c14150101070006010101010101010101010101010101010101010101010101010101010101010101010101070004010101010800000000000000090a01010500060700090a01010101010101010101020314150101010f10090a0101010101010101020306010101010f180a010105000401010101050004010101010101010101010101010101010101010101010101010101010101010101010107000401010101020306010101010f180a010b0c14150b0c1415010101010101010101010102031415010f10090a010101010101010101010f1012010101010101010203141501010101070012010101010101010101010101010101010101010101010101010101010101010101010107000401010101010f1012010101010101010f1014150203000401010101010101010101010102030d190c0d0e010101010101010101010101080004010101010101020314150101010107001201010101010101010700000000000000000000001415010101010101010f10000000000000000006010101010800040101010101010f100d0e02030004010101010101010101010101010b0c000d0e01010101010101010101010101010800040101010101010700040101010105000401010101010101010101010101010101010101010101010101010101010105060101010700040f180a0101010108000401010101010f1014150b0c0004010101010101010101010101010203000d0e0101010101010101010101010101010714150101010101020314150101070006010101010101010101010101010101010101010101010101010101010101010b0c0401010700040101010101010101071415010101010b0c14150b0c1415010101010101010101010101020314170c090a010101010101010101010101010101071415010101010101050000000004010101010101010101010101010101010101010101010101010101010101010101080d0e01070004010101010101010101071415010101010500060700090a010101010101010101010102031415010f10090a010101010101010101010101010102030d0e0101010b0c1415010108000601010101010101010107000000000000000000000014150101010101010101010203120107000401010101010101010102030d0e0101010203000014150101010101010101010101020314150101010f10060101010101010101010101010101010800120101010500120101010105000401010101010101010101010101010101010101010101010101010101010101010f161507000401010101010101010101080012010101010101010101010101010101010101010b0c000401010101010f100d0e0101010101010101010101010108000601010105000401010101070012010101010101010101010101010101010101010101010101010101010101010101070913000401010101010101010101080006010101010101010101010101010101010007010105040101010101010108060101010101010101080d0e01010108000601010105000401010101050004010101010101010101010101010101010101010101010101010101010101010101020311000401010101080d0e0101010800060101010101010101010101010101010101010101010101010101010101010101010101010101010800090a010b0c00040101010b0c0d0e010108000d0e010101010101010101010101010101010101010101010101010101010101010101010f100004010101010800090a010b0c000401010101010101010101010101010101010101010101010101010101010101010101010101010101020300000000040101010101010500000000060101010101010101010101010101010101010101010101010101010101010101010101010107000401010101010203000000000401010101010101010101010101010101010b0c0101010101010101010101010101010101010101010101010101010101010101010101010101010101010101010101010101010101010101010101010101010101010101010101010101010101010101010101010101010101010101010101010101010101010101010101010101010101010101010101010101010101010101010101010101010101010101010101010101010101010101010101010101010101010101010101010101010101010101010101010101010101010101010101010101010101010101010101010101010101010101010101010101010101010101010101010101010101010101010101010101010101010101010101010101010101010101010101010101010101010101010101010101010101010101010101010101010101010101010101010101010101010101010101010101010101010101010101010101010101010101010101010101010101010101010101010101010101010101010101010101010101010101010101010101010101010101010101010101010101010101010101010101010101010101010101010101010101010101010101010101010101010101010101010101010101010101010101010101010101010101010101010101010101010101010101010101010101010101010101010101010101010101010101010101010101010101010101010101010101010101010101010101010101010101010101010101010101010101010101010101010101010101010101010101010101010000010101010101010101010101010101010101010101010101010101010101010101010101010101010101010101010101010101010101010101010101010101010101010101010101010101010101010101010101010101010101010101010101010101010101010101010101010100004c0000006400000000000000000000006d0000001800000000000000000000006e000000190000002900aa0000000000000000000000803f00000000000000000000803f0000000000000000000000000000000000000000000000000000000000000000220000000c000000ffffffff460000001c00000010000000454d462b024000000c000000000000000e000000140000000000000010000000140000000400000003010800050000000b0200000000050000000c0219006e00030000001e0004000000070104000400000007010400cf050000410b2000cc0019006e000000000019006e0000000000280000006e0000001900000001000800000000000000000000000000000000001b0000000000000000000000ffffff00dfffff0000489c00ffbf74000074bf00bf740000489cdf0074bfff009c480000ffffdf00bfffff000000740074000000ffffbf009cdfff000000480074747400df9c4800489cbf0048000000ffdf9c0048004800bfdf9c009c484800bfffbf00480074000101010101010101010101010101010101010101010101010101010101010101010101010101010101010101010101010101010101010101010101010101010101010101010101010101010101010101010101010101010101010101010101010101010101010101010101010101060201010101010101010101010101010101010101010101010101010101010101010101010101010101010101010101010101010101010101010101010101010101010101010101010101010101010101010101010101010101010101010101010101010101010101010101010101010101010101010101010101010101010101010101010101010101010101010101010101010101010101010101010101010101010101010101010101010101010101010101010101010101010101010101010101010101010101010101010101010101010101010101010101010101010101010101010101010101010101010101010101010101010101010101010101010101010101010101010101010101010101010101010101010101010101010101010101010101010101010101010101010101010101010101010101010101010101010101010101010101010101010101130b01010101010101010101010101010101010101010101010101010101010101010101010101010101010101010101010101010101010101010101010101010101010101010101010101010101010101010101010101010101010101010101010101010101010101010101010101010101010b1a1501010101010101080d0e010101010101010500000000000000090a0101010105000000000401010101010101010101010101010101010101010101010101010101010101010101010105000000120101010500000000000000090a01010b0c00000d0e0101010101010101010101051415010101010108000601010101010101010800000000000000090a01010b0c14150101070006010101010101010101010101010101010101010101010101010101010101010101010101070004010101010800000000000000090a01010500060700090a01010101010101010101020314150101010f10090a0101010101010101020306010101010f180a010105000401010101050004010101010101010101010101010101010101010101010101010101010101010101010107000401010101020306010101010f180a010b0c14150b0c1415010101010101010101010102031415010f10090a010101010101010101010f1012010101010101010203141501010101070012010101010101010101010101010101010101010101010101010101010101010101010107000401010101010f1012010101010101010f1014150203000401010101010101010101010102030d190c0d0e010101010101010101010101080004010101010101020314150101010107001201010101010101010700000000000000000000001415010101010101010f10000000000000000006010101010800040101010101010f100d0e02030004010101010101010101010101010b0c000d0e01010101010101010101010101010800040101010101010700040101010105000401010101010101010101010101010101010101010101010101010101010105060101010700040f180a0101010108000401010101010f1014150b0c0004010101010101010101010101010203000d0e0101010101010101010101010101010714150101010101020314150101070006010101010101010101010101010101010101010101010101010101010101010b0c0401010700040101010101010101071415010101010b0c14150b0c1415010101010101010101010101020314170c090a010101010101010101010101010101071415010101010101050000000004010101010101010101010101010101010101010101010101010101010101010101080d0e01070004010101010101010101071415010101010500060700090a010101010101010101010102031415010f10090a010101010101010101010101010102030d0e0101010b0c1415010108000601010101010101010107000000000000000000000014150101010101010101010203120107000401010101010101010102030d0e0101010203000014150101010101010101010101020314150101010f10060101010101010101010101010101010800120101010500120101010105000401010101010101010101010101010101010101010101010101010101010101010f161507000401010101010101010101080012010101010101010101010101010101010101010b0c000401010101010f100d0e0101010101010101010101010108000601010105000401010101070012010101010101010101010101010101010101010101010101010101010101010101070913000401010101010101010101080006010101010101010101010101010101010007010105040101010101010108060101010101010101080d0e01010108000601010105000401010101050004010101010101010101010101010101010101010101010101010101010101010101020311000401010101080d0e0101010800060101010101010101010101010101010101010101010101010101010101010101010101010101010800090a010b0c00040101010b0c0d0e010108000d0e010101010101010101010101010101010101010101010101010101010101010101010f100004010101010800090a010b0c000401010101010101010101010101010101010101010101010101010101010101010101010101010101020300000000040101010101010500000000060101010101010101010101010101010101010101010101010101010101010101010101010107000401010101010203000000000401010101010101010101010101010101010b0c0101010101010101010101010101010101010101010101010101010101010101010101010101010101010101010101010101010101010101010101010101010101010101010101010101010101010101010101010101010101010101010101010101010101010101010101010101010101010101010101010101010101010101010101010101010101010101010101010101010101010101010101010101010101010101010101010101010101010101010101010101010101010101010101010101010101010101010101010101010101010101010101010101010101010101010101010101010101010101010101010101010101010101010101010101010101010101010101010101010101010101010101010101010101010101010101010101010101010101010101010101010101010101010101010101010101010101010101010101010101010101010101010101010101010101010101010101010101010101010101010101010101010101010101010101010101010101010101010101010101010101010101010101010101010101010101010101010101010101010101010101010101010101010101010101010101010101010101010101010101010101010101010101010101010101010101010101010101010101010101010101010101010101010101010101010101010101010101010101010101010101010101010101010101010101010101010101010101010101010101010101010101010101010101010101010101010000010101010101010101010101010101010101010101010101010101010101010101010101010101010101010101010101010101010101010101010101010101010101010101010101010101010101010101010101010101010101010101010101010101010101010101010101010100000c00000040092900aa0000000000000019006e0000000000040000002701ffff030000000000
второй части
третьей части
всей помольной партии
Проверка правильности определения
средневзвешенного содержания сырой
клейковины . 010009000003d41200000000820a00000000820a000026060f00fa14574d464301000000000001001c210000000001000000d814000000000000d8140000010000006c000000000000000000000062000000270000000000000000000000200a00001704000020454d4600000100d81400000c00000001000000000000000000000000000000900600001a040000b801000013010000000000000000000000000000c0b6060038320400460000002c00000020000000454d462b014001001c000000100000000210c0db0100000060000000600000004600000004030000f8020000454d462b224004000c000000000000001e4009000c00000000000000244001000c000000000000003040020010000000040000000000803f214007000c000000000000000840000550020000440200000210c0db01000000000000000000000000000000000000000100000089504e470d0a1a0a0000000d4948445200000063000000280803000000dd7ab408000000017352474200aece1ce9000000097048597300000ec400000ec401952b0e1b00000042504c544500000000004800007400489c0074bf48000048484848489c489cdf74000074bfff9c48009cdfffbf7400bfffffdf9c48dfffffffbf74ffdf9cffffbfffffdfffffff58d6365a0000017c4944415458c3c596eb6e83300c46bf6db0d132968686f77fd525cecda1b48a86ade54f81229fc49723b0e92ffc17c34e1a0c0b5cfd8f9b414b8161f1fe43777a0c5b62ba59367a61ace3b02933dcfcf67dc808491362ace3c7ed88110032106c0693ef2ad061dcfc992f45190b3084a250e4c55fde2fd4c7b28c10311c273f8bd953605894eeba5fc2b8c8d6e3cf8c38b2d7ea207ed3f6d51073e5ff3634efbdb9b2f0efa5ea715b1ccc20258bdef720aa3995bf8341317302ec5303818e5014b584cb342f9d339818cc164fbc7b62c5fd735be4bde52df6310ceaaab152dd590d73688a5eb270fa1c2632992d12a3261a32086e8bc860b53cc9b0b971b92dd0224ed6a320f6b6200a6a0fbc5eafd0eb38d55d70469bae33b972739c8cafdbd6d822975c8261d351a96b992d72e73e30f67eeb580b67545b9409dccfc7ce6fa20b877ed361347e53664ca59f9518c96f80e2394cfdead16264bf29328a7c84cbc118d56f725f3d3b06f39b74be70e0372d06f79b56ae1abf09d7fc17fc18223110e142ae0000000049454e44ae4260820000000840010824000000180000000210c0db01000000030000000000000000000000000000001b40000040000000340000000100000002000000000000bf000000bf0000c6420000204203000000000080b3000080b3ffffc542000080b3000080b3ffff1f422100000008000000620000000c00000001000000150000000c00000004000000150000000c000000040000005100000070100000000000000000000062000000270000000000000000000000000000000000000063000000280000005000000080000000d0000000a00f0000000000002000cc0063000000280000002800000063000000280000000100080000000000000000000000000000000000160000000000000000000000ffffff0074bfff00df9c4800ffbf7400dfffff0000489c0074000000ffffbf009cdfff0000004800bf74000048000000ffdf9c009c480000ffffdf00489cdf00484848000074bf00bfffff00000074009c4848000101010101010112000000000000000e0f01010100000000010101010101010101010101010101010101010101010101010101010101010101010101010101010101010101010101010101010101010101010101010101010101010101010101010101ff0101010101010102000000000000000e0f01010000010100000101010101010101010101010101010101010101010101010101010101010101010101010101010101010101010101010101010101010101010101010101010101010101010101010101ff0101010101010105060b0101010109150f01010101010100000101010101010101010101010101010101010101010101010101010101010101010101010101010101010101010101010101010101010101010101010101010101010101010101010101ff0101010101010101090a0301010101010101010101010100000101010101010101010101010101010101010101010101010101010101010101010101010101010101010101010101010101010101010101010101010101010101010101010101010101ff010101010101010101020004010101010101010000010100000101010101010101010101010101010101010101010101010101010101010101010101010101010101010101010101010101010101010101010101010101010101010101010101010101ff010101010101010101010200040101010101010000000000010101010101010101010101010101010101010101010101010101010101010101010101010101010101010101010101010101010101010101010101010101010101010101010101010101ff0101010101010101010101100c0d01010101010000010101010101010101010101010101010101010101010101010101010101010101010101010101010101010101010101010101010101010101010101010101010101010101010101010101010101ff010101010101010101010101100c0d010101010000010101010101010101010101010101010101010101010101010101010101010101010101010101010101010101010101010101010101010101010101010101010101010101010101010101010101ff010101010101010101010101050607080101010000010101010101010101010101010101010101010101010101010101010101010101010101010101010101010101010101010101010101010101010101010101010101010101010101010101010101ff010101010101010101010101010200030101010000000000000101010101010101010101010101010101010101010101010101010101010101010101010101010101010101010101010101010101010101010101010101010101010101010101010101ff0101010101010101010101010102000b0101010101010101010101010101010101010101010101010101010101010101010101010101010101010101010101010101010101010101010101010101010101010101010101010101010101010101010101ff0101010101010102070801010102000b0101010101010101010101010101010101010101010101010101010101010101010101010101010101010101010101010101010101010101010101010101010101010101010101010101010101010101010101ff0101010101010102000e0f01131400040101010101010101010101010101010101010101010101010101010101010101010101010101010101010101010101010101010101010101010101010101010101010101010101010101010101010101010101ff010101010101010105060000000004010101010101010101010101010101010101010101010101010101010101010101010101010101010101010112000000000000000e0f010101011000000000030101010000010101010100000001010101010101ff010101010101010101010101010101010101010101010101010101010101010101010101010101010101010101010101010101010101010101010102000000000000000e0f010101120004010102000e0f010100000101010000010000010101010101ff010101010101010101010101010101010101010101010101010101010101010101010101010101010101010101010101010101010101010101010105060b0101010109150f0101090a0b01010101100004010101000001010000010000010101010101ff000000000000000000000000000000000000000000000000000000000000000001010101010101010101010101010101010101010101010101010101090a0301010101010101011000040101010102000b010101010000010000010000010101010101ff010101010101010101010101010101010101010101010101010101010101010101010101011000000000000000000000000c0d01010101010101010101020004010101010101011200040101010102000b010101010100000100000001010101010101ff010101010101010101010101010101010101010101010101010101010101010101010101010101010101010101010101010101010101010101010101010102000401010101010112000401010101100003010100000001000001010101010101010101ff010101010101010101010101010101010101010101010101010101010101010101010101010101010101010101010101010101010101010101010101010101100c0d01010101011200000b0101090a0c0d010000010000010000010101010101010101ff01010101010101010101010101010101010101010101010101010101010101010101010101010101010101010101010101010101010101010101010101010101100c0d01010101100003020000000c0d01010000010000010100000101010101010101ff010101010101010101010101010101010101010101010101010101010101010101010101011000000000000000000000000c0d0101010101010101010101010105060708010101090a0e0f010101010101010000010000010101000001010101010101ff010101010101010101010101010101010101010101010101010101010101010101010101010101010101010101010101010101010101010101010101010101010102000301010105060c0d010101010101010100000001010101010000010101010101ff010101100000000003010101010112000000000e0f010101010100000000010101010101010101010101010101010101010101010101010101010101010101010102000b01010101090a0b010101010101010101010101010101010101010101010101ff0101120004010102000e0f010110000b010113140c0d0101010000010100000101010101010101010101010101010101010101010101010101010102070801010102000b01010101010200030101010101010101010101010101010101010101010101ff01090a0b010101011000040101100708010101090a0e0f01010000010100000101010101010101010101010101010101010101010101010101010102000e0f011314000401010101010102000708010101010101010101010101010101010101010101ff011000040101010102000b01010101010101011314070801010000010100000101010101010101010101010101010101010101010101010101010101050600000000040101010101010101010200000401010101010101010101010101010101010101ff011200040101010102000b01010101010101011314070801010000010100000101010101010101010101010101010101010101010101010101010101010101010101010101010101010101010101010101010101010101010101010101010101010101ff01120004010101011000030101010101010101090a0e0f01010000010100000101010101010101010101010101010101010101010101010101010101010101010101010101010101010101010101010101010101010101010101010101010101010101ff011200000b0101090a0c0d010101120b0101131400040101010000010100000101010101010101010101010101010101010101010101010101010101010101010101010101010101010101010101010101010101010101010101010101010101010101ff01100003020000000c0d0101010506110000000c0d010101010000010100000101010101010101010101010101010101010101010101010101010101010101010101010101010101010101010101010101010101010101010101010101010101010101ff01090a0e0f01010101010101010506030101010101010101010000010100000101010101010101010101010101010101010101010101010101010101010101010101010101010101010101010101010101010101010101010101010101010101010101ff0105060c0d01010101010101010506030101010101010101010100000000010101010101010101010101010101010101010101010101010101010101010101010101010101010101010101010101010101010101010101010101010101010101010101ff0101090a0b01010101010101010506030101010101010101010101010101010101010101010101010101010101010101010101010101010101010101010101010101010101010101010101010101010101010101010101010101010101010101010101ff010101020003010101010101010506030101010101010101010101010101010101010101010101010101010101010101010101010101010101010101010101010101010101010101010101010101010101010101010101010101010101010101010101ff010101010200070801010101010506000000000000030101010101010101010101010101010101010101010101010101010101010101010101010101010101010101010101010101010101010101010101010101010101010101010101010101010101ff010101010101020000040101010506000000000000030101010101010101010101010101010101010101010101010101010101010101010101010101010101010101010101010101010101010101010101010101010101010101010101010101010101ff010101010101010101010101010101010101010102030101010101010101010101010101010101010101010101010101010101010101010101010101010101010101010101010101010101010101010101010101010101010101010101010101010101ff010101010101010101010101010101010101010101010101010101010101010101010101010101010101010101010101010101010101010101010101010101010101010101010101010101010101010101010101010101010101010101010101010101ff010101010101010101010101010101010101010101010101010101010101010101010101010101010101010101010101010101010101010101010101010101010101010101010101010101010101010101010101010101010101010101010101010101ff4c0000006400000000000000000000006200000027000000000000000000000063000000280000002900aa0000000000000000000000803f00000000000000000000803f0000000000000000000000000000000000000000000000000000000000000000220000000c000000ffffffff460000001c00000010000000454d462b024000000c000000000000000e000000140000000000000010000000140000000400000003010800050000000b0200000000050000000c0228006300030000001e00040000000701040004000000070104001d080000410b2000cc00280063000000000028006300000000002800000063000000280000000100080000000000000000000000000000000000160000000000000000000000ffffff0074bfff00df9c4800ffbf7400dfffff0000489c0074000000ffffbf009cdfff0000004800bf74000048000000ffdf9c009c480000ffffdf00489cdf00484848000074bf00bfffff00000074009c4848000101010101010112000000000000000e0f01010100000000010101010101010101010101010101010101010101010101010101010101010101010101010101010101010101010101010101010101010101010101010101010101010101010101010101ff0101010101010102000000000000000e0f01010000010100000101010101010101010101010101010101010101010101010101010101010101010101010101010101010101010101010101010101010101010101010101010101010101010101010101ff0101010101010105060b0101010109150f01010101010100000101010101010101010101010101010101010101010101010101010101010101010101010101010101010101010101010101010101010101010101010101010101010101010101010101ff0101010101010101090a0301010101010101010101010100000101010101010101010101010101010101010101010101010101010101010101010101010101010101010101010101010101010101010101010101010101010101010101010101010101ff010101010101010101020004010101010101010000010100000101010101010101010101010101010101010101010101010101010101010101010101010101010101010101010101010101010101010101010101010101010101010101010101010101ff010101010101010101010200040101010101010000000000010101010101010101010101010101010101010101010101010101010101010101010101010101010101010101010101010101010101010101010101010101010101010101010101010101ff0101010101010101010101100c0d01010101010000010101010101010101010101010101010101010101010101010101010101010101010101010101010101010101010101010101010101010101010101010101010101010101010101010101010101ff010101010101010101010101100c0d010101010000010101010101010101010101010101010101010101010101010101010101010101010101010101010101010101010101010101010101010101010101010101010101010101010101010101010101ff010101010101010101010101050607080101010000010101010101010101010101010101010101010101010101010101010101010101010101010101010101010101010101010101010101010101010101010101010101010101010101010101010101ff010101010101010101010101010200030101010000000000000101010101010101010101010101010101010101010101010101010101010101010101010101010101010101010101010101010101010101010101010101010101010101010101010101ff0101010101010101010101010102000b0101010101010101010101010101010101010101010101010101010101010101010101010101010101010101010101010101010101010101010101010101010101010101010101010101010101010101010101ff0101010101010102070801010102000b0101010101010101010101010101010101010101010101010101010101010101010101010101010101010101010101010101010101010101010101010101010101010101010101010101010101010101010101ff0101010101010102000e0f01131400040101010101010101010101010101010101010101010101010101010101010101010101010101010101010101010101010101010101010101010101010101010101010101010101010101010101010101010101ff010101010101010105060000000004010101010101010101010101010101010101010101010101010101010101010101010101010101010101010112000000000000000e0f010101011000000000030101010000010101010100000001010101010101ff010101010101010101010101010101010101010101010101010101010101010101010101010101010101010101010101010101010101010101010102000000000000000e0f010101120004010102000e0f010100000101010000010000010101010101ff010101010101010101010101010101010101010101010101010101010101010101010101010101010101010101010101010101010101010101010105060b0101010109150f0101090a0b01010101100004010101000001010000010000010101010101ff000000000000000000000000000000000000000000000000000000000000000001010101010101010101010101010101010101010101010101010101090a0301010101010101011000040101010102000b010101010000010000010000010101010101ff010101010101010101010101010101010101010101010101010101010101010101010101011000000000000000000000000c0d01010101010101010101020004010101010101011200040101010102000b010101010100000100000001010101010101ff010101010101010101010101010101010101010101010101010101010101010101010101010101010101010101010101010101010101010101010101010102000401010101010112000401010101100003010100000001000001010101010101010101ff010101010101010101010101010101010101010101010101010101010101010101010101010101010101010101010101010101010101010101010101010101100c0d01010101011200000b0101090a0c0d010000010000010000010101010101010101ff01010101010101010101010101010101010101010101010101010101010101010101010101010101010101010101010101010101010101010101010101010101100c0d01010101100003020000000c0d01010000010000010100000101010101010101ff010101010101010101010101010101010101010101010101010101010101010101010101011000000000000000000000000c0d0101010101010101010101010105060708010101090a0e0f010101010101010000010000010101000001010101010101ff010101010101010101010101010101010101010101010101010101010101010101010101010101010101010101010101010101010101010101010101010101010102000301010105060c0d010101010101010100000001010101010000010101010101ff010101100000000003010101010112000000000e0f010101010100000000010101010101010101010101010101010101010101010101010101010101010101010102000b01010101090a0b010101010101010101010101010101010101010101010101ff0101120004010102000e0f010110000b010113140c0d0101010000010100000101010101010101010101010101010101010101010101010101010102070801010102000b01010101010200030101010101010101010101010101010101010101010101ff01090a0b010101011000040101100708010101090a0e0f01010000010100000101010101010101010101010101010101010101010101010101010102000e0f011314000401010101010102000708010101010101010101010101010101010101010101ff011000040101010102000b01010101010101011314070801010000010100000101010101010101010101010101010101010101010101010101010101050600000000040101010101010101010200000401010101010101010101010101010101010101ff011200040101010102000b01010101010101011314070801010000010100000101010101010101010101010101010101010101010101010101010101010101010101010101010101010101010101010101010101010101010101010101010101010101ff01120004010101011000030101010101010101090a0e0f01010000010100000101010101010101010101010101010101010101010101010101010101010101010101010101010101010101010101010101010101010101010101010101010101010101ff011200000b0101090a0c0d010101120b0101131400040101010000010100000101010101010101010101010101010101010101010101010101010101010101010101010101010101010101010101010101010101010101010101010101010101010101ff01100003020000000c0d0101010506110000000c0d010101010000010100000101010101010101010101010101010101010101010101010101010101010101010101010101010101010101010101010101010101010101010101010101010101010101ff01090a0e0f01010101010101010506030101010101010101010000010100000101010101010101010101010101010101010101010101010101010101010101010101010101010101010101010101010101010101010101010101010101010101010101ff0105060c0d01010101010101010506030101010101010101010100000000010101010101010101010101010101010101010101010101010101010101010101010101010101010101010101010101010101010101010101010101010101010101010101ff0101090a0b01010101010101010506030101010101010101010101010101010101010101010101010101010101010101010101010101010101010101010101010101010101010101010101010101010101010101010101010101010101010101010101ff010101020003010101010101010506030101010101010101010101010101010101010101010101010101010101010101010101010101010101010101010101010101010101010101010101010101010101010101010101010101010101010101010101ff010101010200070801010101010506000000000000030101010101010101010101010101010101010101010101010101010101010101010101010101010101010101010101010101010101010101010101010101010101010101010101010101010101ff010101010101020000040101010506000000000000030101010101010101010101010101010101010101010101010101010101010101010101010101010101010101010101010101010101010101010101010101010101010101010101010101010101ff010101010101010101010101010101010101010102030101010101010101010101010101010101010101010101010101010101010101010101010101010101010101010101010101010101010101010101010101010101010101010101010101010101ff010101010101010101010101010101010101010101010101010101010101010101010101010101010101010101010101010101010101010101010101010101010101010101010101010101010101010101010101010101010101010101010101010101ff010101010101010101010101010101010101010101010101010101010101010101010101010101010101010101010101010101010101010101010101010101010101010101010101010101010101010101010101010101010101010101010101010101ff0c00000040092900aa000000000000002800630000000000040000002701ffff030000000000
Соотношение частей в помольной смеси
составит: первая часть
,
вторая
часть
третья
часть
.
При составлении помольной смеси нередко предпочтение отдают методу, основанному на личном опыте технолога и его информации о качестве зерна. Несмотря на очевидную простоту, этот метод субъективен.
4. Г.Т.О Гидротермическая обработка зерна
В процессе подготовки зерна к размолу в муку стремятся придать ему свойства, которые в наибольшей степени способствуют получению нужных результатов. В зерне с естественной влажностью условиях стабильной относительной влажности и температуры среды, влажность оболочек, как правило, ниже, чем влажность эндосперма. При получении сортовой муки такое состояние зерна неблагоприятно для размола. Оптимальным состоянием является такое, при котором оболочки имеют более высокую влажность, чем эндосперм при определенной влажности зерна. Именно к такому состоянию зерна с учетом изменения структурно- механических свойств его составных частей приводит гидротермическая обработка. Таблица 9. Поглощение воды, % от массы зерна, при различной температуре воды (по Л.Е Айзиковичу).
|
Продолжительность пребывания зерна в воде, с |
Поглощение воды при температуре, градусы С. |
Продолжительность пребывания зерна в воде, с |
Поглощение воды при температуре, градусов С |
||
|
6 |
27 |
6 |
27 |
||
|
До10 |
4,1 |
4,5 |
60 |
5,5 |
7,3 |
|
10 |
4.1 |
5,1 |
300 |
5,7 |
8,9 |
|
20 |
4,6 |
5,6 |
600 |
6,2 |
9,9 |
|
40 |
5,4 |
6,5 |
Гидротермическая обработка- средство направленного изменения структурно-механических свойств составных частей зерна. На предприятии ЗАО «Балаково-мука» основным способом влаготепловой обработки зерна является холодное кондиционирование. Оно включает в себя две операции: увлажнение зерна и его отволаживание (отлежку) в бункерах.
Зерно увлажняют холодной или подогретой водой. При контакте зерна с водой происходит скачкообразное приращение влаги на 3-5%,но,находясь в плодовой оболочке,влага может легко испариться. Более надежное ее удержание обеспечивается в процессе отволаживания при перемещении влаги в семенные оболочки и алейроновый слой и далее, внутрь эндосперм.
Технологическая схема увлажнительного аппарата А1-БАЗ

1-шнек,2-вентиль,3-манометр,4-редукционный клапан,5-фильтр,6-электромагнитный вентель,7-панель,8-распределительная коробка,9-ротометр,10- регулирующий вентель,11-спускной кран,12-форсунка А1-БАЗ,13- индикатор наличия зерна,14-компрессор,15- форсунка А1-БАЗ, I –исходное зерно, II –воздух,III-вода, IV-электрический ток, V-очищенное зерно.
В производственном помещении, где происходят не прерывный обмен влаги между воздухом и зерном, при выборе режимов гидротермической обработки учитывают параметры окружающей среды так, в летние месяцы сухой и горячий воздух, соприкасаясь с зерновой массой, подсушивает ее, нарушая баланс влаги. В этом случае применяют усиленное увлажнение, а время отвалаживания сокращают. В зимний период для усиления процессов влагопоглощения подогревают зерно перед увлажнением, а в моечную машину подают теплую воду. Продолжительность отвалаживания увеличивают. Оптимальное влажность зерна после кондиционирования определяется его структорно-механическими свойствами. Чем выше стекловидность, тем больше требуется увлажнение зерна по этому зерно по стекловидности делят на три группы – до 40%, от 40 до 60 и более 60%. На данном предприятии используется зерно со стекловидностью от 40 до 50 %. Режимы кондиционирования приведены в таблице. Таблица 10 Режимы кондиционирования пшеницы.
|
Тип зерна |
Влажность зерна, % |
Продолжительность отволагивания, ч. |
|
1 |
15,0- 15,5 |
6- 12 |
|
2 |
14,5-15,0 |
6- 10 |
|
3 |
15,5- 16,0 |
6- 16 |
Непосредственно перед измельчением зерно дополнительно увлажняют на 0,3- 0,5% с доведением его влажности до рекомендуемой правилами. Продолжительность отволаживания на заключительном этапе кондиционирования 20-30 минут. За столь небольшое время влага не успевает проникнуть в эндосперм, остается в оболочках, что способствует еще большей их пластификации. Увлажняют зерно в специальном увлажнительном аппарате. Он представляет собой разновидность винтового конвейера – шнек, в котором зерно перемешивается с водой и транспортируется к выходу.
5. Схема технологического процесса
Совершенное технологическое оборудование и научно обоснованные принципы технологии позволяют осуществить эффективную переработку зерна на мини- мельнице ЗАО «Балаково- мука» в муку высокого качества. Технологический процесс работает в следующей последовательности: привод осуществляется от электрического двигателя. Предварительно очищенное зерно подают из элеватора на мукомольный завод цепными конвейерами 1 и загружают в силосы 2.Силосы оборудованы датчиками верхнего и нижнего уровней, которые связаны с центральным пунктом управления. Зерно из каждого силоса выпускают через самотечные трубы, снабженные электропневматическими регуляторами потока зерна 3. С помощью регуляторов и винтового конвейера 4 в соответствии с заданной рецептурой и производительностью формируют помольные партии зерна. Каждый поток зерна проходит магнитные сепараторы 5, подогреватель зерна 6 (в холодное время года) и весовой автоматический дозатор 7. Далее зерно подвергают многостадийной очистке от примесей. В зерноочистительном сепараторе 8 отделяют крупные, мелкие и легкие примеси. В камнеотделительной машине 9 выделяют минеральные примеси. Затем зерно очищается в дисковых триерах: куколеотборнике 10 и овсюгоотборниках 11, а также в магнитном сепараторе. Наружную поверхность зерна очищают в вертикальной обоечной машине12, а с помощью воздушного сепаратора 13 отделяют аспирационные относы.
Далее зерно через магнитный сепаратор попадает в машину мокрого шелушения 14, а после гидрообработки системой винтовых конвейеров 15 и 17 зерно распределяется по силосам 18 для отволаживания. После отволаживания зерно через регулятор расхода, винтовой конвейер 19 и магнитный аппарат поступает в обоечную машину 20 для обработки поверхности, а затем в воздушный сепаратор 21 для выделения легких примесей. Далее через магнитный аппарат его подают в увлажнительный аппарат 22 и бункер для для кратковременного отволаживания. Затем зерно взвешивают на автоматическом весовом дозаторе 24 и через магнитный аппарат направляют на измельчение в первую драную систему. В каждую драную систему входят вальцовые станки 25, рассевы драных систем 26, рассевы сортировочные 27 и ситовеечные машины 28. Сортирование продуктов измельчения драных систем осуществляют последовательно в два этапа с получением на первом этапе крупной и частично мелкой крупок, дунстов и муки. В ситовеечных машинах 28 обогащают крупки и дунсты 1, 2 и 3 драных систем и крупку шлифовального процесса. Обработке в шлифовальных вальцовых станках 29 подвергают крупную и среднюю крупку 1, 2 и 3 драных систем после ее обогащения в ситовых машинах 28. Верхние сходы с сит рассевов 3 и 4 драных систем направляют в бичевые вымольные машины 33, проход последних обрабатывают в центрифугах 34. В рассевах 30, 32 и 35 из продуктов измельчения высевают муку, которая поступает в винтовой конвейер 36. Из него муку подают в рассевы 37 на контроль, что бы обеспечить отделение посторонних частиц и требуемую крупность помола. Далее муку через магнитный аппарат и весовой дозатор 38 распределяют в функциональные силосы 39. Из них обеспечивается бестарный отпуск готовой муки, либо с помощью весовыбейного устройства 40, муку фасуют в мешки, которые конвейером 41 также передают на транспорт для отгрузки.
5.1 Определение нормы выхода муки
Одно из основных, наиболее ответственных работ отдела технического контроля заключается в правильном определении нормы выхода муки, отрубей и отходов. Существует производственный баланс помола который снимается на действующем предприятии (ЗАО «Балаково-мука») и теоретический, который рассчитывается на проектируемых и реконструируемых мельницах. На основе баланса корректируют режимы на отдельных технологических системах, группируют потоки продуктов, формируют сорта муки, рассчитывают необходимое количество оборудования, распределяют по отдельным системам и т.д. Пользуясь балансом можно правильно оценить технологический процесс, исправить недостатки и наметить пути дальнейшего совершенствования. Особенностью методики является то, что количество поступающего зерна принимают за 100%. Хотя 2,9% при сортовых помолах пшеницы и 3,4% при помолах ржи остается в подготовительном отделении в виде отходов и потерь, т.е. реально поступает 97,1% при помоле пшеницы и 96,6 при помоле ржи. При расчете исходят из базисных показателей качества зерна. Указанная особенность определяет необходимость пересчета запланированных выходов муки отрубей так, что бы сумма была равна 100%. Потерями в размольном отделении пренебрегают. Запланированный выход муки 75%, в том числе высший сорт 50%, первый сорт 20%, второй 5% и выход отрубей 22,1% (всего 97,1%).Общий выход составит: 97,1 - 100% 75 - х

Выход высшего сорта: 97,1 - 100% 50% - х

Выход первого сорта: 97,1 -100% 20 - х

Выход второго сорта: 97,1 - 100% 5 - х

Выход отрубей 97,1 -100% 22 - х

Итого: 51,49%+ 20,60 % + 5,15% + 22,76%=100%
Эти значения должны быть получены при разработке баланса помола. При разработке теоретического баланса помола руководствуются Правилами по режимам измельчения. 100% - 51,49 5 - х

Сход с контроля муки второго сорта: 100% -5,15 х -5

Таким образом, количество муки, поступившее на контроль должно быть выше рассчитанного на массу сходов, чтобы получить после контрольного рассева требуемый выход муки. должно поступить по балансу: На контроль высшего сорта 51,49+ 2,57= 54,06%. На контроль первого сорта 20,60+1,03=21,63%. На контроль второго сорта 5,15+0,26=5,41%.
Оценка качества муки по органолептическим и физико– механическим свойствам показателям пшеничная мука должна соответствовать требованиям стандарта. По данным лаборатории ЗАО «Балаково- мука» охарактеризуем качество сортов продукции в сравнении с базисными показателями качества.
Таблица 11 Показатели качества муки.
|
Наименование показателя |
базисный |
фактический |
||
|
в/с |
1сорт |
Высший сорт |
Первый сорт |
|
|
вкус |
Свойственный пшеничной муке, без посторонних привкусов, не кислый не горький. |
Свойственный пшеничной муке, без посторонних привкусов не кислый, не горький |
||
|
запах |
Свойственный пшеничной муке, без посторонних привкусов, не кислый не горький. |
Свойственный пшеничной муке, без посторонних привкусов не кислый, не горький |
||
|
Массовая доля влаги, % |
Не более 15 % |
14,5 |
13,7 |
|
|
цвет |
Белый или белый с кремовым оттенком |
Белый или белый с желтоватым оттенком |
белый |
Белый с желтоватым оттенком |
|
Белизна усл.ед прибора Р3-БПЛ |
Не менее 54,0 |
Не менее 36,0 |
59,0 |
42,0 |
|
Качество клейковины по ИДК, усл.ед |
Не ниже второй группы |
Не ниже второй группы |
||
|
Качество клейковины, % |
Не менее 28 |
Не менее 30 |
28 |
30 |
|
Крупность остаток на шелковом сите №/ % |
Не более 43/5 |
Не более 35/2 |
43/1 |
35/1 |
|
Проход шелкового сита №/% |
----- |
Не менее 43/80 |
----- |
43/90 |
Таким образом, качество муки высшего и первого сортов на ЗАО «Балаково- мука» соответствует базисным нормам. Иногда появляется необходимость временного хранения муки и на мельницах, до его реализации. Может создаваться такое положение, когда придется хранить муку достаточно длительное время. Требуется поэтому знать причины порчи муки и способы ее предохранения от ухудшения качества, сохранения ее свойств.
Лучше всего хранить муку при невысокой влажности, не более 13,5% в сухом, прохладном помещении.
При хранение влажной муки (при температуре выше 20 градусов) содержащиеся в ней жиры подвергаются разложению. Поэтому повышается кислотность муки, может появиться даже прогорклый вкус. Восстановить прежнее качество такой муки невозможно.
Большой вред наносит муке при хранении различные насекомые-вредители. Особенно интенсивно они размножаются при температуре 20-35 градусов и повышенной влажности муки.
Мучные клещи - это мелкие, почти микроскопические насекомые, которые проходят несколько стадий развития. При благоприятных условиях они быстро размножаются, так что мука комкается и приобретает солодовый запах. Такую муку употреблять в пищу нельзя.
Могут появиться в муке и различные жучки, например, малый мучной хрущак и другие. Их личинки живут в муке, питаются ею и тут же окукливаются, вновь превращаясь затем в жучков. Кроме прямого уничтожения муки, за счет потребления ее в пищу, насекомые загрязняют ее своими отходами жизнедеятельности. При значительном развитии насекомых мука теряет свои пищевые достоинства.
Основным способом борьбы с насекомыми-вредителями муки в домашних условиях является ее охлаждение.
Правила отпуска муки.
Данные, необходимые для заполнения удостоверения о качестве, кроме показателей влажности, вносят по средним результатом анализов при загрузки силоса. Влажность муки определяет при ее отпуске. Муковозы перед загрузкой в них продукции должны осматривать работники отделения бестарного хранения и лаборатории, проверять наличии пломб на загрузочных люках и выпускных устройствах.
Запрещается отгружать муку в неисправных цистернах - автомуковозах, зараженных вредителями хлебных запасов, загрязненных или с наличием запаха. После наполнения контейнерах муковозов загрузочные люки должны быть опломбированы представителем мукомольного предприятия в присутствии водителя транспорта. При бестарном хранение и отпуске муки должны быть приняты меры, исключающие возможность потери муки.
6.Экономика
«Экономика» вырастает из «производства», которое образует материальную основу экономики.
Источники любого производства – это ресурсы, которыми располагает общество, что же понимает экономическая теория под « ресурсами производства»?
Ресурсы и факторы производства – это совокупность тех природных, социальных и духовных сил, которые могут быть использованы в процессе создания товаров, услуг и иных ценностей.
В экономической теории ресурсы принято делить на четыре группы:
1. природные – потенциально пригодные для применения в производстве естественные силы и вещества. Среди которых различают: «неисчерпаемые» и «исчерпаемые» (последние в последнюю очередь делятся на «возобновляемые» и «невозобновимые»);
2. материальные – все созданные человеком («рукотворные») средства производства, (которые, следовательно, сами являются результатом производства);
3. трудовые – население в трудоспособном возрасте, которое в «ресурсном» аспекте обычно оценивают по трём параметрам: социально-демографическому, профессионально-квалификационному и культурно-образовательному;
4. финансовые – денежные средства, которые общество в состоянии выделить на организацию производства.
Основные фонды промышленности нашей страны изношены значительно - физически и морально. Из-за этого основные фонды страны зачастую неспособны выпускать конкурентоспособные продукты, как по цене, так и по качеству. Если не принять необходимых мер по систематическому обновлению основных фондов, их техническому перевооружению с учетом современных требований, невозможно будет наращивание отечественного производства, обеспечивающего социально-экономическое развитие и поддержание обороноспособности страны, на необходимом уровне. Без этого развитие отечественной экономики, основанной на собственном материальном производстве, немыслимо.
РЕСУРСЫ ПРОМЫШЛЕННЫХ ПРЕДПРИЯТИЙ
Ресурсы – это вовлеченные в хозяйственный оборот факторы производства, например, величина основных производственных фондов, которыми располагает предприятие на определенный момент. К числу ресурсов предприятия можно отнести производственные (трудовые, производственные фонды, инвестиции, информационные ресурсы) и финансовые.
Экономическая сущность основных фондов.
Как известно, производство состоит из трех элементов — средств труда, предметов труда и самого труда (персонала).
Совокупность средств труда и предметов труда образуют средства производства. Денежная же оценка средств производства и есть по сути производственные фонды. При этом денежная оценка средств труда формирует основные фонды, а денежная оценка предметов труда — оборотные фонды. Таким образом, совокупность основных и оборотных фондов представляют производственные фонды:
ПФ = ОФ+ОБФ,
где: ПФ—производственные фонды, руб.
ОФ—основные фонды, руб.
ОБФ — оборотные фонды, руб.
Основные фонды — это выраженные в денежной форме те средства производства, которые участвуют многократно в производственном процессе и вследствие этого переносят свою стоимость на изготовленный продукт по частям.
Оборотные же фонды — это выраженные в денежной форме те средства производства, которые участвуют лишь в одном производственном цикле, полностью потребляются, а, следовательно, переносят свою стоимость на изготовленный продукт целиком.
Экономическое отличие основных фондов от оборотных фондов сводится к длительности, кратности участия в производстве и характере переноса стоимости. Основные фонды участвуют во многих производственных циклах, функционируют многие годы, по крайней мере более года. Оборотные же фонды участвуют лишь в одном производственном цикле. Основные фонды переносят свою стоимость на изготовленный продукт по частям за весь свой жизненный цикл, годы функционирования. Оборотные фонды, потребляясь полностью за один цикл, переносят свою стоимость на изготовленный продукт целиком. Основные фонды не меняют своей натуральной формы, хотя с годами все ухудшаются, но не теряют своей сути. Оборотные фонды, как правило, меняют свою натуральную форму, присоединяясь к изготовленному продукту или вовсе теряясь. Уставный фонд предприятия отличается от производственных фондов наличием в нем фондов обращения.
Основные фонды по составу и структуре несколько отличаются от основного капитала, но с вхождением в мировое хозяйство, усилением интеграционных процессов эти различия сведутся к минимуму, ибо их функции экономически едины.
Основные фонды — важнейшая часть производственного потенциала. Без них немыслим сам процесс производства. Но, разумеется, не только этим ограничивается важность и народнохозяйственная значимость их формирования и функционирования на основе современных научно-технических достижений, технологических и социально-экономических требований.
Наличие современных основных фондов и их эффективное функционирование — непременное условие конкурентоспособности хозяйствующих субъектов рынка. От эффективности использования наличных основных фондов во многом зависит эффективность производства отрасли.
Основные фонды во многом определяют конкурентоспособность производимого продукта не только по стоимости, но что очень важно — и по показателю качества. Следовательно, благополучие предприятий и отрасли в целом в конкурентном рынке в решающей степени определяется состоянием основных фондов и эффективностью их использования. Актуальность повышения эффективности использования основных фондов усиливается тем обстоятельством, что как по уровню, так и в динамике она не всегда удовлетворяет требованиям рынка, конкурентоспособному функционированию хозяйствующих субъектов. Состав основных фондов — это материально-вещественные элементы, формирующие полную стоимость основных фондов.
В зависимости от производственного назначения основные фонды представлены в следующем составе:
1. Здания производственного назначения
2. Сооружения
3. Передаточные устройства
4. Силовые машины и оборудование
5. Рабочие машины и оборудование
6. Измерительные и регулирующие приборы и устройства и лабораторное оборудование
7. Вычислительная техника
8. Транспортные средства
9. Инструмент сроком службы более одного года и цензовой стоимости
10. Инвентарь сроком службы более одного года и цензовой стоимости.
Экономические условия – это предложения товаров и услуг и спрос на них; виды товаров и услуг, которые могут приобрести покупатели; объем денежных средств, которые покупатели могут истратить на покупки; избыток или недостаток рабочих мест, влияющие на уровень заработной платы, то есть на возможность приобретения товаров. Вплотную к экономическим примыкают социальные условия формирования предпринимательства. Социальные условия влияют на отношения отдельного человека к работе, что в свою очередь влияет на отношение к заработной плате, к условиям труда. Любая предпринимательская деятельность функционирует в рамках соответствующей правовой среды. Большое значение имеет создание необходимых правовых условий. Сюда входит наличие законов, регулирующих предпринимательскую деятельность и создающих наиболее благоприятные условия для развития предпринимательства: упрощенная и ускоренная процедура открытия и регистрации предприятий, защита от бюрократизма, совершенствование налогового законодательства. Обоснованная необходимость государственного регулирования предпринимательской деятельности указывает основные причины, в силу которых появились соответствующие законодательные акты: необходимость защитить фирмы друг от друга. Отсюда принятие законов, предотвращающих проявление «недобросовестной конкуренции». Необходимость защиты потребителей от недобросовестной деловой практики. Отсюда направленность законов против тех организаций, которые, оставшись без присмотра, могут начать выпускать плохие товары, лгать в рекламе. необходимость защиты высших интересов общества от «разнузданности» предприятий. Ведь предпринимательская деятельность не всегда обеспечивает нам лучшее качество жизни, в условиях перехода к рыночным отношениям в России «разнузданность» предприятий проявляется нередко в очень жестких формах. Основными производителями в рыночном хозяйстве большинства стран являются частные предприятия. Используя возможности оперативного маневрирования собственными и заемными средствами и быстрой перестройкой производства, они сами устанавливают свои производственные планы, ориентируясь на рыночный спрос и цены на товары. В сфере оказания услуг наибольшее распространение получили государственные и муниципальные предприятия. В системе рыночной экономики государство и муниципалитеты обязаны обеспечить производство товаров в тех сферах, в которых частные предприятия не дают гарантированного удовлетворения спроса в необходимых товарах и услугах по приемлемым ценам, - это относится, например, к обеспечению населения водой, энергией, транспортом. Государственные предприятия получают дотации и финансирование из государственного бюджета, а муниципальные из местных бюджетов. Формы предпринимательской деятельности регулируются законодательством о предприятии и хозяйственных обществах. Наряду с ними важное значение имеют указы, распоряжения Президента Российской Федерации, постановления и распоряжения Правительства Российской Федерации. Прежде всего следует назвать Конституцию и Гражданский кодекс Российской Федерации.
Предпринимательскую деятельность также в АПК также регулирует Закон РСФСР «О крестьянском (фермерском) хозяйстве» (1990г.) и Федеральный Закон «О сельскохозяйственной кооперации» (1995г.) и другие. Агробизнес представляет собой предпринимательскую деятельность в сфере производства, переработки, реализации сельскохозяйственной продукции, а также оказания других услуг, связанных с сельскохозяйственным производством. Основная сложность предпринимательской деятельности в сельском хозяйстве связана с переплетением экономических и природно-климатических начал воспроизводства. В связи с этим замедлен кругооборот и оборот капитала, следовательно, ниже годовая норма рентабельности и отдача авансированного капитала, выручка от реализации сельскохозяйственной продукции, а с него и прибыль поступают сезонно. Особенности предпринимательской деятельности в сельском хозяйстве определяются, прежде всего, спецификой самого процесса производства в этой отрасли. Ведущие экономисты выделяют следующие из них: 1. В сельском хозяйстве главным средством производства является - земля, а в качестве средств производства используются растения и животные. 2. Характерной особенностью земли является ее обширность и пространственная ограниченность. В связи с этим рабочая сила и средства производства рассредоточиваются на огромных территориях. Этим объясняется необходимость перемещения средств производства и лучшего развития транспорта. 3. В сельском хозяйстве имеет место переплетение экономических процессов с естественными природно-климатическими условиями. 4. Сельское хозяйство имеет особенности в разделении труда и специализации производства. Здесь всегда имеются одна-две главные отрасли, которые сочетаются с рядом дополнительных отраслей. Причем воспроизводство главных отраслей фактически невозможно без дополнительных отраслей. 5. Наличие многообразных форм собственности в сельском хозяйстве. Этим объясняются особенности воспроизводства в сельскохозяйственных предприятиях. Учитывая сложный характер предпринимательства в аграрной сфере, рисковым делом становится и кредитование сельского хозяйства. Но в связи с сезонностью производства, потребностью в огромных инвестициях сельских предприятий необходимость в кредите у них значительно выше, чем у предпринимателей других сфер. Все это ставит проблему управления хозяйственным риском в аграрной сфере как одну из самых актуальных, требует системного подхода к реформированию всего комплекса социально-экономических условий для нормального функционирования в России. Для этого необходимо аргументировать и обосновать оформление проектов, требующих инвестиций. Для этих и некоторых других целей применяется бизнес-план. В рыночной экономике бизнес-план является рабочим инструментом, используемым во всех сферах предпринимательства. Он описывает процесс функционирования предприятия, показывает, какими образом его руководители собираются достичь повышения прибыльности работы. Бизнес-план является постоянным документом; он систематически обновляется, в него вносятся изменения, связанны с переменами, происходящими как внутри хозяйства, так и на рынке, где действует предприятие. Оценка деятельности сельскохозяйственных предприятий в результате экономического анализа отдельных объектов, направлений многогранной работы не дает в полной мере общее представление об эффективности работы хозяйств в целом, поскольку все процессы производства взаимосвязаны между собой и в различной степени оказывают влияние на общие результаты работы сельскохозяйственных предприятий. В связи с этим анализ деятельности сельскохозяйственных предприятий по основным результативным экономическим показателям имеет важное значение. В системе оценки финансового состояния предприятия особое место принадлежит изучению ликвидности (платежеспособности) и финансовой устойчивости. Ликвидность предприятия – это возможность его в установленные сроки производить и выполнять денежные обязательства за счет имеющихся собственных и заемных денежных средств. Важное значение для деятельности предприятия имеет реклама. Лишь немногие коммерческие предприятия могут сегодня успешно вести дела без рекламы в том или ином виде. Рекламу можно рассматривать как форму коммуникации, которая пытается перевести качества товаров и услуг, а также идеи на язык нужд и запросов потребителя. Взаимоотношение это отнюдь не простое. Так, с самого начала важно помнить, что рекламные объявления, которые мы видим и слышим, являются конечными продуктами целого ряда исследований, стратегических планов, тактических решений и конкретных действий, составляющих в своей совокупности процесс рекламы. К сбыту товаров и услуг относятся действия, направленные на планомерную организацию рынка сбыта. Условием их реализации является надежная информация о состоянии рынка и его динамике. Эту информацию получают путем исследования рынка. Исследование рынка включает совокупность методов получения информации о состоянии рынка и его динамике. Такую информацию можно получить двумя путями. Несистематические накапливания и изучение информации из переговоров с поставщиками и клиентами, отчетов представителей, посещений выставок и ярмарок, наблюдений за конкурентами, обзоров состояния и конъюнктуры рынка в ежедневных и специализированных газетах и журналах. Систематическое изучение рынка осуществляется научными методами. Расширением рынков сбыта продукции занимается сейчас каждое четвертое сельскохозяйственное предприятие и десятое фермерское хозяйство, однако планируется значительно активизировать эту сферу. Более того, товаропроизводители различных форм собственности намериваются развивать свою деятельность за счет интенсивности факторов: ориентации структуры производства продукции и услуг на потребности развивающегося рынка, тщательного подбора поставщиков материально-технических ресурсов и потребителей производимой продукции. Основными конструктивными элементами новой аграрной политики должны стать реальные долгосрочные программы, в которых совокупно представлены конкретные процедуры и механизмы, направленные на решение конкретных задач. В связи с тем, что принятые за последние годы законодательные акты в области АПК не обеспечили системный подход и практически не используются, предлагается как вариант разработать и принять специальный единый сельскохозяйственный закон со сроком действия пять лет, включающий основные принципы, комплексные меры и механизмы новой аграрной политики. В первоочередном порядке необходимо решать следующие задачи: 1.Создать экономические условия для ведения расширенного воспроизводства в сельском хозяйстве, провести целенаправленную работу по оздоровлению экономического и финансового состояния сельскохозяйственных предприятий:
-установить оптимальные условия соотношения между продукцией сельского хозяйства и продукцией других отраслей экономики;
-гарантировать сбыт произведенной продукции;
-повысить роль Федерального агентства по регулированию продовольственного рынка.
2. Эффективная внешнеторговая политика страны.
Снять груз неплатежей и долгов с сельскохозяйственных предприятий, которые образовались за годы реформы.
3. Специфический подход к финансово-кредитному обслуживанию.
4. Проблема земельных отношений. Создание и реализация экономического механизма перехода земли должна строиться на твердой юридической базе.
Такой базой может быть только Земельный кодекс.
Производство непрерывное и переодическое.
Первоочередной задачей является анализ исходных данных с целью проверки обоснованности рекомендованного метода производства. Если учесть, что один и тот же продукт можно получить различными методами и из различного сырья, то решающим фактором при выборе схемы часто оказывается стоимость сырья. Это объясняется тем, что в промышленности затраты на сырье составляют значительную долю производственных расходов.
Сравнивая с технологической точки зрения непрерывный и периодический способы получения одного и того же продукта, следует помнить, что эффективное применение непрерывного метода возможно при наличии сырья с постоянными заданными физико-химическими свойствами, надежного контроля производства с автоматическим поддержанием необходимых параметров процесса, надежной и бесперебойной работы оборудования. Для периодического производства характерен пооперационный контроль, требования к которому должны быть высокими с целью обеспечения заданного качества продукта.
В целом непрерывные производства имеют значительные преимущества перед периодическими: возможность постадийной специализации аппаратуры, стабилизация процесса во времени, а, следовательно, постоянное качество продукта, возможность регулировки параметров процесса и полной его автоматизации. Непрерывные схемы предусматриваются, как правило, для крупно- и среднетоннажных производств, а периодические – для малотоннажных, что объясняется в первом случае рентабельностью применения средств автоматизации.
При этом учитывают новейшие результаты исследований по усовершенствованию технологии производства, анализируют регламенты действующих и опытных производств-аналогов, проверяют нормы расхода сырья, вспомогательных материалов, рекомендации по выбору конструкционных материалов для изготовления оборудования.
Основные направления новых технических решений: в зерноперерабатывающей промышленности – разработка оборудования для приемки, транспортирования и хранения зерна, обеспечивающего энергосбережение, экологическую безопасность, повышение технического и технологического уровня производства, сокращение потерь зерна и сохранение его качества.
Выход продукта в пищевой и перерабатывающей промышленности, использующей для получения продукции сырье растительного и животного происхождения, составляет 15…30 % от массы переработанного сырья. Остальная часть сырья, содержащая значительные количества ценных и полезных веществ, переходит в так называемые отходы производства, которые часто являются вторичным сырьем для производства дополнительной продукции.
Вовлечение в сферу производства огромных ресурсов промышленных отходов равносильно расширению сырьевой базы пищевой и перерабатывающей промышленности при одновременной экономии затрат труда, а выпуск дополнительной продукции из вторичного сырья означает снижение издержек производства на единицу конечной продукции при тех же затратах на сырье. Поэтому комплексное использование сырья и отходов является приоритетной задачей для пищевой и перерабатывающей промышленности. В процессе технологической переработки первичного сырья и вспомогательных производственных материалов получаются основная, побочная продукция, а также отходы производства.
Под основной продукцией понимают ту продукцию, для получения которой создано и осуществляется данное производство на конкретном промышленном предприятии. В пищевой промышленности это – сахар, растительное масло, спирт, ликеро-водочные изделия, пиво, виноградное вино, крахмал, крахмальная патока, глюкоза, чай, табак, консервы, сушеные овощи, продукты детского и диетического питания, мясо, молоко и продукция из них.
Побочный продукт – дополнительная продукция, образующаяся при производстве основной продукции и не являющаяся целью данного производства, но пригодная как сырье в другом производстве или для потребления в качестве готовой продукции. Побочные продукты производства образуются в результате физико-химической переработки сырья наряду с основной продукцией в едином технологическом цикле и сохраняют максимум полезных веществ в неизменном виде. Они имеют самостоятельное экономическое значение, отличаются от основной продукции по своим физико-химическим свойствам, агрегатному состоянию. К побочной продукции в молочной отрасли относятся – обезжиренное молоко, пахта, сыворотка, молочный сахар; в зерноперерабатывающей – отруби, мучка кормовая, зародыш; в сахарной – меласса, рафинадная патока; в спиртовой – головная фракция этилового спирта, сивушное масло и т.д.
В соответствии с Законом РФ «Об отходах производства и потребления» от 24 июня 1998 г. № 89-РЗ отходы производства и потребления – это остатки сырья, материалов, полуфабрикатов, иных изделий или продуктов, которые образовались в процессе производства или потребления, а также товары (продукция), утратившие свои потребительские свойства.
На практике понятие «отходы производства» весьма динамично. Оно может меняться с внедрением прогрессивных технологических процессов, передовой техники, новых видов сырья и с изменением спроса на вырабатываемую продукцию.
Отходы делятся: на используемые и неиспользуемые. Используемые отходы производства – те отходы, относительно которых имеется возможность и целесообразность их использования непосредственно или после обработки. Используемые отходы можно рассматривать как вторичное сырье.
Вторичное сырье – это вторичные материальные ресурсы, для которых применительно к определенному отрезку времени имеется реальная возможность и целесообразность использования.
К этой группе относится наибольшее число отходов пищевой и перерабатывающей промышленности.
Неиспользуемые отходы – это отходы производства, для которых на современном уровне развития науки и техники пока не установлена возможность или целесообразность использования как непосредственно, так и после обработки. В пищевой промышленности к ним относят отбельные глины, хмелевую дробину, транспортерно-моечные воды, сепарационные шламы, пригоревшие продукты, отходы при зачистке сыра, масла, молока.
Для удаления отходов из аппаратов и их обезвреживания необходимо учитывать следующие. Во-первых, условия выгрузки необходимо предусматривать при конструировании аппаратов, а на основе агрегатного состояния отходов подбирать способ удаления.
Для выгрузки порошкообразных и гранулированных материалов следует применять пневмотранспорт. Для паст и шламов используется метод разбавления водой. Затем полученную суспензию перекачивают на станцию очистки.
Газообразные отходы удаляются и транспортируются за счет избыточного давления, под которым они, как правило, находятся в аппаратах. Эти отходы направляются на сжигание в печи или на так называемый «факел». Если эти газы безвредны, то они выбрасываются в атмосферу. Жидкие производственные отходы, в зависимости от их свойств, удаляются либо в городскую канализацию, либо направляются на специальные очистные сооружения.
Производственная мощность. Факторы повышения производительности машин (рабочих мест) связаны главным образом с улучшением качественного состава технологического оборудования, увеличением в его составе высокопроизводительных станков.
Производственная мощность не отражает суммарную энергетическую мощность предприятия станков, автоматов и полуавтоматов, автоматических линий. Чем совершеннее машины и оборудование, чем выше их производительность в единицу времени работы, тем больше производственная мощность подразделений и предприятия в целом.
Расчетную балансовую стоимость обоечной машины, выпускаемую промышленностью можно рассчитать по формуле:
БИСХ = Ц 0
где Б - балансовая (расчетная) стоимость машины, руб
Ц0 - отпускная цена машины (по прейскуранту торгующих организаций), руб.
К - коэффициент, выражающий средние затраты на транспортировку, монтаж машины и торговые наложения. Для машин, требующих монтаж К= 1,2.
БИСХ = 22000 ?1,2 = 26400 руб.
Расчет эксплуатационных затрат.
Размеры эксплуатационных затрат по каждой из сравниваемых машин определяются по формуле:
ИЭ = З + А + Р + Э + П,
где З - затраты на заработную плату рабочих, руб.
А- амортизационные отчисления, руб.
Р- отчисления на ремонт и техобслуживание за машинами, руб.
Э- затраты на расходуемую эл.энергию, руб.
П- прочие эксплуатационные затраты, руб.
Рассчитаем затраты на заработную плату рабочих, занятых на выполнение механизированного процесса по формуле:
З = D? t ? n ? Л ? Ст,
где D - кол-во дней работы машины в году;
t - сменная продолжительность работы на выполнении производственного процесса в часах;
n - число смен в день:
Л - кол-во рабочих, занятых на выполнение процесса, чел.
Ст - часовая тарифная ставка с дополнительными начислениями и
отчислениями на социальные нужды (соц. страхование, мед. страхование, фонд
занятости, пенсионный фонд) по данным предприятия, руб.
ЗИСХ = 290? 8 ?1 ? 3 ?2,79 = 19418,40 руб.
ЗИСХ = ЗПР = 19418,40 руб.
Затраты на расходуемую электроэнергию рассчитываются по формуле:
Э = F2 ?ZЭ,
где F2 - годовое потребление эл.энергии, кВт/ч
ZЭ - стоимость кВт/ч эл.энергии, руб.
Прочие эксплуатационные затраты планируются в размере 3-5% от суммы эксплуатационных затрат.
Показатели использования труда и его производительности.
Для экономической оценки машин принято брать в расчет только прямые затраты труда, то есть затраты труда рабочих, занятых непосредственно на выполнении механизированных работ.
Материалоемкость определяется как отношение массы машин к их годовой производительности.
Энергоемкость определяется как отношение затраченной энергии в единицу времени, на объем произведенной продукции за соответствующий период времени.
Поэтому структура соответствовала структуре изготовляемых изделий, т. е. в их пропускной способности должен быть достигнут максимальный уровень согласованности. Определенное соотношение должно быть достигнуто и между производственными мощностями участков и цехов предприятия. Следовательно, одним из важных условий производства является соблюдение норм и пропорций между их количеством, размерами и рабочими скоростями.
Таким образом, тезис о том, что величина производственной мощности зависит от количества и производительности средств труда, должен быть существенно дополнен. Так, важным фактором, определяющим величину производственной мощности, является, прежде всего, система машин как совокупный механизм, построенный на основе принципа пропорциональности.
Производительность машин и оборудования также зависит от качества предметов труда. С качеством сырья изменяется технология его обработки, что непосредственно сказывается на производительности средств труда и их совершенствовании.
Значительное влияние на увеличение производительности машин оказывает совершенствование технологического процесса. Внедрение прогрессивной технологии дает возможность интенсифицировать производственный процесс, т. е. сократить как машинное, так и общее время изготовления изделия.
Увеличение производительности машин в значительной мере зависит от степени совершенства конструкции изготовляемых изделий, их унификации и стандартизации, снижения количества и совмещения операций при их изготовлении.
Производительность машин зависит также от квалификации работников.
Систематическое повышение их общего и технического образования, совершенствование производственных навыков и на этой основе повышение уровня квалификации создают благоприятные социальные предпосылки для увеличения производительности средств труда. Укомплектование промышленных предприятий квалифицированными рабочими ускоряет технологическое освоение современной техники, позволяет значительно превысить ее паспортную производительность путем перехода к скоростным методам обработки деталей, использования специального режущего инструмента, модернизации отдельных агрегатов станков и внедрения специального оснащения.
Классификация факторов, влияющих на величину производственной мощности предприятия, построена по признаку их детализации. Особенностью этих факторов является то, что для осуществления мероприятий, обусловленных ими, требуются капитальные вложения.
Иначе выглядят факторы, влияющие на использование производственных мощностей. Они охватывают мероприятия, связанные с использованием резервов, имеющих организационный характер, и не требуют больших капитальных вложений в основное производство. По содержанию эти факторы можно разделить на социально-экономические и организационно-технические, а по месту возникновения — на внешние и внутренние.
Основное свое проявление эти факторы находят в улучшении использования установленной или принятой величины производственной мощности, а также в соотношении времени работы и времени потерь средств труда, т. е. охватывают область их функционирования.
Основными факторами, влияющими на уровень использования оборудования, являются совершенствование организации обслуживания производства, повышение качества и организации планирования производства, технического развития предприятий и технологического планирования загрузки оборудования, более широкое внедрение в практику производства современных прогрессивных форм организации труда, совершенствование материального стимулирования улучшения использования оборудования, совершенствование структуры парка оборудования путем рационального распределения выделенного предприятию и перераспределение недогруженного, повышение коэффициента сменности работы оборудования, сокращение времени простоев оборудования в ремонтах.
С учетом указанных выше признаков построена классификация факторов, влияющих на использование производственных мощностей предприятий.
В обобщенном виде классификация обоих видов представлена в таблице.
Таблица 12.
|
Факторы, влияющие на величину производственной мощности |
Факторы, влияющие на использование производственной мощности |
|
Количество машин (рабочих мест) и их технический уровень |
Народнохозяйственная потребность в продукции |
|
Размер производственных площадей |
Материально-техническоеснабжение предприятий |
|
Уровень пропорциональности в пропускной способности между группами машин. |
Обеспечение рабочими предприятия |
|
прогрессивная технология |
Комплексный ввод в действие новых мощностей |
|
Механизация и автоматизация |
Обеспечение энергетическими ресурсами |
|
Качество материалов, совершенство конструкций изделий |
Структура парка оборудования повышение степени унификации и стандартизации |
|
Степень освоения техники |
Сверхнормативные простои оборудования в ремонте |
|
Повышение сменности работы рабочими |
|
|
Организация обслуживания производства |
|
|
Степень совершенствования планирования производства и загрузки оборудования |
|
|
Организация труда и его стимулирование |
|
|
Организация кооперирования использования мощностей |
Приведенная классификация обоих видов факторов представляет собой теоретический анализ количественных и качественных факторов повышения эффективности использования производственных мощностей. Результативность аналитической оценки во многом зависит от обоснования системы показателей, с помощью которых можно определить уровень интенсивности использования производственных мощностей. При этом важное значение имеет разработка методов расчета показателей, а также способов определения нормативных значений каждого из показателей. Система показателей — взаимосвязанная совокупность показателей, с помощью которой обеспечиваются комплексная количественная оценка состояния и выявление резервов улучшения интенсивного использования производственных мощностей
Обеспечение качества продовольствия при международном обмене. Основа проводимой экономической и социальной политики страны – стабилизация продовольственного рынка. Однако эта задача не может быть решена без реализации системы мер по улучшению качества и обеспечения безопасности сельскохозяйственной продукции, сырья и продовольствия, позволяющих обеспечить производство конкурентоспособных товаров. Это требует немалых средств. Как показывает зарубежный опыт, для конкурентоспособности продукции необходимо, чтобы расходы на качество составляли не менее 15-20% совокупных затрат. На решение проблемы качества влияют ученые, инженеры, менеджеры.
В соответствии с законодательством РФ не допускается производство, закупка, поставка, ввоз на территорию страны и продажа населению продукции, не соответствующей санитарным правилам и нормам, государственным стандартам и технической документации. Повышение качества товара, пользующегося спросом, приведет к росту покупателей, улучшению экономических показателей предприятия и при этом можно будет найти средства для реализации следующих этапов решения проблем качества, например при производстве новых видов продукции. Предприятие может приступать к решению проблемы качества путем создания и сертификации систем качества, отвечающих требованиям международных стандартов.
Большую роль при этом играют специальные конкурсы среди производителей, которые широко используются в мировой практике. В нашей стране функционирует Совет по присуждению премий правительства в области качества продукции.
Повышение качества сопряжено с увеличением затрат, которые окупятся благодаря получению прибыли. Занятие лидирующего положения на рынке невозможно без разработки и освоения новых видов продукции (модифицированных, улучшенных).
Переход к рыночной экономике обусловливает необходимость изучения опыта ведущих компаний мира в достижении высокого качества продукции. Так, в поисках путей повышения эффективности производства и качества продукции группы японских управляющих изучали опыт по всему миру. Они встречались с руководителями ведущих фирм США и Европы. Их внимание привлекли такие понятия, как стратегический контроль и комплексное управление качеством. В результате проведенных исследований и выполненных разработок появились так называемые японские стандарты качества. Возникло новое понятие – культура качества, включающее качество сервисного обслуживания, отчетной документации, выполнения производственных операций и др.
Современное управление качеством исходит из положения, что эта деятельность должна осуществляться в ходе производства продукции. Фирмы, функционирующие в рыночной экономике, формируют политику относительно качества таким образом, чтобы она касалась деятельности каждого работника.
Четко определяются уровни стандартов качества, которые должны быть поставлены потребителю в согласованный срок, в определенных объемах и за приемлемую цену.
Основой нормирования качества сельскохозяйственной продукции, сырья и продовольствия является стандартизация. Главные ее задачи – установление требований к качеству продукции, определение показателей качества, методов и средств контроля и испытаний, обеспечение достоверности измерений, установление единых терминов и обозначений. В Минсельхозпроде РФ разработана и осуществляется программа работ по отраслевой стандартизации агропромышленного комплекса, однако из-за недостаточного финансирования она может оказаться невыполненной. Неконкурентоспособность многих продовольственных товаров обусловлена отсутствием должного контроля за качеством сельскохозяйственного сырья, несоответствием его требованиям стандартов, технических условий, нарушением технологии производства продукции. В результате, многие виды продовольствия вытеснены с внутреннего ранка импортными товарами. Соответственно и приток средств на предприятия существенно снизился или прекратился вообще, ухудшилось качество продукции.
Так за первый квартал 1999 г. в стране было забраковано 13% хлеба и хлебобулочных изделий, 25 – муки, 28 – сливочного и 43 – растительного масла, 24 – сыров всех видов, 53 – яиц, 25 – мяса, 26 – колбас, 32% - рыбы и рыбопродуктов от проинспектированного объема.
С освоением рыночных отношений возросло количество сельских товаропроизводителей, малых частных предприятий и цехов по переработке продукции, коммерческих торговых фирм и организаций, в городах и поселках функционирует множество мелкооптовых продовольственных рынков. При этом показатели качества продовольствия практически не улучшаются. Снизилась ответственность товаропроизводителей за соблюдение технологий производства и переработки сельскохозяйственной продукции. Низкокачественное продовольствие продолжает завозиться по импорту.
Сложное экономическое положение используется и недоброкачественными отечественными предпринимателями, фирмами-импортерами, предлагающими к продаже большое количество фальсифицированной, нередко недоброкачественной продукции по относительно низким ценам. Действуют «подпольные» производства продовольственных товаров, не единичны случаи контрабандного ввоза продукции на территорию страны.
Минздравом России издан приказ № 217 от 20.05.1998 г. «О гигиенической оценке производства, поставки и реализации продукции и товаров», в соответствии с которым такой оценке подлежат товары, входящие в перечень продукции, подлежащей обязательной сертификации.
При проверках контролирующими органами внимание обращается на одни и те же вопросы: наличие сертификата соответствия, необходимой и достоверной информации, накладных на товары, соблюдение установленных сроков годности и т.п. Эффективность таких проверок низка.
В нашей стране в связи с изменением характера отечественного рынка за последние годы, принимаемыми мерами по интеграции экономики в мировую и необходимость максимального учета требований, предъявляемых к России при ее вступлении во Всемирную торговую организацию (ВТО). Ощущается потребность совершенствования методики сертификации, обоснования ее законодательной и нормативной баз и перехода к более гибким формам подтверждения соответствия, принятым в мировой практике. Для этого необходимо не только упорядочение действующих законодательных актов, но и разработка новых законов. Принятым Федеральным законом «О внесении изменений и дополнений в Закон РФ «О сертификации продукции и услуг» установлено, что подтверждение соответствия может проводиться посредством принятия изготовителем (продавцом, исполнителем) декларации, которая подлежит регистрации в органе по сертификации и имеет юридическую силу после регистрации наравне с сертификатом.
Постановлением правительства РФ от 7 июля 1999 г. № 766 утверждены «Перечень продукции, соответствие которой может быть подтверждено декларацией о соответствии» и «Порядок принятия декларации о соответствии ее регистрации». В этот перечень включены зерно, масличные культуры, продукты переработки зерна, хлеб, сахар, сухой крахмал, живая рыба, сырое коровье молоко и другие виды продовольствия.
Второй этап создания современной законодательной базы – разработка Федерального закона «О подтверждении соответствия продукции и услуг нормативным требованиям». Принятие и введение в действие этого закона позволит обеспечить баланс между риском общества и издержками на проведение работ по поддержанию соответствия продукции и услуг, ускорит товарооборот на российском рынке, создаст благоприятные условия для развития международной торговли.
Опыт работы по подготовке вступления России в ВТО показал, что речь должна идти о стремлении к большему взаимопониманию во всех областях, связанных с обеспечением качества продовольствия при международном товарообмене, сближения концепций и подходов к разработке стандартов.
Первоочередная задача при этом – гармонизация стандартов на методы идентификации и испытаний продукции.
Важным аспектом развития международного товарообмена является выработка общих с зарубежными партнерами подходов к защите наименований мест происхождения продукции. Здесь прежде всего необходима взаимная готовность к решению спорных проблем. Пример конструктивного сотрудничества применительно к таким наименованиям как «коньяк» и «шампанское» дает Российско-Французский агропромышленный комитет.
Требования к информации о продовольственных товарах, содержащихся в ГОСТ 51074-97, по объему не уступает аналогичным требованиям, содержащимся в директивах ЕС и законах ряда стран (Бельгия и Швейцария). Вместе с тем в зарубежном законодательстве особое внимание обращается на необходимость информации о подлинном происхождении пищевого продукта, регионе его производства, его «натуральности» и на связанные с этим специфические требования к условиям производства и контроля. Введение таких же норм в ГОСТ способствовало бы усилению защиты марки товаров, качество которых определяется местом и условиями их производства (угличский сыр, кубанские или цимлянские вина).
Актуальность проблемы создания системы государственного контроля, адекватной рыночным условиям хозяйствования, предполагает необходимость рассматривать ее в качестве важнейшей составной части административной реформы.
7. Экология
Каждое предприятие, занимающееся производством, какого либо продукта, должно обеспечивать безопасность окружающей среды. В процессе переработки зерновых культур образуются отходящие газы, содержащие пыль и токсичные газы с не приятным запахом. Запыленность отходящих газов при переработке зерновых культур может достигать от 2 до 3 гр/м3.
Присутствие запахов в воздушных выбросах предприятий оказывают раздражающие влияния на человека при длительном воздействии и вызывает жалобы населения.
Источниками загрязнения окружающей среды на нашем предприятии являются следующие:
1. Насосы и двигатели, которые поглощают кислород и выделяют углекислый газ, вредные токсичные вещества и пыль в атмосферныйвоздух.
В состав выбросов в атмосферу от элеваторов входят: сероводород (5мг/м3), диоксид серы, окиси азота, аммиак, сложные эфиры (125...325мг/м3). - мучная пыль; перемещение муки по материалопроводам (трубы, по которым поступает мука посредством аспирации (метода выдувания) сопровождается выделением муки в воздух, который забирается в воздуховод аспирационной сети и направляется в циклон. Однако иногда воздуха в циклоне не достаточно и ее выбросы в окружающую среду превышает ПДВ (предельно допустимые
2. Шумы и вибрации воздействуют на работников предприятия, повышая их утомленность и понижая их работоспособность.
Шум: действующее оборудование является источником постоянного шума, допустимые санитарные нормы ПДВ шума: 35 дБА днем, 25 дБА ночью.
2. Сточные воды содержат хозяйственно-бытовые и производственные загрязнения, которые попадают в канализационную сеть. По степени интенсивности отрицательного воздействия предприятий пищевой промышленности на объекты окружающей среды первое место занимают водные ресурсы.
По расходу воды на единицу выпускаемой продукции пищевая промышленность занимает одно из первых мест среди отраслей народного хозяйства. Высокий уровень потребления обуславливает большой объем образования сточных вод на предприятиях, при этом они имеют высокую степень загрязненности и представляют опасность для окружающей среды. Сброс сточных вод в водоемы быстро истощает запасы кислорода, что вызывает гибель обитателей этих водоемов. Сточные воды не должны превышать санитарные нормы по загрязненности органическими загрязнителями, количество которых не должно превышатьдопустимые3мг/л. Для снижения вибрации на заводе тщательно рассчитывают и проектируют фундаменты к машинам и оборудованию. Для снижения шума начинают внедрять фильтры-глушители, которые также уменьшают содержание вредных примесей в выхлопных отработанных газах. Внедрение этого механизма позволит снизить шумы, уменьшить загрязнения окружающей среды и заболеваемость работающих.
Одной из наиболее актуальных проблем, волнующих сегодня человечество, стала проблема охраны природы, рационального использования естественных богатств. В нашей стране охрана окружающей среды и рациональное использование естественных ресурсов относится к важнейшим политическим, экономическим и социальным задачам.
От общества зависит, как действовать в природе, чтобы, с одной стороны, полнее удовлетворять потребности общества в природных ресурсах, а с другой - всемерно их восстанавливать, восполнять и охранять.
На заре цивилизации человек воздействовал на окружающую природную среду незначительно и чаще всего локально. С ростом производительных сил это воздействие стало возрастать, однако до последнего времени господствовало представление, что ресурсы нашей планеты практически неисчерпаемы, а самоочищающая способность природы беспредельна. Но это представление глубоко ошибочно.
Охрана окружающей среды - одна из насущных задач человечества. Загрязнение окружающей среды приобретает все более острый, тревожный характер.
В природе все больше проявляются изменения, вызываемые сельскохозяйственной деятельностью человека, в связи с увеличением продовольственных потребностей и с ростом населения.
Немалый вред окружающей среде наносит деятельность зерноперерабатыващих предприятий.
Охрана атмосферного воздуха - важнейшая задача оздоровления внешней среды.
Производственные процессы, которые протекают на мукомольных заводах: очистка, вентилирование, шелушение, дозирование, измельчение, сортирование и т.д., сопровождаются выделением значительного количества пыли. Пыль, находясь во взвешенном состоянии, представляет собой дисперсную среду, называемую аэрозолем. Она загрязняет окружающий воздух, отрицательно действует на человека, окружающую среду.
По виду пыль, выделяемая предприятиями АПК, может быть органической, неорганической или органоминеральной. Известно, что в зерновую пыль могут попадать споры различных грибков. Поэтому нередко она является переносчиком вирусных заболеваний.
Согласно санитарным нормам для рабочих зон производственных помещений установлены предельно допустимые концентрации пыли по массе частиц в миллиграммах, отнесенные к 1 м3 воздуха при нормальных условиях.
Для предотвращения выноса пыли в атмосферу и загрязнения прилегающей к предприятию местности на мукомольном заводе предусматривается система аспирации с определенным количеством отсасываемого воздуха из всех точек пылевыделения.
Воздух очищается от пыли в пылеотделителях различных конструкций. Порядок определения предельно допустимых концентраций (ПДК) выбросов вредных веществ в атмосферу регламентируется стандартом.
Кроме негативных последствий загрязнения атмосферного воздуха, зерновая и мучная пыль служит причиной возникновения взрывов на зерноперерабатывающих предприятиях.
Наряду с загрязнением воздуха в результате пылевыделения, практика химической защиты зерновых продуктов от вредителей связана с выбросом токсичных веществ в атмосферу. Препараты, применяемые для этой цели, - пестициды служат потенциальным источником загрязнения окружающей среды: воздуха, воды, почвы и зерновых продуктов. Токсичность пестицидов, характер их воздействия, остаточное содержание в зерновых продуктах строго регламентируются и контролируются с точки зрения техники безопасности и охраны окружающей среды.
Уменьшению загрязнения воздуха пылью и промышленными газами способствуют зеленые насаждения. Растения не только поглощают диоксид углерода, выделяя при этом кислород, но и рассеивают и поглощают другие вредные вещества. По данным Д.П. Никитина и др., один гектар лиственных деревьев задерживает до 100 т пыли в год, а один гектар хвойных деревьев - до 40 т пыли в год. Помимо этого, растения обладают фитонцидным и противомикробным действием. Поэтому при проектировании мельниц необходимо учитывать важную роль зеленых насаждений в очистке атмосферы от вредных промышленных выбросов и отводить им соответствующее место на территории предприятия.
Помимо загрязнения атмосферы, серьезной проблемой является загрязнение водоемов хозяйственно-бытовыми и производственными сточными водами.
На мукомольных заводах воду расходуют на обработку зерна в машинах мокрого шелушения, аппаратах и машинах для увлажнения зерна, охлаждения вальцов вальцовых станков, обработку воздуха в кондиционерах.
Сточные воды фильтруют через сита в специальных сепараторах, мокрые отходы отжимают, просушивают и используют для кормовых целей. Степень очистки воды от примесей достигает 55%. Вода выводится в канализацию для последующей очистки и обеззараживания в системе очистных сооружений сточных вод до установленных водоохраной норм.
В системе мероприятий по охране окружающей среды важное место занимает проблема отходов. В процессе подготовки зерна к помолу его очищают от различных примесей, образующих отходы различных категорий, в том числе значительное количество ценных кормовых и негодных отходов. Перспективны более эффективное использование зерна и разработка рентабельных методов утилизации отходов.
Для создания нормальных и безопасных условий труда, для сохранения здоровой окружающей, благоприятной для жизни, труда и отдыха людей, необходимо проводить мероприятия по охране окружающей среды.
Результаты обследования в нашей стране уровне загрязненности продуктов питания токсичными химическими соединениями, биологическими агентами и микроорганизмами, что связано главным образом с техногенным загрязнением окружающей, среды, с низкой агротехнической культурой и нарушением агрохимических технологий.
Пищевые продукты имеют способность аккумулировать из окружающей среды все экологически вредные вещества и концентрируют их в больших количествах.
Из окружающей среды 70 % ядов попадает в организм человека с пищей растительного и животного происхождения. С 1986 г. уровень радионуклидов в продуктах питания увеличился в 5-20 раз по сравнению с 60-ми годами. За последние 5 лет загрязнение продуктов питания нитратами и продуктами их распада возросло в 5 раз.
Даже при соблюдении всех норм внесения с почву пестицидов мы не гарантированы от получения некачественных продуктов, так как в культуры попадают не только остаточные количества препаратов, но и продукты их метаболитов, обладающих более высокой концентрацией и токсичностью. В плодах и овощах загрязнение нитратами превышает суточную дозу до 8 раз. До 10 % проб пищевых продуктов содержат тяжелые металлы и половина из них - в дозах превышающих ПДК. По отдельным видам продуктов этот показатель еще выше. Так, в 52 % исследованных образцов сливочного масла содержались токсичные вещества (медь, железо, цинк свинец и др.) выше ПДК.
В южных районах европейской части России, в различных зерновых культурах ПДК афлотоксинов, выделяемых микроорганизмами, превышались в 20-70 раз. Содержание афлотоксинов в яблочных выжимках в 1,5-2 раза превышает ПДК, а при их хранении увеличивается в 3 раза.
Ухудшение качества животноводческого и растительного сырья по экологическим причинам изменяет технологические характеристики сырья для перерабатывающих отраслей. Вследствие этого резко снижается выход готовой продукции, увеличиваются отходы сырья, уменьшаются сроки его хранения. Так, за последние годы снизились сахаристость сахарной свеклы, масличность подсолнечника, крахмалистость картофеля, содержание белка и жира в молоке, содержание сухих веществ в овощах. Кроме того, в результате экологического воздействия, меняющих генетику, многие плодовые деревья и овощные культуры начинают продуцировать плоды и клубни неправильной формы, которые не подлежат механизированной мойке и чистке, длительному хранению. До 50 %производимого картофеля не соответствует стандарту. Из-за высокого содержания вредных веществ, попавших в заготавливаемое молоко из окружающей среды, от 20 до 50 % его непригодно для производства продуктов детского питания.
Говоря о безопасности продуктов питания, необходимо в первую очередь ставить вопрос об экологически чистом сырье для их производства. Эту проблему надо решать как на государственном уровне, так и в регионах.
До недавнего времени ограничения по содержанию вредных веществ предъявлялись только к конечному продукту - пищевым продуктам - и не распространялись на сырье, из которого они производятся. Необходимо коренным образом изменить подход к сертификации сельскохозяйственной продукции. Это глобальная задача и ее решение потребует значительного времени. В настоящее время проводится работа Госстандартом России и сертификационным центром ЭкрНИВА по созданию сертификации фермерских хозяйств и других предприятий на базе принятых в мировом экологическом сельском хозяйстве правил и процедур.
Мониторинг, или система постоянных наблюдений за чистотой и уровнем загрязнения продовольственного сырья и пищевых продуктов чужеродными веществами, требует создания нормативной и методической базы, подготовки высококвалифицированных кадров специалистов-аналитиков.
Одним из шагов по решению нормативной базы явился единый документ Госсанэпиднадзора и Госстандарта (1989 г.) «Медико-биологические требования и санитарные нормы качество продовольственного сырья и пищевых продуктов».
Госсанэпиднадзором разработаны методы обнаружения, идентификации и количественного определения химических компонентов.
Вместе с тем предстоит еще большая работа по разработке нормативно-технической документации на сырье и продукцию, приведению ее в соответствие с международными требованиями безопасности, созданию системы стандартов, регламентирующих методы и средства контроля показателей безопасности. Эту работу проводит Департамент по продовольствию Минсельхозпрода РФ.
Экологически безопасные продукты питания - это продукция, полученная из экологически безопасного сырья по технологиям, исключающим образование и накопление в продуктах потенциально опасных для здоровья человека химических и биологических веществ и отвечающая медико-биологическим требованиям и санитарным нормам качества продуктового сырья и пищевых продуктов. Безопасность пищевых продуктов гарантируется установлением и соблюдением регламентируемого уровня содержания любых загрязнителей.
Центральное звено системы обеспечения безопасности пищевых продуктов - организация контроля и мониторинга за их загрязнением.
Цели мониторинга:- определение исходного уровня загрязненности пищевых продуктов токсикантами и изучение вариантности этих уровней во времени - определение и подтверждение эффективности мероприятий по снижению уровня загрязнения пищевых продуктов чужеродными веществами;
- обеспечение постоянного контроля степени загрязнения пищевой продукции, не допуская превышения установленных ПДК.
Совершенствование форм системы ведомственного (сельскохозяйственного и промышленного), государственного, общественного контроля качества и безопасности сырья и пищевых продуктов, их сертификация позволят повысить
качество пищевых продуктов, приблизив их уровень к требованиям мировых стандартов.
Одно из направлений деятельности по созданию безопасных продуктов питания - разработка новых наукоемких технологий производства здоровых продуктов.
ЭКОЛОГИЧЕСКИЙ ПАСПОРТ
промышленного предприятия
ИНФОРМАЦИОННЫЕ ДАННЫЕ
1. РАЗРАБОТАН И ВНЕСЕН Государственным комитетом СССР по охране природы.
РАЗРАБОТЧИКИ
И.А. Алексеев, канд. техн. наук; А.М. Андреева; О.С. Балабеков, д-р техн. наук; Р.Л. Бисеров, канд. техн. наук; Е.В. Бондаренко; Т.Н. Бочкова, канд. геогр. наук; А.М. Виноградов; О.Г. Воробьев, д-р техн. наук; О.С. Воробьева; Г.А. Глазунова; В.Л. Грошев, канд. эконом. наук; С.Т. Евдокимова, канд. техн. наук; Э.Н. Иванов; Н.И. Игнатович; Н.А. Ионочкин, канд. техн. наук; В.М. Кириллов, канд. хим. наук; С.С. Кожанов, канд. эконом. наук; Л.В. Кочнова; Р.В. Лозанский, канд. техн. наук; Т.С. Мальцман, канд. техн. наук Е.С. Миронова; Н.А. Михайлов, канд. геол.-минер. наук; Л.К. Плетников; Е.Б. Соснина; В.А. Улицкий, канд. физ.-мат. наук; С.В. Чернова; А.А. Черноярский, канд. техн. наук; Б.С.Шакиров, канд.техн. наук; А.В. Шевчук, канд. эконом. наук; Ю.К. Шуйцев, канд. геогр. наук; А.Н. Ясенский, канд. техн. наук.
2. УТВЕРЖДЕН И ВВЕДЕН В ДЕЙСТВИЕ Постановлением Государственного комитета СССР по охране природы от 30.01.90 № 4-НТК
3. ВВЕДЕН ВПЕРВЫЕ
4.ССЫЛОЧНЫЕНОРМАТИВНО-ТЕХНИЧЕСКИЕ ДОКУМЕНТЫ
|
Обозначение нормативно-технического документа, на который дана ссылка |
Номер приложения |
|
ГОСТ 25916-83 |
1 |
|
ГОСТ 27593-88 |
1 |
|
Методические указания по расчету выбросов вредных веществ автомобильным транспортом, Москва, 1983 |
11 |
|
Методические рекомендации по формированию на предприятиях и объединениях программы по охране окружающей среды и рационального использования природных ресурсов на XIII пятилетку и до 2000 года, Москва, 1989 |
11 |
5. ПЕРЕИЗДАНИЕ. Декабрь 1996 г.
Настоящий стандарт устанавливает основные требования к построению, изложению, оформлению и содержанию экологического паспорта промышленного предприятия с целью определения влияния предприятия на окружающую среду и контроля соблюдения им природоохранных норм и правил в процессе хозяйственной деятельности.
Термины, применяемые в стандарте, и пояснения к ним приведены в приложении 1.
1. ОБЩИЕ ПОЛОЖЕНИЯ
1.1. Экологический паспорт промышленного предприятия (далее —предприятия)— нормативно-технический документ, включающий данные по использованию предприятием ресурсов (природных, вторичных и др.) и определению влияния его производства на окружающую среду.
1.2. Экологический паспорт предприятия представляет комплекс данных, выраженных через систему показателей, отражающих уровень использования предприятием природных ресурсов и степень его воздействия на окружающую среду.
1.3. В соответствии с действующим законодательством предприятие в своей деятельности по использованию природных ресурсов и воздействию на окружающую среду, планированию и проведению природоохранных мероприятий подконтрольно местному Совету народных депутатов и органам Государственного комитета СССР по охране природы.
1.4. Экологический паспорт разрабатывает предприятие за счет его средств и утверждает руководитель предприятия по согласованию с Советом народных депутатов и территориальным органом Государственного комитета СССР по охране природы, где он регистрируется.
1.5. Основой для разработки экологического паспорта являются основные показатели производства, проекты расчетов ПДВ, нормы ПДС, разрешение на природопользование, паспорта газо- и водоочистных сооружений и установок по утилизации и использованию отходов, формы государственной статистической отчетности и другие нормативные и нормативно-технические документы.
1.6. Экологический паспорт не заменяет и не отменяет действующие формы и виды государственной отчетности.
1.7. Для действующих и проектируемых предприятий составляют экологический паспорт по состоянию на 01.01.90 и дополняют (корректируют) его при изменении технологии производства, замене оборудования и т.п. в течение месяца со дня изменений, хранят на предприятии и территориальном органе Государственного комитета СССР по охране природы.
1.8. Заполнение всех форм экологического паспорта обязательно. Допускаете включать дополнительную информацию по заполнению паспорта в соответствии с требованиями территориальных органов Госкомприроды СССР или по согласованию с ними.
1.9. Гриф экологического паспорта определяется руководством предприятия в установленном порядке.
2. СТРУКТУРА И СОДЕРЖАНИЕ ЭКОЛОГИЧЕСКОГО
ПАСПОРТА Предприятия
2.1. Экологический паспорт предприятия состоит из разделов, расположенных в следующей последовательности:
1) титульный лист;
2) общие сведения о предприятии и его реквизиты;
3) краткая природно-климатическая характеристика района расположения предприятия;
4) краткое описание технологии производства и сведения о продукции, балансовая схема материальных потоков;
5) сведения об использовании земельных ресурсов;
6) характеристика сырья, используемых материальных и энергетических ресурсов;
7) характеристика выбросов в атмосферу;
8) характеристика водопотребления и водоотведения;
9) характеристика отходов;
10) сведения о рекультивации нарушенных земель;
11) сведения о транспорте предприятия;
12) сведения об эколого-экономической деятельности предприятия.
2.2. Форма титульного листа экологического паспорта предприятия приведена в приложении 2.
2.3. Общие сведения о предприятии и его реквизиты приведены в приложении 3.
2.4. Краткая природно-климатическая характеристика района расположения предприятия включает:
характеристику климатических условий;
характеристику состояния, включая фоновые концентрации в атмосфере;
характеристику источников водозабора и приемников сточных вод, фоновый химический состав вод водных объектов.
2.5. Краткую характеристику производства, сведения о продукции приводят в соответствии с приложением 4 и должны иллюстрировать балансовой схемой материальных потоков.
2.6. Характер использования земельных ресурсов приводят в соответствии с приложением 5.
2.7. Характеристику сырья, используемых материальных и энергетических ресурсов приводят в соответствии с приложением 6.
2.8. Характеристика выбросов в атмосферу отражает состав, качественное и количественное содержание загрязняющих атмосферу веществ, содержащихся в выбросах предприятия (приложение 7).
Отдельно в виде справки с указанием времени, объемов и состава приводят данные о залповых и аварийных выбросах в атмосферу загрязняющих веществ.
2.9. Характеристика водопотребления, водоотведения, состояния водоочистных сооружений отражает объемы, удельные нормативы, состав, качественные и количественные значения содержания загрязняющих веществ в сточных водах предприятия (приложение 8). Отдельно в виде справки с указанием времени, объемов и состава приводят данные о залповых и аварийных сбросах (сливах) загрязняющих веществ, в том числе в почву, водные объекты, канализационные сети, на очистные сооружения, отстойники, отдельные емкости и т.п.
2.10. Характеристику отходов, перечень полигонов и накопителей, предназначенных для захоронения (складирования) приводят в соответствии с приложением 9. Отдельно в виде справки с указанием времени, объема, состава и места приводятся данные о внеплановых и аварийных случаях сброса в почву, в водные объекты, вывоза, захоронения (складирования) загрязняющих веществ.
2.11. Сведения о рекультивации нарушенных земель с указанием целей рекультивации приводятся в приложении 10.
2.12. Сведения о транспорте предприятия приводят, включая внутризаводской, в соответствии с приложением 11.
2.13. Оценка воздействия на окружающую среду осуществляется предприятием на основании действующих нормативно-технических документов.
2.14. Сведения об эколого-экономической деятельности предприятия включают данные о затратах на природоохранные мероприятия, их эффективности и основываются на действующих методах оценки. Данные о платежах предприятия за загрязнение окружающей среды, порядок определения и применения нормативов платы за выбросы (сбросы).
ПРИЛОЖЕНИЕ 1
Справочное
ТЕРМИНЫ, ПРИМЕНЯЕМЫЕ В СТАНДАРТЕ, И ПОЯСНЕНИЯ К НИМ
|
Термин |
Пояснение |
|
1. Балансовая схема производства |
Структурное отображение последовательных стадий производства с приведенными качественными и количественными характеристиками потоков |
|
2. Приведенные затраты |
Величина (в стоимостном выражении) полных затрат общественного труда (текущих и единовременных) на производство продукции в базовый момент времени |
|
3. Отходы производства |
По ГОСТ 25916 |
|
4. Отходы потребления |
По ГОСТ 25916 |
|
5. Рекуперация отходов производства |
Получение вновь ранее использованного вещества, содержащегося в отходах производства, использование тепла химических реакций |
|
6. Использование вторичного сырья |
По ГОСТ 25916 |
|
7. Фоновая концентрация загрязняющего вещества |
Количество загрязняющего вещества, содержащееся в единице объема природной среды, подверженной антропогенному воздействию (ГОСТ 27593) |
|
8. Промышленное предприятие |
Государственная, смешанная, совместная, иностранная, кооперативная или.другая производственная единица (объединение нескольких единиц), созданная с целью получения товарной продукции и действующая на территории страны |
|
9. Производство |
Технологический процесс получения продукции |
|
10. Неиспользуемые отходы |
По ГОСТ 25916 |
|
11. Природные ресурсы |
Природные объекты и явления, используемые для прямого и косвенного потребления с целью создания материальных благ, поддержания условий существования человечества и повышения качества продукции |
|
12. Природная среда |
Сочетание природных и природно-антропогенных тел и факторов, оказывающих воздействие на человека, и естественно-ресурсные экономические показатели хозяйственной деятельности |
8. Безопасность жизнедеятельности
Жизнедеятельность – это повседневная деятельность и отдых, способ существования человека. Безопасность жизнедеятельности - это наука о комфортном и безопасном взаимодействии человека с техносферой. Поэтому основная ее цель- защита человека от негативных воздействий антропогенного и естественного происхождения и достижение нормальных условий жизнедеятельности. Безопасность жизнедеятельности - неотъемлемая составная и общеобразовательная часть подготовки и всесторонне развитой личности. БЖД изучает и решает вопросы безопасного взаимодействия человека со средой обитания (производственная, бытовая, городская, пригородная) и вопросы защиты от негативных опасных факторов чрезвычайной ситуации. Каждый человек, согласно статье 3 « Нового законодательства по охране труда» (Москва 1993г), всеобщей декларации прав человека, имеет право на жизнь,свободу и личную неприкосновенность. Кроме этого организационного- правовыми документами является Конституция РФ, основы законодательства о труде, система стандартов безопасности труда, строительные нормы и правила (СНиП), коллективные договоры, соглашения и контракты. Охрана труда освещает нормативно- техническую и законодательную базу охраны труда и вопросы ее реализации на предприятии. Это система законодательных, социально- экономических, технических, гигиенических и организационных мероприятий, обеспечивающих безопасность человека в процессе труда.
Производственная санитария и гигиена труда. Для обеспечения комфортных условий труда необходимо правильное взаимодействие «оператор- среда», иначе наблюдается заметное снижение работоспособности человека, возникают профессиональные заболевания. Изучением влияния условий жизни и труда на здоровье человека и разработкой мер профилактической защиты от заболеваний занимается наука- гигиена. Изучения трудовой деятельности и производственной среды занимается гигиена труда. Она разрабатывает нормативы, предупреждающие травматизм и профзаболевания. Санитария- практическое проведение в жизнь гигиенических мероприятий и требований. Они должны обеспечить здоровые условия труда, защиту окружающей среды. Оптимальный микроклимат рассчитывается для всего объема рабочего пространства, где находится рабочий. Рабочим объемом следует считать условно выделенную трехмерную зону, где рабочему приходится находиться не менее 30% рабочего времени. Микроклимат производственных помещений определяется сочетанием температуры, влажности, скоростью движения воздуха и температурой нагретых тел (ГОСТ 121005). По физическому напряжению работы делятся на три категории: -- легкие, не требующие физического напряжения; -- средней тяжести – когда напряжение есть, но небольшое; --тяжелые работы, требующие, постоянного физического напряжения. При планировании работ всегда следует учитывать физическую нагрузку для работающего и не превышать установленных норм. Микроклимат производственных помещений предприятия ГНУ «СОСС» представлен в таблице. Микроклимат производственных помещений.
Таблица 13.
|
Период года |
Категория работ |
Показатель микроклимата |
||
|
Температура воздуха |
Относительная влажность воздуха,% |
Скорость движения воздуха м/с |
||
|
холодный |
легкая |
20 |
45 |
0,2 |
|
Средней тяжести |
18 |
45 |
0,3 |
|
|
тяжелая |
15 |
45 |
0,3 |
|
|
теплый |
легкая |
27 |
49 |
0,2 |
|
Средней тяжести |
20 |
50 |
0,4 |
|
|
тяжелая |
20 |
45 |
0,5 |
Оптимальное давление при всех видах работы 760 мм рт. столба. Для измерения температуры используют спиртовые термометры; для определения влажности- психрометры, скорости воздуха- анемометры, атмосферного давления- барометры. Физико- химический состав воздушной среды на рабочем месте поддерживается с помощью вентиляции с подогревом. Промышленное освещение классифицируется на естественное, искусственное и комбинированное. Естественное освещение оказывает положительное действие на человека, оно делится на человека, оно делится на верхнее(свет проникает через специальные световые проемы в перекрытиях зданий) и боковое (свет проникает через окна). Комбинированное включает в себя вернее и боковое естественное освещение. Искусственное освещение осуществляется с помощью электроламп, люминесцентных ламп, различных светильников. К искусственным источникам освещения предъявляются следующие требования: электробезопасность, пажароопасность, взрывобезопасность равномерность освещения, бесшумность, минимальная пульсация освящения, отсутствие или ограничение прямого блеска.
Техника безопасности. Данный раздел безопасности жизнедеятельности изучает и осуществляет мероприятия по охране и защите от электрического тока, обеспечение безопасности систем, работающих под давлением, безопасность при работе с механическим оборудованием, вопросами земледелия. Обучение и инструктаж работников по безопасности труда на предприятии проводят руководители подразделений под контролем инженера, ответственного по охране труда, техники безопасности и производственной санитарии в соответствии с ГОСТ12.0.004-79, ОСТ46.0.126-82 «ССБТ организация обучение охране труда в сельском хозяйстве. Общие положения» и ОСТ46.0.141-83 «ССБТ Процессы производственные в сельском хозяйстве. Общие требования безопасности», которые имеются на предприятии и соблюдаются неукоснительно. Электробезопасность соблюдается по ГОСТ121019ССБТ. для того чтобы обеспечить электробезопасность на предприятии используются следующие средства: - защитное заземление – это преднамеренное электрическое соединение с землей или ее эквивалентом механических токоведущих частей, которые могут оказаться под напряжением; - зануление – преднамеренное электрическое соединение с нулевым защитным проводником металлических токоведущих частей электрооборудования, которые могут оказаться под напряжением. Все производственные помещения оборудованы молниезащитными устройствами в соответствии с «Указаниями по проектированию и устройству молниезащиты зданий и сооружений (СН305-77) За неисправностями в электросетях и аппаратах следит дежурный электрик: чтобы исключить искрение, короткое замыкание, сверхдопустимый нагрев изоляционного кабеля или провода. Перед приведением в пожаробезопасное состояние электрическая сеть отключается.Электротехническая часть мельниц включает: электроснабжение; силовое электрооборудование; искусственное освещение; заземление и защиту от статического электричества; молниезащиту; светоограждение; дистанционное автоматизированное управление и автоблокировку электродвигателей; производственную и аварийную световую и звуковую сигнализации; дистанционное измерение температуры зерна.Основными приемниками электрической энергии на предприятиях являются двигатели (силовая нагрузка) и освещение.
Мощность электродвигателей зависит: от производительности оборудования, культуры перерабатываемого зерна, стекловидности, вида вырабатываемой продукции и ее качественных показателей, а также от состояния оборудования.
Все электродвигатели по роду тока делят на двигатели постоянного и переменного тока. По сравнению с двигателями постоянного тока асинхронные электродвигатели, работающие на переменном токе, проще, дешевле и надежнее в эксплуатации.
В соответствии с Правилами устройства электроустановок (ПУЭ) производственные помещения делят на:
сухие - с относительной влажностью не более 60%;
влажные - от 61 до 75%;
сырые - более 75%;
особо сырые - близко к 100%;
жаркие - с температурой более 300С;
пыльные, в которых при производстве продукции выделяется
технологическая пыль, проникающая внутрь машин, аппаратов.
Пожароопасные помещения разделяют (ПУЭ) по следующим классам:
П-1, в которых применяют или хранят горючие жидкости с температурой вспышки паров выше 45 °С;
П-11, в которых выделяются горючая пыль или волокна, переходящие во взвешенное состояние.
Зерноочистительное отделение мельницы относят к пожароопасному классу П-11. По надежности электроснабжения основные электроприемники относятся в основном ко второй и частично к третьей категориям.
Около электродвигателей предусматривают индивидуальные и групповые кнопочные станции или пакетные выключатели для их местного управления или аварийного останова. Силовую распределительную сеть к электродвигателям выполняют небронированными кабелями с полихлорвиниловой (ПХВ) изоляцией и оболочкой, прокладываемыми на кабельных каналах. В местах возможных механических повреждений проводку выполняют в стальных трубах.
Напряжение сети рабочего и аварийного освещения принимают равным 380/220 В, а сети ремонтного освещения - 24 В переменного тока. Рабочее и аварийное освещение включают одновременно. При нарушении рабочего освещения аварийное должно обеспечивать минимальную освещенность в основных проходах для эвакуации людей. В производственных помещениях устанавливают пыленепроницаемые светильники, а во вспомогательных - светильники для нормальных помещений.
Для ремонтного освещения применяют переносные взрывозащищенные светильники с дампами, накаливания, включаемые в сеть напряжением 24 В через штепсельные розетки. Управление и защиту групповой и осветительной сети выполняют автоматическими выключателями, установленными на осветительных щитках. Защиту питающей электросети от КТП до осветительных щитков предусматривают автоматическими выключателями. Групповую распределительную сеть рабочего и аварийного освещения выполняют нёбронированным кабелем с ПХВ изоляцией и оболочкой, проложенным открыто на кабельных металлоконструкциях и частично на тросах.
Заземление и защиту от статического электричества всего электрооборудования и средств ДАУ осуществляют:
высоковольтное оборудование и щиты КТП, распределительные
силовые и релейные панели управления, щиты сигнализации, щитки осветительные и групповые, кнопочные станции и электродвигатели при помощи полосовой стали 20 х 4 мм;
корпуса светильников присоединением к нулевому проводу (жиле)
осветительной группы; стальные несущие тросы для прокладки кабелей заземлением с двух сторон при помощи полосовой стали; стальные трубы, лотки и другие металлоконструкции, на которых прокладывают провода и кабели, должны иметь непрерывное заземление при помощи полосовой стали и стальных тросиков.При подсчете мощности электродвигателя следует учитывать возможность изменения физических свойств зерна, поэтому общую потребную мощность необходимо увеличить на 10%.Потребная мощность для каждого отделения мельницы ориентировочно распределяем следующим образом:
на подготовительное отделение - 18%;
на размольное отделение - 77%;
на выбойное отделение - 5%.
Охрана труда изучает актуальные вопросы производственной санитарии и травматизма, основные пожарно-технические сведения и общие правила пожарной безопасности на предприятиях пищевой промышленности, специфические особенности производства и требования безопасности при эксплуатации основного и вспомогательного технологического оборудования.
Законодательство об охране труда основывается на положениях, закрепленных Конституцией РФ, где отмечено, что государство заботится об улучшениях условий труда, его научной организации, о сокращении, а в дальнейшем и полном вытеснении тяжелого физического труда на основе комплексной механизации и автоматизации производственных процессов во всех отраслях АПК.
Планировку и устройство территории предприятия, а также расположение зданий и других объектов осуществляли в соответствии с учетом технологического процесса, техники безопасности и промышленной санитарии.
В свою очередь производительность и результаты труда во многом зависят от санитарно-гигиенических условий. На мельнице созданы все материальные и санитарно-гигиенические условия труда для работников предприятия.
Метеорологические условия в производственных помещениях (температура, влажность, давление, скорость движения воздушного потока и чистота воздуха) оказывают большое влияние на здоровье и работоспособность человека. Поэтому на мельнице созданы оптимальные микроклиматические условия.
Для оздоровления воздушной среды производственных помещений и создания нормальных условий труда на мельнице предусмотрено вентилирование воздуха.
Промышленная вентиляция - одно из самых мощных средств оздоровления условий труда, повышения его безопасности и производительности. Вентиляция создает наиболее благоприятные условия для эффективного ведения технологического процесса, улучшения качества продукции, сохранения оборудования, уменьшения расхода электроэнергии. Роль вентиляции не ограничивается только санитарно-гигиеническим значением, она имеет и большое технологическое, противопожарное и взрывобезопасное значение.
По способу перемещения воздуха различают вентиляцию естественную, когда обмен воздуха в помещении происходит вследствие разности объемных весов и давлений внутреннего и наружного воздуха или под действием ветра, и вентиляцию механическую, когда обмен воздуха в помещении осуществляется при помощи вентиляторов.
По способу организации обмена воздуха вентиляцию подразделяют на общую и местную. Общая вентиляция обеспечивает санитарно-гигиенические нормы при обмене воздуха во всем объеме помещения. Местная вентиляция предназначена для удаления пыли и вредных выделений непосредственно у мест образования и для удаления влаги, избыточного количества тепла и создания разрежения в защитных кожухах машин.
На предприятиях по переработке зерна многие производственные процессы (очистка, измельчение, шелушение зерна), связанные с применением машин с быстровращающимися и колеблющимися рабочими органами, сопровождаются шумом и вибрацией, уровень которых превышает нормы, что отрицательно будет сказываться на здоровье работников и производительности труда. Поэтому на мельнице для уменьшения вредных вибраций в машинах с колебательным движением рабочих органов применяем сдвоенные рабочие органы, колеблющиеся навстречу друг к другу и взаимно уравновешивающиеся. Машины, вызывающие колебания, устанавливаем на амортизаторах, виброизолированных от конструкций зданий. Всасывающие и выхлопные воздухопроводы с вентиляторами соединяем гибкими патрубками.
Немаловажную роль в организации работы человека имеет освещение производственных помещений. На мельнице освещение производственных помещений обеспечивает достаточную и равномерную освещенность рабочих мест и безопасность труда. Также на предприятии предусмотрено аварийное освещение.
Для защиты рабочего от неблагоприятных воздействий внешней среды (механических, химических и термических) на предприятии применяют средства индивидуальной защиты - спецодежду, спецобувь, предохранительные приспособления.
Анализ опасных зон по взрыво- и пожароопасности на предприятии и инженерные предложения по их локализации
Развитие отраслей пищевой промышленности связано с концентрацией производства, созданием больших и сложных сооружений, сосредоточением готовой продукции, сырья и вспомогательных материалов.
Пожарная профилактика - это комплекс инженерно-технических и организационных мероприятий, направленных на обеспечение противопожарной защиты объектов отрасли.
Основными задачами пожарной профилактики являются разработка и осуществление мероприятий, направленных на устранение причин, которые могут вызвать пожар; на ограничение распространения возможных пожаров; на создание условий для безопасной эвакуации людей и имущества в случае пожара; на обеспечение успешного тушения возникших пожаров.
По пожарной опасности мукомольный завод относится к категории Б и В. В связи с этим на территории предприятия предусмотрена сеть пожарных подъездов к зданиям, сооружениям и источникам водоснабжения и пожарным водоемам.
При проектировании мельницы учитывали противопожарные разрывы между зданиями, не позволяющие огню переброситься с одного здания на другое. Величина разрывов зависит от огнестойкости смежных зданий, которая составила не менее 10-20 метров. Для предупреждения распространения пожара по высоте здания служат огнестойкие междуэтажные перекрытия.
На мельнице используются первичные средства пожаротушения, размещенные в специальных шкафах, имеются также ящики с песком. В производственных помещениях и на каждом этаже имеется необходимое количество огнетушителей.
В случае возникновения пожара или аварии на мельницы предусмотрены эвакуационные выходы, которые обеспечат безопасную и быструю эвакуацию людей. План эвакуации людей на случай пожара из любого производственного помещения имеется на всех этажах здания.
Персональная ответственность за пожарную безопасность на предприятии возлагается на его руководителя, а на производственных участках, в цехах - на мастеров и начальников цехов. Инструкция по технике безопасности при обслуживании эксплуатации оборудования.
Технологические процессы приема, очитки, выработки муки и т.д. связаны с применением большого количества машин, станков, аппаратов различных типов и конструкций.
Наряду с облегчением условий труда оборудование в случае несоблюдения требований безопасности при конструировании, изготовлении, монтаже и эксплуатации может представлять опасность для обслуживающего персонала.
Под опасной зоной машин, станков, аппаратов, механизмов понимают пространство, в котором постоянно или периодически действуют или возникают факторы, опасные для жизни обслуживающего персонала.
Конструкция машин, станка, аппарата, установки, механизма должна обеспечивать не только прочность и жесткость отдельных узлов и деталей, высокие технико-экономические показатели, технологический эффект, производительность труда, качество продукции и рентабельность, но и оптимальные санитарно-гигиенические и безопасные условия труда.
Для наблюдения за работой закрытых деталей и узлов в кожухе машины установлены смотровые окна. Машину оснащены устройствами, предупреждающими от перегрузок, отключающими ее при падении напряжения в электрической сети.
Движущиеся части оборудования, представляющие опасность для обслуживающего персонала, ограждены. Съемные и откидные ограждения рабочих органов обеспечены блокировкой, прекращающей работу оборудования пери съеме или открывании ограждения. Для предупреждения об опасности имеются звуковые, световые и цветовые сигнализаторы, которые установлены в зонах видимости и слышимости персонала. Части оборудования, которые представляют опасность для людей, окрашены в сигнальные цвета. На них нанесены знаки безопасности.
Например, при эксплуатации моечных и увлажнительных машин необходимо следить за тем, чтобы кожухи машин не пропускали воду. Машины устанавливают в металлических или бетонных корытах с высотой бортов 50…75 мм. Во время работы моечной машины и отжимной колонки нельзя выгребать зерно из шнеков корыта и вынимать случайно попавшие туда посторонние предметы. Рабочую поверхность машин очищают сильной струей воды. Диски увлажнительных машин необходимо отбалансировать, струя воды должна быть равномерной, течь воды в арматуре, трубах и резервуарах не допускается.
Подогреватели зерна должны быть герметичными и не пропускать воду и пар в производственное помещение. Для предотвращения аварий секции подогревателя перед их установкой в машину проверяют их под давлением, в 1,5-2 раза превышающим максимальное рабочее давление данного аппарата. Кроме того, устанавливают предохранительные клапаны, манометры и термометры на высоте не более 2 м в доступном и удобном месте.
Магнитные колонки представляют собой набор магнитных подков через которые проходит продукт. Очищают магниты от налипших частиц металлов при помощи специальных щеток или деревянных скребков.
При эксплуатации камнеотделительных машин необходимо следить за тем, чтобы они вращались равномерно без ударов и стуков.
Триеры обеспечивают аппаратурой защиты для остановки привода при перегрузке либо завале продуктом. При работе триеров следят за герметичностью кожухов и эффективностью аспираторов.
Радиальные или продольные бичи обоечных машин должны быть надежно закреплены, а бичевые барабаны отбалансированы. Во время работы машин не разрешается вынимать ситовые рамы и открывать люки наждачных и металлических барабанов. Наждачная масса абразивных барабанов должна быть прочной, не иметь трещин, не отслаиваться от обечаек.
Опасная зона у сепараторов с возвратно-поступательным движением ситового кузова - это привод эксцентрикового колебателя, аспирационных и питающих шнеков. Ситовые рамы во время работы не должны самопроизвольно выпадать или перемещаться в пазах. Их надежно закрепляют специальными приспособлениями, устанавливаемыми с боковых сторон, и болтовыми соединениями с передней и задней сторон. Перед пуском сепаратора необходимо убедиться в уравновешенности кузовов, отсутствии стуков и повышенной вибрации.
Согласно действующей технике безопасности при внутреннем осмотре машин, находящемся в длительном выключении или неисправном состоянии снимают приводные ремни, отключают от электрической сети, а около места пуска оборудования вывешивают плакат "Оборудование неисправно" и др. При возникновении пожароопасной ситуации в производственном помещении технологическое, транспортное, вентиляционное и аспирационные установки подлежат немедленному выключению. Не допускается работа машин, при неисправной вентиляции в виду выделения пыли, а также с открытыми люками, крышками или дверками.
Выводы
На ЗАО « Балаково- мука» осуществляется качественная подготовка помольных партий зерна. Небольшое расхождение между показателями качества (натура, влажность, количество клейковины) партий зерна обеспечивает стабильность работы оборудования. Зерно соответствует требованиям нормативной документации, медико-биологическим требованиям и санитарным нормам качества. Применяемая на ЗАО «Балаково- мука» система подготовки зерна к помолу является эффективной. Качество готовой продукции соответствует ГОСТ 26574-85.
Предложения для модернизации производства
В настоящее время повышается потребительский спрос на мелкую упаковку, более удобную при перевозке и хранении. С целью повышения конкурентоспособности продукции, увеличения объемов выпуска для предприятия немаловажное значение может иметь приобретение фасовочной линии для розничной торговли мукой. Высокие хлебопекарные качества муки, современный дизайн пакета, точность дозирования и доступная цена в кратчайшие сроки смогут оценить домашние хозяйки, среди которых фасованная продукция пользуется популярностью. В последнее время широкое распространение получило применение полимерных материалов в технологическом и транспортном оборудовании, связанном с хранением и переработкой зернопродуктов. Еще одно предложение модернизации производства- это сокращение потерь зерна за счет внедрения в конструкции машин полимерных материалов, которое позволит повысить уровень взрывобезопасности, снизить расход электроэнергии, уменьшить травмирование зерна, увеличить сроки службы оборудования. Чтобы уменьшить вероятность травмирования зерна можно установить на нории полимерные ковши, облить головку нории полимерным материалом, так как при их использовании травмирования практически не происходит. Благодаря высокой износостойкости полимерных материалов можно избежать изнашивания оборудования в местах соударения зерна с элементами технологического и транспортного оборудования. Еще одна проблема – взрывобезопасность производства. Например, при отрыве или перекосе ковша возможен удар о стенки норийной трубы и возникновении искры (металл о металл). При использовании полимерных материалов в аналогичном случае полимер ударит о металл и искры не возникнет. Таким образом, полностью исключится взрывоопасность норий.
Список литературы
Демский А.Б. и др. Справочник по оборудованию зерноперерабатывающих предприятий. М.”Колос”, 1970, 432 с.
Демский А.Б. и др. Оборудование для производства муки и крупы. М.Агропромиздат, 1990.
Соколов А.Я и др. Технологическое оборудование предприятий по хранению и переработки зерна. М. “Колос”, 1984.
Соколов А.Я. и др. Основы расчета и конструирования машин и автоматов пищевых производств. М. Машиностроение, 1969.
Трисвятский Н.А. и др. Хранение и технология сельскохозяйственных продуктов. М. Агропромиздат, 1991.
Егоров Г.А. Технология муки, крупы и комбикормов. М. “Колос”, 1984,376 с.
Егоров Г.А. Технология и оборудование мукомольно-крупяного и комбикормового производства. М. “Колос”, 1979, 368 с.
Демский А.Б. и др. Комплексное оборудование мукомольных заводов. М. Агропромиздат, 1985, 216 с.
Цециновский В.Н., Птушкин Г.Е. Технологическое оборудование зерноперерабатывающих предприятий. М. “Колос”, 1976, 368 с. Правила организации и ведения технологического процесса на мукомольных заводах.(часть 1и2) М. Роскомхлебопродукт 1991 53; 75 с.
Личко И.М Технология переработки продукции растениеводства. Под – ред. М. Колос 2000. 552с.
Беркутова Н.С, Швецова И.А Технологичесие свойства пшеницы и качество продуктов переработки. М Колос 1984 -243 с.
Клеев И.А. Значение температуры при хранение зерна. М.,3аготиздат, 1947,25. Кншинидев М.И. Биохимия пшеницы. М., - Л., Сельхозисз, 1951
Козьмина Е.П., Бутман Л.А., Ильина В. Н, Наумова А.Т., Некоторые новые данные о промежуточном и прикрепленном белке эндосперма пшеницы. "Труды ВНИИЗ" 1959, вып.36,30.
Кретович В.А. Физико-биохимические основы хранения зерна. М., Изд. АН. СССР 1945.
Лыков А.В. Явление переноса в капиллярно-пористых телах. М.,-Л., ГИТТЛ, 1954_
Лыков А.В. Теория сушки. М., "Энергия", 1968,Любарский Л.Н. Рожь "Хлебоиздат" 1957
Тетренко Т.П. Технологическое значение структуры пшеничного зерна. - "Известия вузов, пищевая технология", 1968, №4.
Пригожин И., Дерей Р. Химическая термодинамика. Новосибирск, "Наука". 1966
Мерко И.Т. Технология мукомольного и крупяного производства. М. Агропромиздат, 1985, 288 с.
Гаметский Р.Р. Оборудование зерноперерабатывающих предприятий. М. Агропромиздат, 1990, 271
Романов А.И., Тихомиров Е.П. Практикум по оборудованию предприятий по хранению и переработке зерна. М. “Колос”, 1981, 145 с.
Гамецкий Р.Р., Рудай Т.З. Оборудование зерноперерабатывающих предприятий. М. “Колос”, 1978 - 10 шт.
Конарев Ф.М., Пережогин Н.В и др. Охрана труда. Агропромиздат, 1988.
Бутковский В.А. Мукомольное производство. М. “Колос”, 1993 Бутковский В.А, Мерко А.И, Мельников Е.М.Технология зерноперерабатывающих производств. М Иптограф сервис, 1999 с-472.
Егоров Т.А. Малая мельница, устройство, технология, качество муки. Практическое руководство. М., 1998. Александров К.Г. Анатомия растений М.,: "Высшая школа" 1996,Белов С.В. и др. Беркутова Н.С. Влияние гидротермической обработки на микроструктуру и технологические свойства пшеницы. - Мукомольно-элеваторная промышленность"; 1964, №9. Бороноева Г.С., Казаков Е.Д., Немобина Г.М., Шурыгина В. А.
Брунауэр С. Абсорбция газов и паров. М., Изд. иностранной литературы, 1948, т1 Гесс К. Белки эндосперма пшеницы и их значения для выработки муки, - "Труды III международного хлебного конгресса". 19 58-43 1с. Гинзбург А.С., Анискин В.И., Окунь Г.С., Чижиков А. Г.
Гигроскопические свойства зерна различных культур. М., ЦИНТИ Госкомзаго СССР, 1967 Егоров В.А. Влияние параметров гидротермической обработки на внутренний перенос влаги в зерне. - "Труды ВНИИЗ", 1967, вып.61- 62, 77. Суворов Н.С. Развитие зерновки пшеницы и влияние ее строения на технологические свойства зерна. М., Заготиздат, Труды ВНИИЗ 1952> >вып.24, 19. Гинзбург 24.А.С., Дубровский в.П., Казаков Е. Д., Окунь Г.С., Резчиков В.А. Влага в зерне. М., "Колос", 1969 Голенков В.Ф. Сравнительная характеристика препаратов промежуточного и прикрепленного белков пшеницы, "сообщения и рефераты ВНИИЗ" 1962 вып. 2.
Гончарова З.Д. Исследование влияния гидротермической обработки зерна на изменение его структурно-механических свойств. - "Мукомольно-элеваторная промышленность", 1964, №5 Закон Российской Федерации « Об Охране окружающей среды» От 19.12.1991г.Изд. Верховного совета РФ М, Изд. «Республика» 1992- 413с ГОСТ 13586.5-93 ГОСТ 9353-85
ГОСТ 10967-90. Зерно. Методы определения запаха и цвета.
ГОСТ 10840-64. Зерно. Методы определения натуры.
ГОСТ 10987-76. Зерно, методы определения стекловидности.
ГОСТ 13586-1-68. Зерно. Методы определения количества и качества клейковины в пшенице.
ГОСТ 135586.4-83. Зерно. Методы определения зараженности и поврежденности вредителями. ГОСТ 2874-82. Вода питьевая. М., 1982
ГОСТ 13586.5-93. Зерно. Методы определения влажности.
ГОСТ 30483-97. Зерно. Методы определения общего и фракционного содержания сорной и зерновой примесей; Содержание мелких зерен и крупности; содержание зерен пшеницы, поврежденных клопом- черепашкой; содержание металломагнитных примеси. Сан Пин №4630-92. Охрана поверхностных вод от загрязнения. М., 1992.
Правовое регулирование природопользования и охраны окружающей среды. Сборник нормативных актов за 1995 г., М., 1994. с 398 Руководство по контролю загрязнения атмосферы РД 5204.186-89 М 1991- 6940 Минаков И.А Куликов Н.И Соколов О.В. Экономика отраслей АПК М Колос 2004. Сборник руководящих документов и нормативных актов по охране окружающей среды и рациональному природопользованию (выпуск 2) Саратов 1995- 158с.
Беляев Г.И. практикум по охране труда, - Агропромиздат 1988. - 159с.
Булатов А.С. "Экономика" издательство БЕК, 1996. - 632с. Безопасность жизнедеятельности, - М.: "Высшая школа" 1999 - 448с. Коваленко Н.А Экономика сельского хозяйства М Колос 1999 Агарная экономика. Учебник. СПб Лань 2002
Экономическое законодательство. 1998 – 448с
Зотов Б.И., Курдюмов В.И. Безопасность жизнедеятельности. М., 2Колос" - 2000-424с.
Райзберг Б.А. Курс экономики. Учебник - 3-е изд., доп. М.: ИНФРА- М. 2001-716с.
Волков О.И Скляренко В.К. Экономика предприятия М ИНФРА 2001
Синаторский Б.В. Изменение физико-химических свойств зерна при ГТО.М., ЦИНГИ Госкомзага СССР, труды ВНИИЗ, 1963 вып.47,43- 70.
Сердюков П.И. О контроле перемещения влаги в зерне. "Сообщения и рефераты ВНИИЗ", 1950 №1.

