Аппарат искусственной вентиляции легких
Саратовский Государственный Технический Университет
Кафедра «Приборостроение»
Пояснительная записка к курсовому проекту на тему:
«Аппарат искусственной вентиляции легких «Авенир-221»
Выполнил:
студент гр. ПБС-32
Проверил:
Черепанов Д.В.
Саратов 2005
Содержание пояснительной записки
Техническое задание на бланке
Аннотация.
1.Введение. Реализация современных медицинских технологий в новой наркозно-дыхательной аппаратуре
2.ИВЛ «Авенир-221» Описание работы привода
3. Расчет дыхательного меха
4. Кинематический расчет. Обоснование выбора электродвигателя
5. Расчет зубчатой ременной передачи
6. Выбор и расчет подшипников
7. Заключение
8. Список литературы
Аннотация
В ходе курсового проектирования аппарата ИВЛ «Авенир-221» с помощью литературы, ГОСТов и на основе необходимых данных выделены: технические характеристики прибора, отмечены его достоинства и недостатки, произведены расчет передач зубчатым ремнем, шарикоподшипников, дыхательного меха, геометрических параметров деталей, кинематический расчет.
1. Введение
Реализация современных медицинских технологий в новой наркозно-дыхательной аппаратуре
Наркозно-дыхательная аппаратура (НДА), включающая аппараты ИВЛ, аппараты ИА (ингаляционной анестезии) и мониторы для контроля параметров их работы и состояния пациента, как один из основных видов медицинской техники была и остается одним из основных направлений деятельности "ВНИИМП-ВИТА". Несмотря на общеизвестные трудности в работе лечебных учреждений и в промышленности, институт активно продолжает и будет развивать разработку и освоение производства новых видов аппаратов и приборов по данной тематике. Своей задачей в данной области "ВЕПИИМП-ВИТА" по-прежнему считает техническое обеспечение важнейших направлений современной медицины - интенсивной терапии, реаниматологии и анестезиологии всей необходимой гаммой аппаратуры на основе реализации новых медицинских методов, методик и режимов. Для ускоренного внедрения новых разработок и обеспечения их финансирования в отсутствие бюджетных поступлений начато серийное производство изделий, пользующихся наибольшим спросом, на производственной базе института. Значительное усиление роли экономических факторов требует более глубокого и системного подхода к выбору направлений работы и сосредоточения на них максимально возможных усилий. Далее мы отметим основные конкретные проявления подобного подхода для данного вида медицинской техники, а затем приведем намечаемую на ближайший период систематизированную номенклатуру новых разработок нашей фирмы.
Прогнозируется достаточно высокий спрос на НДА, что объясняется ее важностью для здравоохранения в целом, возрастающим числом врачей анестезиологов-реаниматологов, постоянно расширяющимися показаниями к применению методов общей анестезии и интенсивной терапии и новыми тенденциями их развития. Это положение подтверждается данными (скорее заниженными) табл. 1.
Таблица 1. Производство и разработка наркозно-дыхательной аппаратуры в России в 2000 г.
Вид аппаратуры Число выпускаемых моделей Число разработок
Аппарат ИВЛ157
Аппараты ИА55
Мониторы для НДА 75
В ближайшее время представляется вероятным изменение соотношения между импортируемой и отечественной аппаратурой. Конкретные подсчеты показывают, что при тех же общих затратах на приобретение НДА за счет увеличения доли на закупку изделий российского производства оснащенность лечебных учреждений может значительно увеличиться. Здесь необходимы два замечания: 1) отечественная аппаратура в первую очередь должна быть рассчитана на реальные потребности и возможности массовых лечебных учреждений России, а ее качество не должно уступать качеству НДА данного назначения, выпускаемой ведущими зарубежными фирмами и 2) для наиболее крупных научных центров, клиник и больниц следует импортировать наиболее сложные, многофункциональные модели.
Необходимость обеспечения соответствия разрабатываемой НДА требованиям, возможностям и особенностям отечественных потребителей в условиях конкуренции на рынке России определяют важность определения современных и перспективных тенденций развития аппаратуры, включая методы, режимы и основные технические решения. Ценную информацию о требованиях отечественного рынка позволил получить анализ технических спецификаций к международным конкурсам (тендерам) на поставку аппаратов ИВЛ и ИН в лечебные учреждения России. Эти материалы, анализ литературы и экспонатов выставок определяет вывод о том, что при сохранении общих методов интенсивной терапии (ИВЛ по методу вдувания газа в дыхательные пути) и анестезии (ингаляционная анестезия) выявляются следующие новые медицинские технологии.
В области ИВЛ основная тенденция - переход от наиболее часто используемой сейчас управляемой ИВЛ к менее агрессивным методикам. Для них характерны различные сочетания навязываемого пациенту режима с самостоятельным дыханием; при этом аппарат выполняет не всю, а только часть затрачиваемой на вентиляцию работы, причем доля циклов управляемой ИВЛ может сильно варьироваться. Наиболее распространенная сейчас управляемой ИВЛ будет вытесняться режимом "вспомогательная/управляемая вентиляция", все большее распространение получат режимы, первичная цель которых - поддержание на входе в дыхательные пути заданного давления. Примерами таких режимов является управляемая ИВЛ, ориентированная на давление, в том числе с инверсным отношением продолжительностей вдоха и выдоха, т.н. "поддержка давлением", самостоятельное дыхание с двумя чередующимися уровнями положительного давления (Bi-PAP) и т.п. Распространение подобных методов привело к тому, что сейчас оправдана замена самого термина "искусственная вентиляция легких" на более широкое понятие "вентиляционная поддержка".
В ИА интенсивно происходит замена традиционных анестетиков новыми, более безопасными для пациента и медицинского персонала. Не говоря уже о практически забытом за рубежом эфире, вышли из употребления метоксифлуран (пентран) и трихлорэтилен (трилен). Наряду с фторотаном, все больше распространяются галогеносодержащие жидкие анестетики - энфлуран, изофлуран, севофлуран и дезфлуран. Единственным широко используемым газообразным анестетиком остается закись азота, но ряд исследований, в том числе и отечественных, подтверждают перспективность использования ксенона. Следует отметить и явную тенденцию преобладающего применения реверсивного дыхательного контура с подачей малых количеств кислорода и закиси азота (методика "Low Flow"). Оснащение аппаратов ИА мониторами и другими дополнительными устройствами обусловили перспективную замену терминов "аппарат ИН" и даже "аппарат ИА" на "анестезиологическая система". Общая тенденция для аппаратов ИВЛ и ИА - применение неинвазивных способов присоединения аппарата к пациенту - трахеальных трубок, вводимых через нос, или масок, обтурирующих верхние дыхательные пути. Наиболее яркой общей тенденцией следует считать оснащение аппаратов встроенными и придаваемыми мониторами - устройствами для длительного определения характеристик системы, образованной пациентом и аппаратом ИВЛ или ИН, а также для сигнализации о выходе значений этих характеристик из установленных пределов и о различных нарушениях работоспособности аппаратуры. Например, последние проекты международных стандартов на эти аппараты требует обязательного комплектования аппаратов ИВЛ мониторами дыхательного объема или минутной вентиляции, мониторами концентрации кислорода и средствами сигнализации об апноэ при увеличении интервала между последовательными дыхательными циклами. Для аппаратов ИА стандартизовано их оснащение капнометрами, мониторами концентрации кислорода, выдыхаемого объема, давления в дыхательном контуре.
Современные мониторы данного назначения все чаще дополняются контролем показателей кровообращения, а вывод измеряемой информации осуществляется не только в цифровом, но и в графическом виде с возможностью показа ее изменений за длительный промежуток времени (тренд). Начала применяться т.н. "интеллектуальная сигнализация".
В части номенклатуры НДА можно выделить тенденцию объединения в одном аппарате возможности применения как взрослых пациентов, так и детей начиная с 1 года.
Технические решения НДА имеют тенденцию к некоторой унификации. Общей стратегией является переход от пневмомеханических устройств к все усложняющимся методам электронного управления. Можно выделить два основных принципа структуры современных аппаратах ИВЛ. Первый характеризуется применением первично постоянного потока газа, который затем преобразуется малоинерционными электро-пневматическими преобразователями в нужные для дыхания порции. Однако в некоторых из перспективных режимов вентиляционной поддержки постоянный поток газа (т. н. "Flow By") используется непосредственно. Для реализации вспомогательной ИВЛ с переключением на вдох по изменению потока газа, а также в аппаратах для новорожденных и детей находит применение разновидность такого приема, отличающаяся пропусканием постоянного потока газа в фазе выдоха через весь дыхательный контур. Зарубежным аппаратам с постоянным потоком газа, преобладающим сейчас на рынке, обычно требуется подача сжатого кислорода и воздуха от внешних источников; в отечественные аппараты ("Спирон-201", "Фаза-5") источник подачи сжатого воздуха встроен. Примером аппарата ИВЛ для детей с приемом "Flow By" может служить аппарата "Спиро-Вита-412". Принципиально другое техническое решение заключается в применении генератора вдоха переменного потока в виде меха, цилиндра с поршнем и т.п., приводимых в движение специализированным электроприводом, который позволяет гибко управлять всеми характеристиками вентиляции. Данное решение позволяет обойтись как без внешнего пневмопитания, так и без встроенного компрессора. Снижение размеров и массы таких аппаратов определяется тем, что потребляемая в данный момент мощность определяется режимом вентиляции, и максимальная нагрузка на привод нужна очень редко. Однако режимы, связанные с использованием "Flow By" реализовать в этом приводе трудно. Зарубежный пример -аппарат фирмы "Контрон", ведется разработка подобной аппаратуры и во "ВНИИМП-ВИТА".
В аппаратах ИВЛ, предназначенных для применения во время ИА, для получения реверсивного дыхательного контура требуется отделить дыхательный контур от силового. С этой целью в аппаратах с генератором вдоха постоянного потока применяется специальное разделительное устройство (аппараты типа РО). Ясно, что в аппаратах второго типа такое устройство излишне.
Данные особенности обосновывают вывод, что для многофункциональных, наиболее сложных аппаратов ИВЛ перспективным является применение генератора вдоха постоянного потока, а для более массовых аппаратов с несколько ограниченным набором режимов и для аппаратов ИВЛ, используемых в составе систем ИА, - генератора вдоха переменного потока.
В современных клинических аппаратах ИВЛ широко используются микропроцессорное управление. Его преимущества по гибкости, разнообразной обработке и визуализации информации безграничны. Однако прослеживается тенденция придания аппаратуре возможностей, которые легко реализуются программными методами, но четкие показания к их применению либо очень узки, либо не определены. Важные характеристики аппарата ИВЛ во многом определяются примененным принципом переключения с вдоха на выдох. Поскольку микропроцессорная техника легче всего справляется с заданием временных характеристик, наибольшее распространение получило переключение по времени, но для реализации многих современных режимов работы оно дополняется переключением на выдох и по достижению заданного давления в дыхательном контуре. Другим аспектом микропроцессорного управления стало широкое применение для стабилизации ряда характеристик внутренних обратных связей. Велики возможности микропроцессорной техники и для организации в аппаратах ИВЛ различной обработки и визуализации информации, запоминания различных ситуаций, различной сигнализации и т.п.
Основные технические решения стационарных аппаратов ИА остаются стабильными, но ряд изменений конструкции аппаратов достаточно перспективен. Отказ от использования эфира упрощает конструкцию и позволит применять в дыхательном контуре более широкий спектр полимерных материалов. Универсальные испарители, позволяющие использовать различные анестетики, по соображениям безопасности вытеснены испарителями, каждый из которых рассчитан на использование только одного вещества. Для обеспечения во время ИА аппаратной ИВЛ продолжают сосуществовать два способа - оснащение аппаратов ИВЛ блоками для обеспечения ИА и включение в состав стационарных аппаратов ИА блоков ИВЛ с адекватно ограниченными возможностями. Во втором случае, представляющемся более перспективным, практически обязательным будет применение в блоках ИВЛ мехов, приводимых специальным программно управляемым электроприводом. Заметим, что перспективное применение реверсивных контуров с малой подачей газа, как и использование ксенона потребует введения в состав аппаратов ИА новых дозирующих устройств и значительного улучшения герметичности дыхательного контура.
Основной перспективной тенденцией технических решений аппаратов ИА следует считать внедрение электроники и, особенно, микропроцессорной техники. Уже сейчас она завоевала прочные позиции в блоках ИВЛ, мониторах и некоторые других дополнительных узлах. Поэтому несомненно, что в ближайшем будущем электронное микропроцессорное управление завоюет прочные позиции и в данном виде НДА.
Мониторное обеспечение ранее было самым слабым местом отечественной НДА. Сейчас положение несколько улучшилось: многие виды НДА укомплектованы простым монитором АСТРА, во все новые аппараты разработки "ВНИИМП-ВИТА" встраиваются мониторы давления в дыхательном контуре, разработано и освоено производство пульсоксиметров, электронных волюметров, анализаторов содержания кислорода. Теперь стоит задача установить стратегию обеспечения мониторного контроля ИВЛ и ИА, которая включает выбор оптимальных наборов контролируемых характеристик, надлежащее деление мониторов на встроенные в аппараты и отдельные, "привязка" характеристик встроенных мониторов к сложившейся номенклатуре аппаратов ИВЛ и ИА. Требуется обосновать метрологические характеристики мониторов, унифицировать методы представления и обработки информации и технические решения. Видимо, рационально выделить три группы мониторов:
Мониторы для комплектования аппаратов ИА, включающие каналы измерения содержания кислорода, закиси азота, паров анестетиков. Они должны контролировать ЭКГ, насыщение гемоглобина кислородом, частоту сердечных сокращений, артериальное давление. Для контроля ИВЛ достаточен мониторинг давления в дыхательном контуре.
Мониторы для комплектования многофункциональных аппаратов ИВЛ, обрабатывающие информацию о давлении и скорости газа в дыхательном контуре, о насыщении гемоглобина кислородом, о содержании в дыхательном газе кислорода и СО>2> об ЭКГ и частоте сердечных сокращений. Необходим расчет значений примерно 20 различных показателей, визуализация ряда функциональных кривых и трендов.
Мониторы для встраивания в аппараты ИВЛ, предназначенных для длительной интенсивной терапии, могут иметь более узкий набор возможностей, но обязательно контролировать объемные и другие показатели ИВЛ и самостоятельного дыхания (с сигнализацией) и вывод на экран одной – двух функциональных кривых.
Краткая характеристика некоторых изделий:
Аппарат ИА "Ксенон" предназначен для проведения ингаляционного наркоза фторотаном, энфлураном, изофлураном, закисью азота и ксеноном по нереверсивному и реверсивному контурам у взрослых и детей старше 1 г. Предусмотрен режим "Low Flow". ИВЛ осуществляется аппаратом "Элан-201" с электроприводом и электронным управлением. Может комплектоваться анестезиологическим монитором "Эксон-509".
Аппарат ИА "Полинаркон-Вита 2000" предназначен для проведения у взрослых и детей старше 1 года ингаляционного наркоза фторотаном, энфлураном, изофлураном и закисью азота по нереверсивному и реверсивному контурам. Предусмотрены режим "Low Flow" и ИВЛ с помощью аппарата "Элан-201". Может комплектоваться монитором "Эксон-509".
Аппарат ИА "Полинаркон-Вита" предназначен для проведения ингаляционного наркоза фторотаном, энфлураном (опция), эфиром и закисью азота по нереверсивному и реверсивному контурам у взрослых и детей старше 4-х лет. ИВЛ обеспечивается аппаратом "Диана" с пневмоприводом и электронным управлением. Комплектуется пульсоксиметром и монитором FiO>2>. Выпускается и модификация этого аппарата для детей старше 1 г.
Аппарат ИА "Наркон - П" предназначен для проведения в условиях экстремальной медицины и скорой помощи ингаляционного наркоза фторотаном и эфиром у взрослых по нереверсивному (открытому без подачи кислорода и полуоткрытому) дыхательному контуру. Комплектуется саморасправляющимся мешком для ИВЛ вручную.
Аппарат ИВЛ "Спирон-202" предназначен для интенсивной терапии. Обеспечиваются современные режимы вентиляционной поддержки, в т.ч. управление по объему и по давлению, инверсное отношение вдох/выдох, вспомогательная/управляемая ИВЛ, поддержка давлением, синхронизированная периодическая ИВЛ, дыхание с двухфазным положительным давлением и др. Предусмотрены увлажнитель, монитор давления и воздушный компрессор. Может комплектоваться универсальным монитором СМ-15 .
Аппарат ИВЛ "Авенир-221" (с управляемым электродвигателем) предназначен для интенсивной терапии взрослых и детей старше 1 года. Обеспечиваются современные режимы вентиляционной поддержки, в т.ч. управление по объему и по давлению, инверсное отношение вдох/выдох, вспомогательная/управляемая ИВЛ, поддержка давлением, синхронизированная периодическая ИВЛ, изменение формы скорости вдувания и др. Предусмотрены монитор давления и объема, измерение FiO>2> и увлажнитель.
Аппарат ИВЛ "Элан-201" предназначен для применения в качестве блока систем ИА для взрослых и детей старше 1 года. Имеет электропривод и микропроцессорное управление. Обеспечивает управляемую ИВЛ с ПДКВ, вспомогательную и периодическую ИВЛ, предусмотрены встроенный монитор давления в дыхательном контуре и цифровая индикация установленных значений параметров вентиляции.
Аппарат ИВЛ "Элан-301" предназначен для применения в качестве блока аппаратов ИА для взрослых и детей старше 1 года. Имеет электропривод и микропроцессорное управление. Обеспечивает управляемую ИВЛ с ПДКВ, предусмотрены встроенный монитор давления в дыхательном контуре и цифровая индикация установленных значений параметров вентиляции.
Универсальный монитор СМ-15 предназначен для комплектования аппаратов ИВЛ в отделениях реанимации и интенсивной терапии. Измеряет и контролирует характеристики давления в дыхательном контуре, объемных показателей вентиляции. SpO>2>, FiO>2>, рСО>2>, ЭКГ, рассчитывает характеристики органов дыхания и контролирует исправность аппарата. Кроме цифровых значений, на экран выводятся 5 видов функциональных характеристик и тренды.
Монитор
анестезиологический "Эксон-509"
предназначен для контроля основных
параметров состояния пациентов (взрослых
и детей) во время проведения анестезии
и интенсивной терапии - SpO
и частоты пульса методом пульсовой
оксиметрии ЕТ СО>2>, частоты дыхания
и вдыхаемой концентрации N>2>O
методом инфракрасной спектрометрии;
FiO>2> электрохимическим
методом; артериального давление
осцилляционым методом и ЭКГ. Капнограмма,
плетизмограмма, ЭКГ и тренды основных
измеряемых параметров отображаются
на. графическом люминисцентном дисплее.
Вентиляционный монитор предназначен для встраивания в аппараты ИВЛ для взрослых и детей и обеспечивает контроль характеристик давления в дыхательном контуре, объемных показателей вентиляции и FiO>2>. Результаты измерения и два вида функциональных кривых выводятся на электролюминесцентный дисплей.
Монитор АСТРА-2 предназначен для комплектования аппаратов ИВЛ и ИА для взрослых и детей и контролирует Рмакс, Рмин и Рср в дыхательном контуре, а также апноэ. Результаты измерения выводятся на шкальный индикатор.
2. ИВЛ «Авенир-221»
Аппарат ИВЛ «Авенир-221» состоит из дыхательного меха, ременной передачи зубчатым ремнем, траверсы, электродвигателя ДСТ-150. Рассмотрим технические назначения каждого блока прибора:
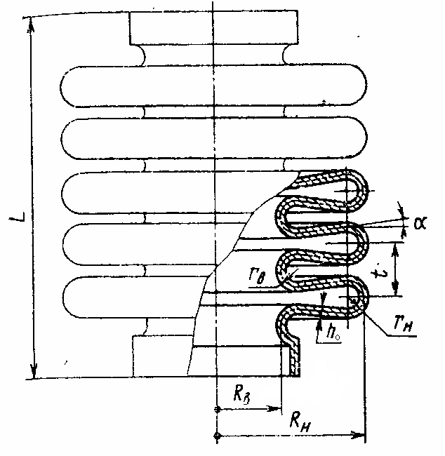
Мех дыхательный представляет собой тонкостенную цилиндрическую оболочку с поперечной гофрированной боковой поверхностью; расширяется и сжимается вдоль оси (подобно пружине) под действием разности давлений внутри и снаружи, или от внешнего силового давления-воздействия. Применяется как чувствительный элемент, реагирующий на изменение давления заключенных в нем жидкости или газа. В данном случае, мех дыхательный изготовлен из резины. Характеристикой меха является зависимость прогиба (хода) от действующего усилия растяжения Р>р> или сжатия. Одним из параметров меха является жесткость, она величина постоянная, зависит от материала и геометрических размеров меха.
Ременная передача зубчатым ремнем - это механическая передача вращения двигателя при помощи натянутого зубчатого ремня, перекинутого через шкивы, закрепленные на валах.
Достоинствами ременных передач являются:
относительно высокий КПД (0,92-0,98);
большая нагрузочная способность;
возможность получения больших передаточных отношений;
малая вытяжка;
малая нагрузка на валы и опоры;
- бесшумность работы при больших скоростях и без динамических нагрузок.
Ремни изготавливают из эластичных пластмасс и резины.
3.Шкив - это деталь ременной передачи, колесо которого имеет цилиндрическую форму.
4.Траверса - это
горизонтальная балка, опирающаяся на
вертикальные
стойки. Является частью
конструкции (обычно в виде поперечной
балки). В
данной конструкции с помощью
нее осуществляется сжимание разжимание
меха.
5.Двигатель ДСТ-150 с частотой вращения до 1000 об/мин.
Для аппарата ИВЛ «Авенир-221» у дыхательного меха ход подвижной крышки меха от 0,744 - 9 см, скорость движения крышки меха при вдохе до 10 см/с. Скорость движения крышки меха при выдохе (заполнение меха смесью газа) до 10 см/с.
Описание работы привода
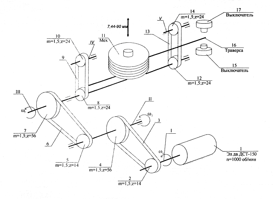
При включении данного прибора ось эл.дв. (1) начинает вращаться. На оси эл.дв. (1) жестко закреплено З.К. (2), которое через ременную передачу (10) приводит во вращение шкив (3). На одном валу вместе с З.К.2 жестко закреплено З.К.З (4), которое через ременную передачу (11) З.Р.2 приводит во вращение расположенные на одном валу З.К.5 (6) и З.К.7 (8). Расстояние между З.К.5 (6) и З.К.7 (8) такое, что между ними помещается мех (11). Зубчатые колеса З.К.6
и З.К.8 (9) расположены параллельно оси зубчатых колес З.К.5 (6) и З.К.7 (8) соответственно. Они вращаются посредствам ременных передач З.Р.З (12) и З.Р.4 (13). На З.Р.З (12) и З.Р.4 (13) жестко закреплена траверса Т (16). С помощью траверсы Т (16) происходит сжатие и разжимание меха М. (11). Перемещение меха М. (1) происходит за счет того, что конец траверсы Т. (16), приходя в крайнее верхнее или нижнее положение, замыкает поочередно выключатели К.В.1 (14) (верхнее положение) и К.В.2 (15) (нижнее положение). За счет поочередного замыкания выключателей происходит изменение направления тока в обмотках электродвигателя Эл.дв. (17). В результате этого ротор электродвигателя вращается поочередно то в одну сторону, то в другую, приводя мех в движение.
Таблица № 2
|
Параметры |
Вариант № 1 |
|
Электродвигатель |
ДСП- 150 |
|
Длина ремня, мм |
447,45 |
|
Частота
вентиляции, мин |
50 |
|
Дыхательный объем меха, мл |
1000 |
|
Давление |
0,6 |

Рис 1. Кинематическая схема привода.
1 – электродвигатель; 2, 4, 5, 7, 8, 10, 12, 14 – шкивы; 3, 6, 9, 13 – зубчатые ремни; 11 – мех; 15 – выключатель 1; 16 – траверса; 17 – выключатель 2; I, II, III, IV, V – валы.
Расчет дыхательного меха (расчет сильфона)
Сильфоны представляют собой тонкостенные трубки с гофрированной боковой поверхностью. Преимуществами сильфонов являются:
Большая чувствительность по давлению и большое тяговое усилие;


Рис 2.
Линейность упругой характеристики.
Примем
объем меха 1 литр = 10
мм
,
высоту меха L = 100 мм.
Материал – резина.
Тогда эффективная площадь меха будет рассчитываться по формуле
S
=
=
=10
мм
(1)
Средний
радиус меха R
=
=
=39,9
40
мм. (2)
Зная,
что R
=
=40,
то R
+R
=2R
.
Отсюда R
=30
мм, R
=50
мм.
Угол наклона стенки гофра к горизонтали находится по формуле:
,
[1. C. 265] (3)
где:
– угол наклона стенок гофр меха
к горизонтали,
t – шаг волны гофрировки,
r
–
радиус закругления гофра.

=
=0.3929
.
Жесткость
меха K
рассчитывается по формуле:
K
=

,
[1. C. 270] (4)
где:
Е
– модуль упругости (Е=8*10
Па
для резины) [],
h
– толщина стенки меха,
n – число рабочих гофров,

– безразмерная жесткость,
определяется по номограммам (по штриховым
линиям, характеризующим относительную
жесткость) и зависит от величин:
,
,
;
[1. C. 265] (5)
Пусть
r
=
3 мм, t = 15 мм, h
=
1 мм, n = 7. Тогда:
,
k = [1,5…1,7]; m
=
=0,1;
=
=0,03
По
номограммам определяем

для случая нагружения осевой силой при
растяжении и сжатии (условие свободного
хода
0, p = 0). Она равна 6,05.
Тогда
K
=6,05
=8,6843
Н/м
К числу основыных рабочих свойств сильфона относятся циклическая прочность, под которой подразумевается число циклов, выдерживаемое сильфоном до разрушения, при переменных нагрузках.
Исследование циклической прочности проводят в основном эксперементальным путем. В ГОСТ 21482-76 и ГОСТ 21754-76 приведены номограммы для определения числа циклов до разрушения бесшовных и сварных сильфонов.
Традиционная оценка циклической прочности, принятая при расчете деталей машин, основанная на сопоставлении напряжений цикла в опасной точке детали с пределом выносливости материала, который определяют при испытании стандартных образцов. Однако изучение усталостных характеристик материалов, применяемых для изготовления сильфонов, на образцах практически невозможно из-за трудностей точного воспроизведения в образце механического состояния материала сильфона. Это связано с тем, что технология изготовления бесшовных сильфонов предопределяет существенный разброс велечины пластической деформации, а следовательно и механических свойств в разных точках сильфона. По этому следует считать целесообразным изучение циклопрочности не на образцах материала, а на самих сильфонах, которые испытывают при каком-нибудь определенном цикле нагружения.
В [1] приведены усредненные номограммы для определения циклической прочности сильфонов, выполненных из металлов. Известно, что полимерные изделия более пластичны и могут выдержать бóльшие относительные удлиннения, чем металлы. Так, выбранный тип резины выдерживает удлиннение в 400% без разрушения, и 600% с последующим разрушением, при этом остаточная деформация составляет не более 25%.
Для определения примерной циклической прочности необходимо знать отношение максимально допустимого удлиннения сильфона к рабочему. Наибольшее число циклов, которое можно определить по номограмме – 1'000'000 и более, при этом отношение удлиннений соответствует около 10. Далее будет вычеслен рабочий ход сильфона – 90 мм. Т.е. для обеспечения максимального ресурса, сильфон должен быть способен растягиваться до 900 мм., при этом не разрушаясь. Легко посчитать длину цилиндра – заготовки, из которой будет сделан сильфон, его длина составит 477 мм. Удлиннение до 900мм составит всего 188%. Этим можно показать, что сильфон получился очень надежным, и его ресурс будет определяться практически только естественным старением полимера.

Рис 3.
Кинематический расчет передачи зубчатым ремнем
0100090000031602000002009601000000009601000026060f002203574d46430100000000000100f5d10000000001000000000300000000000000030000010000006c0000000000000000000000350000006f0000000000000000000000bc4100008e23000020454d460000010000030000100000000200000000000000000000000000000061130000681b0000d2000000290100000000000000000000000000005034030028880400160000000c000000180000000a0000001000000000000000000000000900000010000000870f000064080000520000007001000001000000a4ffffff00000000000000000000000090010000000000cc04400022430061006c006900620072006900000000000000000000000000000000000000000000000000000000000000000000000000000000000000000000000000000000001100584c110010000000bc4f11003c4d1100e4506032bc4f1100b44c110010000000244e1100a04f11008a4f6032bc4f1100b44c1100200000006a455531b44c1100bc4f110020000000ffffffff0c04ec0017465531ffffffffffff0180ffff01802fff0180ffffffff0000000000080000000800004300000001000000000000005802000025000000372e9001cc00020f0502020204030204ef0200a07b20004000000000000000009f00000000000000430061006c0069006200720000000000000000007c4d11000dea5431b0d71132dc501100e84c11001e504d310700000001000000244d1100244d11003d524b31070000004c4d11000c04ec006476000800000000250000000c00000001000000250000000c00000001000000250000000c00000001000000120000000c00000001000000180000000c0000000000000254000000540000000000000000000000350000006f00000001000000e1748740397687400000000057000000010000004c000000040000000000000000000000870f00006608000050000000200000003600000046000000280000001c0000004744494302000000ffffffffffffffff880f000064080000000000004600000014000000080000004744494303000000250000000c0000000e000080250000000c0000000e0000800e000000140000000000000010000000140000000400000003010800050000000b0200000000050000000c025c018302040000002e0118001c000000fb02f1ff0000000000009001000000cc0440002243616c6962726900000000000000000000000000000000000000000000000000040000002d010000040000002d010000040000002d0100000400000002010100050000000902000000020d000000320a0e000000010004000000000082025c01200709001c000000fb020300010000000000bc02000000cc0102022253797374656d0000000000000000000000000000000000000000000000000000040000002d010100040000002d010100030000000000
Рис 4.
Кинематический расчет привода осуществляется в следующем виде:
Линейная скорость передвижения меха записывается в виде:
(6)
где:
–
радиус зубчатого колеса 5;
–
угловая скорость этого зубчатого
колеса.
С другой стороны линейная скорость меха можно записать в виде:
(7)
где:
– закон движения крышки меха,
который имеет следующий вид:
(8)
где
–
ход крышки меха,
мм,
–
частота вентиляции равная 50
мин
=
=0,83
Гц.
Находим производную
по времени от
и подставляем в формулу (7), получим:
(9)
Из формулы (6) выражаем
:
(10)
Теперь подставим формулу (9) в формулу (10), получим:

(11)
Здесь
можно
пренебречь потому что это выражение
изменяет только направление движения
меха. Угловая скорость
будет зависеть от частоты вентиляции
.
Подставляем числовые значения в формулу (11), получим:
=
=26,062
рад/с
Найдем угловую скорость двигателя по формуле:
(12)
где:
n – частота вращения ротора двигателя (об/мин).
Подставив числовые данные, получим:
рад/с.
Найдем общее передаточное отношение.
Общее передаточное отношение запишется в виде:
(13)
где:
-соответственно
передаточные отношения первой и второй
ступени зубчатых передач.
;
(14)
Подставляя (14) в (13) получаем, что общее передаточное отношение примет вид:
(15)
Диаметр делительной окружности:
(16)
где:
z – число зубьев З.К.,
m – модуль (характеристика масштаба колеса)
Значение модуля примем по таблице 5 [5. С. 248] с учетом мощности и числа оборотов. m = 2.
Диаметр вершин зубьев:
(17)
Диаметр впадин зубьев:
(18)
Определение мощности двигателя основывается на балансе мощностей в статическом режиме работы:
N
=
,
[2. т. 1, с. 30] (19)
где:
N
– минимально необходимая мощность
двигателя, Вт;
M
– статический момент сил сопротивления
на выходном валу редуктора, Н*с;
– номинальная
угловая скорость выходного вала
редуктора, рад/с;
– к.п.д.
редуктора;
– коэффициент
запаса,
=1,05…1,1.
Подставим числовые данные:
Рассчитаем передаточное отношение:
.
Пусть
число зубьев первого зубчатого колеса
,
тогда т.к. используются 2 одинаковые
клиноременные понижающие передачи, то
передаточное отношение каждой из них
будет i = 2, а следовательно
количество зубьев на большем зубчатом
колесе будет z
=
.
Рассчитаем делительные диаметры зубчатых колес:
мм.
мм.
мм.
Рассчитаем диаметры вершин зубьев:
мм.
мм.
мм.
Рассчитаем диаметры впадин зубьев:
мм.
мм.
мм.
Момент двигателя выходного вала:
Н×м.
Номинальная мощность электродвигателя:
N
=
=
=48,5
Вт.
Определим
расчетную мощность электродвигателя
по формуле:


Расчет ременной зубчатой передачи

Рис 5.
Межосевое расстояние находится по формуле:
(20)
где
находится по формуле при выполнении
условия
(в нашем случае это условие выполняется):
(21)
где:
-
число зубьев первого (меньшего) и второго
(большого) зубчатого колеса соответственно.

-
число зубьев зубчатого ремня, которое
выражается из формулы:
,
(22)
для 5, 6, 7 и
8-го зубчатых колес находится по формуле:
(23)
После
определения межосевого расстояния
определяются угол обхвата
ремня и число зацепляющихся со шкивами
зубьев n.
Угол обхвата для большего шкива:
(24)
Угол обхвата для меньшего шкива:
(25)
Число зубьев в зацеплении соответственно с большим и меньшим шкивами определяется по формуле:
(26)
Число n округляется до ближайшего меньшего целого.
Подставляем числовые данные:
.
z

.
для 5, 6, 7 и
8-го зубчатых колес находится по формуле:
.
.
Угол обхвата для большего шкива:
.
.
Угол обхвата для меньшего шкива:
> 120
.
Число зубьев в зацеплении с большим зубчатым колесом:
.

Число зубьев в зацеплении с меньшим зубчатым колесом:
.
Расчет зубчатого ремня
Найдем
скорость ремня
[5. C. 251].
По
табл. 2 [5. C. 246] при
= 28 мм и
= 1.466 м/с находим мощность, передаваемую
одним ремнем – W
и вычислим потребное число ремней по
формуле:
[5. C. 245] (27)
где:
K
=
1 при спокойной нагрузке;
К
=
– корректирующий коэффициент,
– коэффициент угла обхвата, при
,
=
0,97.
= 1,167;
= 1.
.
Значит достаточно одного ремня.
Рассчитаем общую мощность передачи W и полезную нагрузку Р:
[5. C. 245],
(28)
[5. C. 245],
(29)
W
= 0.15
кВ;
P
=
кН.
6. Расчет подшипников
В данном аппарате ИВЛ применяются радиальные однорядные шарикоподшипники.
Расчет шарикоподшипника из условия долговечности.
Выбор подшипников качения производят по приведенной нагрузке Р и расчетному ресурсу L в млн. оборотов по формуле:
С
=Р
[5. С. 152], (30)
где р=3 для шарикоподшипников.
Долговечность вычисляется по формуле:
L=
[5. C. 149], (31)
где
L
– долговечность, ч.;
–
частота
вращения подшипника
;
–
динамическая
грузоподъемность.
Приведенную динамическую нагрузку определяют по следующей зависимости для радиальных и радиально-упорных шарикоподшипников
[3. C.
268] (32)
где:
R – радиальная нагрузка (Н);
А – осевая нагрузка (Н);
-коэффициент
безопасности
,
т.к. нагрузка спокойная.
–
Температурный
коэффициент (при рабочей температуре
до 100°С
);
– коэффициент
вращения (при вращении внутреннего
кольца
);
X и Y – коэффициенты нагрузки, определяются по таблице.
Зададимся диаметром вала: d = 8 мм.
По ГОСТу 8338-75 выберем типоразмер подшипника, внутренний диаметр которого равен диаметру цапфы вала – подшипник 1000098:
Внешний
диаметр D = 19, количество
шариков z = 8. Диаметр шарика
D>w>>
>=3 мм, предельное количество оборотов
в минуту n>пр>=25000(об/мин).
Максимальная динамическая грузоподъемность
для данного подшипника С
=
900 Н.
Рассчитаем осевую нагрузку А.
Находим
по номограмме соответствующий момент
трения:
.
Зная момент трения и число шариков z,
по номограмме находим соответствующую
осевую нагрузку:
.
Рассчитаем радиальную нагрузку R по формуле:
M
=M
+1,5А+1,25fR
(33)
где:
f – коэффициент трения качения (f=0,02мм).
M
– Начальный момент трения ненагруженного
подшипника, М
0,04D
,
– диаметр
окружности центров шариков (D
(D+d)/2
( мм)),
D
=
=13.5
мм.
М
0,54
Н
Из формулы (30) выражая радиальную нагрузку R, получим:
.
Отношение осевой нагрузки к радиальной А/R=2,5/38,126=0,066<0,35 – следовательно радиальный тип подшипника выбран правильно.
Находим коэффициенты X и Y по таблице 44 [3. C. 268]:
Найдем значение отношения:

Исходя
из неравенства
определяем по таблице X
и Y. [3. C. 268]
0,066
0,19,
следовательно X = 1 и Y
= 0.
Вычислим значение приведенной нагрузки Р:
.
Зададимся
долговечностью работы L
=
10
часов.
Вычислим долговечность:
млн.
оборотов.
Найдем динамическую грузоподъемность:
Н.
Максимальная
динамическая грузоподъемность для
данного подшипника С
=
900 Н. Следовательно подшипник удовлетворяет
режиму работы.
7. Заключение
В ходе работы над курсовым проектом было дано описание технических характеристик прибора, достоинства и недостатки, расчет передач зубчатым ремнем, расчет подшипников, расчет дыхательного меха и кинематический расчет.
Графическая часть курсового проекта включает в себя сборочный чертеж прибора ИВЛ «Авенир-221», деталировку и схему кинематического привода.
8. Список литературы
1.Упругие элементы приборов. 2-е издание. Андреева С.М. – М.: Машиностроение, 1981.
2.Тищенко О.Ф. Элементы приборных устройств. Курсовое проектирование, ч. 1,2. – М.: Высшая школа, 1978.
3.Милосердин Ю.М. Расчет и конструирование механизмов, приборов и установок. – М.: Машиностроение, 1987г.
4Шик А.Н. Руководство по классической физиологии дыхания. Л.: Медицина, 1980 г.
5.Расчет на прочность деталей машин: Справочник/ И.А. Биргер, Б.Ф. Шорр, Г.Б. Иосилевич. – 3-е изд., перераб. и доп. – М.:Машиностроение, 1979. – 702 с.
6.Справочник конструктора точного машиностроения/ Г.А. Веркович, Е.Н. Головенкин, В.А. Голубков и др.; Под общ. ред. К.Н. Явленского, Б.П. Тимофеева, Е.Е. Чаадаевой. – Л.: Машиностроение. Ленингр. отд-ние, 1989. 792 с.
7.http://www.mks.ru/ «Медицинские компьютерные системы».
http://www.mks.ru/library/conf/biomedpribor/2000/plen08.html
«РЕАЛИЗАЦИЯ СОВРЕМЕННЫХ МЕДИЦИНСКИХ ТЕХНОЛОГИЙ В НОВОЙ НАРКОЗНО-ДЫХАТЕЛЬНОЙ АППАРАТУРЕ». Р.И. Бурлаков, А.А. Бунятян, Ю.С. Гальперин, Ю.Г. Стерлин, А.И. Трушин. ЗАО “ВНИИМП-ВИТА” (НИИ медицинского приборостроения) РАМН, РНЦХ РАМН, г. Москва.