Блок дифференциальных реле электровоза ВЛ80с
Блок дифференциальных реле электровоза ВЛ80
1. Назначение
Блок дифференциальных реле предназначен для защиты выпрямительных установок электровоза от коротких замыканий с помощью главного выключателя.
2. Технические данные
Технические данные блока дифференциальных реле:
Номинальное напряжение силовой цепи, В…………………………………………2500
Номинальный ток силовой цепи (эффективное значение однополупериодного выпрямления), А……………………………………………………………………………….1500
Параметры контактов в цепи переменного тока:
Напряжение, В…………………………………………………………………………380
Номинальный отключаемый ток (при cos φ ≥ 0.4), А…………………………5
Число размыкающих контактов (соединены параллельно)……………………2
Параметры контактов в цепи постоянного тока:
Напряжение, В…………………………………………………………………50
Номинальный отключаемый ток (при постоянной времени цепи 0.05с), А…5
Число размыкающих контактов (соединены последовательно и имеют один общий вывод)…………………………………………………………………………….2
Число замыкающих контактов (соединены последовательно)……………….2
Сопротивление удерживающей катушки, Ом………………………………. 3,6
Число витков катушки…………………………………………………………700
Диаметр провода ПЭТ-155 (ГОСТ 21428–75), мм………………………….. 0,8
Ток в цепи удерживающей катушки при включенном добавочном резисторе и напряжение 50 В, А………………………………………………………. 0,5–0,7
Время включения удерживающих катушек на напряжение 50 В без добавочных резисторов не более, с……………………………………………30
Ток установки (разность токов в силовых витках I¹-I²), А…………….500>-30>+50
Время срабатывания от момента достижения значения установки до начала касания размыкающих контактов при скорости нарастания общего силового тока 1,3×106 А/с не более, с………………………………………………. 0,01
3. Устройство
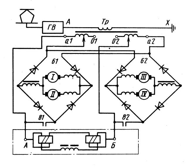
Блок дифференциальных реле (рис. 1–4) состоит из двух электромагнитных реле, собранных на панели 2 (см. рис. 1), общей для двух реле силовой шины 1 с двумя параллельными разветвлениями и индуктивным шунтом 14, надетым на одну из ветвей шины 1.
Реле состоит из шихтованного магнитопровода 9, катушки 11, якоря 12 и блокировки 13. Якорь вращается на оси 10. Одним концом якорь производит переключение блокировки, на другой конец действует отключающая пружина 7, натяжение которой регулируется гайкой 6. Зазор а между якорем и полюсом магнитопровода регулируется положением шпильки 4. Реле закрыто прозрачным кожухом 3, который крепится при помощи гайки 5 и шпильки 4.
Силовая шина с индуктивным шунтом при помощи клиц 15 и шпилек 16, 17 крепится к панели 18. Панель 18 с закрепленной на ней шиной 1 и индуктивным шунтом 14 крепится стойками 19 к верхней панели 2. В нижней панели 18 имеются четыре овальных отверстия, которые предназначены для крепления блока в электровозе. На верхней панели размещены добавочные резисторы 8 и выводы, осуществлен внутренний монтаж электрической цепи.
4. Принцип действия
В окна двух магнитных систем 1 (см. рис. 2) клапанного типа пропущены навстречу друг другу два силовых витка, являющихся разветвлениями шины 2, выводы А и Б которой подключаются в силовую цепь электровоза между равнопотенциальными точками двух выпрямительных установок (см. рис. 3). На одну из ветвей шины помещается шихтованный сердечник 3 (см. рис. 2). Обе ветви шины имеют незначительно отличающиеся друг от друга сопротивления, длина их и площадь сечения одинаковы.
Ветвь, в которую включен
индуктивный шунт, обладает большим
индуктивным сопротивлением. Общий ток
I>общ. >распределяется по ветвям
шины пропорционально их активным и
индуктивным сопротивлениям. Поэтому
при протекании общего тока I>общ>,
меняющегося во времени, будет иметь
место небаланс >
>I=
I>1> – I>2>, который зависит от
скорости изменения тока и соотношения
индуктивностей в ветвях шины.
Силовые ветви шины пропущены
в окна магнитной системы таким образом,
что магнитодвижущая сила от тока
небаланса >
>I в
одном реле действует в одну сторону, в
другом реле – в противоположную.
Магнитодвижущая сила от
удерживающей катушки 5 действует на
участке якоря 6 при обозначенном
направлении протекания силового тока
через катушку у реле I встречно с
магнитодвижущей силой от тока небаланса
>
>I,
а через катушку реле II – согласно.
Поэтому при аварии в правой выпрямительной
установке со стороны вывода А (к. з.
цепи якоря тягового двигателя) резко
возрастает ток в направлении от вывода
А к выводу Б и вследствие
перераспределения тока по ветвям шины
увеличивается небаланс >
>I.
Это вызывает срабатывание реле I, которое
своими размыкающими контактами замкнет
цепь отключающей катушки главного
выключателя, В этом случае реле II не
срабатывает, так как на участке якоря
магнитодвижущая сила от небаланса
действует согласно с магнитодвижущей
силой, удерживающей катушки.
При аварии в выпрямительной установке со стороны вывода Б ток I>общ>
потечет в направлении от вывода Б к выводу А что вызывает срабатывание реле II (реле I не срабатывает). Обе катушки реле включены на напряжение 50 В последовательно, но с добавочными резисторами R>д>.
Одинаковое активное сопротивление ветвей шины 2 необходимо для уменьшения тока естественного небаланса между ветвями, от которого было бы необходимо отстраиваться, увеличивая установку реле.
Реле включается (замыкается якорь) при подаче напряжения 50 В на последовательно соединённые удерживающие катушки, минуя добавочные резисторы R>д>, ограничивающие ток. При этом уменьшение тока должно быть достаточно для удержания якоря в притянутом положении. Для регулировки тока в цепи катушек сопротивление добавочного резистора может регулироваться.
5. Текущий ремонт БРД-356
ТР-1.
Проверить состояние реле и шин, счистить от пыли рабочие поверхности магнитопроводов. При появлении на полюсах магнитопроводов ржавчины очистить её мелкозернистой наждачной бумагой. Проверить состояние контактов реле.
ТР-2.
Выполнить ревизию блока. Зачистить поверхности прилегания якоря к полюсу магнитопровода и нижнего пакета к магнитопроводу. Проверить состояние катушек и шин. Места нарушения изоляции катушек залить эпоксидной смолой холодного отверждения. При нарушении покрытия шины восстановить его красной эмалью ГФ-92ХС. Места нарушения покрытия магнитопровода покрыть чёрным лаком.
Проверить чёткость включения реле. Проверить блок. Перечень проверяемых параметров приведён в табл. 1.
Проконтролировать отрывное усилие якорей по центрам сердечников. Замер производить динамометром, усилие которого приложить к якорю по центру сердечников.
Отрегулировать аппарат следующим образом:
Подайте на выводы 1 (плюс) и Ж (см. рис. 4) напряжение 50 В постоянного тока. Изменяя сопротивление добавочного резистора передвижением движка, установить ток в катушках 0,7 А, после чего затянуть винт движка резистора.
Пропустить через верхние части окон магнипроводов обоих реле провод в направлении, согласном с витков силовой шины, не содержащим шихтованный пакет. Отрегулировать, кратковременно пропуская через провод постоянный ток, изменением усилия пружины 4 ток срабатывания обоих реле 500А. При этом при протекании тока слева направо должно срабатывать первое реле и наоборот (см. рис. 2). После регулировки реле опломбировать.
6. Неисправности и методы их устранения
|
Неисправность |
Вероятная причина |
Метод устранения |
|
Аппарат не включается |
Обрыв в цепи |
Устраните обрыв |
|
Неисправность катушки |
Замените катушку |
|
|
Наличие большого зазора между якорем и полюсом |
Отрегулируйте зазор согласно техническим требованиям |
|
|
При форсировке аппарат включается, но не удерживается во включенном положении. |
Обрыв в цепи резистора |
Устраните обрыв |
|
Неисправность резистора |
Замените резистор |
|
|
Ток уставки уменьшился |
Межвитковое замыкание в катушке |
Замените катушку |
|
Нарушение зазоров между якорем и полюсом |
Восстановите зазоры припиловкой в соответствии с техническими требованиями |
|
|
Не переключается блокировка |
Нарушена регулировка блокировки |
Отрегулируйте блокировку |
|
Наличие малого зазора между якорем и полюсом |
Отрегулируйте зазор |
7. Охрана труда
1. Все виды производства ремонтных работ; выявление и устранение неисправностей, должны производиться только работниками, получившими после соответствующего испытания право на выполнение этих работ.
2. Испытания и выдача удостоверений на право производства данных работ должны производиться специальной комиссией.
3. Данные работы должны производиться в специально оборудованных помещениях (цехах) заводов, локомотивных ДЕПО и т.д.
4. Запрещается:
производить данные работы не в специально оборудованных помещениях;
производить данные работы лицам, не имеющим доступа, специального образования и разрешения для производства данных работ.
5. При составлении любой аварийной схемы или при устранении какой-либо неисправности строго выполнять требование инструкции по технике личной безопасности.
Список литературы
Н.М. Васько, А.С. Девятков, А.Ф. Кучеров и др. «Электровоз ВЛ80С» Москва «Транспорт» 1990 г.
Дополнительные справочные материалы
0100090000030202000002008a01000000008a01000026060f000a03574d464301000000000001007ee10000000001000000e802000000000000e8020000010000006c000000000000000d0f00002c0000000f0f00000000000000000000c41a0000c43f000020454d4600000100e80200000e000000020000000000000000000000000000007f120000771a0000c80000001f010000000000000000000000000000000f030058600400160000000c000000180000000a0000001000000000000000000000000900000010000000550600000e0f0000250000000c0000000e000080120000000c000000010000005200000070010000010000009cffffff00000000000000000000000090010000000000cc04400012540069006d006500730020004e0065007700200052006f006d0061006e00000000000000000000000000000000000000000000000000000000000000000000000000000000000000000000000000000000000000000000000000000000000000000000000000000000000000000000000000000000000000000000000000000000000000000000000000000000000000000000000000000000000000000000000000000000000000000000000000000000000000122d093000000000040000000000ae304f2d09300000000047169001cc0002020603050405020304877a0020000000800800000000000000ff01000000000000540069006d00650073002000000065007700200052006f006d0061006e00000000000000c62b093050cbae30f83214000100000000000000044811006ab40230044811004c4eaf301c4811006476000800000000250000000c00000001000000180000000c000000000000025400000054000000000000000d0f00002c0000000f0f000001000000e7298740a48e874000000000670f0000010000004c00000004000000000000000000000053060000100f000050000000200000002d00000046000000280000001c0000004744494302000000ffffffffffffffff560600000e0f0000000000004600000014000000080000004744494303000000250000000c0000000e0000800e000000140000000000000010000000140000000400000003010800050000000b0200000000050000000c020a02db00040000002e0118001c000000fb020200010000000000bc02000000cc0102022253797374656d0000000000000000000000000000000000000000000000000000040000002d01000004000000020101001c000000fb02f2ff0000000000009001000000cc0440001254696d6573204e657720526f6d616e0000000000000000000000000000000000040000002d010100050000000902000000020d000000320a170200000100040000000000db000b0220990600040000002d010000030000000000
Рис. 1. Блок дифференциальных реле БРД-356
0100090000030202000002008a01000000008a01000026060f000a03574d464301000000000001007ee10000000001000000e802000000000000e8020000010000006c000000000000000d0f00002c0000000f0f00000000000000000000c41a0000c43f000020454d4600000100e80200000e000000020000000000000000000000000000007f120000771a0000c80000001f010000000000000000000000000000000f030058600400160000000c000000180000000a0000001000000000000000000000000900000010000000550600000e0f0000250000000c0000000e000080120000000c000000010000005200000070010000010000009cffffff00000000000000000000000090010000000000cc04400012540069006d006500730020004e0065007700200052006f006d0061006e00000000000000000000000000000000000000000000000000000000000000000000000000000000000000000000000000000000000000000000000000000000000000000000000000000000000000000000000000000000000000000000000000000000000000000000000000000000000000000000000000000000000000000000000000000000000000000000000000000000000000122d093000000000040000000000ae304f2d09300000000047169001cc0002020603050405020304877a0020000000800800000000000000ff01000000000000540069006d00650073002000000065007700200052006f006d0061006e00000000000000c62b093050cbae30f83214000100000000000000044811006ab40230044811004c4eaf301c4811006476000800000000250000000c00000001000000180000000c000000000000025400000054000000000000000d0f00002c0000000f0f000001000000e7298740a48e874000000000670f0000010000004c00000004000000000000000000000053060000100f000050000000200000002d00000046000000280000001c0000004744494302000000ffffffffffffffff560600000e0f0000000000004600000014000000080000004744494303000000250000000c0000000e0000800e000000140000000000000010000000140000000400000003010800050000000b0200000000050000000c020a02db00040000002e0118001c000000fb020200010000000000bc02000000cc0102022253797374656d0000000000000000000000000000000000000000000000000000040000002d01000004000000020101001c000000fb02f2ff0000000000009001000000cc0440001254696d6573204e657720526f6d616e0000000000000000000000000000000000040000002d010100050000000902000000020d000000320a170200000100040000000000db000b0220990600040000002d010000030000000000
Рис. 2. Схема БРД-356
1 – магнитная система; 2 – шина; 3 – шихтованный сердечник; 4 – пружина; 5 – катушка; 6 – якорь.

Рис. 3. Схема включения БРД-356
0100090000030202000002008a01000000008a01000026060f000a03574d464301000000000001007ee10000000001000000e802000000000000e8020000010000006c000000000000000d0f00002c0000000f0f00000000000000000000c41a0000c43f000020454d4600000100e80200000e000000020000000000000000000000000000007f120000771a0000c80000001f010000000000000000000000000000000f030058600400160000000c000000180000000a0000001000000000000000000000000900000010000000550600000e0f0000250000000c0000000e000080120000000c000000010000005200000070010000010000009cffffff00000000000000000000000090010000000000cc04400012540069006d006500730020004e0065007700200052006f006d0061006e00000000000000000000000000000000000000000000000000000000000000000000000000000000000000000000000000000000000000000000000000000000000000000000000000000000000000000000000000000000000000000000000000000000000000000000000000000000000000000000000000000000000000000000000000000000000000000000000000000000000000122d093000000000040000000000ae304f2d09300000000047169001cc0002020603050405020304877a0020000000800800000000000000ff01000000000000540069006d00650073002000000065007700200052006f006d0061006e00000000000000c62b093050cbae30f83214000100000000000000044811006ab40230044811004c4eaf301c4811006476000800000000250000000c00000001000000180000000c000000000000025400000054000000000000000d0f00002c0000000f0f000001000000e7298740a48e874000000000670f0000010000004c00000004000000000000000000000053060000100f000050000000200000002d00000046000000280000001c0000004744494302000000ffffffffffffffff560600000e0f0000000000004600000014000000080000004744494303000000250000000c0000000e0000800e000000140000000000000010000000140000000400000003010800050000000b0200000000050000000c020a02db00040000002e0118001c000000fb020200010000000000bc02000000cc0102022253797374656d0000000000000000000000000000000000000000000000000000040000002d01000004000000020101001c000000fb02f2ff0000000000009001000000cc0440001254696d6573204e657720526f6d616e0000000000000000000000000000000000040000002d010100050000000902000000020d000000320a170200000100040000000000db000b0220990600040000002d010000030000000000
Рис. 4. Схема низковольтной цепи БРД-356
Таблица 1
|
Параметр |
Инструмент, прибор, оборудование для проверки |
Значение параметра |
|
Раствор контактов, мм |
Штангенциркуль |
4 |
|
Провал контактов, мм |
Штангенциркуль |
2 |
|
Зазор, мм: |
||
|
между отключенным якорем и серединой полюса магнитопровода |
Штангенциркуль или щуп(шаблон) |
4±0,5 |
|
между якорем и основным магнитопроводом в месте шарнира |
Штангенциркуль или щуп(шаблон) |
0,02–0,06 |
|
в местах прилегания пакета к нижним торцам магнитопроводов не более |
Штангенциркуль или щуп(шаблон) |
0,05 |
|
Площадь прилегания якоря к сердечнику магнитопровода (по отпечатку на бумаге) не менее, % |
______________ |
65 |
|
Запас тягового усилия при притянутых якорях по центрам сердечников при снижении напряжения до 35В на двух соед. последовательно катушках и добавочном резисторе не менее, Н (кгс) |
Динамометр |
5 (0,5) |
|
Отрывное усилие якоря по центру сердечников, Н (кгс) |
Динамометр |
80–100 (8–10) |
|
Наименьший ток в катушках, при котором обеспечивается включение обоих реле не более, А |
Амперметр |
4,2 |
|
Ток установки, А |
Амперметр |
550 (+50 -30) |
|
Электрическая прочность изоляции, В: |
||
|
между силовой шиной и выводом Ж, магнитопроводами 9 (см. рис. 1) |
Испытательный трансформатор |
9000 |
|
Между выводами А и Б и остальными выводами низковольтной цепи. |
Испытательный трансформатор |
2250 |