Виды передач и их основные характеристики
МИНИСТЕРСТВО ОБРАЗОВАНИЯ И НАУКИ РЕСПУБЛИКИ КАЗАХСТАН
Северо-Казахстанский государственный университет
им. М. Козыбаева
Факультет Энергетики и Машиностроения
Кафедра Машиностроения
РЕФЕРАТ
Тема: «Виды передач и их основные характеристики»
Качулин Сергей Николаевич
Специальность 5В071200 –
Машиностроение
Петропавловск, 2010
Содержание
Виды движений, их основные характеристики и передаточные механизмы
Фрикционная передача
Зубчатая передача
Ременная передача
Кривошипно-шатунные механизмы
Кулисные механизмы
Храповые механизмы
Кулачковые механизмы
Шарнирно-рычажные механизмы
Цепная передача
Червячная передача
Литература
Виды движений, их основные характеристики и передаточные механизмы
Вращательное движение
Вращательное движение в машинах передается при помощи фрикционной, зубчатой, ременной, цепной и червячной передач. Будем условно называть пару, осуществляющую вращательное движение, колесами. Колесо, от которого передается вращение, принято называть ведущим, а колесо, получающее движение, — ведомым.
Всякое вращательное движение измеряется в числах оборотов в минуту. Зная число оборотов в минуту ведущего колеса, мы можем определить число оборотов ведомого колеса. Число оборотов ведомого колеса зависит от соотношения диаметров соединенных колес. Если диаметры обоих колес будут одинаковы, то и колеса будут крутиться с одинаковой скоростью. Если диаметр ведомого колеса будет больше ведущего, то ведомое колесо станет крутиться медленнее, и наоборот, если его диаметр будет меньше, оно будет делать больше оборотов. Многие, наверное, замечали, что маленькая звездочка у цепной велосипедной передачи крутится быстрее, чем большая, а большая шестерня, с барабаном для каната у лебедки, делает оборотов меньше, чем ее ведущая меньшая пара.
Известны простые правила: 1) число оборотов ведомого колеса во столько раз меньше числа оборотов ведущего, во сколько раз его диаметр больше диаметра ведущего колеса; 2) число оборотов ведомого колеса во столько раз больше числа оборотов ведущего, во сколько раз его диаметр меньше диаметра ведущего колеса.
В технике при конструировании машин часто приходится определять диаметры колес и число их оборотов. Эти расчеты можно делать на основе простых арифметических пропорций. Например, если мы условно обозначим диаметр ведущего колеса через Д-t, диаметр ведомого через Д2, число оборотов ведущего колеса через Пх, число оборотов ведомого колеса через щ, то все эти величины выражаются простым соотношением. В практике работы технических кружков часто приходится употреблять выражения: «передаточное число» и «передаточное отношение».
Что же означают эти названия?
Передаточным числом называют отношение числа оборотов ведущего колеса (вала) к числу оборотов ведомого, а передаточным отношением — отношение между числами оборотов колес независимо от того, какое из них ведущее. Рассмотрим некоторые виды вращательного движения, которые нашли широкое применение в моделях юных техников.
Фрикционная передача

Рисунок 1 – Виды фрикционных передач I - цилиндрическая с прямым ободом; II - цилиндрическая с клинчатым ободом; III - коническая; IV - лобовая; V - с передвижным цилиндрическим колесом
При фрикционной передаче (Рисунок 1) вращение от одного колеса к другому передается при помощи силы трения. Оба колеса прижимаются друг к другу с некоторой силой и вследствие возникающего между ними трения вращают одно другое. Фрикционные передачи широко применяются в машинах. Недостаток фрикционной передачи: большая сила, давящая на колеса, вызывающая дополнительное трение в машине, а, следовательно, требующая и дополнительную силу для вращения. Кроме того, колеса при вращении, как бы они ни были прижаты друг к другу, дают проскальзывание. Поэтому там, где требуется точное соотношение чисел оборотов колес, фрикционная передача себя не оправдывает.
Зубчатая передача

Рисунок 2 – Цилиндрические шестерни
В зубчатых передачах (Рисунок 2) вращение от одного колеса к другому передается при помощи зубцов. Зубчатые колеса работают намного легче фрикционных. Объясняется это тем, что здесь нажима колеса на колесо совсем не требуется. Для правильного зацепления и легкой работы колес профиль зубца делают по определенной кривой, называемой эвольвентой. Диаметр начальной окружности является основным расчетным диаметром зубчатых колес. Расстояние, взятое по начальной окружности между осями соседних зубцов, между осями впадин или от начала одного зубца до начала другого, называется шагом зацепления. Разумеется, что шаги у зацепляющихся шестерен должны быть равны. Передаточное число в зубчатых колесах может выражаться и через число зубцов, тесть j = |2-> где г2—число зубцов ведомого колеса, Zx — число зубцов ведущего колеса. Есть в шестернях еще одна очень важная величина, которую именуют модулем. Модулем называют отношение шага к величине Пи (3,14) или отношение диаметра начальной окружности к числу зубцов на колесе. Модуль, шаг и другие величины шестерен измеряются в миллиметрах. Колеса с одинаковым модулем, с любым количеством зубцов дают нормальное зацепление. Модули зубчатых колес берутся не произвольно. Величины их стандартизированы. Передаточное число шестеренчатой передачи берется обычно в определенных пределах. Оно колеблется до 1: 10. При увеличении передаточного числа одна из шестерен делается очень большой, механизм получается громоздким. Но иногда бывает нужно получить очень большое передаточное число, которое одной парой шестерен создать трудно. В этом случае ставится несколько пар, и передаточное число распределяется между ними. Механизм, служащий для повышения или понижения скорости вращения, называется редуктором (Рисунок 2.1). Редукторы с большим передаточным числом обычно служат для снижения числа оборотов. Если такой редуктор использовать для увеличения числа оборотов, то получаются большие сопротивления и редуктор очень трудно вращать. Для изменения направления вращения ведомой шестерни ставят третью, паразитную шестерню. Какой бы величины промежуточная (паразитная) шестерня ни была, сколько бы зубцов она ни имела, передаточное число между ведущей и ведомой шестерней не меняется. Иногда в передачах малую шестерню требуется сделать особенно уменьшенной, например, в часах, в приборах. В этих случаях шестерню с валом делают из одного куска. Такую цельную шестерню принято называть трибком (трибок). За последнее время очень часто в машинах применяют цилиндрические шестерни (Рисунок 2), у которых зубец идет не по оси вращения, а под некоторым углом. Такие шестерни работают на больших скоростях очень плавно, и зубцы их выносят большую нагрузку. Колеса с косыми зубцами носят название косозубых цилиндрических колес. Еще более плавный ход при большой прочности зубцов дают так называемые шевронные колеса. Зубцы у этих колес скошены в обе стороны, расположены «в елочку». Преимущество шевронных колес состоит в том, что их можно применять с малым числом зубцов. Шестеренчатая передача применяется не только с параллельными валами, когда используются так называемые цилиндрические шестерни, но и тогда, когда валы идут под любым углом. Такая передача под углом называется конической зубчатой передачей, а шестерни — коническими. Если в цилиндрических зубчатых передачах мы могли сцепить колеса любых размеров (только с одинаковым модулем), то в конических шестернях этого сделать нельзя, так как в этом случае может не совпасть конусность шестерен.
Конические шестерни, так же как и цилиндрические, бывают со спиральным косым зубцом. Такие шестерни обычно применяются в автомобилях (для плавности работы). В зубчатых передачах можно применить шестерни с рейкой. Для периодического вращения может применяться шестеренчатая пара, у которой ведущая шестерня имеет неполное число зубцов. Ведущие шестерни встречаются и с одним зубцом. Такие передачи очень часто применяются в счетных механизмах. Ведущая шестерня имеет один зубец, а ведомая — десять, и, таким образом, за один оборот ведущей шестерни ведомая повернется всего на одну десятую оборота. Чтобы повернуть ведомую шестерню на один оборот, ведущая должна сделать десять оборотов. К разобранному типу передач можно отнести и так называемое мальтийское зацепление, или мальтийский крест. Механизм мальтийского креста применяется в автоматах, текстильных машинах и в киноаппаратах, где он служит для периодической подачи ленты.

Рисунок 2.1 – Редуктор заднего моста автомобиля ВАЗ 21213
1 – ведущая шестерня; 2 – ведомая шестерня; 3 – сателлит; 4 – шестерня полуоси; 5 – ось сателлитов; 6 – коробка дифференциала; 7 – болты крепления крышки подшипника коробки дифференциала; 8 – крышка подшипника коробки дифференциала; 9 – стопорная пластина; 10 – регулировочная гайка подшипника; 11 – картер редуктора
Ременная передача
Ременная передача (Рисунок 3), как и шестеренчатая, весьма часто встречается в машинах. Она применяется там, где валы удалены друг от друга на большое расстояние и шестеренчатую передачу, применить нельзя. Ремень, натянутый на шкивы, охватывает какую-то их часть. Эта облегающая часть (дуга) носит название угла обхвата. Чем больше будет угол обхвата, тем лучше образуется сцепление, лучше и надежнее будет вращение шкивов. При малом угле обхвата может получиться так, что ремень на малом шкиве станет проскальзывать, вращение будет передаваться плохо или совсем не будет.

Рисунок 3 – Ременная передача
Угол обхвата зависит от соотношения размеров шкивов и их расстояния друг от друга. Когда требуется увеличить угол обхвата, у передачи ставят нажимной шкив-ролик. В зависимости от расположения валов и ремня ременная передача бывает разных видов. Открытая передача. Оба шкива при такой передаче вращаются в одну сторону. Перекрестная передача. Такую передачу применяют, когда требуется изменить вращение ведомого шкива. Шкивы вращаются навстречу друг другу. Полу перекрёстная передача применяется, когда валы лежат не параллельно, а под углом. Угловая передача образуется, когда валы идут под углом, но лежат как бы в одной плоскости. При этой передаче для получения надлежащего направления ремня обязательно устанавливают ролики. Спаренная передача. При этой передаче с одного ведущего шкива могут идти ремни на несколько ведомых шкивов. Кроме перечисленных передач, бывает еще и ступенчатая передача. Она применяется тогда, когда требуется изменять число оборотов ведомого вала. Оба шкива в этой передаче делаются ступенчатыми. Переставляя ремень на ту или иную пару ступеней, меняют число оборотов ведомого вала. При этом длина ремня остается неизменной. По своему профилю ремни бывают плоские, круглые и трапецеидальные. В мелких машинах и разного рода приборах вместо круглого шнурового ремня употребляется ремень, сделанный из тонкой проволоки в виде пружины. Такое устройство ремня облегчает работу шкивов. Толщина проволоки — 0,2 — 0,3 мм, а диаметр ремня (пружины) — 4—6 мм. На концах пружины отгибаются крючки, которыми она сцепляется. Передаточное число ременных передач берется в пределах 1:4; 1:5 и только в исключительном случае — до 1:8. Расчет ременной передачи производится по формулам 1 и 2. При расчете учитывается скольжение ремня по шкивам. Это проскальзывание выражается в пределах 2—3%. Чтобы получить нужные обороты, диаметр ведомого шкива уменьшают в этих же пределах. Ременные передачи успешно применяют в моделях. Особенно хорошо применять легкие передачи с пружинным и шнуровым круглым ремнем. Кроме шнура и бечевки, ремнем может служить и резиновая тесьма. Плоские ремни должны быть тонкими и мягкими. Шкивы следует вытачивать из дерева или легких металлов.
Кривошипно-шатунные механизмы
Кривошипно-шатунные механизмы (Рисунок 4) служат для преобразования вращательного движения в возвратно-поступательное и наоборот. Основными деталями кривошипно-шатунного механизма являются: кривошипный вал, шатун и ползун, связанные между собой шарнирно. Длину хода ползуна можно получить любую, зависит она от длины кривошипа (радиуса). В кривошипно-шатунном механизме вместо кривошипного вала часто применяют коленчатый вал.

Рисунок 4 – Кривошипно-шатунный механизм
От этого сущность действия механизма не меняется. Коленчатый вал может быть как с одним коленом, так и с несколькими. Видоизменением кривошипно-шатунного механизма может быть также эксцентриковый механизм. У эксцентрикового механизма нет ни кривошипа, ни колен. Вместо них на вал насажен диск. Насажен же он не по центру, а смещено, то есть эксцентрично, отсюда и название этого механизма — эксцентриковый. В некоторых кривошипно-шатунных механизмах приходится менять длину хода ползуна. У кривошипного вала это делается обычно так. Вместо цельного выгнутого кривошипа на конец вала насаживается диск (планшайба). Шип (поводок, на что надевается шатун) вставляется в прорез, сделанный по радиусу планшайбы. Перемещая шип по прорезу, то есть, удаляя его от центра или приближая к нему, мы меняем размер хода ползуна. Ход ползуна в кривошипно-шатунных механизмах совершается неравномерно. В местах «мертвого хода» он самый медленный. Кривошипно-шатунные механизмы применяются в двигателях, прессах, насосах, во многих сельскохозяйственных и других машинах. Кривошипно-шатунные механизмы применяются и в моделях. Один из таких механизмов с коленчатым валом применен у моделей жатки-самосброски, сенокосилки. Он приводит в возвратно-поступательное движение ножи. Эксцентриковый механизм для моделей сделать нетрудно. Детали для механизма могут быть сделаны как из дерева, так и из жести, проволоки и т. п. Можно сделать механизм и Q переменным эксцентриком.
Кулисные механизмы

Рисунок 5 – Кулисный механизм
Возвратно-поступательное движение в кривошипных механизмах можно передавать и без шатуна. В ползушке, которая в данном случае называется кулисой, делается прорез поперек движения кулисы. В этот прорез вставляется палец кривошипа. При вращении вала кривошип, двигаясь влево и вправо, водит за собой и кулису. Устройство кулисного механизма с эксцентриком показано на Рисунке 5. Вместо кулисы можно применить стержень, заключенный в направляющую втулку. Для прилегания к диску эксцентрика стержень снабжается нажимной пружиной. Если стержень работает вертикально, его прилегание иногда осуществляется собственным весом. Для лучшего движения по диску на конце стержня устанавливается ролик. Иногда в машинах возвратно-поступательное движение передается с переменными ходами, тесть в одну сторону ползун движется с одной скоростью, а в обратную — с другой. Такой механизм применен в поперечно-строгальном станке.
Храповые механизмы

Рисунок 6 – Храповой механизм
Кроме непрерывного вращательного движения, в машинах очень часто применяется прерывистое вращательное движение. Такое движение осуществляется при помощи так называемого храпового механизма (Рисунок 6). Основными частями храпового механизма являются: храповик (диск с зубцами), рычаг и собачка. Зубцы храповика имеют особую форму. Одна сторона у них сделана пологой, а другая отвесной или несколько подвнутренной. Храповик насажен на вал неподвижно. Рычаг же, сидящий рядом с храповиком, может свободно качаться. На рычаге имеется собачка, которая одним концом лежит на храповике. С помощью шатуна или тяги от того или иного ведущего механизма рычаг приходит в карательное движение, При отклонении рычага влево собачка скользит свободно по пологому склону зубцов, не поворачивая храповик. При отходе вправо собачка упирается в уступ зубца и поворачивает храповик на некоторый угол. Так, непрерывно качаясь в ту и другую сторону, рычаг с собачкой приводит храповик с валом в периодическое вращательное движение. Для надежного прилегания собачки к храповику собачка снабжается нажимной пружиной. Но бывает и другое назначение храпового механизма: для предохранения вала с храповиком от проворачивания. Так, у лебедки при подъеме груза храповик с собачкой не дают барабану провертываться обратно. Иногда нужно получить вращение храповика не только в одну сторону, но и в другую. В этом случае зубцы у храповика делают прямоугольными, а собачку — перекидной. Перекинув собачку вправо или влево, можно изменить и вращение храповика. Число зубцов на храповике зависит от требуемого угла поворота. На какую часть окружности поворачивается храповик, столько делают и зубцов. Например, если на 60° — одну шестую долю окружности, то берут 6 зубцов; на 30° — одну двенадцатую долю — делают 12 зубцов и т. д. Меньше шести зубцов на храповике обычно не бывает.
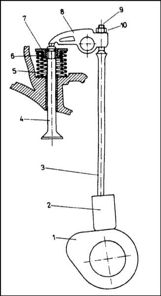
Кулачковые механизмы
Кулачковые механизмы (Рисунок 7) служат для преобразования вращательного движения (кулачка) в возвратно-поступательное или другой, заданный вид движения.

Рисунок 7 - Кулачковый механизм
1 — Кулачок распределительного вала; 2 — Толкатель; 3 — Штанга толкателя; 4 — Клапан; 5 — Внешняя пружина; 6 — Внутренняя пружина; 7 — Тарелка; 8 — Коромысло привода клапана; 9 — Регулировочный винт; 10 — Контргайка
Механизм состоит из кулачка — криволинейного диска, насаженного на вал, и стержня, который одним концом опирается на криволинейную поверхность диска. Стержень вставлен в направляющую втулку. Для лучшего прилегания к кулачку стержень снабжается нажимной пружиной. Чтобы стержень легко скользил по кулачку, на его конце устанавливается ролик. Но бывают дисковые кулачки другой конструкции. Тогда ролик скользит не по контуру диска, а по криволинейному пазу, вынутому сбоку диска. В этом случае нажимной пружины не требуется. Движение ролика со стержнем в сторону осуществляется самим пазом. Кроме рассмотренных нами плоских кулачков, можно встретить кулачки барабанного типа. Такие кулачки представляют собой цилиндр с криволинейным пазом по окружности. В пазу установлен ролик со стержнем. Кулачок, вращаясь, водит криволинейным пазом ролик и этим сообщает стержню нужное движение. Цилиндрические кулачки бывают не только с пазом, но и односторонние — с торцовым профилем. В этом случае нажим ролика к профилю кулачка производится пружиной. В кулачковых механизмах вместо стержня очень часто применяются качающиеся рычаги. Такие рычаги позволяют менять длину хода и его направление. Длину хода стержня или рычага кулачкового механизма можно легко рассчитать. Она будет равна разнице между малым радиусом кулачка и большим. Например, если большой радиус равен 30 мм, а малый 15, то ход будет 30—15 = = 15 мм. В механизме с цилиндрическим кулачком длина хода равняется величине смещения паза вдоль оси цилиндра. Благодаря тому, что кулачковые механизмы дают возможность получить разнообразнейшие движения, их часто применяют во многих машинах. У двигателей внутреннего сгорания кулачковый механизм приводит в действие систему зажигания. Равномерное возвратно-поступательное движение в машинах достигается одним из характерных кулачков, который носит название сердцевидного. При помощи такого кулачка происходит равномерная намотка челночной катушки у швейной машины. Для моделей кулачковые механизмы сделать нетрудно. Плоские кулачки легко выпилить из дерева или из толстого алюминия, латуни, меди. Ролики хорошо выточить на токарном станке. Плоский кулачок с боковым пазом можно сделать так, как показано на рисунке 18,5. Цилиндрические (пространственные) кулачки для облегчения изготовления паза лучше делать составными. На торцах двух отдельных цилиндров вырезают требуемый профиль. После этого цилиндры надеваются на вал и между их профильными торцами, образуется нужный паз. Упрощенный тип открытого цилиндрического кулачка, может быть получен от косой посадки диска на ось
Шарнирно-рычажные механизмы
Часто в машинах требуется изменить направление движения какой-либо части.

Рисунок 8 – Виды шарнирно-рычажных механизмов
Допустим, движение происходит горизонтально, а его надо направить вертикально, вправо, влево или под каким-либо углом. Кроме того, иногда длину хода рабочего рычага нужно увеличить или уменьшить. Во всех этих случаях применяют шарнирно-рычажные механизмы (Рисунок 8). Рычажный механизм получает качательное движение от кривошипно-шатунного и передает его ползуну. Длину хода при шарнирно-рычажном механизме можно увеличить за счет изменения длины плеча рычага. Чем длиннее плечо, тем больше будет его размах, а, следовательно, и подача связанной с ним части, и наоборот, чем меньше плечо, тем короче ход. На рисунке показаны детали шарнирно-рычажных механизмов, которые могут быть применены в моделях. Шарнирно-рычажные механизмы имеются в моделях жатки-самосброски и сенокосилки. У жатки-самосброски через угловой рычаг передается движение ножу. У сенокосилки, кроме передачи к ножам, при помощи этих механизмов происходит подъем пальцевых брусьев.
Цепная передача

Рисунок 9 – Цепная передача
Цепи в основном делятся на два вида — кольцевые и пластинчатые. Обыкновенные кольцевые цепи обычно применяются для поднятия грузов, а пластинчатые как для поднятия грузов, так и для передачи вращения. Пример цепной передачи можно видеть у велосипеда. Цепная передача по сравнению с ременной удобна тем, что не дает проскальзывания и позволяет соблюдать правильность передаточного числа. Цепная передача осуществляется только при параллельных валах. Основной величиной цепной передачи является шаг. Шагом считается расстояние между осями роликов у цепи или расстояние между зубцами звездочки. Кроме роликовых цепей, в машинах широко применяются еще зубчатые, так называемые бесшумные цепи. Каждое звено их соединено из нескольких зубчатых пластин в ряд. Ширина этой цепи намного больше, чем роликовая. Звездочка такой передачи похожа на шестерню. Чтобы цепь не соскакивала с колеса, необходимо сделать на ней направляющие пластины. Зубчатые цепи могут работать на больших скоростях. Ими часто осуществляют передачу от мотора. Допустимое передаточное число цепных передач может быть до 1: 15. Самое малое число зубцов у звездочек берут: у роликовых цепей — 9, а у зубчатых — 13—15. Расстояние между осями звездочек принимают не менее полуторного диаметра большой звездочки. Как и в ременных передачах, так и здесь от одной ведущей звездочки одной цепью можно вращать несколько ведомых. Цепь надевается на звездочки не туго, как ремни, а с некоторым провисанием. Для регулирования натяжения часто применяют натяжной ролик. Число оборотов ведомой звездочки зависит от соотношения зубцов на обеих звездочках. Цепная передача в моделях.
Червячная передача
Червячная передача (Рисунок 10)служит для получения вращения между валами, пересекающимися в одной плоскости. Передача состоит из винта (червяка) и винтового колеса, которые находятся в зацеплении. При вращении червяка витки ведут зубцы колеса и заставляют его вращаться. Обычно вращение от червяка передается колесу.
Обратная передача почти не встречается из-за самоторможения. Червячная передача применяется чаще всего при больших передаточных числах в пределах от 5 до 300. Благодаря большому передаточному числу червячная передача широко применяется в качестве механизма для снижения числа оборотов — редуктора. Обычно червяк соединяется при помощи муфты с электромотором, а вал червячного колеса соединяется с машинами (станком, лебедкой, транспортером и пр.), которым он и передает необходимое вращение.
Конструктивно червячный редуктор оформляют в самостоятельный механизм, помещенный в закрытый корпус. Для легкого вращения и предохранения трущихся частей от нагрева внутрь корпуса заливается масло. Передаточное число червячной передачи, зависит от числа заходов червяка и количества зубцов на колесе.

Рисунок 10 – Червячная передача
Литература
1. Глубина и угол - как задумано // Мастер на все руки. - 2001. - №3. - с.29.
2. Двоенцов Д. Циркулярка из дрели // Моделист - Конструктор. - 2003. - №10. - с.12-14.
3. Денбский В. Простой токарный // Моделист - Конструктор. - 1985. - №2. - с.22.
4. Дрель-кругорез // Мастер на все руки. - 2001. - №3. - с.28.
5. Дрель: пилит и шлифует // Мастер на все руки. - 2002. - №4. - с.16-17.
6. Дрель со сдувом // Мастер на все руки. - 2001. - №3. - с. 24.
7. Евдокимов В.Д., Полевой С.Н. Знакомьтесь - инструменты. М.: Машиностроение, 1981.
8. Лобзик, но большой // Моделист - Конструктор. - 1999. - №2. - с.14-15.
1