Вимірювання температури
ВИМІРЮВАННЯ ТЕМПЕРАТУРИ
В енергетичних установках і системах теплотехнічні вимірювання служать для безперервного виробничого контролю за роботою устаткування. При проведенні робіт з енергетичного аудиту різних систем, у яких основним об'єктивним показником відповідності їхніх експлуатаційних характеристик з нормативними вимогами або вимогами технологічних умов є температура, точність її вимірювання буде обумовлювати прийнятність подальших заходів щодо впровадження енергозберігаючих заходів. Як правило, величина температури найбільш значима в системах з потужними енергетичними потоками, в яких головним чином проводяться вимірювання ряду основних величин (тиску, температури, витрати та ін.) наступних робочих речовин:
свіжої пари, перегрітої пари, відібраної і відпрацьованої пари;
води живильної, охолодної, хімічно очищеної, мережевої і конденсату;
димових газів у топці і газоходах котлоагрегату;
повітря атмосферного, а також повітря для охолодження турбогенератора;
насосів, вентиляторів, димососів і в системах перетворення енергій;
палива твердого, рідкого і газоподібного.
Температурою називається ступінь нагріву речовини. Це ствердження про температуру засновано на теплообміні між двома тілами, що перебувають у тепловому контакті. Тіло, більше нагріте, що віддає тепло, має і більше високу температуру, чим тіло, що сприймає тепло. При відсутності передачі тепла від одного тіла до іншому, тобто в стані теплової рівноваги, температури тіл рівні.
Головним завданням інженера (інженера-енергоменеджера), що проводить температурні вимірювання, є подальше забезпечення надійної і раціональної експлуатації обстежуваної енергосистеми. Успішне виконання цього завдання, а також організація технічного обліку роботи устаткування неможливі без енергетичного контролю, здійснюваного за допомогою вимірювальних приладів різного призначення, що дозволяє забезпечити:
надійну і безпечну експлуатацію енергетичних установок;
економічно найвигідніший режим роботи устаткування;
організацію технічного обліку роботи агрегатів у цілому.
1 Методи вимірювання температури і температурних шкал
Виміряти температуру якого-небудь тіла безпосередньо, тобто так, як вимірюють інші фізичні величини, наприклад довжину, масу, об’єм або час, не представляється можливим, тому що в природі не існує еталона або зразка одиниці цієї величини. Тому визначення температури речовини роблять за допомогою спостереження за зміною фізичних властивостей іншого, так називаного термометричної речовини, яке наведе в зіткнення з нагрітим тілом, вступає з ним через якийсь час у теплову рівновагу. Такий метод вимірювання дає не абсолютне значення температури нагрітого середовища, а лише різницю щодо вихідної температури робочої речовини, умовно прийнятої за нуль.
Внаслідок зміни при нагріванні внутрішньої енергії речовини практично всі фізичні властивості останнього в більшому або меншому ступені залежать від температури, але для її вимірювання вибираються по можливості ті з них, які однозначно міняються зі зміною температури, не піддані впливу інших факторів і порівняно легко піддаються вимірюванням. Цим вимогам найбільше повно відповідають такі властивості робочих речовин, як об'ємне розширення, зміна тиску в замкнутому об’ємі, зміна електричного опору, виникнення термоелектрорушійної сили і інтенсивність випромінювання, покладені в основу улаштування приладів для вимірювання температури.
Зміна агрегатного стану хімічно чистої речовини (плавлення або затвердіння, кипіння або конденсація), як відомо, протікає при постійній температурі, значення якої визначається складом речовини, характером її агрегатної зміни і тиском. Значення цих відтворених температур рівноваги між твердою і рідкою або рідкою і газоподібною фазами різних речовин при нормальному атмосферному тиску, рівному 101325 Па (760 мм рт. ст.), називаються реперними точками.
Якщо прийняти як основу інтервал температур між реперними точками плавлення льоду і кипіння води, позначивши їх відповідно 0 і 100, у межах цих температур виміряти об'ємне розширення якої-небудь робочої речовини, наприклад ртуті, що перебуває у вузькій циліндричній скляній посудині, і розділити на 100 рівних частин зміну висоти її стовпа, то в результаті буде побудована так називана температурна шкала.
Для вимірювання температури, що лежить вище або нижче обраних значень реперних точок, отримані поділення наносять на шкалі і за межами відміток 0 і 100. Поділки температурної шкали називаються градусами.
При побудові зазначеної температурної шкали була довільно прийнята пропорційна залежність об'ємного розширення ртуті від температури, що, однак, не відповідає дійсності, особливо при температурах вище 100 градусів. Тому за допомогою такої шкали можна точно виміряти температуру тільки у двох вихідних точках 0 і 100 градусів, тоді як результати вимірювання у всьому іншому діапазоні шкали будуть неточні. Те ж явище спостерігалося б і при побудові температурної шкали з використанням інших фізичних властивостей робочої речовини, таких, як зміна електричного опору провідника, збудження термоелектрорушійної сили і т.п.
Користуючись другим законом термодинаміки, англійський фізик Кельвін в 1848 р. запропонував дуже точну і рівномірну, що не залежить від властивостей робочої речовини шкалу, яка отримала назву термодинамічної температурної шкали (шкали Кельвіна). Остання заснована на рівнянні термодинаміки для оборотного процесу (циклу Карно).
Термодинамічна температурна шкала починається з абсолютного нуля і у цей час є основною. Одиниці термодинамічної температури позначаються знаком К (кельвін), а умовне значення її буквою Т.
На Генеральній конференції по мірах і вагам Міжнародний комітет мір і ваг прийняв нову практичну температурну шкалу 1968 р. (МПТШ-68), градуси якої позначаються знаком °С (градус Цельсія), а умовне значення температури - буквою I. Для цієї шкали градус Цельсія дорівнює градусу Кельвіна.
Крім Міжнародної практичної температурної шкали існує ще шкала Фаренгейта, запропонована в 1715 р. Шкала побудована шляхом поділення інтервалу між реперними точками плавлення льоду і кипіння води на 180 рівних частин (градусів), позначуваних знаком °Ф. По цій шкалі точка плавлення льоду дорівнює 32, а кипіння води 212°Ф.
Для перерахування температури, вираженої в Кельвінах або градусах Фаренгейта, у градуси Цельсія користуються рівнянням
і0С = Т К-273,15 = 0,556 (п°Ф - 32), (4.1)
де п — число градусів по шкалі Фаренгейта.
2 Класифікація приладів для вимірювання температури
Прилади для вимірювання температури розділяються залежно від використовуваних ними фізичних властивостей речовин на наступні групи з діапазоном показань:
Термометри розширення (-190…+6500С) засновані на властивості тіл змінювати під дією температури свій об’єм.
Манометричні термометри (-160…+6000С) працюють за принципом зміни тиску рідини, газу або пари з рідиною в замкнутому об’ємі при нагріванні або охолодженні цих речовин.
Термометри опору (-200…+6500С) засновані на властивості металевих провідників змінювати залежно від нагрівання їхній електричний опір.
Термоелектричні термометри (-50…+18000С) побудовані на властивості різнорідних металів і сплавів утворювати в парі (спаї) термоелектрорушійну силу, що залежить від температури спаю.
Пірометри (-30…+60000С) працюють за принципом вимірювання випромінюваної нагрітими тілами енергії, що залежить від температури цих тіл.
Термометри розширення. Фізична властивість тіл змінювати свій об’єм залежно від нагрівання широко використовується для вимірювання температури. На цьому принципі заснований пристрій рідинних скляних і дилатометричних термометрів, які з'явилися дуже давно і послужили для створення перших температурних шкал.
В рідинних термометрах, побудованих на принципі теплового розширення рідини в скляному резервуарі, як робочі речовини використовуються ртуть і органічні рідини — етиловий спирт, толуол і ін. Найбільш широке застосування одержали ртутні термометри, що мають у порівнянні з термометрами, заповненими органічними рідинами, істотні переваги: великий діапазон вимірювання температури, при якому ртуть залишається рідкою, незмочення скла ртуттю, можливість заповнення термометра хімічно чистою ртуттю через легкість її одержання та ін. При нормальному атмосферному тиску ртуть перебуває в рідкому стані при температурах від -39 (точка замерзання) до 357°С (точка кипіння) і середній температурний коефіцієнт об'ємного розширення 0,18· 10-3К-1.
Термометри з органічними рідинами здебільшого придатні лише для вимірювання низьких температур у межах до 100°С. Рідинні термометри, виготовлені зі скла, є місцевими приладами, що показують. Вони складаються з резервуара з рідиною, капілярної трубки, приєднаної до резервуара і закритої із протилежного кінця, шкали і захисної оболонки.
3. Ртутні термометри
Ртутні термометри за призначенням розділяються на промислові (технічні), лабораторні і зразкові. Основна похибка ртутних термометрів залежить від діапазону показань і ціни поділу шкали, зі збільшенням яких вона зростає. Внаслідок невеликого відхилення видимого коефіцієнта розширення ртуті в склі при зміні температури ртутні термометри мають майже рівномірну шкалу. Ртутні термометри виготовляються двох видів; із вкладеною шкалою і паличні (рис.4.1).

Рисунок 4.1 - Ртутні термометри:
Термометр із вкладеною шкалою має заповнений ртуттю резервуар 1 (рис.4.1), капілярну трубку 2, циферблат 3 з молочного скла зі шкалою і зовнішньою циліндричною оболонкою 4, у якій укріплений капіляр і циферблат. Зовнішня оболонка з одного кінця щільно закрита, а з іншого - припаяна до резервуара.
Паличний термометр складається з резервуара 1 (рис.4.1), з'єднаного з товстостінним капіляром 2 зовнішнім діаметром 6-8 мм. Шкала термометра нанесена безпосередньо на поверхні капіляра у вигляді насічки по склу. Паличні термометри є більше точними в порівнянні з термометрами із вкладеною шкалою.
Недоліками ртутних термометрів є їхня крихкість, неможливість дистанційної передачі і автоматичного запису показань, більша інерційність і труднощі відліку через нечіткість шкали і поганої видимості ртуті в капілярі. Все це значною мірою обмежує їхнє застосування, залишаючи за ними головним чином область місцевого контролю і лабораторні вимірювання.
Точність показань ртутного термометра, як і будь-якого приладу, що вимірює температуру, залежить від способу його установки, тобто від а- з вкладеною шкалою; б – паличний. правильного вирішення питань пов'язаних з теплообміном між вимірюваною речовиною, термометром і зовнішнім середовищем. Це завдання зводиться до двох основних вимог: по-перше, до забезпечення найбільш сприятливих умов передачі тепла від вимірюваного середовища чутливої частини (резервуару) термометра і, по-друге, до зменшення по можливості віддачі тепла приладом навколишньому повітрю.
Особливо великий вплив на точність вимірювання робить витік тепла від термометра, що при рідкому вимірюваному середовищі визначається теплопровідністю частин приладу, а при газовій і паровій - ще додатковим обміном тепла випромінюванням з навколишніми поверхнями.
Крім того, уведена у вимірюване середовище чутлива частина приладу тією чи іншою мірою змінює навколишнє температурне поле внаслідок відводу тепла. У цих умовах вимірювання температури не дає правильних результатів, тому що показання приладу відповідають його власній температурі, що відрізняється від температури вимірювального середовища. Неправильна установка термометра, що дає більшу втрату тепла в навколишнє середовище, може привести до заниження його показань на 10-15%.
Розглянуті нижче способи установки ртутних термометрів є в основному загальними для різних типів термометрів.
Застосовуються два способи установки ртутних термометрів: у захисних оправах (або гільзах) і шляхом безпосереднього занурення термометрів у вимірювальне середовище.
Досить розповсюдженої є установка термометра в захисній гільзі (рис.4.2), що оберігає його від поломки і забезпечує необхідну щільність з'єднання в місці розташування приладу. Довжина захисної гільзи вибирається залежно від необхідної глибини занурення термометра. Для поліпшення теплопередачі від гільзи до резервуара термометра кільцевий зазор, що утвориться в гільзі, між резервуаром і її стінкою заповнюється при вимірюванні температури до 1500С машинним маслом, а при більше високій температурі - мідною стружкою. Заповнення гільзи маслом або стружкою проводиться так, щоб у це середовище був занурений тільки резервуар термометра. Надмірне заповнення гільзи знижує точність вимірювання через зростання відтоку тепла і збільшує інерційність приладу.

Рисунок 4.2 - Установка ртутного термометра в захисній гильзі
При вимірюванні температури в трубопроводі термометр
установлюється в положення, при якому вісь труби проходить посередині резервуара. Занурення кінця термометра до центра труби, тобто в зону найбільшої швидкості потоку, поліпшує теплообмін між середовищем, що рухається.
Найбільш правильною є установка термометра уздовж осі трубопроводу на коліні з висхідним потоком (рис.4.2, а), тому що при цьому умови обтікання кінця гільзи досить сприятливі. На горизонтальному трубопроводі діаметром до 200 мм термометр установлюється похило до осі труби назустріч потоку (рис.4.2, б). При діаметрі трубопроводу більше 200 мм термометр може бути розташований за нормаллю до осі труби (рис.4.2, в). На прямій вертикальній ділянці трубопроводу з висхідним потоком термометр завжди встановлюється похило назустріч потоку (рис.4.2, г). Установлювати термометри на вертикальних трубопроводах зі спадним потоком не рекомендується.
4. Дилатометричні термометри
До дилатометричних термометрів відносяться стрижневі і пластинчастий (біметалічний) термометри, дія яких засноване на відносному подовженні під впливом температури двох твердих тіл, що мають різні температурні коефіцієнти лінійного розширення.
Стрижневий термометр (рис.4.3, а) має закриту з одного кінця трубку 1, що поміщується у вимірювальне середовище і виготовлену з матеріалу з більшим коефіцієнтом лінійного розширення. У трубку вставлений стрижень 2, що притискається до її дна важелем 3, з’єднаним із пружиною 4. Стрижень виготовлений з матеріалу з малим коефіцієнтом розширення. При зміні температури трубка змінює свою довжину, що приводить до переміщення в ній стрижня, що зберігає майже постійні розміри і з'єднаного за допомогою важеля 3 із вказівною стрілкою приладу.

Рисунок 4.3 - Дилатометричні термометри: а – стрижневий; б – пластинчастий.
Пластинчастий термометр (рис.4.3, б) складається із двох вигнутих і спаяних між собою по краях металевих смужок, з яких смужка 1 має великий коефіцієнт лінійного розширення, а смужка 2 — малий. Отримана пластинка міняє залежно від температури ступінь свого вигину, величина якого за допомогою тяги 3, важеля 4 і з'єднаної з ним стрілки вказується по шкалі приладу. При збільшенні температури пластинка вигинається убік металу з меншим коефіцієнтом лінійного розширення.
Дилатометричні термометри не одержали поширення як самостійні прилади, а використовуються головним чином як чутливі елементи в сигналізаторах температури. Крім того, пластинчасті термометри іноді застосовуються для компенсації впливу змінної температури навколишнього повітря на показання інших приладів, у які вони вбудовуються.
5. Манометричні термометри
Дія манометричних термометрів заснована на залежності тиску рідини, газу або пари з рідиною в замкнутому об’ємі (термосистемі) від температури. Зазначені термометри є промисловими що показують і самописними приладами, призначеними для вимірювання температури в діапазоні до 600°С. Клас точності їх 1-2,5.
Залежно від робочої речовини, яка використовується в термосистемі, манометричні термометри розділяються на газові, рідинні і конденсаційні (мають як робочу речовину органічні рідини з низькою температурою кипіння: хлористий метил, ацетон і фреон). Вибір робочої речовини виконується виходячи із заданого діапазону показань і умов вимірювання.

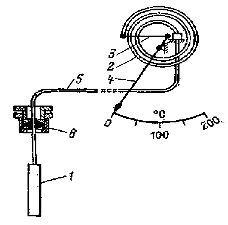
Рисунок 4.4 - Схема манометричного термометра, що показує
Схема манометричного термометра, що показує, приведена на рис.4.4. Термосистема приладу, заповнена робочою речовиною, складається з термобалону 1, що занурюється у вимірювальне середовище, манометричної трубчастої пружини 2, що діє за допомогою тяги 3 на вказівну стрілку 4, і капіляра 5, що з'єднує пружину з термобалоном.
Термобалон являє собою металеву трубку, закриту з одного кінця, а з іншого з'єднану з капіляром. За допомогою знімного штуцера 6 з різьбленням і сальником термобалон установлюється в трубопроводах, баках і т.п. Можлива установка його і у захисній гільзі. При нагріванні термобалона збільшення тиску робочої речовини передається через капіляр трубчастій пружині і приводить до розкручування останньої доти, поки діюче на неї зусилля, пропорційне різниці тисків у системі і навколишнім повітрі, не зрівноважиться силою її пружної деформації.
6. Термоелектричні термометри
Дія термоелектричних термометрів заснована на властивості металів і сплавів створювати термоелектрорушійну силу (термо-е.р.с), що залежить від температури місця з'єднання (спаю) кінців двох різнорідних провідників (термоелектродів), що утворюють чутливий елемент термометра — термопару. Маючи у своєму розпорядженні закон зміни термо-е.р.с. термометра від температури і визначаючи значення термо-е.р.с. електровимірювальним приладом, можна знайти шукане значення температури в місці вимірювання.
Термоелектричний термометр, що складається із двох спаяних і ізольованих по довжині термоелектродів, захисного чохла і головки із затискачами для підключення сполучної лінії, є первинним вимірювальним перетворювачем. Як вторинні прилади, що працюють із термоелектричними термометрами, застосовуються магнітоелектричні мілівольтметри і потенціометри.
Термоелектричні термометри широко застосовуються в енергетичних установках для вимірювання температури перегрітої пари, димових газів, металу труб котлоагрегатів і т.п. Позитивними властивостями їх є: великий діапазон вимірювання, висока чутливість, незначна інерційність, відсутність стороннього джерела електричного струму і легкість здійснення дистанційної передачі показань.
Для одержання порівняно високих значень термо-е.р.с. вибір термоелектродів проводиться таким чином, щоб у парі із платиною один з них створював позитивну, а інший негативну термо-е.р.с.
Термоелектричні термометри, що одержали практичне застосування, розділяються по матеріалам термоелектродів на дві групи: зі благородних (платина, платинородій) і неблагородних металів або сплавів (хром-алюмель, хромель-копеловий сплав). Термометри типів ТПП і ТПР із термоелектродами із благородних металів і сплавів застосовуються головним чином для вимірювання температури вище 1000°С, тому що вони мають велику термостійкість. Незважаючи на відносно малі значення що розвиває термо-е.р.с. термометри типу ТПП завдяки винятковій сталості термоелектричних властивостей і великому діапазону вимірювання одержали широке поширення головним чином як лабораторні, зразкові і еталонні.
Випускаються одинарні (з одним чутливим елементом) і подвійні (із двома чутливими елементами) термоелектричні термометри різних типів.
Подвійні термометри застосовуються для вимірювання температури в тому самому місці одночасно двома вторинними приладами, установленими в різних пунктах спостереження. Вони містять два однакових чутливих елементи, з’єднаних у загальні арматури. Термоелектроди ізольований одне від одного і знаходяться у захисному чохлі.
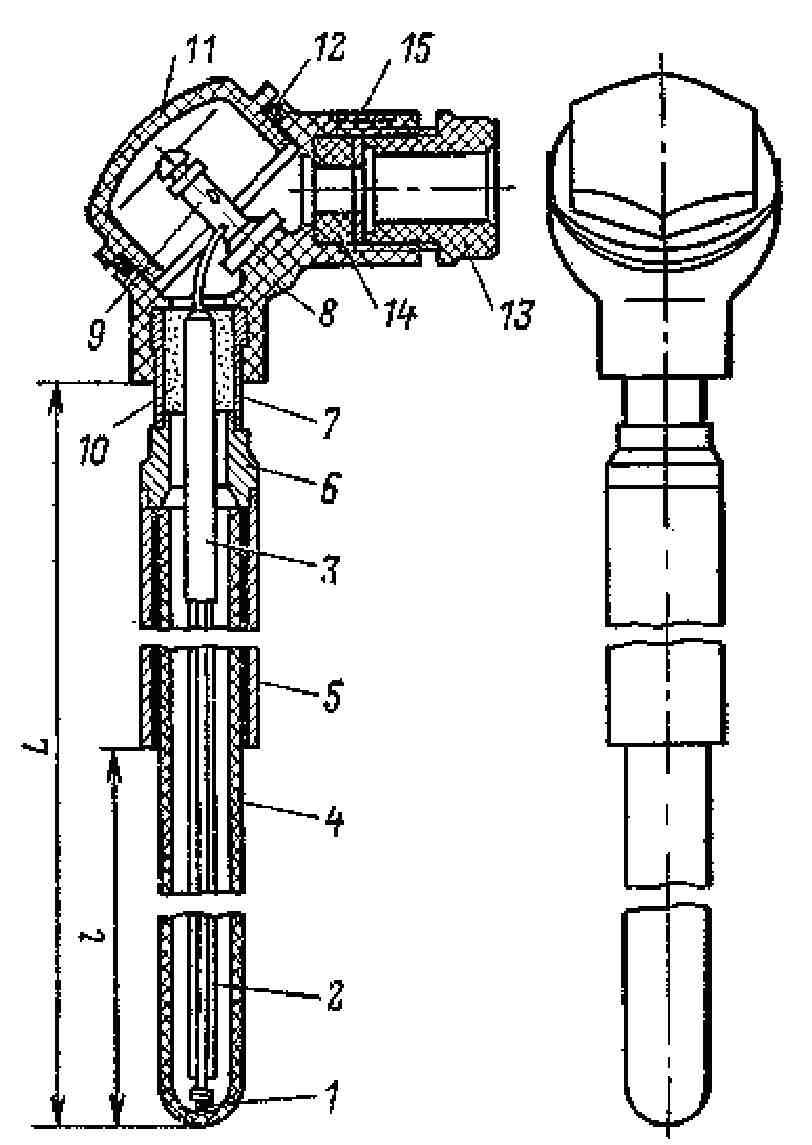
На рис.4.5 показаний устрій термометра типу ТПП. Термоелектроди, що утворюють робочий кінець (спай) 1, ізольовані по довжині порцеляновими трубками 2 і 3 і поміщені в захисний чохол 4, розрахований на атмосферний тиск. Для додання чохлу додаткової міцності неробоча частина його вставлена в сталеву трубку 5. За допомогою сталевих втулок 6 і 7 захисний чохол з'єднаний з корпусом 8, у якому закріплені два затискачі 9 із припаяними до них термоелектродами, ущільненими мастикою 10. Корпус закритий знімною кришкою 11 на різьбленні, ущільненим прокладкою 12. Для уведення в корпус зовнішніх сполучних проводів служить штуцер 13 з ущільненням 14. На поверхні закріплена металева табличка 15, на якій зазначені: тип термометра, допускаємий тиск і кінцеву температуру вимірюваного середовища, матеріал захисного чохла, дата виготовлення термометра і марка підприємства-виробника.
На точність вимірювання термоелектричним термометром великий вплив роблять спосіб установки і правильність проведення перевірки термометра і вторинного приладу.
Одним з основних вимог, які рекомендуються при установці термоелектричного термометра, є досягнення мінімального витоку тепла по його арматурах. Для цього термометр можливо глибше занурюють у вимірювальне середовище, що приводить до збільшення теплосприймаючій поверхні, і розташовується в місцях з великою швидкістю потоку, що поліпшує умови теплообміну.

Рисунок 4.5 - Термоелектричний термометр типу ТПП (А) иТХА (Б)
7. Термометри опору
Для вимірювання температури широке застосування отримали термометри опору, дія яких заснована на зміні електричного опору металевих провідників залежно від температури. Метали, як відомо, збільшують при нагріванні свій опір. Отже, знаючи залежність опору провідника від температури і визначаючи цей опір за допомогою електровимірювального приладу, можна судити про температуру провідника.
Застосовуються технічні (промислові), зразкові і еталонні платинові термометри опору.
Термометр опору, чутливий елемент якого складається з тонкого спірального дроту (обмотки), ізольованого і поміщеного в металевий захисний чохол з головкою для підключення сполучних проводів, є первинним вимірювальним перетворювачем, які живляться від стороннього джерела струму.
Як вторинні прилади, що працюють із термометрами опору, застосовуються врівноважені і неврівноважені вимірювальні мости і магнітоелектричні логометри.
Кінцева межа вимірів дротових термометрів опору, обумовлена стійкістю їх при нагріванні, дорівнює 650°С.
Достоїнствами термометрів опори є: висока точність вимірювання, можливість одержання приладів з безнульовою шкалою на вузький діапазон температур, легкість здійснення автоматичного запису і дистанційної передачі показань і можливість приєднання до одного вторинного приладу за допомогою перемикача декількох однотипних термометрів. До недоліків цих приладів ставиться потреба в стороннім джерелі струму.
8. Пірометри
Пірометри застосовуються для вимірювання температури тіл у діапазоні -30…6000С. Дія цих приладів заснована на залежності теплового випромінювання нагрітих тіл від їхньої температури і фізико-хімічних властивостей. На відміну від термометрів первинний перетворювач пірометра не підпадає під вплив високої температури і не змінює температурне поле, тому що перебуває поза вимірювальним середовищем.
З підвищенням температури нагрітого тіла інтенсивність його теплового випромінювання у вигляді електромагнітних хвиль різної довжини швидко зростає. При нагріванні до 500°С тіло випромінює невидимі інфрачервоні промені великої довжини хвилі, однак подальше збільшення температури викликає появу видимих променів меншої довжини, завдяки яким тіло починає світитися. Спочатку розпечене тіло має темно-червоні кольори, що у міру росту температури і появи променів, що поступово зменшуються за довжиною хвилі, переходить у червоний, жовтогарячий, жовтий і, нарешті, білі кольори, що складається з комплексу променів різної довжини хвилі.
Одночасно зі збільшенням температури нагрітого тіла і зміною його кольору сильно зростає інтенсивність часткового (монохроматичного або одноколірного) випромінювання (яскравість) для даної ефективної довжини хвилі, а також помітно збільшується інтенсивність сумарного випромінювання (радіація) тілом енергії, що дозволяє використовувати ці властивості для вимірювання температури нагрітих тіл.
Різні фізичні тіла, що нагріті до однієї і тієї ж температури, мають неоднакові часткову і сумарну інтенсивності випромінювання і мають різні коефіцієнти поглинання, що представляють собою відношення енергії, поглиненої тілом, до енергії, що падає на тіло.
Найбільшу здатність випромінювання і поглинання енергії має так називане абсолютно чорне тіло, у природі не існуюче, що представляє собою уявлюваний ідеальний випромінювач. Це тіло поглинає всі падаючі на нього промені, тобто має коефіцієнт поглинання, що дорівнює одиниці, і має найбільшу інтенсивність випромінювання. Фізичні тіла мають здатність відбивати частину падаючих на них променів і, отже, завжди мають коефіцієнт поглинання менше одиниці. Інтенсивність випромінювання і коефіцієнт поглинання при даній температурі залежать від складу речовини і стану його поверхні. Тіло, що має темну і шорсткувату поверхню, ближче по своїх властивостях до чорного тіла, чим тіло зі світлою і полірованою поверхнею.
У цьому зв'язку шкалу пірометра доводиться градуювати по випромінюванню чорного тіла. Тому що випромінювальна здатність реальних тіл менше, ніж чорних тіл, то показання пірометра будуть відповідати не дійсній температурі реального тіла, а дають умовну температуру або, у цьому випадку, так називану температуру яскравості. Пірометри, що вимірюють температуру яскравості по спектральній яскравості у видимій частині спектра, називають оптичними (квазімонохроматичні) візуальними пірометрами і фотоелектричними.
Прилади, що вимірюють температуру за значенням відносини енергетичних яскравостей у двох спектральних інтервалах, називають колірними пірометрами або пірометрами спектрального відношення.
Оптичні пірометри широко застосовуються в лабораторних і виробничих умовах для вимірювання температур вище 800°С. Принцип дії оптичних пірометрів заснований на порівнянні спектральної яскравості тіла зі спектральною яскравістю градуйованого джерела випромінювання. Як чутливий елемент, що визначає збіг спектральних яскравостей у візуальних оптичних пірометрах, служать очі людини. Найпоширенішим є оптичний пірометр зі зникаючою ниткою, схема якого наведена на рис.4.6а. Для вимірювання температури об'єктив приладу направляється на об'єкт вимірювання ОИ так, щоб спостерігач на його тлі побачив в окулярі 7 нитку оптичної лампи 4.

Рисунок 4.6
Порівняння спектральних яскравостей об'єкта вимірювання і нитки лампи 4 здійснюються звичайно при довжині хвилі рівної 0,65 мкм, для чого перед окуляром установлений червоний світлофільтр 6. Вибір червоного світлофільтра обумовлений тим, що око людини сприймає через цей фільтр тільки частину спектра його пропущення, що наближається до монохроматичного променя. Крім того, застосування червоного світлофільтра дозволяє знизити нижню межу вимірювання пірометра.
Спостерігаючи за зображенням нитки лампи на тлі об'єкта вимірювання (світлий фон — темна нитка (рис.4.6, б); темний фон — світла нитка (рис.4.6, г)) за допомогою реостата змінюють силу струму, що йде від батареї Б до нитки лампи, доти, поки яскравість нитки не стане рівною видимій яскравості об'єкта вимірювання. При досягненні зазначеної рівності нитка «зникає» на фоні зображення об'єкта вимірювання (рис.4.6, в). У цей момент по шкалі міліамперметра, попередньо градированого в значеннях температури яскравості нитки лампи, визначають яскравісну температуру об'єкта. По обмірюваній яскравісній температурі і відповідних вираженнях розраховують істинну температуру об’єкта.
Звичайно в оптичних пірометрах є дві шкали, однією з яких користуються при не встановленому поглинаючому світлофільтрі, наприклад від 800 до 1200°С, а другий — при встановленому світлофільтрі від 1200 до 2000°С. Існуючі в цей час оптичні пірометри призначені для вимірювання температур в інтервалі від 800 до 6000°С и мають різні модифікації з різними межами вимірювання. Клас точності оптичних пірометрів 1,5-4,0.
На точність вимірювання температури оптичними пірометрами впливають ступінь відхилення властивостей випромінювача від властивостей чорного тіла, а також поглинання променів проміжним середовищем, через яку проводиться спостереження. На результатах вимірювання впливають наявність у навколишнім повітрі пилу, диму і великого змісту двоокису вуглецю. Крім того, усяке забруднення оптичної системи пірометрів також веде до збільшення похибки вимірювання.
Достоїнствами оптичних пірометрів є порівняно висока точність вимірювання, компактність приладу і простота роботи з ними. До числа їхніх недоліків варто віднести потребу в джерелі живлення, неможливість стаціонарного вимірювання температури і автоматичного її запису, а також суб'єктивність методу вимірювання, заснованого на спектральній чутливості очей спостерігача.
Багато реальних тіл, такі, як кераміка, оксиди металів, вогнестійкі вироби, графіт і ін., є практично сірими. У цьому зв'язку переваги колірного методу вимірювання очевидні, тому що колірна температура багатьох твердих і рідких тіл значно менше відрізняється від істинної температури, чим яскравісна або радіаційна.
Фотоелектричні пірометри. На відміну від оптичних візуальних пірометрів фотоелектричні пірометри є автоматичними. Чутливими елементами, що сприймають променисту енергію, у цих приладах можуть служити фотоелементи, фотомножники, фотоелементи опору і фотодіоди. Вимір температури фотоелектричними пірометрами, як і оптичними візуальними, засновано на залежності спектральної яскравості тіла від його температури.
Фотоелектричні пірометри за принципом дії бувають двох типів. До першого типу відносяться прилади, у яких сприймана приладом промениста енергія, потрапляючи на чутливий елемент, змінює його параметри (фотострум, опір). У приладах другого типу вимір променистої енергії здійснюється компенсаційним методом, тут чутливий елемент працює в режимі нуль-індикатора, порівнюючи інтенсивності випромінювання від вимірюваного тіла і стабільного джерела випромінювання - мініатюрної лампочки накалювання.
Пірометри сумарного випромінювання. Вимірювання температури пірометрами сумарного випромінювання засновано на використанні теплового випромінювання нагрітих тіл. Теплові промені, які уловлюються пірометром, концентруються за допомогою збірної лінзи на термочутливому елементі, що складається з невеликої термобатареї. Променистий потік направляється лінзою на робочі кінці термобатареї, по ступені нагрівання яких судять про температуру випромінювача. Вторинним приладом пірометра служить мілівольтметр або автоматичний потенціометр. Пірометр сумарного випромінювання характеризується рядом переваг у порівнянні з візуальним, що полягають в об'єктивності методу вимірювання, відсутності стороннього джерела живлення і можливості застосування дистанційної передачі показань на вторинні прилади, але уступає йому, як було зазначено раніше, у точності вимірювання.
Для вимірювання температур вище 3000°С методи пірометрії є практично єдиними, тому що вони безконтактні. Теоретично верхня межа вимірювання температури пірометрами випромінювання необмежена.