Вимірювання тиску: класифікація приладів
ВИМІРЮВАННЯ ТИСКУ
1 Загальна класифікація
Тиском називають відношення сили, що діє перпендикулярно поверхні, до площі цієї поверхні. Тиск - одна з основних величин, що визначає термодинамічний стан речовин. Тиском багато в чому визначається хід технологічного процесу, стан технологічних апаратів і режими їхнього функціонування. Із завданням вимірювання тиску доводиться зіштовхуватися при вимірюваннях деяких технологічних параметрів, наприклад витрати газу або пари, при термодинамічних параметрах, що змінюються, рівня рідини, і ін.
Розрізняють наступні основні види тиску: атмосферний, абсолютний, надлишковий і вакуум (розрідження).
Атмосферний (барометричний) тиск (Рб) — тиск, створюваний масою повітряного стовпа земної атмосфери. Він має змінне значення, що залежить від висоти місцевості над рівнем моря, географічної широти і метеорологічних умов (погоди).
Надлишковий тиск (Р) — різниця між абсолютним і барометричним тисками.
Абсолютний тиск (Ра)— тиск, відлічений від абсолютного нуля. За початок відліку абсолютного тиску приймають тиск усередині посудини, з якої повністю видалене повітря.
Абсолютний тиск Ра середовища може бути більше або менше атмосферного. У першому випадку абсолютний тиск дорівнює сумі атмосферного і надлишкового тисків:
Ра = Рб + Р (1)
У другому випадку абсолютний тиск менше атмосферного на величину вакуум метричного тиску, тобто
Ра = Рб − Р (2)
В окремому випадку, коли Р або Рв дорівнює нулю, абсолютний тиск дорівнює атмосферному.
Вакуум (розрідження) (Рв)— різниця між барометричним і абсолютним тисками. Іноді вакуумметричний тиск виражають у вигляді відносної величини V у відсотках атмосферного тиску:
(3)
Статичний тиск (Рс) потоку може бути надлишковим або вакуумметричним, в окремому випадку він може бути дорівнювати атмосферному.
Повний тиск середовища, що рухається (РП) складається зі статичного (Рс) і динамічного (РД) тисків,
РП = Рс + РД (4)
Динамічний тиск (РД) (Па), що залежить від швидкості потоку (швидкісний напір) для рідини, а також для газу і пари при помірних швидкостях визначається по формулі
(5)
де v – швидкість руху речовини, м/с;
ρ – густина речовини, кг/м3.
У Міжнародній системі одиниць (SI) за одиницю тиску прийнятий паскаль (Па) — тиск, створюваний силою в 1 ньютон (Н), рівномірно розподіленої по поверхні площею 1 м2 і спрямованої нормально до неї.
Несистемна одиниця тиску (1 кгс/см2) дорівнює тиску на площу 1 см2 сили в 1 кгс, де 1 кгс — сила, що придає масі в 1 кг нормальне прискорення вільного падіння в 9,81 м/с2. Одиниця тиску системи МКГСС (метр, кілограм-сила, секунда) дорівнює 1 кгс/м2.
У рідинних приладах з водяним або ртутним заповненням скляних трубок вимірювання тиску виконується в міліметрах водяного або ртутного стовпа (мм.вод.ст. або мм.рт.ст.). Значення, обмірювані в цих одиницях, звичайно відносять до нормального прискорення вільного падіння тіл і нормальній температурі, рівної для води 4°С і ртуті 0°С. Неважко встановити, що тиск в 1 мм.вод.ст. дорівнює тиску в 1 кгс/м2.
Несистемна одиниця тиску — бар, дорівнює тиску 1·105 Па або 1,01972 кгс/см2. Ця одиниця зручна в тім відношенні, що числа, що виражають тиск у барах і кгс/см2, відрізняються між собою не більше ніж на 2%.
Через те що зазначені одиниці — кгс/см2, мм.вод.ст., мм.рт.ст. і бар — у цей час мають поширення, вони тимчасово допускаються до застосування поряд з одиницями системи SI.
В англійських мірах одиницею тиску є 1 англ. фунт-сила (4,45 Н) на 1 кв. дюйм (0,645·10-3 м2), рівна 6890 Па.
Співвідношення між одиницею тиску системи SI і колишніми наведені в табл.5.1.

Для наближеного перерахування тиску, вираженого в кгс/см2 і кгс/м2, у тиск, виражений відповідно в МПа і Па, необхідно в першому випадку числове значення зменшити в 10 разів, а в другому — збільшити в 10 разів. Так, наприклад, тиск в 100 кгс/см2 відповідає тиску в 10 МПа, а тиск в 100 кгс/м2 — тиску в 1000 Па.
Засоби вимірювання тиску класифікують по виду вимірювального тиску і принципу дії. По виду вимірювального тиску засоби вимірювання підрозділяють на:
- манометри надлишкового тиску — для вимірювання надлишкового тиску;
- манометри абсолютного тиску — для вимірювання тиску, відліченого від абсолютного нуля;
- барометри — для вимірювання атмосферного тиску. Барометри розділяються на ртутні і мембранні;
- вакуумметри — для вимірювання вакууму (розрідження);
- мановакуумметри — для вимірювання надлишкового тиску і вакууму (розрідження).
Крім перелічених засобів вимірювання у практиці вимірювання одержали поширення:
- напороміри — манометри рисих надлишкових тисків (до 40 кПа);
- тягоміри — вакууметри з верхньою межею вимірювання не більше — 40 кПа;
- тягонапороміри — мановакуумметри з діапазоном вимірювання +20…-20 кПа;
- вакуумметри залишкового тиску — вакуумметри, призначені для вимірювання глибокого вакууму або залишкового тиску, тобто абсолютних тисків менш 200 Па;
диференційні манометри — прилади вимірювання різниці тисків.
За принципом дії засоби вимірювання тиску підрозділяють на: рідинні, поршневі, деформаційні (пружинні), іонізаційні, теплові, електричні. Така кваліфікація не є вичерпною і може бути доповнена засобами вимірювання, заснованими на інших фізичних явищах.
Найбільша кількість приладів, які застосовуються для вимірювання тиску, є манометрами надлишкового тиску. У цей час існує великий парк приладів вимірювання тиску, що дозволяє здійснити вимірювання тиску в діапазоні 10-12…1011Па.
Далі розглянуті прилади вимірювання тиску, широко застосовувані в якості робочих при технологічних вимірюваннях.
2. Рідинні засоби вимірювання тиску
Для рідинних манометрів величиною, що характеризує вимірювальний тиск, служить видима висота стовпа (рівень) рідини, який врівноважується, у скляній вимірювальній трубці. До приладів цього виду відносяться однотрубні (чашкові) і двотрубні (U-образні) манометри. До числа рідинних засобів вимірювання тиску (різниці тисків і розрідження) з гідростатичним зрівноважуванням, які ще застосовуються у технологічних процесах, відносяться поплавкові і колокольні дифманометри.
Рідинні манометри є досить простими і точними приладами, що служать для визначення невеликих надлишкових тисків, що не перевищують 0,2 МПа. Вони широко застосовуються при дослідницьких і налагоджувальних роботах. У цих манометрах у якості врівноважувальної рідини використовують ртуть, дистильовану воду або етиловий спирт.
У цей час номенклатура рідинних засобів вимірювання тиску з гідростатичним зрівноважуванням істотно обмежена. У більшості випадків вони замінені більше удосконаленими деформаційними засобами вимірювання.
Двотрубні манометри. Найбільше часто застосовується двотрубний манометр (рис.5.1), що складається зі скляних вимірювальних трубок 1 і 2, з'єднаних унизу і закріплених на вертикальній підставі 3. Між трубками поміщена міліметрова шкала 4 з нульовою оцінкою посередині. Вимірювальні трубки заповнюються рідиною, що врівноважує, до нульової відмітки шкали. Трубка 1 з’єднана гумовою трубкою 5 з вимірювальним середовищем, яке перебуває під абсолютним тиском Ра, а трубка 2 — з атмосферою, яка має тиск Рб. Як правило, трубка 1, зв'язана із середовищем більшого тиску, позначається знаком “+” (плюсова трубка), а трубка 2, зв'язана із середовищем меншого тиску, позначається знаком “—“ (мінусова трубка).
При включенні манометра вимірювальний тиск врівноважується стовпом рідини висотою h, який відлічується по шкалі приладу.
Внаслідок того, що рівень рідини в трубці 1 понизиться, а в трубці 2 відповідно зросте, то загальна висота стовпа h буде дорівнювати сумі поділок, позначених на шкалі вище і нижче нульової поділки.
Якщо рідиною, що врівноважує, служить вода або спирт, то відлік показань проводиться по нижній границі меніска, а якщо ртуть - те по верхній. Тоді тиск визначається як:
P = h*ρ *g (6)
Таким чином, при вимірюванні надлишкового тиску висота стовпа рідини, що врівноважує, не залежить від площі отвору вимірювальних трубок.
З рівняння (6) видно, що для обмеження висоти трубок манометра, обмежується міцністю і зручністю відліку, і не повинно перевищувати 1,5 м, при вимірюванні надлишкових тисків 0,015…0,2 МПа варто застосовувати рідину, що врівноважує, з великою густиною (ртуть), а при більше низьких тисках - з малою (вода, спирт і ін.).
Випускаються двотрубні манометри з діапазоном показань 100, 160, 250, 400, 600 і 1000 мм стовпа рідини.

При вимірюванні тиску двотрубним манометром представляє незручність відлік рівнів рідини одночасно в обох вимірювальних трубках. При значних коливаннях вимірювального тиску це утрудняє точне визначення показань приладу. У таких випадках для зменшення коливань рівнів рідини застосовують місцеве звуження перетину сполучної лінії.
Однотрубні манометри. На рис.2 показана схема однотрубного манометра, що відрізняється від двотрубного тим, що замість другої вимірювальної трубки має широку посудину (чашку) 1. До нижньої частини посудини приєднана скляна вимірювальна трубка 2, поруч із якої закріплена міліметрова шкала 3. Прилад змонтований на вертикальній підставі 4. Посудина манометра контактує з вимірювальним середовищем трубкою 5. Вільний кінець вимірювальної трубки з'єднаний з атмосферою. Посудина і вимірювальна трубка заповнюються рідиною, що врівноважує, до нульової поділки шкали. У більшості випадків зниженням рівня рідини в посудині, тобто H3 (див. рис. 2), можна зневажити і вважати h≈H2. Тоді
P = h1 ρ g (7)
Похибка вимірювання однотрубним манометром вище, ніж двотрубним, зате більшою зручністю першого з них є вимірювання рівня рідини в одній трубці.
Мікроманометри. Розглянуті вище рідинні манометри непридатні для вимірювання невеликих тисків, рівних одиницям або десяткам міліметрів висоти стовпа рідини, що врівноважує, тому що при цьому похибка стає досить значною. Так, наприклад, при вимірюванні стовпа висотою 10 мм і можливій помилці у відліку показань неозброєним оком в 1 мм відносна похибка складе 10%, що неприпустимо.
Для точних вимірювань невеликих тисків газу (повітря) знаходить застосування широкий за інтервалом вимірювання рідинний мікроманометр із похилою трубкою. Цей прилад (рис.3) має широку металеву посудину 1, яка з'єднана гнучкою трубкою з вимірювальною скляною трубкою 2, закріпленою на міліметровій шкалі 3. Посудина контактує з вимірювальним середовищем гумовою трубкою 4. Установка рівня рідини на нульову поділку шкали проводиться гвинтом коректора 5, що переміщає в посудині поршень 6. За допомогою дугоподібної стійки 7 з отворами шкала з вимірювальною трубкою може бути закріплена під п'ятьома кутами нахилу до горизонталі. Прилад змонтований на трикутній плиті 8, постаченої для правильної установки двома гвинтовими ніжками 9 і двома взаємно перпендикулярними рівнями 10. Застосування похилої скляної трубки дозволяє, зменшивши кут α при тій же висоті стовпа рідини, збільшити його довжину, що підвищує точність відліку.

Визначення тиску Р (Па) за допомогою мікроманометра проводиться по формулі
P = 0,001l ρ g sinα, (8)
де l — довжина стовпа рідини, відлічуваної по шкалі приладу, мм.
Рідиною, що врівноважує, для мікроманометра служить етиловий спирт. Діапазон показань залежно від кута нахилу трубки при нормальному прискоренні вільного падіння тіл (9,81 м/с2) становить 600, 900, 1200, 1800 і 2400 Па. Клас точності мікроманометра 1. Прилад випускається на робочий тиск середовища 0,01 МПа.
Установка і виправлення до показань рідинних манометрів. На точність вимірювання тиску за допомогою рідинних манометрів впливають правильність установки приладу, відліку висоти стовпа і визначення густини рідини, що врівноважує.
Щоб уникнути перекручування результатів вимірювання, рідинні манометри закріплюються у вертикальному положенні по рівню в місцях, не підданих вібрації і нагріванню, і які перебувають поблизу місця відбору тиску.
Якщо манометр установлений вище або нижче місця відбору тиску, а сполучна лінія і простір над рідиною в плюсовій вимірювальній трубці або посудині заповнені іншою, більше легкою рідиною (наприклад, водою при вимірюванні ртутним манометром тиску води або пари), необхідно до показань приладу вводити виправлення, що враховує тиск, який створюється стовпом цієї рідини.
Абсолютна похибка вимірювання, що залежить від правильності відліку висоти стовпа рідини неозброєним оком, звичайно становить ±(0,5...1) мм. Застосування оптичних пристосувань (візуалізаторів) помітно зменшує цю похибку.
3 Деформаційні прилади для вимірювання тиску
Висока точність, простота конструкції, надійність і низька вартість є основними факторами, що обумовлюють широке розповсюдження деформаційних приладів для вимірювання тиску в промисловості і наукових дослідженнях.
Досить розповсюдженим видом деформаційних приладів, які використовуються для визначення надлишкового тиску, є трубчасто-пружинні манометри, що відіграють винятково важливу роль у технічних вимірюваннях. Ці манометри виготовляються з одновитковою трубчастою пружиною, що представляє собою вигнуту по окружності металеву пружну трубку овального перетину. Під дією вимірювального тиску усередині трубки вона частково розкручується внаслідок деформації її перетину, що прагне прийняти форму кола.
Вимірювальні прилади з одновитковою трубчастою пружиною призначені для вимірювання надлишкового тиску і розрідження неагресивних рідких і газоподібних середовищ.
Прилади цього типу випускаються тільки показуючими у звичайному, вібростійкому, антикорозійному, вогне- і вибухозахищеному виконаннях.
Однією з основних характеристик деформаційного чутливого елемента зазначених приладів є залежність переміщення δ робочої точки від діючого тиску Р або різниці тисків. Ця характеристика δ=f(Р), яка називається статичною, може бути лінійною або нелінійною. Хід статичної характеристики в межах пружної деформації неоднозначний і утворює петлю гістерезису. Значення гістерезису визначає систематичну похибку деформаційних засобів вимірювання.
Крім відзначеного недоліку чутливі елементи мають властивість пружної післядії, суть якого полягає в тому, що після припинення зміни тиску деформація продовжує зменшуватися, асимптотично наближаючись до граничного значення. Поряд із пружною післядією при експлуатації чутливих елементів має місце залишкова деформація, яка полягає в тому, що після зняття тиску чутливий елемент не повертається у вихідне положення. При багаторазових вимірюваннях залишкова деформація накопичується, що приводить до значних похибок.
Викладені особливості деформаційних чутливих елементів пояснюють той факт, що для технічних манометрів верхня межа вимірювання обмежується половиною тиску, що відповідає межі пропорційності статичної характеристики, у той час як для зразкових приладів межа вимірювання обмежується четвертою частиною тиску, що відповідає межі пропорційності.
Для передачі переміщення вільного кінця деформаційного чутливого елемента до покажчика манометра приєднані секторні і важільні передавальні механізми. За допомогою передавального механізму переміщення вільного кінця трубчастої пружини в кілька градусів або міліметрів перетвориться в кутове переміщення стрілки на 270—300°.
Важільний передавальний механізм застосовується в тих випадках, коли від манометра не потрібна висока точність вимірювання і він піддається вібрації. Секторний передавальний механізм застосовується в зразкових приладах і в приладах, де за умовами експлуатації виключена вібрація.
На рис.4 показана конструкція манометра із секторним передавальним механізмом. Прилад складається із трубчастої пружини 5, один кінець якої впаяний в отвір утримувача 1, а іншої (рухливий) кінець наглухо запаяний і несе на собі наконечник 10. Порожнина пружини пов'язана з вимірювальним середовищем через канал у утримувачі 1, об’єднаному з радіальним штуцером 14. Утримувач приладу оснащений платою 2, на якій монтується трибко-секторний механізм. Останній включає зубчасте колесо (трибку) 8 і зубчастий сектор 9. Для виключення люфту в передавальному механізмі використається спіральна пружина 7, один кінець якої за допомогою штифта кріпиться на осі трибки, а інший - до колонки 6, укріпленої на платі 2. До хвостовика сектора 9 за допомогою гвинта 12 кріпиться тяга 11. За допомогою тяги переміщення вільного кінця пружини передається зубчастому сектору, що має вісь обертання 13.
Обертання зубчастого сектора передається на трибку, на осі якої насаджена стрілка 4 для відліку показань на шкалі 3. Шкала манометра рівномірна, тому що переміщення вільного кінця пружини пропорційно вимірювальному тиску. Регулювання ходу стрілки проводиться гвинтом 12.
Вакуумметр із одновитковою трубчастою пружиною конструктивно ідентичний розглянутому манометру. Відмінність складається тільки в шкалі і напрямку переміщення стрілки. У вакуумметрах переміщення стрілки може відбуватися як по годинній стрілці, так і проти. Відмінною рисою мано вакуумметра є шкала, що виконується з нулем у середній частині.

Шкала, розташована ліворуч від нуля, служить для вимірювання вакууму, а шкала, розташована праворуч, - для вимірювання надлишкового тиску.
Діапазони вимірювання манометрів від 0…0,1 МПа до 0…103 МПа; вакуумметрів— від -0,1 до 0 МПа. Класи точності приладів: 0,4(0,5); 0,6; 1,0; 1,5(1,6); 2,5; 4,0.
Поряд з розглянутими приладами, оснащеними однаковою трубчастою пружиною, у практиці вимірювання тиску і розрідження одержали широке поширення манометри і вакуумметри, оснащеними електроконтактними пристроями, що сигналізують. Ці засоби вимірювання тиску одержали назву електроконтактних. Клас точності електроконтактних манометрів і вакуумметрів 1,5. Похибка спрацьовування пристрою, що сигналізує, ±2,5%.
Загальний вигляд манометра-сигналізатора електроконтактного типу показаний на рис.5.5. Прилад містить вказівну стрілку 1, сигнальні (мінімального і максимального тиску) стрілки 2 і 3, які установлюються на задані значення тисків за допомогою ключа, і коробці 4 із затискачами для приєднання до приладу ланцюга сигналізації. Механізм манометра вмонтований у корпус 5. Прилад контактує з вимірювальним середовищем через штуцер 6. При досягненні кожного із заданих граничних тисків контакт, пов'язаний із вказівною стрілкою, стикається з контактом, розташованим на відповідній сигнальній стрілці, і замикає ланцюг сигналізації. Зазначені манометри придатні для вимірювання тисків, що плавно змінюються. Контактний пристрій їх живиться від мережі постійного або змінного струму, напругою 220 В. Розривна потужність контактів 10 В·А.

Вимірювальні прилади із сильфоним чутливим елементом
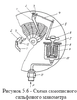
Прилади цього типу призначені для вимірювання надлишкового тиску, розрідження і різниці тисків. Їх виконують показуючими і самописними. Схема самописного сильфонного манометра показана на рис.5.6. Вимірювальний тиск через штуцер 11 подається в камеру 10, де розташований деформаційний чутливий елемент — сильфон 9. Для збільшення твердості сильфона всередині нього розташована гвинтова пружина 8. Під дією тиску сильфон деформується і дно його піднімає шток 7, жорстко з’єднаного із двоплечим важелем 6, останній через систему важелів 5, 4, 3 повертає вісь 12 і укріплений на ній П-подібний важіль 2. До П-подібного важеля прикріплена стрілка 1 з пером. Запис вимірювального тиску виконується на дисковій діаграмі, привод якої здійснюється за допомогою синхронного двигуна або годинного механізму. Верхня межа вимірювання сильфоних приладів обмежений тисками 0,025…0,4 МПа. Класи точності сильфоних манометрів надлишкового тиску, вакуумметрів і мановакуумметрів: 1,5; 2,5.
Для вимірювання різниці тисків і витрати рідких і газоподібних середовищ широке застосування одержали сильфоні дифманометри. Граничні номінальні перепади тисків становлять 0,0063…0,25 МПа. Граничний припустимий робочий надлишковий тиск: 6,3; 16 і 32 МПа.
Класи точності сильфоних показуючих і самописних дифманометрів 1,0 і 1,5.
Зразкові манометри типу МО (рис.5.7) застосовуються для перевірки промислових манометрів, а також для виконання точного вимірювання тиску в лабораторних установках. Прилади мають трубчасту пружину і зубчасто-секторний передавальний механізм, розташовані в металевому корпусі діаметром 160 або 250 мм. У зразкових манометрах застосовується пружина високої якості і ретельно виконаний передавальний механізм.

Прилади випускаються з кінцевим значенням шкали 1…600 кгс/см2. Шкала має 100 умовних розподілів із числовими оцінками через кожні 5 розподілів. Для перерахування умовних розподілів у кгс/см2 зразкові манометри забезпечуються перевідною таблицею або графіком.
Кінцеве значення тиску вказується на циферблаті приладу. Клас точності манометрів діаметром 250 мм — 0,16 і 0,25, а діаметром 160 мм — 0,4. Користування приладами допускається при температурі навколишнього повітря 10...35°С і відносної вологості до 80%.
Вимірювальні прилади з мембранним чутливим елементом
Ці прилади призначені для вимірювання атмосферного і надлишкового тисків і розрідження. Через малість зусиль, що розвиваються деформаційним чутливим елементом, мембранні прилади випускаються в основному показуючими. Принцип дії приладів складається в перетворенні вимірювального тиску або розрідження в переміщення твердого центра мембранного чутливого елемента, що за допомогою передатного трибко-секторного механізму перетворюється в обертовий рух покажчика. Максимальний діапазон вимірювання мембранних манометрів 0...2,5 МПа, вакуумметрів — від -0,1 до 0 МПа. Класи точності приладів 1,5 і 2,5. Крім розглянутих приладів випускаються мембранні тягоміри, напороміри і тягонапороміри класів точності 1,5; 2,5.

4 Установка і обслуговування деформаційних трубчасто-пружинних манометрів
При виборі манометра керуються насамперед необхідною точністю показань, з огляду на особливості приладу і умови вимірювання. Виходячи з надійності роботи манометра, кінцеве значення шкали вибирається з таким розрахунком, щоб воно перевищувало вимірювальну величину при постійному тиску або тиску, що плавно змінюється, в 1,5 рази, а при змінному - в 2 рази. В обох випадках мінімальний вимірювальний тиск не повинний бути менше 1/3 кінцевого значення шкали.
Показання трубчасто-пружинного манометра залежать від температури чутливого елемента, тому установка приладу виконується таким чином, щоб по можливості виключити плив на нього температури вимірювального і навколишнього середовища. Температура повітря, що оточує прилад, не повинна перевищувати 40°С, тому манометри не можна встановлювати біля сильно нагрітих поверхонь. При установці манометра безпосередньо в місця вимірювання тиску пари або гарячої води для захисту приладу від надмірного нагрівання на сполучній лінії перед ним установлюється кільцева або U-образна сифонна трубка, що утворить гідравлічний затвор
Для установки манометра при робочому тиску середовища до 2,5 МПа застосовується триходовий пробковий кран, а вище — триходовий вентиль. Іноді в сполучній лінії розташовуються два вентилі: один для відключення приладу і інший — для з’єднання його з атмосферою. Загальний вид установки показуючого манометра на паропроводі високоготиску наведений на рис. 5.8. Манометр 1 угвинчується штуцером у триходовий вентиль 2, з'єднаний з кільцевою сифонною трубкою 3, яка приварена до стінки труби 4. Права частина вентиля служить для включення манометра, а ліва — для продувки сифонної трубки, висота до якої береться не менш 350 мм.
У випадку застосування триходового крана манометр може бути з’єднаний з вимірювальним середовищем, а для відключення приладу або перевірки нульової оцінки шкали - з атмосферою. За допомогою цього ж крана здійснюється періодична продувка сполучної лінії. Напрямок каналів у пробці крана зазначено на торці рукоятки рисками.
Деформаційні манометри повинні встановлюватися в місцях, не підданих вібрації і струсу, що шкідливо відбивається на роботі і стані приладів. Самописні манометри встановлюються строго вертикально.

З міркувань обмеження запізнювання показань довжина сполучної лінії до манометра звичайно не перевищує 50 м. Внутрішній діаметр мідної або сталевої трубки сполучної лінії вибирається в межах 3...15 мм залежно від її довжини. Сполучна лінія повинна бути щільною і прокладатися по найкоротшій відстані з ухилом 0,1 до манометра, що встановлюється, вище місця відбору тиску при вимірюванні тиску газу і нижче — при вимірюванні тиску рідини і пара. Якщо зазначена установка манометрів неможлива, то при вимірюванні тиску газу в нижніх точках сполучної лінії застосовуються відстійні посудини, а при вимірюванні тиску рідини і пари у верхніх точках — газозбірники. Вигини лінії повинні бути плавними. Температура середовища в лінії перед манометром повинна рівнятися температурі навколишнього повітря. Як ущільнювальні прокладки при установці манометрів служать пароніт (до 6 МПа) і відпалена червона мідь (понад 6 МПа).
5 Правила вимірювання трубчасто-пружинними манометрами
Включення і вимикання манометрів варто робити повільно щоб уникнути ушкодження передавального механізму. Для запобігання у чутливому елементі появи залишкової деформації не можна допускати перевищення вимірювальним тиском кінцевого значення шкали.
Вимірювання швидко змінного тиску, наприклад після насосів, компресорів і т.п. спричиняє сильне зношування передавального механізму манометрів і затрудняє правильний відлік показань, тому для зменшення коливань вказівної стрілки в сполучній лінії встановлюють заспокійливі бачки або частково прикривають триходовий кран або вентиль.
Залежно від необхідної точності вимірювання до показань деформаційних манометрів уводяться в загальному випадку наступні поправки:
- основна – визначається за паспортом манометра;
- на розташування манометра щодо місця відбору тиску (якщо сполучна лінія заповнена рідиною) - залежить від висоти стовпа рідини в сполучній лінії і якщо буде потреба вводиться так само, як і при вимірюванні тиску рідинними манометрами;
- на температуру приладу - збільшення температури манометра вище нормальної змінює його показання убік завищення вимірювального тиску. Для точного визначення виправлення на температуру приладу необхідно знати його температурний коефіцієнт, значення якого для різних типів манометрів коливається в широких межах. Приблизно можна прийняти, що додаткова похибка трубчасто-пружинного манометра становить ±0,4% при відхиленні температури навколишнього повітря на кожні ±10°С від значення 20±5°С у діапазоні температур 0...60°С.
6 Деформаційні вимірювальні перетворювачі тиску прямого перетворення
Вимірювальні перетворювачі тиску, які випускаються у даний час, засновані на методі прямого перетворення, розрізняються як видом деформаційного чутливого елемента, так і способом перетворення його переміщення або зусилля, яке розвивається ним, у сигнал вимірювальної інформації. Для перетворення переміщення чутливого елемента в сигнали вимірювальної інформації широко застосовуються індуктивні, диференційно-трансформаторні, ємнісні, тензорезисторні і інші перетворювальні елементи. Перетворення зусилля, яке розвивається чутливим елементом, у сигнали вимірювальної інформації здійснюється п'єзоелектричними перетворювальними елементами.
Індуктивні вимірювальні перетворювачі тиску. На рис.5.9,а показана схема вимірювального перетворювача тиску, оснащеного перетворювальним елементом індуктивного типу. Мембрана 1, що сприймає тиск, є рухливим якорем електромагніта 2 з обмоткою 3. Під дією вимірювального тиску мембрана 1 переміщується, що викликає зміну електричного опору індуктивного перетворювального елемента.
Диференційно-трансформаторні вимірювальні перетворювачі тиску.
Вимірювальний перетворювач тиску диференційно-трансформаторного (ДТ) типу (рис.5.9,б) містить деформаційний чутливий елемент 1 і ДТ-елемент 2. Перетворювальний елемент являє собою каркас із діелектрика, на якому розміщені катушка з первинною обмоткою 7, що складається із двох секцій, згідно намотаних, і двох секцій 4, вторинні обмотки 5, включених зустрічно. Усередині каналу катушки розташований рухомий сердечник 6 з магнитом’якого матеріалу, пов'язаний із пружиною 1 тягою 3.

Шляхом зміни регульованого опору R1 можна змінювати межі вимірювання на ±25%.
Формування вихідного сигналу ДТ-елемента здійснюється в такий спосіб. При протіканні по первинних обмотках струму виникають магнітні потоки, що пронизують обидві секції вторинної обмотки і індуцює в них ЕРС. Значення цього ЕРС пов'язані із взаємними індуктивностями між первинною обмоткою і кожною із секцій вторинної обмотки.
Перетворення вимірювального тиску в електричні сигнали розглянутим перетворювачем тиску здійснюється шляхом перетворення тиску в деформацію (переміщення) чутливого елементу, жорстко з’єднаного із сердечником 6, і наступного перетворення переміщення сердечника 6 в електричний сигнал ДТ-елементом. Класи точності 1,0 і 1,5.
Для вимірювання перепаду тисків розроблені мембранні дифманометри із ДТ-елементом, що здійснює перетворення переміщення мембранного блоку в сигнал вимірювальної інформації.
Класи точності перетворювачів перепаду тиску 1,0 і 1,5. Час установлення вихідних сигналів не більше 1 с.
Ємнісні вимірювальні перетворювачі тиску. Схема вимірювального перетворювача тиску, оснащеного ємнісним перетворювальним елементом, наведена на рис.5.10,в. Вимірювальний тиск сприймається металевою мембраною 1, що є рухливим електродом ємнісного перетворювального елемента. Нерухомий електрод 2 ізолюється від корпуса за допомогою кварцових ізоляторів. По залежності ємності С перетворювального елемента від переміщення δ мембрани 1 вимірюється величина тиску.
Тензорезисторні вимірювальні перетворювачі тиску. Перетворювачі тиску цих видів являють собою деформаційний чутливий елемент, найчастіше мембрану, на яку наклеюються тензорезистори. В основі принципу роботи тензорезисторів лежить явище тензоефекту, суть якого полягає в зміні опору провідників і напівпровідників при їхній деформації. Існує зв'язок між зміною опору тензорезистору і його деформацією
Отримали розповсюдження дротові і фольгові тензорезистори, що виготовляють із провідників типу манганіну, ніхрому, константану, а також напівпровідникові тензорезистори, що виготовляють із кремнію і германія р- і л-типів. Опір тензорезисторів, що виготовляють із провідників, становить 30…500 Ом, а опір напівпровідникових тензорезисторів від 5·10-2…10 кОм.
Удосконалювання технології виготовлення напівпровідникових тензорезисторів створило можливість виготовляти тензорезистори безпосередньо на кристалічному елементі, виконаному із кремнію або сапфіру. Пружні елементи кристалічних матеріалів мають пружні властивості, що наближаються до ідеального. Класи точності тензорезисторних вимірювальних перетворювачів надлишкового тиску, розрідження і різниці тисків 0,6; 1,0; 1,5. Діапазони вимірювання:
надлишкового тиску — від 0…10-3до 0...60 МПа; розрядження — від -1...0 до -10...0 кПа;
абсолютного тиску — від 0...2,5кПа до 0...2,5МПа; різниці тисків — від 0...1 кПа до 0...2,5МПа.
П'єзоелектричні вимірювальні перетворювачі тиску. В основу роботи цих перетворювачів покладене перетворення вимірювального тиску в зусилля за допомогою деформаційного чутливого елемента і наступного перетворення цього зусилля в сигнал вимірювальної інформації п'єзоелектричним перетворювальним елементом. Принцип дії п'єзоелектричного перетворювального елемента заснований на п'єзоелектричному ефекті, який спостерігається в ряді кристалів, таких, як кварц, турисін, титанат барію і ін. Суть п'єзоелектричного ефекту полягає в тому, що якщо кварцові пластини Х-зрізу піддати стиску силою N, то на її поверхні виникнуть заряди різних знаків. Значення заряду Q пов'язане із силою N співвідношенням
Q = k·N, (9)
де k — п'єзоелектрична постійна, котра не залежить від розміру пластини і визначається природою кристала.
На рис.5.10 показана схема п'єзоелектричного вимірювального перетворювача тиску.
Вимірювальний тиск перетворюється мембраною 4 у зусилля, що викликає стиск стовпчиків кварцових пластин 2 діаметром 5 мм і товщиною 1 мм. Виникаючий електричний заряд Q через виводи 1 подається на електронний підсилювач 5, що має більший вхідний опір. Значення заряду пов'язане з вимірювальним тиском Р залежністю
Q = k·P·F, (10)
де F — ефективна площа мембрани.
Внаслідок того що частота власних коливань системи «мембрана — кварцові пластини» становить десятки кілогерців, то вимірювальні перетворювачі цього типу мають високі динамічні характеристики, що обумовило їхнє широке застосування при контролі тиску в системах зі швидкопротікаючими процесами.
Чутливість п'єзоелектричних вимірювальних перетворювачів тиску може бути підвищена шляхом застосування декількох, паралельно включених кварцових пластин і збільшення ефективної площі мембрани.

Верхні межі вимірювання п'єзоелектричних перетворювачів тиску із кварцовими чутливими елементами 2,5…100 МПа. Класи точності 1,5; 2,0. Через витік заряду із кварцових пластин перетворювачі тисків цього типу не використовують для вимірювання статичних тисків.