Выделение германия из колошниковой пыли цинковых плавильных печей
ВВЕДЕНИЕ
Пыль, содержащаяся в доменном газе, частично попадает из шихты и частично в результате сублимации шлака и металлов. На химический состав, количество и зернистость колошниковой пыли значительно влияют физические и химические свойства доменной шихты. Количество колошниковой пыли колеблется в диапазоне 20–200 кг/т чугуна. Ее концентрация 10–30 мг/м3 газа.
Доменный газ сжигается преимущественно в воздухонагревателях, в коксохимическом заводе и энергетике.
Глава 1. СИСТЕМА ОЧИСТКИ ДОМЕННОГО ГАЗА В ДОМЕННОМ ЦЕХЕ
Пыль, содержащаяся в доменном газе, частично попадает из шихты и частично в результате сублимации шлака и металлов. На химический состав, количество и зернистость колошниковой пыли значительно влияют физические и химические свойства доменной шихты. Количество колошниковой пыли колеблется в диапазоне 20–200 кг/т чугуна. Ее концентрация 10–30 мг/м3 газа.
Доменный газ сжигается преимущественно в воздухонагревателях, в коксохимическом заводе и энергетике.
Для предотвращения запыления воздухонагревателей, рекуператоров, горелок необходимо удалять дисперсную колошниковую пыль из доменного газа.
Очистка доменного газа производится
в три стадии: предварительная грубая
очистка, охлаждение, связанное с очисткой,
и тонкая очистка.
В процессе
предварительной очистки из доменного
газа удаляются грубые частицы, что
облегчает тонкую очистку и утилизируется
пыль, содержащая железо, которую можно
повторно использовать как добавку в
шихте.
Для предотвращения выхода самых крупных фракций пыли из доменной печи трубопроводы доменного газа, вертикальные ДП в значительной высоте, чтобы крупные фракции собственным весом попадали обратно в печь. Для грубой очистки используются пылеуловители (рис. 1), работающие по принципу осаждения пыли. Они имеют цилиндрическую форму в средней части и конусную в верхней и нижней частях. В верхней части верхнего конуса установлен главный клапан, к которому присоединены наклонные газоотводы от печи. Главный клапан служит для полного отключения пылеуловителя от печи.
Внутри пылеуловителя уложен диффузор, сечение которого значительно увеличивается к низу. При движении газа через диффузор вниз его скорость понижается и под влиянием силы тяжести частицы пыли осаждаются в нижней части пылеуловителя. Далее газ из пылеуловителя по трубопроводу поступает в оборудование тонкой очистки.
Пыль, накопленную в нижней конусной части пылеуловителя, необходимо правильно удалять. Обычно применяются два способа удаления пыли: шнековым конвейером или выносным барабаном.
При удалении шнековым конвейером пыль увлажняется и охлаждается, а затем подается на ленточный конвейер или в железнодорожный вагон.
Пыль в процессе удаления поступает через затвор, управляемый гидроцилиндром простого действия (открытие) и противовесом (закрытие), и через задвижку, управляемую гидроцилиндром двойного действия. Далее пыль осаждается через компенсатор двойным шнековым конвейером в воронку. При увлажнении пыли образуется пар, поэтому конвейер оснащен пароотводом.
Конвейер имеет следующие преимущества:
лучшее увлажнение, кроме того, пыль с частью пара, образующегося при контакте воды с пылью, применяется для увлажнения пыли.
в случае отказа, или контроля возможна немедленная отсечка пылеуловителя от конвейера.
Шнековой конвейер питается от электродвигателя мощностью 22 кВт.
Выносный барабан выполняет такую же функцию, как и шнековый конвейер. Разница только в технологии удаления и увлажнении пыли. К входной части барабана неподвижно крепится шнековый конвейер, равномерно подающий пыль в барабан.
На внутренней стороне барабана в несколько рядов установлены лопасти. При вращении барабана лопасти обеспечивают лучшее смешение пыли. По оси барабана размещена труба с форсунками, орошающими пыль водой. Питание барабана осуществляется от электродвигателя мощностью 7,5 кВт. Ранее применялись только шнековые конвейеры, но из за плохой герметичности и низкой степени их начали заменять барабанами.
В настоящее время снова начинают применять шнековые конвейеры, значительно усовершенствованные.
Тонкая очистка. Для тонкой очистки газа применяется мокрый способ — скруббер, трубы Вентури, дроссельная группа, водоотделитель (рис. 2).
Первая ступень мокрой очистки осуществляется в скруббере, представляющий собой емкость цилиндрической формы, в нижней части конусообразную и в верхней — куполообразную. Газ поступает в нижнюю часть скруббера и, проходя вверх, выходит по трубопроводам, размещенными в верхней части верхнего конуса.
Составной частью мокрого скруббера являются кольцевой трубопровод, от которого выходят трубы со встроенными опрыскивателями. Трубы с опрыскивателями размещены таким способом, чтобы вода покрывала все сечение скруббера.
Принцип очистки заключается в том, что капли воды из опрыскивателей движутся противотоком доменного газа. Частицы пыли увлажняются водой и опускаются в нижнюю конусную часть скруббера в виде шлама. Этот процесс позволяет устранить 80–90% пыли. Газ от скруббера трубопроводом поступает в трубы Вентури. Труба Вентури состоит из конфузора, в котором повышается скорость газа и подается распыленная вода, патрубка, где пыль осаждается на капли воды, и из диффузора, в котором проходят процессы коагуляции и понижение скорости потока. Вследствие понижения скорости газа частицы пыли гравитацией осаждаются в нижней части.
Коэффициент полезного действия трубы Вентури составляет 96–98% при удалении частиц средним диаметром 1–2 μм. Высокодисперсные частицы пыли улавливаются в широком диапазоне ее концентрации в газе (от 0,05–100 г/м3).
При режиме тонкой очистки от высокодисперсной пыли скорость потока в патрубке должна составлять от 100–150 м/с и расход воды от 0,5–1,5 л. При этом потери давления в трубе Вентури составляют 10–20 кПа.
В случае, если труба Вентури работает только в качестве коагулятора перед последующей тонкой очисткой (с применением электрофильтра), или служит только для улавливания частиц с размером 5–10 μм, скорость тока в патрубке можно понизить на 50–100 м/с.
Чистый доменный газ из труб Вентури по трубопроводу подается в дроссельную группу, где устанавливается требуемое давление газа. Газ дополнительно очищается водой, которая применяется для охлаждения клапанов в дроссельной группе. В водоотделителе, куда газ входит тангенционально, возникает вращение потока газа, вследствие чего частицы пыли осаждаются на стенах отделителя и в виде шлама стекают в нижнюю часть. Из водоотделителя в заводскую сеть выходит уже чистый и сухой доменный газ.
При мокрой газоочистке осуществляется рециркуляция воды, новая вода применяется только для возмещения потерь испаряющейся воды и воды, уносимой с частицами пыли.
Для очистки шламовой воды до сих пор применяются большие шламоотстойники (дорры).
Шлам, как отходящий продукт мокрой очистки доменного газа подвергается рециклинсу. Он используется в доменной шихте благодаря высокому содержанию оксидов железа.
В составе шлама входят тяжелые цветные металлы — преимущественно цинк и свинец, флюриды, хлориды, сульфаты. С технологической точки зрения из-за высокого содержания цветных металлов шлам очень сложно переработать. Разделением частиц на тонкие и крупные фракции можно удалить 50–60% цинка и свинца, и переработать 80% всего годового объема образующегося шлама.
Цинк крайне нежелательная примесь в технологическом процессе производства чугуна (прежде всего, он взаимодействует с футеровкой доменной печи). Для сепарации шлама в настоящее время применяются гидроциклоны. Шлам нагнетается в гидроциклон, разделяется там на два встречных вихревых потока. Более крупные частицы, содержащие железо и углерод, выдавливаются вверх (шлам с содержанием Fe), и менее крупные — цинка и свинца (шлам с содержанием Zn) в центр гидроциклона и перемещаются вверх. Шлам с содержанием Fe после водоотведения в вакуум-фильтрах возвращается обратно на агломерацию, а шлам с содержанием Zn исключается из технологического процесса.Для сепарации в настоящее время применяются гидроциклоны. Более крупные частицы, содержащие железо и углерод, выдавливаются в направлении вверх (значит шлам с содержанием Fe), и менее крупные цинка и свинца (шлам с содержанием Zn) в центр гидроциклона и поступают в направлении вверх. Шлам с содержанием Fe после водоотведения в вакуум-фильтрах вращается обратно, и шлам с содержанием Zn после водоотведения на шламо-прессе исключен из технологического процесса.
Глава 2. ОСОБЕННОСТИ ДОМЕННОГО ПРОЦЕССА И СОСТАВ ВЫБРОСОВ
Основным продуктом доменной плавки является чугун, а побочными- шлак и доменный (колошниковый) газ. В среднем при сгорании 1 т сухого кокса образуется 3400 м куб. доменного газа со средней теплотой сгорания 3.96 МДж/м куб. Пыль и газообразные выбросы из доменных печей образуются в результате сложных физических и химических процессов. Считают, что с доменным газом из печи выносятся пыль, внесенная с шихтой (образовавшияся при дроблении шихтовых материалов, в основном кокса), и пыль, появившаяся при трении столба шихты в самой доменной печи.
Масса пыли, вносимой доменными газами, составляет 20-100 кг/т чугуна. Средняя запыленность доменных газов равна 9-55 г/м куб., а при неполадках или мелкой шихте может достигать 200 г/м куб. Количество образующегося доменного газа составляет 3880 м куб./т влажного кокса, или 4000 м куб./т сухого кокса, или 2000-2500 м куб. на 1 т чугуна.
Удельные технологические выбросы с колошниковыми газами при выплавке передельного чугуна составляют, кг на 1 т чугуна: пыли-100; СО-640; О2 - 0.08-0.45.
|
Примерный состав колошникового газа |
Объемная доля в, % |
||||
|
СО2 |
CO |
CH4 |
H3 |
O2+N2 |
|
|
при работе без повышения давления и комбинированного дутья |
11.2 |
31.2 |
0.21 |
2.99 |
55.1 |
|
при работе с повышением давления и комбинированным дутьем |
11.3 |
29.0 |
0.20 |
4.30 |
55.2 |
Температура доменного газа на выходе из печи составляет обычно 300-350 градусов цельсия.
Пылегазовыделения из печи обусловлены тем, что при подаче шихты на большой конус загрузочного устройства печи давление по обе стороны конуса наобходимо выровнять, для чего неочищенный газ из межконусного пространства выводят в атмосферу.
Запыленность газа во время выхлопа составляет 250-700 г/м куб. Удельный выброс пыли достигает 4 кг на 1 т чугуна при основном режиме работы печи. кроме того, пылевыделение происходит при каждом ссыпании скипа в приемную воронку. Для печей вместимостью 930-2700 м куб. выбросы пыли и оксида углерода (2) составляют соответственно 0.17-0.60 и 5-19 т/сут. Химический состав пыли изменяется в широких пределах. Например, при выплавке передельного чугуна и работе с повышенным давлением на колошнике печи пыль содержит, %: SiO2- 14.6; MgO- 4.35; Al2O3- 4.35; CaO- 11.85; S- 0.74; MnO- 3.75, остальное - оксиды железа.
Радикальным решением, почти полностью исключающим выбросы пыли из межконусного пространства, является подача в межконусное пространство в момент открытия большого конуса газа под давлением, несколько превышающим давление в печи.
При этих условиях запыленный газ из печи вообще не поступает в межконусное пространство, и выхлоп газа при выравнивании давления в засыпном устройстве остается чистым. Недостатком этого способа предотвращения выбросов пыли и СО из межконусного пространства печи являются дополнительные энергозатрары, связанные со сжиганием газа, подаваемого в засыпное устройство печи.
Дисперсный состав пыли также зависит от многих факторов и может колебаться в широких пределах:
|
Размер частицы, мкм |
200 |
200-100 |
100-60 |
60-20 |
20-10 |
10-1 |
|
Массовая доля, % |
34.5 |
12.3 |
19.0 |
25 |
7.5 |
1.7 |
Кроме колошникового устройства доменной печи, источником загрязнения атмосферы доменного цеха являются рудный и литеный дворы.
На рудном дворе пыль выделяется при разгрузке вагонов, перегрузке руды, подаче руды на бункерную эстакаду и т. п. Удельное выделение пыли на рудном дворе ориентировочно принимают равным 50 кг на 1 т чугуна, а на бункерной эстакаде - 20 кг на 1 т чугуна. Концентрация пыли на рудном дворе и бункерной эстакаде колеблется от 17 до 1000 мг/м куб.
В доменных цехах существует две системы подачи сырых материалов на колошник доменной печи: скиповая, применявшаяся в старых печах, и ковейерная, применяемая в новых печах, значительно снижающая пылевыделение.
Наибольшее количество пыли выделяется в подбункерном помещении, где происходит выгрузка сырых материалов в вагон-весы. Концентрация пыли в воздухе подбункерных помещений достигает 500 мг/м куб., в связи с чем на многих заводах кабину машиниста вагон-весов приходится герметизировать. В подбункерных помещениях, оборудованных конвейерами, аспирационной системой отсасывается около 2.5 кг пыли на каждую тонну чугуна. После очистки в атмосферу выбрасывается в среднем около 90 г пыли на 1 т чугуна. На литейном дворе пыль и газы выделяются в основном от леток чугуна и шлака, желобов участков слива и ковшей. Удельные выходы вредных веществ на 1 т чугуна составляют: 400-700 г пыли, 0.7-1.15 кг СО, 120-170 г SO2. Максимальное количество пыли и газов выбрасывается во время выпуска чугуна и шлака. Пыль и газы удаляются частично через фонари литейного двора (около 160 г пыли на 1 т чугуна), частично с помощью аспирационных систем с очисткой пыли перед выбросом в атмосферу преимущественно в групповых циклонах.
Средняя концентрация пыли в период выпуска составляет 150-1500 мг/м куб.; максимальная концентрация наблюдается над главным желобом и ковшом для чугуна.
Средняя концентрацияя СО составляет, мг/м куб.: у чугунной летки - 22...1250; у шлаковой летки - 11...680; на уровне фурм - 15...884; у кольцевого воздухопровода - 11...5000.
Содержание СО на рабочих местах в период выпуска чугуна составляет 125-250 мг/м куб. Наибольшая концентрация наблюдается в момент выпуска чугуна и шлака у леток и поворотных желобов.
При выпуске горячего шлака из домны сера реагирует с кислородом воздуха с образованием SO2. Этот газ выделяется от шлаковых леток, желобов и шлаководов; средняя концентрация SО2 на этих участках в период выпуска шлака достигает 30мг/м куб.
Валовые выбросы пыли, оксида углерода (2) и оксида серы (4) на литейных дворах типовых доменных печей различного объема приведены в таблице 2.
Выпущенные из печи продукты плавки направляются на дальней шую переработку: чугун - на разливку в чушки на разливочной машине, шлак - на грануляцию, доменный газ - на очистку.
При разливке чугуна в помещении разливочных машин выделяется пыль и СО. Аспирация и очистка обычно не предусмотрены. Через аэрационные фонари выделяется в среднем 40 г пыли и 60 г СО на 1 т разлитого чугуна.
В последнее время все газовые выбросы литейного двора крупных печей стремятся объединять и направлять их на очистку в электрофильтры. Общее количество отсасываемого газа у крупных печей достигает 1 млн м куб./ч. Чтобы уменьшить его, все системы отсоса газа от источников пылегазовыделенийснабжают дроссельными клапанами, позволяющими по мере надобности дистационно включать необходимое в данный момент укрытие (зонт).

Пыль колошниковая и от установок аспирации. Колошниковая пыль - давно известный металлургам материал и как вторичное сырье применяется с появлением процессов окускования, брикетирования, агломерации, производства окатышей и гранул.
Ценность этого материала обусловлена близостью его химического состава составу доменной шихты, но по причине высокого содержания углерода и дисперсности он плохо окомковывается, что до поры до времени сдерживало его применение при производстве агломерата. В настоящее время металлургами в той или иной степени решены проблемы использования колошниковой пыли в составе аглошихты, хотя некоторые специалисты считают, что по указанным выше причинам значительная часть пыли не попадает в состав аглоспека, уносится с аглогазами и опять переходит в шлам.
В настоящее время в составе аглошихты доля вторичных продуктов - шлама и колошниковой пыли установок аспирации - составляет 80 – 100 кг/т агломерата.
Простой расчет, а также практика ТЧМ (попытки использования шламов до 150 кг/т агломерата) показывают, что дальнейшее увеличение количества побочных продуктов в аглошихте без надлежащей технологической подготовки приводит к резкому снижению его производства, а также уменьшению прочности агломерата и, как следствие, увеличению в нем количества мелочи и повышенному пылевыделению на перегрузках.
Производство и использование металлургических брикетов. Производство чугуна технологически сопровождается образованием значительного количества различных отходов, около 80% которых составляют шлаки и остальное - шламы, пыли и прочие отходы. Как правило, выход аглодоменного шлама и колошниковой пыли составляет 20-50 кг/т продукции.
Разработанная и внедренная на ТЧМ технология использования аглодоменного шлама и колошниковой пыли при производстве агломерата не позволяет утилизировать указанные отходы в полном объеме.
Причина
– ограничения, связанные с ухудшением
технологических свойств агломерата
при расходе шлама и пыли свыше 100 кг/т
агломерата.
Необходимость утилизации
ранее накопленных в отстойниках запасов
шлама, а также его текущих объемов
требовала поиска новых решений вовлечения
вторичных железосодержащих ресурсов
в состав доменной
шихты.
Глава 3. ВЫДЕЛЕНИЕ ГЕРМАНИЯ ИЗ КОЛОШНИКОВОЙ ПЫЛИ ЦИНКОВЫХ ПЛАВИЛЬНЫХ ПЕЧЕЙ
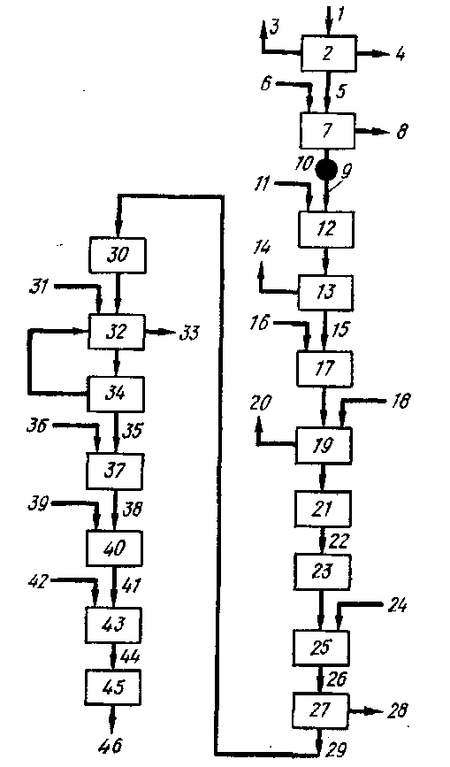
Наиболее целесообразным является выделение германия при переработке германийсодсржащего осадка, получаемого при высаживании цинковой пылью и отделяемого от кадмийсодержащего раствора. Производство германия может рассматриваться в качестве побочного процесса получения кадмия, если получение кадмия является основным процессом.
Схема на рис.1 основана главным образом на данных статьи Томпсона и Мусгрейва, напечатанной в 1952 г. Принципиально процесс не изменен, только использованы некоторые дополнительные технические данные из современной практики. Процесс, в соответствии с рис. 64, начинается с улавливания германиево- и кадмийсодержащих дымов, образующихся в процессе обжига и плавления при переработке рудных концентратов на основе сульфида цинка,
Подсистема выделения германия формируется на стадии, когда после первичной обработки дымной пыли германийсодержащий осадок отделяется от кадмийсодержащего раствора. Частичное осаждение соединений из раствора достигается путем добавления к нему цинковой пыли в количестве достаточном для высаживания меди и германия без выделения соединений кадмия.
Другие примеси, например мышьяк, также осаждаются вместе с медью, и германием. С этого момента дальнейшая обработка осадка с содержанием германия 1 % всегда протекает одинаково независимо от его происхождения — из отходов или колошниковой пыли производства цинка или из золы, получаемой при сгоранииугля. Шлам, содержащий германий, снова растворяется в серной кислоте н концентрация германия увеличивается при повторном осаждении. Полученный концентрат германия высушивается, прокаливается и растворяется в концентрированной соляной кислоте.
Полученный концентрат германия высушивается, прокаливается и растворяется в концентрированной соляной кислоте.
Получающиеся при этом тетрахлорид германия и треххлористый мышьяк отгоняются от раствора и направляются на дальнейшую очистку. Очистка проводится путем многократной перегонки четыреххлористого германия, гидролиза водой,

Подсистема выделения германия в виде побочного продукта: 1— руда (сульфид цинка с содержанием германия 0,01—0,015%); 2 — обжиг и спекание рудного концентрата; 3 — SO, иа завод по производству серной кислоты; 4 — оксид цинка Для дальнейшего производства; 5 — дым; 6 — вода, серная кислота; 7 — сбор, выщелачивание и фильтрация кадмиево-германиевого раствора; 8 — сульфат свинца на плавление; 9 — отделение кадмиево-германиевого раствора; 10 — точка отделения; // — цинковая пыль; 12 — осаждение германия (вместе с медью, мышьяком и другими примесями в небольших количествах); 13 — фильтрация; 14 — раствор кадмия в дальнейшее производство; 15 — осадок (1 % Ge); 16 — серная кислота; 17 — повторное растворение; 18 — цинковая пыль; 19 — осаждение; 20 — бедный кадмием раствор в цикл получения кадмия; 21 — фильтрация; 22 — концентрат германия (10—15 %); 23 — высушивание и прокаливание; 24 — концентрированная соляная кислота; 25 — растворение; 26 — тетрахлорид германия; 27 — перегонка; 28 — отработанный раствор; 29 — неочищенный тетрахлорид германия (с примесями мышьяка и др. веществ); 30 — Фракционная перегонка; 31 — медь; 32 — нагрев с вертикальным холодильником; 33 — арсенид меди; 34 — перегонка; 35 — чистый тетрахлорид германия; 36 — вода; 37 — гидролиз GefOH)^ фильтрование, вакуумная сушка; 38 — чистый диоксид германия; 39 — водород; 40 — восстановление водородом в трубчатой печи; 41 — порошок германия; 42 — азот или аргон; 43 — плавление и отливка в формы (1000 °С); 44 — стержни из германия; 45 — повторная плавка и кристаллизация (зонная плавка); 46 — высокочистый германий для целей электроники ( <1 ррт примесей) и прокаливанием с образованием чистого диоксида германия. Металлический германий получают восстановлением диоксида германия водородом в трубчатых печах.
Полученный металлический германий в порошкообразном состоянии подвергается плавке и разливается в формы. Плавление проводится в атмосфере инертного газа _для предотвращения окисления. На этой стадии металл не обладает достаточной чистотой для использования в электронной промышленности. Дополнительная очистка проводится методом зонной плавки.