Газификация микрорайона Восточный
Содержание
Введение
1. Краткая характеристика объекта газоснабжения
2. Определения расчетных расходов газа
3 Методики определения диаметров газораспределительных сетей
3.1 Расчет тупиковых разветвленных газовых сетей среднего и высокого давления1
3.2 Расчет тупиковых разветвленных газовых сетей низкого, высокого и среднего давлений методом оптимальных диаметров
4. Выбор типа ГРП и его оборудования
5. Производство испытаний и приемка в эксплуатацию распределительных газопроводов
5.1 Испытания газопроводов низкого давления
5.2 Испытания газопроводов среднего и высокого давления
5.3 Приемка в эксплуатацию
Список использованных источников
Введение
Стремительное развитие современной промышленности привело к резкому изменению структуры топливного баланса промышленно развитых стран. К началу 80-х годов доля нефти и газа в топливном балансе выросла до 60 - 80%, и в ближайшие десятилетия отклонения от этой тенденции не предполагается. Необходимость транспортирования огромных количеств нефти и газа привела к бурному развитию трубопроводного транспорта, как самого экономически эффективного. К началу 90-х годов по трубопроводам ежегодно прокачивалось около 1500 млрд. м3 природного газа.
Трубопроводы становятся все более заметным элементом инфраструктуры. Сформировалась и быстро развивается новая отрасль транспорта трубопроводная, которая в настоящее время обеспечивает более 2/3 всех перевозок топлива в стране. Она объединяет сети магистральных нефте- и газопроводов, общей протяженностью более 240 тысяч км. Только за первую половину 80-х годов прирост трубопроводной сети составил около 40 тыс. км, а это, учитывая интенсификацию ее параметров, эквивалентно протяженности всех трубопроводов, эксплуатировавшихся в стране в конце 1970 года. В настоящее время трубопроводы обеспечивают практически весь транспорт природного газа.
Газовая промышленность, как самостоятельная отрасль народного хозяйства, возникла в годы Великой Отечественной войны на базе открытых газовых месторождений Поволжья и Коми АССР.
В эксплуатируемую, в настоящее время, систему газоснабжения входит более 70 тыс. км магистральных газопроводов высокого и среднею давления и более сотни месторождений газа.
С каждым годом все отчетливее видна возрастающая роль трубопроводного транспорта в развитии народного хозяйства. Трубопроводы способствовали коренной интенсификации транспорта, прежде всего на нефтегазодобывающих предприятиях, нефтебазах и газохранилищах, нефтехимических и химических производствах, а в последние годы также на предприятиях сельского хозяйства.
Для обеспечения надежного и бесперебойного газоснабжения крупных потребителей, а также обеспечения сельских жителей природным газом в небольших населенных пунктах, удаленных от магистральных газопроводов, строятся газопроводы среднего давления небольшой протяженности.
Планами газификации охвачено большинство сельскохозяйственных районов Республики Башкортостан. Использование природного газа в сельскохозяйственном производстве ведет к значительному росту производительности труда и снижению себестоимости сельскохозяйственной продукции, а также к росту объемов производства сельскохозяйственной продукции.
1. Краткая характеристика объекта газоснабжения
Подача газа от газопровода высокого давления непосредственно к потребителям проектируется через газораспределительные пункты (ГРП), после которых давление газа понижается до заданного значения.
В данной курсовой работе необходимо определить расчетные расходы газа и диаметры газораспределительной сети низкого давления в микрорайоне «Восточный». Данный микрорайон состоит из 138 одноквартирных жилых домов.
Газовое оборудование жилых домов, включает уличные газопроводы, а также газовые приборы и установки для сжигания газа: 138 четырехкомфорочных газовых плит, 138 котлов для водяного отопления бытовых помещений и 69 проточных водонагревателя.
Природный газ подается в город по магистральному газопроводу, который целесообразно эксплуатировать при максимальной проектной пропускной способности. Фактическое потребление газа характеризуется резкой неравномерностью, связанной с изменением погоды, специфическими особенностями некоторых производств, укладом жизни населения и др.
Сезонная неравномерность потребления газа требует аккумулирования больших количеств газа в летний период и отпуск его потребителям в холодный зимний период года. Единственным приемлемым способом создания таких запасов газа является его хранение в подземных хранилищах, которые могут быть созданы в истощенных нефтяных и газовых месторождениях, а также в водяных пластах. Исходные данные для расчета (задание на курсовое проектирование):
1. Геометрия сети определяется по схеме микрорайона «Восточный»;
2. Давление газа (абс.) на выходе ГРП = 3000 Па;
3. Давление газа перед потребителями Рк =1800Па;
4. Газ природный с плотностью р = 0,725 кг/м3.
2. Определения расчетных расходов газа
Потребление газа в городе различными потребителями зависит от многих факторов. Каждый потребитель имеет свои особенности и потребляет газ по-своему. Между ними существует определенная неравномерность в потреблении газа. Учет неравномерности потребления газа осуществляется путем введения коэффициента одновременности, который обратно пропорционален периоду, в течение которого расходуется годовой ресурс газа при максимальном его потреблении.
Определим расчетные расходы газа, при условии, что газовое оборудование имеет следующий часовой расход газа:

Полученные значения сведем в таблицу.
Таблица 1 - Определение расчетных расходов газа
|
№ уч-ка |
Ассортимент приборов |
Кол-во домов, п |
Длина участка, l.m |
Коэф-т одновременности, К |
Qn, м-'/ч |
qt, М '/Ч |
Q>p>=0,5Q>n>+Q>T>, м3/ч |
|
1 |
2 |
3 |
4 |
5 |
6 |
7 |
8 |
|
0-1 |
ПГ4+АОГВ+ВПГ |
0 |
47,85 |
0 |
0 |
Q>T>,i-2.+Qn,M5)-QT>(>i-i5)=471,5238 |
471,5238 |
|
1-2 |
ПГ4+АОГВ+ВПГ |
0 |
21,75 |
0 |
0 |
QT(2-3,+Qnl2-l7.~Q>T(>2-17)=421,8588 |
421,8588 |
|
2-3 |
ПГ4+АОГВ+ВПГ |
0 |
82,65 |
0 |
0 |
Q>fl3>-4)+Qn,.i-i4)=273,0048 |
273,0048 |
|
3-4 |
ПГ4+АОГВ+ВПГ |
0 |
17,4 |
0 |
0 |
Q>Ti>4->5>,+Qn.4-n>=242,496 |
242,496 |
|
4-5 |
ПГ4+АОГВ+ВПГ |
0 |
95,7 |
0 |
0 |
От(5-6)+0т|5-10)+0„|5-!0!=222,201 |
222,201 |
|
5-6 |
ПГ4+АОГВ+ВПГ |
0 |
17,4 |
0 |
0 |
Q>T>,6-7,+Qn,6-7,= l 1 1,1005 |
111,1005 |
|
6-7 |
ПГ4+АОГВ+ВПГ |
9 |
247,95 |
34,6005 |
34,6005 |
От[7-«)+0„(7-8>=76,5 |
93,80025 |
|
7-8 |
ПГ4+АОГВ+ВПГ |
10 |
278,4 |
38,25 |
38,25 |
Q>n(8>.>9>,=38.25 |
57,375 |
|
8-9 |
ПГ4+АОГВ+ВПГ |
10 |
291,45 |
38,25 |
38,25 |
0 |
19,125 |
|
5-10 |
ПГ4+АОГВ+ВПГ |
10 |
239,25 |
38,25 |
38,25 |
Q>T>(io-m+Qmio-in=72,8505 |
91,9755 |
|
10-11 |
ПГ4+АОГВ+ВПГ |
9 |
278,4 |
34,6005 |
34,6005 |
Q,,,,, -и ,=38,25 |
55,55025 |
|
11-12 |
ПГ4+АОГВ+ВПГ |
10 |
291,45 |
38,25 |
38,25 |
0 |
19,125 |
|
4-13 |
ПГ4+АОГВ+ВПГ |
5 |
139,2 |
20,295 |
20,295 |
0 |
10,1475 |
|
3-14 |
6 домов ПГ4+АО1 В+ВП 2 дома ПГ4+АОГВ |
8 |
187,05 |
30,5088 |
30,5088 |
0 |
15,2544 |
|
1-15 |
ПГ4+АОГВ |
9 |
247,95 |
26,217 |
26,217 |
Q>n(IM6>,=23,448 |
36,5565 |
|
15-16 |
ПГ4-+АОГВ |
8 |
213,5 |
23,448 |
23.448 |
0 |
11,724 |
|
2-17 |
ПГ4+АОГВ |
3 |
152,25 |
9,225 |
9,225 |
Qnl]7-l8l+QT,17-№4?Tll7-2.M=139,629 |
144,2415 |
|
17-18 |
ПГ4+АОГВ |
7 |
191.4 |
20,601 |
20,601 |
• Q>n(>,>8>.,,,=41,85 |
52.1505 |
|
18-19 |
ПГ4+АОГВ |
0 |
17,4 |
0 |
0 |
QniH-20^ qtoo-h^uss |
41,85 |
|
19-20 |
ПГ4+АОГВ |
4 |
108,75 |
12,06 |
12,06 |
0 |
6,03 |
|
19-21 |
ПГ4+АОГВ |
0 |
17,4 |
0 |
0 |
Qn,>3>0->3>]>)>+Or>l>2,-24>1>=29,79 |
29,79 |
|
21-22 |
ПГ4+АОГВ |
0 |
17,4 |
0 |
0 |
Qn(22-23l= 14,895 |
14,895 |
|
22-23 |
ПГ4+АОГВ |
5 |
117,45 |
14,895 |
14,895 |
0 |
7,4475 |
|
21-24 |
ПГ4+АОГВ |
5 |
121,8 |
14,895 |
14.895 |
0 |
7,4475 |
|
17-25 |
ПГ4+АОГВ |
0 |
91,35 |
0 |
0 |
Qn,25-26!+QT,25-27,=77,178 |
77,178 |
|
25-26 |
ПГ4+АОГВ |
8 |
191,4 |
23,448 |
23,448 |
0 |
11,724 |
|
25-27 |
ПГ4+АОГВ |
0 |
17,4 |
0 |
0 |
Qnl27-2«,+Qni21-29)+QT>1>27-29)=53,73 |
|
|
27-28 |
ПГ4+АОГВ |
7 |
182,7 |
20,601 |
20,601 |
0 |
10,3005 |
|
27-29 |
ПГ4+АОГВ |
2 |
87 |
6,342 |
6,342 |
Qn(29-30)+ Qrl29,10r 26,787 |
29,958 |
|
29-30 |
ПГ4+АОГВ |
1 |
78,3 |
3,339 |
3,339 |
Q>n(3>o-3i.= 23,448 |
25,1175 |
|
30-31 |
ПГ4+АОГВ |
8 |
182,7 |
23,448 |
23,448 |
0 |
11,724 |
|
Сумма |
471,52 |
471,523 |
3. Методики определения диаметров газораспределительных сетей
Система газоснабжения городов и населенных пунктов рассчитывается на максимальный часовой расход газа (м3/ч), который определяется
(1)
где
-
коэффициент часового максимума
(коэффициент перехода от годового
расхода к максимальному часовому расходу
газа);
Q>y> - годовой расход газа (определяется по нормам расхода теплоты), м3/год. Значение коэффициента часового максимума расхода газа на хозяйственно-бытовые нужды принимается в зависимости от численности населения, снабжаемого газом.
Для отдельных жилых домов и общественных зданий расчетный часовой расход газа определяется по сумме номинальных расходов газа газовыми приборами с учетом коэффициентов одновременности их действия
(2)
где K>sim> - коэффициент одновременности, значение которого определяется по таблице 2;
q>ном> - номинальный расход газа прибором или группой приборов, принимаемой по паспортным данным или техническим характеристикам приборов, м3/ч;
n>i> - число однотипных приборов или групп приборов;
m - число приборов или групп приборов (при установке в квартирах приборов одного типа - это число квартир).
Гидравлический расчет газопроводов следует выполнять, как правило, на электронно-вычислительной машине (ЭВМ) с оптимальным распределением расчетной потери давления между участками сети.
При невозможности или нецелесообразности выполнения расчета на ЭВМ (отсутствие соответствующей программы, расчет отдельных участков газопровода и т.п.), гидравлический расчет допускается выполнять по приведенным в СНиП 42-01-2002 формулам или номограммам, составленным по этим формулам.
Расчетные потери давления газа в распределительных газопроводах низкого давления принимаются не более 1800 Па и распределяются между уличными, дворовыми и внутренними газопроводами (1200 Па - для уличных и внутриквартирных и 600 Па - для дворовых и внутренних газопроводов). Потери давления в местных сопротивлениях (колена, тройники, запорная арматура и др.) учитываются путем увеличения расчетной длины газопровода на 5... 10%.
При выполнении гидравлического расчета надземных и внутренних газопроводов с учетом степени шума, создаваемого движением газа, следует принимать скорости движения газа не более 7 м/с для газопроводов низкого давления, 15 м/с для газопроводов среднего давления, 25 м/с для газопроводов высокого давления.
Примечание:
1. Для квартир, в которых устанавливается несколько однотипных газовых приборов, коэффициент одновременности следует принимать как для такого же числа квартир с этими газовыми приборами.
2. Значения коэффициента одновременности для емкостных водонагревателей, отопительных котлов или отопительных печей рекомендуется принимать равным 0,85 независимо от числа квартир.
Таблица 2 - Значение коэффициента одновременности K>sim> для жилых домов
|
Число квартир |
Коэффициент одновременности K>s>j>m> в зависимости от установки в жилых домах газового оборудования |
|||
|
Плита 4-конфорочная |
Плита 2-конфорочная |
Плита 4-конфорочная и газовый проточный водонагреватель |
Плита 2-конфорочная и газовый проточный водонагреватель |
|
|
1 |
2 |
3 |
4 |
5 |
|
1 |
1 |
1 |
0,700 |
0,750 |
|
2 |
0,650 |
0,840 |
0,560 |
0,640 |
|
3 |
0,450 |
0,730 |
0,480 |
0,520 |
|
4 |
0,350 |
0,590 |
0,430 |
0,390 |
|
5 |
0,290 |
0,480 |
0,400 |
0,375 |
|
6 |
0,280 |
0,410 |
0,392 |
0,360 |
|
7 |
0,270 |
0,360 |
0,370 |
0,345 |
|
8 |
0,265 |
0,320 |
0,360 |
0,335 |
|
9 |
0,258 |
0,289 |
0,345 |
0,320 |
|
10 |
0,254 |
0,263 |
0,340 |
0,315 |
|
15 |
0,240 |
0,242 |
0,300 |
0,275 |
|
20 |
0,235 |
0,230 |
0,280 |
0,260 |
|
30 |
0,231 |
0,218 |
0,250 |
0,235 |
|
40 |
0,227 |
0,213 |
0,230 |
0,205 |
|
50 |
0,223 |
0,210 |
0,215 |
0,193 |
|
60 |
0,220 |
0,207 |
0,203 |
0,186 |
|
70 |
0,217 |
0,205 |
0,195 |
0,180 |
|
80 |
0,214 |
0,204 |
0,192 |
0,175 |
|
90 |
0,212 |
0,203 |
0,187 |
0,171 |
|
100 |
0,210 |
0,202 |
0,185 |
0,163 |
|
400 |
0,180 |
0,170 |
0,150 |
0,135 |
3.1 Расчет тупиковых разветвленных газовых сетей среднего и высокого давления
Расчет по традиционной методике сводится к определению необходимых диаметров и проверке заданных перепадов давлений. Расчет можно производить по формулам или номограммам, которые значительно упрощают все вычисления.
Номограммы построены в координатах
Q>P>=f(A>cp>, D), (3)
(4)
где L - длина участка газопровода;
Р>н>, Р>к> - абсолютное начальное и конечное давление соответственно в начале и конце участка газопровода;
D - диаметр участка газопровода.
Порядок расчета
1. Начальное давление в газовой сети высокого или среднего давления определяется режимом работы газорегуляторной станции (ГРС), конечное - рабочим давлением на входе в газорегуляторные пункты (ГПР) (сетевые или объектовые).
2. Выбирается наиболее удаленная точка распределительных газопроводов и определяется общая длина по выбранному основному направлению.
3. При расчетах газораспределительных сетей по традиционному методу применяется правило постоянного перепада квадратов давления на единицу длины газопровода

Расчетная длина выбранного направления с учетом потерь на местные сопротивления
(5)
где l>i> - геометрическая длина участка газопровода.
4. Определяются расчетные расходы газа для каждого сосредоточенного отбора газа и для участков газопровода.
5. По величинам А>ср> и Q>p> по номограммам определяются диаметры отдельных участков газопровода. Диаметры округляются по ГОСТ обычно в большую сторону.
Для стандартных диаметров при известных расходах газа находятся действительные значения А>ср> , затем разность квадратов давлений.
6. Производится расчет давлений. Так как давление на выходе из ГРС известно, то расчет можно вести с начала газораспределительной сети. При давлениях Р>к> значительно больших заданных уменьшают диаметры участков, расположенных ближе к началу основного направления.
7. После расчета давлений в узлах основного направления приступают к расчету ответвлений, начиная со второго пункта рассмотренной методики. При этом за начальное давлении на ответвлении принимается давление в узле, из которого оно исходит.
3.2 Расчет тупиковых разветвленных газовых сетей низкого, высокого и среднего давлений методом оптимальных диаметров
В специальной литературе нет обоснованных рекомендаций для осуществления корректировки диаметров участков как для случая превышения расчетного перепада давления, так и для случая его неполного использования. Метод расчета оптимальных диаметров основан на оптимальном распределении перепада давления. В качестве расчетных формул для гидравлического расчета газопроводов были приняты практические зависимости, до настоящего времени используемые французской фирмой GAS de FRANCE. В качестве целевой функции, минимум которой обеспечивает оптимальное распределение расчетного перепада давления, избрана материальная характеристика
Порядок расчета
1. Определяются расчетные расходы газа по участкам.
2. Определяются материальные характеристики М, для всех участков.
3. Определяются параметры участков П>i>> >, при этом:
- определение параметров производится от тупиковых участков против хода газа;
- для бестранзитных участков П>i> =0;
- для участков примыкающих к бестранзитным, параметр определяется по формуле
(6)
- после определения параметров П>i> определяют показатель А для каждого участка; эту операцию следует производить от точки питания к периферии;
- зная расчетные расходы газа, длину участков и значения А, подбирают диаметр этих участков по основной расчетной формуле.
При постановке и решении любой оптимизационной задачи требуется четко выделить критерий (критерии оптимальности), назначив при этом целевую функцию.
В рассматриваемом случае в качестве критерия оптимальности выбраны минимальные затраты на строительство тупиковой газораспределительной сети (стоимость труб и работ по строительству).
Метод оптимальных диаметров может быть использован для тупиковой газораспределительной сети любой конфигурации. При этом оптимизация ведется одновременно по всем направлениям и тупиковым отводам.
Линия гидравлического уклона при использовании этого метода будет отличаться от таковой, рассчитанной по старому методу. Рассмотрим соотношение:
(7)
Представим его в следующем виде
(8)
При расчете по старому (традиционному) методу
(9)
Представим соотношения (7) и (8) на одном графике

Рисунок 1 - Сравнение распределения расчетного перепада давления между участками сети при различных методах расчета
Сравнение показывает, что при использовании метода оптимальных диаметров линия гидравлических уклонов представляет собой ломаную линию, всегда располагающуюся ниже линии гидравлических уклонов при традиционном решении.
Отсюда можно сделать следующие практические выводы, которые необходимо учитывать при традиционном методе решения:
1. Если, после выбора стандартных диаметров, конечное давление в конце расчетного направления оказалось существенно больше минимально допустимого, то можно уменьшить диаметры на начальных участках рассматриваемого направления.
2. Если же, после выбора стандартных диаметров, конечное давление в конце расчетного направления оказалось меньше минимально допустимого, то следует увеличивать диаметры на участках, расположенных ближе к концу рассматриваемого направления.
Согласно СНиП 42-01-2002 рабочее давление в сети низкого давления не должно превышать 5кПа, а в жилых домах её значение не должно быть выше 3 кПа, отсюда принимаем рабочий перепад давлений АР>Р>=1200 Па.
Расчет диаметров производим по программе Seti_ok3.bas. Результаты вычислений приведены ниже.
Результаты гидравлического расчета разветвленной газовой сети
|
Участок |
L, м |
0,мЗ/ч |
D*b, мм*мм |
Перепад Па |
|
1 2 3 4 5 б 7 8 9 10 11 12 13 14 15 16 17 18 19 20 21 22 23 24 25 26 27 28 29 30 31 |
53 24 91 19 105 19 273 306 321 263 306 321 153 206 273 234 167 211 19 120 19 19 129 134 100 211 19 201 96 86 201 |
471,5 421,9 273,0 242,5 222,2 111,1 93,8 57,4 19,1 92,0 55,6 19,1 10,1 15,3 36,6 11,7 144,2 52,2 41,8 6,0 29,8 14,9 7,4 7,4 77,2 11,7 57,7 10,3 30,0 25,1 11,7 |
219*6 159*4,5 159*4,5 159*4,5 159*4,5 108*4 108*4 89*3,5 89*3,5 108*4 89*3,5 76*3,5 57*3 57*3 76*3,5 57*3 108*4 76*3,5 76*3,5 57*3 76*3,5 57*3 57*3 57*3 89*3,5 57*3 76*3,5 57*3 76*3,5 76*3,5 76*3,5 |
31,1 56,3 96,1 16,3 76,4 28,6 299,4 362,9 53,2 278,8 342,3 121,9 80,6 224,6 331,4 159,8 403,3 487,2 29,7 25,0 16,1 20,0 39,3 40,7 204,1 143,5 53,3 108,7 81,2 53,3 32,0 |
Конечное давление по направлению 1 = 1979.8 Па
Конечное давление по направлению 2 = 1980.9 Па
Конечное давление по направлению 3 = 2719.6 Па
Конечное давление по направлению 4 = 2591.9 Па
Конечное давление по направлению 5 = 2477.7 Па
Конечное давление по направлению 6 = 1967.4 Па
Конечное давление по направлению 7 = 1917.0 Па
Конечное давление по направлению 8 = 1935.6 Па
Конечное давление по направлению 9 = 2161.7 Па
Конечное давление по направлению 10 = 2143.2 Па
Конечное давление по направлению 11 = 2085.3 Па
Начальное давление в сети Р1= 3000.0 Па
Требуемое конечное давление Р2= 1800.0 Па
Расчетный перепад давления Н0= 1200.0 Па
Массив направлений по приоритету :
|
1 |
9 |
8 |
7 |
6 |
5 |
4 |
3 |
2 |
1 |
|
2 |
12 |
11 |
10 |
5 |
4 |
3 |
2 |
1 |
|
|
3 |
13 |
4 |
3 |
2 |
1 |
||||
|
4 |
14 |
3 |
2 |
1 |
|||||
|
5 |
16 |
15 |
1 |
||||||
|
6 |
20 |
19 |
18 |
17 |
2 |
1 |
|||
|
7 |
23 |
22 |
21 |
19 |
18 |
17 |
2 |
1 |
|
|
8 |
24 |
21 |
19 |
18 |
17 |
2 |
1 |
||
|
9 |
26 |
25 |
17 |
2 |
1 |
||||
|
10 |
28 |
27 |
25 |
17 |
2 |
1 |
|||
|
11 |
31 |
30 |
29 |
27 |
25 |
17 |
2 |
1 |
4. Выбор типа ГРП и его оборудования
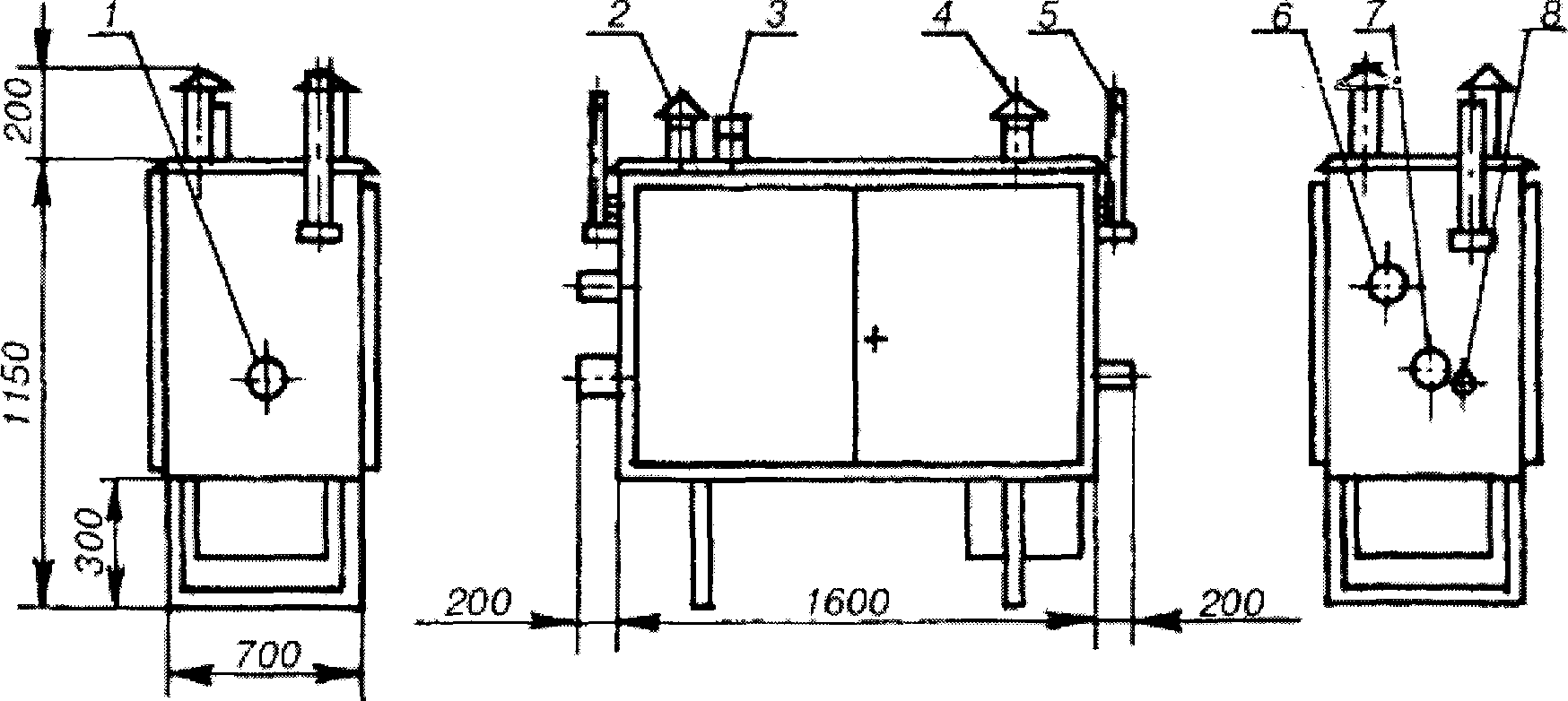
По Q=471,5238 ivr/ч выбираем шкафной газорегуляторный пункт типа ГРПШ-400-01, изготовитель ООО «Радон и К°», город Энгельс Саратовской области. В состав пункта входят:
— узел фильтра;
— линия редуцирования давления газа;
— обводная линия, байпас.

Рисунок 2 - Шкафной газорегуляторный пункт
Таблица 3 - Технические характеристики ГРПШ-400-01
|
Регулятор давления газа |
Давление газа на входе, Рвх, МПа |
Диапазон настройки выходного давления, Р>вых>, кПа |
Максимальная пропускная способность, м3/ч |
Масса, кг |
|
1 |
2 |
3 |
4 |
5 |
|
РДНК-400М |
0,6 |
Р>вых> =2-5 |
500 |
90 |

Рисунок 3 - Габаритный чертеж газорегуляторного пункта шкафного (ГРПТТТ)
1— Р>вх>; 2 — дымоход; 3 — выход клапана предохранительного сбросного; 4 — вентиляционный патрубок; 5 — продувочный патрубок; 6 — вход клапана предохранительного сбросного; 7 — Р>вых>; 8 — подвод импульса к регулятору.
Подбор оборудования ГРП производительностью 471,5238 м3/ч при избыточном давлении на входе 95 кПа и на выходе ЗкПа. Плотность газа 0,725 кг/м3, температура газа Т=276 К.
Предварительно задаемся потерями в газопроводах ГРП, кранах 1,5, предохранительном запорном клапане 3 и фильтре 2 (рисунок 3) в размере 3 кПа. В этом случае перепад давления на клапане регулятора 4 давления будет равен ДР=95-3-3=89кПа

Рисунок 4 - Расчетная схема ГРП
Абсолютное давление газа на входе и выходе регулятора давления (РД)
Р>1> =Р>и>+Р>а> =95+1 00=1 95 кПа,
Р>2>=3+100=103кПа
Режим течения газа через клапан РД

что говорит о докритическом течении газа через РД.
По полученному значению ∆Р/Р>1> =0,456 из графика [2] находим значение поправки на изменение плотности газа ε =0,772 при коэффициенте адиабаты для природного газа k=l,3-
Определим коэффициент пропускной способности РД

где ε - коэффициент, учитывающий плотности газа при движении через дроссельный орган, ε=0,772;
∆Р - перепад давления на регуляторе, ∆Р=0,089 МПа;
Р>1> - давление газа перед регулятором, Р>1> =0,195 МПа;
Т>1> - температура перед регулятором, Т>1> = 276 К;
ρ>о> - плотность газа при нормальных условиях, кг/м3;
z>1> - коэффициент сжимаемости при условии входа в регулятор давления,
z>1> =l;
Q - пропускная способность ГРП, Q=471,5238 м3/ч;
Подбираем регулятор давления с коэффициентом пропускной способности близким к расчетному k>v>=12,5. Для k>v>=22 соответствует РДНК-400М. Рассчитан на устойчивую работу при воздействии температуры окружающего воздуха от -40 °С до +60 °С и относительной влажности до 95 % при температуре +35 °С, изготовитель ЗАО «Сигнал-Прибор», г. Энгельс Саратовской области.

Рисунок 5 - Регулятор давления РДНК-400М
Определим запас его пропускной способности

т.е. пропускная способность несколько больше необходимой, что удовлетворят требованиям.
Для очистки газа примем волосяной
фильтр с D=50
мм. Его пропускная способность при
абсолютном давлении на выходе
=0,7 МПа, перепад давления
и плотность газа ρт=0,725
кг/м3 составит
QT=6000
м3/ч.
Потери давления на фильтре при заданной пропускной способности ГРП

где Р>2>=195 кПа - давление на выходе из фильтра или давление на выходе РД.
Скорость движения газа в линиях редуцирования
а) до регулятора давления б) после регулятора давления

б) после регулятора давления

где D - внутренний диаметр трубопровода, D =0,05м.
Полученные скорости высоки, т.к. при движении газа по трубам они вызывают большой шум, что недопустимо при эксплуатации. Для снижения скорости и уменьшения шума примем диаметры трубопроводов до и после регулятора давления равными 125 мм, тогда скорости составят wl =11 м/с и w2 = 21,5 м/с.
Определяем потери давления в кранах, местных сопротивлениях и в клапане ПЗК линии редуцирования.
Принимаем следующие значения коэффициентов местного сопротивления:
Таблица 4 — Местные сопротивления
|
Сопротивления |
До регулятора |
После регулятора |
|
1 |
2 |
3 |
|
Кран( |
2 |
2 |
|
ПЗК( |
5 |
- |
|
Переход на D=125 мм |
0,55 |
0,55 |
|
Итого |
7,55 |
2,55 |
Гидравлические потери составляют
а) до регулятора давления

б) после регулятора давления

Суммарные потери давления в линии редуцирования составят

Эта величина меньше предварительно принятой 3 кПа, что приводит к увеличению запаса пропускной способности регулятора давления на 60 %.
5. Производство испытаний и приемка в эксплуатацию распределительных газопроводов
Законченные строительством или реконструкцией наружные и внутренние газопроводы (далее — газопроводы) и оборудование ГРП испытываются на герметичность внутренним давлением воздухом в соответствии с требованиями СНиП 42-01.
Испытания производят после установки арматуры, оборудования, контрольно-измерительных приборов. Если арматура, оборудование и приборы не рассчитаны на испытательное давление, то вместо них на период испытаний следует устанавливать катушки, заглушки, пробки.
Надземные участки длиной до 10 м на подземных газопроводах испытываются по нормам подземных газопроводов. При совместном строительстве вводов диаметром до 100 мм с распределительными газопроводами их испытывают по нормам, предусмотренным для распределительных газопроводов.
Испытание газопроводов и оборудования ГРП и ГРУ производят по нормам испытаний на стороне входного давления газа или по частям:
- до регулятора давления — по нормам испытаний на стороне входного давления газа;
- после регулятора давления — по нормам испытаний на стороне выходного давления газа.
Испытания газопроводов паровой фазы СУГ производят по нормам, предусмотренным для испытаний газопроводов природного газа.
Для проведения испытания газопровод разделяют на участки длиной не более указанной в таблицах 27—37, ограниченные арматурой или заглушками. Арматура может быть использована в качестве ограничительного элемента, если она рассчитана на испытательное давление и имеет герметичность не ниже класса «А» по ГОСТ 9544.
Если испытываемый газопровод состоит из участков с разными внутренними диаметрами, величина диаметра определяется по формуле

где
— внутренние диаметры
участков газопровода, мм;
— длины участков газопроводов
соответствующих диаметров, м.
В таблицах 27 — 37 указывается номинальное — усредненное значение величины внутреннего диаметра для стальных, медных и полиэтиленовых труб.
Подземные газопроводы до начала испытаний после их заполнения воздухом рекомендуется выдерживать под испытательным давлением в течение времени, необходимого для выравнивания температуры воздуха в газопроводе с температурой грунта, но не менее 24 ч.
Надземные и внутренние газопроводы, газопроводы и оборудование ГРП и ГРУ до начала испытаний после их заполнения воздухом рекомендуется выдерживать под испытательным давлением в течение времени, необходимого для выравнивания температуры воздуха внутри газопроводов с температурой окружающего воздуха, но не менее 1 ч.
Газопроводы жилых, общественных и бытовых непроизводственного назначения, административных зданий испытываются на участке от отключающего устройства на вводе в здание до кранов газовых приборов и оборудования.
При установке дополнительных газовых приборов испытание новых участков газопроводов к этим приборам при их длине до 5 м допускается производить газом (рабочим давлением) с проверкой всех соединений газоиндикаторами или мыльной эмульсией.
Внутренние газопроводы котельных, общественных и бытовых зданий производственного назначения, производственных зданий следует испытывать на участке от отключающего устройства на вводе до отключающих устройств у газовых горелок.
Газопроводы обвязки резервуара СУГ при раздельном испытании их с резервуаром СУГ допускается испытывать в соответствии с требованиями настоящего раздела.
Герметичность арматуры, газопроводов и присоединительных рукавов индивидуальных баллонных установок СУГ, а также присоединительные рукава газоиспользующего оборудования и контрольно-измерительных приборов разрешается проверять рабочим давлением газа с применением газоиндикатора или мыльной эмульсии.
Манометры класса точности 0,15 рекомендуется применять для проведения испытаний газопроводов всех диаметров и давлений.
Манометры класса точности 0,4 рекомендуется применять для проведения испытаний:
- подземных (наземных) газопроводов:
низкого и среднего давления; высокого давления (св. 0,3 МПа до 0,6 МПа) в поселениях — диаметром не более 700 мм;
высокого давления (св. 0,6 МПа до 1,2 МПа) межпоселковых — диаметром не более 600 мм;
- надземных и внутренних газопроводов всех диаметров и давлений.
Манометры класса точности 0,6 рекомендуется применять для проведения испытаний:
- подземных (наземных) газопроводов:
низкого давления, среднего давления — диаметром не более 150 мм в поселениях и не более 200 мм для межпоселковых;
при давлении св. 0,3 МПа до 0,6 МПа — диаметром не более 125 мм в поселениях и не более 150 мм для межпоселковых;
при давлении св. 0,6 МПа до 1,2 МПа — не более 80 мм для поселений и не более 100 мм для межпоселковых газопроводов;
- надземных и внутренних газопроводов: низкого давления — диаметром не более 100 мм; среднего давления — диаметром не более 50 мм;
при давлении св. 0,3 МПа до 0,6 МПа — не более 40 мм в поселениях и не более 25 мм для межпоселковых.
Рекомендуется при проведении испытаний на герметичность не ограничивать максимально допустимую длину газопровода, диаметр которого не превышает значений, указанных в таблице 5.
Таблица 5
|
Рабочее давление газа, МПа |
Испытательное давление |
Максимальный диаметр газопровода (мм), длину которого можно не ограничивать при проведении испытаний, в зависимости от класса точности манометра |
||
|
0,15 |
0,4 |
0,6 |
||
|
Подземные (наземные) газопроводы |
||||
|
Низкое |
0,3 |
Не ограничивается |
||
|
0,6 |
200 |
|||
|
Среднее |
0,6 |
65 в поселениях 1 |
100 в поселениях |
80 в поселениях |
|
1,5 |
50 межпоселковый |
150 межпоселковый |
125 межпоселковый |
|
|
Высокое |
0,75 |
50 в поселениях |
100 в поселениях |
50 в поселениях |
|
1,5 |
100 межпоселковый |
80 межпоселковый |
80 межпоселковый |
|
|
Надземные и внутренние газопроводы |
До 0,3 |
50 |
||
|
0,45 |
50 межпоселковый |
25 межпоселковый |
||
|
0,75 |
25 межпоселковый |
Длина ограничена (см. таблицы 36, 37) |
5.1 Испытания газопроводов низкого давления
Максимальную длину подземных (наземных) газопроводов низкого давления в поселениях для проведения испытаний при величине испытательного давления 0,6 МПа рекомендуется принимать по таблице 6.
Таблица 6
|
Класс точности манометра |
Рекомендуемая максимальная длина, км, подземного газопровода при номинальном диаметре (мм) |
|||||||
|
250 |
300 |
350 |
400 |
500 |
600 |
700 |
800 и более |
|
|
0,15 |
13,3 |
9,2 |
6,7 |
5,2 |
3,4 |
2,4 |
1,8 |
1,0 |
|
0,4 |
5,0 |
3,4 |
2,5 |
2,0 |
1,3 |
1,0 |
1,0 |
1,0 |
|
0,6 |
3,3 |
2,3 |
1,7 |
1,3 |
— |
— |
— |
— |
Примечание. Знак «— » означает, что применение манометров класса точности 0,6 для испытания данных газопроводов не рекомендуется.
Максимальную длину надземных и внутренних газопроводов низкого давления в поселениях для проведения испытаний рекомендуется принимать по таблице 7.
Таблица 7
|
Класс точности манометра |
Рекомендуемая максимальная длина, км, надземного и внутреннего газопроводов при номинальном диаметре (мм) |
|||||
|
65 |
80 |
100 |
125 |
150 |
200 и более |
|
|
0,15 |
11,5 |
8,0 |
5,3 |
3,0 |
2,3 |
1,0 |
|
0,4 |
4,3 |
3,0 |
2,0 |
1,2 |
— |
— |
|
0,6 |
2,9 |
2,0 |
1,3 |
1,3 |
— |
— |
Примечание. Знак « — » означает, что применение манометров указанного класса точности для испытания данных газопроводов не рекомендуется.
5.2 Испытания газопроводов среднего и высокого давления
При использовании манометров класса точности 0,15 рекомендуется принимать максимальную длину испытуемого участка для газопроводов в поселениях по таблице 8, а для межпоселковых — по таблице 9.
Таблица 8
|
Рабочее давление газа, МПа |
Испытательное давление, МПа |
Рекомендуемая максимальная длина, км, подземного газопровода в поселении при номинальном диаметре (мм) |
|||||||
|
65 |
80 |
100 |
125 |
150 |
200 |
250 |
300 |
||
|
0,005-0,3 |
0,6 |
16,8 |
11 |
6,4 |
4,8 |
2,6 |
1,6 |
1,1 |
|
|
1,5 |
15,3 |
10 |
5,9 |
4,4 |
2,3 |
1,5 |
1,0 |
||
|
0,3-0,6 |
0,75 |
16,6 |
11,7 |
7,7 |
4,5 |
3,4 |
1,8 |
1,1 |
1,0 |
|
1,5 |
12,5 |
8,8 |
5,8 |
3,4 |
2,5 |
1,3 |
1,0 |
1,0 |
|
|
0,6-1,2 |
1,5 |
67 |
47 |
3,1 |
1,8 |
1,4 |
1,0 |
1,0 |
1,0 |
Примечание. Для газопроводов среднего и высокого давления диаметром более 300 мм максимальная длина испытуемого участка равна 1,0 км.
Таблица 9
|
Рабочее давление газа, МПа |
Испытательное давление, МПа |
Рекомендуемая максимальная длина, км, подземного межпоселковогогазопровода при номинальном диаметре (мм) |
||||||
|
125 |
150 |
200 |
250 |
300 |
350 |
400 |
||
|
0,005-0,3 |
0,6 |
16,4 |
11,4 |
8,4 |
6,5 |
|||
|
1,5 |
15,0 |
10,4 |
7,6 |
5,0 |
||||
|
0,3-0,6 |
0,75 |
17,9 |
11,4 |
7,9 |
5,8 |
5,0 |
||
|
1,5 |
13,5 |
8,6 |
6,0 |
5,0 |
5,0 |
|||
|
0,6-1,2 |
1,5 |
17,9 |
13,6 |
7,3 |
5,0 |
5,0 |
5,0 |
5,0 |
Примечание. Для газопроводов среднего и высокого давления диаметром более 400 мм максимальная длина испытуемого участка равна 5,0 км.
При использовании манометров класса точности 0,4 рекомендуется принимать максимальную длину испытуемого участка для газопроводов в поселениях по таблице 10, а для межпоселковых — по таблице 11.
Таблица 10
|
Рабочее давление газа, МПа |
Испытательное давление, МПа |
Рекомендуемая максимальная длина, км, подземного газопровода в поселении, при номинальном диаметре (мм) |
||||
|
65 |
80 |
100 |
125 |
150 |
||
|
0,005-0,3 |
0,6 |
2,4 |
1,8 |
|||
|
1,5 |
2,2 |
1,7 |
||||
|
0,3-0,6 |
0,75 |
1,7 |
1,3 |
|||
|
1,5 |
1,3 |
1,0 |
||||
|
0,6-1,2 |
1,5 |
2,5 |
1,8 |
1,2 |
1,0 |
1,0 |
Примечание. Для газопроводов среднего и высокого давления диаметром более 150 мм максимальная длина испытуемого участка равна 1,0 км.
Таблица 11
|
Рабочее давление газа, МПа |
Испытательное давление, МПа |
Рекомендуемая максимальная длина, км, подземного межпоселковогогазопровода при номинальном диаметре (мм) |
||||
|
100 |
125 |
150 |
200 |
250 |
||
|
0,005-0,3 |
0,6 |
9,6 |
6,2 |
|||
|
1,5 |
8,8 |
5,6 |
||||
|
0,3-0,6 |
0,75 |
16,7 |
12,6 |
6,7 |
5,0 |
|
|
1,5 |
12,6 |
9,5 |
5,0 |
5,0 |
||
|
0,6-1,2 |
1,5 |
11,7 |
6,8 |
5,1 |
5,0 |
5,0 |
Примечания:
1. Для газопроводов среднего давления диаметром св. 250 мм максимальная длина испытуемого участка равна 5,0 км.
2. Для газопроводов высокого давления (св. 0,3 МПа до 0,6 МПа) диаметром св. 200 мм до 800 мм максимальная длина испытуемого участка равна 5,0 км.
3 Для газопроводов высокого давления (св. 0,6 МПа до 1,2 МПа) диаметром св. 200 мм до 400 мм максимальная длина испытуемого участка равна 5,0 км, а диаметром 500 мм и 600 мм — 4,0 км.
При использовании манометров класса точности 0,6 рекомендуется принимать максимальную длину испытуемого участка для газопроводов в поселениях по таблице 12, а для межпоселковых — по таблице 13.
Таблица 12
|
Рабочее давление газа, МПа |
Испытательное давление, МПа |
Рекомендуемая максимальная длина, км, подземного газопровода в поселении при номинальном диаметре (мм) |
||||
|
65 |
80 |
100 |
125 |
150 |
||
|
0,005-0,3 |
0,6 |
2,8 |
1,6 |
1,2 |
||
|
1,5 |
2,5 |
1,5 |
1,1 |
|||
|
0,3-0,6 |
0,75 |
4,1 |
2,9 |
1,9 |
1,1 |
— |
|
1,5 |
3,1 |
2,2 |
1,4 |
— |
— |
|
|
0,6-1,2 |
1,5 |
1,7 |
1,2 |
— |
— |
— |
Примечание. Знак «—» означает, что применение манометров класса точности 0,6 для испытания данных газопроводов не рекомендуется.
Таблица 13
|
Рабочее давление газа, МПа |
Испытательное давление, МПа |
Рекомендуемая максимальная длина, км, подземного межпоселкового газопровода при номинальном диаметре (мм) |
|||||
|
65 |
80 |
100 |
125 |
150 |
200 |
||
|
0,005-0,3 |
0,6 |
12,1 |
6,4 |
||||
|
1,5 |
14,6 |
11,0 |
5,9 |
||||
|
0,3-0,6 |
0,75 |
11,2 |
8,4 |
— |
|||
|
1,5 |
14,4 |
8,4 |
6,3 |
— |
|||
|
0,6-1,2 |
1,5 |
16,8 |
11,8 |
7,8 |
— |
— |
— |
Примечание. Знак «—» означает, что применение манометров класса точности 0,6 для испытания данных газопроводов не рекомендуется.
5.3 Приемка в эксплуатацию
Приемку в эксплуатацию законченных строительством объектов систем газораспределения (газоснабжения) производят в соответствии с требованиями СНиП 42-01, «Правил безопасности систем газораспределения и газопотребления» Госгортехнадзора России.
|
Рабочее давление газа, МПа |
Испытательное давление, МПа |
Рекомендуемая максимальная длина, км, надземного и внутреннего газопроводов в поселении при номинальном диаметре(мм) |
||||||
|
25 |
40 |
50 |
65 |
80 |
100 |
125 и более |
||
|
При использовании манометров класса точности 0,15 |
||||||||
|
0,005-0,3 |
0,45 |
8,9 |
3,6 |
2,3 |
1,3 |
1,0 |
1,0 |
1,0 |
|
0,3-0,6 |
0,75 |
4,7 |
1,9 |
1,0 |
1,0 |
1,0 |
1,0 |
1,0 |
|
0,6-1,2 |
1,5 |
1,9 |
1,0 |
1,0 |
1,0 |
1,0 |
1,0 |
1,0 |
|
Св. 1,2 до 1,6 (для СУ Г) |
2,0 |
1,9 |
1,0 |
1,0 |
1,0 |
1,0 |
1,0 |
1,0 |
|
При использовании манометров класса точности 0,4 |
||||||||
|
0,005-0,3 |
0,45 |
1,3 |
1,0 |
1.0 |
1,0 |
1,0 |
1,0 |
|
|
0,3-0,6 |
0,75 |
1,8 |
1,0 |
1,0 |
1,0 |
1,0 |
1,0 |
1,0 |
|
0,6-1,2 |
1,5 |
1,0 |
1,0 |
1,0 |
1,0 |
1,0 |
1,0 |
1,0 |
|
Св. 1,2 до 1,6 (для СУ Г) |
2,0 |
1,0 |
1,0 |
1,0 |
1,0 |
1,0 |
1,0 |
1,0 |
|
При использовании манометров класса точности 0,6 |
||||||||
|
0,005-0,3 |
0,45 |
2,2 |
— |
— |
— |
— |
— |
— |
|
0,3-0,6 |
0,75 |
1,2 |
4,8 |
— |
— |
— |
— |
— |
Примечание. Знак « — » означает, что применение манометров данного класса точности для испытания данных газопроводов не рекомендуется.
Приемочная комиссия проверяет комплектность и правильность составления исполнительной документации, производит внешний осмотр объекта с целью определения соответствия выполненных строительно-монтажных работ проекту, СНиП 42-01, «Правилам безопасности систем газораспределения и газопотребления» Госгортехнадзора России и другим нормативным документам, утвержденным в установленном порядке.
Приемочная комиссия имеет право с привлечением исполнителей проверять любые участки газопроводов и качество сварки физическими методами или вырезкой их для механических испытаний, производить дополнительные испытания газопроводов и оборудования, образовывать при необходимости подкомиссии с привлечением требуемых специалистов для проверки отдельных сооружений и оборудования.
Не допускается принимать в эксплуатацию объекты, неполностью законченные строительством, с несогласованными в установленном порядке отступлениями от проекта или состава пускового комплекса, без проведения комплексного опробования оборудования (если оно необходимо), а также без принятой в эксплуатацию ЭХЗ газопроводов (если она предусмотрена проектом), испытаний газопроводов на герметичность, проверки качества изоляционных покрытий, комплекта исполнительной документации в соответствии с требованиями СНиП 42-01.
Результаты работы приемочной комиссии оформляются актом приемки законченного строительством объекта системы газораспределения, являющимся основанием для ввода объекта в эксплуатацию. В тех случаях, когда после монтажа системы газоснабжения требуется проведение пуско-наладочных работ, приемочной комиссии рекомендуется произвести приемку смонтированных газопроводов и установленного газоиспользующего оборудования с автоматикой безопасности и регулирования для проведения комплексного опробования, результаты которой оформляются актом, на основании которого заказчик получает разрешение на пуск газа для проведения пуско-наладочных работ.
В период производства пуско-наладочных работ объект строительства передается заказчику, который несет ответственность за его безопасность. После представления заказчиком приемочной комиссии результатов комплексного опробования производится приемка объекта в эксплуатацию, которая оформляется актом приемки по, являющимся основанием для пуска газа и ввода объекта системы газораспределения в эксплуатацию.
Список использованных источников
1. СНиП 42-01-2002. Газораспределительные системы / Госстрой России. М., 2003.-35 с.
2. СП 42-102-2004. Проектирование и строительство газопроводов из металлических труб / Госстрой России. - М., 2004. - 131 с.
3. Газоснабжение. Учебное пособие для ВУЗов. / Муфтахов Е.М., Гольянов А.И. - Уфа: «ДизайнПолиграфСервис», 2002. - 52 с.
4. Газоснабжение. / А.А. Ионин.. М.: Стройиздат, 1989. - 439 с.
5. Газовые сети и газохранилища. Учебник для ВУЗов. / Гольянов А.И. М.: ООО «Издательство научно-технической литературы «Монография»», 2003. -340 с.
6. Проектирование и эксплуатация газонефтепроводов. / A.M. Нечваль -Уфа: «ДизайнПолиграфСервис», 2001. - 165 с.
7. Интернет ресурс: http://www.gazovik.com
=2)