Газоснабжение населёного пункта
Реферат
Пояснительная записка содержит 123 стр., 24 таблицы, список использованных источников 19 наименований, 5 приложений.ТЕХНИКО-ЭКОНОМИЧЕСКОЕ ОБОСНОВАНИЕ, СХЕМА ГАЗОСНАБЖЕНИЯ, ПОТРЕБЛЕНИЕ ГАЗА, ГОДОВОЙ РАСХОД ГАЗА, ЧАСОВОЙ РАСХОД ГАЗА, ГИДРАВЛИЧЕСКИЙ РАСЧЕТ, ГАЗОСНАБЖЕНИЕ КОТЕЛЬНОЙ, ОРГАНИЗАЦИЯ СТРОИТЕЛЬСТВА, ЭКОЛОГИЧЕСКАЯ ЭКСПЕРТИЗА, ЛОКАЛЬНАЯ СМЕТАОбъектом разработки является жилой район с населением 5000 жителей.
Цель работы: Разработать проект газоснабжения населения, коммунально-бытовых и промышленных потребителей района. В ходе проделанной работы было произведено технико-экономическое обоснование проектных решений, рассмотрено патентирование авторского свидетельства, были рассчитаны объемы потребления газа, произведен гидравлический расчет систем газоснабжения, разработано газоснабжение котельной.
Организация строительства содержит:- расчет объемов работ;- расчет калькуляции трудовых затрат;- определена потребность в механизмах и транспорте;- определена потребность в строительных материалах;- рассчитаны основные технико-экономические показатели проекта производства работ.
В разделе эргономики и безопасности жизнедеятельности освещен вопрос безопасности производства работ, разработаны режимы труда и отдыха рабочих.
Проведена экологическая экспертиза целесообразности системы газоснабжения. Рассчитана локальная смета.
Содержание
Введение 8
1. Разработка системы газоснабжения микрорайона 10
1.1 Технико-экономическое обоснование проектных решений 10
1.2 Патентный поиск 13
1.3 Характеристика микрорайона, климатические данные и грунтовые условия 30
1.4 Годовые расходы газа на бытовые и коммунальные нужды населения 32
1.4.1 Определение годовых и часовых расходов газа на бытовые и коммунальные нужды населения 34
1.4.2 Определение часовых расходов газа на отопление, вентиляцию и горячее водоснабжение микрорайона 37
1.5 Гидравлический расчет газопроводов 39
1.5.1 Гидравлический расчет кольцевой сети газопроводов среднего давления 39
1.5.2 Гидравлический расчет тупиковой дворовой сети низкого давления 45
1.6 Расчет регуляторов давления для ШРП 46
2 Газоснабжение котельной 50
2.1 Требования к зданиям и помещениям газифицированных котельных 50
2.2 Технологическая часть 52
2.2.1 Тепломеханическая часть 52
2.2.2 Решения по газоснабжению и газооборудованию 52
2.2.3 Устройство взрывных клапанов 53
2.2.4 Вентиляция 54
2.2.5 Электротехническая часть 55
2.2.6 Противопожарные мероприятия 55
2.2.7 Решения по охране труда и технике безопасности 56
2.3 Поверочный расчет тягового устройства котельной 56
3 Автоматическое регулирование котельной установки 62
3.1 Пуск и остановка котла 62
3.2 Автоматическое регулирование 63
3.3 Автоматика безопасности и сигнализация 64
4. Эргономические и экологические основы газоснабжения микрорайона 68
4.1 Анализ возможных опасных вредных факторов. Типы экологических и эргономических систем. Основные определения 68
4.2 Обязанности администрации предприятия в деле обеспечения безопасных и здоровых условий труда 70
4.3 Разработка организационных и технических мероприятий по созданию безопасных и здоровых условий труда. Разработка режимов труда и отдыха 73
4.4 Защита человека от вредного воздействия производственных вибраций 78
5 Организация строительства 80
5.1 Расчет объемов работ 80
5.2 Выбор методов производства работ 80
5.3 Составление калькуляции затрат труда 81
5.4 Проектирование поточного метода производства работ 85
5.5 Расчет потребности в основных строительных материалах, деталях и оборудовании 87
5.6 Расчет потребности строительства в воде, электроэнергии, сжатом воздухе 89
5.7 Решение по технике безопасности 91
6 Экологическая экспертиза 93
6.1 Характеристика возможных выбросов при эксплуатации газопроводов 93
6.2 Расчет выбросов загрязняющих веществ при сгорании топлива в котельных 98
6.3 Решения по охране окружающей природной среды 99
6.3.1 Охрана атмосферного воздуха 99
6.3.2 Защита окружающей среды от загрязнения производственными и хозбытовыми сточными водами 100
6.4 Оценка воздействия на земельные ресурсы, почвенно-растительный покров и животный мир 101
6.5 Воздействие отходов 103
7. Экономика строительного производства 104
7.1 Составление локальной сметы 105
Заключение 109
Список использованных источников 110
Приложение А 112
Введение
Масштабы и темпы развития газовой промышленности и газоснабжающих систем определяет добыча газа, по которой Россия занимает первое место в мире. Значительный рост добычи газа существенно изменил топливный баланс страны. Если в 1983 г. удельный вес газового топлива занимал в общем топливном балансе страны лишь 27%, то к 2007 году доля газа составляет более 70% всех видов потребляемых топлив.
Совершенствование, интенсификация и автоматизация технологических процессов приводят к необходимости повысить качество расходуемых теплоносителей. В наибольшей мере по сравнению с другими видами топлива этим требованиям удовлетворяет природный газ.
Рациональное использование газообразного топлива с наибольшей реализацией его технологических достоинств позволяет получить значительный экономический эффект, который связан с повышением КПД агрегатов и сокращением расхода топлива, более легким регулированием температурных полей и состава газовой среды в рабочем пространстве печей и установок, в результате чего удается значительно повысить интенсивность производства и качество получаемой продукции. Применение газа для промышленных установок улучшает условия труда и способствует росту его производительности. Использование природного газа в промышленности позволяет осуществить принципиально новые, прогрессивные и экономически эффективные технологические процессы. Кроме того, применение газа в качестве топлива позволяет значительно улучшить условия быта населения, повысить санитарно-гигиенический уровень производства и оздоровить воздушный бассейн в городах и промышленных центрах.
Газовая промышленность является одной из наиболее динамичных, бурно развивающихся отраслей народного хозяйства. Развитие добычи газа обуславливается ростом газопотребления, который осуществляется, во-первых, путем увеличения объемов использования его в городах, уже газифицированных к настоящему времени, а во-вторых, за счет газификации новых городов и населенных пунктов, в том числе в сельской местности.
Распределительные системы газоснабжения становятся едиными для областей и республик, и для их проектирования, строительства и эксплуатации необходимы глубокие знания специалиста. Рост потребления газа в городах, поселках и сельской местности, а также масштабность распределительных систем ставят перед инженером по газоснабжению новые и сложные задачи, связанные с развитием и реконструкцией систем, повышением их надежности, необходимостью экономичного использования газа и защиты воздушного бассейна от загрязнений.
Распределительные сети являются сложными многокольцевыми системами, экономичное проектирование которых должно базироваться на современных методах оптимизации с учетом вероятностного характера функционирования и обеспечение требуемой надежности подачи газа потребителям.
Снижение стоимости и металлоемкости систем газоснабжения имеет большое народнохозяйственное значение. Вторая, не менее важная задача заключается в обеспечении полного и надежного газоснабжения всех предусмотренных потребителей. Именно скоординированное решение обеих задач позволяет достигнуть высокой эффективности использования газа. Эта проблема решается, начиная с проектирования, когда определяются основные параметры системы, и далее непрерывно в течение всего периода эксплуатации. Все достоинства газового топлива могут быть рационально использованы только специалистами, хорошо усвоившими основы газоснабжения и строго соблюдающими правила безопасности в газовом хозяйстве.
Неоспоримые достоинства газа и наличие его значительных запасов создают условия для дальнейшего развития газоснабжения страны.
1. Разработка системы газоснабжения микрорайона
1.1 Технико-экономическое обоснование проектных решений
Задачей технико-экономической оптимизации является определение таких параметров систем, которые для достижения заданного полезного результата требуют наименьших затрат материальных, энергетических, денежных или других ресурсов.
Одним из решений является использование полиэтиленовых труб. Применение полиэтиленовых газопроводов существенно сокращает эксплуатационные затраты за счет отсутствия коррозии и устранения ее последствий. За счет отсутствия изоляционных работ и контроля их качества, сокращаются объемы сварочных работ (особенно при использовании длинномерных труб и выполнения соединений полиэтиленовых труб с помощью муфт), снижение объемов трубоукладочных работ, отсутствие необходимости защиты от коррозии, строительно-монтажные работы по строительству полиэтиленовых газопроводов меньше по сравнению со стальными в среднем на 15%.
Зная диаметры газопроводов, можно рассчитать стоимость строительства стальных и полиэтиленовых газопроводов, пользуясь данными о стоимости одного погонного метра стальных и полиэтиленовых труб и стоимости их монтажа.
При расчете экономической эффективности капитальных вложений за базовый вариант был принят вариант со стальным газопроводом, за внедряемый – вариант с полиэтиленовым газопроводом.
Схема газоснабжения – двухступенчатая, с кольцевой сетью среднего давления. Длина газопровода условным диаметром 150 мм – 1848 м, 100 мм – 226 м, 50 – 298 м. Количество ШРП принято равным 7 шт, 1ГГРП.
Определяем стоимость строительства газопровода по базовому и внедряемому вариантам с помощью сметно-нормативной базы по строительству газопровода (ГЭСН 2001 и ФЕР 2001), пользуясь данными о средней (фактической) стоимости 1 п.м. соответственно стального и полиэтиленового газопровода. При этом учитывается, что прокладка стального газопровода производится из труб с изоляцией весьма усиленного типа, а полиэтиленового – из прямых отрезков по 10 м. Сварка стальных труб электродуговая, полиэтиленовых – встык нагретым элементом, частично с помощью деталей с закладными электронагревателями (углы поворота). В таблице 1 приведены стоимостные показатели стальных и полиэтиленовых газопроводов.
Таблица 1
|
Условный диаметр |
Стоимость; руб/п.м. |
|
|
сталь |
полиэтилен |
|
|
60 |
215 |
117 |
|
100 |
396 |
435 |
|
150 |
926 |
973 |
В таблице 2 приведены показатели капитальных вложений в строительство газопровода (стального и полиэтиленового)
Таблица 2
|
стоимость, тыс. руб. |
||
|
внедряемый вариант – полиэтиленовые газопроводы |
базовый вариант – стальные газопроводы |
|
|
1.затраты на оборудование для снижения давления газа |
||
|
ГГРП (1 шт) |
1950 |
1950 |
|
ШРП (1 шт) |
292 |
292 |
|
2.затраты на сооружение газопроводов |
||
|
стальные |
- |
4694 |
|
полиэтиленовые |
4267 |
- |
|
3.затраты на защиту от коррозии |
||
|
строительство станции катодной защиты (1 шт) |
- |
30 |
|
устройство антикоррозионной изоляции |
- |
120 |
|
ИТОГО |
6509 |
7086 |
Как видно из таблицы 2, сметная стоимость строительства полиэтиленового газопровода на 8% меньше по сравнению со стальным газопроводом.
Определение годового экономического эффекта от использования полиэтиленового газопровода вместо стального по формуле
Г>э>=(Э>б>+0,12×К>б>)-(Э>в>+0,12×К>в>) (1)
где Э>б>, Э>в> – эксплуатационные затраты по базовому и внедряемому варианту, тыс.руб./год.;
К>б>, К>в> – капитальные вложения по базовому и внедряемому варианту, тыс. руб./год.;
0,12 – коэффициент окупаемости капитальных вложений, 1/год.
Определим эксплуатационные затраты по базовому и внедряемому варианту.
Из опыта эксплуатации были получены ориентировочные коэффициенты эксплуатационных затрат в % от капитальных вложений: 5,2% - на стальные газопроводы; 3,1% - на полиэтиленовые, что составляет 368 и 202 тыс. руб./год соответственно. Отсюда по формуле (1)
(368+0,12×7086)-(202+0,12×6509)=235 тыс.руб./год.
При проведении сравнительного анализа применения стальных и полиэтиленовых газопроводов можно сделать следующие выводы:
- с точки зрения материала, применяемого при строительстве сетей, предпочтение следует отдавать полимерным технологиям, как более экономичным;
- экономия объясняется отсутствием необходимости в дополнительных затратах на выполнение весьма усиленной изоляции стальных газопроводов, сооружение и дальнейшую эксплуатацию станции катодной защиты.
Применение полиэтиленовых газопроводов также существенно сокращает эксплуатационные затраты за счет увеличения срока службы (50 лет) и меньшей трудоемкости при техническом обслуживании, проведении текущих и капитальных ремонтов. Кроме того, при применении полиэтиленовых труб отсутствуют эксплуатационные расходы на периодическую диагностику возможной коррозии. В [1] приведены расчеты, из которых видно, что потери давления в полиэтиленовых и стальных газопроводах практически одинаковы, несмотря на значительное уменьшение внутреннего диаметра полиэтиленовой трубы.
Из расчетов очевидна экономическая и технологическая целесообразность применения полиэтиленовых труб для строительства газопровода.
1.2 Патентный поиск
ОПИСАНИЕ ИЗОБРЕТЕНИЯ К ПАТЕНТУ
РОССИЙСКОЙ ФЕДЕРАЦИИ
ГАЗОВАЯ ГОРЕЛКА
Реферат:
Изобретение относится к горелочным устройствам теплотехнических агрегатов и может быть использовано в различных областях промышленности и промышленной теплотехники. В газовой горелке, содержащей смеситель в виде цилиндрической трубы, патрубки подвода газа и воздуха, выходное сопло в виде конфузора, стабилизатор горения, установленный коаксиально смесителю инжектор дл получения газовоздушной смеси, согласно изобретению выходное сопло выполнено заодно целое со стабилизатором горения, в котором по периметру выходного сопла выполнены сообщенные с полостью смесителя цилиндрические каналы с входным и выходным участками различного диаметра, инжектор выполнен в виде сообщенной с патрубком подвода газа трубы, на противоположном конце которой на расстоянии, равном 6-8 внутренним диаметрам трубы, от ее торца в ее полости установлено сопло для подачи газа в смеситель, в трубе в месте размещения сопла выполнены отверстия, отношение диаметра входного участка цилиндрического канала к диаметру выходного участка цилиндрического канала составляет 0,1-0,5, а отношение площади входных отверстий цилиндрических каналов к площади выходного отверстия конфузора составляет 0,05-0,1. Изобретение позволит расширить область использования горелки и повысить экологичность ее работы за счет снижения вредных выбросов.

Известна газовая горелка, содержащая смеситель, выполненный в виде цилиндрической трубы, патрубки подвода газа и воздуха, выходное сопло в виде конфузора, стабилизатор горения, установленный коаксиально смесителю инжектор для получения газовоздушной смеси (Сорока В.А., Еринов А.Е. Местный нагрев изделий. Реферативный обзор, Киев: Наукова думка, 1968, с. 19-20).
Недостатком известной конструкции является узкая область ее применения, поскольку в процессе ее работы диапазон соотношения газа и воздуха ограничен достаточно узким интервалом, при нарушении пределов которого происходит сбой в работе.
Кроме того, данную горелку отличает низкая экологичность за счет высокого содержания вредных выбросов.
Техническим результатом заявленного изобретения является расширение области ее использования, получение устойчивого горения при высоких скоростях истечения продуктов сгорания, повышение экологичности ее работы за счет снижения в процессе работы вредных примесей.
Сущность изобретения заключается в том, что в газовой горелке, содержащей смеситель в виде цилиндрической трубы, патрубки подвода газа и воздуха, выходное сопло в виде конфузора, стабилизатор горения, установленный коаксиально смесителю инжектор для получения газовоздушной смеси, выходное сопло выполнено за одно целое со стабилизатором горения, в котором по периметру выходного сопла выполнены сообщенные с полостью смесителя цилиндрические каналы с входным и выходным участками различного диаметра, инжектор выполнен в виде сообщенной с патрубком подвода газа трубы, на противоположном конце которой на расстоянии, равном 6-8 внутренним диаметрам трубы, от ее торца в ее полости уставлено сопло дл подачи газа в смеситель, при этом в трубе в месте размещения сопла выполнены отверстия, отношение диаметра входного участка цилиндрического канала к диаметру выходного участка цилиндрического канала составляет 0,1-0,5, а отношение площади входных отверстий цилиндрических каналов к площади выходного отверстия конфузора составляет 0,05-0,1.
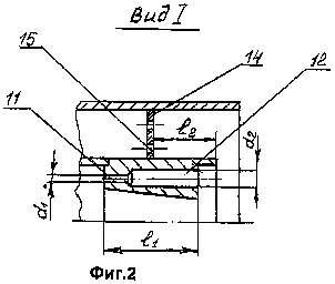
Изобретение иллюстрируется чертежами, где на фиг. 1 изображена газовая горелка, общий вид; на фиг. 2 - вид I на фиг. 1
Газовая горелка содержит размещенный в корпусе 1 смеситель 2, выполненный в виде цилиндрической трубы, патрубки 3, 4 соответственно для подвода газа и воздуха, выходное сопло 5, выполненное в виде конфузора за одно целое со стабилизатором 6 горения, по периметру которого выполнены цилиндрические каналы 7.
В смесителе 2 коаксиально ему установлен инжектор 8 для получения газовоздушной смеси, выполненный в виде сообщенной с патрубком 3 подвода газа трубы 9.
На противоположном месту подвода трубы 9 к патрубку 3 конце трубы 9 на расстоянии, равном 6-8 внутренним диаметрам трубы 9, от ее торца в ее полости установлено сопло 10 дл подачи газа в смеситель 2.
Цилиндрические каналы 7 имеют входные и выходные участки 11, 12 различного диаметра.
В трубе 9 в месте размещения сопла 10 выполнены отверстия 13.
Отношение диаметра d>1> а входного участка 11 цилиндрического канала 7 к диаметру d>2> а выходного участка 12 цилиндрического канала 7 составляет 0,1-0,5.
Длина l>1> а выходного сопла 5 равна длине цилиндрического канала 7 и составляет величину, равную диаметру смесителя 2.
На наружной поверхности стабилизатора 6 горения на расстоянии l>2> а, равном 0,5-0,6 его диаметра, от его торца установлен перфорированный диск 14 с отверстиями 15.
Отношение площади входных отверстий цилиндрических каналов 7 к площади выходного отверстия конфузора составляет 0,05-0,1.
В корпусе 1 установлены свеча электророзжига в виде электрода 16 и электрод 17 контроля пламени.
Газовая горелка работает следующим образом.
Через патрубок 3 в трубу 9 поступает газ, который, проходя через сопло 10, на его выходе смешивается с воздухом. Воздух подается в смеситель 2 через патрубок 4 подвода воздуха.
На выходе из сопла 10 происходит активное поступление воздуха через отверстия 13 за счет инжекционного эффекта.
Газовоздушная смесь, проходя остальной путь по трубе 9 - этот участок составляет 6-8 диаметров трубы 9, активно перемешивается. На торце трубы 9 получается равномерно перемешанная газовоздушная смесь, которая поступает в смеситель 2, где, обладая избыточным импульсом, она активно перемешивается с воздухом, подаваемым в смеситель 2.
На протяжении пути движения в смесителе 2 от инжектора 8 до выходного сопла 5 происходит получение гомогенной газовоздушной смеси.
Большая часть газовоздушной смеси поступает в конфузор выходного сопла 5, а оставшаяся часть - в цилиндрические каналы 7.
Отношение площади всех входных отверстий цилиндрических каналов к площади выходного отверстия конфузора - 0,05-0,1.
При выходе за пределы этого соотношения уменьшается диапазон работы горелки. Это соотношение позволяет распределить тепловую нагрузку таким образом, что обеспечивается устойчивое горение на выходе из выходных участков 12 и гарантированное поджигание основного потока газовоздушной смеси на выходе из конфузора выходного сопла 5.
Переход из входного участка 11 в выходной участок 12 цилиндрического канала 7, газовоздушная смесь значительно снижает свою скорость за счет разности диаметров этих участков (отношение диаметра входного участка 10 к диаметру выходного участка 11 составляет 0,1-0,5).
Изобретение позволит расширить область использования газовой горелки, получить устойчивое горение при высоких скоростях истечения продуктов горения, повысить экологичность ее работы за счет снижения вредных выбросов.
Формула изобретения
Газовая горелка, содержащая смеситель в виде цилиндрической трубы, патрубки подвода газа и воздуха, выходное сопло в виде конфузора, стабилизатор горения, установленный коаксиально смесителю инжектор для получения газовоздушной смеси, отличающийся тем, что выходное сопло выполнено за одно целое со стабилизатором горения, в котором по периметру выходного сопла выполнены сообщенные с полостью смесителя цилиндрические каналы с входным и выходным участками различного диаметра, инжектор выполнен в виде сообщенной с патрубком подвода газа трубы, на противоположном конце которой на расстоянии, равном 6-8 внутренним диаметрам трубы, от ее торца в ее полости установлено сопло дл подачи газа в смеситель, при этом в трубе в месте размещения сопла выполнены отверстия, отношение диаметра входного участка цилиндрического канала к диаметру выходного участка цилиндрического канала составляет 0,1-0,5, а отношение площади входных отверстий цилиндрических каналов к площади выходного отверстия конфузора составляет 0,05-0,1

ОПИСАНИЕ ИЗОБРЕТЕНИЯ К ПАТЕНТУ
РОССИЙСКОЙ ФЕДЕРАЦИИ
ГАЗОВАЯ ГОРЕЛКА
Реферат:
Изобретение относится к теплоэнергетике, а именно к газовым горелкам с принудительной подачей воздуха, и может быть использовано как топливосжигающее устройство широкого применения в промышленном, сельскохозяйственном, коммунально-бытовом и другом газовом оборудовании. Техническим результатом изобретения является уменьшение потерь напора в воздушном тракте, снижение уровня шума, упрощение конструкции и монтажа горелки. Газовая горелка с принудительной подачей воздуха содержит камеру для подвода воздуха, камеру дл подачи газа, в торцовых стенках которой выполнен ряд оппозитно расположенных отверстий, смесительные трубки с кольцевым рядом отверстий в боковых стенках и жаровую трубу. Камера для подачи газа установлена между камерой для подвода воздуха и жаровой трубой с образованием кольцевого зазора между ее боковой цилиндрической стенкой и жаровой трубой, при этом смесительные трубки герметично установлены в отверстиях торцовых стенок камеры дл подачи газа, в боковой цилиндрической стенке которой выполнен кольцевой ряд радиальных отверстий, а отверстия в боковых стенках смесительных трубок расположены коаксикально.

Известна горелка [1], содержащая подключенный к источнику воздуха корпус и установленную в нем газоподводящую трубу, сообщенную с кольцевым газовым коллектором с соплами. На выходе горелки установлен стабилизатор горения, выполненный в виде пластинчатого кольца, в котором выполнены отверстия, расположенные сносно соплам кольцевого газового коллектора. Кольцо стабилизатора скреплено с коллектором посредством стержней, размещенных снаружи и внутри пластинчатого кольца.
Известная горелка позволяет стабилизировать факел при больших избытках воздуха, однако обладает значительной металлоемкостью и трудоемкостью изготовления.
Известно также горелочное устройство [2], содержащее установленные в корпусе смесительные трубы, снабженные тангенциальными воздухоподводящими патрубками, в которых выполнены отверстия, сообщающие полости патрубков с газовой камерой. За счет предварительного перемешивания топлива и воздуха в патрубках смесителей температура горения газовоздушной смеси приближается к средней, что позволяет уменьшить содержание оксидов азота в продуктах сгорания.
К недостаткам известного горелочного устройства следует отнести высокий уровень шума и сложность конструкции.
Наиболее близкой к заявляемой горелке по совокупности существенных признаков является газовая горелка [3], содержащая камеру для подвода воздуха от вентилятора, камеру для подачи газа под давлением, установленные в камере для подвода воздуха смесители, выполненные в виде цилиндрических трубок с отверстиями в боковых стенках, и жаровую трубу, полость внутри которой сообщена с камерой для подвода воздуха.
В торцовых стенках камеры для подачи газа и примыкающей к одной из них стенке камеры для подвода воздуха выполнены сносно расположенные отверстия, в которых герметично установлены сопла для подачи струи газа вдоль оси смесительной трубки и технологические заглушки, расположенные на внешней торцовой стенке газовой камеры.
При работе горелки воздух, нагнетаемый вентилятором, разделяется на два потока, один из которых (первичный воздух) коаксиально со струей газа подается в смесительную трубку, а другой (вторичный воздух) поступает непосредственно из камеры для подвода воздуха в полость жаровой трубы коаксиально смесителям.
К недостаткам известной газовой горелки следует отнести: потери напора в воздушном тракте и повышенный уровень шума из-за большого аэродинамического сопротивления последнего вследствие поворотов воздушного потока, а также сложность конструкции и монтажа горелки, обусловленные, в частности, необходимостью обеспечения строгой соосности газовых сопел и трубок смесителей.
Техническим результатом изобретения является уменьшение потерь напора в воздушном тракте, снижение уровня шума, упрощение конструкции и монтажа горелки.
Указанный технический результат достигается тем, что в газовой горелке с принудительной подачей воздуха, содержащей камеру для подвода воздуха, камеру для подачи газа, в торцовых стенках которой выполнен ряд оппозитно расположенных отверстий, смесительные трубки с кольцевым рядом отверстий в боковых стенках и жаровую трубу, согласно изобретению, камера для подачи газа установлена между камерой для подвода воздуха и жаровой трубой с образованием кольцевого зазора между ее боковой цилиндрической стенкой и жаровой трубой, при этом смесительные трубки герметично установлены в отверстиях торцовых стенок камеры для подачи газа, в боковой цилиндрической стенке которой выполнен кольцевой ряд радиальных отверстий, а отверстия в боковых стенках смесительных трубок расположены внутри камеры дл подачи газа.
Кроме того, суммарная площадь упомянутых радиальных отверстий составляет 0,3-0,5 суммарной площади отверстий, выполненных в боковых стенках смесительных трубок. Отверстия в боковых стенках смесительных трубок могут быть выполнены радиальными или в виде тангенциальных каналов.
Указанное расположение и форма выполнения камеры дл подачи газа позволяют реализовать прямоточную схему движения воздушного потока, характеризующуюся минимальными потерями напора в воздушном тракте и низким уровнем шума, а также упростить конструкцию и облегчить монтаж горелки.
Выполнение в боковой цилиндрической стенке камеры для подачи газа радиальных отверстий, отношение суммарной площади которых к общей площади отверстий в стенках смесительных трубок находится в указанных выше пределах, позволяет уменьшить содержание NO в продуктах сгорания за счет двухстадийного сжигания газа.
Различные ориентации отверстий, выполненных в боковых стенках смесительных трубок (радиальные или тангенциальные), позволяют реализовать предпочтительный вариант смешения в зависимости от вида применяемого газообразного топлива и требуемого соотношения расходов газа и воздуха.
Охарактеризованное указанными выше существенными признаками изобретение на дату подачи заявки не известно в Российской Федерации и за границей и отвечает требованиям критерия "новизна".
Изобретение может быть реализовано промышленным способом с использованием известных технических средств, технологий и материалов и соответствует требованиям критерия "промышленная применимость".
Заявителем не выявлены технические решения, имеющие признаки, совпадающие с совокупностью отличительных признаков заявляемого изобретения, в связи с чем можно сделать вывод о соответствии условию патентоспособности "изобретательский уровень".
Изобретение поясняется графическими материалами, где на фиг. 1 изображена предлагаемая газовая горелка; на фиг. 2 - вид А на фиг. 1.
Газовая горелка содержит камеру 1 для подвода воздуха, нагнетаемого вентилятором (не показан), камеру 2 дл я подачи газа, установленную между камерой 1 и жаровой трубой 3 и сообщенную с источником газа посредством газоподающей трубы 4.
В торцовых стенках 5 и 6 камеры 2 для подачи газа выполнены оппозитно расположенные отверстия, в которых герметично установлены смесительные трубки 7 с кольцевым рядом радиальных или тангенциальных отверстий (каналов) 8 в каждой из них, расположенных внутри камеры 2 для подачи газа.
Камера 2 для подачи газа установлена с образованием кольцевого зазора d между ее боковой цилиндрической стенкой и жаровой трубой 3, при этом в боковой стенке выполнен кольцевой ряд радиальных отверстий 9.
Суммарная площадь радиальных отверстий 9 составляет 0,3-0,5 суммарной площади отверстий 8, выполненных в боковых стенках смесительных трубок 7.
Горелка снабжена запальным устройством 10, размещенным внутри одной из смесительных трубок 7.
Газовая горелка работает следующим образом.
Включают вентилятор, нагнетающий воздух в камеру 1. Через смесительные трубки 7 и кольцевой зазор d воздух поступает во внутреннюю полость жаровой трубы 3. По окончании продувки топочного пространства подается высоковольтное напряжение на электрод поджига запального устройства 10. Одновременно осуществляется подача газа по газоподводящей трубе 4 в камеру 2, а из нее через отверстия 8 в смесительные трубки 7 и через отверстия 9 - в кольцевой зазор d.
Расход газа через отверстия 8 уменьшен на величину расхода газа через радиальные отверстия 9 (на 30-50% - в соответствии с отношением суммарных площадей отверстий 8 и 9). Для предлагаемой конструкции горелки экспериментально установлено, что при расходе газа через отверстия 9, составляющем менее 30% от расхода газа через смесительные трубки 7, недопустимо возрастает содержание NO>x> а, а при указанном соотношении расходов газа, превышающем 50%, плавный розжиг горелки сильно затруднен. Образующаяся в полостях смесительных трубок 7 обедненная газовоздушная смесь воспламеняется искрой от запального устройства 10, а затем от факела воспламеняется газовоздушная смесь, образованная в кольцевом зазоре d.
Благодаря наличию радиальных отверстий 9, выполненных в боковой цилиндрической поверхности камеры 2, установленной в жаровой трубе 3 с кольцевым зазором d, реализуется двухстадийное сжигание газообразного топлива, позволяющее снизить температуру его горения и уменьшить тем самым содержание оксидов азота (NO>x> а) в продуктах сгорания.
Наличие участка внезапного расширения при переходе кольцевого зазора d в полость жаровой трубы 3 вызывает отклонение потока газовоздушной смеси, образующейся в зазоре d, от стенки жаровой трубы 3 к центральной продольной оси горелки. Возникающая при этом турбулентность срывающегося с границы торцовой стенки 6 камеры 2 вихря способствует стабилизации факела горелки.
Источники информации
1. Авторское свидетельство СССР 1545025, МПК F 23 D 14/02, опубл. 1990 г.
2. Патент РФ 1768871, МПК F 23 D 14/00, опубл. 1992 г.
3. Проспект фирмы Walter Dreizler GmbH (Германия), 1998 г. - прототип.
Формула изобретения
1. Газовая горелка с принудительной подачей воздуха, содержащая камеру для подвода воздуха, камеру для подачи газа, в торцовых стенках которой выполнен ряд оппозитно расположенных отверстий, смесительные трубки с кольцевым рядом отверстий в боковых стенках и жаровую трубу, отличающаяся тем, что камера для подачи газа установлена между камерой для подвода воздуха и жаровой трубой с образованием кольцевого зазора между ее боковой цилиндрической стенкой и жаровой трубой, при этом смесительные трубки герметично установлены в отверстиях торцовых стенок камеры для подачи газа, в боковой цилиндрической стенке которой выполнен кольцевой ряд радиальных отверстий, а отверстия в боковых стенках смесительных трубок расположены внутри камеры для подачи газа.
2. Горелка по п. 1, отличающаяся тем, что суммарная площадь упомянутых радиальных отверстий составляет 0,3-0,5 суммарной площади отверстий, выполненных в боковых стенках смесительных трубок.
3. Горелка по п. 1 или 2, отличающаяся тем, что отверстия в боковых стенках смесительных трубок выполнены радиальными.
4. Горелка по п. 1 или 2, отличающаяся тем, что отверстия в боковых стенках смесительных трубок выполнены в виде тангенциальных каналов.

ОПИСАНИЕ ИЗОБРЕТЕНИЯ К ПАТЕНТУ
РОССИЙСКОЙ ФЕДЕРАЦИИ
СПОСОБ ПОДГОТОВКИ ПРИРОДНОГО ГАЗА
Реферат:
Изобретение относится к теплоэнергетике, в частности к использованию природного газа в качестве источника тепловой энергии. Способ подготовки природного газа к сжиганию с использованием горелки с принудительной подачей воздуха тягодутьевым устройством включает подведение природного газа, смешение его с воздухом и подачу подготовленной газовоздушной смеси к месту сжигания. Способ обеспечивает улучшение смешения природного газа и воздуха, снижение содержания в выхлопных газах оксида углерода и окислов азота и упрощение конструкции горелки за счет того, что природный газ подводится к всасывающей линии тягодутьевого устройства, выполненной в виде цилиндра с перфорированной вставкой.

Известен способ подготовки природного газа к сжиганию с использованием горелок с принудительной подачей воздуха (см. Н.Л. Стаскевич и др. "Справочник по газоснабжению и использованию газа", Л., Изд. "Недра", Ленинградское отделение, 1990 г., стр. 499-501). Воздух, необходимый для горения, нагнетается в горелки принудительно тягодутьевым устройством, в основном вентилятором. В качестве тягодутьевого устройства могут быть использованы также воздуходувки или компрессоры. Воздух забирают из атмосферы во всасывающую линию тягодутьевого устройства и далее после прохождения рабочего органа, например, рабочего колеса вентилятора, направляют в нагнетательную линию. В нагнетательной линии непосредственно у места сжигания природного газа проводят закрутку воздушного потока (наиболее часто используемый прием для широко известных конструкций горелок с принудительной подачей воздуха), в который из сопел подают природный газ. Здесь происходит смешение природного газа и воздуха с образованием газовоздушной смеси, которая далее через насадок поступает непосредственно к месту сжигания природного газа. Для получения короткого пламени с высокой температурой, т.е. дл обеспечения горения газа, близкого к кинетическому, необходимо хорошее предварительное смешение природного газа и воздуха. Это достигается за счет удлинения участка смешения, увеличения разности скоростей газа и воздуха, увеличения поверхности соприкосновения газовых струй с воздушным потоком, направления потоков газа и воздуха под углом, вывода газовых струй в интенсивно раскрученный поток воздуха и т.д. Сказанное выше определяет основной недостаток способа подготовки природного газа к сжиганию с использованием горелок с принудительной подачей воздуха, а именно неудовлетворительное качество смешения природного газа и воздуха. При этом улучшение качества смешения сопровождается значительным усложнением конструкции горелки. В свою очередь неудовлетворительное качество смешения имеет следствием повышенное содержание в выхлопном газе оксида углерода (CO) и окислов азота (NO>x>).
Наиболее близким к предлагаемому техническому решению является способ подготовки природного газа к сжиганию с использованием горелок с принудительной подачей воздуха тягодутьевым устройством, реализуемый в газогорелочных автоматизированных блоках (см. указанный выше источник, стр. 599-604). Способ включает те же операции, что и в случае аналога, а именно подведение природного газа, смешение его с принудительно подаваемым и специально турбулизированным потоком воздуха, подачу подготовленной газовоздушной смеси к месту сжигания. Признаком, выделяющим этот способ из ряда аналогичных, является принудительная подача воздуха предназначенным только и только для этой цели совмещенным с горелкой центробежным вентилятором. Суть способа при этом не претерпевает изменений, а следовательно, сохраняются и вышеуказанные его недостатки. Следует отметить, что в настоящее время весьма широко распространены использующие указанный выше способ подготовки природного газа к сжиганию горелки газовые блочные ГБЛ, серийно выпускаемые, например, ОАО "Старорусприбор".
Технический результат предлагаемого способа подготовки природного газа к сжиганию с использованием горелок с принудительной подачей воздуха тягодутьевым устройством состоит в улучшении смешения природного газа и воздуха, а следовательно, в улучшении качества газовоздушной смеси при одновременном упрощении конструкции горелки. Технический результат предлагаемого способа состоит также в снижении содержания в выхлопных газах оксида углерода и окислов азота.
Указанный технический результат достигают за счет того, что в способе подготовки природного газа к сжиганию с использованием горелок с принудительной подачей воздуха тягодутьевым устройством, включающем подведение природного газа, смешение его с воздухом и подачу подготовленной газовоздушной смеси к месту сжигания, природный газ подводится к всасывающей линии тягодутьевого устройства.
Сущность изобретения состоит в следующем.
При сжигании природного газа с использованием горелок с принудительной подачей воздуха реализуется в основном кинетический принцип сжигания. При кинетическом принципе сжигания природного газа однородная горючая смесь подготавливается до начала процесса горения и содержит воздух в несколько большем количестве, чем его потребно по стехиометрии проходящих при горении химических реакций (коэффициент избытка воздуха при этом a = 1,02-1,05). Сгорание такой смеси проходит без видимых пиролитических процессов, приводящих к образованию сажистых частиц. При реализации указанного принципа горение может протекать при неограниченно высоком объемном теплонапряжении без образования продуктов неполного сгорания. Обязательным условием при этом является высокое качество смешения природного газа и воздуха, для чего применяют специальные и сложные конструкции смесительных устройств (см. указанный выше источник, стр. 327-328). В настоящем изобретении процесс смешения не требует специальных смесительных устройств вообще, поскольку смешение проходит непосредственно в тягодутьевом устройстве, например в рабочем колесе вентилятора. Подведение природного газа к всасывающей линии тягодутьевого устройства допустимо, естественно, только в том случае, если оно предназначено только для нагнетания воздуха в горелку, что и отражено выше при выборе прототипа изобретения. В настоящее время при современном уровне производства и автоматического управления процессами условия безопасности работы горелочного устройства в комплексе могут быть соблюдены без каких-либо осложнений. Наличие электродвигателей во взрывобезопасном исполнении, изготовление рабочего колеса и кожуха вентилятора из материалов, исключающих искрообразование, определяет безопасность механических устройств, необходимых для реализации способа. Необходимость устанавливать клапан блокировки, отключающий подачу газа при прекращении подачи воздуха, является принципиально присущим горелочным устройствам с принудительной подачей воздуха (см. указанный выше источник, стр. 499). Предотвращения отрыва и проскока пламени достигают как и в случае других горелок выбором соответствующих скоростей газовоздушного потока на выходе в топку, установкой стабилизаторов горения и т.д. (см. указанный выше источник, стр. 317-318).
Схематически горелочное устройство, реализующее заявляемый способ подготовки природного газа к сжиганию, приведено на представленном чертеже.
Природный газ подводится из сети по трубопроводу 1 к всасывающей линии 2 вентилятора 3. Всасывающая линия 2 в данном случае выполнена в виде цилиндра с внутренней перфорированной вставкой 4. Вентилятор, засасывающий воздух из атмосферы, приводится во вращение электродвигателем 5. Природный газ и воздух смешивают непосредственно в вентиляторе 3. Газовоздушную смесь подают в горелку 6, из которой смесь истекает в топочное пространство 7. Собственно горелка 6 представляет собой простую трубу с сужением или без него в зависимости от потребной скорости газа на выходе. Выход горелки размещен в стабилизаторе горения 8, представляющем собой цилиндрический туннель с внезапным расширением сечения.
Предлагаемое техническое решение может быть проиллюстрировано следующим примером.
Пример 1. Состав природного газа (об.%):
CH>4> а - 98,49, C>2> аH>6> а - 0,42, C>3> аH>8> а - 0,18, C>4> аH>10> а - 0,06;
O>2> а - 0,01, CO>2> а - 0,03 и N>2> а - 0,76.
Газ вышеприведенного состава в количестве 55 нм3 /час подают на всасывающую линию вентилятора. Одновременно из окружающей атмосферы вентилятор подсасывает 549 нм3 /час воздуха (теоретически необходимое количество воздуха для сжигания газа данного состава - 9,51 нм3 /нм3 газа). Собственно на рабочем колесе вентилятора образуется однородная горючая смесь с коэффициентом избытка воздуха (a =1,05). Полученную смесь направляют непосредственно к месту сжигания по трубопроводу, который лишь условно может быть назван горелкой, поскольку полностью отсутствуют элементы, присущие имеющимся на сегодня горелкам с принудительной подачей воздуха. Теплова мощность топки составляет 0,55 МВт. В выхлопном газе, благодаря интенсивному смешению природного газа и воздуха с образованием качественной газовоздушной смеси, содержится не более 50 мг/нм3 оксида азота и не более 120 мг/нм3 оксидов азота.
Использование предлагаемого технического решения обеспечивает следующие технико-экономические преимущества:
- упрощение конструкции газогорелочного устройства, а следовательно, и снижение его стоимости,
- упрощение монтажа и обслуживания горелки,
- снижение содержания оксида углерода и окислов азота в выхлопных газах.
Формула изобретения
Способ подготовки природного газа к сжиганию с использованием горелки с принудительной подачей воздуха совмещенным с ней тягодутьевым устройством, включающий подведение природного газа, смешение его с воздухом и подачу подготовленной газовоздушной смеси к месту сжигания, отличающийся тем, что природный газ подводится к всасывающей линии тягодутьевого устройства, выполненной в виде цилиндра с перфорированной вставкой.
В соответствии с проведенным поиском принимаем к установке в проектируемой котельной горелку блочную газовую ГБ-1,2, предназначенную для эффективного сжигания природного газа низкого давления в топках котлов и теплогенераторов сельскохозяйственного назначения. Основные технические данные и характеристики горелки блочной газовой ГБ-1,2 приведены в приложении А.
1.3 Характеристика микрорайона, климатические данные и грунтовые условия
Объектом дипломного проектирования является жилой микрорайон с населением 5000 жителей.
Район строительства характеризуется следующими природно-климатическими условиями:
- вес снегового покрова - 0.7 кПа
- скоростной напор ветра - 0.38 кПа
- расчетная зимняя температура наружного воздуха для отопления - 31°С
- нормативная глубина сезонного промерзания – 1.6 м
Площадка строительства не заболочена и имеет спокойный рельеф.
Геолого-литологическое строение площадки (сверху-вниз):
1. Почвенно-растительный
слой мощностью 0.1-0.4 м.
2. Глина коричневая, твердой консистенции мощностью 0.8-1.6 м.
3. Суглинок коричневый от твердой до тугопластичной консистенции, вскрытая мощность от 1.6 -6 м.
Грунтами основания для фундаментов зданий и сооружений служат глины со следующими расчетными характеристиками:
>п>
= 1.82 г/см3;
Сн = 0.047МПа;
= 18°°;
E
=18МПа
Грунты просадочными и набухающими свойствами не обладают.
Грунты сильно агрессивны к бетонам, растворам, углеродистой стали.
Грунтовые воды до глубины 6 м не вскрыты.
Взаимная увязка запроектированных объектов на генеральном плане подчинена требованиям технологии и оптимальному решению транспортных потоков.
В проекте наряду с жилищным сектором предусмотрена газификация коммунально-бытовых объектов, таких как банно-прачечный комбинат, больница, пекарня, столовые, кафе, рестораны, районные котельные, а также промышленное предприятие.
Проектом предусматривается двухступенчатая схема газоснабжения, с кольцевой сетью среднего давления.
В соответствии с заданием горячее водоснабжение жилых и общественных зданий распределяется: от районных котельных – 85%, от газовых водонагревателей – 15%.
Таблица 3. Климатологическая характеристика
|
Среднемесячная температура воздуха |
|||||||||||
|
январь |
февраль |
март |
апрель |
май |
июнь |
июль |
август |
сентябрь |
октябрь |
ноябрь |
декабрь |
|
-13,5 |
-13,2 |
-6,7 |
6,2 |
15,4 |
20,3 |
22,6 |
20,6 |
13,8 |
5,1 |
-2,9 |
-9,8 |
|
Средняя температура воздуха наиболее холодной пятидневки |
|||||||||||
|
-31,0 °С |
|||||||||||
|
Средняя температура воздуха наиболее холодного периода |
|||||||||||
|
-20,0 °С |
|||||||||||
|
Продолжительность отопительного периода в сутках |
|||||||||||
|
201 |
Источником газоснабжения является газопровод – отвод от магистрального газопровода “Средняя Азия – Центр”
Таблица 4. Состав и характеристика газа
|
Состав газа |
Теплота сгорания,кДж/нм3 |
Плотность, кг/нм3 |
|||
|
Компоненты |
Доля в общем объеме, r>j> |
а>j> |
а>j>> >>* >r>j> |
|
|
|
1 |
2 |
3 |
4 |
5 |
6 |
|
Метан, СН>4> |
0,938 |
35880 |
33512 |
0,7174 |
0,6701 |
|
Этан, С>2>Н>6> |
0,036 |
64360 |
1352 |
1,3551 |
0,0285 |
|
Пропан, С>3>Н>8> |
0,007 |
93180 |
745 |
2,010 |
0,0161 |
|
Н-Бутан, С>4>Н>10> |
0,002 |
123570 |
494 |
2,6901 |
0,0108 |
|
Н-Пентан, С>5>Н>12> |
0,004 |
156630 |
470 |
3,4536 |
0,0104 |
|
Двуокись углерода, СО>2> |
0,006 |
- |
- |
1,9770 |
0,0060 |
|
Сероводород, H>2>S |
- |
23270 |
- |
1,5361 |
- |
|
Азот, N>2> |
0,007 |
- |
- |
1,2503 |
0,0338 |
|
Итого |
1,0 |
- |
36573 |
- |
0,7754 |
МДж/м³
1.4 Годовые расходы газа на бытовые и коммунальные нужды населения
Основой для разработки проекта является годовой объем потребления газа населенным пунктом.
Все виды потребления газа в населенном пункте можно условно разделить на следующие группы:
1) расход газа населением в квартирах для приготовления пищи и горячей воды;
2) расход газа предприятиями коммунального хозяйства (бани, прачечные, больницы, хлебозаводы, котельные);
3) расход газа на отопление и вентиляцию жилых и общественных зданий от различных источников теплоснабжения (котельные, местные отопительные установки);
4) расход газа на горячее водоснабжение;
5) расход газа промышленными предприятиями.
Определение норм удельных расходов газа на бытовые и коммунально-бытовые нужды производится по среднегодовым нормам расхода тепла. Нормы расхода тепла не являются величиной постоянной. Для бытовых потребителей зависят от климатических условий, охвата населения общественным питанием, наличия или отсутствия центрального отопления, ассортимента и качества бытовых приборов, практики их эксплуатации. В предприятиях общественного питания на нормы расхода газа влияют количество приготавливаемых блюд, весовой объем отпускаемых блюд, их ассортимент, тип и качество нагревательных газовых приборов.
Большая часть этих факторов не поддается теоретическому подсчету– учету, и определение годовой потребности в газе производится по усредненным нормам расхода теплоты, полученным из практики.
Таблица 5. Нормативные расходы газа
|
Потребители газа |
Показатель потребления газа |
Норма расхода газа в год, МДж |
|
1. Жилые здания |
||
|
1.1. На приготовление пищи (плита + централизованное горячее водоснабжение) |
на 1 чел. в год |
2800 |
|
1.2. На приготовление пищи и горячей воды для хозяйственных нужд, включая стирку белья (при отсутствии газового водонагревателя и централизованного горячего водоснабжения) |
на 1 чел. в год |
4600 |
|
1.3. На приготовление пищи и горячей воды для хозяйственных и санитарно – бытовых нужд, включая стирку белья (плита + водонагреватель) |
на 1 чел. в год |
8000 |
|
2. Предприятия бытового обслуживания |
||
|
2.1. Механизированные прачечные |
1 т. сухого белья |
18000 |
|
2.2. Бани |
1 помывка |
40 |
|
3. Предприятия общественного питания |
||
|
3.1. Столовые, кафе и рестораны |
1 завтрак, 1 обед, 1 ужин |
8,4 |
|
4. Учреждения здравоохранения |
||
|
4.1. Больницы и родильные дома: 4.1.1. На приготовление пищи 4.1.2. На приготовление горячей воды для хозяйственно – бытовых нужд и лечебных процедур (без стирки белья) |
на 1 койку в год на 1 койку в год |
3200 9200 |
|
5. Хлебозаводы |
||
|
5.1. На выпечку хлебобулочных изделий |
на 1 т |
5450 |
Примечание:
Нагрузка прачечной определена из условия обработки 150 кг сухого белья на 1 человека в год (150 т на 1000 жителей) и 25% от числа жителей, пользующихся услугами прачечных, то есть 150 * 0,25 = 37,5 т в год на 1000 газоснабжаемых жителей.
Нагрузка бань определена из условия 52 помывок в год на 1 человека и 25% от числа жителей, пользующихся банями (52 * 1000 * 0,25 = 13000 помывок на 1000 газоснабжаемых жителей в год).
Нагрузка больничных заведений определена по нормативу 10 коек на 1000 жителей.
Нагрузка хлебозаводов определена из условия нормы выпечки хлебобулочных изделий 0,75 т на 1000 жителей в сутки (0,75 * 365 = 274 т в год).
Нагрузка столовых, ресторанов и кафе определена из условия посещения последних 25% населения (0,25 х 1000 х 365 = 91250 жителей в год).
1.4.1 Определение годовых и часовых расходов газа на бытовые и коммунальные нужды населения
При проектировании систем газоснабжения населенного пункта необходимо определить расчетные часовые расходы газа на всех участках системы газоснабжения.
Общее потребление на бытовые и коммунальные нужды населения условно разделяют на два вида.
К первому виду относят расход газа на хозяйственно – бытовые и мелкие коммунальные нужды населения, ко второму – предприятия коммунального хозяйства с расчетным часовым расходом газа, превышающим 150 нм3/ч.
Для газоснабжения первого вида потребителей применяют, в основном, сети низкого давления (менее 5кПа). В последнее время для этой цели разработана прогрессивная схема газоснабжения среднего давления с использованием домовых регуляторов давления.
Для второго вида потребителей используются сети среднего или высокого давления.
Определение расходов газа на бытовые и коммунально-бытовые нужды представляет сложную задачу, так как зависит от многих факторов, влияющих на потребление газа (от типа устанавливаемых в квартире газовых приборов, степени благоустройства и населенности квартир, степени охвата потребителей централизованным теплоснабжением, характера объекта, степени развития коммунально-бытового обслуживания населения, уклада жизни населения).
Расчетные часовые расходы газа можно определить несколькими способами: по годовым нормам расхода газа потребителями; номинальным расходам газа газовыми приборами; тепловой производительности газоиспользующих установок и укрупненным показателям.
Расход газа на отопление и вентиляцию зданий в микрорайоне определяется по жилой площади, имеющейся в микрорайоне.
Определение расходов газа по номинальным расходам газовых приборов производится в том случае, когда известно их количество и тип. При отсутствии таких данных расход газа определяется по годовым нормам в соответствии с [2].
В течение всего года газ потребляется неравномерно. Различают сезонную, суточную и часовую неравномерность.
Сезонная неравномерность потребления газа на отопление вызывается повышенным газопотреблением в зимние месяцы, которое изменяется соответственно температуре наружного воздуха.
Неравномерность потребления газа по дням недели вызвана повышением расхода газа на хозяйственно-бытовые нужды населения в предвыходные и предпраздничные дни, а также зависит от режима работы промышленных предприятий.
Неравномерность потребления газа по часам суток возникает от понижения расхода газа в ночное время на хозяйственно-бытовые нужды населения, а также зависит от режима работы промышленных предприятий. Поэтому для обеспечения бесперебойности снабжения потребителей система газоснабжения рассчитывается на максимальный часовой расход газа.
За максимальный часовой расход газа принимается средний расход газа за час максимального потребления.
При расчете систем распределения газа очень часто представляется возможным установить число подлежащих газоснабжению квартир и, тем более, газовых приборов (в особенности для вновь проектируемых районов и городов). Поэтому при проектировании систем распределения газа на хозяйственно-бытовые и коммунальные нужды рекомендуется определять как долю годового расхода по формуле:
(2)
где
- максимальный
расчетный часовой расход газа при
температуре 0° и давлении газа 0,1 МПа,
м³/ч
>
>- коэффициент часового
максимума (коэффициент перехода от
годового расхода к максимальному
часовому расходу газа), принимается по
табл. 6.
- годовой расход газа,
м3/год
Таблица 6. Значение коэффициента часового максимума для населения
|
Число жителей, снабжаемых газом, тыс. чел |
Значения К>max> |
|
1 |
1/1800 |
|
2 |
1/2000 |
|
3 |
1/2050 |
|
5 |
1/2100 |
|
10 |
1/2200 |
|
20 |
1/2300 |
|
30 |
1/2400 |
|
40 |
1/2500 |
|
50 |
1/2600 |
|
100 |
1/2800 |
Годовые расходы газа для жилых домов, предприятий бытового обслуживания населения, общественного питания, предприятий по производству хлеба, а также учреждений здравоохранения определяются по нормам теплоты, приведенным в табл. 5. Кроме перечисленных в табл. 5 потребителей, в любом населенном пункте имеется еще ряд мелких предприятий, учесть которые затруднительно. В связи с этим при расчете годовых расходов газа расход газа на эти предприятия следует принимать в размере до 5% от суммарного расхода теплоты на жилые дома.
Значение коэффициента часового максимума для предприятий коммунального хозяйства принимается по табл. 7.
Таблица 7. Коэффициент часового максимума для коммунальных предприятий
|
Предприятия |
Коэффициент часового максимума расхода газа |
|
Прачечные |
1/2900 |
|
Бани |
1/2700 |
|
Больницы |
1/2500-1/3500 |
|
Общественного питания |
1/2000 |
|
Хлебозаводы |
1/6000 |
Годовой расход газа V>год>, м3/год, определяется по формуле:
,
(3)
где Q>i>- годовая норма расхода теплоты на бытовое и коммунально-бытовое потребление, кДж/год (табл. 5);
-
низшая теплота сгорания газа, кДж/м3;
m-
количество расчетных единиц потребления
газа.
1.4.2 Определение часовых расходов газа на отопление, вентиляцию и горячее водоснабжение микрорайона
Часовые расходы теплоты на жилые районы городов и населенных пунктов определяются по укрупненным показателям [7].
Максимальный часовой расход теплоты на отопление жилых и общественных зданий Q>о>, кДж/ч, при t>н.р.о.> определяется из выражения:
, (4)
где
-расходы
теплоты на отопление жилых и общественных
зданий соответственно.
Для жилых зданий расход теплоты на отопление, кДж/ч, определяется по формуле:
,
(5)
где
-
укрупненный показатель максимально-часового
расхода тепла,
кДж/м3ч;
F- площадь отапливаемых или вентилируемых зданий, м2.
Расход теплоты на отопление общественных зданий рассчитывается по формуле:
(6)
де К>1>- коэффициент, учитывающий расход теплоты на отопление общественных зданий, при отсутствии данных принимается равным 0,25.
Максимальный часовой расход газа на отопление жилых и общественных зданий в микрорайоне, м3/ч, определяется по формуле:
,
(7)
где
-
низшая теплота сгорания газа, кДж/м3;
-
КПД котельных агрегатов, принимается
равным 0,8÷0,85.
Максимальный часовой расход теплоты на вентиляцию общественных зданий, кДж/, определяется по формуле:
(8)
где К>2>- коэффициент, учитывающий расход теплоты на вентиляцию,
при отсутствии данных принимается равным 0,6.
Максимальный часовой расход газа, м3/ч, на вентиляцию
(9)
Максимальный часовой расход теплоты, кДж/ч, на горячее водоснабжение жилых и общественных зданий микрорайона определяется:
(%
охвата),
(10)
где q>г.в.>- укрупненный показатель максимального теплового потока на
горячее водоснабжение, Вт/чел., зависит от норм потребления горячей воды.
Максимальный часовой расход газа, м3/ч, на горячее водоснабжение микрорайона определяется по формуле:
.
(11)
Значение
при определении расходов газа на
вентиляцию и горячее водоснабжение
принимается равным 0,8÷0,85, так как
источником теплоты является котельная.
Результаты часовых расходов газа на все виды потребления представлены в табл. 8.
Таблица 8
|
Расходы газа, м3 /ч |
|||||||
|
Бытовое потребление V>быт>. |
Комму-нально-бытовое потребление V>ком.быт> |
Центральное отопление V>о> |
Вентиляция V>в> |
Централизованное горячее водоснабжение V>г.в.> |
Теплоснабжение промышленного предприятия |
Централизованное теплоснабжение (гр.3+4+ 5+6) |
Суммарный по микрорайону |
|
1 |
2 |
3 |
4 |
5 |
6 |
7 |
8 |
|
156,6 |
267,4 |
995,8 |
119,5 |
360,4 |
393 |
1475,7 |
2292,7 |
1.5 Гидравлический расчет газопроводов
1.5.1 Гидравлический расчет кольцевой сети газопроводов среднего давления
Газовые сети высокого (среднего) давления являются верхним уровнем системы газоснабжения НП. Для больших и средних НП их проектируют кольцевыми (резервированными), и только для малых НП они могут выполняться в виде разветвленных сетей.
Расчетный перепад давления для сетей высокого (среднего) давления следует определять исходя из условия создания при допустимых перепадах давления наиболее экономичной и надежной в эксплуатации системы, обеспечивающей устойчивую работу ГРП и ГРУ. Поэтому начальное давление следует принимать максимальным по [2] для данного вида газопровода, а конечное давление таким, чтобы при максимальной нагрузке сети обеспечивалось минимально допустимое давление газа перед регуляторами ГРП и ГРУ. В большинстве случаев перед ГРП достаточно иметь избыточное давление примерно 0,15-0,2 МПа.
При расчете кольцевых сетей необходимо оставлять резерв давления для увеличения пропускной способности системы газоснабжения при аварийных гидравлических режимах. Принятый резерв должен проверяться расчетом при возникновении наиболее неблагоприятных аварийных ситуаций, которые происходят при выключении головных участков сети.
Ввиду кратковременности аварийных ситуаций допускается некоторое снижение качества системы, оцениваемое коэффициентом обеспеченности К>об>, который зависит от категории потребителей.
При аварийной ситуации диспетчерской службой принимаются меры по сокращению потребления газа. Такое сокращение можно осуществить уменьшением подачи тепла на отопление зданий и горячее водоснабжение, прекращением работы второстепенных цехов промпотребителей или переводом их на резервное топливо. Однако во всех случаях режим давлений в газовой сети должен обеспечивать нормальную работу газогорелочных устройств неотключенных агрегатов.
Для коммунально-бытовых потребителей К>об >может быть принят в размере 0,8-0,85, для отопительных котельных 0,7-0,75, а для промпотребителей, имеющих резервное топливо, К>об >=0. При отсутствии резервного топлива сокращение подачи газа зависит от сокращения подачи тепла на отопление. Для технологических нужд сокращать подачу газа не следует. Таким образом, К>об> может быть определен для всех сосредоточенных потребителей и на его основе могут рассчитываться аварийные гидравлические режимы.
Для однокольцевого газопровода аварийных режимов, подлежащих расчету, два: при выключении головных участков сети слева и справа от точки питания. Так как при этом однокольцевой газопровод превращается в тупиковый, диаметр кольца можно определить из расчета аварийного режима при лимитированном газоснабжении.
Основными исходными данными для гидравлического расчета газопроводов среднего давления являются: схема сети, расчетные расходы газа всех потребителей и перепад давления в сети, то есть разница давлений на выходе газа из ГРС и в самой удаленной от нее точке потребления по схеме.
Используя расчетный расход газа и удельную потерю давления на участке, определяют диаметры участков и уточняют потери давления на них.
Гидравлический расчет газопроводов среднего давления во всей области турбулентного режима движения газа проводят по формуле
(12)
где Р>н>, Р>к> – абсолютное давление газа в начале и конце газопровода, МПа;
L – длина рассчитываемого участка, км;
К>э> – эквивалентная абсолютная шероховатость внутренней поверхности стенки трубы, см;
d – внутренний диаметр газопровода;
v – коэффициент кинематической вязкости, м2/с;
ρ – плотность газа, кг/м3, при температуре 0 °С и давлении 101,3 кПа;
Q – расход газа, нм3/ч.
Расчет с использованием приведенной формулы требует значительного времени и довольно затруднителен. Поэтому для расчета газопроводов среднего и высокого давлений используют номограммы, составленные для наиболее распространенных в газовой технике труб.
Потери давления в местных сопротивлениях рекомендуется учитывать путем увеличения действительной длины газопроводов на 10%, т.е. приведенная длина расчетного участка больше действительной в 1,1 раза.
Расчет однокольцевой сети газопроводов выполняется в следующей последовательности:
Составляется расчетная схема газопроводной сети: нумеруются участки, проставляются их расчетные длины, выписываются расчетные расходы газа каждым сосредоточенным потребителем.
Производится предварительный расчет диаметра кольца по приближенным зависимостям
Q>р>=0,59×∑К>об>×Q>i> (13)
,
(14)
где Q>p> – расчетный расход газа, нм3/ч;
Q>i> – расчетные расходы газа потребителями, нм3/ч;
K>об.>>i> – коэффициенты обеспеченности газом потребителей;
Р>н>; Р>к> – абсолютные давления газа в начале и конце сети, кПа;
l>к> – протяженность расчетного кольца, м;
1,1 – коэффициент, учитывающий местные сопротивления;
0,59 – приближенное значение коэффициента α в формуле определения расчетного расхода, когда газопровод несет путевую нагрузку.
При этом целесообразно принимать диаметр кольца постоянным. Если это не удается, то участки газопроводов, расположенные диаметрально противоположно точке питания, следует принимать меньшего диаметра, но не менее 0,75 диаметра головного участка.
Выполняется два варианта гидравлического расчета аварийных режимов при выключенных головных участках слева и справа от точки питания. При этом кольцевая сеть становится тупиковой, при которой потоки газа движутся от головного ГРП до крайних точек. Определяются суммированием расчетные расходы газа каждого участка сети, начиная эту операцию от конца тупика по направлению к головному ГРП. Диаметры участков корректируются так, чтобы давление газа у последнего потребителя не понижалось ниже минимально допустимого значения. Для всех ответвлений рассчитываются диаметры газопроводов на полное использование перепада давления при лимитированном отборе газа.
Рассчитывается распределение потоков газа при нормальном режиме работы сети и определяются давления газа во всех узловых точках.
Проверяются диаметры ответвлений к сосредоточенным потребителям при расчетном гидравлическом режиме. В случае необходимости диаметры отводов увеличиваются до необходимых размеров.
В связи с тем, что указанные номограммы составлены для расчета стальных газопроводов, полученные значения диаметров, вследствие более низкого коэффициента шероховатости полиэтиленовых труб, следует уменьшать на 5-10%.
Гидравлический расчет кольцевых сетей газопроводов следует выполнять с увязкой давлений газа в узловых точках расчетных колец при максимальном использовании допустимой потери давления газа. Неувязка потерь давления в кольце допускается до 10%.
При выполнении гидравлического расчета надземных и внутренних газопроводов с учетом степени шума, создаваемого движением газа, следует принимать скорости движения газа не болев 7 м/с для газопроводов низкого давления, 15 м/с - для; газопроводов среднего давления, 26 м/с - для газопроводов высокого давления.
В проекте нагрузки распределены следующим образом:
На ШРП №1 – 101,8 м³/ч;
На ШРП №2 – 22 м³/ч;
На ШРП №3 – 101,8 м³/ч;
На ШРП №4 – 18,2 м³/ч;
На ШРП №5 – 161 м³/ч;
На ШРП №6 – 18,2 м³/ч;
Котельная №1 – 727,9 м³/ч;
Котельная №2 – 727,9 м³/ч;
Промышленное предприятие – 392 м³/ч;
Расчетный расход газа потребителями ∑V>р>=2292,7 м³/ч;
Таблица 9. Расчетные длины участков
|
№ уч. |
Длины участков кольца |
Длины участков ответвлений |
|||||||||||||||||
|
1-2 |
2-3 |
3-4 |
4-5 |
5-6 |
6-7 |
7-8 |
8-9 |
9-10 |
10-1 |
2-11 |
3-12 |
4-13 |
5-14 |
6-15 |
7-16 |
8-17 |
9-18 |
10-19 |
|
|
l,м |
224 |
257 |
142 |
124 |
258 |
218 |
97 |
180 |
18 |
92 |
11 |
113 |
95 |
113 |
11 |
67 |
23 |
70 |
23 |
∑ l=1610 м.
Определим диаметр кольца по расчетному расходу:
V>p>=0,59×0,7×2268,5=937 м³/ч,
и удельному падению квадрата давления:
кПа²/м.
Потери давления на местные сопротивления приняты в размере 10% от линейных потерь.
Диаметр газопровода определяем по номограмме, он равен 160 мм.
Производим расчеты для аварийных режимов при выключении головных участков 1-10 и 1-2. Узловые расходы на участках принимаем равными 0,7 V>p>.
При отключении участка 1-10 кольцевая сеть становится тупиковой. По выбранному диаметру и расходу на участке по номограмме определяем величину удельного падения квадрата давления и давление в конце участка по формуле
(15)
где Р>к> – давление в конце участка, Па;
L – длина участка, м;
R>д> – действительная величина удельного падения квадрата давления,
кПа²/м.
В процессе расчета выяснилось, что кольцевой газопровод диаметром 160 мм обеспечивает необходимое давление в концевых точках.
Рассчитаем диаметры ответвлений для аварийных режимов при подаче газа потребителям в объеме V=К>об>×V>р>, м³/ч. Сначала определим давление газа в начале всех ответвлений. Из сравнения двух значений начальных давлений для каждого ответвления Р>н.отв.> выбираем наименьшее. Для этого давления и подбираем диаметр ответвления при условии, чтобы давление в конце ответвления Р>к.отв.> было не менее 100 кПа. Кроме того, диаметры менее 63 мм не проектируем.
Результаты расчета представлены в приложении А.
1.5.2 Гидравлический расчет тупиковой дворовой сети низкого давления
Внутридворовые газопроводы запроектированы надземно, на металлических опорах и по фасадам зданий на кронштейнах на высоте 2,2 м. В местах пересечения с внутридворовыми проездами предусмотрен подъем газопровода на опорах на высоту 5 м.
Гидравлический расчет внутридворовых газопроводов проводят в следующей последовательности.
1. На генплане квартала проектируют газовые сети по тупиковой схеме.
2. Намечают расчетные участки от точки подключения к распределительному уличному газопроводу до отключающего устройства на вводе в здание.
3. Определяются средние ориентировочные удельные потери давления на расчетной ветке от точки подключения к распределительному газопроводу до наиболее удаленного газифицированного здания:
(16)
где 250 – нормативный перепад давления, Па, по [ ];
1,1 – 10% на местные сопротивления;
∑l – суммарная длина расчетной ветки, м;
Диаметры участков газопроводов
определяют по расчетному расходу газа
V>р>,
м³/ч, и значению удельных ориентировочных
потерь давления
,
Па/м. Расчетная таблица заполняется в
следующей последовательности:
1. Ориентируясь по средней удельной потере давления и расчетным расходам газа на участках, по приложению подбираем диаметры газопроводов на участках сети.
2. Для выбранных диаметров газопроводов на участках по приложению определяем действительные удельные потери давления.
3. Умножая действительные потери давления на участках на длину этих участков, определяем полные потери давления на каждом участке.
4. Суммируем потери давления на участках расчетной ветки и результат сравниваем с нормативным расчетным перепадом давления.
В случае недоиспользования или превышения расчетного перепада давления изменяем диаметр газопровода на одном или нескольких участках с тем, чтобы свести невязку до величины не более 10%. Изменения диаметров фиксируем в графах 8, 9, 10. Результаты расчета представлены в приложении А
1.6 Расчет регуляторов давления для ШРП
В настоящее время ГРП сооружаются, как правило, по типовым проектам или применяются шкафные (блочные) ГРП полной заводской готовности.
Поэтому проектирование сетевых ГРП сводится к подбору необходимого регулятора давления и привязке соответствующего ему типового проекта или выбору соответствующего шкафного ГРП.
Пропускная способность регулятора давления определяется по одной из приведенных ниже формул:
- для докритической области истечения газа
Q>o>=5260×K>v>×ε×
(17)
Для критического режима истечения газа, т.е. при соблюдении неравенства

(18)
где Q>o>> >– пропускная способность регулятора давления, м³/ч;
К>v> – коэффициент пропускной способности регулятора;
ε – коэффициент, учитывающий изменение плотности газа при движении через дроссельный орган регулятора;
Р>1>÷Р>2> – абсолютное давление газа до и после регулятора, МПа;
ρ>о> – плотность газа при нормальных условиях, кг/м³;
Т>1> – температура газа перед регулятором, °К;
Z>1> – коэффициент, учитывающий сжимаемость газа, при Р>1> до 1,2 МПа принимается равным 1.
Расчет производят в следующей последовательности.
Определяется режим движения газа, исходя из величины начального и конечного давления газа на регуляторе.
Определяется коэффициент расхода регулятора, по формулам (17) и (18).
Подбираем регулятор давления, обладающий близким по значению коэффициентом расхода К>v>.
Определяется пропускная способность подобранного регулятора при исходных значениях начального и конечного давления газа перед ним. Определяется загрузка регулятора или запас пропускной способности по сравнению с производительностью ШРП. Согласно СНиП 42-01-2002 этот запас должен составлять не менее 15% - 20%.
Исходные данные для расчета:
- расчетная производительность ШРП №1, №3 в размере 101,8 м³/ч, ШРП №2 – 22 м³/ч, ШРП №4, №6 – 18,2 м³/ч, ШРП №5 – 161 м³/ч;
- давление газа перед ШРП, 0,3 МПа;
- давление газа после ШРП, 3 кПа.
Для ШРП №1, №3.
Р>1>=0,3+0,101=0,401 МПа; Р>2>=0,003+0,101=0,104
Р>2>÷Р>1>=0,104÷0,401=0,26, т.е. Р>2>÷Р>1><0,5;
Следовательно, далее расчет ведем по формуле (18). Учитывая, что на регуляторе срабатывается большой перепад давления, потерями давления в ШРП до регулятора можно пренебречь. Далее определяем коэффициент расхода регулятора по (18)

По полученному значению К>v>=1,4 подбираем регулятор с ближайшим большим значением этого коэффициента, РД-50, у которого К>v>=22.
Далее по (18) определяем пропускную способность этого регулятора при тех же значениях начального и конечного давления газа.
Q>o>=5260×22×0,7×0,401×
=1300
м³/ч
Определяем загрузку регулятора
%<80-85%
Таким образом, принятый к установке регулятор давления газа РД-50 имеет достаточный резерв производительности.
Как уже отмечалось выше, в настоящее время выпускаются шкафные ГРП полной заводской готовности. Их паспортные характеристики приведены в [11]. Поэтому дальнейший подбор регуляторов давления произведем по пропускной способности, приведенной в таблице 3.22 в [11], согласно [2].
Для ШРП №2 принимаем к установке регулятор давления типа РД-32М с пропускной способностью 110 м³/ч, резерв производительности которого вполне приемлем для наших условий.
Аналогично, для ШРП №4, №6 выбираем РД-32М.
Для ШРП №5 принимаем к установке регулятор РД-50М.
2 Газоснабжение котельной
2.1 Требования к зданиям и помещениям газифицированных котельных
Здания и помещения котельных с котлами, работающими на газовом топливе, не являются взрывоопасными. Независимо от этажа размещения котельный зал, помещения дымососов и деаэраторов должны соответствовать категории Г по пожароопасности и не ниже второй степени по огнестойкости. При определенных климатических условиях допускается установка котлов в котельных полуоткрытого и открытого типа.
Не допускается пристройка котельных, независимо от используемого в них топлива, к жилым зданиям и зданиям детских яслей-садов, общеобразовательных школ, больниц и поликлиник, санаториев, учреждений отдыха, а также устройство котельных, встроенных в здания указанного назначения.
Не допускается размещать встроенные котельные под помещениями общественного назначения (фойе и зрительные залы, торговые помещения, классы и аудитории учебных заведений, залы столовых и ресторанов, душевые и т.п.) и под складами горючих материалов.
На каждом этаже котельного помещения должно быть не менее двух выходов, расположенных в противоположных сторонах помещения. Допускается устройство одного выхода, если площадь этажа меньше 200 м² и имеется выход на наружную пожарную лестницу, а в одноэтажных котельных – при длине помещения по фронту котлов не более 12 м. Выходные двери из котельного помещения должны открываться наружу. Выходом считается как непосредственный выход наружу, так и выход через лестничную клетку или тамбур.
Устройство чердачных перекрытий над котлами не допускается. Уровень пола котельной не должен быть ниже уровня территории, прилегающей к зданию котельной, и должен иметь легко отмываемое покрытие. Стены внутри котельной должны быть гладкими, окрашены в светлые тона или облицованы светлым кафелем или стеклянными плитками.
Расстояние от выступающих частей газовых горелок или арматуры в котельной до стены или других частей здания и оборудования должно быть не менее 1 метра, а для котлов, расположенных друг против друга, проход между горелками – не менее 2 метров. Если перед фронтом котла установлен вентилятор, насос или тепловой щит, ширина свободного прохода должна быть не менее 1,5 м.
При боковом обслуживании котлов ширина бокового прохода должна быть не менее 1,5 м для котлов производительностью до 4 т/ч и не менее 2 м для котлов производительностью 4 т/ч и более. При отсутствии бокового обслуживания ширина бокового прохода, а также расстояние между котлами и задней стеной котельной должно быть не менее 1 м. Ширина прохода между выступающими из обмуровки частями котлов (каркасы трубы и т.п.), а также между частями котла и частями здания (колонны, лестницы), рабочими площадками и т.п. должна быть не менее 7 м.
Газорегуляторные установки (ГРУ) размещают в котельной вблизи от ввода газопровода в котельном зале или в смежном помещении, соединенном с ним открытым проемом. Оборудование и приборы ГРУ должны быть защищены от механических повреждений и от воздействия сотрясения и вибраций, а место размещения ГРУ освещено. Оборудование ГРУ, к которому возможен доступ лиц, не связанных с эксплуатацией газового хозяйства, должно иметь ограждение из несгораемых материалов. Расстояние между оборудованием или ограждением и другими сооружениями должно быть не менее 0,8 м. Ограждение ГРУ не должно препятствовать проведению ремонтных работ.
2.2 Технологическая часть
2.2.1 Тепломеханическая часть
Проектом предусматривается теплоснабжение для нужд отопления и вентиляции промышленного предприятия от местной котельной.
Теплопроизводительность котельной 3МВт
Теплоноситель горячая вода 95-70°С.
Рабочий проект выполнен в соответствии с действующими нормами и правилами, и предусматривает мероприятия, обеспечивающие взрывопожаробезопасность при эксплуатации объекта.
В котельной устанавливается 3 котла водогрейных марки КСВа.
В комплект поставки котла входит:
1. Горелка газовая ГБ-1,2.
2. Комплект средств управления КСУМ, входящий в систему автоматики горелки. Номинальная производительность котельной 3×1,0=3,0 МВт.
Теплоноситель для систем теплоснабжения – вода с параметрами 95-70°С.
Подпитка сети производится
водой, прошедшей ПМУ (противонакипное
магнитное устройство).
Магнитный водоподготовник обеспечивает безнакипное состояние поверхностей нагрева при условиях, исключающих кипячение воды в котлах и трубопроводах.
Удаление дымовых газов осуществляется за счет естественной тяги через металлические газоходы Ø 400 мм и дымовую трубу Ø 600 мм Н=31 м.
2.2.2 Решения по газоснабжению и газооборудованию
Газоснабжение котельной выполнено согласно техническому заданию, выданному руководителем дипломного проекта. Точка подключения – существующий газопровод среднего давления Р=0,3 МПа (Р=3 кг/см2). Теплота сгорания газа 35760 кДж/м³. Подводящий газопровод запроектирован подземно.
После монтажа и испытания газопровод окрасить в желтый цвет по 2 слоям грунтовки.
Для снижения давления от входного Р=0,3 МПа до Р=0,005 МПа предусмотрена газорегуляторная установка, размещаемая внутри здания котельной.
На котлах и дымоходах предусмотрена установка взрывных клапанов заводского изготовления. Их количество определено расчетом. Для продувки газопроводов перед пуском, а также для сброса газа на период ремонта котла предусмотрены продувочные свечи.
Пуск, остановка и эксплуатация котлов производятся в строгом соответствии с утвержденной инструкцией по эксплуатации котлов, работающих на газовом топливе.
Прокладка газопроводов открытая, выполняется из стальных электросварных труб по [9].
На вводе проектом предусмотрена установка отключающей арматуры типа 30с27нж..
Проект выполнен в соответствии с требованиями [2] и «Правилами безопасности в газораспределительных системах».
Аэродинамическое сопротивление котлов, работающих на естественной тяге, не должно превышать 100 Па.
По расчету р=63 Па,
Где р – расчетное аэродинамическое сопротивление котла и газового тракта.
2.2.3 Устройство взрывных клапанов
Котлы, работающие на газовом топливе, во избежание их разрушения при возможном взрыве газовоздушной смеси должны иметь предохранительные взрывные клапаны, которые, как правило, размещают в верхних частях топки, газоходов и боровов, а также в других местах, где могут образоваться газовые мешки. Если плотность горючего газа больше плотности воздуха, то клапаны устанавливают и в нижних частях топки и газоходов. Их не располагают в местах нахождения обслуживающего персонала. Если клапан расположен так, что при срабатывании его могут быть травмированы люди, то должны быть предусмотрены защитный козырек, отвод или другие меры безопасности. Защитные устройства и их крепление к котлу должны быть рассчитаны на соответствующее воздействие взрывной волны, чтобы эти устройства при взрыве сами не оказались источниками травм.
Для котлов производительностью менее 10 т/ч общую суммарную площадь клапанов обычно принимают не менее 0,025 м² на каждый 1 м³ объема топки и газоходов, а площадь одного клапана – не менее 0,15 – 0,18 м² [11].
Исходя из вышеизложенного, принимаем к установке по одному взрывному клапану на газоходе каждого котла размером 0,4×0,4 м и площадью 0,16 м², сбросного типа. Клапан представляет собой свободно лежащую над проемом пластину, опирающуюся на выступающие элементы газохода. По периметру пластина уплотняется мягкой огнеупорной глиной, при взрыве отбрасывается. Пластина изготовлена из листового асбеста толщиной 10 мм, под который подкладывается решетка из металлических прутков.
2.2.4 Вентиляция
Вентиляция котельного зала приточно-вытяжная. Приток механический осевым вентилятором с подогревом наружного воздуха в количестве 3494 м3/ч.
Вытяжка механическая вентиляторами горелок котлов КСВа – 2400 м3/ч и дефлекторами систем ВЕ1 иВЕ2 – 1094 м3/ч.
Общеобменная вентиляция принята с учетом 3-хкратного воздухообмена.
В проекте приняты следующие расчетные параметры наружного воздуха:
Зимний период – минус 31 °С.
Переходный период – плюс 10°С.
Расчетные температуры внутреннего воздуха помещений котельной приняты по [2].
2.2.5 Электротехническая часть
Электроснабжение котельной предусматривается от существующей трансформаторной подстанции двумя кабельными вводами.
Управление электроприводами котельной предусматривается ящиками управления РУСМ, Рассказовского завода и магнитными пускателями.
Распределительные силовые сети прокладываются по стенам кабелем марки АВВГ на скобах и проводами АПВ в трубах.
Освещение котельной выполняется светильниками с лампами накаливания типа НСП І І.
Подводка к светильникам и подвеска светильников выполняется на тросах.
Ремонтное освещение принято на напряжение 126 В. Понижение напряжения осуществляется трансформатором ЯГП-0,25. Подводки к розеткам для подключения переносных светильников осуществляется кабелем марки АВВГ, прокладываемым по стене в скобах.
2.2.6 Противопожарные мероприятия
Внутреннее пожаротушение предусмотрено от 2-х пожарных кранов.
Наружное пожаротушение предусмотрено от существующих пожарных гидрантов.
Расчетный расход на наружное пожаротушение принят 10 л/с, количество 1 шт., продолжительность тушения пожара 3 часа, согласно [2].
Внутреннее пожаротушение предусматривается в две струи с расходом 2,5 л/сек каждая согласно [2].
У мест расположения пожарных гидрантов установить световые или флуоресцентные указатели. Наружное пожаротушение осуществляется передвижными насосными установками.
2.2.7 Решения по охране труда и технике безопасности
К эксплуатации допускаются лица не моложе 18 лет, прошедшие проверку знаний в соответствии с «Правилами устройства и эксплуатации сосудов, работающих под давлением» и «Правил безопасности в газораспределительных системах».
Все открытые движущиеся части оборудования, электродвигатели, другие опасные части машин ограждаются.
Ремонт оборудования должен производиться только при выключенных пусковых механизмах, на которых во время ремонта вывешивается предупредительная надпись.
Помещения должны быть снабжены средствами пожаротушения, содержащимися в исправном состоянии.
Теплоизоляция поверхности котлов и трубопроводов обеспечивает температуру на их поверхности 40÷45°С.
В производственных помещениях на постоянных рабочих местах приточно-вытяжной вентиляцией обеспечивается поддержание нормативных параметров температуры и влажности воздуха.
2.3 Поверочный расчет тягового устройства котельной
Перемещение дымовых газов по газоходам котельной установки и удаление их в атмосферу происходит с помощью тяговых устройств. Подача воздуха в топки котлов производится за счет имеющегося в них разряжения. Простейшим тяговым устройством является дымовая труба. Она создает в дымоходах котельной установки давление ниже атмосферного, так называемую естественную тягу.
Сила тяги пропорциональна разности температур наружного воздуха и дымовых газов, заполняющих трубу, а также высоте трубы: чем больше разность температур или высота трубы, тем больше сила тяги, и наоборот. При постоянных высоте трубы и температуре дымовых газов сила тяги больше зимой, чем летом. Точно также сила тяги больше при более высокой температуре уходящих газов.
Исходные данные для поверочного расчета тягового устройства котельной следующие:
1. котельная размещается в отдельно стоящем здании;
2. котельная оборудована тремя стальными котлами типа КСВа;
3. расход газа на один котел В>1>=131 м³/ч;
4. расход газа на котельную В=393 м³/ч;
5. высота существующей дымовой трубы Н=31 м;
6. внутренний диаметр дымовой трубы Д=0,6 м;
7. теоретически потребное количество воздуха для сжигания 1 м³ газа
=10
м³/м³;
8. теоретический объем дымовых газов при сжигании 1 м³ газа: V>o>=11м³/м³;
9. сечение борова котла F>1>=F>2>=F>3>=0,12 м²;
10. сечение сборного борова котельной F=0,3 м²;
11. теплопроизводительность котла Q=1МВт;
12. поверхность нагрева котла Н>к>=20,0 м²;
13. коэффициент избытка воздуха за котлом α>ух>=1,1;
14. коэффициент избытка воздуха перед дымовой трубой α>д>=1,3;
15. температура наружного воздуха t>н>=-31°С;
16. материал дымовой трубы – сталь;
17. барометрическое давление Б=99085 Па;
18. теплота сгорания газа
=37560
кДж/м³;
Для проверки тягового устройства необходимо определить следующие расчетные параметры.
Температура уходящих газов за котлом
(19)
где для водогрейных котлов

t>ух>=145+10×
=150°С.
Объем дымовых газов в борове котла
(20)
=1395
м³/ч.
Общий объем дымовых газов V=4185 м³/ч.
Объемная доля дымовых газов, поступающих в сборный боров от каждого котла, а = 0,33.
Температура дымовых газов у основания дымовой трубы, t>д>, при устройстве дымовых каналов от котлов до дымовой трубы надземно,
(21)
=122°,
Средняя температура дымовых газов в сборном борове, t>ср.б.>,°С
t>ср.б>=
°С.
Объем дымовых газов в сборном борове при t>ср.б>, V>б>
V>б>=В×[V>o>+(α>д>-1)×
]×
(22)
393×[11+(1,3-1)×10]×
=8243
м³/ч
Скорость дымовых газов в сборном борове котельной
W>б>=
=
=19
м/с
Падение температуры на 1 м длины трубы ∆t, °С, для металлических нефутерованных труб
(23)
где


Температура на выходе из трубы, ∆t>вых>
t>вых>=t>д>-∆t×H=122-0,43×31=109 °С
Средняя температура в трубе
t>ср.тр>=

Средний удельный вес дымовых газов в трубе при t>ср.тр.>, γ>ср.тр.>, °С, кг/м³
γ>ср.тр>=
кг/м³
Удельный вес дымовых газов на выходе из трубы при t>вых>, γ>вых>, кг/м³
γ>вых>=
Средний объем дымовых газов
в трубе при t>ср.тр>,
,
м³/ч
=
=
7830
м³/ч
Объем дымовых газов на выходе из трубы при t>вых>, V>г.вых>, м³/ч
V>г.вых>=
7699
м³/ч
Коэффициент шероховатости стальной трубы
λ=0,02
Средняя скорость газов в дымовой трубе W>ср.тр.>, м/с
W>ср.тр>=
м/с
Расчет продолжается, так как W>ср.тр><8 м/с.
Скорость дымовых газов на выходе из трубы W>вых>, м/с
W>вых>=
7,6
м/с
Для определения высоты дымовой трубы предварительно находим газовые сопротивления отдельных элементов котельной установки и их сумму:
сопротивление топки - ∆S>т>=0,5 кгс/м²;
сопротивление котла - ∆S>к>+∆S>т>=2,7 кгс/м²;
сопротивлением сборного борова можно пренебречь, так как длина его незначительна;
сопротивление шибера - ∆S>ш>=1,5 кгс/м²;
сопротивление в трубе
∆S>тр>=h>тр>+h>вых>
где h>тр>=1,5×
4
кгс/м²
h>тр>=1,5×
4,1
кгс/м²
∆S>тр>=4+4,1=8,1 кгс/м²
Суммарное сопротивление тягового устройства котельной
S>уст>=∆S>т>+∆S>к>+∆S>ш>+∆S>тр>=12,3 кгс/м².
Находим высоту дымовой трубы:
(24)
23
м.
Таким образом, на основании расчета существующие дымовые тракты и дымовая труба диаметром 600 мм и высотой 31 м реконструкции не подлежат.
3 Автоматическое регулирование котельной установки
Для автоматической работы и защиты котлов от аварийных ситуаций в проекте заложен комплект средств управления типа КСУМ-1-Г-2, который осуществляет:
- автоматический пуск и остановку котла;
- автоматическое регулирование и защиту котла;
- световую и звуковую сигнализацию аварийной ситуации.
3.1 Пуск и остановка котла
Перед началом работы комплекта необходимо выставить на наборном поле блока дешифратора БДШ следующие временные выдержки (с дискретностью 1 с в диапазоне от 1 до 63 с и 0,5 мин в диапазоне 0,5 до 63,5 мин): задержки на включение контроля разряжения; понижения давления воды и воздуха; предварительной вентиляции топки; розжига запальника; розжига основного факела; на установку устойчивого горения основного факела; прогрева котла перед включением регулирования производительности (при работе с общекотельным устройством); послеостановочной вентиляции.
Для запуска котла оператору необходимо нажать кнопку «Пуск», после чего включается лампа «Пуск» и комплект начинает отрабатывать программу розжига в такой последовательности: ставится под контроль отсутствие аварийного состояния температуры и давления воды; включаются электродвигатели вентилятора, дымососа, циркуляционного насоса; заслонки на воздуховоде и газоходе устанавливаются исполнительными механизмами на 100%- ное открытие. Через 10 с включается под контроль отсутствие аварийного состояния по понижению разряжения в топке, по понижению давления воды и воздуха. В течение 60 с производится дополнительно предварительная вентиляция топки, после чего заслонки на воздуховоде и газоходе переводятся на 40%- ное открытие. В таком состоянии начинается цикл розжига горелки включением клапана-отсекателя запальника КГ-10 и питания на катушку зажигания типа Б-115.
Одновременно контрольный электрод пламени электрозапальника подключается к схеме и через 5 с включается контроль действия устройства защиты по погасанию пламени. После поступления на схему сигнала о наличии пламени запальника подается питание на клапан-отсекатель «малого горения» и отсчитывается выдержка времени на завершение розжига. После отсчета выдержки времени отключается контрольный электрод пламени запальника и подключается контрольный электрод для контроля факела горелки; загорается световое табло «Работа» и гаснет лампа «Пуск»; ставятся под контроль датчики защиты по понижению и повышению давления газа. Отсчитывается время (60 с) на установку устойчивого горения факела горелки, после чего отключается клапан-отсекатель запальника и начинается отсчет времени на прогрев котла с последующим включением «регулятора мощности» при работе с общекотельным устройством. Далее котел выходит на режим и готов к регулированию производительности от общекотельного устройства или без него. Для остановки котла оператору достаточно нажать на кнопку «Стоп», а при полном окончании работы отключить автоматический выключатель сети в шкафу комплекта.
3.2 Автоматическое регулирование
Автоматика регулирования обеспечивает поддержание в заданных пределах температуры воды на выходе из котла, регулирование подачи воздуха и разрежения в топке.
При работе без общекотельного устройства датчиком в системе регулирования является термометр манометрический ТПГ-СК. Если температура горячей воды находится в интервале между нижним и верхним регулируемыми значениями (стрелка манометра находится между обоими неподвижными контактами и оба контакта разомкнуты), газ к горелке поступает через два клапана: «большого горения» КГ-70 и «малого горения» КГ-40, заслонки на воздуховоде и газоходе полностью открыты. Замыкание контакта при достижении верхнего регулируемого значения температуры отключает клапан «большого горения», срабатывает ЭИМ, перекрывая частично воздуховод и газоход и устанавливая соответствующее соотношение газ – воздух, и котел переходит в режим «малое горение». При последующем снижении температуры воды вновь открывается клапан «большого горения» и изменяются положения заслонки и шибера, т.е. регулирование производится в 40 или 100% тепловой мощности горелки. При этом клапан «малого горения» постоянно открыт.
Включение устройства регулирования мощности при первом пуске осуществляется вручную путем нажатия на кнопку «Регулирование мощности включено», сопровождающегося загоранием соответствующей сигнальной лампы, причем это включение автоматикой пуска разрешается только после прогрева котла.
3.3 Автоматика безопасности и сигнализация
Параметры, при аварийном значении которых происходит отключение подачи газа, датчики этих параметров и аварийная сигнализация, показывающая первопричину аварии, приведены в таблице
Таблица 10. Автоматика безопасности комплекта КСУМ-1-Г-2
|
Параметр |
Датчик |
Световая сигнализация |
|
Повышение температуры горячей воды |
Термометр манометрический ТПГ-СК, 0-160°С |
«Температура воды высокая |
|
Понижение разрежения |
Датчик-реле тяги ДТ-40-11К |
«Разрежение низкое» |
|
Повышение давления газа |
Датчик-реле давления ДД-06-11К |
«Давление газа высокое» |
|
Понижение давления воздуха |
Датчик-реле напора ДН-250-11К |
«Давление воздуха низкое» |
|
Повышение или понижение давления воды |
Манометр показывающий сигнализирующий ЭКМ-1У |
«Давление воды высокое», «Давление воды низкое» |
|
Погасание пламени горелки |
Электрод контрольный типа КЭ |
«Нет пламени» |
|
Неисправность блоков и повышение напряжения питания интегральных микросхем |
_ |
«Комплект неисправен» |
Сигнал датчика разрежения подается на элемент задержки, чтобы исключить влияние переходного процесса во время розжига основного факела и при регулировании производительности котла. Время задержки сигнала датчика разрежения устанавливается тумблерами «1 с», «2 с», «3 с», «4 с» блока реле времени БРВ с дискретностью 1 с в диапазоне от 0 до 15 с. К блоку контроля факела БКФ подключается как сигнал контроля основного факела, образующийся с помощью контрольного электрода КЭ, так и сигнал контроля пламени электрозапальника. После розжига основного факела сигнал контроля факела запальника отключается.
При срабатывании датчиков, контролирующих параметры автоматики безопасности, а также при пропадании напряжения питания обесточиваются исполнительные реле, разрывая цепи питания отсечных клапанов, и подача газа к котлу прекращается. Одновременно загорается световое табло «Авария» и сигнальная лампа первопричины аварии, замыкается цепь питания источника звукового сигнала. Снятие звукового сигнала производится нажатием кнопки «Отключение сигнализации – звуковой». Отключение световой аварийной сигнализации должно производиться только после устранения причины появления аварийного сигнала нажатием кнопки «Отключение сигнала – световой». В комплекте предусмотрена блокировка, не позволяющая сбросить световую сигнализацию раньше звуковой. После сброса сигнализации и через время послеостановочной вентиляции (60 с) комплект вновь готов к работе, но пустить его можно только с помощью кнопки «Пуск», а не дистанционно.
Если при включении светового табло «Авария» и сигнальной лампы «Комплект неисправен» их не удается отключить нажатием на кнопку, значит, повысилось напряжение питания интегральных микросхем и сработала защита. Необходимо отключить сетевой автоматический выключатель и устранить неисправность.
При повышении температуры отходящих газов и при выходе из строя резервных узлов комплекта включаются соответствующие сигнальные лампы предупредительной сигнализации «Температура отходящих газов высокая» и «Нет резервирования». Котел при этом продолжает работать, и необходимо принять меры для устранения причин, вызвавших включение сигнализации. Нажатием кнопки «Контроль сигнализации» проверяют исправность сигнальных ламп и источника звукового сигнала.
Автоматика безопасности обеспечивает безаварийную работу агрегата, немедленно прекращая подачу газа к горелкам при различного рода нарушениях работы газоиспользующей установки.
Контролируются следующие параметры:
- давление газа перед горелками. При повышении или понижении давления перед горелками на 20 – 25% против установленного максимального или минимального значения подача газа прекращается;
- горение факела в топке. При погасании пламени в топочном пространстве подача газа отключается;
- давление воздуха. При падении давлении газ отключается;
- разрежение в топке. При понижении разрежения в топке котла до 3 – 5 Па подача газа прекращается;
- температура воды или давление пара в котле. Если величины этих параметров превышают максимально допустимые, автоматика отключает подачу газа;
- уровень воды в котле. При нарушении допустимых значений уровня, газ отключается.
Автоматика обладает самоконтролем, то есть при прекращении подачи энергии, приводящей в действие приборы автоматики, подача газа к горелкам прекращается.
Кроме указанных выше параметров, также контролируется загазованность помещения котельной.
При аварийном отключении агрегата подаются световой и звуковой сигналы.
4. Эргономические и экологические основы газоснабжения микрорайона
4.1 Анализ возможных опасных вредных факторов. Типы экологических и эргономических систем. Основные определения
1) Безопасность жизнедеятельности – (БЖД) – учебная дисциплина, представляет область научных знаний, охватывающая теорию и практику защиты «Ч» от опасных и вредных факторов (опасностей) во всех сферах человеческой деятельности.
Задачи изучения дисциплины:
-распознавание опасностей с указанием характеристик и координат;
-защита от опасностей;
-ликвидация отрицательных последствий проявления опасностей.
2) Эргономика – наука, изучающая СЧМС и их деятельность в условиях современного производства, оптимизации орудий, условий и процесса труда. Основной объект исследования эргономики – система Человек – Машина – производственная (окружающая) среда (СЧМС).
3) Задачи эргономики.
- научное обоснование принципов создания системы «Человек – Машина – Среда», рассчитанной на определенную производительность и надежность исходя из возможностей человека, машины и особенностей производственной среды;
- распределение функций между человеком и машиной, обеспечивающее максимальную надежность системы Человек – Машина.
- разработка и научное обоснование методов профессионального отбора и обучения.
4) Чрезвычайная ситуация – реализация опасности, которая угрожает жизни и здоровью людей.
5) Опасность – явление, процессы, объекты, способные в определенных условиях наносить ущерб здоровью «Ч» непосредственно или косвенно, т.е. вызвать нежелательные последствия.
Классификация производственных факторов:
- физические;
- химические;
- психофизиологические;
- эстетические.
Физические факторы подразделяются на:
- физические свойства воздушной среды;
- механические;
- производственное освещение.
Химические факторы подразделяются на:
- естественный газовый состав воздуха;
- вредные примеси воздуха;
Психофизиологические факторы подразделяются на:
- физическая нагрузка;
- рабочая поза;
- нервно-психическая нагрузка;
- монотонность трудового процесса;
- режим труда и отдыха;
- травмоопасность.
Эстетические факторы рабочей среды подразделяются на:
- гармоничность световой композиции;
- гармоничность звуковой среды;
- ароматичность запахов;
- композиционная согласованность комплексов (ТУ, машин и др.);
- гармоничность рабочих трудовых движений.
4.2 Обязанности администрации предприятия в деле обеспечения безопасных и здоровых условий труда
Для ответственных руководителей (начальников отделов, цехов или каких-либо других самостоятельных подразделений) обязанности по обеспечению безопасности своих подчиненных будут следующими:
-выполнение мероприятий, обеспечивающих улучшение условий труда, снижение травматизма и заболеваемости на руководимом участке, изложенных в соглашении по охране труда, предписаниях, актах обследования и др.;
-обеспечение во вверенных подразделениях исправного и безопасного состояния помещений, оборудования, инструмента, приспособлений, инвентаря, транспортных средств и грузоподъемных механизмов, предохранительных устройств и санитарно-технических установок, а также правильной и безопасной организации и содержания работ, рабочих мест, проходов и проездов;
-осуществления надзора за соблюдением подчиненными работниками норм, правил, инструкций, приказов, предписаний и указаний по технике безопасности и производственной санитарии;
-организация проведения инструктажа всех видов и особенно инструктажа по технике безопасности;
-обеспечение подчиненных работников необходимой исправной спецодеждой, спецобувью и другими защитными приспособлениями, а также спецмылом, питьевой водой и нейтрализующими веществами, снабжение машин, станков, механизмов техническими устройствами безопасности;
- разработка инструкций по ТБ и обеспечение ими работающих, а рабочие участки – плакатами и предупредительными надписями по ТБ, своевременное (в срок до 24 часов) расследование несчастных случаев на производстве, выявление причин, их вызвавших, и принятие мер по предупреждению производственного травматизма и профзаболеваний, соблюдение установленного на предприятии режима труда и отдыха. Главной основной задачей непосредственных руководителей работ – ответственных исполнителей (мастеров, цеховых механиков, энергетиков и др.), в прямом подчинении которых находятся рабочие, служащие и младший обслуживающий персонал, является организация безопасного производства работ и контроль выполнения подчиненными правил внутреннего распорядка предприятия и инструкций по ТБ.
Они обязаны:
- инструктировать и обучать подчиненных безопасным методам и приемам работы;
- организовывать безопасное производство работ;
- следить за соблюдением подчиненными правил внутреннего распорядка, правил и инструкций по ТБ и производственной санитарии;
- осуществлять надзор за соблюдением рабочими требований технологических и инструкционных карт;
- обеспечивать правильную и безопасную организацию рабочих мест, чистоту и порядок на вверенных им участках, не допускать захламленности и загроможденности рабочих мест, проходов и проездов.
- следить за исправным состоянием и правильной эксплуатацией оборудования, инструмента, приспособлений и производственного инвентаря на своем участке, наличием и исправном состоянии ограждений, предохранительных и других технических устройств безопасности, за работой вентиляционных установок и нормальном освещении рабочих мест, за наличием и правильным использованием индивидуальных средств защиты;
- участвовать в расследовании аварий и несчастных случаев на своем участке и принимать меры по ликвидации причин, их вызвавших. Распределив эти обязанности в течение рабочего дня, можно указать, что ответственные исполнители должны:
1. до начала смены:
- провести с рабочими беседы по ТБ, обойти вверенный участок, все рабочие места, убедиться в исправности оборудования, в отсутствии опасных зон;
- проверить наличие на рабочих полагающейся спецодежды, правильно ли она одета, имеются ли индивидуальные защитные средства;
- проверить все подъемно-транспортные средства и приспособления на участке, обратить внимание на исправность технических средств безопасности (блокировок, заземления, ограничений, сигнализации и др.), а также отсутствие дефектов грузозахватных приспособлений; проверить наличие в особо опасных местах предупредительных плакатов, надписей, сигнализации.
2. в процессе работы:
- следить за соблюдением подчиненными инструкций по ТБ, технологических и операционных карт и принимать меры по устранению нарушений;
- устранять своими средствами причины, которые могут повлечь несчастные случаи, при невозможности устранения этих причин своими силами немедленно сообщить об этом своему непосредственному руководителю, который обязан принять соответствующие меры;
- не допускать к работе лиц в нетрезвом состоянии, а также нахождения их на участке;
- вести учет своей работы и заносить в книгу мастера замеченные недостатки, меры, принятые в течении рабочего дня, имена нарушителей;
3. по окончании смены:
- проследить за правильной сдачей станков и рабочего места рабочими своей смены рабочим другой смены, а если последней нет, убедиться, что станки и механизмы отключены, а рабочие места убраны;
- показать сменяющему мастеру неисправное оборудование или технические средства безопасности, а также другие объекты и факторы, которые могут привести к несчастным случаям.
4.3 Разработка организационных и технических мероприятий по созданию безопасных и здоровых условий труда. Разработка режимов труда и отдыха
Для качественной эксплуатации системы «Человек – Машина» необходима правильная организация труда человека. Задача организации труда заключается в разработке рационального режима труда и отдыха. Рациональный режим труда и отдыха – это чередование работ и перерывов, устанавливаемое на основе анализа работоспособности с целью обеспечения высокой производительности труда и сохранения здоровья работников. Разработка рациональных режимов труда и отдыха операторов предполагает решение ряда взаимосвязанных вопросов:
Определение продолжительности рабочей смены;
Определение продолжительности, периодичности и способов проведения перерывов в работе в течение рабочего дня;
3. Планирование работы человека в течение рабочей смены, суток, недели;
4. Определение оптимальных интервалов между сменами.
В зависимости от конкретных условий работы человека возможны 3 основных подхода к определению допустимой длительности рабочей смены.
1. При работе в условиях действия профессиональных вредностей определяющим является время допустимого воздействия данной вредности;
2. В условиях непрерывного трудового процесса длительность смен определяется циклом рабочего процесса с последующим отдыхом персонала, рассчитанного на полную компенсацию утомления;
3. В подавляющем большинстве случаев длительность рабочей смены определяется на основании динамики работоспособности человека в течение рабочего дня (критическая точка развития утомления у человека).
При определении длительности рабочей смены по критерию утомления учитываются следующие факторы:
- интенсивность трудового процесса;
- условия производственной среды;
- тяжесть и напряженность труда;
- другие факторы, влияющие на состояние человека.
Общий подход к определению продолжительности рабочей смены заключается в следующем:
- влияние психофизических факторов, определяющих эффективность данной специальности;
- проведение анализа изменения психофизических показателей на протяжении рабочего дня;
- определение допустимой длительности рабочей смены (момента t);
- определение рабочего перерыва;
Одним из важных факторов, влияющих на процесс труда, являются перерывы в работе. Перерывы необходимы для:
- восстановления работоспособности;
- достижения производительности;
- нормализации психического и физического состояния человека. Отметим общие рекомендации по организации перерывов:
- при большой нервно-психологической нагрузке предпочтительны короткие, но частые перерывы;
- при работе с большими мышечными нагрузками предпочтительны регламентированные перерывы большей длительности, но меньшей периодичности;
- при работе в условиях развивающегося утомления следует увеличивать как количество перерывов, так и их периодичность.
Регламентированные перерывы не следует путать с вынужденными простоями вследствие плохой организации труда и производства. Такие простои обычно приводят к нарушениям рабочего динамического стереотипа, вызывают отрицательные эмоции, что в свою очередь повышает утомляемость.
Возможны производственные перерывы в зависимости от типа технологического процесса и т.д.
Активный отдых включает в себя специальную производственную гимнастику, а также смену форм деятельности и должен отвечать следующим условиям:
- операции не должны нагружать одни и те же органы;
- необходимо чередование видов работы;
- операции должны быть отличны по характеру позы и т.д.
Динамика работоспособности имеет 3 главных стадии:
- стадия врабатывания, или нарастающей работоспособности;
- стадия устойчивости работоспособности на высшем уровне;
- стадия развивающего утомления.
В графическом изображении, в течении рабочего дня динамика работоспособности представляет собой кривую с закономерными изменениями (рис. 3). В стадии врабатываемости Ι работоспособность нарастает в диапазоне от нескольких минут до 2 часов. Далее в стадии устойчивой работоспособности ΙΙ она устанавливается на высоком уровне и может быть стабильна в течение нескольких часов. В стадии развивающегося утомления ΙΙΙ происходит снижение работоспособности, продолжительность которой также колеблется в пределах от нескольких минут до нескольких часов. На основании кривых работоспособности устанавливается норма времени на отдых и продолжительность работы. По дням недели работоспособность может меняться (рис. 4).
Как видно из графика, период врабатывания приходится на понедельник, высокая работоспособность на вторник, среду и четверг, а развивающееся утомление на пятницу и особенно на субботу, если этот день рабочий. В течение суток работоспособность также изменяется определенным образом. На кривой работоспособности, записанной в течение суток, обнаруживается 3 интервала (рис. 5).
Первый интервал с 6.00 до 13.00, во время которого работоспособность постоянно повышается. Она достигает максимума с 18.00 до 22.00, а затем начинает постоянно снижаться. Во втором интервале (15.00-22.00) она снова повышается. Третий интервал (22.00-6.00) характеризуется резким снижением работоспособности.
Рассмотрим основные критерии оценки эффективности применяемых режимов труда и отдыха:
1. Психофизиологические;
- динамика работоспособности;
- время восстановления показателей после окончания работы (если время восстановления меньше 15 минут, говорят о малом утомлении, если менее 30 минут – среднем утомлении, при глубоком утомлении время восстановления затягивается на более длительный срок);
2. Социальные критерии;
3. Экономические критерии.
Все три группы критериев должны применяться совместно, только в том случае можно дать правильную и полную оценку предложенному режиму труда и отдыха.
Под влиянием психофизиологических факторов возрастает производственная опасность, что отражается графиком (рис.6).
Из графика следует, что максимальное число несчастных случаев происходит перед обеденным перерывом и в конце рабочего дня.
Для уменьшения личностного фактора воздействия необходимо:
- проведение соответствующей профессиональной подготовки;
- формирование индивидуального безопасного стиля человека;
- рационализация режимов труда и отдыха;
- проведение воспитательных мероприятий т т.п.
Следует отметить факторы производственной деятельности, повышающие нагрузку на центральную нервную систему:
- уровень напряжения внимания;
- степень сложности работы;
- напряжение анализаторов;
- степень ответственности выполняемой работы;
-уровень опасности работы.
Для ограничения вредного влияния психофизиологических факторов производственной среды нужно разработать основные мероприятия:
- установление рациональных режимов труда и отдыха человека;
- организация отдыхов операторов в процессе работы;
- соблюдение предельно допустимых норм деятельности человека;
- установление переменной нагрузки;
- чередование различных рабочих операций;
- рациональное распределение функций между человеком и машиной;
- соответствие психофизиологических параметров человека характеру выполняемой работы;
- в ходе выполнения работы необходима организация контроля за состоянием человека;
Состояние человека зависит от производственной сферы факторов.
Выводы:
За безопасность выполнения работы отвечает сам работающий. Работающий должен знать опасности, которые могут возникнуть при выполнении работ.
Зная опасности, работающий может:
- предвидеть опасность;
- по возможности избегать её;
- при необходимости действовать.
4.4 Защита человека от вредного воздействия производственных вибраций
В промышленности, на транспорте широкое применение получили машины и оборудование, создающие вибрацию, неблагоприятно воздействующую на человека. Это, прежде всего, все транспортные средства, а также ручные машины. Увеличение производительности и как следствие этого, рост мощностей и быстроходности технологического оборудования при одновременном снижении материалоемкости, уменьшение статических нагрузок на человека сопровождаются нежелательным побочным эффектом – усилением вибрации.
Воздействие вибраций не только ухудшает самочувствие работающего и снижает производительность труда, но часто приводит к тяжелому профессиональному заболеванию – виброболезни. При работе с ручным, механизированным, электрическим и пневматическим инструментом применяют средства индивидуальной защиты. К ним относятся: рукавицы, перчатки, а также виброзащитные прокладки или пластины, которые снабжены креплениями к руке. Учитывая неблагоприятное воздействие холода на развитие виброболезни, при работе в зимнее время рабочих надо обеспечивать теплыми рукавицами. В целях профилактики виброболезни для рабочих с вибрирующим оборудованием рекомендуется специальный режим труда. Разработка мероприятий по снижению производственных вибраций должна производиться одновременно с решением основной задачи современного машиностроения – комплексной механизацией и автоматизацией производства. Введение дистанционного управления цехами и участками позволит полностью решить проблемы защиты от вибрации.
В неавтоматизированных цехах и на производствах осуществляют следующие методы по уменьшению вибрации: в источнике возникновения, по снижению их на путях распространения, по снижению вредного воздействия вибрации на работающих путем соответствующей организации труда, а также применение средств индивидуальной защиты.
При конструировании машин и проектировании технологического процесса предпочтение должно отдаваться таким кинематическим и технологическим схемам, при котором динамические процессы, вызванные ударами, резким ускорением и т.п., были бы исключены или предельно снижены.
5 Организация строительства
5.1 Расчет объемов работ
Определение объемов работ ведется на основе рабочих чертежей проекта. Номенклатура работ и единицы измерения принимаются по видам работ согласно ЕНиР. Объём работ по объекту разбит на 3 захватки.
Захватка – это участок строительного объекта, на котором выполняются частные работы. Расчет трудоемкости ведется согласно ЕНиР. При подсчете объемов работ учитывается категория грунта.
Расчет объемов работ приведен ниже.
5.2 Выбор методов производства работ
Наиболее рациональным методом организации строительно-монтажных работ является поточный метод, при котором работа осуществляется специализированными звеньями, переходящими с одной захватки на другую и выполняющими свой комплекс работ. При организации работ по монтажу необходимо стремиться к использованию средств механизации, которые облегчают производство работ и повышают производительность труда. При выборе типа механизмов следует подбирать наиболее эффективные, которые обладают необходимыми техническими характеристиками и которые можно использовать в данных условиях.
До начала строительства возводятся временные здания и сооружения. Перед разработкой грунта в траншее необходимо произвести разбивку и закрепление трассы, предварительно получив разрешение на производство работ в соответствующих организациях, а также уведомив эксплуатационные службы, регламентирующие порядок разработки грунта в непосредственной близости от действующих коммуникаций, установить ограждения. Разбивку трассы газопровода производят при помощи реперов. Разработка грунта экскаватором ЭО-3311. После отрывки траншеи устанавливаются временные мосты в местах движения пешеходов и транспорта.
Перед полной засыпкой трубопроводов бульдозером производится пневматическое испытание. После засыпки разбираются ограждения и восстанавливается дорожное покрытие.
5.3 Составление калькуляции затрат труда
Калькуляция затрат труда является исходным документом для составления графиков производства работ, так как именно по ней подсчитываются все необходимые трудовые затраты. Расчет трудоемкости работ ведется согласно ЕНиР. Время производства работ по захваткам определяется в соответствии с трудовыми затратами количественным составом звена, бригадой для выполнения специализированного потока и сменности работы. Все расчеты сводятся в ведомость производства работ, которая приведена в приложении. Для расчета ведомости производства работ рассчитываются необходимые объемы строительно-монтажных работ
1) Разбивка трассы
Трассу разбиваем из расчета 50 вешек на 1 км. Ограждения устраиваются по обе стороны всей длины трассы
Таблица 11
|
№ захватки |
Кол-во вешек, штук |
Длина захватки, м |
Длина ограждения, м |
|
1 |
8 |
853 |
1706 |
|
2 |
7 |
662 |
1324 |
|
3 |
8 |
756 |
1512 |
2) Определение объемов земляных работ
Объем земляных работ при разработке траншеи определяется по формуле
(24)
где А – ширина траншеи по верху, м;
Е – ширина траншеи по низу, м;
Н – глубина траншеи, м;
l – длина участка, м;
1 захватка
486
м³
2 захватка
381
м³
3 захватка
443
м³
3) Устройство колодцев для газопроводов
Для систем газоснабжения применяются колодцы из железобетонных колец. К установке приняты колодцы КС-20-1. Наружный диаметр колец Д>н >= 2200 мм. Объем котлована с вертикальными стенками:
(25)
где Д>н> – диаметр колодца, м;
Н – глубина траншеи, м;
h – заглубление котлована ниже траншеи, h=0,5.
=9
м³.
1 захватка – 6 шт,
2 захватка – 2 шт,
3 захватка – 4 шт.
4) Разработка грунта вручную
V>p>=0.1×Е×l, м³ (26)
1 захватка
V>р>=0,1×0,5×853=45 м³.
2 захватка
V>р>=0,1×0,5×662=34 м³.
3 захватка
V>р>=0,1×0,5×756=37 м³.
5) Планировка площадей трассы
S>пл>=l×a, м² (27)
где а – ширина планировки, 2,5м.
1 захватка – 2100 м²
2 захватка – 1650 м²
3 захватка – 1900 м²
6) Объем механизированной разработки грунта с погрузкой в транспортные средства
1 захватка – 57 м³
2 захватка – 19 м³
3 захватка – 38 м³
7)Подсчет объемов работ по монтажу трубопроводов и арматуры. Доставка труб на трассу. Трубы принимаем по [9].
Масса трубопровода на захватке, т
1 захватка – 5,305 т
2 захватка – 3,585 т
3 захватка – 4,904 т
Доставка железобетонных колодцев на трассу, масса одного колодца 1,47 т
1 захватка – 8,82 т
2 захватка – 2,94 т
3 захватка – 5,88 т
8)Устройство переходных мостов (из расчета 1 мост на 100 м)
1 захватка – 9 шт.
2 захватка – 6 шт.
3 захватка – 7 шт.
9)Сборка и сварка труб
Таблица 12. Сварные соединения
|
Захватка |
Количество стыков |
|
1 захватка Ø63×5,8 Ø110×10 Ø160×10 |
3 11 71 |
|
2 захватка Ø63×5,8 Ø110×10 Ø160×10 |
16 - 50 |
|
3 захватка Ø63×5,8 Ø110×10 Ø160×10 |
11 11 63 |
10) Монтаж фасонных частей и арматуры
Тройники, отводы, задвижки считаются согласно схемы прокладки газопровода.
Таблица 13. Фасонные части и арматура
|
Захватки |
Кол-во отводов, шт |
Кол-во задвижек, шт |
Кол-во тройников, шт |
|
1 захватка Ø63×58 Ø110×10 Ø160×10 |
1 1 2 |
2 - 3 |
- - 4 |
|
2 захватка Ø63×58 Ø110×10 Ø160×10 |
- - - |
2 2 - |
- - 2 |
|
3 захватка Ø63×58 Ø110×10 Ø160×10 |
1 1 2 |
3 - - |
- - 4 |
11) Присыпка трубопровода грунтом
V>прис>=0,2×Е×l, м³ (28)
1 захватка
V>прис>=86 м³
2 захватка
V>прис>=66 м³
3 захватка V>прис>=78 м³
12) Засыпка газопровода грунтом
V>з>=V>pa>>з>- V>прис>, м³ (29)
1 захватка
V>з>=450 м³
2 захватка
V>з>=300 м³
3 захватка
V>з>=400 м³
13) Уплотнение грунта механическим способом
V>упл>=V>раз>×k, м³ (30)
1 захватка
V>упл>=260 м³
2 захватка
V>упл>=200 м³
3 захватка
V>упл>=240 м³
Таблица 14. Ведомость объемов земляных работ
|
Разработка траншеи экскаватором, м³ |
Объем колодцев, м³ |
Зачистка дна траншеи, м³ |
Обратная засыпка, м³ |
|
1310 |
115 |
116 |
1150 |
5.4 Проектирование поточного метода производства работ
Проектом предусматривается применение поточного метода производства как наиболее эффективного. В соответствии с этим методом все работы (частные потоки) объединены в специализированные, на выполнение которых назначены бригады и определена продолжительность выполнения работ.
По данным калькуляции составляем клеточную матрицу.
В строках матрицы указываются захватки, в столбцах процессы. Внутри каждой клетки проставляется продолжительность выполнения соответствующего процесса на соответствующей захватке. В нижней дополнительной строке под каждым столбцом проставляется суммарная продолжительность каждого процесса на всех захватках.
Расчет ведется по столбцам. Для первого процесса всегда сверху вниз, так как захватка, с которой начинается расчет, помещается в верхнюю строку матрицы. В каждой клетке, кроме продолжительности, проставляются два значения: в левом верхнем углу время начала выполнения процесса, в правом нижнем – время его окончания. Матрица представлена в графической части проекта.
На рассчитанной матрице выполняется поиск самого напряженного пути. Это безразрывный путь от первой до последней клетки матрицы, который является критическим.
По рассчитанной матрице строится циклограмма неритмичного потока с выделением безразрывного пути, представлена в графической части проекта. Каждая работа на захватке является самостоятельной и имеет свой шифр, а также свои предшествующие и последующие события и работы. При построении топологии сети надо следить за тем, чтобы в ней были правильно отражены технологические и организационные взаимосвязи между работами и комплексами. При нумерации событий необходимо, чтобы номер предшествующего (начального) события был меньше номера последующего (конечного). Топология сети приведена в графической части проекта. После проверки правильности взаимосвязей между работами приступают к расчету параметров сетевого графика. Расчет параметров сетевого графика приведен в приложении B.
Объективными показателями качественной оценки графика движения рабочих являются два коэффициента:
- коэффициент неравномерности движения рабочих во времени
(31)
где Т>уст> – период установившегося движения рабочих, дн.,
Т>общ >– общий срок строительства, дн.,
- коэффициент неравномерности движения рабочих по количеству
(32)
где R>max> – максимальное количество рабочих, чел.;
R>cp> – среднее количество рабочих, чел..
(33)
где Q>ф> – общее количество затрат труда, чел.дн..
5.5 Расчет потребности в основных строительных материалах, деталях и оборудовании
Потребность в основных строительных материалах, деталях и оборудовании, оказывающих влияние на организацию складского хозяйства, определяют на основе результатов расчета объемов работ и норм расхода на единицу измерения по СНиП или производственным нормам расхода, номенклатуре типовых индустриальных изделий и составляется ведомость потребности.
Таблица 15. Ведомость потребности в основных строительных материалах
|
№ п.п |
Наименование работ |
Ед. изм. |
Кол-во работ |
Наименование материалов |
Ед. изм. |
Расход материалов |
|
|
на ед. |
на весь объем |
||||||
|
1 |
2 |
3 |
4 |
5 |
6 |
7 |
8 |
|
1 |
Сварка встык полиэтиленовых труб Ø63×5,8 Ø110×10 Ø160×10 |
пм пм пм |
298 226 1848 |
труба полиэтиленовая труба полиэтиленовая труба полиэтиленовая |
кг кг кг |
0,6 3 7 |
179 678 12936 |
|
2 |
Устройство песчаного основания |
1 м³ |
174 |
песок |
м³ |
1,1 |
191 |
Таблица 16. Ведомость потребности в изделиях, деталях и оборудования
|
№ п.п |
Наименование работ |
Ед. изм. |
Кол-во работ |
Наименование материалов |
Ед. изм. |
Расход материалов |
|
|
на ед. |
на весь объем |
||||||
|
1 |
2 |
3 |
4 |
5 |
6 |
7 |
8 |
|
1 |
Устройство переходных мостов |
1 шт |
22 |
мост металлический |
1 шт |
1 |
22 |
|
2 |
Устройство сборных ж/б колодцев |
1 шт |
12 |
ж/б колодец сборный |
1 т |
1,47 |
17,64 |
|
3 |
Установка тройников |
1 шт |
10 |
тройник |
1 шт |
1 |
10 |
|
4 |
Установка отводов |
1 шт |
8 |
отвод |
1 шт |
1 |
8 |
|
5 |
Установка задвижки газовой |
1 шт |
18 |
задвижка газовая |
1 шт |
1 |
18 |
Совместно с разработкой сетевого графика и на его основе составляются графики поступления на объект основных строительных материалов, деталей, оборудования, необходимых машин и механизмов.
Таблица 17. График поступления на объект основных строительных материалов, деталей и оборудования
|
№ п.п |
Наименование строительных конструкций, изделий, материалов, деталей и оборудования |
Ед. изм. |
Кол-во |
График поступления по дням (неделям, месяцам) |
||||||||||||
|
1 |
2 |
3 |
4 |
5 |
||||||||||||
|
1 |
2 |
3 |
4 |
5 |
6 |
7 |
8 |
|||||||||
|
1 |
Трубы полиэтиленовые по ГОСТ 50838-95 |
м |
2271 |
|||||||||||||
|
2 |
Сборные ж/б колодцы |
шт |
12 |
|||||||||||||
|
3 |
Задвижки газовые стальные |
шт |
18 |
|||||||||||||
|
4 |
Тройники |
шт |
10 |
|||||||||||||
|
5 |
Отводы |
шт |
8 |
Таблица 18. График поступления на объект необходимых машин и механизмов
|
№ п.п |
Наименование строительных конструкций, изделий, материалов, деталей и оборудования |
Ед. изм. |
Кол-во |
График поступления по дням (неделям, месяцам) |
||||||||||||
|
1 |
2 |
3 |
4 |
5 |
||||||||||||
|
1 |
2 |
3 |
4 |
5 |
6 |
7 |
8 |
|||||||||
|
1 |
Бульдозер ДТ-75 |
шт |
1 |
|||||||||||||
|
2 |
Экскаватор ЭО-3311 |
шт |
1 |
|||||||||||||
|
3 |
Длинномер КамАЗ-5511 |
шт |
1 |
|||||||||||||
|
4 |
Аппарат для ручной сварки полиэтиленовых труб “встык” «PIPEFUSE» |
шт |
1 |
|||||||||||||
|
5 |
Генератор напряжения «PLUTONARC» |
шт |
1 |
Таблица 19. Расчет временных зданий
|
Наименование помещений |
Наименование показателей |
Ед. изм |
Норма |
Кол-во человек |
|
1 |
2 |
3 |
4 |
5 |
|
Контора прораба |
площадь на 1 чел. ИТР |
м² |
3,0 |
2 |
|
Умывальная и гардероб |
площадь на 1 рабочего |
м² |
0,4 |
4 |
|
Душевые |
число человек на 1 душ площадь на 1 душ |
чел м² |
10÷20 3,0 |
2 7 |
|
Помещения для сушки одежды |
площадь на1 рабочего |
м² |
0,2 |
4 |
|
Помещения для приема пищи |
площадь на1 рабочего |
м² |
1,2 |
16 |
|
Уборные |
площадь на 1 рабочего число рабочих на 1 унитаз площадь 1 унитаза |
м² чел м² |
0,1 15÷20 2,6÷3,0 |
2 1,8 4 |
5.6 Расчет потребности строительства в воде, электроэнергии, сжатом воздухе
1)Расчет временного водопровода
Временный водопровод рассчитывается по максимальному расходу воды на производственные и бытовые нужды.
Максимальный секундный расход на производственные нужды определяется по формуле
л/с (34)
где k>см> – коэффициент неравномерности потребления воды в смену, 1,5;
∑Q>c>>м>= 180 л/маш.см.
л/с.
Расчетный расход воды
Q>рас>=(Q>пр>+Q>хб>)×k, л/с (35)
где k=1.5;
Q>хб> – расход воды на хозяйственные нужды, определяется с учетом работающих в смену 0,012 л/с.
Q>рас>=(0,009+0,012)×1,5=0,0315 л/с.
По расчетному расходу определяется диаметр труб временного водопровода
,
см (36)
см
Диаметр водопроводной трубы принимаем 32 мм
2) Расчет потребности в электрической энергии
Определяется на основании данных о потреблении энергии машинами, механизмами и необходимой мощности на нужды освещения
Общая потребляемая мощность определяется по формуле
Р=1,1×k×∑Р>св>, кВт (37)
где Р – силовая мощность тока, кВт;
∑Р>св> – мощность устройств освещения, кВт;
k>2> – коэффициент одновременности потребления, принимается 0,9
Р=1,1×0,9×(0,8+4,6+15)=20,2 кВт
Расход электроэнергии на питание электродвигателей принимается по соответствующим техническим характеристикам механизмов и машин из соответствующих справочников, а на электроосвещение – по таблице.
Таблица 20. Ориентировочная потребляемая мощность электроосвещения
|
Наименование потребителей |
Ед. изм. |
Средняя освещенность, люкс |
Удельная мощность, Вт |
|
1 |
2 |
3 |
4 |
|
Производство механизированных земляных, бетонных и каменных работ |
м² |
5 |
0,8 |
|
Монтаж стальных конструкций и сварка труб |
м² |
15 |
4,6 |
|
Внутреннее освещение административных и бытовых помещений |
м² |
50 |
15 |
При суммарном расходе энергии до 20 кВт следует проектировать присоединение к существующим городским низковольтным электрическим сетям.
3) Расчет потребности в сжатом воздухе
Для продувки и опрессовки трубопроводов расчет производится по формуле
Q>c>>в>=0,0018×d>в>×Р>и>×l, м³/мин (38)
где d>в> – наибольший внутренний диаметр испытываемых труб, м;
Р>и> – испытательное давление, принимаемое по [ ], МПа;
l – средняя длина трубопроводов, испытываемых в смену, м.
Q=0,0018×0,15×0,4×430=0,046 м³/мин.
Расчетная производительность компрессорной установки равна
Q>p>=(Q>c>>в>+∑Q>пр>)×1,1, м³/мин (39)
где Q>p> – расход воздуха на отдельные технологические процессы, м³/мин.
Q>p>=(0,046+1,9)×1,1=2,14 м³/мин.
5.7 Решение по технике безопасности
Крутизна откосов не должна превышать крутизну, определенную проскоком. Бровки выемок должны быть свободны от статического и динамического напряжения. Землеройные машины и транспортные средства не должны приближаться к бровке выемок ближе, чем на 0,5 м. Состояние откосов и креплений следует проверять ежемесячно. При работе в темное время суток рабочие места должны быть освещены, а механизмы иметь индивидуальное освещение. Спускаться в траншею и подниматься из нее следует по специальным лестницам.
К работам по монтажу конструкций допускаются рабочие после проверки знаний по производству монтажных работ и получения соответствующего удостоверения. Монтажные работы должны осуществляться под руководством специально назначенного инженерно-технического работника.
Не допускается производить монтажные работы при скорости ветра более 15 м/с, а также при гололедице, грозе или тумане, исключающем видимость в пределах фронта работ. На участке, где ведутся монтажные работы, не допускается ведение других работ и нахождение посторонних лиц. На время перерыва в работе запрещается оставлять поднятые элементы на весу. Свариваемые трубы, детали и корпуса электросварочных агрегатов должны быть надежно заземлены и защищены от пыли и дождя. Запрещается курить и разводить огонь в радиусе 10 м от газовых баллонов. На период проведения работ рабочие должны быть обеспечены спецодеждой для соответствующего вида работ. Во время испытания газопровода устанавливается охранная зона, вход в которую при повышении давления и его выдерживании запрещается. Ширина этой зоны принимается не менее 7 метров.
6 Экологическая экспертиза
Правовое регулирование промышленной безопасности в организациях, занимающихся газоснабжением в Российской Федерации, осуществляется в соответствии с Федеральным законом «О промышленной безопасности опасных производственных объектов», Законом Российской Федерации «Об охране окружающей природной среды», Федеральным законом «Об экологической экспертизе», Федеральным законом «О газоснабжении в Российской Федерации» и другими федеральными законами и иными нормативными правовыми актами Российской Федерации.
Каждый объект систем газоснабжения, отнесенный в установленном законодательством Российской Федерации порядке к категории опасных, а также проекты нормативных правовых актов и технические проекты в области промышленной безопасности систем газоснабжения и их объектов подлежат государственной экологической экспертизе в порядке, установленном законодательством Российской Федерации.
Экологическая экспертиза – установление соответствия намечаемой хозяйственной и иной деятельности экологическим требованиям и определение допустимости реализации объекта экологической экспертизы в целях предупреждения возможных неблагоприятных воздействий этой деятельности на окружающую природную среду и связанных с ними социальных, экономических и иных последствий реализации объекта экологической экспертизы.
6.1 Характеристика возможных выбросов при эксплуатации газопроводов
По газопроводу к потребителю поступает природный газ, содержащий одорант. Природный газ обычно рассматривается как безвредный газ, бесцветен, не имеет запаха, не токсичен. Главная опасность связана с асфиксией из-за недостатка кислорода.
Характеристика топлива:
Низшая теплота сгорания топлива, МДж/м3 – 37,56;
Влагосодержание газообразного топлива, г/м3 – 10,0;
Таблица 21. Состав используемого топлива
|
Состав газа |
Теплота сгорания,кДж/нм3 |
Плотность, кг/нм3 |
|||
|
Компоненты |
Доля в общем объеме, r>j> |
а>j> |
а>j>> >>* >r>j> |
|
|
|
1 |
2 |
3 |
4 |
5 |
6 |
|
Метан, СН>4> |
0,938 |
35880 |
33512 |
0,7174 |
0,6701 |
|
Этан, С>2>Н>6> |
0,036 |
64360 |
1352 |
1,3551 |
0,0285 |
|
Пропан, С>3>Н>8> |
0,007 |
93180 |
745 |
2,010 |
0,0161 |
|
Н-Бутан, С>4>Н>10> |
0,002 |
123570 |
494 |
2,6901 |
0,0108 |
|
Н-Пентан, С>5>Н>12> |
0,004 |
156630 |
470 |
3,4536 |
0,0104 |
|
Двуокись углерода, СО>2> |
0,006 |
- |
- |
1,9770 |
0,0060 |
|
Сероводород, H>2>S |
- |
23270 |
- |
1,5361 |
- |
|
Азот, N>2> |
0,007 |
- |
- |
1,2503 |
0,0338 |
|
Итого |
1,0 |
- |
36573 |
- |
0,7754 |
Плотность газа, кг/м3 – 0,758;
Для одорации природного газа применяется этилмеркаптан. При любых выбросах газа в атмосферу вместе с ним попадает и одорант. Среднее удельное содержание одоранта в природном газе составляет 0,016 на 1м3 газа.
Состав транспортируемого по газопроводу природного газа в целом отвечает требованиям ГОСТ 51.40-93.
Природный газ легче воздуха и при выбросах стремится занять более высокие слои атмосферы. Вероятность скопления в низких точках местности и внизу помещения практически исключается.
Во время эксплуатации системы газоснабжения возникают технологические утечки природного газа. Эти утечки являются неизбежными вследствие невозможности достижения абсолютной герметичности резьбовых и фланцевых соединений, запорной арматуры, газового оборудования. Выброс природного газа и одоранта может наблюдаться при проведении ремонтных и профилактических работ, а также в случае аварийной ситуации. Стабильное истечение газа в атмосферу происходит при минимальном диаметре отверстия, составляющем 4% от сечения газопровода.
Как аварийную, можно рассматривать ситуацию, возникающую при повышении давления в системе газоснабжения. В этом случае срабатывает сбросной клапан, который сбрасывает «лишнее» количество газа через свечу в атмосферу и снижает тем самым давление газа в системе.
Максимально возможные утечки газа из проектируемого газопровода, проложенного по равнинной местности, через микросвищи и неплотности линейной арматуры (м3/год) определяются по формуле:
,
(40)
где 1113,5 –переводной коэффициент, град/кг×сутки;
D – диаметр газопровода;
l – длина газопровода;
Р>ср> – давление;
t – время работы газопровода (365 суток);
Т>ср> – средняя температура газа в газопроводе, К;
m – средний коэффициент сжимаемости (0,92);
Z>ср> – степень начальной герметичности (1,2).
м3/год.
Указанное количество утечек равномерно распределяется по всей длине трассы газопровода. Следует отметить, что максимальный объем утечек возможен только после длительной и небрежной эксплуатации (более 10 лет) вследствие появления микроповреждений в трубах и изношенности сальников запорной арматуры.
Удельное количество выбросов газа, истекающего в атмосферу из щели в сварном шве газопровода, определяется по формуле:
G>г>=g×f×W>кр>×j>г>×1000, (41)
где g – коэффициент, учитывающий снижение скорости, 0,97;
f – площадь отверстия, м², определяемая по формуле:
f=n×π×d×s, (42)
где n – длина линии разрыва наружного периметра трубы газопровода в
% от общего периметра, 0,3;
π – 3,14;
d – диаметр газопровода;
s – ширина щели.
W>кр> – критическая скорость выброса газа из щели в сварном шве стыка газопровода, м/с, определяется по формуле:
,
(43)
где Т>ср> – средняя температура газа в газопроводе, К;
j>ог> – плотность газа при нормальных условиях.
j>г> – плотность газа перед отверстием в газопроводе, кг/м³, определяется по формуле:
,
(44)
где Т – абсолютная температура окружающей среды, К;
Р>о> – абсолютное давление газа в газопроводе в месте расположения
сварного шва;
Р – атмосферное давление (101325 Па).
f = 0,3×3,14×0,16×0,0001=15×10-6 м2
W>кр>=
=403
м/с
кг/м³
G>г>=0,97×15×10-6×403×2,7×1000=15,8
Расход газа, м³/с, рассчитывается по формуле:
L=W>кр>×f (45)
L=403×15×10-6=6×10-3 м³/с.
В период эксплуатации газопровода возможны выбросы в атмосферу загрязняющих веществ
Таблица 22. Выбросы загрязняющих веществ
|
Загрязняющее вещество |
Код |
Коэффициент оседания |
ПДК>максимально разовая>,мг/м³ |
Класс опасности |
Выброс г/с |
|
Метан |
0410 |
1 |
50 |
4 |
4,5×10-3 |
С целью уменьшения негативного воздействия загрязняющих веществ на атмосферный воздух прилегающей к газопроводу территории во время строительства и эксплуатации газопровода проектом предусмотрены следующие мероприятия:
1. Поддержание дорожной и автотранспортной техники в исправном состоянии за счет проведения в установленное время техосмотра, техобслуживания и планово-предупредительного ремонта.
2. Газопровод запроектирован из полиэтиленовых труб, что максимально снижает загрязнение строительной площадки как во время проведения строительно-монтажных работ, так и в процессе эксплуатации газопровода.
3. Применение современной землеройной техники сведет к минимуму площадь разрабатываемой траншеи под газопровод.
При строительстве и эксплуатации газопровода на атмосферный воздух прилегающей к нему территории будет оказываться незначительное воздействие, обусловленное поступлением в атмосферный воздух загрязняющих веществ. При условии соблюдения правил эксплуатации дорожно-транспортной техники и выполнении всех мероприятий, направленных на уменьшение воздействия загрязняющих веществ, концентрация загрязняющих веществ не превысит расчетных данных.
6.2 Расчет выбросов загрязняющих веществ при сгорании топлива в котельных
Объекты энергетики – одни из основных техногенных источников загрязнения атмосферы. Большие объемы отходящих газовых потоков продуктов сгорания топлива затрудняют эффективное использование аппаратов очистки. Строительство высоких дымовых труб позволяет рассеивать вредные вещества на большой территории, уменьшая их приземную концентрацию, но не снижает загрязнения атмосферы в целом.
При расчетах загрязнения атмосферы котельными необходимо также знать общие объемы продуктов сгорания топлива. При экспресс-оценке выделения и выбросов загрязняющих веществ следует использовать методику ориентировочного расчета:
,
(46)
где
-
удельное выделение загрязняющих веществ
i-го
котла, г/кг;
Р>i> – расход топлива в i-ом котле за год, кг/год.
При горении – химическом взаимодействии топлива с атмосферным кислородом – образуются газообразные вещества. Объемы воздуха, необходимого для горения, и продуктов сгорания рассчитывают на 1 м³ газообразного топлива (при н.у.). Состав газообразного топлива задается в процентах по объему. СН>4>, С>m>Н>n>, N, CO>2>, H>2>S, O, CO, H – процентное содержание метана, предельных углеводородов, азота, диоксида углерода, сероводорода, кислорода, оксида углерода (ΙΙ), водорода соответственно в 1 м³ сухого газообразного топлива, причем их сумма равна 100%.
Расчетные характеристики видов топлива следует принимать по действующим нормативам. Теоретические объемы продуктов сгорания топлива рассчитываются по формуле:
,
(47)
где RO>2> – трехатомные газы;
N – содержание оксидов азота в пересчете на диоксид азот.
Для природного газа (м³/м³):
×(m×C>m>H>n>+CO>2>+CO+H>2>O)
(48)
0.79×V>o>+0.01×N
(49)
0,01×(0,5×n×C>m>H>n>+H>2>S+H+0,124×d>r>+1,61×V>o>)
(50)
где d>r> – влагосодержание газообразного топлива, отнесенное к 1 м³ сухого газа, г/м³ (при расчетной температуре 10°С d>r>=10 г/м³);
V>o>=0,0476×(0,5×CO+0,5×H+1,5×H>2>S+∑(m+0,25×n)×C>m>H>n>-O). (51)
6.3 Решения по охране окружающей природной среды
6.3.1 Охрана атмосферного воздуха
В дымовых газах при работе котлов на природном газе содержатся вредные вещества NO>2>, СО.
Мероприятиями по охране атмосферы предусмотрено снижение концентрации вредных веществ в приземном слое путем рассеивания дымовых газов на определенной высоте с помощью дымовой трубы.
Расчет рассеивания приведен в табл. 23
Вывод: Максимальные концентрации всех веществ не превышают предельно допустимых норм.
;
.
(52)
Согласно расчету по условиям рассеивания в атмосфере вредных веществ высота дымовой трубы принимается 31,00 м.
6.3.2 Защита окружающей среды от загрязнения производственными и хозбытовыми сточными водами
Бытовые сточные воды поступают в септик, где происходит отстаивание и перегнивание органических веществ. Контроль за работой септика сводится к определению взвешенных веществ и активной реакции среды.
При нормальной работе септика концентрация взвешенных веществ должна снижаться в процессе очистки на 70 – 70%, а РН – находиться в пределах 6,5÷7,5.
Осветленная сточная вода по трубопроводу направляется в колодец-накопитель, откуда вывозятся спецтранспортом в места, отведенные РайСЭС
Таблица 23
|
№ п/п |
Наименование |
Обозначение |
Ед. измерения |
Значения |
|
|
зимой |
летом |
||||
|
1 |
Расход топлива часовой |
В |
нм3/ч |
232,8 |
|
|
2 |
Зольность топлива |
Ар |
% |
0 |
0 |
|
3 |
Сернистость топлива |
Sр |
% |
0 |
0 |
|
4 |
Теоретический объем воздуха |
|
м3/лм3 |
5,03 |
|
|
5 |
Теоретический объем дымовых газов |
|
м3/нм3 |
7,07 |
|
|
6 |
Высота дымовой трубы |
Н |
м |
31,88 |
|
|
7 |
Диаметр ствола дымовой трубы |
d>с> |
м |
0,6 |
|
|
8 |
Диаметр устья дымовой трубы |
d>о> |
м |
0,6 |
|
|
9 |
Температура наружного воздуха |
Т>в> |
°С |
-31 |
|
|
10 |
Коэффициент температурной стратификации атмосферы |
А |
20° |
||
|
11 |
Потери от химического недожога |
q>з> |
% |
0.5 |
0.5 |
|
12 |
Потери от механического недожога |
q>ч> |
% |
0 |
0 |
|
13 |
Коэффициент избытка воздуха |
К |
1,3 |
||
|
14 |
Объем дымовых газов |
V>г> |
м3/с |
1,74 |
|
|
15 |
Температура дымовых газов |
Т>т> |
°С |
170 |
|
|
16 |
Скорость газов на выходе из трубы |
|
м/с |
6,17 |
|
|
17 |
Скорость ветра, при которой достигается максимальная приземная концентрация |
ИМ |
м/с |
1,31 |
|
|
18 |
Секундный выброс: окиси углерода двуокиси азота |
>
>
|
1,46 0,559 |
||
|
19 |
Фоновая концентрация: двуокиси азота окиси углерода |
|
0 0 |
||
|
20 |
Максимальная концентрация: окиси углерода двуокиси азота |
|
0,042 0,016 |
||
|
21 |
ПДК: окиси углерода двуокиси азота |
СО NO>2> |
5,000 0,0850 |
||
|
22 |
Безразмерная максимальная концентрация: окиси углерода двуокиси азота |
|
0,0159 0,317 |
||
|
23 |
Параметр П веществ окиси углерода двуокиси азота |
|
0,91*103 0,108*103 |
||
|
24 |
Параметр Ф веществ окиси углерода двуокиси азота |
|
м2/с м2/с |
9,17 2,06*102 |
Все сооружения системы канализации, смотровые колодцы приняты из сборных железобетонных элементов с герметической заделкой стыковых соединений, предотвращающих загрязнение почвы сточными водами.
Система канализации принята с условием обеспечения мероприятий, исключающих загрязнение воздуха, почвы и водоемов.
6.4 Оценка воздействия на земельные ресурсы, почвенно-растительный покров и животный мир
В период строительства газопровода будет происходить кратковременное воздействие на земельные ресурсы. Это воздействие связано с изъятием земель, механическим нарушением почвенно-растительного покрова, изменением рельефа и геохимическим загрязнением.
При подготовке полосы временного отвода при прокладке газопровода (подвозка труб, сварка, снятие и перемещение плодородного слоя) происходит нарушение поверхностного слоя почвы. Более глубокое нарушение почвы происходит при разработке траншеи под укладку трубопровода.
Для почвенного покрова нарушение при работе строительной техники может заключаться в изменении структуры почв, приводящем к их полной или частичной деградации. В целом последствия механического нарушения почвенно-растительного покрова могут проявляться в виде активизации водной и ветровой эрозии.
Геохимическое загрязнение территории проектируемого объекта связано с выбросами в атмосферу от строительной техники, с возможными разливами горюче-смазочных материалов.
После проведения строительно-монтажных и земляных работ из полосы временного отвода земли убирается строительный мусор, вывозятся все временные устройства, проводится рекультивация земель.
Общая площадь технической рекультивации составляет 2423 м². После прохода строительного потока уложенный в траншею трубопровод засыпают. На участках, где траншеи разрабатываются вручную, непосредственно в местах пересечения с существующими коммуникациями, рекультивация проводится вручную, верхний плодородный слой складируется в одну сторону от траншеи, нижний минеральный – в другую. Засыпают в обратном направлении.
В период эксплуатации газопровода негативное воздействие на природные компоненты будет сведено к минимуму.
Механическое воздействие на почвенно-растительный покров на этой стадии будет исключено. Временная строительная полоса будет ликвидирована, а земли, отводимые под нее, рекультивированы. Выбросы загрязняющих веществ в атмосферу, образующиеся при эксплуатации объекта, являющиеся в процессе эксплуатации источником химического загрязнения почвы не окажут существенного влияния на состояние почвенно-растительного покрова.
Воздействие на животный мир имеет косвенный характер и проявляется в изменении условий мест обитаний животных, а также работающие на строительстве механизмы являются источниками шумового воздействия на обитающих животных. Прямое воздействие на животный мир связано с присутствием людей, что может отпугивать отдельные виды животных на период строительства газопровода. Негативное воздействие на животный мир временное. Шумовое воздействие ограничивается территорией строительства. Рекультивация нарушенных при строительстве земель имеет целью восстановление условий обитания животных.
6.5 Воздействие отходов
В период подготовки и строительства газопровода образуются отходы производства (строительства) и бытовые отходы.
Бытовые отходы рассчитываются по формуле:
N=0,33×n (53)
где 0,33 м³/год – норматив образования бытовых отходов на одного работающего;
n – число работающих.
N=0,33×68 = 22,44 м³/год
Таблица 24. Отходы строительства газопровода
|
Наименование отхода |
Класс опасности |
Способ сборки отходов |
|
Лом черных металлов |
ΙV |
Собираются в металлические контейнеры |
|
Древесные опилки |
ΙV |
Собираются в металлические контейнеры |
|
Ветошь промасленная |
ΙV |
Собираются в металлические контейнеры |
Лом черных металлов вывозится на предприятия вторчермета, древесные опилки – на деревообрабатывающий комбинат, ветошь утилизируется в местах, отведенных РайСЭС.
Выполнение природоохранных мероприятий по сбору, утилизации и размещению отходов, образующихся от проектируемого объекта, позволят максимально снизить негативное воздействие на окружающую природную среду.
7. Экономика строительного производства
Особенностями рыночных отношений в строительстве является то, что они возникли задолго до того, как продукция приобрела конечную форму. Товаром в данном случае является полностью завершённый объём строительства, подготовленный к функционированию, производственному или гражданскому.
Как и в любой производственной отрасли, в строительстве существует система ценообразования. Цена представляет собой стоимость единицы строительной продукции. Цена строительной продукции определяется по сметной стоимости, затем формулируется договорная цена.
Сметная стоимость строительства – стоимость выражения затрат на его осуществление в соответствии с проектом, а также плановое накопление, утвержденные в установленном порядке. Она составляет основу договорной цены, по которому производится расчёт между подрядчиком и заказчиком. Распределение общей сметной стоимости строительства по отдельным группам (видам) затрат в процентном отношении характеризует её структуру (затраты на производство строительно-монтажных работ, монтаж оборудования, затраты на приобретение оборудования).
Чем выше уровень удельного веса затрат оборудование в стоимости объекта, тем эффективнее структура сметной стоимости. Сметная стоимость строительно-монтажных работ по экономическому содержанию подразделяются на прямые затраты, накладные расходы и плановые накопления.
Определение договорной цены осуществляется следующим образом: для определения договорной цены следует по приведённым процентам по каждой позиции приведенных затрат определить их стоимостную величину, взяв процент от базисной сметной стоимости (по объектной смете) будет являться договорной ценой на заданный вид работ.
7.1 Составление локальной сметы
Локальные сметы являются первичными сметными документами. Составляются для определения сметной стоимости отдельных видов работ и затрат в составе рабочего проекта или рабочей документации.
Для определения сметной стоимости строительства в настоящее время используются ресурсный, ресурсно-индексный или базисно-индексный методы.
При базисно-индексном методе стоимость работ и затрат в базовом уровне цен умножается на соответствующие коэффициенты – индексы пересчета. Стоимость работ определяется на основе объемов работ и единичных расценок.
Составление смет с применением указанных расценок осуществляется в базисном и текущем уровне цен.
Базисным уровнем ЕРЕР и РМО является уровень цен на 01.01.84, СНиР-91 – на 01.01.91, ФЕР-2001 и ТЕР-2001 – на 01.01.2000.
Сметная стоимость строительно-монтажных работ включает в себя прямые затраты (ПЗ), накладные расходы (НР) и нормативную прибыль (НП), представляющие формулу цены строительной продукции (Ц):
Ц = ПЗ + НР + НП. (53)
При этом прямые затраты определяются по формуле:
ПЗ = См + Эм + Зпл, где (54)
См – стоимость материалов;
Эм – затраты на эксплуатацию строительных машин и механизмов
Зпл – заработная плата рабочих (строителей и механизаторов)
1.1 В локальных сметах производится группировка расчетов в разделы по отдельным видам работ и устройств.
Прямые затраты включают в себя стоимость материалов, затраты на эксплуатацию машин и механизмов и основную заработную плату рабочих. В конце каждого раздела производится подсчет суммы накладных расходов и сметной прибыли по итого по разделу.
1.2 Накладные расходы как часть сметной себестоимости строительно-монтажных работ представляют собой совокупность затрат, связанных с созданием общих условий строительного производства, его организацией, управлением и обслуживанием. Нормативы накладных расходов устанавливаются в процентах от выбранной базы исчисления. В настоящее время основной базой являются средства на оплату туда рабочих в составе прямых затрат (фонд оплаты труда, или ФОТ).
1.3 Сумма прямых затрат и накладных расходов по всем разделам сметы является себестоимостью строительно-монтажных работ.
1.4 Сметная прибыль как часть сметной стоимости строительной продукции (сверх себестоимости работ) предназначена для уплаты налогов, покрытия убытков, развития производства, социальной сферы и материального стимулирования работников. Сметная прибыль рассчитывается по нормативам в процентах от принятой базы исчисления. В качестве базы для определения сметной прибыли принимается величина средств на оплату труда рабочих-строителей и механизаторов в текущих ценах в составе прямых затрат.
1.5 В конце сметы производится подсчет Итого прямых затрат по смете, путем сложения итого прямых затрат по разделам сметы.
1.6 Затем определяются Итого накладные расходы по смете, путем сложения итого накладных расходов по разделам сметы.
1.7 Итого сметная себестоимость строительно-монтажных работ определяется как сумма прямых затрат и накладных расходов по смете.
1.8 Итого сметная прибыль определяется путем сложения Итого сметной прибыли по разделам сметы
1.9 Итого сметная стоимость строительно-монтажных работ определяется как сумма себестоимости СМР и сметной прибыли.
Укрупненные сметные нормы разрабатываются на укрупненные измерители: типовое здание и сооружение в целом, 100 м2 площади типового здания, 1 км трубопровода, и т.д.
В объектной смете суммируются данные из локальных смет с группировкой работ и затрат по соответствующим графам – сметная стоимость строительных работ монтажных работ, оборудования, мебели и инвентаря, прочих работ с последующим добавлением лимитированных и других затрат. Смета составляется в базисном или текущем уровне цен.
К лимитированным затратам относят:
- затраты на строительство временных зданий и сооружений;
- дополнительные затраты при производстве СМР в зимнее время;
- резерв средств на непредвиденные работы и затраты.
Объектная смета определяет сметный лимит стоимости объекта, формирует свободную договорную цену на строительную продукцию.
По объектной смете осуществляются расчеты за выполненные строительные и монтажные работы между подрядчиком и заказчиком.
1.10 Резерв средств на непредвиденные расходы определяется по согласованию между заказчиком и подрядчиком. При расчетах между заказчиком и подрядчиком принимается резерв в размерах:
- 1% - для жилых и общественных зданий;
- 1,5% - для прочих объектов и сооружений.
1.11 Выделяются средства на оплату труда по всем видам работ и затрат. Сметная заработная плата используется для планирования фонда оплаты труда и формируется из следующих частей:
Зсм = Злс + Звр + Ззу + Зрс, (55)
где Злс - заработная плата по соответствующим локальным сметам, включая заработную плату рабочих, учтенную в сметных накладных расходах;
Звр - заработная плата рабочих в составе стоимости возведения временных зданий и сооружений. Сметная заработная плата рабочих, выполняющих работы по возведению временных зданий и сооружений определяется по формуле:
Звр = 0.19 × Свр, где: (56)
0,19 - доля заработной платы рабочих в затратах на временные здания и сооружения; Свр - сумма затрат на возведение временных зданий и сооружений;
- Ззу - заработная плата рабочих, учтенная в составе зимних удорожаний. Рассчитывается по формуле:
Ззу = к × Сзу, (57)
где к - коэффициент перехода от сметной стоимости зимних удорожаний по видам строительства к сметной заработной плате рабочих в составе этих удорожаний (принимается в размере 0.5);
Сзу - сумма удорожания строительных и монтажных работ в зимнее время (по объектной смете).
Зрс - сметная заработная плата в составе резерва средств на непредвиденные работы и затраты. Определяется путем применения норматива резерва к предыдущему итогу средств на оплату труда в гр. 9 объектной сметы.
Смета пересчитывается в текущие цены на момент выполнения дипломного проектирования с применением индекса изменения сметной стоимости, рекомендованного Саратовским региональным центром ценообразования в строительстве.
Сумма налога на добавленную стоимость определяется путем умножения сметной стоимости СМР в текущих ценах на базовую ставку налога на добавленную стоимость.
Расчет сметы производился на программном комплексе «Гранд смета 2006» и приведен в приложении.
Заключение
В ходе разработки настоящего дипломного проекта была рассчитана и запроектирована система газоснабжения микрорайона.
Расчеты велись на основании расчетных годовых и часовых расходов газа на бытовое и коммунально-бытовое потребление.
В процессе работы были произведены технико-экономическое обоснование проектных решений, рассмотрено патентирование авторского свидетельства, были рассчитаны объемы потребления газа, произведен гидравлический расчет систем газоснабжения. Проведена компоновка котельной, ее газоснабжение и поверочный расчет дымовой трубы.
Также в проекте представлены и разработаны мероприятия по безопасности строительства и эксплуатации систем газоснабжения, произведены экономические расчеты и организация строительного производства.
Расчеты выполнены с соблюдением норм и правил современного проектирования, учтены требования энергосберегающих мероприятий.
Принятие инженерных решений было основано на выборе оптимального варианта организации систем газоснабжения микрорайона в условиях существующих тенденций развития современных энергосберегающих технологий.
Список использованных источников
1. СНиП 23-01-99. Строительная климатология. М.: ЦИТП Госстроя России, 2000. – 136 с.
2. СНиП 42-01-2002. Газораспределительные системы. М.: ЦИТП Госстроя России, 2003. – 54 с.
3. ГОСТ 21.610-85. СПДС Газоснабжение. Наружные газопроводы. Рабочие чертежи. М.: Изд-во стандартов, 1986. – 6 с.
4. Богуславский Л.Д., Симонова А.А., Митин М.Ф. Экономика теплогазоснабжения и вентиляции. М.: Стройиздат, 1988. – 351 с.
5. Курицын Б.Н. Оптимизация систем газоснабжения и вентиляции. – Саратов: Изд-во Сарат. ун-та, 1992. – 160 с.
6. Газоснабжение населенного пункта: Учебное пособие / Голик В.Г. Сарат. гос. техн. ун-т. Саратов, 1995. – 68 с.
7. Газоснабжение населенного пункта: Методические указания к выполнению курсового проекта по дисциплине «Газоснабжение» / Казьмина А.В. Сарат. гос. техн. ун-т. Саратов, 2005. – 43 с.
8. СП 42-101-96. Проектирование и строительство газопроводов из полиэтиленовых труб. М.: ЦИТП Госстроя России, 1996. – 84 с
9. ГОСТ 10704-95. Трубы стальные электросварные прямошовные. М.: ЦИТП Госстроя России, 1996. – 11 с.
10. Ионин А.А. Газоснабжение: Учеб. для ВУЗов. – 4-е изд., перераб. и доп. – М.: Стройиздат, 1989. – 439 с.
11. Справочник эксплуатационника газифицированных котельных / Л.Я. Порецкий, Р.Р. Рыбаков, Е.Б. Столпнер и др. – 2-е изд., перераб. и доп. – Л.: Недра, 1988. – 608 с.
12. ГОСТ Р 50838-95*. Трубы из полиэтилена для газопровода. Технические условия.. М.: ЦИТП Госстроя России, 1996. – 34 с.
13. Любимов М.Е. и др. Учебное пособие «Эргономика», Сарат. гос. техн. ун-т. Саратов, 1999. – 24 с.
14. Сосков В.И. Технология монтажа и заготовительные работы: Учеб. для Вузов по спец. «Теплогазоснабжение и вентиляция». – М.: Высш. шк., 1989. – 344 с.
15. Организация, планирование и управление производством. Методические указания к выполнению курсового проекта. Составили: Старостин Г.Г., Иванова Л.Б., Сенокосов В.П. – СГТУ, 1995. – 34 с.
16. ЕНиР Сборник Е2 Земляные работы. Вып. 1 Механизированные и ручные земляные работы / Госстрой СССР. – М.: - Стройиздат, 1988. – 244 с.
17. ЕНиР Сборник Е9 Сооружения систем теплоснабжения, водоснабжения, газоснабжения и канализации. Вып. 2 Наружные сети и сооружения / Госстрой СССР. – М.: Прейскурантиздат, 1988. – 98 с.
18. ЕНиР Сборник Е1 Внутрипостроечные транспортные работы / Госстрой СССР. – М.: Прейскурантиздат, 1987. – 40 с.
19. ГЭСН 81-02-24-2001 Сборник 24 Теплоснабжение и газопроводы - наружные сети. Книга 2. Раздел 02. Газопроводы городов и поселков. М.: ЦИТП Госстроя России, 2002. – 48 с.
Приложение А
Основные технические данные и характеристики горелки блочной газовой ГБ-1,2
|
1. Номинальная тепловая мощность, МВт |
1,2 |
|
2. Регулирование тепловой мощности двухступенчатое,% |
МО-50 БО-100 |
|
3. Вид топлива |
природный газ |
|
4. Присоединительное давление природного газа, Па |
4900 |
|
5. Давление в камере горения при номинальной тепловой мощности, Па, не более |
200 |
|
6. Коэффициент избытка воздуха, при большом огне, не более |
1,08 |
|
7. Коэффициент избытка воздуха, при малом огне, не более |
1,26 |
|
8. Установленная мощность эл. двигателя, кВт, не более |
2,2 |
|
9.Напряжение электрической сети (фазное /линейное), В |
220/380 |
|
10. Масса, кг, не более |
90 |
Приложение Б
Гидравлический расчет кольцевой сети среднего давления
|
№ уч. |
Отказал участок 1-10 |
Отказал участок 1-2 |
|||||||||
|
d, мм |
L>уч>, м |
V>расч,> м3/ч |
×100,кПа2/м |
Р>к>, кПа |
№ уч. |
d, мм |
L>уч> м |
V>рас,> м3/ч |
×100,кПа2/м |
Р>к>, кПа |
|
|
1-2 |
150 |
295 |
1595 |
60 |
274 |
1-10 |
150 |
163 |
1595 |
60 |
290 |
|
2-3 |
150 |
257 |
1524 |
55 |
244 |
10-9 |
150 |
180 |
1582 |
60 |
269 |
|
3-4 |
150 |
142 |
1009 |
27 |
235 |
9-8 |
150 |
180 |
1470 |
55 |
248 |
|
4-5 |
150 |
124 |
994 |
26 |
227 |
8-7 |
150 |
97 |
1457 |
55 |
235 |
|
5-6 |
150 |
258 |
478 |
7 |
223 |
7-6 |
150 |
218 |
1191 |
37 |
216 |
|
6-7 |
150 |
218 |
406 |
4,6 |
221 |
6-5 |
150 |
258 |
1120 |
33 |
193 |
|
7-8 |
150 |
97 |
140 |
0,8 |
220 |
5-4 |
150 |
124 |
603 |
10 |
189 |
|
8-9 |
150 |
180 |
128 |
0,6 |
219 |
4-3 |
150 |
142 |
588 |
10 |
185 |
|
9-10 |
150 |
180 |
13 |
0,06 |
218 |
3-2 |
150 |
257 |
71 |
0,3 |
184 |
Гидравлический расчет ответвлений кольцевой сети среднего давления
|
№ уч. |
V>пот,> м3/ч |
l>отв>, м |
Р>н>, кПа |
Р>к>, кПа |
|
d, мм |
×100,кПа2/м |
Р>к>, кПа |
|
2-11 |
71 |
11 |
184 |
100 |
2169 |
63 |
0,5 |
184 |
|
3-12 |
517 |
113 |
185 |
100 |
214 |
110 |
60 |
163 |
|
4-13 |
15 |
95 |
189 |
100 |
268 |
63 |
0,05 |
189 |
|
5-14 |
517 |
113 |
193 |
100 |
241 |
110 |
56 |
174 |
|
6-15 |
71 |
11 |
216 |
100 |
3332 |
63 |
0,5 |
216 |
|
7-16 |
266 |
67 |
221 |
100 |
580 |
63 |
35 |
215 |
|
8-17 |
13 |
23 |
220 |
100 |
1669 |
63 |
0,05 |
220 |
|
9-18 |
113 |
70 |
219 |
100 |
542 |
63 |
80 |
194 |
|
10-19 |
13 |
23 |
218 |
100 |
1631 |
63 |
0,05 |
218 |
Гидравлический расчет сетей низкого давления
|
№ расчетного участка |
Длина участка, м |
Расчетный расход газа, V>р>, м³/ч |
Удельные ориентировочные потери давления, Па/м |
Диаметр участка d×S |
Потери давления |
Исправления |
|||
|
действительные удельные потери давления,, Па/м |
потери давления на участке, ∆Р= R>д>×l |
d×S |
R>д> |
∆Р= R>д>×l |
|||||
|
Для ШРП№1, ШРП№3 |
|||||||||
|
1-2 |
43 |
5,6 |
2,2 |
32×2,5 |
1 |
43 |
|||
|
2-3 |
12 |
75,6 |
2,2 |
76×3,5 |
4,5 |
54 |
|||
|
3-4 |
21,5 |
86,8 |
2,2 |
89×4 |
2,5 |
53,75 |
|||
|
4-5 |
21 |
94,3 |
2,2 |
89×4 |
3 |
63 |
|||
|
5-6 |
6 |
101,8 |
2,2 |
89×4 |
3,5 |
21 |
|||
|
Итого 234,75 |
|||||||||
|
Ответвления |
|||||||||
|
7-8 |
49 |
5,6 |
2,2 |
32×2,5 |
1 |
49 |
|||
|
8-3 |
12,5 |
11,2 |
2,2 |
32×2,5 |
3,5 |
43,75 |
|||
|
Для ШРП№2 |
|||||||||
|
1-2 |
52,5 |
3,7 |
1,3 |
25×2,5 |
2 |
105 |
|||
|
2-3 |
37,4 |
7,3 |
1,3 |
32×2,5 |
1,5 |
56,1 |
|||
|
3-4 |
20 |
14,6 |
1,3 |
40×3,5 |
2 |
40 |
|||
|
4-5 |
6 |
22 |
1,3 |
40×3,5 |
6,25 |
37,5 |
|||
|
Итого 238,6 |
|||||||||
|
Ответвления |
|||||||||
|
6-7 |
53 |
3,7 |
1,3 |
25×2,5 |
2 |
106 |
|||
|
7-3 |
27 |
7,3 |
1,3 |
32×2,5 |
1,5 |
40,5 |
|||
|
8-4 |
26 |
3,7 |
1,3 |
25×2,5 |
2 |
52 |
|||
|
9-4 |
17 |
3,7 |
1,3 |
25×2,5 |
2 |
34 |
|||
|
Для ШРП№4, ШРП№6 |
|||||||||
|
1-2 |
40,5 |
7 |
3 |
32×2,5 |
1,5 |
60,75 |
|||
|
2-3 |
28,5 |
12,6 |
3 |
32×2,5 |
4 |
114 |
|||
|
3-4 |
7 |
18,2 |
3 |
40×3,5 |
4 |
28 |
|||
|
5-3 |
35 |
5,6 |
3 |
32×2,5 |
1 |
35 |
|||
|
Итого 245,75 |
|||||||||
|
Для ШРП№5 |
|||||||||
|
1-2 |
72,4 |
8,4 |
1,19 |
40×3,5 |
1 |
72,4 |
|||
|
2-3 |
1 |
85,5 |
1,19 |
89×4 |
2,5 |
2,5 |
|||
|
3-4 |
42 |
93,9 |
1,19 |
89×4 |
3 |
126 |
|||
|
4-5 |
6 |
161 |
1,19 |
89×4 |
8 |
48 |
|||
|
Итого 245,9 |
|||||||||
|
Ответвление |
|||||||||
|
6-7 |
72,4 |
8,4 |
1,19 |
40×3,5 |
1 |
72,4 |
|||
|
7-8 |
17 |
16,8 |
1,19 |
40×3,5 |
3,5 |
59,5 |
|||
|
8-9 |
27 |
23,1 |
1,19 |
50×3,5 |
2 |
54 |
|||
|
9-4 |
15 |
72,3 |
1,19 |
89×4 |
2 |
30 |
|||
|
8-10 |
25 |
6,3 |
1,19 |
32×2,5 |
1,5 |
37,5 |
|||
|
9-11 |
33 |
44 |
1,19 |
50×3,5 |
4 |
132 |
|||
|
2-12 |
20 |
77,1 |
1,19 |
76×3,5 |
4 |
80 |
Приложение В
ОПРЕДЕЛЕНИЕ ПАРАМЕТРОВ СЕТЕВОГО ГРАФИКА
Пользователь - Malyshev
-----------------------------------------------------------------------
! ИСХОДНЫЕ ДАННЫЕ ! РЕЗУЛЬТАТЫ РАСЧЕТА !
Номер!---------------------------------------------------------------!
работы! событие !продол-! раннее ! позднее ! резерв !кри-!
!--------------!жительн!-------------!-----------!---------!тич.!
!начальн!конечн! работы!начало!оконч.!начал!оконч!полн!част!путь!
----------------------------------------------------------------------!
1 1 2 1 0 1 0 1 0 0 K
2 2 3 1 1 2 3 4 2 0
3 2 5 0 1 1 1 1 0 0 K
4 3 4 1 2 3 6 7 4 0
5 3 7 0 2 2 4 4 2 2
6 4 9 0 3 3 7 7 4 4
7 5 6 3 1 4 1 4 0 0 K
8 6 7 0 4 4 4 4 0 0 K
9 6 11 0 4 4 6 6 2 0
10 7 8 3 4 7 4 7 0 0 K
11 8 9 0 7 7 7 7 0 0 K
12 8 13 0 7 7 9 9 2 0
13 9 10 3 7 10 7 10 0 0 K
14 10 15 0 10 10 10 10 0 0 K
15 11 12 3 4 7 6 9 2 0
16 12 13 0 7 7 9 9 2 0
17 12 17 0 7 7 9 9 2 0
18 13 14 1 7 8 9 10 2 0
19 14 15 0 8 8 10 10 2 2
20 14 19 0 8 8 13 13 5 2
21 15 16 2 10 12 10 12 0 0 K
22 16 21 0 12 12 16 16 4 1
23 16 23 0 12 12 12 12 0 0 K
24 17 18 3 7 10 9 12 2 0
25 18 19 0 10 10 13 13 3 0
26 18 23 0 10 10 12 12 2 2
27 19 20 3 10 13 13 16 3 0
28 20 21 0 13 13 16 16 3 0
29 20 25 0 13 13 16 16 3 3
30 21 22 3 13 16 16 19 3 0
31 22 27 0 16 16 19 19 3 3
32 23 24 4 12 16 12 16 0 0 K
33 24 25 0 16 16 16 16 0 0 K
34 24 29 0 16 16 20 20 4 0
35 25 26 3 16 19 16 19 0 0 K
36 26 27 0 19 19 19 19 0 0 K
37 26 30 0 19 19 21 21 2 0
38 27 28 3 19 22 19 22 0 0 K
39 28 31 0 22 22 22 22 0 0 K
40 29 30 1 16 17 20 21 4 2
41 30 31 1 19 20 21 22 2 2
42 31 32 1 22 23 22 23 0 0 K
--------------------------------------------------------------------------
Директивный срок не задан
Критический путь W= 23 дней
>i>


>












