Грузы и их свойства
Содержание
Введение
1. Грузы и их свойства
1.1 Характеристика грузов
1.2 Факторы, влияющие на свойства грузов
2. Технические требования и основные параметры труб
2.1 Основные параметры труб
2.2 Упаковка и маркировка груза
2.3 Пломбирование, индикация и контроль доступа к грузам
3. Хранение грузов
3.1 Условия хранения на складе
3.2 Соблюдение условий хранения грузов
3.3 Требования к погрузочно-разгрузочным механизмам и технике безопасности
4. Технико-экономическое обоснование типа склада и оборудования, определение экономических показателей
4.1 Определение площади склада и его габаритных размеров
4.2 Расчет эксплуатационной производительности и необходимого количества механизмов
4.3 Расчет показателей использования складских площадей, складского оборудования
4.4 Расчет показателей производительности, уровня и степени механизации труда
4.5 Определение экономических показателей работы склада
4.6 Капиталовложения, приведенные затраты, срок окупаемости
5. Экономический анализ полученных результатов
Заключение
Список литературы
Приложение
Введение
Теоретические, практические и методические вопросы, касающиеся свойств грузов и их влияния на технологию и организацию погрузочно-разгрузочных процессов и транспортирование различных видов грузов. Основное внимание уделено транспортным характеристикам грузов как совокупности их свойств, определяющих условия и технику перевозки, погрузки и хранения. К ним относятся объемно-массовые характеристики, режимы хранения, физико-химические свойства, особенности упаковки и тары, а также некоторые товарные свойства.
Свойства грузов и их транспортные характеристики связаны с технологией перевозки. В последние годы форма предъявления грузов к перевозке в значительной степени повлияла на специализацию транспорта, в. связи с чем определяются новые требования к конструкции транспорта и перегрузочной техники.
На разных этапах экономического цикла производство — транспортирование — потребление результат труда каждый раз предстает в новом качестве. На первом этапе результат — это продукт, т. е. категория, обладающая потребительской стоимостью. Продукт может быть реализован полностью или частично использован для продажи или потребления в другом месте. В этом случае он становится товаром. С момента передачи транспорту для пространственного перемещения (второй этап) продукт приобретает новое качество — становится грузом, т. е. объектом транспортирования. На третьем этапе в результате реализации потребительской стоимости груз опять выступает в роли продукта. Стоимость продукта слагается из стоимости его изготовления и стоимости его транспортирования. Потребительская стоимость максимальна, поскольку она может быть реализована в полной мере. Следовательно, в экономическом цикле производство — транспортирование — потребление материальный результат труда последовательно проходит по схеме продукт (или товар) — груз — продукт. Схема замкнута, если на последнем этапе потребительская стоимость погашается потребителем, и не замкнута — если указанная стоимость используется для расширенного воспроизводства1.
В процессе перемещения груза основными участниками транспортирования становятся не производитель и потребитель продукта, а грузовладелец и владелец подвижного состава со своими обслуживающими организациями. Естественно, объективно транспортирование повышает стоимость продукта для потребителя, поэтому необходимо сокращать транспортные издержки, разумеется, не в ущерб сохранности, своевременности и безопасности доставки груза.
Цель данной работы – рассмотреть груз и его основные характеристики для хранения (трубы).
Задачи:
выявить свойства грузов;
изучить факторы, влияющие на свойства грузов;
рассмотреть основные параметры труб;
изучить вопросы упаковки и маркировки грузов;
раскрыть условия хранения грузов на складах;
выявить требования к погрузочно-разгрузочным механизмам и технике безопасности.
1. Грузы и их свойства
1.1 Характеристика грузов
На разных этапах экономического цикла производство — транспортирование — потребление результат труда каждый раз предстает в новом качестве. На первом этапе результат — это продукт, т. е. категория, обладающая потребительской стоимостью. Продукт может быть реализован полностью или частично использован для продажи или потребления в другом месте. В этом случае он становится товаром. С момента передачи транспорту для пространственного перемещения (второй этап) продукт приобретает новое качество — становится грузом, т.е. объектом транспортирования. На третьем этапе в результате реализации потребительской стоимости груз опять выступает в роли продукта. Стоимость продукта слагается из стоимости его изготовления и стоимости его транспортирования. Потребительская стоимость максимальна, поскольку она может быть реализована в полной мере. Следовательно, в экономическом цикле производство — транспортирование — потребление материальный результат труда последовательно проходит по схеме продукт (или товар) — груз — продукт. Схема замкнута, если на последнем этапе потребительская стоимость погашается потребителем, и не замкнута — если указанная стоимость используется для расширенного воспроизводства.
В процессе перемещения груза основными участниками транспортирования становятся не производитель и потребитель продукта, а грузовладелец и владелец подвижного состава со своими обслуживающими организациями. Естественно, объективно транспортирование повышает стоимость продукта для потребителя, поэтому необходимо сокращать транспортные издержки, разумеется, не в ущерб сохранности, своевременности и безопасности доставки груза.
Таким образом, с момента приема к перевозке на пункте отправления и до момента выдачи на пункте назначения вся товарная продукция носит название «груз».
Грузы каждого наименования обладают присущими только им физико-химическими свойствами, объемно-массовыми характеристиками и степенью опасности, определяющими технические условия перевозок. В комплексе с параметрами тары и упаковки специфические свойства груза составляют понятие «транспортная характеристика груза».
Транспортная характеристика груза определяет режимы перевозки, перегрузки и хранения, а также требования к техническим средствам выполнения этих операций. Транспортные характеристики используют при решении задач по рационализации перевозочного процесса: выборе типа подвижного состава (ПС), погрузочно-разгрузочных механизмов и устройств (ПРМ), складского оборудования, средств пакетирования грузов, разработке условий их перевозки и т. п.
Совокупность конкретных качественных и количественных показателей транспортной характеристики груза называется транспортным состоянием груза.
Сохранность груза и безопасность его транспортирования обеспечивается, если груз предъявляется к перевозке в транспортабельном состоянии. Груз является транспортабельным, если2:
находится в кондиционном состоянии;
соответствует требованиям стандартов и условиям перевозки;
имеет исправные тару, упаковку, пломбы, замки, контрольные ленты и положенную маркировку;
надежно защищен от неблагоприятного внешнего воздействия;
не имеет других признаков, свидетельствующих о его порче.
Транспортная классификация грузов введена для определения оптимальных условий транспортирования грузов, обеспечивающих их сохранность на транспорте, планирования, регулирования и учета грузооборота, обоснования специализации ПРМ, параметров складов и типов перегрузочного оборудования. Из множества признаков, по которым можно выполнить классификацию, выбирают определяющий, т. е. существенный для достижения поставленной цели, классификационный признак.
Под транспортной классификацией грузов понимают упорядочение совокупности грузов по какому-либо признаку, определяющему особенности транспортного процесса.
На транспорте установлены следующие основные виды грузов:
наливной — жидкий груз, перевозимый наливом;
сухой — любой груз, кроме наливного;
навалочный — сухой груз, перевозимый без тары навалом;
насыпной — зерновой груз, перевозимый без тары;
штучный — сухой груз, состоящий из отдельных грузовых мест;
генеральный — различные штучные грузы.
Каждая группа (вид) делится на подгруппы, объединяющие грузы, сходные по их транспортным характеристикам и условиям перевозки. На автомобильном транспорте (АТ) применяется несколько систем классификации грузов.
К навалочным грузам относят твердое топливо, руду, минерально-строительные материалы, лесоматериалы и т.п. Указанные грузы принимают к перевозке без счета мест. Навалочные грузы делят на две группы:
не требующие защиты от атмосферных осадков и распыления (например, твердое топливо, руда, кирпич, трубы);
подверженные распылению, загрязнению и порче от атмосферных осадков (например, цемент, известь, мел, минеральные удобрения).
Перевозка первой группы разрешается на открытом ПС, а второй — в универсальных крытых и специализированных контейнерах или специализированных цистернах.
Генеральные грузы классифицируют по категориям (подгруппам):
металлопродукция: металл прокатный, профильный, листовой, металл в чушках, проволока в бухтах, трубы металлические, материал прутковый в связках, материал ленточный в рулонах, металлолом, рельсы, балки, металлоизделия;
подвижная техника: подвижные технические средства на гусеничном и колесном ходу;
железобетонные изделия и конструкции: балки, ригели, шпалы, колонны, сваи, плиты, панели, блоки, фундаменты и прочие детали (лестничные марши, площадки, парапетные плиты и др.);
контейнеры: крупнотоннажные — масса брутто от 10 до 30 т, среднетоннажные — от 3 до 5 т, малотоннажные — от 0,625 до 1,25 т, универсальные и специализированные: мягкие, изотермические, рефрижераторные, открытые, цистерны, платформы и т.п.;
пакетированные грузы — грузовая партия, состоящая из штучных грузов в таре или без нее: пакеты в обвязке (пленке), на поддонах, блок- и строп-пакеты;
тарно-упаковочные и штучные: с массой одного места менее 500 кг, тяжеловесные с массой одного места более 500 кг, длинномерные и громоздкие — длина более 3 м, ширина 2,6 м, высота 2,1 м, негабаритные — высота свыше 4 м, ширина 2,5 м и выступающие за задний борт или край платформы ПС более чем на 2 м;
катно-бочковые: бочки и барабаны деревянные, металлические и пластмассовые, барабаны с кабелем, автопокрышки в связках и раздельно, мотки и бухты, корзины цилиндрические и конические;
лесоматериалы: круглые лесоматериалы, пиломатериалы в пакетах, фанера, древесная плита в пачках, бревна, пиленый брус и т.п.
По условиям и способам хранения грузы можно разделить на три большие группы:
ценные грузы и грузы, которые могут испортиться под воздействием влаги или изменения температуры: скоропортящиеся, промышленные, продовольственные; рекомендуется хранение в закрытых складах;
грузы, не подверженные воздействиям температурных колебаний, но попадание влаги может привести к их порче: бумага, металл, хлопок. Рекомендуется хранение в закрытых складах или под навесом;
грузы, не подверженные или слабо подверженные воздействию внешней среды: каменный уголь, металлы, контейнеры. Хранить рекомендуется на открытых площадках3.
1.2 Факторы, влияющие на свойства грузов
Виды воздействий, которые встречаются во время транспортировки груза и вызывают наибольшие повреждения, могут быть по своей природе механическими и химическими. Механические воздействия, возникающие вследствие движения, существуют на всех видах транспорта. Резкие пуски и остановки, а также вибрация и рывки транспортных средств являются потенциальным источником разрушительных сил. Большое значение имеют воздействия, возникающие в процессе погрузочных-разгрузочных операций. Некоторые из них могут быть приложены случайно, другие - из злонамеренных побуждений. В любом случае тара, подверженная воздействию силы, может быть нарушена, что, в свою очередь, способствует повреждению, хищению или потере груза. Наиболее часто во время складирования имеют место нежелательные воздействия, вызванные раздавливающим эффектом грузов, штабелированных один на другой. Для противодействия механическим воздействиям, возникающим во время движения груза, используются жесткие контейнеры, обвязки и амортизаторы.
Химические воздействия на груз, вызываются главным образом загрязнением посторонними предметами или возникают под воздействием таких климатических факторов как влажность, осадки, солнечное тепло, холод. Они способствуют разрушению тары и повреждению, хищению и потере незащищенного ею груза. Для предотвращения химических воздействий груз перед упаковкой необходимо очищать и применять водонепроницаемую тару и перегородочные материалы.
Механическое воздействие на груз проявляется в виде статических и динамических нагрузок. Максимальных значений статические нагрузки достигают в нижних рядах грузов, уложенных в штабель, что объясняется давлением вышележащих грузов. Динамические нагрузки возникают при падениях отдельных грузовых мест (ГМ), соударениях грузов в процессе выполнения ПРР, под воздействием вибраций и колебаний ПС при неустановившихся режимах вождения.
Вертикальные колебания в ходе движения АТС вызывают силы, направленные вверх, что ведет к резкому уменьшению сил трения. Плохо закрепленные грузы при этом смещаются центробежными силами в сторону и в худшем случае могут упасть на полосу встречного движения.
При перевозке грузов морскими судами во время шторма могут возникать силы, намного превышающие силу трения.
При перевозке морем пневматические системы подвески грузовых АТС часто отключают для того, чтобы обеспечить эффективное функционирование средств крепления АТС. В таких случаях необходимо считаться с тем, что ударные воздействия от судна непосредственно переходят на АТС4.
В процессе транспортирования и хранения в массе груза могут происходить качественные и количественные изменения. Они объясняются действием внешних факторов: взаимодействие груза с внешней средой, механические воздействия на груз в процессе движения и выполнения погрузочно-разгрузочных работ (ПРР), неисправности кузовов ПС и складских устройств. На качество грузов оказывают большое влияние влажность, температура и газовый состав воздуха, запыленность, наличие в его составе микробиологических форм и свет. Под их действием происходят различные биохимические, физико-химические и микробиологические процессы.
Состав воздуха следующий: кислород О>2> — 19,1 %, азот N>2> — 75,5%, аргон Ar — 1,3%, углекислый газ СО>2> — 0,09%, пары воды, микроорганизмы, пылеобразные дисперсные системы во взвешенном состоянии.
Наличие в воздушной среде паров воды характеризуется абсолютной влажностью, влагоемкостью, относительной влажностью и точкой росы.
Абсолютная влажность, г/м3, — это количество водяного пара, содержащегося в 1 м3 воздуха:
γ>a>= m>в> / V >возд>,
где m>в> — количество водяного пара, г;
V >возд> — объем воздуха, м3.
Влажность насыщения (насыщенность), г/м3, характеризует максимальное количество воды, которое может содержаться в 1 м3 воздуха при определенной температуре и атмосферном давлении без (до) образования конденсата:
γ>н >= m>n> >max> / V >возд>,
где m>n> >max> — максимальное количество воды, г.
Влагоемкость, г/м3, — способность воздуха поглощать влагу при определенной температуре:
d = γ>н >- γ>a>
Влагоемкость находится в прямой зависимости от температуры воздуха, поэтому степень сухости или влажности воздуха характеризуется его относительной влажностью.
Относительная влажность — это отношение абсолютной влажности воздуха к его насыщенности при той же температуре:
φ = γ>н >/ γ>a>
Точкой росы называется температура, при которой влагоемкость данного воздуха равна нулю. Дальнейшее понижение температуры воздуха приведет к выпадению влаги в виде тумана, росы или инея.
На качество грузов значительно влияет влажность. Так, сухой воздух вызывает усушку и ухудшение технологических свойств и внешнего вида некоторых грузов (кожа, волокно, вяленая рыба). Влажный воздух вызывает возникновение плесени и развитие гнилостных процессов в продуктах, активизирует биохимические процессы в массе груза, приводящие к его самонагреванию и последующей порче (зерно, мясные продукты).
Температура, влажность, влагоемкость и точка росы связаны между собой определенными закономерностями. На их основании разработаны таблицы, номограммы и диаграммы, по которым, зная одну или две характеристики воздуха, можно определить остальные (например, психрометрические диаграммы Керриера, профессора Л. К. Рамзина, вентиляционная — Л.П.Андронова)5.
Температуру и влажность определяют на складах бытовым и аспирационным психрометром. Бытовой психрометр устанавливают на уровне глаз человека на жестких конструкциях склада, защищенных от прямого попадания солнечных лучей, в хорошо вентилируемом месте склада, вдали от работающего складского оборудования. Аспирационный психрометр не стационарный, а переносной и дополнительно оборудован вентилятором, который прогоняет воздух через кожух прибора. Относительную влажность можно измерять волосным гигрометром, принцип действия которого основан на свойстве обезжиренного человеческого волоса изменять длину при изменении влажности воздуха; при этом относительная погрешность показаний прибора составляет ±5 %.
Иногда в расчетах вместо относительной влажности φ используют эквивалентное понятие химического потенциала μ, Дж/кг, которые связаны соотношением
μ = RTlnφ
где R — удельная газовая постоянная газа, Дж/(кг • К), например R >возд> - 287,04 Дж/(кг • К);
Т — температура смеси, К.
Химический потенциал какой-либо поверхности груза всегда равен нулю, так как вблизи этой поверхности воздух насыщен влагой (φ = 1, или φ = 100%).
В технике физические условия, определяемые температурой 20°С, относительной влажностью 70 % и нормальным барометрическим давлением 101,325 кПа, называют стандартными. Нормальными условиями принято считать температуру воздуха, равную 0°С при давлении 101,325 кПа.
Механическое воздействие на груз проявляется в виде статических и динамических нагрузок. Максимальных значений статические нагрузки достигают в нижних рядах грузов, уложенных в штабель, что объясняется давлением вышележащих грузов. Динамические нагрузки возникают при падениях отдельных грузовых мест (ГМ), соударениях грузов в процессе выполнения ПРР, под воздействием вибраций и колебаний ПС при неустановившихся режимах вождения.
Физико-химические свойства характеризуют состояние груза, его способность вступать во взаимодействие с окружающей средой, вредно воздействовать на ПС, складские емкости, ПРМ, другие грузы, а также на здоровье людей.
Физические свойства грузов определяют различные характеристики, связанные с физическим состоянием груза6.
Огнестойкость — способность груза не воспламеняться и не изменять своих первоначальных свойств (прочность, цвет, форма) под воздействием огня. Огнестойкость характерна для ограниченного числа грузов (куда входят и трубы), большинство же грузов под воздействием огня сгорают, разрушаются или теряют свои первоначальные свойства.
Коррозия — разрушение металлов и металлоизделий вследствие их химического или электрохимического воздействия с внешней средой. Скорость коррозии увеличивается с повышением влажности и температуры воздуха, его загрязнения угольной пылью, золой, хлоридами или газами (особенно сернистыми). Повышенная загазованность крупных городов, кроме негативного воздействия на здоровье людей, приводит к ускоренному выходу из строя металлических частей машин, строительных конструкций и архитектурных памятников в результате коррозии.
В целях защиты от коррозии в процессе перевозки металлы и металлоизделия тщательно упаковывают, покрывают антикоррозионным смазочным материалом открытые части, не допускают совместную перевозку с грузами, являющимися активными окислителями. Для перевозки используют закрытый ПС.
2. Технические требования и основные параметры труб
2.1 Основные параметры труб
Трубы изготовляют в соответствии с требованиями стандарта по технологическому регламенту. Наружный диаметр, толщина стенки и предельные отклонения по ним должны соответствовать требованиям.
У трубы есть два основных типа параметров: геометрические и технические. Геометрические параметры (размеры) трубы: внешний диаметр, толщина стенки и длина. Размерь; (сортамент) трубы определяются ГОСТами, причем разными для разных способов изготовления трубы. Для прямошовной, спиральношовной и бесшовной трубы свои сортаменты. Диаметр и толщину стенки трубы всегда указывают в мм, а длину в метрах.
Основные диаметры (мм): 159, 219, 273, 325, 377, 426, 530, 720, 820, 920, 1020, 1220, 1420. Это диапазон труб среднего и большого диаметра (от 530 мм). Более мелкие диаметры и промежуточные диаметры встречаются, но значительно реже. Бесшовные (б/ш) трубы российского производства более 426 диаметра не встречаются. Б/ш трубы чешского производства бывают 508 мм и 530 мм. Электросварные трубы охватывают весь основной диапазон. Причем прямошовных (п/ш) труб более 1420 мм ГОСТом не предусмотрено, а спиральношовные (С/ш) - бывают. И, наоборот - с/ш менее 159 диаметра не бывает, а п/ш изготовляется от 8 мм. Это чисто технологические ограничения.
Для каждого диаметра и способа изготовления трубы ГОСТом (сортаментом) определен свой диапазон толщин стенки. Чем больше диаметр, тем больше минимальная и максимальная толщина стенки трубы. Например, п/ш 530 труба может быть со стенкой от 5 мм до 2-х мм с шагом в I мм, а 1020 - от 8 до 32 мм. Если речь идет о трубе 530 мм, то основные толщины стенок, это 7, 8, 9 и 10 мм. Труба 1020 - 10. 11. 12 и 14 мм.
Важный момент: ГОСТ допускает отклонения по толщине стенки, причем большие. Например, п/ш труба диаметром 1020 мм со стенкой 10 мм может иметь отклонения от номинальной толщины до 0,8 мм как в большую, так и меньшую сторону. При шаге толщины в 1 мм это очень много, поскольку пересекаются соседние по сортаменту позиции. Так что, прямые измерения толщины стенки не всегда совпадают с заводской маркировкой.
Толщина стенки имеет принципиальное значение при определении веса трубы. Практика указания цен за вес трубной продукции, а не погонные метры, связана с преобладанием в стоимости трубы сырьевой составляющей. Трубу конечно не взвешивают. Речь идет о теоретическом весе (он указан в ГОСТ). Теоретический вес погонного метра стальной трубы считают по формуле:
Теоретический вес 1 п.м, (кг) = 0,02466 * Т * (Д - Т)
где Д - диаметр трубы в мм,
Т - толщина стенки в мм.
Немало вопросов связано с длиной трубы. Требования ГОСТ здесь довольно мягкие, типа: трубы при диаметре свыше 152 мм изготовляются длиной не менее 5 м, или – «от 10,6 до 11,6 метров» для магистральных труб.
Кроме геометрических размеров труба должна соответствовать определенным техническим требованиям (условиям): какой шов, какая сталь, какие испытания должна проходить труба, как маркируется и т.д. Это регламентируется различными ГОСТами и ТУ.
2.2 Упаковка и маркировка груза
Сохранность грузов в процессе транспортирования в значительной степени обеспечивается правильной подготовкой грузов к перевозке и рациональной упаковкой7.
Упаковка — это средство или комплекс средств, обеспечивающих защиту груза от повреждений и потерь, вредного воздействия окружающей среды, загрязнения и облегчающих процесс обращения с грузом, включая хранение, транспортирование, перегрузку и реализацию продукции. Основными элементами упаковки являются тара, упаковочные материалы, средства консервации.
Грузы предъявляются к перевозке в упаковке или без нее (навалом, насыпью, наливом). Упаковка должна соответствовать действующим стандартам или соглашениям сторон (грузоотправителя и грузополучателя), оформленных в установленном порядке. Упаковка грузов, не имеющих стандартов или соглашений, должна обеспечивать сохранность перевозимой продукции и быть исправной.
Основная функция защитной тары состоит в том, чтобы предохранить грузы от опасностей транспортирования, а также устранить или ослабить действие разрушительной силы, являющейся исходной причиной большинства потерь и повреждений груза и тары. Неправильная конструкция тары может привести к неблагоприятным последствиям, поэтому выяснение желательной степени защиты требует продуманной оценки процесса транспортирования груза с точки зрения воздействия различных факторов, угрожающих его сохранности во время транспортирования. Существуют правила и нормы по упаковке и погрузочно-разгрузочным и транспортным операциям при подготовке груза к отправлению, которые должен знать грузоотправитель.
В состав упаковки входят наружная тара, система запирания, в случае необходимости перегородки, обвязки, амортизаторы, водонепроницаемые ограждения, ленты, а также нанесение транспортной маркировки.
Грузоотправитель должен знать наиболее очевидные опасности, которым может подвергаться груз в процессе перевозки. Например, поломка, представляющая собой одну из главных опасностей для хрупких товаров, приобретает второстепенное значение для мягких товаров. Если транспортируемый груз является прибором, машиной или специальным устройством, следует иметь спецификации составных элементов для определения степени необходимой защиты.
При определении вида необходимой упаковки следует принимать во внимание способ распределения груза. Упаковка груза, направляемого прямо в пункт продажи, часто подчиняется критериям, отличным от тех, которые относятся к грузам, предназначенным для дополнительной обработки или многократных перемещений перед отправкой в пункт продажи.
Упаковка должна соответствовать используемому виду перевозки и обслуживаемому рынку. Грузы, экспортируемые в слаборазвитые страны мира, требуют обычно более надежной защиты, чем грузы, отправляемые в промышленно развитые страны.
Стоимость товара является определяющим фактором с точки зрения финансовых средств, выделяемых на упаковку. Однако стоимость также определяется внешним видом и качеством товара в пункте; продажи, и денежные средства, сэкономленные на упаковке, могут снизить пригодность товара для продажи.
Маркировкой называют надписи, рисунки, знаки и условные обозначения, которые наносят на грузовые места — единицу тары с содержимым или несколько таких единиц, составляющих единое целое при транспортировании, для опознания груза и характеристики способов обращения с ним при перевозке, хранении и выполнении ПРР.
Назначение маркировки заключается в следующем:
достижение грузом места назначения предписанным путем;
указание на способы обращения с грузом при его перевозке, перегрузке, хранении и распаковке;
обеспечение комплектности груза и сохранности его доставки.
По назначению маркировка делится на товарную, отправительскую, транспортную и специальную.
Товарную маркировку наносит изготовитель товара на изделие или потребительскую тару. Товарная маркировка содержит сведения, интересующие потребителя и относящиеся к содержанию товара, его качеству и т.п.; как минимум в товарную маркировку входит наименование груза и организации-изготовителя.
Отправительская (или грузовая) маркировка должна содержать реквизиты, определяющие принадлежность груза к определенной партии, следующей по накладной (пункт отправления и грузоотправитель, пункт назначения и грузополучатель).
Транспортная маркировка наносится отправителем на все ГМ независимо от отправительской маркировки в виде дроби: в числителе указывается порядковый номер, под которым отправка зарегистрирована у отправителя, в знаменателе — число ГМ в данной отправке.
Специальная маркировка наносится грузоотправителем на ГМ, если они требуют особого обращения при ПРР, перевозке и хранении, и представляет собой условные знаки или короткие надписи.
В соответствии с ГОСТ 14192—96 устанавливают следующий группы надписей:
1. основные:
полное или условное зарегистрированное в установленном порядке наименование грузополучателя;
наименование пункта назначения. Если пунктом назначения является железнодорожная станция (порт), должно быть указано полное наименование станции (порта) и сокращенное наименование дороги (пароходства) назначения;
количество ГМ в партии и порядковый номер места внутри партии указывают дробью: в числителе — порядковый номер мес-3 та в партии, в знаменателе — количество мест в партии. Количество ГМ и порядковый номер места следует указывать при перевозке:
разнородных или разносортных грузов в однотипной таре (например, разные сорта хлопка в кипах);
однородных грузов в разнотипной таре;
однородных грузов, когда недопустимо смешение сортов партии;
комплектов оборудования;
грузов в одном вагоне мелкими отправками;
2. дополнительные:
полное или условное зарегистрированное в установленном порядке наименование грузоотправителя;
наименование пункта отправления;
надписи транспортных организаций (содержание надписей порядок нанесения устанавливаются правилами транспортных министерств);
3. информационные:
указание массы брутто и нетто ГМ в килограммах. Допускается вместо массы нетто указывать количество изделий в штуках, а также не наносить массу брутто и нетто или количество изделий в штуках, если они указаны в маркировке, характеризующей упакованную продукцию;
габаритные размеры ГМ в сантиметрах (длина, ширина и высота или диаметр и высота). Габаритные размеры не указывают, если ни один из габаритных размеров не превышает 1 м при транспортировании груза на открытом ПС, 1,2 м — в крытом и 0,7 м — при транспортировании воздушным транспортом.
При перевозке грузов транспортными пакетами на каждом из них должны быть нанесены основные, дополнительные и информационные надписи, при этом вместо порядкового номера места и количества ГМ в партии наносят общее количество пакетов в партии (в числителе); количество ГМ в пакете (в знаменателе); порядковый номер пакета (в скобках).
Основные, дополнительные и информационные надписи (кроме массы брутто и нетто) не наносят на отдельные ГМ, из которых сформирован пакет. На пакетах, сформированных из грузов, перевозимых без упаковки, необходимость нанесения общего количества пакетов в партии, количества ГМ в пакете и порядкового номера пакета устанавливают в нормативном документе на конкретные виды продукции.
Изображение, наименование и назначение манипуляционных знаков на транспортной маркировке должны соответствовать ГОСТ 14192—96.
Условные обозначения труб проставляют по схеме:
Труба
Способ изготовления
Форма сечения
Точность изготовления
Состояние
Размеры
Длина
Марка
Особые условия
Обозначение стандарта
При следующих сокращениях:
способ изготовления: прессованная — Г
форма сечения: круглая — КР
длина: немерная — НД
кратная мерной—КД
Манипуляционные знаки наносят непосредственно на тару или упаковку, ярлыки или этикетки на каждое ГМ в левом верхнем углу на двух соседних стенках тары и упаковки.
Существуют различные способы нанесения манипуляционных знаков: по трафарету, типографским, литографским способом, штемпелеванием, продавливанием, маркировочными машинами, выжиганием. Краска, применяемая для нанесения знаков, не должна быть липкой и стираемой; при необходимости краска должна быть водо-, свето-, солестойкой, стойкой к воздействию тропического климата, высокой и низкой температуры.
Размер знака принимают в зависимости от размера, формы тары (упаковки), способа нанесения маркировки.
Необходимость нанесения знаков устанавливают в стандартах или других нормативных документах на продукцию8.
2.3 Пломбирование, индикация и контроль доступа к грузам
Одним из эффективных способов решения проблем, связанных с обеспечением безопасности и сохранности грузов, является применение надежных средств пломбирования и индикации, которые позволяют ограничить доступ к материальным ценностям, вовремя обнаружить факт вскрытия или нарушений условий хранения или транспортирования детализировать учет груза или товара, регистрировать пломбирование в товарно-транспортной накладной, вести компьютерный учет товаров и регулировать отношения с поставщиками и клиентами при возникновении конфликтных ситуаций. Использование средств пломбирования и индикации сокращает финансовые и временные потери, дисциплинирует персонал, увеличивает скорость обработки грузов, позволяет отслеживать груз на каждом этапе его следования, что гарантирует высокое качество продукции.
При назначении груза одному грузополучателю должны быть опломбированы загруженные крытые автомобили и прицепы, отдельные секции автомобилей, контейнеры и цистерны. При перевозке груза по нескольким адресам внутри фургона можно устанавливать перегородки, позволяющие разделять кузов на отдельные пломбируемые секции. Если осуществляется перевозка мелкоштучных товаров, находящихся в ящиках, коробках и другой таре в неопломбированном ПС или контейнерах, их пломбируют (обандероливают) отдельно.
Пломбы грузоотправителя должны иметь сокращенное наименование грузоотправителя и контрольные знаки (торговые знаки или номера тисков). Если пломбирование выполняет АТО, пломбы должны иметь наименование организации и номер тисков.
Для контроля за бережным обращением с грузом служат специальные индикаторы. Одноразовый ударный индикатор предназначен для определения факта удара или падения упаковки, коробки, ящика или контейнера с грузом во время транспортирования; прикрепляется непосредственно на упаковку груза. Если сила удара вследствие падения или неправильного обращения упаковки с грузом превышает допустимые значения, индикатор окрашивается в красный цвет. Обычные толчки во время транспортирования не приводят к срабатыванию индикатора. Срабатывание индикатора служит сигналом для проверки сохранности перевозимого груза. При срабатывании ударного индикатора его нельзя вернуть в прежнее положение, в котором он был до удара.
Существуют различные виды ударных индикаторов, различающихся по уровню чувствительности и рассчитанных на ударную нагрузку от 25g до 150g . Тип пломб определяется исходя из массы, объема груза, а также допустимой высоты падения (от 0,15 м и более). Пломбы прикрепляют непосредственно на сам продукт (изделие), чтобы обеспечить возможность индикации удара на любом этапе жизнедеятельности продукта: во время производства, перевозки, при использовании его конечным клиентом.
Одноразовый индикатор для определения факта переворачивания или опрокидывания груза в процессе хранения и транспортирования — удобное средство контроля для тех видов грузов, которые должны в течение всего процесса транспортирования находиться в вертикальном положении. Его прикрепляют непосредственно на упаковку с грузом. Обычные толчки во время транспортирования не приводят к срабатыванию индикатора.
Применение таких индикаторов гарантирует высокую точность отслеживания и контролирования груза в пути. Белый цвет индикатора свидетельствует о том, что груз не отклонялся на угол более 80° от вертикального положения. Если цвет индикатора красный, значит требуемые условия не соблюдались и владелец груза может предъявить претензии к перевозчику.
Температурные индикаторы предназначены для контроля за соблюдением температурного режима. Существуют два типа индикаторов, срабатывающих на отклонение температуры выше и ниже нормы, которые в свою очередь имеют несколько разновидностей.
Одноразовое индикаторное устройство, предназначенное для обнаружения факта понижения температуры во время транспортирования или при хранении продукта ниже допустимого значения, может производить контроль как всего помещения в целом, так и каждой упаковки в отдельности. Его устанавливают непосредственно внутри упаковки с грузом.
При устойчивом понижении температуры ниже нормы (более 30 мин) индикатор постепенно окрашивается в лиловый цвет. Изменение цвета индикатора необратимо. При дальнейшем выравнивании температуры на уровне нормы индикатор не возвращается в первоначальное состояние и сигнализирует о нарушении условий транспортирования и хранения, что позволяет при приеме груза тщательно подойти к проверке его качества.
Для облегчения контроля за процессом транспортирования и хранения продукции, а также для удобства использования совместно с индикатором применяют сопроводительные карточки, выполняющие товаросопроводительную функцию.
Одноразовое индикаторное устройство, предназначенное для обнаружения факта превышения допустимой температуры во время транспортирования или при хранении продукта, а также продолжительности ее воздействия, может производить контроль как всего помещения в целом, так и каждой упаковки в отдельности; устанавливается непосредственно внутри упаковки с грузом. Если температура превысила допустимый уровень за определенный промежуток времени, индикатор окрашивается в красный цвет. С помощью индикатора можно определить общую продолжительность воздействия недопустимой температуры и оставшийся срок хранения продукта.
3. Хранение грузов
3.1 Условия хранения на складе
Основные способы хранения груза – блочный и рядный. Блочное хранение может быть, реализовано на примере штабелей или стеллажей – проходных, тупиковых, а рядное – на примере клеточных стеллажей – бесполочных или каркасных.
Блочное (штабельное) хранение штучных грузов целесообразно при небольшой номенклатуре грузов и больших количествах каждого из них. Сочетание перечисленных условий позволяет хранить грузы большими блоками, исключая необходимость в обеспечении подходов к каждому грузу. Выдача груза производится из первых каждого блока (штабеля). Количество проходов (проездов) определяется числом наименований грузов, так для одного наименования проезд вообще не нужен и только противопожарная безопасность требует хотя бы один проход.
Рядное хранение с применением клеточных стеллажей целесообразно для многономенклатурных грузов. Данный способ хранения грузов позволяет более полное использование объема склада за счет увеличения высоты складирования (до 38м), лучшую организацию приема и выдачи, меньшие требования к неровности полов и т. д. Хранение многономенклатурных грузов осуществляется с помощью клеточных стеллажей – бесполочных и каркасных.
Каркасные стеллажи с двумя поддонами в каждой ячейке (при установке длиной стороной вдоль стеллажа) и с тремя-четырьмя поддонами в ячейки (при установке их длиной стороной в глубину стеллажа) являются наиболее рациональными по расходу металла и стоимости9.
Трубы принимают партиями. Партия должна состоять из труб одного размера и должна быть оформлена одним документом о качестве, содержащим:
товарный знак или наименование и товарный знак предприятия изготовителя;
условное обозначение труб;
результаты испытаний (по требованию потребителя);
номер партии;
массу партии.
Допускается оформлять один документ о качестве на несколько партий труб одного размера и одной марки, отгружаемых одновременно одному потребителю.
Контролю размеров, осмотру наружной и внутренней поверхностей и проверке на наличие внутренних дефектов подвергают каждую трубу партии.
Для проверки механических свойств от партии отбирают: для определения временного сопротивления и относительного удлинения после разрыва — две трубы; для определения твердости по Бринеллю — пять труб.
Трубы транспортируют всеми видами транспорта в крытых транспортных средствах в соответствии с правилами перевозки грузов, действующими на транспорте данного вида.
При транспортировании труб длиной свыше 3 м транспортные средства определяются в соответствии с правилами перевозки грузов, действующими на транспорте данного вида.
Размещение и крепление труб, перевозимых по железной дороге, должны соответствовать техническим условиям погрузка и крепления грузов. Трубы должны быть уложены и укреплены при помощи распорок и упоров таким образом, чтобы во время транспортирования исключалась возможность их перемещения.
Трубы должны храниться в крытых помещениях изготовителя или потребителя и защищены от механических повреждений, воздействия влаги и активных химических веществ. При соблюдении указанных условий хранения потребительские свойства труб при хранении не изменяются.
Трубы, перевозимые АТ, имеют различный диаметр, длину, массу отдельной трубы и сформированных пакетов. Параметры некоторых пакетов труб приведены в таблице 1, а способы штабелирования проката черных металлов — в таблице 2.
Таблица 1. Параметры пакетов для хранения труб
|
Диаметр трубы, мм |
Толщина стенки трубы, мм |
Ширина пакета, мм |
Высота пакета, мм |
Количество труб в пакете, шт. |
Масса пакета, кг |
|
|
максимальная* |
минимальная** |
|||||
|
20 |
1.6...2.2 |
800 |
750 |
1675 |
19250 |
4800 |
|
40 |
4. ..4,5 |
800 |
740 |
390 |
18500 |
5550 |
|
60 |
3...6.5 |
780 |
795 |
174 |
18000 |
4720 |
|
80 |
4. ..8,5 |
1200 |
500 |
96 |
17200 |
2880 |
|
100 |
5...10 |
1200 |
632 |
75 |
20000 |
3520 |
* Определяется исходя из длины ГМ 12 м и максимальной толщины стенки, принятой для труб этой группы.
** Определяется исходя из длины ГМ 4 м и минимальной толщины стенки, принятой для труб этой группы.
Таблица 2. Способы штабелирования проката черных металлов
|
Груз |
Высота складирования |
Способ штабелирования |
|
Толстолистовой металл (поштучно) |
До 2м |
Листы укладывать друг на друга с прокладками между листами или рядами, расположенными на одной вертикали. Количество прокладок определяется длиной и упругими свойствами листов. Количество листов металла в рядах штабеля по высоте должно быть приведено в технологических картах и зависит от конструкции и грузоподъемности грузозахватных приспособлений, толщины и массы одного листа металла |
|
Листовой металл в пачках |
То же |
Пачки металла укладывать друг на друга (стопками) с прокладками между рядами. Количество прокладок определяется длиной и упругими свойствами пачек |
|
Жесть в пачках |
До четырех рядов |
Пачки жести устанавливать друг на друга (стопками). Пачки, не имеющие салазок, складировать с прокладками между рядами |
|
Трубы диаметром 1001... 1220 мм |
Тоже |
Трубы каждого последующего по высоте яруса штабеля укладывать в углубления между соседними трубами нижележащего ряда (в седловину). В нижнем ярусе с обеих сторон штабеля крайние трубы укладывать плотно к надежным упорам. Не менее чем три крайние нижние трубы с той или другой стороны штабеля надежно скреплять между собой и подклинивать |
|
Трубы диаметром 1221...1420 мм |
До пяти рядов |
Складирование труб с участием людей на штабеле производить в штабель П-образной формы |
Примечания:
1. Трубы разного диаметра разрешается складировать в один штабель только с применением опорных стоек или стенок, но не выше их габаритной высоты.
2. Трубы диаметром 1001... 1220 мм разрешается укладывать в штабель высотой пять рядов, при этом способ формирования штабеля должен быть таким, как для труб диаметром 1221... 1420 мм.
Трубы следует располагать на ровном основании и надежно закреплять. Существует несколько способов укладки, которые зависят от вида труб. Трубы бывают с фланцами на обоих концах, с фланцем на одном конце, с внешней нарезкой на одном или на обоих концах, без фланцев и без нарезки. Трубы, имеющие по два фланца, укладывают в шахматном порядке так, что все фланцы, находящиеся в одном конце, располагаются в одной вертикальной плоскости. Для того чтобы трубы не раскатывались (учитывая, что диаметр трубы значительно меньше диаметра фланца), между ними помещают деревянные прокладки соответствующего сечения.
Трубы с одним фланцем можно укладывать методом, описанным выше, с применением прокладок соответствующей толщины на тех концах, где нет фланцев. Иначе их можно укладывать, направляя концы с фланцами в разные стороны. Такой метод укладки может быть выполнен в двух вариантах: фланцы всех труб нижнего яруса направлены в одну сторону, а фланцы всех труб вышележащего яруса — в противоположную; все трубы в каждом ярусе лежат вплотную друг к другу, а фланцы рядом лежащих труб направлены в противоположные стороны. Штабеля труб должны быть закреплены с большой надежностью.
Погрузка труб без фланцев значительно проще: в нижнем ярусе их укладывают вплотную друг к другу, а в следующем — так, чтобы каждая труба попадала в ложбину между двумя соседними трубами нижележащего яруса. При последующей укладке штабеля этот порядок сохраняется. Трубы, имеющие нарезку, укладывают так же, как трубы без фланцев, но основная задача в этом случае — предохранение резьбы. С этой целью на нарезные части труб навинчивают колпаки, имеющие внутреннюю резьбу, соответствующую наружной резьбе самих труб. Такие колпаки чаще всего изготавливают из полиэтилена или другого синтетического материала. Но нередко трубы поставляют без защиты резьбы. В этом случае нарезные части труб должны быть обернуты защитным материалом.
Важнейшим свойством черных металлов является подверженность коррозии. На интенсивность коррозии влияют, с одной стороны, свойства самих металлов, с другой — конденсация влаги в период хранения и транспортирования. Разъедание металла происходит также под воздействием кислот и газов, совместное размещение с которыми не допускается. Большинство металлов, предъявляемых к перевозке, должны иметь лакокрасочные покрытия. Для предохранения от коррозии металлические изделия смазывают специальными консистентными смазочными материалами, мазутом, олифой и т. п. При длительном хранении рекомендуется складировать груз под навесом10.
3.2 Соблюдение условий хранения грузов
Условия хранения грузов на складах определяются в основном необходимостью поддержания заданной температуры и влажности окружающего воздуха. Температура, влажность и скорость обновления воздуха создают микроклимат склада, который формируется под воздействием:
географической широты, климатических условий и рельефа местности;
формы и материала конструктивных элементов склада;
тепло-, газо- и влагонепроницаемости конструктивных элементов склада;
интенсивности суммарной (прямой и рассеянной) солнечной
радиации;
направления и скорости ветра;
наличия и интенсивности атмосферных осадков;
эксплуатационных особенностей работы склада;
наличия или отсутствия груза на складе и свойств самого груза.
От воздействия колебаний температуры и влажности наружного воздуха груз защищен ограждениями склада, однако необходимо учитывать наличие только естественной вентиляции, открытие дверей при ПРР в течение продолжительного времени, значительную теплопроводность некоторых конструкционных материалов ограждений и наличие неплотностей в ограждениях.
Тепло- и массообмен между грузом и воздухом в помещении склада имеет свои особенности. Даже в загруженном складе 40... 50 % внутреннего объема занимает воздух, который с разной интенсивностью взаимодействует с наружным воздухом.
Для универсальных складов типичен естественный или естественно-принудительный воздухообмен, который осуществляется путем перемещения воздуха вследствие разности значений его удельного веса в холодном и теплом состоянии (так называемый тепловой напор) и вследствие ветрового напора наружного воздуха на ограждения склада.
Наличие грузов на складах, режим работы склада, связанный с необходимостью периодического открывания и закрывания дверей, приводят к разным значениям плотности и давления воздуха внутри и снаружи склада. Когда температура воздуха внутри склада выше, чем снаружи, наружный воздух поступает в склад через двери, неплотности и щели снизу и выходит через верхние отверстия.
Препятствие, расположенное перпендикулярно пути горизонтально движущегося воздуха (ветра), испытывает давление р на единицу обдуваемой поверхности; очевидно, что р < Е>к>.
Давление, действующее на поверхность склада, зависит от аэродинамической формы склада. Обтекая поверхность склада, ветер в разных местах на стенах склада создает зоны разрежения воздуха, в которых действует отрицательное давление. В реальных условиях фактическое давление ветра на поверхность стен склада зависит от аэродинамического коэффициента сопротивления К>я> и формы склада.
Распределение зон повышенного давления и разрежения на стенах и крыше склада зависит от многих факторов и имеет следующие закономерности:
на наветренной стороне склада образуется зона повышенного давления, на подветренной — зона разрежения;
на боковых стенках, расположенных параллельно направлению ветра, и на крыше склада образуются зоны разрежения;
при ветре, направленном под углом 45° к продольной или поперечной оси склада, обе наветренные стены имеют положительное давление.
Если склад закрыт, воздухообмен между складом и наружным воздухом осуществляется через неплотности стен, дверей и окон, поэтому следует учитывать совместное воздействие теплового и ветрового напоров.
При установившемся режиме естественно-принудительной вентиляции количество поступающего (приточного) и уходящего (вытяжного) воздуха через все отверстия и каналы равны.
Необходимое количество вентиляционного воздуха определяется в зависимости от объема помещения и кратности воздухообмена. Под кратностью воздухообмена понимается количество обменов воздуха в помещении за час.
Груз к перевозке должен быть подготовлен таким образом, чтобы были обеспечены сохранность и безопасность его перевозки, рациональное использование подвижного состава, ускорение выполнения грузовых операций. В комплекс мероприятий, связанных с подготовкой грузов к перевозке, входят следующие: приведение продукции в качественное состояние, надлежащая упаковка с укрупнением грузовых мест в транспортные пакеты, маркировка грузов, взвешивание грузов грузоотправителем, осмотр грузов соответствующими контрольными и надзорными органами (хлебной или карантинной инспекцией, ветеринарно-санитарным надзором).
Требования к отгружаемой продукции, а также к ее упаковке и маркировке устанавливаются стандартами на данную продукцию. Ряд требований на данную продукцию предусмотрен в Правилах и Технических условиях.
Предъявляемый к перевозке груз отправитель должен подготовить таким образом, чтобы в процессе перевозки были обеспечены безопасность движения поездов, сохранность груза и вагона. С этой целью отправитель должен:
надежно закрепить груз внутри упаковки;
подвижные части груза застопорить или закрепить относительно неподвижных частей;
проверить прочность узлов и деталей груза, предназначенных для постановки крепления, с тем, чтобы они могли воспринимать передаваемые на них усилия от крепления;
при необходимости дооборудовать груз приспособлениями для его крепления.
Условия хранения грузов на складах определяются в основном необходимостью поддержания заданной температуры и влажности окружающего воздуха. Температура, влажность и скорость обновления воздуха создают микроклимат склада, который формируется под воздействием:
географической широты, климатических условий и рельефа местности;
формы и материала конструктивных элементов склада;
тепло-, газо- и влагонепроницаемости конструктивных элементов склада;
интенсивности суммарной (прямой и рассеянной) солнечной радиации;
направления и скорости ветра;
наличия и интенсивности атмосферных осадков;
эксплуатационных особенностей работы склада;
наличия или отсутствия груза на складе и свойств самого груза.
От воздействия колебаний температуры и влажности наружного воздуха груз защищен ограждениями склада, однако необходимо учитывать наличие только естественной вентиляции, открытие дверей при ПРР в течение продолжительного времени, значительную теплопроводность некоторых конструкционных материалов ограждений и наличие неплотностей в ограждениях.
Тепло- и массообмен между грузом и воздухом в помещении склада имеет свои особенности. Даже в загруженном складе 40... 50 % внутреннего объема занимает воздух, который с разной интенсивностью взаимодействует с наружным воздухом.
Для универсальных складов типичен естественный или естественно-принудительный воздухообмен, который осуществляется путем перемещения воздуха вследствие разности значений его удельного веса в холодном и теплом состоянии (так называемый тепловой напор) и вследствие ветрового напора наружного воздуха на ограждения склада.
3.3 Требования к погрузочно-разгрузочным механизмам и технике безопасности
На качественные характеристики отдельных видов продукции существенное влияние оказывают условия транспортирования. Требования к транспортированию грузов определяются нормативно-технической документацией на продукцию.
Стандартами, как правило, определяется вид транспорта, которым следует перевозить продукцию, и требования к транспортной упаковке, имеющей существенное значение при перевозке грузов. Так, одни виды грузов должны быть защищены от механического воздействия, другие — от солнечных лучей, атмосферных осадков, для третьих важным условием сохранности является обеспечение необходимого температурного режима.
Укладка грузов на транспортном средстве также является фактором, определяющим не только сохранность грузов как таковых, но и их качественных характеристик. Так, с соблюдением особых условий должна осуществляться перевозка стекла, фарфоровых и керамических изделий, радиоэлектронной аппаратуры и т.д.
Современный уровень экономики, характеризующийся развитием процессов глобализации, специализации и информатизации предусматривает всемерное совершенствование обслуживающих процессов, в первую очередь это относится к транспортированию грузов.
В транспортной стратегии Российской Федерации до 2015 г. одним из важнейших положений является снижение доли транспортной составляющей в стоимости товаров до 10... 15%. Для достижения этой цели необходимо снизить потери грузов в процессе их перевозки, хранения и перегрузки; совершенствовать транспортные технологии; развивать современные процессы управления и мониторинга; модернизировать транспортную технику.
Перспективные транспортные технологии должны учитывать логистические принципы организации доставки товаров. За счет объединения в единые цепочки доставки грузовладельцев, перевозчиков и складских операторов появляется возможность на стадии планирования перевозки увязать характеристики грузов и транспортных систем. В результате транспортные системы будут максимально приспособлены для доставки соответствующих грузов, и подготовка товаров к перевозке может быть оптимизирована под требования транспортных систем еще на стадии проектирования и производства.
Современные поточные технологические и автоматизированные линии, межцеховой и внутрицеховой транспорт, погрузочно-разгрузочные операции на складах и перевалочных пунктах органически связаны с применением разнообразных типов подъемно – транспортных машин и механизмов, обеспечивающих непрерывность и ритмичность производственных процессов. Поэтому применение данного оборудования во многом определяет эффективность современного производства, а уровень механизации технического производства – степень совершенства и производительность предприятия. При современной интенсивности производства нельзя обеспечить его устойчивый ритм без согласованной и безотказной работы средств транспортирования сырья, полуфабрикатов и готовой продукции на всех стадиях обработки и складирования.
Одним из разновидностей подъемно – транспортных машин является краны мостового типа.
Конструкции специальных мостовых кранов весьма разнообразны. Эти краны могут быть поступательно перемещающимися по крановым рельсам или вращающимися вокруг вертикальной оси. К вращающимся кранам относятся хордовые, радиальные и поворотные.
Поступательно перемещающимися мостовые краны имеют однобалочные и двухблочные мосты с нормальной длиной пролета или увеличенной до 40-60 м. Грузоподъемность этих машин составляет 400-500 т. и более.
Поступательно перемещающиеся мостовые краны часто снабжают крюками, скобами либо специальными грузозахватными устройствами (магнитами, грейферами, механическими клещами). Мостовые краны снабжены тележками, предназначенными для подъема и перемещение груза вдоль пролета. Тележки могут перемещаться по рельсам, закрепленные на верхних или нижних поясах мостов. Тележки, передвигающиеся по нижним поясам мостов, могут перемещаться по переходным мостикам из одного пролета цеха в рядом расположенный. Переходные мостики с рельсами для тележек расположены под подкрановыми балками и имеют троллеи для питания электродвигателей.
Тележки, перемещающиеся по верхним и нижним поясам балок мостов, могут быть снабжены поворотными стрелами, опорно-поворотными устройствами и поворотными частями, вращающимися вокруг вертикальных осей. На поворотных осях расположены стрелы, снабженные грузозахватными устройствами.
Механизмы мостового крана обеспечивают три движения: подъем груза, передвижение тележки и передвижение моста. Механизм подъема представляет собой лебедку, связанную со сдвоенным полиспастом; при грузоподъемности более 10 т. краны оснащают двумя самостоятельными механизмами подъема – главным и вспомогательным, имеющим грузоподъемность, равную приблизительно 0.25 основной, и используемым для подъема малых грузов с большой скоростью. Механизм подъема грейферного крана выполняют в виде двух одинаковых подъемных независимых механизмов, электродвигатели которых управляются двумя контроллерами, имеющими общую рукоять управления. Механизм передвижения тележки имеет два холостых и два приводных колеса, вращаемых электродвигателем через редуктор.
4. Технико-экономическое обоснование типа склада и оборудования, определение экономических показателей
Данная часть курсовой работы включает технико-экономическое обоснование типа склада и оборудования, определение экономических показателей работы склада.
Основные технико-экономические и эксплуатационные показатели даны в таблице 1.
Таблица 1. Данные для расчета
|
Номер варианта |
Наименование груза |
Годовое поступление |
|
2 вариант |
Трубы |
100,0 тыс. т |
Груз поступает железнодорожным транспортом, а отправляется со склада автомобильным. Коэффициент месячной неравномерности поступления грузов на склад принимается 1,1, а максимальный срок хранения груза на складе – 15 суток.
4.1 Определение площади склада и его габаритных размеров
Исходными данными для определения основных параметров склада: емкости, длины, ширины, высоты, размеров приемочно-отпускных площадок и грузовых фронтов являются грузооборот склада, технология и режим его работы, срок хранения груза на складе, коэффициент неравномерности поступления груза на складе.
Основные размеры склада зависят от его емкости, т.е. от того количества груза, которое должно одновременно храниться на складе с учетом дополнительной площади, используемой для производства операций по сортировке грузов, компоновке грузов, пакетированию, взвешивании, маркировке.
Общая площадь склада F>общ> определяется по формуле:
F>общ> = F>гр> + F>пр> + F>всп> + F>сл>,
где F>гр> - площадь, занятая грузом; F>пр> - площадь, занятая приемочными и отпускными площадками; F>всп> - площадь, занятая под вспомогательные операции, включая проходы и проезды; Р>сл> - площадь, занятая служебными помещениями.
Площадь, занятая грузом, может быть определена несколькими способами в зависимости от хранимого материала и выбранного способа его складирования.
Среднесуточное поступление груза:

Q>скл> - грузооборот склада, т; Т - число дней работы склада в течение года, сут. Т = 300 дней.

Максимальный запас груза на складе (емкость склада):
т,
t>xp> - срок хранения данного груза на складе, сут.; к>нер> - коэффициент неравномерности поступления груза на склад.

Количество поддонов, необходимых для хранения тарно-штучного груза на складе:
ед.
где Р>под> - вес груза на I поддоне, т. Р>под> = 250 кг.
В зависимости от того, какой длины трубы, они могут относиться как к тарно-штучному грузу, так и к навалочному грузу.
Выполним расчеты для труб как тарно-штучного груза и навалочного.
Трубы являются тарно-штучным грузом, поэтому количество поддонов равно:

Хранение тарно-штучных грузов обычно производится в стеллажах различных типов. Каждый поддон с грузом требует одной ячейки в стеллаже, n>яч> будет равно количеству поддонов, необходимых для хранения груза N>под>.
n>яч> = 22.
Емкость стеллажа:
Е>ст> = Е>яч>*п>яч>, т.
Е>яч> - емкость одной ячейки стеллажа, которая определяется количеством груза на одном поддоне, т.е.
Р>под> = Е>яч>
Е>ст> = 250*22 =5500 т.
Количество стеллажей, необходимых для размещения груза на складе:
ед.

Грузовая площадь, занятая под стеллажами:
кв. м.
F>ст> - площадь, занятая одним стеллажом (f>ст> = l*b). L = 60 м, b = 5 м.

Если трубы являются навалочным грузом, то они хранятся в штабелях, площадь 1 штабеля груза зависит от его длины и ширины:
f>шт> = l*b, кв. м.
l = 60 м, b = 1,6 м.
f>шт> уголь = 60*1,6 = 96 м2.
Емкость 1 штабеля навалочного груза :
Е>шт> = f>шт>*Н*γ, т,
где Н - высота штабеля навалочного груза (равна 2,4 м), м; γ - объемный вес навалочного груза, т/куб.м. (3 т/куб. м.)
Е>шт> = 96*2,4*3 = 691,2 т.
Количество штабелей навалочного груза:
ед.

Грузовая площадь, занятая навалочным грузом:
F>гр> = n>шт>*f>шт>, кв.м.
F>гр> = 6*15 = 90 кв.м.
Площадь, занятая приемочными и отпускными площадками:
кв. м.
t>xp> - срок хранения груза на приемочно-отпускной площадке; в расчетах можно принять t>xp> = 2 сут.; δ- нагрузка на 1 м2 площадки; в расчетах можно принять = 0,5 , т.е. около половины основной нагрузки тарно-штучного груза, т/м2.

Площадь, занятая под вспомогательные операции, включает в себя площадь, занятую проходами и проездами. Размер этой площади определяется в зависимости от габарита хранимых на складе грузов, типа подъемно-транспортных механизмов. Для того, чтобы учесть встречное движение механизмов, их свободный поворот, необходимо принять ширину проезда равной
А = 2В + ЗС, м;
где В - ширина транспортного средства, м.
С - ширина зазоров между транспортными средствами, а также между ними и штабелями груза. Обычно С = 15-20 см. При расчете вспомогательной площадки также необходимо учесть, что расстояние от стен склада до штабеля груза составляет 1,0-2,0 м.
А = 2*3 + 3*0,2 = 6,6 м.
Площадь, занятую под вспомогательные операции, примем равной 50 м2.
Площадь, занятая служебными помещениями включает в себя конторские и необходимые бытовые помещения, в работе примем равной 20 м2.
Так как мы рассматривали один вид груза трубы, как навалочный груз, так и как тарно-штутчный, то полезная площадь выбирается минимальная.
F>общ> = 90 + 2933,3 + 50 + 20 = 3093,3 м2
Получив общую площадь склада, определяют его длину, ширину и высоту. При этом учесть, что ширина складов является величиной фиксированной: 6, 9, 12, 18, 24, 30 м.
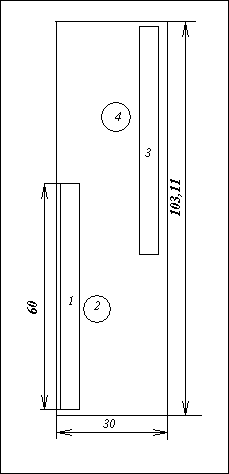
В работе ширина склада равна 30 м.
Высоту складов выбирают в зависимости от технической характеристики применяемых механизмов: для пролетов до 12 м (без мостовых кранов) равной от 4, 8 м до 6 м, для пролетов свыше 12 м - от 4,8 м до 12 м. В зданиях с мостовыми кранами и кранами-штабелерами высота определяется расчетным путем.
Высоту склада выберем равной 5 м.
Принято считать, что наилучшим соотношением ширины склада к его длине считается 1:2,5 и 1:4. При этом длина склада не должна быть меньше длины погрузочно-разгрузочного фронта.
Длина склада равна 103,11 м.
Длина погрузочно-разгрузочного фронта определяется в зависимости от среднесуточного поступления груза на склад и выбранных типов транспортных средств:
м
где 1 - длина вагона (автомобиля), м; l>1> - разрыв между транспортными средствами, n - число транспортных средств, одновременно подаваемых к складу.
ед.
где N>тр>- число транспортных средств, подаваемых к складу в сутки.
ед.
где k>нер> - коэффициент неравномерности поступления груза на склад, G>тр> - грузоподъемность одного транспортного средства, т.;
m- число подач в сутки.

В результате проведенных расчетов, а также на основании выбранного складского оборудования, типов перегрузочных машин и транспортных средств нужно сделать планировку склада. Под планировкой склада понимается размещение полученных по расчету стеллажей, штабелей и других приспособлений для хранения материалов на плане склада с учетом необходимых проездов и проходов с обязательным указанием основных размеров. Кроме того, на этом же листе дается в соответствующем масштабе общий вид склада и применяемые средства механизации. При планировке склада необходимо учитывать технико-эксплутационные требования, предъявляемые к размещению, хранение и перегрузки грузов на складе.11
Планировка склада приведена в приложении 1.
4.2 Расчет эксплуатационной производительности и необходимого количества механизмов
Эксплуатационной производительностью машин или механизированной установки называется количество груза, которое может быть переработано машиной или установкой за один час непрерывной работы.
Эксплуатационная производительность машин не является постоянной. Величина ее зависит от конкретных условий работы (род груза, объемный вес или габаритные размеры одного места, площадь склада и т.д.) и может систематически возрастать за счет прогрессивной технологии работы.
Для машин периодического действия эксплуатационная производительность рассчитывается по формуле:

Т>ц> - длительность рабочего цикла машины, сек; G>гр> - вес груза перерабатываемого за один цикл, т.
При определении и G>гр> следует помнить, что грузоподъемность механизма:

Циклом работы погрузочно-разгрузочных машин называется законченный технологический процесс во время выполнения грузовых операций с единицей груза. Длительность рабочего цикла определяется по следующей формуле:
Для козловых и мостовых кранов

Для поворотных стреловых кранов

t>з> -время на застропку груза, сек, t>о >- время на отстропку груза, сек, t>пов> - время поворота крана, сек. Н - средняя высота подъема груза, м. l>к> - среднее расстояние передвижения крана, м. l>m> - среднее расстояние передвижения тельфера, м. V>n> - скорость подъема и опускания груза, м/сек.; V>k> - скорость передвижения крана, м/сек.; η - коэффициент, учитывающий совмещение операций.
При этом необходимо
помнить, что продолжительность отдельных
операций берется из характеристики
механизма, а другие операции рассчитываются,
исходя из скорости механизма V
и пути его перемещения 1, т.е.
.

t>l>- наклон рамы вперед, заводка вал под груз, подъем и наклон рамы назад (10-15 сек); t>2>- время на разворот погрузчика (10 сек.); t>3> - время на передвижение с грузом; t>4> - на установку рамы н кортикальное положение (2-3 сек.; t>5> - время на подъем груза; t>6>- время на укладку груза (5-8 сек.); t>7> - время на наклон рамы назад (2-3 сек.); t>8> - время на отпускание порожней каретки; t>9> - время на поворот без груза (5 сек.); t>10> - время на холостой ход; t>11> - дополнительное время на переключение рычагов, срабатывания цилиндров (6-8 сек. ); η- коэффициент совмещения операций (0,85).
На разрабатываемом складе для перемещения труб применяется поворотный стреловый кран, поэтому длительность цикла рассчитаем по последней формуле:

т/с.
Для машин непрерывного действия производительность рассчитывается следующим образом.
При переработке грузов отдельными порциями с помощью конвейера (для песка):
т/ч.
G>rp> - вес одной порции груза, l - расстояние между порциями груза, V - скорость движения ленты конвейера, м/сек.

Производительность механизмов в смену:
т/см.
Р>см>
– эксплуатационная производительность
механизма, т/ч; t>см>
– продолжительность смены в часах;
- общее время, затраченное на отдых,
подготовительно- заключительные
операции, пересмену, ч.

Производительность механизмов в сутки:


Производительность весового оборудования:
т/ч.
G>b>- грузоподъемность весов по паспорту, т.; к>вр>, к>гр> - коэффициент использования соответственно по времени, по грузоподъемности; t- время на 1 отвес.

Необходимое количество механизмов
ед.
где t - число часов работы механизма в сутки с учетом всех перерывов.

Необходимое количество поддонов:

N>xp>- число поддонов, необходимое для непосредственного хранения груза на складе; Р>под> - вес груза на поддоне, т; t>xp>- срок хранения груза на складе, сут; t>обор>- время оборота поддонов, сут.; N>рем>- число поддонов, необходимое на ремонт.

Расчетное дробное число складского оборудования округляют до целого в сторону увеличения.12
4.3 Расчет показателей использования складских площадей, складского оборудования
Показатели использования складской площади и объема склада характеризуют эффективность использования складских помещений. Коэффициент использования складской площади определяется из отношения


Причем К>пл>, всегда меньше единицы в зависимости от рода груза, типа складского помещения, его планировки и способе механизации погрузочно-разгрузочных работ и внутрискладских работ составляет 0,2-0,7. Коэффициент использования складской площади по укрупненной номенклатуре грузов характеризуется следующими данными; металл 0,36-0,40; литье и поковки 0,45-0,6; масла и химикаты 0,3-0,4; стройматериалы 0,45-0,6; бумага 0,4-0,6; инструмент 0,3-0,35; электрооборудование 0,3-0,4; оборудование и запчасти 0,35-0,6 и могут служить для проверки правильности расчета.
В работе нужно проверить, насколько рационально расположен груз на складе. Для этого используются показатель средней фактической нагрузки, приходящейся на 1 кв. м. общей площади склада, или показатель грузонапряженности:
т/куб. м.
Е>скл> - ёмкость склада, т, или максимальный запас груза на складе.

Если g>факт> = g>план>, то складская площадь используется в соответствии с плановой нагрузкой на 1 кв.м. В противном случае необходимы дополнительные меры для улучшения использования площади склада.
Так как данных по планируемой нагрузке нет, будем считать, что складская площадь используется в соответствии с плановой нагрузкой.
Использование объема складского помещения характеризуется коэффициентом K>v> , т.е. отношением полезного объема, занятого материалом V>пол> к общему объему склада V>общ>.:

h>гр>- высота укладки груза, м; Н - высота складского помещения, м.

Использование подъемно-транспортных механизмов характеризуется двумя коэффициентами: коэффициентом использования по грузоподъемности К>гр> и коэффициентом использования по времени К>вр>

G>гр>- вес груза, поднимаемого механизмом, т; G>м> - грузоподъемность механизма по паспорту, т; t>факт> - период фактической работы в смену, ч; t>см> - плановая продолжительность рабочей смены, ч.
13
4.4 Расчет показателей производительности, уровня и степени механизации труда
Показатель производительности труда является одним важнейших показателей при оценке общих результатов деятельности складского хозяйства. Этот показатель отражает состояние механизации и автоматизации складских и погрузочно-разгрузочных работ и рассчитывается как отношение годового грузооборота склада к числу рабочих или числу работников склада:
т/раб.
Число работников склада равно 120 чел.

Уровень механизации погрузочно-разгрузочных работ – это отношение объема работ, выполненных с помощью механизмов к общему объему выполненных работ в тоннах:


Степень механизации труда показывает отношение трудозатрат на механизированных работах к общим трудозатратам в чел/час.


Необходимое количество комплексных бригад грузчиков:


Количество затраченных человеко-часов на переработку суточного грузооборота по вариантам работ:


Нормативы выработки и времени (соответственно Н>выр> и t>вр>) определяются по справочнику.14
4.5 Определение экономических показателей работы склада
Себестоимость переработки груза:
руб. /т.
Ежегодные эксплуатационные расходы склада определяются как сумма затрат по всем статьям эксплуатации:
Э = Э>1> + Э>2> + Э>З> + Э>4> + Э>5> + Э>6>, руб.
Отдельные статьи затрат определяются следующим образом.
Э>1> - расходы на заработную плату с начислениями по рабочим и персоналу, обслуживающих погрузочные машины и склад, руб.
,
руб.
-
расходы по заработной плате рабочих и
механизаторов, руб.
руб.
b - коэффициент, учитывающий доплаты и начисления к основной сдельной заработной плате. В среднем в расчетах принимают 0,43 - 0,57.
δ - районный коэффициент, принимаемый для условий г. Новосибирска = 1,25.
чел-см.
–
количество человеко-смен,
затрачиваемое грузчиками и механизаторами
па переработку годового грузооборота
склада по i-му
варианту складских работ; G>i>
- количество груза, перегружаемое в
течение года по отдельным вариантам
работы, т;
Н>выр>- сменная норма выработки одного рабочего бригады при перегрузке груза по i-му варианту работ; а>см>- сменная тарифная ставка одного рабочего бригады, принимаемая в среднем для проектных расчетов 100 руб./см.

– расходы по заработной плате
работников склада, работающих по
должностным месячным окладам:
руб.
п>о> - число работников данной категории; а>м> - месячный оклад одного работника, руб.

Э>1> = 520833,33 + 1012500 = 1533333,33 руб.
Э>2> - расходы на амортизацию и текущий ремонт по перегрузочному оборудованию, руб.
Эти расходы устанавливаются по проценту ежегодных отчислений по первоначальной стоимости перегрузочных машин.
руб.
где Ц>i> - стоимость i-ой перегрузочной машины, руб.; a>i>, b>i> - проценты ежегодных отчислений на амортизацию и текущий ремонт i-ой перегрузочной машины.

руб.

Э>3> - расходы на амортизацию и текущий ремонт по складам и общестроительным объектам, на покрытие территории, стеллажному оборудованию пакетирующим средствам, поддонам, контейнерам и т.д.
Э>3> = 0,01К>с>*(а>с> + b>с>) + 0,01К*(а>nc> + b>nc>) + 0,01K>обор>*(а>обор> + b>обор>), руб.,
где К>с> - общий размер капиталовложений в крытые склады, на сооружение навесов, покрытие территории, подкрановые пути; а>с>, b>с> - соответственно процент ежегодных отчислений на амортизацию и текущий ремонт складских и других сооружений;

Где Ц>с> -цена строительства 1 кв.м склада, руб.; Ц>тер> -цена покрытия 1 кв.м территории склада, руб.; Ц>пп> - цена 1 пог. м подкрановых путей, руб.; L>п.п.> - длина подкрановых путей, м; К>пс> - общие капиталовложения в пакетирующие средства, контейнеры, руб.; а>nc>, b>nc> процент ежегодных отчислений на амортизацию и текущий ремонт пакетирующих средств, контейнеров.

руб.
Ц>пс>, Ц>конт> - стоимость 1 комплекта пакетирующих средств и 1 контейнера; К>обор> - общие капиталовложения в поддоны, стеллажное и другое оборудование для складирования грузов, руб.;

а>обор>, в>обор> – процент ежегодных отчислений па амортизацию и ремонт складского оборудования
руб.
где Ц>под>, Ц>ст> - стоимость 1 поддона и 1 стеллажа.

Э>3> = 0,01*37500*(0,2 + 0,1) + 0,01*1750000*(0,2 + 0,1) + 0,01*450000*(0,2 + 0,1) = 112,5 + 5250 + 1350 = 6712,5 руб.
Э>4> - расходы на электроэнергию, топливо, смазку и обтирочные материалы, руб. Они определяются по числу часов работы машины или механизма, нормам расхода и стоимости 1 кг топлива или 1 квт-ч электроэнергии. Для машин с двигателями внутреннего сгорания затраты на топливо определяют по формуле:
руб.
t>раб>- фактическое число часов работы машины за год; Р>ф> - фактический расход топлива за 1 ч работы машины, кг/ч; С>т> - стоимость 1 кг топлива, руб.

Для машин с электрическим двигателем, работающим от общей сети, затраты на электроэнергию определяют по формуле:
руб.
где М>дв> - мощность двигателя, квт; С>эл> - стоимость 1 квт-ч электроэнергии, руб., к>м> - коэффициент использования двигателя по мощности в расчетах можно принять = 0,8.

Расходы на освещение склада:
руб.
F>скл> -площадь склада, подлежащая освещению, кв.м; в>о> =1,5 – удельная норма расхода электроэнергии, вт/м>2>; t>pa>>6>- фактическое число часов освещения склада за год, ч.; к>п> = 1,02 - коэффициент потерь.

Расходы на смазку и обтирочные материалы принимаются в размере 20%. Таким образом, Э>4> определяется по формуле:
руб.

Э>5> - расходы на аренду автотранспорта, перегрузочных машин и других транспортных средств определяются с учетом количества машино-смен в год и стоимости 1 машино-смены:
руб.
где n>мс> - количество машино-смен в сутки, в течение которых работает арендованный транспорт; t>pa>>6>- количество дней в году, а течение которых арендуется транспорт; С>мс> - стоимость 1 машино-смены, руб.
На данном складе нет арендованного оборудования, поэтому Э>5> = 0.
Э>6> - расходы на содержание распорядительского и обслуживающего персонала и общепроизводственные расходы, принимаемые в проектных расчетах в размере 29% расходов на заработную плату основных производственных рабочих
Э>6> = 0,29Э>1>, руб.
Э>6> = 0,29*1533333,33 = 444666,67 руб.
Определив эксплуатационные расходы по рассмотренным статьям, устанавливают общие расходы и рассчитывают себестоимость переработки 1 т груза.
Э = 15333333,33 + 120000 + 6712,5 + 1182900,9 + 0 +444666,67 = 3287613,4 руб.15
Себестоимость переработки груза тогда равна:
руб./т.
4.6 Капиталовложения, приведенные затраты, срок окупаемости
Общие капиталовложения определяются на основе выше проведенных расчетов:
руб.

Приведенные затраты:
руб.
где Е - нормативный коэффициент эффективности капиталовложений.
Е = 0,15.

Удельные капиталовложения:
руб./т.

Удельные приведенные затраты:
руб./т.

Срок окупаемости капиталовложений:
лет.

Проект принесет прибыль только после восьми с половиной лет его реализации.16
5. Экономический анализ полученных результатов
В ходе проведенной работы были рассчитаны экономические показатели, согласно которым можно подвести некоторый подитог курсовой работе.
В работе рассматривался склад, содержащий в себе трубы.
Площадь склада оказалась равной 3093,3 м2. При этом длина составила 103,11 м, ширина 30 м, высота – 5 м.
Это довольно таки большой склад, несмотря на небольшую габаритность груза, большую площадь занимают погрузочно-разгрузочные механизмы и автомобили. Поэтому общая площадь велика.
В работе были рассчитаны также показатели использования складских площадей. Самым примечательным из этих показателей является К>пл>, характеризующий коэффициент использования складской площади. Он оказался чрезвычайно мал. Возможно, это связано с длиной и шириной грузов.
Остальные показатели находятся в пределах норм и не удостаивают внимания.
Большую роль играют экономические показатели.
Первый экономический показатель был производительность труда и по расчетам можно сказать, что производительность труда высокая.
Вторым важным показателем можно считать себестоимость переработки груза – она велика, а в сочетании с капиталовложениями может возникнуть ситуация, которая приведет фирму к плачевному состоянию и очень долгому процессу окупаемости.
И, наконец, самый интересный показатель – срок окупаемости, который является в данном случае решением по организации склада или его ликвидации. Срок окупаемости равен 8,5 годам, и если начальник склада согласится ждать столько времени, то помещение будет действовать.
Заключение
Современный уровень экономики, характеризующийся развитием процессов глобализации, специализации и информатизации предусматривает всемерное совершенствование обслуживающих процессов, в первую очередь это относится к транспортированию грузов.
В транспортной стратегии Российской Федерации до 2015 г. одним из важнейших положений является снижение доли транспортной составляющей в стоимости товаров до 10... 15%. Для достижения этой цели необходимо снизить потери грузов в процессе их перевозки, хранения и перегрузки; совершенствовать транспортные технологии; развивать современные процессы управления и мониторинга; модернизировать транспортную технику. Основные подходы решения этих задач базируются на положениях:
совершенствование подготовки товара к перевозке, правильный подбор тары, формирование грузовых мест и грузовых партий;
выбор технологий доставки, включая тип транспортного средства, перевозку и выполнение погрузочно-разгрузочных работ, с максимальным учетом транспортных характеристик груза;
строгое соблюдение правил безопасности, условий перевозки и выполнения перегрузочных работ в соответствии с особенностями груза;
использование современных средств маркировки груза, способствующих автоматизации процессов мониторинга и управления доставкой грузов.
Перспективные транспортные технологии должны учитывать логистические принципы организации доставки товаров. За счет объединения в единые цепочки доставки грузовладельцев, перевозчиков и складских операторов появляется возможность на стадии планирования перевозки увязать характеристики грузов и транспортных систем. В результате транспортные системы будут максимально приспособлены для доставки соответствующих грузов, и подготовка товаров к перевозке может быть оптимизирована под требования транспортных систем еще на стадии проектирования и производства.
Список литературы
ГОСТ 17070-87 "Угли. Термины и определения"
Волгин В.В. Склад. - М.: Дашков и К, 2000.
Ворончихин Г.И., Оглоблин Л.А. Подъемно-транспортные машины и установки. М.: Транспорт 1987
Гаджинский А.М. Логистика: учебник для высших и средний специальных учебных заведений. – 6-е изд., перераб. и доп. – М.: Издательско-торговая корпорация «Дашков и К˚», 2003.
Дородтков В.К, Малашенко Н.П. Складское хозяйство. - Н.:НГАЭиУ, 2001
Жуков Е. И., Письменный М. Н. Технология морских перевозок: Учеб. для вузов мор. трансп. — 3-е изд., перераб. и доп. — М.: Транспорт, 1991.
Зерцалов А.И. Краны-штабелеры .М.: Машиностроение 1985
Кравченко Е.А., Нудьга В.Н. Грузоведение. — Краснодар: Краснодарский ЦНТИ, 2003.
Курганов В. М. Логистика. Транспорт и склад в цепи поставок товаров: Учебно-практическое пособие. — М.: Книжный мир, 2004.
Неруш Ю.М.,Лозовой Ю.Д., Шабанов В.Н. Грузовые перевозки и тарифы . М.: Транспорт, 1988
Олещенко Е.М., Горев А.Э. Основы грузоведения: Учебное пособие. – М.: Академия, 2005.
Савин В. А. Склады: Справ. пособие. — М.: Дело и Сервис, 2001.
Справочник газовика .М.:Транспорт 1998
http://www.msuie.ru/l4.php
Приложение
Схема планировки склада с трубами

1 – штабеля труб,
2 – стрелочный кран,
3 – штабеля труб,
4 – стрелочный кран.
1 Ворончихин Г.И., Оглоблин Л.А. Подъемно-транспортные машины и установки. М.: Транспорт 1987, с. 93
2 Волгин В.В. Склад. - М.: Дашков и К, 2000, с. 58
3 Олещенко Е.М., Горев А.Э. Основы грузоведения: Учебное пособие. – М.: Академия, 2005.
4 Жуков Е. И., Письменный М. Н. Технология морских перевозок: Учеб. для вузов мор. трансп. — 3-е изд., перераб. и доп. — М.: Транспорт, 1991.
5 Кравченко Е.А., Нудьга В.Н. Грузоведение. — Краснодар: Краснодарский ЦНТИ, 2003.
6 Гаджинский А.М. Логистика: учебник для высших и средний специальных учебных заведений. – 6-е изд., перераб. и доп. – М.: Издательско-торговая корпорация «Дашков и К˚», 2003, с. 218
7 Дородтков В.К, Малашенко Н.П. Складское хозяйство. - Н.:НГАЭиУ, 2001, с. 310
8 Курганов В. М. Логистика. Транспорт и склад в цепи поставок товаров: Учебно-практическое пособие. — М.: Книжный мир, 2004.
9 Савин В. А. Склады: Справ. пособие. — М.: Дело и Сервис, 2001.
10 Савин В. А. Склады: Справ. пособие. — М.: Дело и Сервис, 2001.
11 Волгин В.В. Склад. - М.: Дашков и К, 2000.
12 Ворончихин Г.И., Оглоблин Л.А. Подъемно-транспортные машины и установки. М.: Транспорт 1987
13 Неруш Ю.М.,Лозовой Ю.Д., Шабанов В.Н. Грузовые перевозки и тарифы . М.: Транспорт, 1988
14 Гаджинский А.М. Логистика: учебник для высших и средний специальных учебных заведений. – 6-е изд., перераб. и доп. – М.: Издательско-торговая корпорация «Дашков и К˚», 2003.
15 Дородтков В.К, Малашенко Н.П. Складское хозяйство. - Н.:НГАЭиУ, 2001
16 Волгин В.В. Склад. - М.: Дашков и К, 2000.