Защита интеллектуальной собственности (работа 2)
Тольяттинский Государственный Университет
Кафедра “Технология машиностроения”
Курсовая работа
по дисциплине
“Защита интеллектуальной собственности”
Студент
Лычагина О.А.
Группа
ТМ501
Преподаватель Гордеев А.В.
Тольятти, 2006 г.
Содержание
Работа №1. Исследование уровня вида техники
1. Обоснование необходимости проведения патентных исследований
2. Описание объекта
3. Цель исследования
4. Регламент поиска
4.1 Определение ИТР
4.2 Определение рубрики МКИ и индекса УДК
4.3 Установление ретроспективности (глубины) поиска
4.4 Выбор стран проверки
4.5 Определение источников информации
5. Патентный поиск
5.1 Отбор документации, имеющей отношение к ИТР
5.2 Анализ сущности отобранных ТР
6. Анализ результатов поиска
6.1 Определение показателей положительного эффекта
6.2 Сопоставительный анализ преимуществ и недостатков ИТР и аналогов
7. Описание усовершенствованного объекта
Работа №2. Исследование патентной чистоты усовершенствованного объекта
1. Обоснование необходимости проведения патентных исследований
2. Цель исследования
3. Регламент поиска
3.1 Определение ИТР
3.2 Выбор стран проверки
3.3 Установление ретроспективности поиска
3.4 Определение источников информации
4. Патентный поиск
5. Анализ результатов поиска
5.1 Выбор пунктов формулы изобретения для анализа
5.2 Выявление существенных признаков ИТР и аналогов
5.3 Сопоставительный анализ признаков ИТР и аналогов
6. Выводы
Работа №3. Исследование патентоспособности технического решения
1. Обоснование необходимости проведения патентных исследований
2. Цель исследования
3. Регламент поиска
3.1 Определение ИТР
3.2 Выбор стран проверки
3.3 Установление глубины поиска
3.4 Определение источников информации
4. Патентный поиск
5. Анализ результатов поиска
6. Выводы
7. Приложение
7.1 Заявление
7.2 Описание изобретения
7.3 Реферат
Работа №1
Исследование уровня вида техники
1. Обоснование необходимости проведения патентных исследований
Одним из путей совершенствования фрезерной операции является совершенствование режущего инструмента. На данной операции применяется дисковая фреза, ГОСТ 1067375. Усовершенствовать фрезу можно путем использования прогрессивных технических решений (ТР), созданных в последнее время. Выявить прогрессивные ТР, которые могут лечь в основу конструкции усовершенствованной фрезы можно в результате патентного исследования уровня вида техники «Фрезы».
2.Описание объекта
Фреза дисковая предназначена для обработки пазов.
Дисковая фреза, рис. 1, содержит корпус 1 с отверстием 2, которое имеет паз 3. На корпусе расположена рабочая режущая часть 4 с зубьями 5. Зуб содержит переднюю поверхность 6, заднюю поверхность 7, режущую кромку 8, вспомогательную режущую кромку 9, впадину для схода стружки 10. Передняя поверхность 6 наклонена под углом , задняя поверхность 7 наклонена под углом , передняя и задняя поверхности образуют угол заострения .

Рис.1. Дисковая фреза
Фреза работает следующим образом. Фрезе сообщают вращательное движение, заготовке поступательное, в результате взаимодействия фрезы с заготовкой происходит съём слоя материала в виде стружки.
Недостатком фрезы является:
1. Низкая технологичность конструкции;
3. Цель исследования
Целью исследования является повышение технологичности конструкции дисковой фрезы путем применения новых конструкций.
4. Регламент поиска
Задача этапа определить перечень исследуемых ТР (ИТР), их классификационных индексов, минимальные ретроспективность и широту патентного поиска, а также перечень источников информации, обеспечивающие достаточную полноту и достоверность исследования.
4.1 Определение ИТР
Фреза содержит следующие ТР:
а) фреза, общая компоновка;
б) режущая часть;
в) материал режущей части;
г) фрезерная обработка техпроцесс, положенный в основу работы;
д) способ изготовления фрезы.
Для достижения цели исследования будем исследовать ТР «Дисковая фреза».
4.2 Определение рубрики МКИ и индекса УДК
Для определения рубрики международной классификации изобретений (МКИ) ИТР «Дисковая фреза» определяем ключевое слово «Фрезы». По алфавитно-предметному указателю, т.2, определяем предполагаемую рубрику МКИ:
В23С Фрезерование.
По указателю к МКИ, т.2, раздел В, уточняем рубрику МКИ:
В23В5/00 Фрезы
5/02 …отличающиеся формой ржущей части
5/08 …концевые фрезы
Индекс Универсальной десятичной классификации (УДК) определяем по Указателю к УДК:
621.9 Обработка резанием
621.9.02 Режущие инструменты
621.914.22 Фрезы
4.3 Установление ретроспективности (глубины) поиска
Предполагая, что прогрессивные ТР были созданы в последние два десятилетия, устанавливаем глубину поиска 20 лет (1986-2006).
4.4 Выбор стран проверки
Исследования проводим в отношении ведущих стран в области машиностроения - РФ (СССР), Великобритании, Германии, США, Франции и Японии.
4.5 Определение источников информации
В качестве источников информации принимаем следующую патентную документацию:
- описания изобретений к авторским свидетельствам и патентам;
- бюллетень изобретений РФ;
- реферативный сборник ВНИИПИ «Изобретения стран мира», а также следующую техническую литературу:
- реферативный журнал ВИНИТИ НА «Резание металлов. Станки и инструменты» (14 «Технология машиностроения);
- журналы «Вестник машиностроения», «Машиностроитель», «Станки и инструменты», «Изобретатель и рационализатор»;
- книги и работы в области токарной обработки, обработки резанием, режущего инструмента.
Данные п.п. 4.1-4.5 заносим в регламент поиска №1 (табл. 1).
5. Патентный поиск
Задача этапа обеспечить достаточную полноту и достоверность исследования путем тщательного отбора и анализа патентно-технической информации.
5.1 Отбор документации, имеющей отношение к ИТР
Просматриваем источники информации в соответствии с регламентом. Отбираем такие документы, по названиям которых можно предположить, что они имеют отношение к ИТР «Фреза дисковая».
По отобранным документам знакомимся с рефератами, формулами изобретений, чертежами. Сведения о ТР, имеющие отношение к ИТР «Фреза дисковая», заносим в графы 1-4 табл. 2.
5.2 Анализ сущности отобранных ТР
Изучаем сущность отобранных ТР по сведениям, содержащимся в графе 4 табл. 2, а также по текстам патентных описаний, статей и т. п. Если ТР решает принципиально другую задачу, чем повышение технологичности конструкции дисковой фрезы путем применения новых конструкций, документ исключаем из рассмотрения.
Регламент поиска №1
Объект: фреза дисковая.
Вид исследования: исследование уровня вида техники
Таблица 1
|
Предмет поиска (ИТР) |
Индексы МКИ (НКИ) и УДК |
Страны поиска |
Глубина поиска, лет |
Источники информации |
|
Фреза дисковая |
МКИ: В23С5/00 ……..5/02 ……..5/08 УДК: 621.9 621.9.02 621.914.22 |
РФ (СССР) Великобритания Германия США Франция Япония |
20 (1986- -2006) |
Патентные описания Патентные бюллетени РФ и СССР Реф. сб. ВНИИПИ «Изобретения стран мира» Реф. журн. ВИНИТИ 14А «Резание металлов. Станки и инструмент» (14 «Технология машиностроения") ЭЙ ВИНИТИ «Режущие инструменты» Журналы: «Вестник машиностроения»; «Станки и инструменты»; «Машиностроитель»; «Изобретатель и рационализатор» Книги и работы в области обработки резанием, режущих инструментов, токарной обработки |
Если ТР решает ту же задачу (аналог ИТР), документ включаем в перечень для детального анализа, делая отметку об этом в графе 5 табл. 2.


РФ №1096053

РФ №1144805





РФ №1692767

РФ №1202750



РФ №1715517

РФ №1298009

РФ №1569105

US №5556239
Таблица 2
Патентная документация, отобранная для анализа
|
Предмет Поиска (ИТР) |
Страна выдачи, вид и номер охранного документа, рубрика МКИ (УДК) |
Автор, заявитель, страна, дата приоритета, дата публикации, название |
Сущность технического решения и цель его создания |
Подлежит (не подлежит) дальнейшему анализу при исследовании |
||
|
уровня |
чистоты |
новизны |
||||
|
1 |
2 |
3 |
4 |
5 |
6 |
7 |
|
1) Дисковая фреза |
РФ пат. № 1096053 В23С 5/08 УДК 621.914.22 (088.8) |
Радзеиовский С.С. Радзеиовский Д.С. РФ (СССР) Заявл. 30.06.82 Опубл. 07.06.84 Режущий инструмент |
Режущий инструмент, содержащий корпус и пластинчатые режущие элементы криволинейной формы, снабжена эластичной камерой, установленной на корпусе, а режущие элементы выполнены в виде спирали, охватывающей эластичную камеру. Цель изобретения расширение технологических возможностей и повышение стойкости режущего инструмента. |
да |
да |
да |
|
2) Дисковая фреза |
РФ пат. № 1144805 В23С 5/08 УДК 621.914.22 (088.8) |
Коноплев В.Н. РФ Заявл. 02.02.83 Опубл. 15.03.85 Фреза |
Фреза, содержащая корпус и кольцевую рабочую часть с режущими зубьями, соединенные промежуточным элементом, выполненном в виде незамкнутого кольца с прорезями из материала, обладающего эффектом запоминания формы, при этом прорези выполнены с обоих торцов и расположены в шахматном порядке. Цель изобретения повышение надежности соединения и снижения трудоемкости изготовления. |
да |
да |
да |
|
3) Дисковая фреза |
РФ пат. № 1692767 В23С 5/08 УДК 621.914.22 (088.8) |
Гончаренко Л.С. Станика Е.Н. РФ Заявл. 03.05.89 Опубл. 23.11.91 Дисковая фреза |
Фреза содержит корпус, в пазу которого при помощи винта , клина с канавкой и шарика закрепляется режущая пластина, установленная на подкладке со сферической опорной поверхностью, которая входит в сферическую выемку в пазу. При этом центры шарика, сферической выемки под шарик, сферической опорной поверхности и сферической выемки расположены в одной точке, а канавка находится на клине. Цель изобретения расширение технологических возможностей путем изменения геометрии резания. |
да |
да |
да |
|
4) Дисковая фреза |
РФ (СССР) пат. № 1202750 В23С 5/08 УДК 621.914.22 (088.8) |
Пышминцев А.Ю. Евсеев Б.А. Портнягин В.И. Карпенко В.И. РФ (СССР) Заявл. 03.07.84 Опубл. 07.01.86 Трехсторонняя фреза |
Трехсторонняя фреза с разнонаправленными зубьями, состоящая из корпуса и смещенных друг относительно друга в осевом направлении в шахматном порядке ножей, каждый из которых имеет главную, развернутую относительно оси фрезы и боковую вспомогательную режущие кромки. Цель изобретения расширение технологических возможностей фрезы путем придания получаемым при резке металлической ленты стружечным элементам формы арматурных элементов за счет подбора угловых и линейных размеров режущей части фрезы. |
да |
да |
да |
|
5) Дисковая фреза |
РФ (СССР) пат. № 1715517 В23С 5/08 УДК 621.914.22 (088.8) |
Беседовский Е.Ф. Связкина Т.М. Лысанов В.С. Ардашников Б.Н. Гофер М.М. Французов О.И. РФ (СССР) Заявл. 11.12.89Опубл. 29.02.92 Дисковая сборная фреза |
Фреза содержит корпус, в пазах которого выполнены направляющие U-образной формы. Пазы расположены на разной глубине от торца корпуса фрезы. По направляющим базируются ножи, на наружной поверхности которых выполнена канавка U-образной формы. Ножи фиксируются замковыми устройствами. В корпусе фрезы ножи располагаются секциями, внутри которых кромки ножей перекрывают всю ширину фрезерования. Цель изобретения расширение технологических возможностей посредством увеличения ширины фрезерования. |
да |
да |
да |
|
6) Дисковая фреза |
РФ (СССР) пат. № 1298009 В23С 5/08 УДК 621.914.22 (088.8) |
Овечкин В.П. РФ (СССР) Заявл. 14.10.85 Опубл. 23.03.87 Многолезвийный режущий инструмент |
Инструмент содержит корпус, на котором размещены зубья с режущими кромками, представляющими собой отрезки прямолинейных образующих и гиперболоидов вращения, имеющих общую ось. Цель изобретения повышение качества обработки кромок деталей путем ликвидации образования заусенцев. |
да |
да |
да |
|
7) Дисковая фреза |
РФ (СССР) пат. № 1569105 В23С 5/08 УДК 621.914.22 (088.8) |
Петров В.И. Зайцев С.В. Никитин М.А. Григорьев Ю.Б. РФ (СССР) Заявл. 07.12.87 Опубл. 06.10.89 Сборная фреза |
Сборная фреза, содержащая корпус с резцами, промежуточный диск, установленный с возможностью поворота относительно корпуса, и демпфирующие элементы, нормали к наружным поверхностям которых в точках их контакта с поверхностью впадин, выполненных на внутренней поверхности корпуса. Цель изобретения повышение технологичности конструкции фрезы. |
да |
да |
да |
|
8) Дисковая фреза |
СШАпат. № 5556239 В23С 5/08 УДК 621.914.22 (088.8) |
Reiterman Lee VALENITE INC. США Заявл. 24.10.95 Опубл. 17.09.96 Многогранная неперетачиваемая твердосплавная режущая пластина для сборной фрезы |
Режущая пластина имеет верхнюю
поверхность; нижнюю поверхность
меньшей площади и боковые грани, каждая
из которых пересекает нижнюю поверхность,
образуя заднюю кромку, и направлена
наружу под тупым углом до пересечения |
да |
да |
да |
|
Первый участок задней
поверхности имеет выпуклую форму и
направлен от режущей кромки в сторону
промежуточной линии сопряжения,
находящейся между верхней и нижней
поверхностями. При этом первый участок
задней поверхности искривлен в
на |
6. Анализ результатов поиска
Задача этапа - путем сопоставления преимуществ и недостатков ИТР и аналогов установить, какой из аналогов является наиболее прогрессивным.
6.1 Определение показателей положительного эффекта
Определяем, какие показатели положительного эффекта желательно получить в идеальном усовершенствованном объекте. Группируем показатели и заносим в графы 1-3 табл. 3.
Таблица 3
Оценка преимуществ и недостатков аналогов
|
Гр. |
№ |
Показатели положительного эффекта |
ИТР |
Аналоги |
|||||||
|
Пат. РФ 1692767 |
Пат. РФ 1715517 |
Пат, РФ 1096053 |
Пат, РФ 1144805 |
Пат. США 5556239 |
Пат. РФ 1202750 |
Пат. РФ 1298009 |
Пат. РФ 1569105 |
||||
|
А |
Обеспечивающие достижение цели предполагаемым путем |
||||||||||
|
1 |
Повышение технологичности конструкции путем применения новых конструкций |
0 |
7 |
6 |
6 |
7 |
5 |
7 |
7 |
8 |
|
|
Б |
Обеспечивающие достижение цели другими путями |
||||||||||
|
1 |
Повышение технологичности конструкции путем точного базирования режущих пластин |
0 |
9 |
4 |
5 |
6 |
8 |
0 |
0 |
6 |
|
|
В |
Улучшающие др. полезные свойства объекта |
||||||||||
|
1 |
Повышение надежности крепления режущих пластин |
0 |
2 |
1 |
3 |
3 |
1 |
-1 |
0 |
2 |
|
|
2 |
Повышение качества обработанных поверхностей |
0 |
0 |
0 |
0 |
0 |
1 |
3 |
3 |
0 |
|
|
3 |
Снижение трудоемкости при изготовлении |
0 |
2 |
3 |
3 |
0 |
0 |
0 |
0 |
1 |
|
|
Г |
Ослабляющие вредные свойства объекта |
||||||||||
|
1 |
Упрощение конструкции |
0 |
-2 |
-1 |
-1 |
-1 |
-2 |
0 |
0 |
-2 |
|
|
Суммарный положительный эффект |
0 |
18 |
13 |
16 |
15 |
13 |
9 |
10 |
15 |
6.2 Сопоставительный анализ преимуществ и недостатков ИТР и аналогов
Оцениваем обеспечение каждого показателя положительного эффекта в баллах. В графе 4 табл. 3 ИТР по каждому показателю выставляем оценку 0. В графах 5-12 выставляем оценку аналогам по показателям групп а) от 0 до 10, а групп б) и в) от -3 до 3. Суммируем оценки по каждому аналогу и заносим результаты в нижнюю строку табл. 3. Видим, что наибольшую сумму баллов имеет аналог «Дисковая фреза» по патенту РФ №1692767, авторы: Гончаренко Л.С. Станика Е.Н.; приоритет с 23.11.91. Следовательно, данное ТР является наиболее прогрессивным. Принимаем его для использования в усовершенствованной фрезе.
7. Описание усовершенствованного объекта «Дисковая фреза»
Дисковая фреза предназначена для обработки плоскостей, уступов.

Рис. 1

Рис. 2

Рис. 3
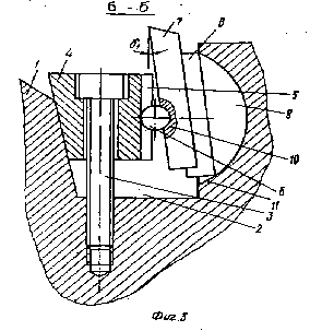
Дисковая фреза (рис. 3) содержит корпус 1, в пазу 2 которого при помощи винта 3, клина 4 с канавкой 5 и шарика 6 закрепляется режущая пластина 7, установленная на подкладке 8 со сферической опорной поверхностью 9, которая входит в сферическую выемку в пазу 2. При этом центры шарика 6, сферической выемки 10 под шарик, сферической опорной поверхности 9 и сферической выемки 11 расположен в одной точке, а канавка 5 находится на клине 4 на той его грани, которая располагается параллельно оси затяжного винта.
Дисковая фреза работает следующим образом. Режущая пластина 7 устанавливается в нужное положение перемещением сферической опорной поверхности 9 по сферической выемке 11. Затем в сферическую выемку 10, расположенную на режущей пластине, и в канавку 5 на клине 4 вставляется шарик 6. Перемещение клина 4 в радиальном направлении осуществляется винтом 3. При этом выбираются все зазоры между сопрягаемыми деталями и происходит фиксация режущей пластины 7 в нужном положении. Таким образом, создаются нужные для обработки конкретного материала заготовки величины передних углов как в радиальном направлении >1>, так и в осевом >2>.
Дисковая фреза устанавливается на оправку шпинделя станка, дальнейшая работа фрезы происходит классическим образом. Возможность изменять геометрию резания путем поворота режущей пластины на сферической опоре позволяет при переходе к обработке материала с другими физико-механическими свойствами быстро создать требуемые геометрические параметры режущей части.
Фрезе сообщают вращательное движение, заготовке поступательное. В результате взаимодействия фрезы с заготовкой происходит съем слоя материала в виде стружки.
Преимуществом фрезы является повышение технологичности конструкции и точности установки режущих пластин.
Работа №2
Исследование патентной чистоты усовершенствованного объекта
1. Обоснование необходимости проведения патентных исследований
Применение прогрессивного ТР в усовершенствованном объекте возможно только в случае его патентной чистоты в отношении страны изготовления РФ и стран предлагаемого экспорта. Установить, обладает ли усовершенствованная фреза патентной чистотой в отношении этих стран можно в результате экспертизы его на патентную чистоту.
2. Цель исследования
Целью исследования является возможность использования усовершенствованной фрезы путем обеспечения её патентной чистоты.
3. Регламент поиска
3.1 Определение ИТР
В исследуемом объекте, усовершенствованной фрезе, выявляем ИТР:
а) в зависимости от объема выпуска или экспорта
Фреза является объектом крупносерийного производства. Поэтому для экспертизы на патентную чистоту оставляем все ТР, указанные в п. 4.1 работы №1.
б) в зависимости от сроков известности
ТР «Дисковая фреза» патент РФ №1144805 и «Дисковая фреза» патент РФ №1298009 по данным на 2006 год прекратили своё действие, поэтому исключаем их из перечня для исследования.
ТР «Дисковая фреза» патент РФ №1692767, как видно из работы 1, защищено действующим патентом. Оставляем его для исследования патентной чистоты.
3.2 Установление ретроспективности поиска
Глубина поиска при экспертизе патентной чистоты определяется сроком действия патентов в странах проверки. В соответствии с этим устанавливаем глубину 20 лет.
3.3 Выбор стран проверки
Изготавливать фрезу предполагается в РФ. В учебных целях согласно заданию предполагается их экспорт в США. Принимаем эти страны в качестве проверки.
3.4 Определение источников информации
Из источников, использованных в работе №1, оставляем только патентную документацию, а именно:
- патентные описания;
- бюллетень изобретений;
- реферативный сборник «Изобретения стран мира»;
- реферативный журнал ВИНИТИ 14А «Резание металлов. Станки и инструменты» (14 «Технология машиностроения»).
Данные п.п. 4.1-4.4 заносим в регламент поиска №2 (табл. 4).
4. Патентный поиск
Поиск проводим по методике, изложенной в п.5 работы №1. При этом используем полученные ранее результаты. Отбираем ТР, имеющие отношение к ИТР, для детального анализа, делая отметку об этом в графе 6 табл. 2.
Регламент поиска №2
Объект: фреза дисковая.
Вид исследования: исследование патентной чистоты.
Таблица 4
|
Предмет поиска (ИТР) |
Индексы МКИ (НКИ) и УДК |
Страны поиска |
Глубина поиска, лет |
Источники информации |
|
Фреза дисковая |
МКИ: В23С5/00 ……..5/02 ……..5/08 УДК: 621.9 621.9.02 621.914.22 |
РФ (СССР) США |
20 20 |
Патентные описания Патентные бюллетени РФ и СССР Реф. сб. ВНИИПИ «Изобретения стран мира» |
5. Анализ результатов поиска
Задача этапа путем сопоставления совокупностей существенных признаков аналогов и ИТР установить, обладает ли ИТР патентной чистотой в отношении стран проверки.
5.1 Выбор пунктов формулы изобретения для анализа
В РФ и США действует европейская система построения патентной формулы, по которой ее первый пункт является независимым, а остальные пункты зависимыми.
Следовательно, в патентной документации РФ и США будем принимать во внимание при экспертизе только первый пункт формулы.
5.2 Выявление существенных признаков ИТР и аналогов
Выявляем существенные признаки ИТР «Дисковая фреза», группируем их и заносим в графы 1-2 табл. 5. Отмечаем наличие этих признаков у ИТР в графе 3 знаком <+>. Сравниваем ИТР с аналогами, отмечаем в графах 4-8 наличие признака у аналога знаком «+», отсутствие - знаком «-».
Выявляем другие существенные признаки у аналогов. Отсутствие их у ИТР отмечаем в графе 3 знаком «-». Наличие или отсутствие признака у других аналогов отмечаем знаком «+» или «-».
5.3 Сопоставительный анализ признаков ИТР и аналогов
Сопоставляя совокупности признаков группы а) табл.5 аналогов и ИТР, видим, что в ИТР не использованы совокупности признаков по пат. РФ №1202750, №1569105, №1096053, США №5556239. Эти патенты исключаем из дальнейшего рассмотрения.
Сопоставляя далее совокупности признаков группы б), видим, что в ИТР не использованы совокупности признаков по пат. РФ №1715517. Этот патент также исключаем из дальнейшего рассмотрения.
Таким образом, в результате сопоставительного анализа выявляем, что ИТР «Дисковая фреза» по пат. РФ №1692767 не подпадает под действие патентов РФ и США.
Следовательно, усовершенствованная фреза обладает патентной чистотой в отношении РФ и США.
6. Выводы
Для организации производства усовершенствованных фрез в РФ нужно приобрести лицензию у владельцев пат. РФ №1692767. Продавать такие фрезы в США можно беспрепятственно.
Таблица 5
Существенные признаки ИТР «Дисковая фреза» и его аналогов
|
Гр. |
Признаки технического решения |
ИТР Пат. РФ 1692767 |
Аналоги |
||||
|
Пат. РФ 1202750 |
Пат. РФ 1715517 |
Пат. РФ 1569105 |
Пат. РФ 1096053 |
Пат. США 5556239 |
|||
|
а) |
Элементы: |
||||||
|
1. корпус |
+ |
+ |
+ |
+ |
+ |
+ |
|
|
2. подложка Г-образной формы |
|
|
|
+ |
|
|
|
|
3. коромысло |
|
|
|
|
+ |
|
|
|
4. клин |
+ |
+ |
+ |
+ |
|
|
|
|
5. зажимной винт |
+ |
+ |
+ |
+ |
+ |
|
|
|
6. наружные диски |
+ |
|
|
|
|
|
|
|
7. цилиндрическая цапфа |
|
|
|
|
|
+ |
|
|
8. опорные элементы с гнездами под режущие пластины |
|
+ |
|
+ |
|
|
|
|
9. болт-штифты |
|
|
|
|
+ |
|
|
|
б) |
Форма элементов: |
||||||
|
1. конический клин |
|
|
+ |
+ |
|
|
|
|
2. цилиндрический клин |
+ |
|
|
|
|
|
|
|
3. коническо-цилиндрический клин |
|
+ |
|
|
|
|
|
|
в) |
Взаимное расположение элементов: |
||||||
|
1. режущие кромки лежат параллельно основной оси инструмента |
+ |
+ |
+ |
+ |
+ |
+ |
|
|
г) |
Соотношение размеров: |
||||||
|
1. размеры имеют постоянную величину |
+ |
+ |
+ |
+ |
+ |
+ |
|
|
д) |
Материалы: |
||||||
|
1. режущая часть выполнена из быстрорежущего материала |
|
|
|
+ |
|
+ |
|
|
2. нанесение спец. покрытия |
|
|
|
|
+ |
|
Работа №3
Исследование патентоспособности технического решения
1. Обоснование необходимости проведения патентных исследований
Если усовершенствованная фреза содержит ТР, обладающее всеми признаками изобретения (новизной, творческим уровнем и промышленной применимостью), то он является патентоспособным и, следовательно, необходимо обеспечить его правовую защиту путем оформления заявки на изобретение.
Выявить наличие признаков изобретения в усовершенствованной фрезе можно в результате исследования его патентоспособности.
2. Цель исследования
Целью исследования патентоспособности фрезы является правовая защита входящих в нее ТР, удовлетворяющих критериям изобретения, путем выявления признаков изобретения в этих решениях и оформления заявок на изобретения.
3. Регламент поиска
3.1. Определение ИТР
Признаками изобретения в усовершенствованной фрезе предположительно обладает ТР «Дисковая фреза». Данное ТР обладает творческим уровнем и промышленной применимостью. Оставляем его для исследования новизны.
3.2 Выбор стран проверки
Поскольку к изобретению предъявляются требования мировой новизны, проверку необходимо проводить по всем странам. В патентной практике исследования проводят только по ведущим странам.
3.3 Установление глубины поиска
Принято глубину поиска при исследовании новизны ограничивать пятьюдесятью годами.
3.4 Определение источников информации
В качестве источников информации принимаем те же, что и в работе № 1.
Данные п. п. 3.1 - 3.4 заносим в регламент поиска №3 (табл. 6).
4. Патентный поиск
Поиск проводим по методике, изложенной в п. 5 работы №1. При этом используем полученные ранее результаты. Отбираем ТР, имеющие отношение к ИТР, для детального анализа, делая отметку об этом в графе 7 табл. 2.
Регламент поиска №3
Объект: фреза дисковая.
Вид исследования: исследование патентоспособности.
Таблица 6
|
Предмет поиска (ИТР) |
Индексы МКИ (НКИ) и УДК |
Страны поиска |
Глубина поиска, лет |
Источники информации |
|
Фреза дисковая |
МКИ: В23С5/00 5/02 5/08 УДК: 621.9 621.9.02 621.914.22 |
РФ (СССР) Великобритания Германия США Франция Япония |
50 (1956- -2006) |
Патентные описания Патентные бюллетени РФ и СССР Реф. сб. ВНИИПИ «Изобретения стран мира» Реф. журн. ВИНИТИ 14А «Резание металлов. Станки и инструмент» (14 «Технология машиностроения") ЭЙ ВИНИТИ «Режущие инструменты» Журналы: «Вестник машиностроения»; «Станки и инструменты»; «Машиностроитель»; «Изобретатель и рационализатор» Книги и работы в области обработки резанием, режущих инструментов, токарной обработки |
5. Анализ результатов поиска
Задача этапа путем сопоставления совокупностей существенных признаков ИТР и аналогов установить, обладает ли ИТР новизной.
Для анализа используем табл. 5.
Сопоставляя совокупности признаков группы а) табл. 5 ИТР и аналогов, видим, что признак 6 (наружные диски) не содержится ни в одной совокупности и, следовательно, совокупность признаков ИТР является новой.
Следовательно, ИТР «Дисковая фреза» обладает новизной.
6. Выводы
ИТР «Дисковая фреза» обладает патентоспособностью, и на него необходимо оформить заявку на изобретение.
7. Приложение
7.1 Заявление
|
Учебный |
||||
|
Дата получения |
Входной № |
№ гос. регистрации |
||
|
22 |
21 |
|||
|
Приоритет |
Рубрика МКИ В23С5/08 |
|||
|
В комитет Российской Федерации по материалам и товарным знакам. 121858 Москва, Бережковская наб. 30, корп. 1, НИИГПЭ ЗАЯВЛЕНИЕ о выдачи патента Российской Федерации на изобретение Представляя указанные ниже документы, просим выдать патент Российской Федерации на изобретение |
||||
|
71 |
Заявитель и его адрес: Тольяттинский государственный университет, |
|||
|
445020 Самарская обл., г. Тольятти, Белорусская 14 |
||||
|
Название изобретения |
||||
|
54 |
Дисковая фреза |
|||
|
Адрес для переписки |
||||
|
98 |
445020 Тольятти, Белорусская 14, корп. «Н», патентный отдел |
|||
|
Перечень предлагаемых документов |
Кол. в 1 экз. |
Кол. экз. |
||
|
Описания изобретения |
1 |
2 |
||
|
Формула изобретения |
1 |
2 |
||
|
Чертежи и т.п. материалы |
1 |
2 |
||
|
Реферат |
1 |
2 |
||
|
Документ об уплате пошлины |
1 |
1 |
||
|
Другие документы |
||||
|
72 |
Авторы |
Адрес местожительства |
||
|
Лычагина |
ул. Заречная 21-54 |
|||
|
Ольга |
||||
|
Александровна |
||||
|
Подпись заявителя, печать юридического лица |
||||
7.2 Описание изобретения
МКИ В23С5/08
Дисковая фреза
Изобретение относится к конструкциям металлорежущих инструментов.
Известны дисковые фрезы, содержащие корпус, в торцовых пазах которого установлены режущие пластины с механическим креплением [1].
Недостатком известных фрез является низкая технологичность конструкции.
Этот недостаток частично устраняется в дисковой фрезе, содержащей корпус в торцовых пазах которого установлены режущие пластины с помощью клиньев, винтов и сферических элементов, клинья выполнены конической формы, соединены винтами с помощью резьбового соединения и установлены в соответствующих пазах корпуса с возможностью самоустановки при закреплении пластин с помощью шарика [2].
Однако данное решение недостаточно увеличивает технологичность конструкции фрезы вследствие не оптимальности конструкции.
Целью изобретения является повышение технологичности конструкции путем изменения геометрии резания.
Указанная цель достигается тем, что в известной фрезе, содержащей корпус с пазами, пересекающими его торцовые поверхности, и установленные в них режущие пластины, закрепленные при помощи клина, винта и сферического элемента, отличающаяся тем, что, с целью расширения технологических возможностей путем изменения геометрии резания, фреза снабжена сферической опорой под режущую пластину, а в корпусе фрезы выполнено сферическое гнездо для размещения сферической опоры, при этом в режущей пластине выполнено сферическое углубление, а в клине паз, параллельный оси винта, предназначенные для взаимодействия со сферическим элементом.
Сущность изобретения поясняется чертежом, где на фиг. 1, 2 и 3 показана выполненная согласно изобретению фреза содержит корпус 1, в пазу 2 которого при помощи винта 3, клина 4 с канавкой 5 и шарика 6 закрепляется режущая пластина 7, установленная на подкладке 8 со сферической опорной поверхностью 9, которая входит в сферическую выемку в пазу 2. При этом центры шарика 6, сферической выемки 10 под шарик, сферической опорной поверхности 9 и сферической выемки 11 расположен в одной точке, а канавка 5 находится на клине 4 на той его грани, которая располагается параллельно оси затяжного винта.



Дисковая фреза работает следующим образом. Режущая пластина 7 устанавливается в нужное положение перемещением сферической опорной поверхности 9 по сферической выемке 11. Затем в сферическую выемку 10, расположенную на режущей пластине, и в канавку 5 на клине 4 вставляется шарик 6. Перемещение клина 4 в радиальном направлении осуществляется винтом 3. При этом выбираются все зазоры между сопрягаемыми деталями, и происходит фиксация режущей пластины 7 в нужном положении. Таким образом создаются нужные для обработки конкретного материала заготовки величины передних углов как в радиальном направлении >1>,так и в осевом >2>.
Фрезе сообщают вращательное движение, заготовке поступательное. В результате взаимодействия фрезы с заготовкой происходит съем слоя материала в виде стружки.
Формула изобретения
Дисковая фреза, содержащая корпус с пазами, пересекающими его торцовые поверхности, и установленные в них режущие пластины, закрепленные при помощи клина, винта и сферического элемента, отличающаяся тем, что, с целью расширения технологических возможностей путем изменения геометрии резания, фреза снабжена сферической опорой под режущую пластину, а в корпусе фрезы выполнено сферическое гнездо для размещения сферической опоры, при этом в режущей пластине выполнено сферическое углубление, а в клине паз, параллельный оси винта, предназначенные для взаимодействия со сферическим элементом.
7.3 Реферат
МКИ В23С5/08
Дисковая фреза, Лычагина О.А., Тольяттинский Государственный Университет.
Изобретение относится к конструкциям металлорежущих инструментов.
Цель изобретения – повышение технологичности конструкции путем изменения геометрии резания.
Дисковая фреза, содержит корпус с пазами, пересекающими его торцовые поверхности, и установленные в них режущие пластины, закрепленные при помощи клина, винта и сферического элемента. Фреза снабжена сферической опорой под режущую пластину, а в корпусе фрезы выполнено сферическое гнездо для размещения сферической опоры, при этом в режущей пластине выполнено сферическое углубление, а в клине паз, параллельный оси винта, предназначенные для взаимодействия со сферическим элементом.
Источники информации
1. Металлорежущие инструменты. Сахаров Г.Я. и др. М., Машиностроение, 1989.
2. Патент РФ кл. В23С5/08 № 1692767.