Зменшення радіальної нерівномірності температурних полів у дисках роторів ГТД дискобарабанної конструкції
НАЦІОНАЛЬНИЙ
АЕРОКОСМІЧНИЙ УНІВЕРСИТЕТ ім. М.Є.
ЖУКОВСЬКОГО «ХАРКІВСЬКИЙ АВІАЦІЙНИЙ
ІНСТИТУТ»
Харченко Андрій Олександрович
УДК 621.438.226
ЗМЕНШЕННЯ РАДІАЛЬНОЇ НЕРІВНОМІРНОСТІ ТЕМПЕРАТУРНИХ ПОЛІВ У ДИСКАХ РОТОРІВ ГТД ДИСКОБАРАБАННОЇ КОНСТРУКЦІЇ
спеціальність 05.05.03 — двигуни та енергетичні установки
Автореферат
дисертації на здобуття наукового ступеня кандидата технічних наук
Харків — 2008
Дисертацією
є рукопис.
Роботу виконано на кафедрі енергоустановок морських суден і споруд Севастопольського національного технічного університету Міністерства освіти і науки України.
Науковий керівник: доктор технічних наук, професор Салов Микола Миколайович, Севастопольський національний технічний університет, професор кафедри енергоустановок морських суден і споруд.
Офіційні опоненти: доктор технічних наук, професор Олійник Олексій Васильович, Національний аерокосмічний університет ім. М.Є. Жуковського «Харківський авіаційний інститут», професор кафедри конструкції авіаційних двигунів;
кандидат технічних наук, Голощапов Володимир Миколайович,
Інститут проблем машинобудування
ім. А.М. Підгорного НАН України, старший науковий співробітник
відділу моделювання та ідентифікації
теплових процесів.
Захист відбудеться “20” червня 2008 р. о 14 годині на засіданні спеціалізованої вченої ради Д64.062.02 у Національному аерокосмічному університеті ім. М.Є. Жуковського “Харківський авіаційний інститут” за адресою: 61070, м. Харків-70, вул. Чкалова, 17, ауд. 307 головного корпусу.
З дисертацією можна ознайомитись в бібліотеці Національного аерокосмічного університету ім. М.Є. Жуковського “Харківський авіаційний інститут” за адресою: 61070, м. Харків-70, вул. Чкалова, 17.
Автореферат розісланий “6” травня 2008 р.
Вчений секретар
спеціалізованої вченої ради Д64.062.02 Л.О. Базима
ЗАГАЛЬНА ХАРАКТЕРИСТИКА РОБОТИ
Актуальність теми. Україна є державою з розвинутим транспортним і енергетичним газотурбобудуванням. Необхідність створення конкурентноздатних на світовому ринку газотурбінних двигунів (ГТД) нового покоління вимагає реалізації високих параметрів термодинамічного циклу при високих надійності і ресурсі. Основним напрямком удосконалювання ГТД є збільшення температури газу перед турбіною поряд зі збільшенням ступеня підвищення тиску повітря в компресорі. За час практичного застосування ГТД ріст температури газу перед турбіною склав більш 700 К (до 1700 К і вище), при цьому оптимальні значення ступеня підвищення тиску (відповідні максимальній роботі циклу або максимальному ККД) також ростуть, досягаючи для сучасних і перспективних двигунів величини 30 і більш.
Високі значення параметрів циклу позначаються на температурному стані дисків роторів компресора і турбіни. Відомо, що при транспортуванні охолоджуючого повітря через ротор компресора перепад температур по радіусу дисків останніх ступенів компресорів високого тиску може складати 200...400 К. Напруги, викликані радіальним градієнтом температури, істотно впливають на розподіл сумарних напруг у диску, особливо на нестаціонарних режимах роботи ГТД. На нестаціонарних режимах температурні напруги міняються не тільки по величині, але і за знаком, викликаючи термоциклічне навантаження, що сприяє розвиткові утоми металу і зниженню міцності диска аж до його руйнування. Високий рівень температури безпосереднім образом впливає на запас міцності роторів, знижуючи такі характеристики матеріалу як межі міцності, тривалої міцності, повзучості й утоми. Таким чином, виникає проблема зменшення негативного впливу високих параметрів циклу на термонапружений стан дисків роторів.
Величину температурних напруг у дисках прагнуть зменшити, застосовуючи різні схеми підведення охолоджуючого повітря. Найбільш значні результати досягаються при обдуві диска одноступеневої турбіни високого тиску, у той же час градієнти температур у дисках роторів осьових компресорів і багатоступеневих турбін дискобарабанної конструкції залишаються досить високими внаслідок „холодної” маточини диска при існуючих схемах охолодження ротору. Тому зменшення радіальної нерівномірності температурних полів дисків роторів ГТД є актуальною задачею.
Зв'язок роботи з науковими програмами, планами і темами. Робота виконана в Севастопольському національному технічному університеті (СевНТУ) за планами науково-дослідних робіт кафедри енергоустановок морських суден і споруд, а також при виконанні робіт з договорів №56/95 «Експериментальні дослідження інтенсифікації теплообміну в порожнині ротора з осьовим плином охолоджувача на стаціонарних і перехідних режимах роботи двигуна» (РК 194U017348); №27/99 «Експериментальні дослідження роботи ежекційних пристроїв для інтенсифікації теплообміну в порожнинах роторів ГТД».
Мета і завдання дослідження. Метою дисертаційної роботи є зменшення радіальної нерівномірності температурних полів у дисках роторів ГТД за допомогою застосування пристроїв, що використовують динамічний напір осьового потоку повітря, що відбирається на охолоджування двигуна.
Для досягнення поставленої мети необхідно розв’язати наступні задачі:
— виконати аналіз існуючих схем охолодження дисків роторів ГТД і структури плинів в обертових циліндричних порожнинах;
— розробити конструкції пристроїв, що зменшують нерівномірність температури по радіусу диска за допомогою переносу теплоти до маточинної частини диска;
— експериментально дослідити радіальну нерівномірність температури диска з пристроями, використовуючими динамічний напір осьового потоку повітря, що відбирається на охолодження двигуна;
— узагальнення результатів експерименту і отримання розрахункових залежностей для опису температурного стану екранованих дисків з ежекторними пристроями і неекранованих дисків роторів ГТД, що охолоджуються осьовим потоком повітря;
— зіставлення на основі одержаних залежностей термонапряженного стану неекранованих дисків роторів ГТД і екранованих дисків з ежекторними пристроями.
Об'єкт дослідження — ротор дискобарабанної конструкції авіаційного ГТД.
Предмет дослідження є температурне поле в дисках роторів ГТД.
Методи дослідження. Використовувалися: фізичне моделювання для вивчення температурного поля дисків, методи візуалізації плину і теорія подоби при дослідженні працездатності ежекторних каналів, метод статистичної обробки даних для аналізу результатів експерименту й оцінки погрішності.
Наукова новизна одержаних результатів:
вперше розроблено та випробувано пристрої для зменшення радіальної нерівномірності температурних полів у дисках роторів ГТД дискобарабанної конструкції, засновані на використанні динамічного напору осьового потоку охолоджуючого повітря; експериментально встановлено, що пристрої, ежектуючі повітря з міждискової порожнини, більш ефективні для зменшення нерівномірності температур по радіусу диска, ніж пристрої, що змінюють напрямок плину осьового потоку охолоджувача для подачі повітря в міждискову порожнину;
на основі виконаних експериментальних досліджень уточнені залежності для розрахунку температури дисків роторів з осьовим плином охолоджуючого повітря;
на основі виконаних експериментальних досліджень вперше отримана залежність для розрахунку температури по радіусу екранованих дисків з ежекторними пристроями.
Практичне значення одержаних результатів. Унаслідок застосування розроблених конструкцій охолоджуючих пристроїв забезпечується зниження перепаду температур по радіусу дисків і зменшення температурних напруг, що дозволяє підвищити міцнісну надійність дисків або зменшити масу екранованого диска в порівнянні з неекранованим при рівних запасах міцності.
Отримані узагальненням результатів експерименту розрахункові залежності дозволяють розрахувати розподіл температур по радіусу дисків ГТД на стадії проектування, не задаючись граничними умовами теплообміну, що істотно скорочує розмірність задачі в порівнянні з існуючими методами розрахунку.
Виконані дослідження у формі науково-технічних звітів представлені в науково-виробничий комплекс газотурбобудування «Зоря-Машпроект» (м. Миколаїв), у науково-дослідну лабораторію перспективних двигунів Національного технічного університету «Харківський політехнічний інститут» (м. Харків), ЗМКБ «Прогрес» (м. Запоріжжя), НВО «Сатурн» (м. Рибінськ, РФ). Результати досліджень використовуються для оцінки температурного стану неекранованих компресорних дисків ГТД на стаціонарних режимах роботи, у практиці наукових досліджень з розробки методів підвищення тривалої міцності і безвідмовності перспективних двигунів, а також у практиці проектування сучасних високонавантажених роторів, що підтверджується актами про практичне використання.
Особистий внесок здобувача при виконанні дисертаційної роботи є вибір напрямку, методів і методик дослідження, особиста участь у проведенні експериментів, а також узагальнення отриманих результатів. Внесок автора в роботи, виконані в співавторстві, складався в особистій участі у всіх стадіях роботи, починаючи від постановки задачі, виконання теоретичних і експериментальних досліджень до впровадження отриманих результатів.
Апробація результатів дисертації. Основні положення і результати дисертаційної роботи апробовані на: VI, VII, VIII, IX, X, XI та XII Міжнародних конгресах двигунобудівників (Харків — Рибаче, 2001, 2002, 2003, 2004, 2005, 2006, 2007 рр.), III Російській національній конференції з теплообміну (Москва, МЕІ, 2002р.), наукових конференціях Севастопольського національного технічного університету (СевНТУ) «Нові технології в машиноприладобудуванні і на транспорті» (2001р.) і «Енергомашинобудування» (2005 р.); наукових семінарах СевНТУ (у 2006р. і 2007р.) і Національного аерокосмічного університету «ХАІ» (2007р.).
Публікації. За темою дисертації опубліковано 10 друкованих праць, у тому числі 7 статей у спеціалізованих виданнях ВАК України (1 — без співавторів), і 3 тези доповідей на республіканських і міжнародних науково-технічних конференціях. Отримано три патенти України на винаходи.
Обсяг і структура роботи. Дисертація складається зі вступу, п’яти розділів, загальних висновків, списку використаних джерел та додатка. Основний матеріал викладений на 129 сторінках, повний обсяг дисертації — 160 сторінок, в тому числі 76 рисунків (6 сторінок), 6 таблиць, 122 найменування списку використаних джерел на 13 сторінках, додаток на 12 сторінках.
ОСНОВНИЙ ЗМІСТ РОБОТИ
У вступі обгрунтовано актуальність роботи, сформульовано мету і задачі досліджень, наукова новизна і практичне значення отриманих результатів. Приводиться рівень апробації роботи, особистий внесок здобувача і кількість публікацій за темою дисертаційної роботи.
У першому розділі розглянуті системи охолодження роторів дискобарабанних конструкцій, виконаний огляд теоретичних і експериментальних робіт з теплообміну і гідродинаміки плинів у порожнинах роторів ГТД. Показано, що найбільш повно досліджено теплообмін і гідродинаміка плинів у замкнутих порожнинах, порожнинах з радіальною, пітльовою, напівпітльовою і осьовою схемами плину охолоджувача, які найчастіше зустрічаються в конструкції ротора. Описано структури плинів в обертаючихся міждискових порожнинах ротора. Установлено, що в порожнині з осьовим плином охолоджувача в поверхні гарячого диска утворюється шар охолоджувача, що відбирає тепло від диска і, не змішуючись з охолоджувачем, що заповнює порожнину, стікає до центра обертання, роблячи істотний вплив на розподіл температури по радіусу диска. Приведено аналіз сучасних способів повітряного охолодження дисків роторів. Розглянуто принципові схеми з радіальним і струминним обдувом, продувкою повітря через зазори між диском і обертовим дефлектором, з екрануванням маточинної частини диска. На основі аналізу зроблений висновок, що існуючі схеми охолодження не позбавлені недоліків, тому що зберігається нерівномірність температур по радіусу диска, що є причиною виникнення високих термічних напружень, які негативно впливають на міцнісні характеристики дисків. Виходячи з виконаного аналізу, визначені мета і задачі досліджень.
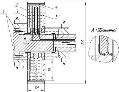
У другому розділі описаний вибір напрямку дослідження, представлене обґрунтування обраної методики і техніки вимірів, описані конструкція і параметри експериментальної установки (рис.1), методика і техніка вимірів. Робоча ділянка експериментальної установки (рис. 2) являє собою модель п'ятиступеневого ротора осьового компресора з транспортуванням повітря, що відбирається на охолодження турбіни, через внутрішні порожнини ротора. У роторі робочої ділянки установлювалися випробовувані конструкції пристроїв для зменшення радіальної нерівномірності температур. Тепловий потік створювався електронагрівачем з нержавіючої сталевої стрічки, покладеним по утворюючій барабана робочої ділянки.


Рис.2. Робоча ділянка експериментальної установки:
1 – напіввал лівий; 2 – барабан; 3 – диск; 4 – проставочне| кільце; 5 – внутрішній електронагрівач; 6 – зовнішній електронагрівач; 7 – захисний кожух; 8 – центральний вал; 9 – мідно-графітові щітки; 10 – напіввал правий; 11 – повітряпідводжуюче ущільнення.
У якості термодатчиків застосовувалися термопари типу хромель-алюмель зі стеклотканевою ізоляцією. Вільні термоелектроди термопар виводилися з вала ротора робочої ділянки і підключалися до ртутного струмознімача. Реєстрація температури здійснювалася через многоканальний аналогово-цифровий перетворювач.
Складено план експерименту, описана методика обробки результатів вимірів, виконана оцінка помилок вимірів. Показано, що використовувані засоби вимірів дозволяють досягти необхідної точності визначення шуканих величин.
У третьому розділі представлені виконані на експериментальній установці дослідження температурного стану дисків із пристроями двох типів, що використовують динамічний напір осьового потоку повітря, що відбирається на охолодження двигуна, для зменшення радіальної нерівномірності температурних полів дисків. Дослідження виконувалися при різних щільністях теплового потоку, витратах охолоджувача і кутової швидкості обертання ротора робочої ділянки і центрального вала.
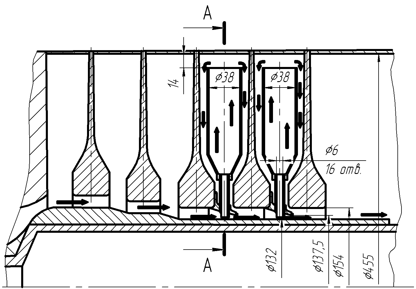
Як показали результати експериментів, пристрої, що змінюють напрямок плину осьового потоку (рис. 3), є малоефективними, тому що динамічного напору повітря недостатньо, щоб повітря, що направляється повітророзподільниками в порожнину, вплинуло на зменшення нерівномірності розподілу температури по радіусу диска.
а
б
в
г
0100090000032a0200000200a20100000000a201000026060f003a03574d464301000000000001008a130000000001000000180300000000000018030000010000006c0000000000000000000000350000006f0000000000000000000000ea3700008209000020454d4600000100180300001200000002000000000000000000000000000000c0120000131a0000cb0000001b010000000000000000000000000000f818030078510400160000000c000000180000000a0000001000000000000000000000000900000010000000340d00003d020000250000000c0000000e000080250000000c0000000e000080120000000c00000001000000520000007001000001000000a4ffffff00000000000000000000000090010000000000cc04400022430061006c006900620072006900000000000000000000000000000000000000000000000000000000000000000000000000000000000000000000000000000000001100c09a110010000000249e1100a49b1100524f6032249e11001c9b1100100000008c9c1100089e1100244f6032249e11001c9b110020000000076f2e311c9b1100249e110020000000fffffffffc02ee00826f2e31ffffffffffff0180ffff01803fff0180ffffffff0000000000080000000800004300000001000000000000005802000025000000552e9001cc08020f0502020204030204ef0200a07b20004000000000000000009f00000000000000430061006c0069006200720000000000430065006e007400750072007900200047006f00509b1100ca39273108000000010000008c9b11008c9b1100087a253108000000b49b1100fc02ee006476000800000000250000000c00000001000000250000000c00000001000000250000000c00000001000000180000000c0000000000000254000000540000000000000000000000350000006f0000000100000055558740a0ab87400000000057000000010000004c000000040000000000000000000000350d00003f02000050000000200000003600000046000000280000001c0000004744494302000000ffffffffffffffff340d00003e020000000000004600000014000000080000004744494303000000250000000c0000000e000080250000000c0000000e0000800e000000140000000000000010000000140000000400000003010800050000000b0200000000050000000c025d002302040000002e0118001c000000fb020300010000000000bc02000000cc0102022253797374656d0000000000000000000000000000000000000000000000000000040000002d010000040000002d01000004000000020101001c000000fb02f1ff0000000000009001000000cc0440002243616c6962726900000000000000000000000000000000000000000000000000040000002d010100040000002d010100040000002d010100050000000902000000020d000000320a0e000000010004000000000022025d0020000900040000002d010000040000002d010000030000000000
Установлено, що найбільш ефективно знижують перепад температур по радіусу диска пристрої, принцип дії яких заснований на ежекції з міждискової порожнини ротора гарячого шару, що формується на поверхні проставочних кілець і диска. Ежекторний пристрій утворює з центральним валом канал, що звужується (сопло), у якому швидкість осьового потоку охолоджуючого повітря зростає. Активний потік, що виходить із сопла, захоплюючи за собою частки навколишнього пасивного повітря, створює розрідження, за допомогою якого здійснюється ежектування розігрітого повітря з порожнини ротора. Схеми ежекторних пристроїв показані на рис. 4, 5.

а

в

а

б
в

Температурний стан дисків з дослідженими варіантами конструкцій показаний на рис. 6. Як видно з графіка, найменший перепад температури по радіусу диска має повністю екранований диск з ежекторними каналами, розташованими в кільцевому зазорі під маточиною диска.


Установлено, що збільшення ступеня екранування дозволяє збільшити розігрів маточинної частини диска за рахунок більшого відводу тепла з периферії міждискової порожнини від проставочних кілець; при збільшенні швидкості осьового потоку охолоджуючого повітря збільшується відструмлення гарячого повітря за допомогою ежектування, що приводить до більшого розігріву маточини диска.
Результати експериментального дослідження впливу витрати осьового потоку охолоджуючого повітря на відносний перепад по радіусу диска показані на рис. 7. Як видно з графіка, відносний перепад температур по радіусу цілком екранованого диска змінюється пропорційно зміні витрати охолоджуючого повітря. Тут t*>мах> , t >мах> – температура полотнини на максимальному радіусі диска при відсутності і наявності ежекторних пристроїв у порожнині ротора, °С; t*>min> , t >min> – температура на мінімальному радіусі маточини диска при відсутності і наявності ежекторних пристроїв у порожнині ротора, °С.


Рис. 7. Відносний перепад температур по радіусу диска:
1-3 — повне екранування диска; 4-6 — при наявності в екрані отворів; 7-9 —ежекторні пристрої з довгими трубками; 10-12 — ежекторні пристрої з трубками середньої довжини; 13-15 – екранування маточини і 2/3 полотна диска; 16 — без пристроїв у порожнині ротора; 1, 4, 7, 10, 13 — витрату охолоджуючого повітря прийнято за 100%; 2, 5, 8, 11, 14 — витрату охолоджуючого повітря зменшено на 15%; 3, 6, 9, 12, 15 — витрату охолоджуючого повітря зменшено на 30%.
З метою перевірки працездатності ежекторних каналів в умовах роботи реального ГТД, були виконані візуальні дослідження. Робоча ділянка експериментальної установки являє собою прозорий канал квадратного перетину, що містить дві міждискові порожнини з осьовим плином охолоджувача (рис. 8). Як охолоджувач використовувалася дистильована вода, що дозволило одержати окружні й осьові числа Рейнольдса того ж порядку, що й у реальних двигунах. Робота ежекторного пристрою визначалася візуально по надходженню з каналу струменеві води, підфарбованій тушшю (рис. 9). Фотозйомка обертового ротора робочої ділянки велася при стробоскопичном висвітленні робочої ділянки імпульсними лампами.
Досвіди, у яких
спостерігалася усталена робота ежектора,
виконані при кутовій швидкості обертання
>
>
= 73,7 с-1
і температурі води 298 К. Аналіз на основі
теорії гідродинамічної подоби показує,
що окружне й осьове числа Рейнольдса
для умов експерименту відповідають
більш 1,8×104
хв-1
ротора реального двигуна при швидкості
охолоджуючого повітря в каналі під
маточиною диска 35,6 м/с.


Виконана оцінка дозволяє зробити висновок, що працездатність ежекторних пристроїв зберігається при частотах обертання і витратах охолоджуючого повітря сучасних і перспективних ГТД.
У
четвертому розділі на
основі виконаних експериментальних
досліджень отримані залежності для
розрахунку розподілу температур по
радіусу неекранованих дисків і екранованих
дисків з ежекторними каналами. Приведено
формули для розрахунку температури
охолоджуючого повітря з урахуванням
підігріву при транспортуванні його
через внутрішні порожнини ротора.
Безрозмірна температура >
>
на середньому радіусі i-ої
розрахункової ділянки змінюється по
залежності
>
>,
(1)
де >
>;
>
>
— температура i-ої
розрахункової ділянки диска; >
>
— температура охолоджуючого повітря
під маточиною диска, °С;
t>max
>—
температура газу в проточній частині,
для осьового компресора визначається
по ступені підвищення тиску повітря в
даній ступені, °С;
r
— середній
радіус розрахункової ділянки, м; >
>
— зовнішній радіус диска, м.
Величина показника степеня m для i-ої ділянки неекранованого диска визначається за формулою
>
>,
(2)
де >
>,
>
>
— коефіцієнт
температурного розширення повітря,
К-1,
>
>;
коефіцієнт С
і показники ступеня x,
y
визначені за досвідченими даними для
кожної розрахункової ділянки диска.
Залежність (1) може бути представлена у вигляді
>
>,
(3)
Для екранованого диска з ежекторними пристроями показник ступеня у формулі (3) враховує вплив екранування і осьового потоку охолоджувача на розподіл температури уздовж радіусу
>
>,
(4)
де >
>=>
>>
>
— осьове число Рейнольдса; w
– швидкість осьового
потоку охолоджуючого повітря в кільцевому
каналі, утвореному екраном з ежекторними
каналами і центральним валом, м/с; >
>
— еквівалентний діаметр кільцевого
каналу, м; n
— кінематична в'язкість повітря, м2/c;
>
>—
ступінь екранування диска, >
>—
радіус міждискової порожнини, м; F>max>
— площа поверхні диска, м2;
F —
площа вільних від екранування ділянок
диска, м2;
R> >—
радіус підведення повітря до охолоджуваної
частини диска (у зазор між екраном і
диском), м; F>max>
— площа поверхні диска, м2;
C>1>,
а, b
— коефіцієнт і показники ступеня,
визначені на основі дослідних даних
для кожної розрахункової ділянки диска.
Результати розрахунків за залежностями (2), (3) зіставлені з наявним в літературі результатами термометріровання і чисельного моделювання температурних полів дисків компресора високого тиску реального авіадвигуна. Характер розподілу температур по радіусу дисків співпадає, при цьому розбіжність значень температур не перевищує 2%.
Одержані залежності, що враховують ступінь екранування диска і швидкість ежектуючого повітря, дозволяють на стадії проектування вибрати параметри, що забезпечують прийнятний за умовами міцності розподіл температури по радіусу диска.
У п'ятому розділі виконані розрахунки температурних напружень у неекранованих і екранованих дисках з ежекторними каналами. Обґрунтовано можливість використання ежекторних пристроїв для поліпшення міцнісних характеристик дисків. На рис.10 показані температурні напруги, розраховані для отриманого за результатами експерименту температурного стану диску з ежекторними пристроями.
а б


Рис.10. Температурні напруження:
а — радіальні; б — тангенціальні;
— диск і
проставочні кільця екрановані повністю;
— диск без
екрана і ежекторних каналів;
— екранована маточина і полотно диску,
на периферії екрану наявний ряд отворів;
— екранована
маточина і 2/3 полотна диску.
Спостерігається істотне зниження радіальних температурних напружень у зоні переходу від полотнини до конічної частини маточини для екранованих дисків (рис.10, а), що пояснюється інтенсивним розігрівом маточини в порівнянні з неекранованим диском. Екранування забезпечує істотне зниження тангенціальних напружень у циліндричній частині маточини в порівнянні з неекранованим диском, на мінімальному радіусі тангенціальні напруги в екранованому диску знижені в 2,5 рази (рис.10,б). Незначне перевищення тангенціальних напружень на периферії екранованого диска пояснюється більш інтенсивним охолодженням периферії у випадку екранування.
Виконане зіставлення тангенціальних напружень у зоні маточини екранованого і неекранованого дисків в режимах прогріву й охолодження показало, що величина напружень у маточинній частині екранованого диска істотно менше у всьому діапазоні режимів прогріву й охолодження, що підтверджує ефективність роботи ежекторних пристроїв на перехідних режимах роботи двигуна.
Розрахунки
запасу міцності виконані для диска
ступеня ротора з температурою повітря
в проточній частині t>max>
= 570 °C; температурою охолоджуючого
повітря під маточиною t>в>
= 270 °C; частотою обертання n
=10 000 хв-1
і витратою осьового потоку охолоджуючого
повітря >
>
= 3,5 кг/с. Результати розрахунків показали,
що екранування в даному випадку дозволяє
збільшити запас міцності в маточинній
частині диска на 11% у порівнянні з
неекранованим. При зменшенні запасу
міцності екранованого диска до величини
запасу міцності неекранованого маса
екранованого диска може бути зменшена.
У цьому випадку екранування не приводить
до збільшення маси диска.
ВИСНОВКИ
Підвищення параметрів циклу в цілях подальшого вдосконалення ГТД вимагає створення ефективних систем охолоджування, що забезпечують температурний стан, необхідний за умовами міцності елементів ротора. При існуючих системах охолоджування роторів дискобарабанної конструкції перепади температур по радіусу диска можуть складати більше 350 К, унаслідок чого в дисках виникають температурні напруги, які в значній мірі впливають на напружений стан ротора. Тому зменшення радіальної нерівномірності температурних полів дисків роторів ГТД є актуальною задачею, з метою рішення якої були розроблені конструкції пристроїв, принцип дії яких заснований на використанні динамічного натиску осьового потоку повітря, що відбирається на охолоджування ротора.
Експериментально встановлено, що ефективно зменшують перепад температури по радіусу диска ротора пристрої, принцип дії яких заснований на ежекції з порожнини ротора гарячого шару, який формується на поверхні проставочних кілець і диска, що сприяє розігріванню маточинної частини диска. Найменший перепад температури встановлюється при екрануванні диска і проставочних кілець. Пристрої, конструкція яких передбачає зміну напряму частини осьового потоку охолоджуючого повітря від осі ротора до периферії порожнини, слабо впливає на зменшення радіальної нерівномірності температури диска, оскільки динамічного натиску охолоджуючого повітря недостатньо, щоб впливати на циркуляцію, яка встановилася в порожнині під дією різниці щільності повітря в полі масових сил. Працездатність ежекторних каналів при величині окружних і осьових чисел Рейнольдса, характерних для реальних ГТД, підтверджена візуальними експериментальними дослідженнями.
Експериментальні дослідження узагальнені числами подібності і безрозмірними комплексами, що дозволяють розрахувати розподіл температури по радіусу екранованих і неекранованих дисків. Уточнено залежності для розрахунку температури дисків роторів з осьовим плином охолоджуючого повітря; вперше отримана залежність для розрахунку температури по радіусу екранованих дисків з ежекторними пристроями. Встановлено вплив окружного і осьового чисел Рейнольдса, відносного перепаду температур по радіусу диска і ступеня екранування на характер розподілу температури по радіусу екранованого диска з ежекторними каналами.
Обґрунтовано можливість зменшення температурних напруг в дисках ротора за допомогою застосування пристроїв з ежекторними каналами. Показано, що збільшення запасу міцності в маточині диска при використанні розроблених пристроїв з екрануванням і ежекторними каналами досягає 11% в порівнянні з неекранованими дисками ротора. При підвищених вимогах до масогабаритних показників можливо зниження маси екранованого диска в порівнянні з неекранованим при рівних запасах міцності.
Результати дослідження впроваджено в науково-виробничому комплексі газотурбобудування «Зоря-Машпроект» (м. Миколаїв, Україна), в науково-дослідній лабораторії перспективних двигунів НТУ «ХПІ» (м. Харків, Україна), науково-виробничому об'єднанні «Сатурн» (м. Рибінськ, РФ) і мають практичне застосування. На основі досліджених варіантів охолоджуючих пристроїв розроблено нові конструкції роторів перспективних ГТД, захищені трьома патентами України.
СПИСОК ОПУБЛІКОВАНИХ ПРАЦЬ ЗА ТЕМОЮ ДИСЕРТАЦІЇ
Салов Н.Н. Интенсификация теплообмена в полостях роторов ГТД / Н.Н. Салов, В.М. Бубенцов, Н.Н. Федаренко, А.А. Харченко // Авiацiйно-космiчна технiка i технологiя. – 2001. – Вып.26. – С.142 – 143.
Здобувачем отримано експериментальні дані з профілів температури дисків з екрануванням і ежекторними каналами.
Салов Н.Н. Проблемы уменьшения температурных напряжений в дисках газотурбинных двигателей / Н.Н. Салов, А.А. Харченко // Новые технологии в машиноприборостроении и на транспорте: матер. междунар. научн.-техн. конф. — Севастополь, 10–14 сент. 2001 г. – Севастополь, 2001. – С.317-319.
Здобувачем визначено вплив довжини циліндричних каналів і площі екранування на ефективність ежекторних пристроїв.
Салов Н.Н. К расчету теплоотдачи дисков осевых компрессоров ГТД / Н.Н. Салов, В.А. Бенжицкий, А.А. Харченко // Авiацiйно-космiчна технiка i технологiя. – 2002. – Вып.30. – С.161.
Здобувачем досліджено вплив витрати охолоджуючого повітря на температурний стан дисків.
Салов Н.Н. К уменьшению температурных напряжений в дисках роторов осевых компрессоров ГТД / Н.Н. Салов, В.А. Бенжицкий, А.А. Харченко // Труды третьей российской национальной конференции по теплообмену. Москва, 21–25 октября 2002 г. – Т. 7. Теплопроводность, теплоизоляция. —М.: Изд-во МЭИ, 2002. – С.251–253.
Здобувачем досліджено вплив типу охолоджуючих пристроїв різної конструкції на температурний стан охолоджуваних дисків.
Салов Н.Н. Расчет температурных полей дисков роторов осевых компрессоров / Н.Н. Салов, А.А. Харченко, Г.В. Горобец // Вестник двигателестроения. – 2003. – №1. – С. 85–86.
Здобувачем уточнено значення коефіцієнтів для розрахункових залежностей.
Салов Н.Н. Расчет граничных условий теплообмена дисков осевых компрессоров ГТД / Н.Н. Салов, Н.Н. Бубенцов, Г.В. Горобец, А.А. Харченко // Вестник двигателестроения. – 2004. – №2. – С.113–115.
Здобувачем отримано розрахункові залежності для визначення профілю температур.
Харченко А.А. К управлению температурным состоянием дисков роторов осевых компрессоров ГТД / А.А. Харченко // Авиационно-космическая техника и технология. – 2005. – №10. – С.170–172.
Горобец Г.В. Исследование работоспособности устройств для уменьшения температурных напряжений в дисках ГТД / Г.В. Горобец, А.А. Харченко // матер. междунар. науч.-техн. конф. Энергомашиностроение – 2006, Севастополь, 17–20 мая 2006 г. — Севастополь, – 2006. – С. 28.
Здобувачем отримано розрахункові залежності, що установлюють взаємозв'язок між параметрами екранування і температурним станом диска.
Салов Н.Н. Исследование температурного состояния экранированных роторов ГТД с эжекторными устройствами / Н.Н. Салов, А.А. Харченко, Г.В. Горобец, В.М. Бубенцов // Авиационно-космическая техника и технология. – 2006. – №8. – С.117–120.
Здобувачем визначено вплив величини гідравлічного опору осьового каналу екранованого диска з ежекторними каналами і площі екранування на профіль температури по радіусу диска.
Салов Н.Н. Исследование термонапряженного состояния экранированных дисков роторов ГТД с эжекторными каналами / Н.Н. Салов, А.А. Харченко, Г.В. Горобец // Вестник двигателестроения. – 2007. – №3. – С.123–126.
Здобувачем виконано аналіз термонапруженого стану дисків.
Пат. №77163 Україна, МПК F02C 7/12. Ротор турбомашини з комбінованим прокачуванням повітря / М.М. Салов, А.О. Харченко; заявник та патентовласник Севастопольський національний технічний університет. — № 2003043991; Заяв. 30.04.2003; Опубл. 15.11.2006, Бюл. №11.
Здобувачем запропоновано конструкцію ежекторного каналу.
Пат. №77949 Україна, МПК F02C 7/12, F01D 5/02. Екранований ротор турбомашини з осьовим прокачуванням повітря / М.М. Салов, А.О. Харченко, Г.В. Горобець; заявник та патентовласник Севастопольський національний технічний університет. — № 2003044016; заявл. 30.04.2003; опубл. 15.02.2007, Бюл. №2.
Здобувачем запропоновано розміщення отворів для охолоджуючого повітря на периферії екрана.
Пат. №78219 Україна, МПК F02C 7/12 Екранований ротор турбомашини з автоматичним регулюванням теплообміну / М.М. Салов, В.Ф. Худяков, А.О. Харченко; заявник та патентовласник Севастопольський національний технічний університет. — №2004031621; заявл. 05.03.2004; опубл. 15.03.2007, Бюл. №3.
Здобувачем розроблено конструкцію ежекторних каналів з термочутливими елементами.
АНОТАЦІЯ
Харченко А.О. Зменшення радіальної нерівномірності температурних полів у дисках роторів ГТД дискобарабанної конструкції|. — Рукопис.
Дисертація на здобуття наукового ступеня кандидата технічних наук за спеціальністю 05.05.03 — двигуни та енергетичні установки. Національний аерокосмічний університет ім. М.Є. Жуковського «Харківський авіаційний інститут», Харкiв, 2008.
Дисертація присвячена вирішенню задачі зменшення радіальної нерівномірності температурних полів у дисках роторів ГТД дискобарабанної конструкції за допомогою застосування пристроїв, що використовують динамічний напір осьового потоку повітря, що відбирається на охолоджування двигуна.
На основі виконаних експериментальних досліджень виявлено, що найбільш ефективне зменшення нерівномірності температури за радіусом диска забезпечується при екрануванні диска з ежекторними каналами. На основі експериментальних даних одержані формули для розрахунку розподілу температури за радіусом екранованого і неекранованого дисків. Обґрунтовано можливість зменшення температурних напружень дисків роторів за допомогою застосування пристроїв з ежекторними каналами, що дозволяє збільшити запас міцності диска. При підвищених вимогах до масогабаритних показників маса диска може бути зменшена в порівнянні з неекранованим при рівних запасах міцності.
Ключові слова: газотурбінні двигуни, диски роторів, температурний і напружений стан, ежекторні пристрої.
АННОТАЦИЯ
Харченко А.А. Уменьшение радиальной неравномерности температурных полей в дисках роторов ГТД дискобарабанной конструкции. — Рукопись.
Диссертация на соискание научной степени кандидата технических наук по специальности 05.05.03 — двигатели и энергетические установки. Национальный аэрокосмический университет им. Н.Е. Жуковского «Харьковский авиационный институт», Харьков, 2008.
Диссертация посвящена решению задачи уменьшения радиальной неравномерности температурных полей в дисках роторов ГТД дискобарабанной конструкции посредством применения устройств, использующих динамический напор осевого потока воздуха, отбираемого на охлаждение двигателя.
Увеличение температуры газа перед турбиной наряду с увеличением степени повышения давления воздуха в компрессоре является основным направлением совершенствования ГТД. Проведенный информационный обзор показал, что способы, применяемые в настоящее время для охлаждения дисков роторов ГТД, не лишены недостатков, так как не обеспечивают уменьшения перепада температур по радиусу дисков ротора. Это вызывает в дисках роторов осевых компрессоров и в дисках каскада турбин высокого давления термические напряжения, которые в значительной мере определяют их напряженное состояние. В связи с этим при проектировании высокотемпературных двигателей актуальным является уменьшение перепада температуры по радиусу диска для снижения температурных напряжений на стационарных и переходных режимах работы.
С целью уменьшения радиальной неравномерности температурного поля диска были спроектированы два типа устройств, использующих динамический напор осевого потока охлаждающего воздуха для воздействия на циркуляцию воздуха в междисковых полостях ротора. Экспериментальные исследования температурного состояния дисков, оснащенных различными вариантами разработанных устройств проводились на экспериментальной установке, рабочий участок которой представлял собой пятиступенчатый ротор дискобарабанной конструкции с электронагревателем, расположенным на боковой поверхности барабана. Охлаждающий воздух от высоконапорной воздуходувки через воздухоподводящее устройство прокачивался вдоль оси ротора рабочего участка через кольцевые зазоры между ступицами дисков ротора и центральным валом и удалялся через отверстия в валу ротора. Термометрирование дисков осуществлялось хромель-алюмелевыми термопарами, выведенными через ртутный токосъемник на аналого-цифровой многоканальный преобразователь, подключенный к ЭВМ.
В результате исследования температурного состояния дисков выявлено, что применение устройств, конструкция которых предусматривает изменение направления части осевого потока охлаждающего воздуха от центра к периферии полости, нецелесообразно, так как динамического напора воздуха, направляемого устройством в полость ротора, недостаточно, чтобы воздействовать на циркуляцию, которая установилась в полости под действием разности плотностей воздуха в поле массовых сил. Установлено, что эффективно воздействуют на циркуляцию воздуха в полости ротора устройства, принцип действия которых основан на эжекции из полости ротора горячего слоя, который формируется на поверхности проставочных колец и диска, что способствует разогреву ступичной части диска. Наиболее эффективное уменьшение неравномерности температуры по радиусу диска обеспечивается при экранировании диска и размещении под его ступицей эжекторных каналов. Эжектор представлял собой выступ трапециевидной формы на поверхности экрана со стороны торца ступицы. В конце расширяющегося выступа имелось отверстие. При обтекании эжектора оторвавшийся пограничный слой оттесняет потенциальное течение, в результате давление за срезом канала понижается, что приводит к эжектированию воздуха, находящегося между экраном и диском. Воздух, прокачиваемый таким образом вдоль поверхности диска к оси вращения ротора, переносит теплоту от периферии диска к его ступице, что снижает перепад температуры по радиусу диска.
Исследовано температурное состояние дисков, оснащенных описанными устройствами, при различных частотах вращения ротора, плотностях теплового потока, расходах охлаждающего воздуха. Работоспособность эжекторных каналов при величине окружных и осевых чисел Рейнольдса, характерных для реальных ГТД, подтверждена визуальными экспериментальными исследованиями. По результатам обобщения экспериментальных данных уточнены зависимости для расчета температуры дисков роторов с осевым течением охлаждающего воздуха, впервые получены безразмерные зависимости для расчета распределения температуры по радиусу экранированных дисков с эжекторными устройствами. Найденные расчетные зависимости, содержащие числа подобия и безразмерные множители, учитывают режимные и конструктивные параметры, определяющие температурное состояние дисков во вращающихся полостях.
Расчетные примеры подтверждают возможность уменьшения температурных напряжений в дисках роторов за счет снижения радиальной неравномерности температур посредством применения устройств с эжекторными каналами, что позволяет увеличить запас прочности диска в опасных сечениях. При повышенных требованиях к массогабаритным показателям масса диска может быть уменьшена по сравнению с неэкранированным при равных запасах прочности.
Ключевые слова: газотурбинные двигатели, диски роторов, температурное и напряженное состояние, эжекторные устройства.
ABSTRACT
Kharchenko A.A. Reducing of radial nonuniformity of the temperature fields in the disk-drum GTE rotor disks. — The manuscript.
The thesis for the degree of candidate of technical sciences, specialty 05.05.03 — engines and power plants. — National Aerospace University named by N.Ye.Zhukovsky «Kharkov aviation institute», Kharkov, 2008.
The thesis is devoted to the problem of decreasing temperature fields nonuniformity along the radius of disks in the disk-drum GTE rotor disks by means of devices using dynamic pressure of axial cooling air stream.
As a result of executed experimental researches it is exposed, that the most effective reducing of temperature nonuniformity along the radius of disk is provided by shielding of disk with the ejector cavities.
On the basis of experimental data formulas for the computation of temperature along the radius of the shielded and unshielded disks are obtained. Possibility of diminishing of disk rotor temperature tensions by influence of devices with the ejector cavities is grounded, to increase the disk safety margin. At the rigid requirements to the mass and overall dimensions disk mass can be reduced as compared to unshielded one at the equal safety margins.
Key words: gas turbine engine, rotor disks, thermal and stressed state, ejector devices.