Изготовление корпуса бетонобойного снаряда в условиях серийного производства
СОДЕРЖАНИЕ
Задание
Введение
Анализ исходных данных
Выбор материала
Резка заготовок на пресс-ножницах
Горячая штамповка детали
Нагрев заготовки под штамповку
Задавка, прошивка и протяжка
Разработка маршрута технологического процесса
Изготовления детали
Расчет размеров штампованной заготовки корпуса типа «стакан»
Горячий обжим корпусов
Проектирование станочных операций
Заключение
Список использованной литературы
ЗАДАНИЕ
Тема: Разработать технологический процесс механической обработки детали – корпус 130 мм ББС в условиях серийного производства с разработкой схемы наладки на токарную операцию.
Перечень графического материала, подлежащего разработке:
Рабочий чертеж детали
Чертеж заготовки
Технологический процесс
Схема наладки на токарную операцию
Перечень вопросов, подлежащих разработке в пояснительной записке
Анализ исходных данных по проекту
2. Выбор заготовки
Разработка маршрута технологического процесса изготовления детали
Определение припусков на механическую обработку
Проектирование станочной операции (выбор оборудования, станочных приспособлений, режущих и вспомогательных инструментов, назначение режимов резания, техническое нормирование операции)
Описание схемы наладки на операцию
ВВЕДЕНИЕ
Бетонобойные снаряды предназначаются для разрушения железобетонных сооружений, прочных блиндажей противника, а также каменных и кирпичных зданий, приспособленных для обороны.
По своим конструктивным особенностям эти снаряды являются как бы промежуточным звеном между бронебойными и фугасными снарядами. Они обладают прочностью, достаточно для действия по бетону, и в то же время практически не уступают фугасным снарядам по фугасному действию.

Рис. Бетонобойный снаряд (а) и его действие по бетону (б)
Бетонобойное действие снаряда обеспечивается соответствующей конструкцией корпуса, применением хромистых сталей с высокими механическими свойствами и специальной двойной термической обработкой корпуса. Большое значение имеет снаряжение мощным взрывчатым веществом.
Устройство бетонобойного снаряда и его действие показаны на рис. Снаряд состоит из корпуса, взрывчатого вещества 2, донного взрывателя 3, дна 4 и медного ведущего пояска 5.
Бетонобойные снаряды применяются в основном в крупнокалиберных орудиях. Их действие складывается из ударного и фугасного.
Бетонобойные снаряды изготовляются в калибрах — 130, 152, 180, 203, 210 и 305 мм.
АНАЛИЗ ИХОДНЫХ ДАННЫХ
Получив задание к курсовому проекту, его выполнение необходимо начать с анализа чертежа и исходных данных. Задание составляет чертёж корпуса 130 мм бетонобойного снаряда и сборочный чертёж (корпус снаряда с запрессованным в него ведущим пояском) этого же снаряда, начерченных в программе «AutoCAD».
Рабочий чертеж детали является исходным документом для проектирования технологического процесса. Чертеж детали должен содержит необходимые проекции, виды и сечения, размеры, предельные отклонения размеров, геометрической формы и расположения поверхностей, требования по шероховатости поверхностей, покрытиям, показатели свойств материала готовой детали.
Корпус начерчен в масштабе 1:1 на формате А1. Анализируя чертёж, приходим к выводу что деталь симметрична и является телом вращения, имеет ось вращения (она же является осью симметрии).
На чертеже изменяем знак шероховатости, ввиду обновления требований к чертежам. Так же изменяем стили простановки размеров, шрифты и стили текста, количество слоёв, вводим их название, присваиваем слоям цвет, типы и толщины линий для более правильного и удобного пользования чертежом.
Выбираем материал корпуса, с учётом требований предъявляемым к бетонобойному снаряду по ГОСТ 10230 -75. Материал: сталь 45X1.
Выбираем способ получения штучной заготовки. Им является резка заготовок на пресс – ножницах так, как самый высокопроизводительный и дешевый способ, так же в крупносерийном и массовом производстве этот способ является основным.
Метод получения заготовки – горячая штамповка. Технологический процесс горячей штамповки складывается из получения штучной заготовки, нагрева ее, горячей штамповки, охлаждения и контроля.
Технологический процесс горячей штамповки заготовок типа «стакана» складывается из задавки, прошивки и протяжки.
ВЫБОР МАТЕРИАЛА
Легированные снарядные стали находят применение при изготовлении корпусов и деталей бронебойных и бетонобойных, а также фугасных снарядов, часто с особо прочной головкой (обычно крупного калибра).
Для изготовления корпусов бетонобойных и фугасных снарядов применяются хромистые стали марок С-45Х, С-50Х, 45X1, 46X1, 45X3 и другие. Хром, будучи карбидообразователем и растворяясь в значительном количестве в феррите, повышает прочность стали и улучшает ее прокаливаемость. Применение хромистой стали позволило повысить прочность корпусов бетонобойных снарядов, что позволяет обеспечить их ударное действие по железобетону. Применение хромистой стали для изготовления корпусов фугасных снарядов позволяет уменьшать толщину стенок корпуса, что приводит к повышению коэффициента наполнения.
Выплавка хромистых сталей производится преимущественно в основных мартеновских печах.
Химический состав и степень легирования определяются требованиями, предъявленными к снаряду по бронебойному действию, и должны назначаться в соответствии с калибром снаряда, его конструктивными особенностями и условиями пробивания брони.
Для прочности корпуса необходимо, чтобы химический состав стали обеспечивал прокаливаемость по сечению корпуса, высокую твердость и прочность при динамическом на-гружении сжимающими нагрузками. Твердость стали после термической обработки и. ее прокаливаемость зависят от содержания углерода. Твердость резко возрастает с увеличением содержания углерода до 0,6%, а затем рост твердости замедляется.
На прокаливаемость оказывают влияние хром, никель, марганец и молибден. Молибден повышает также вязкость и прочность стали при высокой твердости (при содержании молибдена в количестве 0,2—0,3%). Он снижает чувствительность стали к перегреву, делает структуру после термической обработки мелкозернистой, что повышает сопротивление корпуса при быстропротекающей динамической нагрузке. Содержание молибдена в количестве 0,2—0,3% улучшает обработку резанием.
Следовательно, наилучшее сочетание высокой твердости, прочности и вязкости достигается легированием стали хромом, никелем и молибденом.
Механические свойства легированных снарядных сталей размером до 200 мм, определенные на термически обработанных образцах или заготовках, должны соответствовать нормам.
Механические свойства стали определяются на термически обработанных продольных образцах. При этом предел прочности должен быть не менее 100 кг/мм2, относительное сужение— не менее 35% и ударная вязкость не менее 5 кгм/см2. Малолегированные стали проверяются также на прокаливаемость. Прокаливаемость определяется замером твердости по всему сечению образца.
Химический состав стали определяется по ковшовой пробе, взятой в середине разливки стали и в случае-необходимости на готовых штангах. Отклонение от норм допускается только по одному химическому элементу (углероду, марганцу, кремнию, хрому, молибдену) на величину от 0,02 до 0,05%. По никелю отклонение допускается на 0,1%.
С учётом выше сказанного выбираем марку стали для бетонобойного снаряда и записываем её состав:
Химический состав снарядных легированной стали (по ГОСТ 10230 -75):
Марка стали: 45X1
Углерод: 0,40 — 0,50 Молибден: —
Кремний: 0,17 — 0,40 Ванадии: —
Марганец: 0,50 — 0,80 Фосфор: 0,05
Хром: 1,10 — 1,40 Сера: 0.05
Никель: » 0,25 Медь: 0,30
РЕЗКА ЗАГОТОВОК НА ПРЕСС-НОЖНИЦАХ
Самым высокопроизводительным и дешевым способом является резка на ножницах и прессах. В крупносерийном и массовом производстве этот способ является основным. Он отличается и тем, что не вызывает дополнительных потерь металла на прорезку. Существенным недостатком его является искажение формы торцовой части заготовки.
В процессе резки на ножницах (особенно неотожженных высокоуглеродистых и легированных сталей) возможно образование торцовых трещин. Чем больше сечение разрезаемого проката, тем больше опасность их возникновения. Поэтому перед резкой заготовку подогревают в зависимости от марки стали до температуры 450—600° С. Если сталь поставляется в отожженном состоянии и разрезка не сопровождается заметными искажениями, обусловливающими возникновение дополнительных напряжений и образование трещин, подогрев перед резкой не обязателен. Подогрев стали перед резкой часто применяют также для того, чтобы снизить усилия резки и повысить стойкость ножей.
На боеприпасных заводах находят применение сортовые ножницы (выбираем ножницы, их характеристику записываем втабл.).
При выборе ножниц следует учитывать, что сведения по максимальному размеру сечения заготовки даны для металла с сг>в> = 45 кг/мм2. Ножницы усилием от 250 т и выше оснащают приводными рольгангами. Для ножниц меньших усилий рольганг поставляется по требованию заказчика. Современные конструкции чожниц снабжены автоматизированными прижимами и ревматическими упорами.
Технические характеристики ножниц
|
Номинальное усилие, т |
630 |
|
|
Наибольшие размеры заготовок, мм |
Диаметркруга |
140 |
|
сторона квадрата |
120 |
|
|
Ход ползуна, мм |
125 |
|
|
Длина заготовок,мм |
наименьшая |
85 |
|
наибольшая |
1500 |
|
|
Число ходов ползуна d минуту (не менее) |
16 |

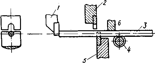
Рис. Схема резки штанг на сортовых ножницах
Схема резки штанг на сортовых ножницах приведена на рис.. Нижний нож 5 крепится к станине, верхний 2 — к ползуну, перемещающемуся в направляющих. Разрезаемая штанга 3 укладывается на ролик 4 и подается вручную или механически вперед до упора 1. Прижим 6 обеспечивает неподвижность положения штанги 3 в момент резки. При рабочем ходе ползуна ножниц верхний нож 2, имеющий режущую кромку соответствующей формы, разрезает пруток.
Потребное усилие Р для резки на сортовых ножницах ручьевыми ножами, соответствующими профилю проката, рассчитывают по эмпирической формуле
P = ka>n>F,
где k — коэффициент, принимаемый для стали 0,6 — 0,9;
a>n> — временное сопротивление разрыву, кг/мм2;
F — площадь сечения разрезаемой заготовки, мм2.
При среднем значении коэффициента k получим приблизительно
Р= 0,75a>n>F.
В технических характеристиках ножниц (табл.) указывают максимальное допускаемое сечение разрезаемого проката с временным сопротивлением разрыву a>n> = 45 кг/мм2
Промышленность изготовляет автоматизированные пресс-ножницы с дифференцированным зажимом для резки штанг на штучные заготовки углеродистых и среднелегированных, а также неломких марок сталей и медноникелевых сплавов. Дифференцированный зажим обеспечивает высокую чистоту и точность торцов отрезаемых заготовок.
Пресс-ножницы типа № 1 с максимальным усилием 630 т предназначены для разрезки профилей: квадрат — 85 и круг—100 мм. Пресс-ножницы типа № 2 с максимальным усилием 1000 т предназначены для разрезки профилей: квадрат — 127 и круг — 140 мм.
На автоматизированных пресс-ножницах подача штанг на приводной рольганг осуществляется автоматическими питателями. При делении штанг на заготовки по весу взвешивание штанг в потоке металла на отдельном участке рольганга и подача их в зажимное приспособление производится автоматически.
Длина отрезаемой заготовки устанавливается специальным счетно-делительным устройством. Отрезанные заготовки по отводному рольгангу подаются в приемник. Некратные отходы сбрасываются в накопитель. Точность резки по длине заготовки ±0,5—1,0 мм для сечений квадрата 85—127 мм и круга 45—140 мм. Косина торцев не более 1°.
ГОРЯЧАЯ ШТАМПОВКА ДЕТАЛИ. НАГРЕВ ЗАГОТОВКИ ПОД ШТАМПОВКУ
Процесс нагрева заготовки для корпуса должен обеспечить:
1) равномерный прогрев по всему сечению с оптимальной скоростью до температуры штамповки;
2) минимальное окисление и обезуглероживание поверхности. Окалина, получаемая при нагреве, должна быть сухой и легко отделимой;
3) отсутствие микро- и макротрещин;
4) минимальную стоимость нагрева.
Штучная заготовка имеет квадратную форму.
Качество штампованных корпусов и других деталей снарядов зависит от правильного выбора режима нагрева, т. е. надлежащей скорости и температуры.
Равномерный прогрев по всему сечению заготовки (примерно до Т = 1200° С) крайне важен, так как даже при небольшой разнице в температуре прошивной пуансон отклоняется от своей оси, что приводит к разностенности корпусов. Скорость нагрева. Чем выше скорость нагрева, тем меньше окисление и обезуглероживание поверхности и тем он экономичнее. Однако при чрезмерно быстром нагреве в результате значительного температурного градиента по сечению заготовки в металле могут возникать термические напряжения, которые в некоторых случаях приводят к образованию микро- и макротрещин. Поэтому различают технически возможную и допускаемую скорость нагрева.
Технически возможная скорость нагрева при прочих равных условиях зависит от разности между максимальной температурой печи и средней температурой поверхности заготовки. Температура печи и конечная разность температур печи и нагрева заготовки являются основными факторами, при помощи которых можно регулировать скорость нагрева. В зависимости от формы поперечного сечения (круг, квадрат) нагреваемых заготовок и расположения их на поду печи время нагрева будет различным.
Окисление и обезуглероживание. При высоких температурах (свыше 1000° С) и при сжигании топлива с большим избытком воздуха процесс окисления идет быстрее, чем процесс обезуглероживания. В этом случае после удаления окалины на поверхности заготовки почти не будет обезуглеро-женного слоя. Если же в печи создана атмосфера; которая слабо окисляет железо, то под слоем окалины образуется обезуглероженный слой.
Количественные показатели величины угара следующие:
весовой угар, в процентах от первоначального веса;
2) поверхностный угар — количество окисленного металла, отнесенного к единице поверхности, г/см2;
Осуществляется в специальной камере механическим воздействием на заготовку струей воды под давлением до 100 атм. Этим способом поверхность заготовки хорошо очищается. Установлено, что при резком охлаждении слоя окалины происходит сильное ее сжатие и растрескивание, вследствие чего она отделяется от поверхности заготовок. Это достигается при помощи тонких струй воды давлением 70—90 атм, направляемых из насадок под углом к поверхности заготовки. Количество воды должно быть минимальным, чтобы не происходило охлаждения поверхности основного металла, так как в этом случае не произойдет сжатие окалины и ее отслаивание.
ЗАДАВКА, ПРОШИВКА И ПРОТЯЖКА
Технологический процесс горячей штамповки заготовок типа «стакана» складывается из задавки, прошивки и протяжки.
Задавка. Исходной заготовкой для горячей штамповки корпусов типа «стакан» является квадратная штанга со скругленными ребрами. Большая величина допуска на изготовление штанги и косина торца исходной заготовки после ломки не обеспечивают качественного выполнения операции прошивки. Для обеспечения надежного направления прошивному пуансону и для устранения косины торца исходной заготовки вводится операция (или переход) задавки. Схема задавки приведена на рис. Исходная заготовка 3 устанавливается в прошивной матрице . Операцию задавки осуществляет задавочный пуансон 2. В результате этой операции оформляется конус на наружной поверхности заготовки, по которому она центрируется в прошивной матрице, а на торцевой поверхности образуется углубление от задавочного пуансона.


Рис.1 Схема задавки Рис.2 Схема прошивки
Прошивка. После операции «задавка» заготовка поступает в прошивочную матрицу и центрируется в ней за счет конического участка, при этом прошивочный пуансон 2 дополнительно центрирует заготовку 3 за счет лунки, выполненной на операции «задавка».
На торцевую поверхность заготовки или в предварительное углубление от задавки перед прошивкой забрасывается подсыпка (древесные опилки, графит, мазут, обрезки кожи), которая сгорая образует газовую подушку, выполняющую роль амортизатора между торцем пуансона и нагретой заготовкой.
Для более надежного направления пуансона при прошивке применяют кольца, обеспечивающие, однако, центрование только в начальный момент. После прошивки в камору корпуса снаряда наливают воду для отслаивания окалины, которая удаляется из каморы продувкой.
Усилие прошивки зависит от температуры металла, формы очертания и площади рабочей головки пуансона, сечения и длины заготовки и отношения диаметра пуансона к толщине стенки заготовки. С увеличением температуры предел прочности металла резко снижается, следовательно, уменьшается усилие прошивания. При температуре нагрева заготовки до 1200° С потребное усилие прошивки примерно в 2 раза меньше, чем при Т =900°C.
Форма очертания головки пуансона заметно влияет на величину усилия прошивания. Наименьшее усилие прошивания имеет место, когда торцевая часть головки пуансона закруглена. Но такая форма пуансона неприемлема, так как она не соответствует конструктивному очертанию дна каморы. Поэтому рабочая головка пуансона имеет форму цилиндра с округленными переходами торца. С увеличением диаметра пуансона повышается потребное усилие прошивания, так как увеличивается деформируемый объем металла, кроме того, увеличивается поверхность охлаждения и, следовательно, уменьшается пластичность металла. При одном и том же пуансоне, но разной толщине стенки заготовки усилие прошивания тем больше, чем меньше толщина стенки, так как тонкая стенка при соприкосновении с пуансоном охлаждается быстрее, чем толстая, а вследствие этого уменьшается пластичность металла. С увеличением длины прошивания потребное усилие пресса возрастает из-за увеличения работы сил трения и охлаждения заготовки.
Протяжка. Процесс протягивания корпусов снарядов (рис.3) состоит в том, что пуансон 2, входящий с зазором в прошитую заготовку 3, протягивает ее через 2 — 3 кольца 4, диаметр рабочей части которых меньше наружного диаметра заготовки. При протягивании происходит уменьшение диаметра и толщины стенки при одновременном увеличении длины заготовки. Снятие заготовки с пуансона производится при обратном его ходе при помощи съемника. Металл заготовки корпуса при протягивании находится под воздействием толкающего усилия и реакции стенок кольца. В деформируемом объеме, в различных сечениях физического реза металл испытывает все три основных вида напряжений: растяжения, сжатия и сдвига (напряжение на срез у дна).
Крепление протяжного пуансона и протяжных колец нежесткое. Это исключает искривление или поломку пуансона и кривизну каморы из-за неравномерной нагрузки при протягивании прошитых корпусов с разностенностыо.
Усилие протягивания зависит от ряда факторов, степень влияния и значение которых различны. Наиболее существенными из них являются следующие:
1) изменение размеров поперечного сечения . заготовок, определяемое величиной площади вытяжки — наибольшей разности площади кольцевого сечения прошитой и протянутой заготовки;
2) прочность металла заготовки, зависящая от температуры протягиваемой заготовки;
3) профиль протяжного коцьца и угол захода конической части;
4) состояние поверхности заготовки, рабочих колец и качество смазки.
Усилие для снятия штампованной заготовки с пуансона составляет 5 — 7% от усилия протяжки.

Горячая штамповка корпуса снаряда осуществляется на гидравлических прессах. В зависимости от размеров заготовки применяются либо отдельно гидравлические прессы, либо наладка для комбинированной штамповки — параллельная или последовательная прошивка и протяжка на одном .прессе в двух ручьях .
Контроль штампованных заготовок. Контролируются за готовки по размерам и состоянию поверхности. Выборочный контроль производится непосредственно после протяжки (в горячем состоянии) и 100%-ный — после остывания. До контроля поверхность каморы очищается от окалины ершом и протирается тряпкой или ветошью.
Контролируются разностенность, толщина дна, глубина каморы, диаметры каморы в трех сечениях, высота конуса
Наиболее характерными видами брака являются повышенная разностенность, неоформление нижней части штамповки, короткая штамповка, задиры и глубокие царапины, рванины и трещины, несоответствие диаметральных размеров каморы и т. п.
Повышенная разностенность составляет от 30 до 85% общего брака при штамповке. Основными причинами большого процента брака по разностенности являются плохое центрование заготовки, матрицы и прошивного пуансона относительно друг друга, увод прошивного пуансона вследствие неравномерного нагрева заготовки и повышенной косины торцевой поверхности заготовки при ломке.
Охлаждение после штамповки является в большинстве случаев операцией аналогичной либо нормализации, либо отжигу.
Назначение режимов охлаждения производится на основании химического состава плавки, требуемых механических свойств и обрабатываемости.
РАЗРАБОТКА МАРШРУТА ТЕХНОЛОГИЧЕСКОГО ПРОЦЕССА ИЗГОТОВЛЕНИЯ ДЕТАЛИ
Основой для проектирования технологического процесса механической обработки служат сведения о детали, исходной заготовке, методах достижения требований по точности и шероховатости поверхностей, а также, тип производства, типовые или заводские технологические процессы и др.
Выбор технологических баз.
В ходе анализа чертежа детали уже должны быть намечены поверхности заготовки, которые могут и должны быть использованы в качестве технологических баз.
Для первой технологической операции выбирают базу, отвечающую соответствующим требованиям к черновым базам. В качестве черновой базы следует выбирать не обрабатываемые в дальнейшем поверхности с достаточно хорошим качеством для возможности правильного базирования и надежного закрепления заготовки. При изготовлении деталей типа «корпус» в качестве черновой базы обычно используют камору. При необходимости предусматривают использование искусственной технологической базы – центрового отверстия или обратного центра, соосной с каморой.
При выборе технологических баз для последующих операций надо следить, чтобы базы отвечали принципам совмещения конструкторских и технологических баз, единства и постоянства баз, обеспечивали надежное закрепление заготовки и точность взаимного положения обрабатываемых поверхностей.
Разработка маршрута технологического процесса.
В технологическом процессе первыми должны быть операции по удалению у заготовки прибыли и созданию технологических баз, например, центровых отверстий или обратных центров.
Дальнейшая последовательность операций технологического процесса устанавливается исходя главным образом из порядка обработки основных поверхностей обработки (черновой, чистовой, отделочной) и элементов (канавок, резьб, центрующих утолщений, стопорных отверстий и т.д.).
В массовом производстве целесообразно черновую и чистовую обработку выполнять на разных станках. Например, при изготовлении корпусов черновая и чистовая обработки обычно разделяются операциями обжима донной части и (или) термической обработки и выполняются на разных участках цеха.
В технологический процесс механической обработки включают операции переноса условного литера плавки для соблюдения правил поплавочного запуска металла в производство, контрольные операции и операции технологических испытаний (пневмо- и гидроиспытаний, магнитного дефектоскопирования, определения твердости металла и др.).
Маршрутно-операционный технологический процесс механической обработки детали представлен в графической части .
РАСЧЕТ РАЗМЕРОВ ШТАМПОВАННОЙ ЗАГОТОВКИ КОРПУСА ТИПА «СТАКАН»
Для определения размеров штампованной заготовки корпуса необходимо определить наружный диаметр заготовки D>шт>, диаметры каморы в заданных сечениях d>шт>, глубину каморы L>шт>, толшину дна H>д> и высоту конуса H>к>.
1. Рассчитываем наружный диаметр заготовки
(1)
где D>черт> – диаметр детали по чертежу; если на корпусе имеется центрующее утолщение, то D>черт >берется по центрующему утолщению;
2Z>в >>min> – общий припуск на диаметр наружных поверхностей тел вращения;
p – наибольшая разностенность заготовки.
Симметричный припуск на диаметр наружных и внутренних поверхностей тел вращения составляет

где R>Za> – высота неровностей получения на смежной предшествующей операции обработки данной поверхности;
T>а> – состояние и глубина дефектного поверхностного слоя, полученные на смежной операции.
–
пространственные отклонения в
расположении обрабатываемой поверхности
относительно базовыхповерхностей
заготовки;
–
погрешность установки возникающая на
выполняемой операции.
Для горячей штамповки рекомендуется
следующее значение
= 0,4 мм.
Пространственные отклонения
рассчитываем по формуле:

где
–
местная кривизна для любого участка;
–
неперпендикулярность осей и
поверхностей.
Местную кривизну определяем
как:

где
–
удельная кривизна;
–
расстояние рассматриваемого
сечения поковки до ближайшего центрового
отверстия (
≤
,
– длина корпуса).
≤275
мм.
Принимаем
= 250 мм.
По [5], таблице 50, стр. 132, для калибра
130 мм,
мкм/мм.
мм
Неперпендикулярность осей и поверхностей определяем по формуле:
,
мм.
Находим пространственные отклонения.
мм.
Погрешность установки
= 0,6 мм ([5], табл. 15, стр. 98).
Рассчитываем симметричный припуск:
мм.
Допускаемая величина разноситенности устанавливается в зависимости от вида и состояния штамповочного инструмента, способа нагрева заготовки, стойкости инструмента и длительности работы пресса баз переналадок. Разностенность штампованной заготовки в зависимости от ее длины и диаметра составляет 3,5 – 4,5 мм. Принимаем p=4 мм.
Следовательно,
мм.
2. Определяем диаметр каморы
(3)
где
–
диаметр каморы корпуса дна по чертежу;
–
припуск на расточку (
=
5 – 8 мм, принимаем
=
5,8 мм).

мм.
мм.
3. Определяем глубину каморы
(4)
где
–
глубина каморы по чертежу;
–
припуск на бахрому, равный 7 –
20 мм, в зависимости от технологии
штамповки (
=
10 мм);
–
припуск на расточку дна перкой,
равный 3,5 – 7 мм.
мм.
4. Рассчитываем толщину дна
(5)
где
–
толщина дна корпуса по чертежу;
–
припуск на подрезку торца (
=
2 мм);
–
допуск на толщину дна до 15% от
номинального размера.
;
мм.
5. Вес штампованной заготовки
,
(6)
где
–
объем заготовки, рассчитывается при
условии:
D>шт>+3/4
допуска;
минимальное;
допуска;
максимальное.
–
удельный вес стали, равный 7,85
г/см2.
,
где
–
объем цилиндра с размерами
мм
и
мм;
–
объем усеченного конуса с
размерами
мм,
мм
и
мм;
–
объем усеченного конуса с
размерами
мм,
мм
и
мм;
–
объем цилиндра с размерами
мм
и
мм;
см3
см3
см3
см3
Находим окончательный объем заготовки:
см3
Подставляем найденное значение объёма в формулу (6):
кг.
ГОРЯЧИЙ ОБЖИМ КОРПУСОВ
У корпусов бетонобойных снарядов обжим донной части производится в горячем или холодном состоянии.
Профиль обжимаемой заготовки определяется расчетом его наружного диаметра в ряде сечений по длине, исходя из равенства объем металла (площади) в выделенном сечении до и после обжима с учетом угара металла при нагреве.
Помимо соблюдения заданных размеров корпусов, подготовленных под обжим, необходимо стремиться к уменьшению разностенности, так как имеющаяся перед обжимом разно-стенность сохраняется в готовом корпусе.
Перед обжимом корпуса снарядов нагреваются в карусельной очковой печи, щелевой методической печи с наклонным подом, в электропечах, в электросоляных и в индукционных установках.
Щелевая печь с наклонным подом примерно в 4 раза более производительна, чем очковая, расходует в 2 раза меньше топлива и обеспечивает более равномерный нагрев заготовки—до t= 1100—1200°С на длину на 20—25% больше длины обжимаемой части. Для равномерного нагрева в пламенной печи заготовки должны поворачиваться. В щелевой печи заготовки, перемещаясь по наклонной плоскости, успевают за время нагрева сделать несколько оборотов.
На многих предприятиях корпуса осколочно-фугасных снарядов нагревают под обжим на полуавтоматической линии нагрева ТВЧ.
Технологический процесс горячего обжима корпусов осколочно-фугасных снарядов состоит из следующих операций.
Нагревательная. Нагреть заготовку до температуры t= 950— 1150° С на длине l в очковой нагревательной печи. Время нагрева T=7-10 мин.(текст не разобрать). Для равномерного нагрева заготовку поворачивают на 90—120° не менее 3-х раз в течение нагрева. Температуру нагретой части корпуса контролируют оптическим пирометром на расстоянии 50—70 мм от головного среза перед загрузкой заготовки в матрицу. Длина нагретой части контролируется шаблоном.
В индукционной установке заготовки нагреваются до t = = 1050±50°С на заданной длине. Время нагрева —90—120 сек, темп выдачи — 30 сек. Для равномерного нагрева производится автоматическая кантовка корпуса не менее одного раза за время нагрева. Обжимная. Подогреть матрицу до температуры /=150 — 250°С; смазать ее маслом с примесью 8—10% серебристого графита. Затем корпус установить в матрицу и произвести обжим головной части. Схема обжима приведена на рис. 50. Обжим производится на гидропрессах или на кривошипных ковочно-штамповочных прессах усилием 315 т.
Контрольная. От каждой садки печи на двух корпусах в горячем состоянии контролируются размеры каморы и биение обжатой части относительно наружной поверхности на заданном расстоянии от донного среза. Для данного корпуса допускается биение до 0,7 мм. При смене матрицы и настройке пресса данный контроль производится на количестве деталей,, равном не менее двум садкам печи. Температура детали при проверке биения не должна превышать 400°С. В холодном состоянии осуществляется 100%-ный контроль размеров каморы. Биение обжатой части корпуса относительно наружной поверхности на заданном расстоянии от донного среза допускается не более 0,7 мм; контролируется 10% заготовок.
ПРОЕКТИРОВАНИЕ СТАНОЧНЫХ ОПЕРАЦИЙ ВЫБОР ОБОРУДОВАНИЯ
Для массового и крупносерийного производства выбирают специализированные и специальные станки. Для производства деталей типа «корпус» применяют: для отрезки прибыли и сверления центрового отверстия - полуавтоматы «ПЦО-130», «ПЦО-150», «КМ-8» на операциях обтачивания наружных поверхностей - гидрокопировальные полуавтоматы моделей 1Б732 и серии «КМ» (КМ-130...КМ-144, КМ-816, КМ-817), на операциях обработки внутренних поверхностей - полуавтоматы «Таран-130», «Таран-150», «Копир-130», «Копир-150», «Финал-130», «Финал-150», «ПИК-150», для обработки торцев - полуавтоматы «ПТО-130», «ПТО-150», для обтачивания центрующих утолщений - полуавтомат «Цилиндр», для обработки ведущих поясков - полуавтомат «Контур», для нарезания резьб - полуавтомат «ТР-5», для сверления стопорных отверстий - агрегатные станки и т.д.
При меньших программах выпуска деталей используют специализированные станки и станки общего назначения: гидрокопировальные, токарно-операционные станки и полуавтоматы (например, «ТР-6»), а также универсальные станки, в том числе и станки с ЧПУ.
ВЫБОР СТАНОЧНЫХ ПРИСПОСОБЛЕНИЙ
Станочные приспособления должны обеспечивать точное базирование, быстрое и надежное закрепление заготовок на станках.
В массовом и серийном производстве деталей газодинамических устройств обычно применяют специальные цанговые и кулачковые оправки и патроны с пневмо- и гидроприводом. В мелкосерийном производстве возможно применение типовых и универсальных приспособлений.
ВЫБОР РЕЖУЩИХ ИНСТРУМЕНТОВ
Режущие инструменты должны отвечать следующим требованиям: высокая режущая способность, стабильность качества, высокая стойкость, благоприятные условия отвода стружки, технологичность изготовления инструмента, простота конструкции и возможность настройки инструмента на размер вне станка. В условиях серийного производства чаще используют универсальные стандартные и реже - специальные режущие инструменты, в массовом производстве наряду со универсальными выгодно применять высокоэффективные специальные инструменты.
На токарных станках применяются резцы с напаянными пластинами и резцы с многогранными неперетачиваемыми пластинами (МНП) из твердого сплава (Т5К10, Т15К6, Т30К4 для обработки стали.
Резцы из СТМ (композиты 01, 05, 10 и др.) позволяют обрабатывать материалы любой твердости, даже после термообработки, на высоких режимах резания. Они обладают высокой стойкостью, что важно при использовании их в автоматизированном производстве.
Для сверления используют быстрорежущие сверла стандартные, но лучше применять сверла повышенной точности короткие (для большей жесткости), подвергнутые электроискровому упрочнению (повышает стойкость в 2—2,5 раза), и сверла четырехленточные. При значительной годовой программе выпуска применяют комбинированные ступенчатые сверла.
Фрезерование плоскостей осуществляют торцовыми насадными фрезами с пятигранными неперетачиваемыми пластинами. для обработки по контуру — фрезы хвостовые разных конструкций из быстрорежущей стали, твердых сплавов, сверхтвердых материалов.
ВЫБОР ВСПОМОГАТЕЛЬНЫХ ИНСТРУМЕНТОВ
Вспомогательный инструмент предназначен для установки и закрепления режущего инструмента на станке. Он должен отвечать следующим требованиям: обеспечивать надежную и точную установку режущих инструментов, иметь высокую жесткость, позволять быструю смену режущего инструмента после затупления и предварительную настройку на заданные размеры вне станка.
ВЫБОР КОНТРОЛЬНО-ИЗМЕРИТЕЛЬНЫХ СРЕДСТВ
Среди технологического оснащения важное место занимают средства для измерения и контроля качества заготовки после выполнения одной или группы технологических операций: контрольные приспособления и контрольно-измерительные инструменты. Выбор их зависит от типа производства, вида заготовки и программы выпуска, параметров и показателей, подлежащих контролю. Обязательными показателями процесса контроля являются точность и достоверность измерений, трудоемкость контроля и его стоимость, полнота, периодичность, продолжительность и др.
При выборе средств контроля рекомендуется максимально использовать типовые и стандартные средства технического контроля, такие, как предельные калибры (пробки и скобы), шаблоны разного вида и назначения, стандартные контрольные приспособления (контрольные центра, индикаторы и др.), эталоны шероховатости, а при необходимости применять специальную оснастку для контроля, приборы и специальные контрольные приспособления (магнитный дефектоскоп Импульс - 1).
НАЗНАЧЕНИЕ РЕЖИМОВ РЕЗАНИЯ
Оптимальные режимы резания обеспечивают наибольшую производительность труда при наименьшей себестоимости технологической операции при требуемом качестве обработки.
Порядок назначения режима резания на одном переходе следующий:
− назначаем глубину резания t, исходя из значения операционного или промежуточного припуска на сторону;
− назначаем подачу S при черновой обработке, исходя из условий обработки, прочности и жесткости инструмента, прочности механизма подач станка, а при чистовой обработке - учитывая шероховатость поверхности. Значение подачи корректируют по паспортным данным станка S>пасп>;
− устанавливают период стойкости режущего инструмента в зависимости от количества инструментов в наладке;
− определяют скорость резания v>расч> по выбранным ранее глубине резания и подаче аналитическим расчетом или по таблицам нормативных источников,
− определяют частоту вращения шпинделя n>расч>= 1000v>расч>/(d), при ступенчатом регулировании частот вращения шпинделя корректируют n>расц> по паспортным данным станка n>пас>;
− уточняют фактическое значение скорости резания v>ф>=d>пасп>/1000.
|
Переход |
L, мм |
D, мм |
t, мм |
S, мм/об |
n, мин-1 |
v, м/мин |
|
Обточить под обжим Подрезать донный торец |
228 21 |
144 132 |
0,35 1,23 |
0,45 0,19 |
265 265 |
108 98 |
Выбранный режим резания проверяем по условию Р>рез> P>шп>, где Р>рез>—мощность резания; Р>щп>— мощность на шпинделе станка.
Условие выполняется, следовательно, режим резания выбран правильно.
ТЕХНИЧЕСКОЕ НОРМИРОВАНИЕ ОПЕРАЦИЙ
Целью технического нормирования операций является установление технически обоснованных норм времени, которые являются важными исходными данными для экономических и организационных расчетов при проектировании участка механического цеха.
Норма штучного времени Т>шт> определяется следующим образом:
Т>шт >= Т>о >+ Т>у.с. >+ Т>з.о. >+ Т>уп >+ Т>из >+ Т>тех >+ Т>орг >+ Т>от >
где Т>о> – основное время, мин;
Т>у.с >– время на установку и снятие детали;>.>
Т>з.о.> – время на закрепление и открепление детали, мин;
Т>уп >– время на приемы управления, мин;
Т>из >– время на измерение детали, мин;
Т>тех> – время на техническое обслуживание рабочего места;
Т>орг> – время на организационное обслуживание;
Т>от>> >>.> – время перерывов на отдых и личные надобности, мин.
Основное время рассчитывают на основании принятого режима резания для каждого технологического перехода по формуле:
Т>о >= 9l
где l – длина обрабатываемой поверхности, мм
Т>о >=
мин.
Т>о >=
мин.
Т>у.с. >+ Т>з.о> = 0,17 + 0,026 = 0,196 мин.([2], прил. 5)
Время на включение станка кнопкой равно 0,01 мин. Время на на подводку резца равно 0,04 мин.
Т>уп >= 0,01 + 0,03 = 0,04 мин. ([2], прил. 5)
Время на измерение детали, по прил. 5, Т>из >= 0,11 мин.
Вспомогательное время определяем по формуле:
Т>в >= Т>у.с. >+ Т>з.о. >+ Т>уп >+ Т>из>
Т>в> = 0,196 + 0,04 + 0,15 = 0,35 мин.
Т>в> = 0,196 + 0,04 + 0,15 = 0,35 мин.
Операционное время:
Т>оп >= Т>о >+ Т>в>
Т>оп> = 2,423+ 0,35 = 2,773 мин.
Время на обслуживание (техническое) рабочего места:
Т>тех>
=
,
где t>см> – время на подналадку станка, мин
По прил. 5,17 t>см> = 2 мин.
Т>тех>
=
мин
Время на организационное обслуживание рабочего места: по прил. 5 составляет 1,4 % операционного времени, тогда
Т>орг >=
0,388
мин
Время перерывов на отдых ([2], прил. 5) П>от> = 6 % операционного времени, тогда:
Т>от >=
мин
Рассчитываем штучное время по формуле 7:
Т>шт >= 0,084+ 0,144> >+ 0,05> >+ 0,11> >+ 0,01> >+ 0,005> >+ 0,166 = 0,423 мин.
|
Номер и наименование операции |
Т>о>, мин |
Т>в>, мин |
Т>оп>, мин |
Т>об>, мин |
Т>от>, мин |
Т>шт>, мин |
|||
|
Т>у.с> + Т>з.о>, |
Т>уп>, |
Т>из>, |
Т>тех>, |
Т>орг>, |
|||||
|
Токарная |
2,423 |
0,196 |
0,04 |
0,15 |
2,773 |
0,162 |
0,388 |
0,166 |
3,49 |
ТЕРМООБРАБОТКА КОРПУСОВ БЕТОНОБОЙНЫХ СНАРЯДОВ
Корпуса бетонобойных снарядов проходят предварительную термическую обработку после обжима запоясного конуса и окончательную — после черновой механической обработки наружных и внутренних поверхностей.
Предварительной термической обработкой является нормализация. Нагрев корпусов производится в методической печи. При изготовлении корпусов из стали марки 45X1 температура нагрева 870±10°. Время нагрева до заданной температуры — 4 часа, время выдержки при заданной температуре — 1 час.
Охлаждение корпусов производится на воздухе. Корпуса устанавливают в вертикальном положении головной частью вверх на песчаном полу цеха, на расстоянии друг от друга не ближе 500 мм.
Контроль твердости корпусов после нормализации выборочный— 5% от плавки. Твердость замеряют в одной точке — на цилиндрической части корпуса. Диаметр отпечатка должен быть равен 3,8 мм. В случае получения диаметра меньше 3,8 мм производят 100%-ный контроль плавки. Отбракованные корпуса подвергают высокому отпуску.
Окончательная термическая обработка состоит из закалки, ступенчатого отпуска и низкого отпуска.
Закалка. Нагрев корпусов под закалку производится в индукционной электрической печи инж. Н. М. Радыгина. (Можно и в методической печи на газовом или жидком топливе.) Температура нагрева корпуса из стали марки 46X10 —800—860°С. Время нагрева до заданной температуры в индукционной печи инж. Н. М. Радыгина—9—17" минут. Футеровку печи изготовляют из огнеупорного материала. Секции индукторов изолируют от корпуса печи листовым асбестом. Корпус снаряда устанавливают в печи оживальной частью в подставке и прижимают надставкой .
Загрузочное окно печи закрывается крышкой . Загрузка и выгрузка корпуса производятся краном. Корпус захватывается клещами изнутри, а не снаружи, с тем чтобы уменьшить зазор между корпусом и индуктором. Минимальный зазор обеспечивает лучший показатель печи — к.п.д. Температура нагрева корпуса контролируется двумя термопарами , горячий спай которых установлен у дна каморы на расстоянии примерно 350 мм от донного среза.
Работа индукционной печи для нагрева под закалку характеризуется следующими параметрами: сила тока 1600—2200А, напряжение переменного тока 220—380 В с частотой от 50 до 1000 пер/сек. Среднее значение cosφ = 0,20. Быстрота нагрева, отсутствие окалины, чистота производственных помещений, малые габариты являются положительными качествами этих печей. Нагрев в индукционных печах требует строгого соблюдения технологического процесса и наличия квалифицированных термистов. Охлаждаются корпуса в веретенном масле с температурой 60°С. Охлаждение производится в закалочных ваннах погружением вниз, причем донный срез должен быть погружен на глубину не менее 500 мм. После закалки производят замер твердости корпуса в местах, указанных в технологической карте.
Ступенчатый отпуск. Нагрев под ступенчатый отпуск можно осуществить в индукционной печи, соляной или свинцовой ванне. Неравномерный по высоте нагрев в печах Н. М. Радыгина осуществляется за счет наличия нескольких секций индукторов. При нагреве в соляной или свинцовой ванне ступенчатый нагрев обеспечивается глубиной погружения корпуса донной частью в ванну и временем выдержки при заданной температуре. Время нагрева под ступенчатый отпуск в индукционной печи —6—12 мин. Охлаждаются корпуса на воздухе. После ступенчатого отпуска контролируют твердость в местах, указанных в технологической карте.
Низки и оттиск. Нагрев для низкого отпуска производится в электросоляной или элекромасляной ванне. Температура нагрева — 220—230°С и время нагрева 3---4 часа. Охлаждение корпусов производится в горячей воде (/ = 80—100°С). При охлаждении производится одновременно и промывка корпусов.
Контроль. После окончательной термической обработки производят 100%-ный контроль твердости на твердомере ТБ при Р = 3000 кг, dш=10 мм и 7=10 сек.

Кроме замера твердости производят механическое испытание на разрывных образцах, вырезанных из донной части корпуса. Для определения прокаливаемости из головной части корпуса на расстоянии 2/з высоты сплошной части от головного среза вырезают диск толщиной 10 мм. Прокаливаемость контролируют по величине диаметра отпечатка вдоль всего диаметра диска с интервалом между отпечатками в 10 мм,
ЗАКЛЮЧЕНИЕ
В данной курсовой работе мы разработали технологический процесс производства 130-мм бетонобойного снаряда. На основе чертежа детали, технических условий на ее изготовление и типа производства мы выбрали способ получения заготовки, рассчитали припуски на механическую обработку детали, выбрали станочное оборудование и разработали схему наладки на одну из операций.
СПИСОК ИСПОЛЬЗОВАННОЙ ЛИТЕРАТУРЫ
Гжиров Р.И. Оборудование для механической обработки заготовок деталей изделий.: Учебное пособие - М.: Машиностроение, 1979.-224 с.
Горбацевич А. Ф., Шкред В. А. Курсовое проектирование по технологии машиностроения. Минск: Высшая школа, 1983. 255 с.
3. ГОСТ 10230-75. Стали.
4. Ковшов А. Н. Технология машиностроения. М.: Машиностроение, 1987. 320 с.
Коганов И. А., Станкеев А.А. Расчет припусков на механическую обработку. Тула, 1965.
Краткий справочник металлиста/ Под ред. П. Н. Орлова и Е. А. Скорохода. М.: Машиностроение, 1987. 960 с.
7. Кузнецов Ю. И., Маслов А. Р., Байков А. Н. Оснастка для станков с ЧПУ: Справочник. – 2-е изд.,перераб. И доп. – М.: Машиностроение, 1990. 512 с.
8. Кузнецов Ю. И. Станки с ЧПУ: Учебное пособие.- К.: Высшая школа, 1991. 278 с.
9. Общемашиностроительные нормативы режимов резания.: Справочник в 2-х т./А.Д.Локтев, 1991.-640 с.
10. Обработка металлов резанием/ Под ред. Г. А. Монахова. М.: Машиностроение, 1973. 598 с.
11. под. ред. Ординарцева И. А. Справочник инструментальщика. Л.: Машиностроение, 1987. 846 с.