Измерение линейных параметров длинномерных легкодеформируемых материалов
Содержание
Задание
1 Обзор методов и средств измерения линейных размеров движущихся длинномерных легкодеформируемых материалов
1.1 Автоматизация и повышение точности измерения длины материала в рулоне
2 Исследование факторов и особенностей технологии влияющих на точность измерения линейных параметров длинномерных легкодеформируемых материалов
2.1 Методы измерения длины материала и анализ возникающих погрешностей
3 Разработка схемы измерения линейных параметров длинномерных легкодеформируемых материалов
Вывод
Список использованных источников
1 ОБЗОР МЕТОДОВ И СРЕДСТВ ИЗМЕРЕНИЯ ЛИНЕЙНЫХ РАЗМЕРОВ ДВИЖУЩИХСЯ ДЛИННОМЕРНЫХ ЛЕГКОДЕФОРМИРУЕМЫХ МАТЕРИАЛОВ
1.1 Автоматизация и повышение точности измерения длины материала в рулоне
Результаты теоретических исследований определили основные направления совершенствования техники и технологии измерения длины легкодеформируемых материалов. На базе накопленного практического опыта по созданию преобразователей линейных перемещений, а также результатов исследований технических и технологических возможностей целого ряда принципиально новых измерительных систем, определена область их применения и рационального использования. Рассмотрим состав, устройство, принцип действия, направление и перспективы дальнейшего совершенствования некоторых из них и дадим им обобщенный сравнительный анализ.
В техническом решении изображенном на рисунке 1 ,для устранения погрешности измерения длины материала от колебания его толщины и проскальзывания относительно мерного элемента используются 2 полых валика 1 и 2, выполненных из эластичного воздухонепроницаемого материала и связанных между собой посредством сообщающихся между собой пневматических каналов 3 и 4. [1]

Рис. 1- Схема измерения длины материалов с двумя пневматическими валиками
При вращении валиков 1 и 2 посредством обтюратора 9 и оптоэлектронных элементов 10 и 11 формируются сигналы на входе блока совпадения 12, который дает разрешение счетчику 13 на их считывание при наличии на его втором входе разрешающего потенциального сигнала от датчика поступления материала в зону измерения.
Скорости вращения валиков будут равны. Следовательно, скорость продвижения материала, сообщаемая ему рабочей поверхностью валиков, в любой точке зоны контакта имеет одно и то же значение независимо от степени их деформации. Это обстоятельство позволяет избирательно исключить погрешность от разнотолщинности материала. Однако этот вариант технического решения вследствие напряженно-деформированного состояния материала и отклонения его при транспортировании от условно заданной линии движения не гарантирует нормативной точности измерения длины без использования адаптивных элементов, позволяющих корректировать возникающие погрешности. Отсутствие элементов автоматической оценки погрешностей и введения поправок в результаты измерения требует последующей их периодической проверки прямым способом.
В техническом решении изображенном на рисунке 2 рассматривается один из вариантов системы измерения длины рулонных материалов, позволяющей практически исключить деформацию материала, как первичную погрешность до, и, что самое важное, в момент измерения. [2] Преобразование длины в угол поворота обтюратора на прямолинейном участке движения материала с использованием в качестве движителя гибкой перфорированной ленты позволяет в максимальной степени исключать погрешность от разнотолщинности материала и его деформации.
Для устранения скольжения материала относительно движителя в устройстве использована система механических схватов 2 полотна с транспортёрной лентой 6, которые установлены на цепном горизонтально-замкнутом транспортёре 3.

Рис. 2- Схема измерения длины материала посредством транспортерной ленты
Материал 1, подаваемый транспортёром 4 в зону измерения длины, попадает под губки схватов 2, автоматически сцепляется с перфорированной лентой 6. Лента 6, связанная с материалом посредством специальных схватов 2, перемещает их по направляющей 7 к упору 8. В период совместного движения материала со схватами и лентой посредством диска 5 с метками и датчика 9 происходит измерение перемещения (длины) движущегося полотна.
Так как материал в зоне измерения перемещается по прямой линии не имеет проскальзывания относительно движителя - армированной транспортёрной ленты 6 и практически не испытывает деформации, то исключаются погрешности от десинхронизации взаимодействия мерного элемента с полотном, колебания его толщины и деформации.
Но отсутствие возможности постоянного и автоматического введения поправок в результаты измерений, что необходимо для исключения возможных погрешностей от деформации транспортёрной ленты, накапливаемой с течением времени ее эксплуатации, ведет к возрастающему "дрейфу" погрешности. Для устранения влияния этого фактора на точность измерения в измерительную систему необходимо также вводить адаптивные элементы корректирования результатов. Для обеспечения автоматической коррекции и собственного диагностирования качества выполняемых функций требуются микропроцессорные средства.
Рассмотренная группа преобразователей линейных перемещений может быть достаточно успешно использована и измерительных системах, функционирующих в автономном режиме при организации входного контроля с большим объемом перерабатываемых материалов, когда величины "дрейфа" будут не столь значительными, а введение необходимых корректирующих поправок возможна в ручном режиме.
Наиболее предпочтительным направлением совершенствования измерительных систем следует считать разработку комбинированных способов, обеспечивающих повышенную точность измерения, автоматизацию обработки и адаптивную корректировку полученной информации. Так в техническом решении изображенном на рисунке 3, предназначенном для измерения длины материалов, было предложено установить схваты 1 непосредственно на ленте-движителе 2, выполняющем функции эталонной меры длины, а для определения начала и конца отреза - закрепление на ней специальной светоотражающей ленты 3. [3]
При работе подобной системы измерения материал подается валиками 4 на ленточный транспортёр 5. Схваты 1 при выходе на прямолинейную траекторию автоматически закрываются и зажимают материал между мерной лентой и своей верхней губкой, сцепляя их между собой. Таким образом, материал перемещается лентой к преобразователю линейных перемещений и далее к намоточному устройству без относительного скольжения.
Количество схватов в системе зависит от длины прямолинейного участка транспортера и вида измеряемого длинномерного материала. Но минимальное их количество определяется необходимостью постоянства зажима материала на участке их совместного движения с транспортёрной лентой, что возможно при установке схватов между собой на расстоянии, меньшем длины прямолинейной траектории их движения. Положение губок схвата управляется неподвижными отбойниками 6 таким образом, что перед тем как очередной схват подойдет к отбойнику и раскроется, следующий за ним сходит с кулачка и закроется, зажимая край материала, и тем самым создает постоянное его сцепление с лентой транспортёра.
Разрешение на считывание информации формируется при поступлении материала в технологическую зону измерения и перекрытии датчика 7. При совпадении сигналов на блоке 8, считываемых с обтюраторного диска 9 системой оптронных датчиков 7 и 10, результаты измерений поступают в вы числительный блок 11 для их дальнейшей обработки. Система измерения выполнена реверсивной и аналогично работает при обратном движении материала.
Однако при использовании подобных схем транспортирования материалов, особенно тяжелых типов, не исключён их перекос на экране относительно фиксированной линии движения, что может сказаться на точности измерения длины, определения координат и размеров пороков. Для устранения влияния этого фактора усилие прижима материала по всей его ширине к разбраковочному экрану выполнено регулируемым посредством специальных элементов-тонармов 12,
При заправке материала в систему транспортирования и измерения длины (см. рис. 3) посредством рукоятки 13 поворачивается рамка 14, которая, упираясь в кронштейны 15, приподнимает их над разбраковочным экраном 16. Материал 17, свободно спадая с ленты транспортёра 2, проходит между экраном и тонармами. При опускании рукоятки 13 рамка 14, поворачиваясь под воздействием пружины 18, освобождает кронштейны 15 и тонармы 12, которые в зависимости от предварительной настройки, прижимают материал к экрану с распределённым усилием по его ширине, У зажатой схватами линии движения (у одной из кромок) усилие прижима равно нулю, а у свободной линии движения (второй из кромок) - максимальное и его значение устанавливается в зависимости от физико-механических свойств материала.
Корректирование считанной информации по эталонной мере длины в рассмотренных системах измерения длины обеспечивается со смещением по времени. То есть полученный результат в одном цикле корректируется по количеству эталонных импульсов, полученных в последующем измерительном цикле, что в нестабильных условиях работы оборудования и отклонении от заданных параметров может привести к непрогнозируемой погрешности измерения.

Рис. 3 - Схема измерения длины посредством транспортёрной (мерной) ленты [А. с. 1675448 СССР, МКИ D 65 H 1/00]
В техническом предложении изображенном на рисунке 4 рассматривается измерительная система, основанная на комбинации прямого и косвенного способов измерения длины. [4] Построение измерительной системы основано на использовании периодически воспроизводимой на движущемся материале магнитной метки, то позволяет устранить ряд перечисленных недостатков, присущих ранее рассмотренным техническим решениям. При работе системы измерения (рис. 4.а, б) наматываемый на скалку материал 1 при своём движении огибает приводной намоточный барабан 2 Поверхности барабанов 2 и 3 являются одновременно опорой и приводом вращения скалки с материалом. Рулон 21 со скалкой вращается под действием сил трения, возникающих при его контактном взаимодействии с барабанами 2 и 3.
В начале цикла измерения маятник 4 механизма коррекции 5 находится в исходном положении - в самой нижней части его криволинейных направляющих. При вращении барабана 2 встроенный в его тело постоянный магнит 6, попадая в зону расположения магнитопроводящей пластины 7 маятника 4, взаимодействует и сцепляется одновременно с ней и с движущимся материалом.
Система "материал - маятник" синхронно вращается совместно с намоточным барабаном 2. В этом режиме работы устройства перемещение маятника 4 отражает перемещение (длину) материала. Сцепление полотна с барабаном 2 и пластиной 7 по сути своей означает периодическое нанесение воспроизводимой метки на материал и перевод системы в ограниченной зоне на прямой метод его измерения.
При попадании флажка 4 в зону действия оптопары 8 - начала эталонной меры длины - на вход блока управления 11 подается импульс, по которому блок 11 выставляет сигналы, обнуляющие регистр динамической коррекции 12 и разрешающие прохождение импульсов от датчика длины 13 на вход регистра 12. Одновременно импульсы от датчика 13 подаются на вход регистра 14 текущего значения длины.
Импульсы от датчика 13 соответствуют считанному углу поворота мерного барабана 2 и, следовательно, определённому перемещению материала. Маятник 4, пройдя эталонное значение дуги (lэ), попадает в зону действия оптопары 10, подающей на вход блок управления 11 импульс, на выходе которого формируется сигнал, запрещающий прохождение импульсов от датчика длины 13 на вход регистра динамической коррекции 12. Таким образом, в регистре 12 хранится код числа импульсов с датчика длины 13, соответствующей углу поворота барабана (рис. 4. б) и перемещению материала на эталонную длину .Этот код подается на первый вход блока 16, на второй вход которого перед началом измерения вводится код эталонной меры длины. Блок 16 реализует зависимость: где - эталонная мера длины; - количество импульсов с датчика длины 13, записанное в регистр 12 за период времени, соответствующий прохождению маятником эталонной длины ; - коэффициент динамической коррекции.
Код коэффициента с выхода блока 16 подается на один вход блока 17, а на другой код текущего значения длины материла из регистра 14. Блок 17 реализует зависимость:

где - количество импульсов с выхода датчика длины 13, соответствующее текущему значению длины материала; - текущее скорректированное значение длины.
Значение с выхода блока 17 подается на вход регистратора 18. Таким образом, за каждый цикл прохождения маятником 4 эталонной меры длины происходит корректирование текущего значения длины материала, наматываемого в рулон.
Дальнейший поворот барабана 2 вызывает смешение пластины 7 относительно поверхности движущегося материала и барабана за счёт воздействия отбойной пластины 19.
Это смещение нарушает взаимодействие магнита 6 с маятником 4, который под действием собственного веса возвращается в исходное положение, определяемое ограничителем 20. Следующий поворот барабана 2 ведет к повторению цикла работы всех исполнительных элементов устройства.

Рис. 4 - Схема измерения длины материала с использованием магнитной ленты
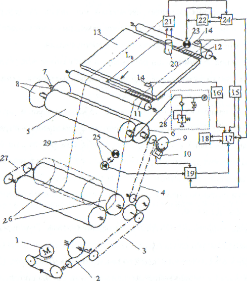
В техническом предложении изображенном на рисунке 5 принципиально новый шаг по совершенствованию систем измерения длины, выполненных на базе использования транспортёрной ленты, несущей функцию эталонного мерного элемента. [5] Здесь недостатки существующих систем устраняют тем, что средство сцепления эталонной длины с движущимся объектом выполнено в виде неприводного эластичного движителя, зеркально установленного над приводным мерным ленточным транспортером, что позволяет дополнительно измерять и материалы, поверхность которых чувствительна к механическому воздействию. Основной и вспомогательный транспортёр кинематически связаны по средством сил трения, причем длина приводного ленточного транспортера представляет собой эталонную меру, а выходы блоков регистрации текущей длины и коррекции результатов измерения скомутированы с процессором.
В предлагаемом техническом решении (рис. 5) привод первичного преобразователя линейных перемещений материала состоит из двигателя 1, муфты 2, клиноременной передачи 3, червячного редуктора 4 и цепной передачи 5. Преобразователь перемещений 6 включает также в себя эластичную замкнутую транспортерную ленту - движитель 7, натяжной и приводной валики 8, 9, оптронный диск 10, датчик длины 11 (оптронную пару) и систему динамической коррекции результатов измерений.
Система динамической коррекции состоит из светонепроницаемой метки-флажка 12, консольно закреплённого на эластичном движителе 7, и датчика 11 определяющего цикл считывания эталонной меры длины ( ).
Неприводной вспомогательный транспортёр 14 содержит замкнутую эластичную ленту, аналогичную движителю 7, и два свободно вращающихся валика 17 и 18; механизм подачи материала, включающий электромагнитную муфту 19, клиноременную передачу 20, червячный редуктор 21, цепную передачу 22 и транспортирующие валы 23 и 24; механизм перемещения материала по опорной поверхности 25, включающий цепную передачу 26, передающую вращение приводному валику 9 барабана 27, и прижимной валик 28; а также систему регистрации и коррекции результатов измерения в каждом цикле, включающую блок 29 управления информационным регистром коррекции 30, регистр 31 записи текущего значения длины, микропроцессор 32 и оптоэлектронные элементы 33 для формирования команды начала и завершения процесса измерения длины материала.

Рис. 5 - Структурно-кинематическая схема системы измерителя длины [Пат РФ №2256877 РФ]
Значительный интерес и особую перспективу имеет также одно из принципиально новых направлений совершенствования систем измерения длины и ширины движущихся легко деформируемых материалов с учетом изменения при обработке их деформационных характеристик. Одним из возможных решений этого исправления является использование стробоскопического эффекта. [6] ,[7].
Как показывает практика апробации, подобные системы позволяют учесть погрешности измерения линейных параметров материалов от деформационной предыстории и их последующей деформации вследствие контактного взаимодействия с рабочими органами технологического оборудования.
Для решения задачи в такой постановке в рассматриваемое устройство введена система динамической коррекции результатов измерения длины с учетом деформационного поведения материалов.
Система измерения длины материала с использованием стробоэффекта (рис. 6) содержит электродвигатель 1 привода перемещения материала, редуктор 2, цепные передачи 3 и 4 и измеритель длины. Измеритель длины состоит из двух пневматических транспортирующих валиков 5 и 6, представляющих собой две, сообщающиеся посредством гибкого воздухопровода 7 воздушные камеры, кимематически связанные между собой посредством зубчатого зацепления 8; оптронный диск 9; датчик 10.
Вопросы коррекции результатов измерения вследствие перекоса линии движения материала решаются посредством использования оптических линеек 11 и 12. определяющих положение одной из кромок материала на столе 13.
Элементы 14 предназначены для считывания информации о положении материала в пространстве движения; а электронные регистры 15 и 16 для записи информации о положении линии движения материала относительно стола 13.
В состав измерительной схемы также входят: блок сопряжения 17 для обмена информации с микропроцессором 18; блок 19 разрешения считывания длит материала; система измерения величины деформации, состоящая из оптического усилителя 20, оптоэлектронной системы 21, генератора 22 с программно-цикловым блоком задания частоты генерации импульсов, импульсной лампы 21 блока совпадения «И» 24; датчик 25 начала и конца материала; опори намоточные барабаны 26, связанные цепной передачей 27, и блок подготовки сжатого воздуха 28.
При работе системы измерения длины материал 29 проходит зону действия оптической линейки 12. При этом в регистре 15 формируется соответствующий сигнал, который подается параллельно на блок сопряжения 17 с микропроцессором 18 и блок 19 разрешения считывания информации о длине материала. Далее материал движется по поверхности стола 13 и входит в зону действия оптической линейки 11.

Рис. 6 - Структурно-кинематическая схема системы измерителя длины с использованием стробоэффекта [Пат РФ №2231018]
Считывание датчиками 14 информации с оптических линеек 11 и 12 о ширине материала в регистры 15 и 16 происходит непрерывно. При выходе со стола материал контактирует с эластичными валиками 5 и 6 измерителя длины. Полости валиков связаны с источником сжатого воздуха, а наружные поверхности выполнены в виде эластичных резинотканевых баллонов с изменяющимися в процессе работы геометрическими параметрами и обладают заданной степенью податливости посредством соответствующей настройки блока подготовки воздуха 28.
При срабатывании датчика 25, определяющего наличие материала в зоне измерения, информация поступает на один из входов блока 19, который формирует разрешение для прохождения импульсов от датчика 10 через блок сопряжения 17 в микропроцессор 18.
Конструктивно заложенный параметр , как расстояние между оптронными линейками 11 и 12, записывается в память микропроцессора в виде соответствующего кода до начала измерения длины. Информация, считанная с оптронного диска 9 датчиком 10 и переданная в микропроцессор, в программном режиме сравнивается с кодом длины . Совпадение кодов означает, что материал прошел от оптической линейки 12 до линейки 11. Этот конструктивный параметр определяет дискретность считывания информации о деформационных параметрах материала.
При каждом такте измерения запоминается местоположение контролируемой боковой кромки по длине материала путём определения количества «открытых» и «закрытых» светодиодов оптических линеек 11 и 12. Информация из регистров 15 и 16 через блок сопряжения 17 передается в микропроцессор, в котором происходит корректировка результатов измерения длины материала по величине перекоса его движения.
Коррекция результатов измерения длины материала от деформации производится по результатам распознавания стробоскопического эффекта фиксируемого оптоэлектронной системой 21, появляющегося при совпадении скорости движения элементов переплетения с частотой работы генератора 22 и, соответственно, импульсной лампы 23.
2 ИССЛЕДОВАНИЕ ФАКТОРОВ И ОСОБЕННОСТЕЙ ТЕХНОЛОГИИ ВЛИЯЮЩИХ НА ТОЧНОСТЬ ИЗМЕРЕНИЯ ЛИНЕЙНЫХ ПАРАМЕТРОВ ДЛИННОМЕРНЫХ ЛЕГКОДЕФОРМИРУЕМЫХ МАТЕРИАЛОВ
В предыдущих разделах было отмечено, что точность измерения ткани в большой степени зависит от того, в каком состоянии (в напряженном или свободном) находится ткань во время измерения. Напряженное состояние предопределяет наличие деформаций, что вызывает ошибки при определении длины тканей.
Рассматривая схему движения ткани по трехметровому столу можно убедиться в том, что промер длины ткани будет сопровождаться ее растяжением. При этом весьма интересно определить, какова же величина деформации ткани при ее промере. Возможно, что эта величина настолько невелика, что ею практически можно пренебречь.

Рис. 7 - Схема измерения на трехметровом столе
Величина общей деформации ткани в рулоне после промера ткани на трехметровом столе складывается из растяжения ткани при скольжении ее по поверхности стола и растяжения ткани в процессе сматывания ее в рулон.
Растяжение ткани при ее движении через промерочный стол определяют по формуле

где — длина ткани после того, как ее пропустили через промерочный стол и намотали в рулон;
— длина ткани после отлежки ее в свободном состоянии в точение 24 ч;
— абсолютная величина растяжения, включающая эластические и пластические деформации.
2.1 Методы измерения длины материала и анализ возникающих погрешностей
Измерение длины тканей производят непосредственно методом оценки, т. е. линейкой, рулеткой, которые непосредственно показывают измеряемую величину.
Измерения длины тканей подразделяют на технические и лабораторные, Технические измерения выполняют в производственных условиях. Перед выполнением технических измерений должна быть определена возможная погрешность. Если величина погрешности не превышает задаваемых допустимых пределов, то такие отклонения в измерениях не учитывают. В случае появления погрешностей свыше заданных допусков технологический процесс измерения должен быть перестроен.
При выполнении лабораторных измерений их погрешность должна обязательно учитываться.
Лабораторные измерения выполняют с точностью до 1 мм мерительными инструментами с минимальной ценой деления 1 мм. За длину образца при лабораторных измерениях принимают среднее арифметическое трех измерений, подсчитанное с точностью до 0,1 мм и округленное до 1,0 мм.
При технических измерениях длину ткани определяют однократным замером.
Согласно положениям математической статистики результаты измерений могут содержать погрешности: грубые (промахи), систематические, допустимые приборные, случайные.
Грубые погрешности возникают из-за невнимательности работающего, в результате чего появляются неправильные отсчеты, записи, подсчеты. Наличие грубых погрешностей определяется «выскакивающими» показателями, которые или исправляют, или исключают при обработке экспериментальных данных.
Систематические погрешности появляются при работе на неисправном оборудовании, приборах и др. Эти погрешности также называют неслучайными погрешностями, так как их появление не вызвано случайной причиной, а является следствием недостатков применяемого оборудования или инструмента. Величины таких погрешностей направлены в одну сторону и изменяются по определенному известному закону. Систематические погрешности устраняют путем тщательной проверки и наладки приборов, соблюдением методов испытаний. Случайные погрешности возникают от различных неподдающихся учету факторов. Величины случайных погрешностей направлены то в одну, то в другую сторону и могут быть различны. Абсолютная величина случайной погрешности не превосходит некоторой величины, называемой предельной погрешностью.
Случайные погрешности нельзя исключить введением постоянных поправок. При оценке измерений величину случайной погрешности необходимо учитывать.
Таким образом, при тщательно поставленных экспериментах остаются два вида ошибок, которые необходимо обязательно учитывать при статистической обработке экспериментальных данных.
К таким ошибкам относят допустимые погрешности, в которые входят и случайные погрешности, и допустимые приборные погрешности.
Приборные погрешности — это наибольшие погрешности прибора или инструмента, используемого при измерении. В рассматриваемом случае такими инструментами являются мерительные линейки или рулетки. Величина абсолютной погрешности равна цене одного деления принятой шкалы измерения.
Следовательно, при технических измерениях погрешность измерения равна ± 1 см, при лабораторных ± 1 мм.
В метрологических характеристиках промерочно-разбраковочного оборудования и других технических систем, предназначенных для входного контроля материалов и их настилания, обычно приводятся данные об их разрешающей способности по точности измерения. Однако в публикациях по этим вопросам отсутствует в необходимой мере анализ физической природы и количественная оценка составляющих погрешностей, возникающих при преобразовании линейных перемещений, обработке и передаче результатов измерения по информационным каналам.
Объективная оценка и достижение нормативной точности измерения линейных перемещений возможны при всестороннем анализе причин, порождающих систематические и случайные погрешности, включая влияние на результаты измерения физико-механических свойств обрабатываемых легкодеформируемых материалов. Для каждого класса, группы или конкретной технической системы, реализующей тот или иной способ измерения длины материалов в рулоне (куске), перечень факторов влияния может быть разным, так как каждое устройство, обладающее существенной новизной, обязательно имеет свои отличительные особенности - таковы условия признании нового технического решения изобретением.
Анализ процессов контактного взаимодействия легко деформируемых материалов с транспортирующими органами и элементами преобразователей линейных перемещений показывает, что точность измерения их длины зависит от выбранного метода, конструктивных параметров измерительной системы, напряженно-деформированного состояния, плотности, влажности и других физико-механических свойств самого материала в момент измерения. Эти факторы полностью или частично, но практически всегда, имеют место, порождая составляющие погрешностей вне зависимости от способа измерения и в ныне действующих разновидностях регистрациионно- измерительных систем.
Однако при реализации косвенного способа измерения появляются и дополнительные факторы влияния, которые необходимо учитывать при оценке погрешностей измерения длины материала. К ним относятся: условия контактного взаимодействия материала с элементами преобразователя линейных перемещений, если таковые используются; положение материала в пространстве движения и отклонение его от условно заданной линии транспортирования; влияние допусков на изготовление конструктивных элементов; способов получения, обработки, передачи, регистрации результатов измерения и т. д.
Наибольший интерес с точки зрения практической значимости предлагаемых технических решений представляют собой средства, у которых в качестве движителя полотна используется транспортёрная (мерная) лента, а в качестве преобразователя линейных перемещений - оптоэлектронная система с блоками динамической коррекции результатов измерения по стационарной или подвижной эталонной мере длины.
Линейные размеры кусков и в частности ширина материала, оказывая влияние на потери, являются ее важной характеристикой. Понимание этого нашло отражение в работах, посвященных исследованию ширины ткани. В них в основном рассматривается разноширинность и подчеркивается важность более полного использования ткани по ширине как фактора экономии.
Ввиду этого для швейных предприятий остается актуальной проблема учета разноширинности кусков и использования всей фактической (а не расчетной) площади ткани с целью снижения потерь сырья. Эта проблема неразрешима без разработки соответствующих методов и средств измерения ширины ткани.
Существенное влияние на экономное использование ткани оказывает способность ее к растяжению. Изменение длины материала в кусках под действием различных динамических растягивающих нагрузок на технологических операциях ПРП и в процессе хранения приводит к заведомым ошибкам при подготовке материала к раскрою, так как фактическая его длина в большинстве случаев отличается от зарегистрированной при входном контроле. Впоследствии это дает увеличение нерациональных остатков при настилании и раскрое, а также деформацию деталей кроя.
Анализ изменений линейных размеров материала в рулонах показал что следствием деформаций, происходящих при сматывании ткани в рулон и хранении, является усадка в настиле и крое. Установлено, что остаточная деформация в результате сматывания тканей в рулоны и последующего хранения в течение 24-72 ч составляет 0,2-1,5% в зависимости от приложенных нагрузок и артикула материала; период релаксации растет с увеличением нагрузки.
При проведении сравнительного анализа способов и средств измерения линейных параметров для ткани. Установлено, что браковочно-промерочные машины и трехметровые механизированные столы не обеспечивают измерения длины куска с точностью, предусмотренной стандартом. Общим недостатком этих машин является то, что измерение длины производится при неустановившемся режиме и переменном (пульсирующем) натяжении ткани. Для обеспечения точности определения линейных размеров ткани в соответствии с требованиями стандартов предлагается применять бесконтактный метод измерения, выполнять измерительные операции и проверять качество ткани в различных зонах машины, не зависящих друг от друга.
Таким образом, погрешности измерения длины ткани на машинах различных конструкций, как и на трехметровом столе, могут колебаться в некоторых пределах и достигать существенных значений. Они более всего определяются физико-механическими свойствами ткани и менее — конструктивными особенностями машин, хотя влияние последних не исключается.
Частные погрешности измерения длины материалов в общем случае можно объединить в следующие четыре основные группы:
• Погрешности, возникающие вследствие напряженно-деформированного состояния материала в момент его измерения, условий и параметров контактного взаимодействия с измерительным элементом, колебаний толщины, точности изготовления элементной базы и стабильности ее характеристик во времени;
• погрешности, порождаемые дискретностью преобразования перемещений в длину и пороговой чувствительностью элементной базы системы измерении;
• группа погрешностей, порождаемых отклонением материала относительно условно заданной линии его движения;
• группа погрешностей, генерируемых действием системы корректирования результатов измерения, если её использование предусмотрено в измерительной схеме.
Перечисленные первичные погрешности по своей природе носят как систематический, так и случайный характер, многие из них трудно прогнозируемы, но их необходимо учитывать при оценке точности измерения длины материала и искать пути устранения. Например, при выполнении предиз-мерительной подготовки материалов необходима релаксация их деформации, что может быть достигнуто снятием напряжений при достаточном временном сдвиге между свободным положением материала на мерной ленте и началом его измерения на прямолинейном участке движения.
Случайную же погрешность от проскальзывания материала относительно мерного элемента при использовании косвенного метода измерения без введения специальной системы корректирования результатов учесть практически невозможно. Для решения этой задачи необходима жесткая синхронизации скоростей движения материала и элемента измерения, т.е. их постоянное равенство или постоянство соотношения. Эти условия могут быть достигнуты разными методами, и в частности, посредством реализации постоянной кинематической связи между движителем и материалом.
Сформулируем общий подход к анализу частных погрешностей измерения длины при использовании преобразователей линейных перемещений с элементами транспортирования материала, выполненных в виде гибких звеньев-движителей. Одновременно рассмотрим и методику расчёта частных погрешностей, определяемых допусками на исполнение элементов конструкции системы измерения (параметров транспортерной ленты, приводного барабана и цены деления оптического обтюратора), а также разнотолщинностью и отклонением материала от условно заданной линии движения.
При работе преобразователя линейных перемещений с использованием гибкой транспортерной ленты (далее "мерной ленты") и перемещении её посредством приводного барабана возможны следующие варианты контактного взаимодействия между элементами измерительной системы «барабан -мерная лента - материал» (рис. 8):
а). Система «барабан - мерная лента - материал» движется синхронно, как единое целое. Между ее элементами нет проскальзывания, а силы сцепления мерной ленты с поверхностью приводного барабана превышают силы, порождающие отрицательную деформацию ее приграничного слоя вследствие изгиба контактного участка материала (рис. 8 а, б);
б). Подсистема элементов «мерная лента - материал» движется синхронно, как единое целое, а силы сцепления между поверхностью барабана и мерной лентой исключают возможность отрицательных деформаций её приграничных слоев, но допускают их относительное скольжение (рис. 8, в);
в). Элементы подсистемы «мерная лента - материал» движутся без относительного скольжения. Тангенциальные силы, определяющие изгибной момент и отрицательную деформацию слоев мерной ленты, расположенных ниже нейтральной линии на участке контакта, превышают силы сцепления, обеспечивающие передачу движения мерной ленте без скольжения. Также допускается, что подсистема элементов этого участка в начале и конце границ контактного взаимодействия не проскальзывает относительно барабана, а приграничные с ним слои участка ленты вследствие изгиба на цилиндрической поверхности испытывают отрицательную деформацию (рис. 8, г);
г). Элемент системы «материал» проскальзывает относительно мерной ленты на участке их контакта, определяемого углом обхвата, а участок ленты 'взаимодействует с приводным барабаном согласно пункту "б" или "в";
д). Все элементы системы «барабан - мерная лента - материал» на поверхности, определяемой углом обхвата, взаимодействуют с относительным скольжением.

Рис. 8 – Схема взаимодействия элементов системы “барабан - мерная лента - материал” при транспортировании материала и измерении его длины:1- транспортерная (мерная) лента; 2- материал; 3- схваты; 4- приводной барабан; 5- система считывания угла поворота барабана.
Исходя из условий первого в порядке рассмотрения варианта контактного взаимодействия элементов системы, можно с определенными допущениями предположить, что подсистема «мерная лента - материал» при взаимодействии с приводным барабаном испытывает деформации изгиба и частичного растяжения, а в результате наложения этих деформаций приграничный с барабаном слой ленты имеет нулевое растяжение.
В этом случае линия прямолинейного участка подсистемы, движущаяся со скоростью Va , задается окружной скоростью приводного барабана и должна иметь нулевое значение деформаций.
При этом скорости Vb , Vc и Vd точек b, с, d (см. рис. 8,б), принадлежащие соответственно мерной ленте и материалу, равные на прямолинейном участке движения между собой и скорости Vа изменятся (увеличатся) при контакте с барабаном и будут зависеть от его радиуса и угла обхвата. В этом случае приращение скоростей точек b, с, d на участке обхвата компенсируется деформацией элементов подсистемы «мерная лента - материал».
Так как движителем материала является мерная лента, то окружная скорость (Vокp) её точек на границе контакта с барабаном при угловой скорости = const будет равна Vокp= Va= R.
Истинное перемещение и соответственно длина материала на этом участке определяется длиной дуги окружности барабана радиуса r =R, т.е. зависит от радиуса контактного взаимодействия, при котором отсутствует деформация слоев мерной ленты, граничащих с поверхностью барабана.
Исходя из условий рассматриваемой задачи, в приграничном слое взаимодействия подсистемы «мерная лента - материал» с барабаном перемещение (S) будет отражать фактическое значение длины материала т. е.
(1)
где - угол поворота приводного барабана и жёстко связанного с ним оптического обтюратора.
Дифференцируя выражение (1) по параметру r и заменяя дифференциалы малыми конечными приращениями, получим значение частной погрешности ( ) от точности изготовления приводного барабана ( )т.е.

(2)
Из выражения (2) видно, что абсолютная погрешность преобразования перемещения в длину накапливается с увеличением угла поворота, а относительная ошибка пропорциональна величине допуска ( ) и обратно пропорциональна номинальному радиусу приводного барабана (r).
Рассмотрим второй, теоретически и практически возможный вариант контактного взаимодействия элементов системы «барабан - мерная лента - материал».
При скольжении мерной ленты относительно приводного барабана возникает некоторая неопределенность погрешности преобразования перемещения в длину. Величина проскальзывания имеет случайный характер и поэтому оценить длину материала по углу поворота приводного барабана и точность измерения практически не представляется возможным. В этом случае необходимы дополнительные технические решения или исключающие скольжение элементов подсистемы, или обеспечивающие требуемую коррекцию погрешности результатов измерений, порождаемую этим явлением.
Дадим аналитическое исследование третьего, и наиболее вероятного, варианта контактного взаимодействия элементов подсистемы «мерная лента - материал» с приводным барабаном (см. рис. 8,г). В этом случае значение радиуса R, определяющего линию нулевой деформации и истинное перемещение длины материала, с учетом конкретных условий можно определить, если воспользоваться соотношением упругих деформаций растяжения и сжатия подсистемы «лента - материал» относительно нейтральной оси.
Согласно [8], учитывая принятые условия контактного взаимодействия и делая допущение того, что подсистема «лента - материал» испытывает на поверхности барабана изгиб, как балка прямоугольного сечения, получим:
, (3)
где - толщина мерной ленты без учёта монтажных (начальных) деформаций; - толщина материала.
Выражение (3) запишется в виде:
(4)
где
(5)
Тогда с учетом (1) :
(6)
Если выражение (6) для фиксированных моментов времени, т.е. при продифференцировать в частных производных по каждому параметру и согласно линейной теории точности [9,10] заменить дифференциалы их малыми приращениями, чем, по сути, они являются, получим:
(7)
(8)
Аналогично (8)
(9)
Максимальные абсолютная и относительная погрешности от рассмотренной группы первичных погрешностей соответственно равны:
(10)
(11)
Выражения (10, 11) позволяют количественно оценить влияние отклонений на погрешность измерения и в зависимости от требуемой точности выбрать конструктивные параметры и назначить допуски на их проектирование.
Частные погрешности измерений, обусловленные отклонениями линейных параметров звеньев измерительной системы от номинальных, подчиняются определённым законам и их можно учесть введением соответствующих поправок в результаты измерения.
Теоретический анализ четвертого и пятого вариантов контактного взаимодействия элементов системы не представляет практического интереса вследствие их взаимного скольжения и появления предпосылок значительных и неопределенных погрешностей измерения перемещения мерной ленты и материала по углу поворота барабана. В этом случае задача должна и может быть решена посредством поиска принципиально новых технических решений, которые обеспечивали бы в процессе движения материала его постоянное сцепление с движущейся транспортёрной лентой.
Следующим конструктивно-технологическим фактором, влияющим на точность измерения длины, является несовпадение в процессе измерения линии начала и конца отсчёта с метками оптического обтюратора. Это возможно вследствие случайностей взаимного положения поперечных срезов в начале и конце полотна с метками диска или не кратности длины рулона их количеству. Величина этой погрешности хотя и является случайной, но не повторяется при непрерывном измерении, и её максимальное значение не превышает длины дуги, определяемой двумя делениями оптического диска, т.е. ,где - цена деления диска.
Так как перемещение (длина материала) оценивается по измеренной длине дуги линии нулевой деформации подсистемы "мерная лента - материал", то
(12)
где К - коэффициент передачи измерительной системы; N - число меток оптического обтюратора.
Тогда для действительной длины материала в рулоне ( ):
(13)
Таким образом, при проектировании измерительной системы для повышения её точности согласно выражениям (9, 13) необходимо уменьшать разнотолщинность мерной ленты и материала, цену деления обтюратора и увеличивать диаметр приводного барабана.
Отдельным вопросом стоит определение погрешности измерения длины материала при его перекосе относительно условно заданной линии движения. Так как эту группу погрешностей можно уменьшить только посредством качества центрирования полотна или равнения по его кромке (полностью исключить влияние этого фактора на точность измерения не представляется возможным), то необходимо вводить и эту частную составляющую в общую оценку погрешности расчётным путём.
Проанализируем зависимость погрешности измерения длины материала от качества его ориентации, т.е. от наличия некоторого периодически повторяющегося отклонения полотна относительно условно заданной линии движения (рис. 9).

Рис. 9 – Расчетная схема определения погрешности измерения длины материала от перекоса линии движения
Согласно расчётной схеме абсолютная погрешность измерения от несовпадения кромки с заданной линией движения будет равна:

где п - количество возможных отклонений линии движения материала от условно заданной; - абсолютная ошибка измерения длины материала на i-ом участке движения.
где -соответственно фактически измеренное и действительное значения длины i-ro участка рулона.
Но
(14)
где - угол перекоса заданной линии движения полотна на i-ом участке рулона.
Тогда:
(15)
(16)
Согласно (14) и (16)
(17)
(18)
где - величина отклонения кромки материала от условно заданной линии движения на i-ом отрезке рулона.
Из выражения (18) видно, что погрешность измерения длины материала при перекосе линии его движения зависит от величины отклонения и угла наклона оси ( ) валика системы ориентации, определяющего количество этих отклонений (n). Значение в общем случае будет являться нестационарной величиной, зависящей от конструктивных характеристик системы транспортирования, технологических параметров и режимов взаимодействия контактирующих сред.
Экспериментальные исследования показали, что отклонение положения материала в пространстве движения без равнения его по кромке или центрирования перед измерением может нарастать с переходом процесса поперечного перемещения в неустойчивый режим, практически ограничиваемый только размерами «створа» системы транспортирования полотна. Поэтому перед измерением длины движущегося материала необходимо обеспечивать технологически заданное его отклонение от контрольной линии, что и достигается системой ориентации.
Таким образом, исследования точности измерения длины движущегося материала с использованием динамической коррекции и без нее позволяют сделать общий вывод в пользу этого варианта построения измерительной схемы. Наличие системы корректирования позволяет исключать как систематические, так и значительно уменьшать составляющие случайных погрешностей, возникающие от возможного неконтролируемого скольжения подсистемы "мерная лента - материал" относительно барабана (мерного диска), от влияния температурно-влажностного фактора, наличия люфтов в механической части системы и т.д.
Для достижения требуемой точности измерения корректировку можно выполнить и программными средствами, внося поправки в количество импульсов, приходящихся на эталонную длину, "покачивая" коэффициент корректирования, а также вводя более жесткие допуски на размеры элементов конструкции преобразователя линейных перемещений, уменьшая пену деления обтюраторного диска и, соответственно, коэффициент передачи К.
Теоретический анализ частных погрешностей, рассмотренная методика расчёта точности преобразования линейных перемещений и результаты исследований характеристик измерительных систем позволяют определить комплекс мер по улучшению метрологических характеристик технологического оборудования, выбрать направление его совершенствования и дать конкретные рекомендации по расчёту, проектированию и эксплуатации.
3 РАЗРАБОТКА СХЕМЫ ИЗМЕРЕНИЯ ЛИНЕЙНЫХ ПАРАМЕТРОВ ЛЕГКОДЕФОРМИРУЕМЫХ ДЛИННОМЕРНЫХ МАТЕРИАЛОВ
Изобретение относится к способу измерения длины движущихся лег-кодеформируемых материалов с выраженной сетчатой структурой (например, текстильных материалов полотняного переплетения).
Известен способ и устройство для измерения длины движущихся материалов (патент РФ № 2174212, МПК G01 В5/00, 2001г.), заключающийся в том, что линейный параметр длинномерного материала - длина определяется расчётным путём по величине и количеству предельных поперечных перемещений (автоколебаний) материала относительно заданной линии движения, что является информативным параметром длины.
Для реализации этого способа используется устройство, содержащее три привода, один из которых приводит в движение транспортёр перемещения материала в осевом направлении, второй привод обеспечивает вращение валика системы ориентации материала, третий пневматический привод служит для наклона валика ориентации в вертикальной плоскости. В состав устройства также входит двухпозиционная система управления валиком системы ориентации, система формирования и считывания импульсов, соответствующих числу колебаний валика и процессор.
Недостаток этого способа и его техническая реализация состоят в использовании косвенного метода измерения длины материала, что, как правило, требует введения в технические решения дополнительных структурных элементов, преобразователей информации, тем самым повышающих сложность конструкции, снижающих надёжность измерительной системы и точность измерения.
Известен измеритель длины (патент РФ №2231018, 2004г.-прототип), построенный на базе использования стробоскопического эффекта, как способа, позволяющего повысить точность измерения посредством учёта перекоса линии движения материала и деформации его линейных параметров структурных элементов (раппортов) материала. Для измерения длины используется система оптронных элементов для считывания углов поворота оптронного диска и их преобразования в линейные перемещения.
Недостатком этой системы измерения является тот же косвенный метод измерения базовой длины со всеми вытекающими отсюда последствиями: генерируемая погрешность звеньями устройства и введение дополнительных преобразующих элементов, усложняющих систему измерения в целом.
Задачей изобретения является повышение точности и упрощение технического решения системы измерения длины движущихся легкодеформи-руемых материалов сетчатой структуры.
Поставленная задача решается тем, что линейный размер раппорта переплетения, соответствующего условиям недеформированного материала предварительно записывают в виде линейного эталонного размера раппорта переплетения в память процессора, как информативный параметр мерного участка длины движущегося легкодеформируемого материала со скоростью не менее 0.1 м/с и постоянным контактным взаимодействием с чувствительным элементом пьезопреобразователя в диапазоне усилия от 0.1 до 0.25Н, измеряют количество раппортов переплетения посредством пьезосканирования рельефа движущейся структуры, при этом значение длины материала определяют по числу генерируемых импульсов, соответствующих количеству структурных элементов (например, количеству уточных нитей), приходящихся на эталонный участок длины /э, и рассчитывают посредством процессора по следующему алгоритму:

где
-количество
импульсов, генерируемых пьезоэлементом
при перемещении материала длиной L, -
эталонный участок длины. кэ - количество
раппортов (поперечных элементов) в
эталонной длине.
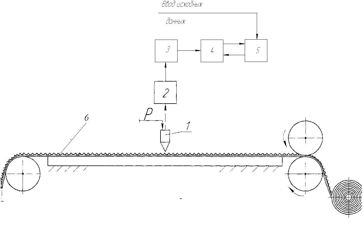
На рисунке показана структурная схема системы измерения длины движущегося материала по заявляемому способу.
Способ измерения длины материала L на базе использования пьезометрического преобразователя состоит в следующем:
- предварительно одним из известных методов (например, в соответствии с ГОСТ № 3812-72) определяют значение линейного параметра раппорта переплетения по количеству поперечных элементов (кэ) структуры (например, уточных нитей) на гостируемой эталонной длине и вводят в памя процессора, как исходные данные;
- при движении материала со скоростью V 0.1м/с и постоянном контактном взаимодействии с чувствительным элементом пьезопреобразователя последний сканирует его рельеф и генерирует электронные импульсы, число которых определяется количеством раппортов переплетения (уточин) во всей транспортируемой длине;
-посредством процессора рассчитывают длину движущегося материала

Технически способ реализуется следующим образом (рис. 10).

Рисунок 10 - Схема системы измерения длины движущегося материала
При движении материала 6 со скоростью V 0.1M/C ПО измерительному тракту щуп (чувствительный элемент) 1 пьезоэлемента 2, находится в постоянном контакте с движущейся поверхностью под действием заданного усилия Р=0.1...0.25Н и происходит непрерывное сканирование рельефа поверхности материала сетчатой структуры. Каждому раппорту переплетения (в частности, сканированной уточине) соответствует электронный импульс, генерируемый пьезопреобразователем 2, т.е. формируемое пьезопреобразователем количество сигналов соответствует количеству считанных структурных элементов движущегося материала.
Генерируемые пьезоэлементом 2 сигналы усиливаются в блоке 3 и поступают посредством блока сопряжения 4 в процессор 5.
Таким образом, в процессор поступит количество импульсов, равных количеству сканированных структурных элементов (раппортов) материала. При этом количество импульсов не зависит от деформации материала, возможного проскальзывания относительно рабочих органов технологического оборудования, неравномерности движения или остановки в случае технологической необходимости, а только от количества раппортов переплетения, сканированных с поверхности материала. Процессор полученную информацию обрабатывает в соответствии с вычислительным алгоритмом.
Вывод
Результаты научно-технического поиска, материалы патентных исследований и практическое изучение действующих измерительных систем, встроенных в технологические машины ПМкР позволяют сделать вывод, что, по сути, ни один вариант из множества предлагаемых технических решений без значительных доработок и изменений принципиального характера, а также без использования специальных аппаратных средств не может обеспечить нормативные метрологические и требуемые системно-информационные характеристики процессов подготовки материалов к раскрою. Поэтому и нет каких-либо объективных предпосылок рекомендовать или брать их за основу для проектирования и практического создания систем измерения линейных характеристик длинномерных легкодеформируемых материалов.
Поэтому было предложено новое техническое решение базе использования пьезометрического преобразователя. Поставленная задача решается тем, что линейный размер раппорта переплетения, соответствующего условиям недеформированного материала предварительно записывают в виде линейного эталонного размера раппорта переплетения в память процессора, как информативный параметр мерного участка длины движущегося легкодеформируемого материала со скоростью не менее 0.1 м/с и постоянным контактным взаимодействием с чувствительным элементом пьезопреобразователя в диапазоне усилия от 0.1 до 0.25Н, измеряют количество раппортов переплетения посредством пьезосканирования рельефа движущейся структуры, при этом значение длины материала определяют по числу генерируемых импульсов, соответствующих количеству структурных элементов (например, количеству уточных нитей), приходящихся на эталонный участок длины /э. При этом количество импульсов не зависит от деформации материала, возможного проскальзывания относительно рабочих органов технологического оборудования, неравномерности движения или остановки в случае технологической необходимости, а только от количества раппортов переплетения, сканированных с поверхности материала. Процессор полученную информацию обрабатывает в соответствии с вычислительным алгоритмом.
Список использованных источников
1. А. с. 1557449 СССР, МКИ G 01 B 7/02, Д О6 H 3/00. Устройство для измерения длины листовых материалов / А.С. Железняков и др.- 1990, Бюл. № 14
2. А. с. 1602906 СССР, МКИ D 06 H 1/00, Д О6 H 3/00. Устройство для измерения длины рулонных материалов / А.С. Железняков и др.- 1990, Бюл. № 40
3. А. с. 1675448 СССР, МКИ D 06 H 1/00, Д О6 H 3/00. Устройство для измерения длины рулонных материалов / А.С. Железняков и др.- 1991, Бюл. № 33
4. Пат. 2086911 РФ, МПК G 01 B 7/04. Устройство для измерения длины материала в рулонах / А.С. Железняков и др.- 1997, Бюл. № 22
5. Пат. РФ. № 2256877 РФ. Устройство для измерения длины легкодеформируемых материалов / Г.П. Старкова, В.А. Елтышева, А.С. Железняков. Бюл. № 20.-2005.
6. Пат. РФ. 2231018 РФ. Устройство для измерения длины легкодеформируемых длинномерных материалов / Г.П. Старкова, А.С. Железняков. Бюл. № 17.-2004.
7. Пат. РФ. 2231017 РФ. Измеритель ширины движущихся легкодеформируемых длинномерных материалов / Г.П. Старкова, А.С. Железняков, М.Б. Суслова.
8. Ачеркан А.С. и др. Справочник машиностроителя. Т. 3. – М.: Машгиз, 1963.- 651 с.
9. Коротков В.П., Тайц Б.А. Основы метрологии и теории точности измерительных устройств.- М.: Машиностроение, 1978.- 342 с.
10. Новицкий П.В., Зограф И.А. Оценка погрешностей результатов измерений. – Л.: Энергоатомиздат, 1991.- 301 с.