Литейные процессы
БЕЛОРУССКИЙ ГОСУДАРСТВЕННЫЙ УНИВЕРСИТЕТ ИНФОРМАТИКИ И РАДИОЭЛЕКТРОНИКИ
Кафедра ЭТТ
РЕФЕРАТ
На тему:
"Литейные процессы"
МИНСК, 2008
Технология – наука по изучению процессов производства различных изделий и устройств.
Слово "технология" образовано из двух греческих слов: "техно" – мастерство и "логос" – учение.
Технология всегда связана с процессами переработки или обработки материалов, т.е. изменения их свойств или формы.
В широком смысле слова технология – это способ ведения человеком материального мира посредством социально организуемой деятельности.
При этом необходимы три компонента:
– научные принципы;
– орудия труда;
– люди, владеющие профессиональными навыками.
Наиболее общим назначением изделий радиоэлектроники, рекомендованным в стандартах, является термин "радиоэлектронное средство", понимаемый как техническое изделие определенной сложности или его составная часть, в основу действия которого положены принципы радиотехники и электроники.
Технология РЭС как область техники – это совокупность способов обработки, изменения состояния, свойств и формы материалов, изготовления полуфабрикатов (деталей, узлов, устройств) и их сборки с определенной точностью и производительностью в процессе производства для получения готового РЭС.
С другой стороны, технология РЭС как прикладная научная дисциплина – это обобщенное представление физических, химических, механических и других закономерностей и методов воздействия на материалы соответствующими орудиями производства.
По функциональной сложности РЭС подразделяют на уровни: система, комплекс, устройство, узел. Собирательное понятие РЭА объединяет последние два уровня РЭС.
РЭА представляет собой организованную совокупность деталей и сборочных единиц различного уровня сложности и функциональной значимости.
Детали – это изделия, изготавливаемые из однородного по наименованию и марке материала без применения сборочных операций. Наличие на поверхности таких изделий покрытий и пленок не зависит от их вида, толщины и назначения не изменяют статуса детали.
Сборочные единицы – это изделия, изготавливаемые с использование сборочных операций. Понятие "сборочная единица" является общим, под него попадают все изделия, состоящие из двух и более частей.
Таким образом, процесс изготовления РЭА формально сводится к процессу изготовления деталей, их последующей сборке, носящей многоступенчатый характер, на завершающем этапе которого получают готовую РЭА.
Однако далеко не все изделия (детали и сборочные единицы) подлежат изготовлению на предприятии, производящем РЭА.
Прежде всего это касается электрорадиоэлементов, которые образуют большую группу так называемых покупных изделий (микросхемы, полупроводниковые и электровакуумные приборы, резисторы, конденсаторы, коммутационные изделия, установочные изделия и т.д.).
В состав РЭА входят, кроме того, большая группа изделий, не являющихся электрорадиоэлементах, на изготавливаемых также в соответствии с государственными и отраслевыми стандартами. Это унифицированные в рамках отрасли наборы элементов металлоконструкций, изделия из керамики и ферритов и т.д.
В состав РЭА входят также изделия, нормализованные стандартами предприятий и изделия, заимствованные из разработанной ранее РЭА.
Такие изделия изготавливаются непосредственно на предприятии – изготовители РЭА, некоторые из них заказываются на других предприятиях, изготовляющих РЭА, из которой эти изделия заимствованы.
Создание новых РЭС не возможно без разработки новых деталей и сборочных единиц. Чем большей новизной отличается проектируемое РЭА, тем более таких оригинальных изделий, какой на конечной стадии проектирования и является сама РЭА.
Все оригинальные изделия подлежат изготовления на предприятии – изготовителе РЭА за исключением некоторого небольшого количества изделия, изготовление которых на данном предприятии технически не осуществимо или экономически нецелесообразно. Такие изделия изготавливаются на сторонних предприятиях "по кооперации".
Для снижения метала и трудоемкости изготовления таких деталей как корпуса приборов, радиаторы, волноводы, магниты и др. производят из литых заготовок-отливок. Литьем можно получать фасонные отливки различной конфигурации из сплавов на основе меди, алюминия, титана, и др. черных и цветных металлов, которые другими методами изготовить сложно. Применение литейных процессов для изготовления заготовок рациональной формы дает не только экономию металла, но и в десятки раз снижает трудоемкость последующих операций обработки деталей.
Основными операциями технологического процесса литья являются: плавка металла; его заливка в форму; извлечение отливки из формы после затвердевания, отрезка литников и др.
В зависимости от технологического оборудования и конструкции литейных форм различают: литье в песчаные (земляные) формы, литье в металлические формы; литье под давлением,, центробежное литье, литье по выплавленным моделям; литье намораживанием, литье в оболочечные формы и др.
Типовым технологическим оборудованием литейных цехов являются плавильные агрегаты, машины для литья под давлением, машины для центробежного литья, формовочные машины, агрегаты для сушки форм, станки для отрезки литников и др.
К СТО литейных операций относятся литейные формы, модели кокили, пресс-формы, и др. Важнейшими технологическими свойствами литейных сплавов являются: температура заливки (определяет стойкость металлических форм); жидкотекучесть (возможность получения тонкостенных отливок) и коэффициент усадки (характеризует относительное изменение размеров после охлаждения).
Конструкция отливки должна обеспечивать ее легкое извлечение из формы, для этого поверхности перпендикулярной плоскости разъема придают уклоны или конусности. Толщина стенок должна быть малой и одинаковой для равномерности охлаждения. Формы отливок должны быть простыми без резких переходов от толстых сечений к тонким, нескругленных поворотов, тонких перемычек и т.п. Сопряжения стенок должны быть плавными с большим радиусом переходов при этом не создаются дополнительные сопряжения, не снижается скорость потока металла и его остывание. Следует исключать большие местные скопления металла, возникающие в пересечении стенок, приливах, бобышках и т.д. Это приводит к неравномерному остыванию и образованию усадочных раковин.
Литье в песчаные формы (в землю)
Производится в разовые формы, которые служат для изготовления одной отливки и при ее извлечении разрушаются. Формы изготавливаются из песчано-глинистой, песчано-смольной и др. смесей. Различают:
Сырые формы (формировка по сырому);
Сухие формы (формировка по сухому);
Поверхностно подсушиваемые;
Химически-твердеющие формы.
Наибольшее применение имеет формировка по сырому из песчано-глинистых смесей.
Литье в землю применяется для получения больших отливок сложной конфигурации из чугуна, силумина и бронзы. Точность литья невысокая, шероховатость большая (Rz=300–600) поэтому отливки требуют механической обработки.
Литье под давлением
Применяют для получения заготовок массой ≤16 кг из легкоплавких цветных сплавов. Самый производительный способ литья (60–150 отливок в час в одногнездной форме, >2500 в многогнездной). Используется для массового и серийного производства из-за высокой стоимости СТО и оборудования.
В поршневых машинах (с горизонтальной или вертикальной камерой сжатия) расплавленный металл (кроме алюминиевых сплавов) под высоким (до 500 МПа) давлением и с большой скоростью (до 80м/с) подается в рабочую полость стальной формы через подводящий канал поршнем.
Алюминиевые сплавы отливаются в компрессорных машинах, где давление на металл создается сжатым воздухом (расплавленный алюминий разрушает поверхность поршня и камеры давления). Поршневые машины дают более точные и качественные отливки (меньше газовых включений, более плотные металл), но обладают меньшей производительностью из-за ручной подачи порции жидкого металла.
Оптимальной является температура жидкого металла на 20–30º выше Тпл. При повышенных температурах перегревается и быстро выходит из строя форма, увеличивается пористость и число раковин, при заниженной – литейная форма плохо заполняется. Качество литья определяется конструкцией и качеством изготовления форм. Из-за высокой стоимости используются формы для групповой отливки, системы вкладышей, для изменения конфигурации отливок, а также нормализованные конструкции форм для различных заготовок.
Достоинства метода: большая (8–12 квалитет) точность размеров, шероховатость Rz40–6,3, толщина стенок до 0,6 мм, малые припуски на обработку, возможность армирования.
Недостатки: высокая стоимость и сложность изготовления форм, пористость отливок, трудность получения толстостенных заготовок (из-за высокой скорости заливки образуются раковины).
Получают: заготовки станин, кронштейнов, радиаторов, экранов, корпусных деталей и т.д.

Рис.1. Установки литья под давлением.
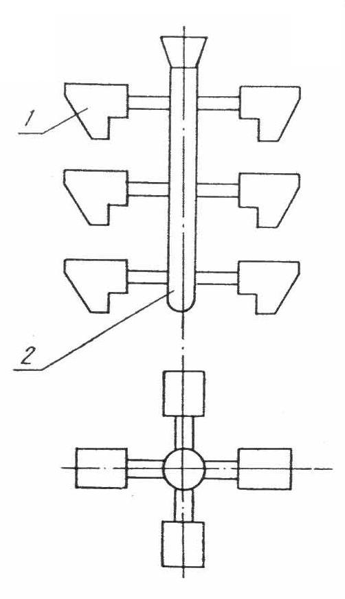
Литье по выплавленным моделям
Модель, изготовленная из легкоплавкого металла (парафин, стеарин, терезин) выплавляется из формы. Поскольку форма не разнимается, точность литья высокая. Модели изготавливаются в разъемных металлических пресс-формах. Такое литье применяется для получения деталей сложной конфигурации из сталей, цветных сплавов и труднообрабатываемых материалов массой до нескольких кг.
Достоинства метода: высокая производительность и возможность автоматизации; точность размеров (10–12 квалитет) и шероховатость Rz=40–10; сокращение на 40–80% объема механической обработки за счет уменьшения припусков и толщины стенок; возможность армирования отливок и получения деталей сложной конфигурации из труднообрабатываемых материалов массой до нескольких кг.
Достоинства метода: высокая производительность и возможность автоматизации; точность размеров (10–12 квалитет) и шероховатость Rz40–10; сокращение на 40–80% объема механической обработки за счет уменьшенных припусков и толщины стенок; возможность армирования отливок и получения деталей сложной конфигурации их труднообрабатываемых материалов не требующих дополнительной обработки.
Основной недостаток – высокая стоимость литья. Массовое и серийное производство.
Операции ТП: получение модели с литниковой системой и сборка их в блоки; нанесение огнеупорного покрытия (окунание в суспензию, обсыпка огнеупором, сушка 3–8 раз), выплавка модели; ее заформовывание в опоку и прокаливание, заливка металла.

Рис.2. Литниковые модели.
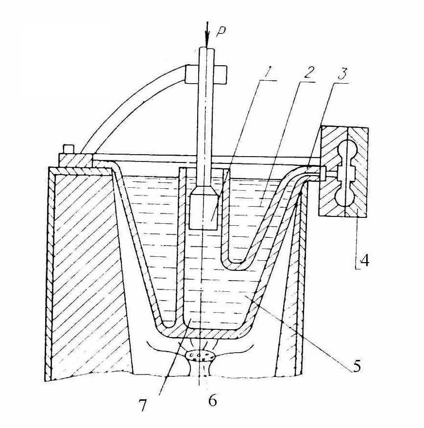
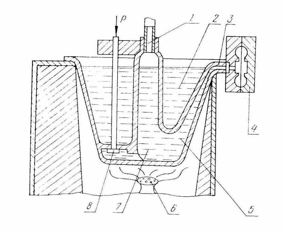
Центробежное литье
Основано на использовании центробежных сил, прижимающих жидкий металл к стенкам формы-изложницы и уплотняющих заготовку. Используются литейные машины с горизонтальной (длинномерной отливки) и вертикальной осями вращения. Последние наиболее широко используются в серийном и массовом производстве таких деталей РЭС и ВС как маховики, шкивы и др. детали типа тел вращения, а также фасонных отливок сложной формы, массой до сотен кг из сплавов меди. Изложницы могут быть в виде форм, получаемых по выплавленным моделям.
Достоинства: точность 0,66–0,1 мм, хорошее заполнение формы, высокая плотность и качество отливки (газы, шлаки и легкие включения вытесняются в литник).
Недостатки: разделение компонентов по плотности, повышенные припуски на механическую обработку внутренних размеров.

Рис.3. Центробежное литье.
Литье в кокиль
Кокиль – разъемная металлическая форма. Метод используется в массовом и серийном производстве небольших отливок в основном из цветных сплавов.
Операции ТП: смазка частей и сборка кокиля (для лучшего заполнения и предотвращения образования трещин при быстром охлаждении отливок) – простые отливки 150–200ºС, сложные – 300–450ºС; заливка металла, охлаждение до 300–350ºС; разборка кокиля и извлечение отливки.
Температура и скорость заливки должны обеспечивать заполнение всего объема кокиля металлом до его затвердевания и выход газов.
Конструкция кокиля должна обеспечивать его быструю сборку, разборку и извлечение заготовки. Материал – жаропрочные стали.
Достоинства: высокая производительность, возможность многократного использования формы, большая точность размеров (12–14 квалитет), шероховатость Rz=80–20; возможность получения тонкостенных (1,5–2 мм) и армированных заготовок; высокая механическая прочность отливок (мелкозернистая структура из-за высокой скорости остывания). Производительность за смену при изготовлении заготовок средних размеров: из чугуна – 1500–5000; медных сплавов – 3000–10000; алюминиевых сплавов – 50000–70000.
Недостатки: высокая стоимость и сложность изготовления кокилей, их малая стойкость, трудность получения отливок из тугоплавких сплавов и разностенных отливок (большие внутренние напряжения при переходе к другому сечению).
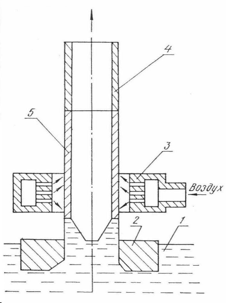
Литье намораживанием
На зеркало жидкого металла помещают поплавок, форма внутреннего отверстия которого соответствует наружному профилю поперечного сечения отливки. В отверстие вводят затравку из того же металла, что и расплав. Поперечное сечение затравки соответствует профилю детали. Происходит сцепление затравки с расплавом и затравке придается поступательное движение вверх. Под действием атмосферного давления, сил сцепления и поверхностного натяжения жидкий металл поднимается за затравкой, охлаждается в кристаллизаторе и образуется отливка.
Этим методом получают сложные длинномерные профили с толщиной стенок до 0,2 мм для радиаторов, ленты, трубы. Способ не требует сложной оснастки и может быть применен для всех типов производства. Недостаток – низкая скорость литья. Механические свойства таких заготовок значительно выше свойств аналогичных отливок, полученных литьем в кокиль и центробежным литьем.

Рис.4. Литье намораживанием.
Литье в оболочковые формы
Оболочковая форма, состоящая их двух полуформ, изготавливается из формовочной смеси, в состав которой входят кварцевый и цирконовый песок
и термореактивный связующий материал, с использованием специальной поддельной оснастки. В промышленности внедрены автоматические линии для изготовления оболочных форм.
С помощью этого метода изготавливают отливки массой от 0,2 до 50 кг и толщиной стенок от 0,3 до 15 мм из всех литейных сплавов для приборов, автомобилей, станков и т.д.
Достоинства: 1. высокая производительность; 2. высокая точность; 3. малая шероховатость поверхности; 4. снижение расхода формовочных материалов и объема механической обработки.
Недостатки: высокая стоимость литья. Применяется в массовом и крупносерийном производстве.
ЛИТЕРАТУРА
Технология производства ЭВМ / А.П. Достанко, М.И. Пикуль, А.А. Хмыль: Учеб. – Мн. Выш. Школа, 2004 – 347с.
Технология деталей радиоэлектронной аппаратуры. Учеб. пособие для ВУЗов / С.Е. Ушакова, В.С. Сергеев, А.В. Ключников, В.П. Привалов; Под ред. С.Е. Ушаковой. – М.: Радио и связь, 2002. – 256с.
Тявловский М.Д., Хмыль А.А., Станишевский В.К. Технология деталей и пе-риферийных устройств ЭВА: Учеб. пособие для ВУЗов. Мн.: Выш. школа, 2001. – 256с.
Технология конструкционных материалов: Учебник для машиностроительных специальностей ВУЗов / А.М. Дольский, И.А. Арутюнова, Т.М. Барсукова и др.; Под ред.А.М. Дольского. – М.: Машиностроение, 2005. – 448с.
Зайцев И.В. Технология электроаппаратостроения: Учеб. пособие для ВУЗов. – М.: Высш. Школа, 2002. – 215с.
Основы технологии важнейших отраслей промышленности: В 2 ч. Ч.1: Учеб. пособие для вузов / И.В. Ченцов, И.А.