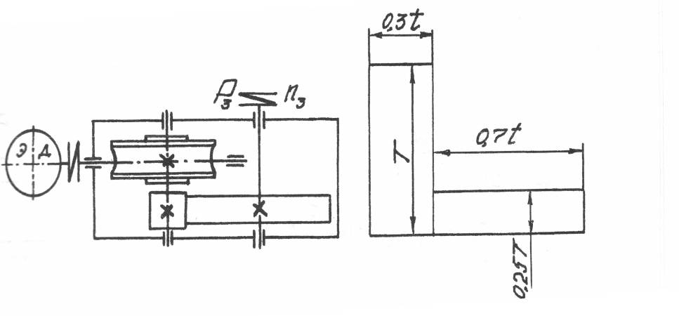
Машинный агрегат
Задание

|
Потребляемая мощность Р>3, >кВт |
Частота вращения n>3, >мин-1 |
Термообработка зубьев |
Срок службы L>г> , лет |
К>сут> |
К>год> |
|
7 |
36 |
Ц+ТВЧ |
5 |
0,2 |
0,8 |
СОДЕРЖАНИЕ
1. Срок службы машинного агрегата
2 Выбор двигателя
2.1 Определение мощности и частоты вращения двигателя.
2.2 Определение передаточного числа привода и его ступеней
2.3 Определение силовых и кинематических параметров привода
3. Выбор материалов зубчатых передач
4. Расчет зубчатых передач редуктора
4.1 Расчет закрытой цилиндрической передачи
4.2 Расчет закрытой червячной передачи
5. Нагрузки валов редуктора
5.1 Определение сил в зацеплении закрытых передач
5.2 Определение консольных сил
5.3 Силовая схема нагружения валов редуктора
6. Проектный расчет валов
6.1 Выбор материалов валов
6.2 Выбор допускаемых напряжений на кручение
6.3 Определение геометрических параметров ступеней валов
6.4 Предварительный выбор подшипников качения
7. Расчетная схема валов редуктора
Определение реакций в опорах подшипников. Построение эпюр изгибающих и крутящих моментов
8. Проверочный расчет подшипников
9. Проверочные расчеты
9.1 Проверочный расчет шпонок
9.2 Проверочный расчет валов
10. Технический вывод редуктора
Определение массы редуктора
Определение критерия технического уровня редуктора
1. Срок службы машинного агрегата
Срок службы (ресурс) L>h>, ч, определяется по формуле;
,
где L>г> – срок службы привода, 5 года;
t>c> – продолжительность смены, 8 ч;
L>c>> >– число смен, 2 смены.
ч.
Принимаем время простоя устройства 15% ресурса.
ч.
Рабочий ресурс привода примем L>h> =4700 ч.
2. Выбор двигателя
2.1 Определим частоту вращения и мощность двигателя
Р>рм> = 7 кВт – мощность рабочей машины.
Определим требуемая мощность электродвигателя,
,
где η – коэффициент полезного действия,
,
где: η>м>= 0,98 КПД муфты;
η>пк>= 0,99 КПД подшипников качения;
η>зп>= 0,97 КПД закрытой цилиндрической передачи;
η>ч>= 0,8 КПД червячной передачи;
,
кВт.
Выберем тип электродвигателя по Р>тр>. Выбираем электродвигатель трехфазный короткозамкнутый асинхронный серии АИ закрытый, АИР132М4.
|
Р>дв>, кВт |
Скольжение, % |
n>дв>, мин-1 |
d>эд>, мм |
|
|
11 |
3,5 |
1500 |
38 |
2,7 |
2.2 Определим передаточное число привода и его ступеней;
,
n>ном> – номинальная частота вращения двигателя;
n>3> – частота вращения приводного вала рабочей машины,
n>ном>
=
об/мин.
.
Принимаем предел передаточных чисел;
Цилиндрическая закрытая 2 ÷ 7,1;
Червячная закрытая 8 ÷ 35,5
,
Примем передаточное число червячной передачи u>ч> = 10, тогда
,
Примем передаточное число цилиндрической передачи u>ц> = 4.
2.3 Определение силовых и кинематических параметров привода
Мощность:
Двигателя
кВт,
Быстроходного вала
кВт,
Среднего вала
кВт,
Тихоходного вала
кВт,
Рабочей машины
кВт.
Частота вращения;
Двигателя
мин-1,
Быстроходного вала
мин-1,
Среднего вала
мин-1,
Тихоходного вала
мин-1,
Рабочей машины
мин-1.
Угловая скорость;
Двигателя
с-1,
Быстроходного вала
с-1,
Среднего вала
с-1,
Тихоходного вала
с-1,
Рабочей машины
с-1.
Вращающий момент;
Двигателя
Н×м,
Быстроходного вала
Н×м,
Среднего вала
Н×м,
Тихоходного вала
Н×м,
Рабочей машины
Н×м.
3. Выбор материалов зубчатых передач
Выбор материалов колес для цилиндрической передачи.
Для равномерного изнашивания зубьев и лучшей их прирабатываемости твёрдость шестерни, назначим больше твёрдости колеса. Для уменьшения габаритов и металлоемкости редуктора примем значения твёрдости рабочей поверхности зубьев завышенными. Материалы для колёса и шестерни выберем, легированные стали: По табл.3.3 [1.] принимаем:
Первая передача.
Шестерня
- Сталь 12ХН3А 55…59 HBС,
термообработка цементация, D>пред>
= 125 мм. Средняя твердость
,
НВ = 570.
Колесо
- Сталь 40Х улучшение 235…262 HB>2>,
термообработка улучшение, S>пред>
= 125 мм. Средняя твердость
,
НВ = 455.
Разность
средних твердостей
.
Определяем допускаемые контактные напряжения:
Определяем коэффициент долговечности K>HL>:
,
Колесо:
где N>HO>>2> =68 млн. циклов, число циклов перемены напряжений;
N>2> - число циклов перемены напряжений за весь срок службы:
циклов.
Так как N>HO>>2>> N>2>, то;
.
Шестерня:
где N>HO>>1> =114 млн. циклов, число циклов перемены напряжений;
N>1> - число циклов перемены напряжений за весь срок службы:
циклов.
Так как N>HO>>1>> N>1>, то;

Определим допускаемое контактное напряжение [σ]>НО>.
Шестерня:
Н/мм2.
Колесо:
Н/мм2.
Определим допускаемое контактное напряжение для зубьев шестерни и колеса.
Шестерня:
Н/мм2.
Колесо:
Н/мм2.
Так как передача цилиндрическая прямозубая при НВ>ср1>-НВ>ср2>>70, то дальнейший расчет будем вести по менее прочным зубьям, то есть по колесу.
1127
Н/мм2.
Определим допускаемое напряжение изгиба.
Рассчитаем коэффициент долговечности:
,
где N>FO> = 4∙106 – число циклов перемены напряжения для всех сталей,
наработка
за весь срок службы: для шестерни
циклов,
для колеса
циклов.
Так как N>1>>N>FO> и N>2>>N>FO>, то коэффициент долговечности K>FL> = 1.
По таблице 3.1 допускаемые напряжения изгиба, соответствующие числу циклов перемены напряжения:
Шестерня:
Н/мм2.
Колесо:
Н/мм2.
Допускаемые напряжения изгиба определяем по формуле:
Шестерня:
Н/мм2.
Колесо:
Н/мм2.
дальнейший расчет будем вести по менее прочным зубьям, то есть по колесу.
[σ]>F> = 469 Н/мм2.
Выбор материалов колес для червячной передачи.
Червяки изготавливают из тех же сталей что и шестерни зубчатых передач. Материал червяка назначают по таблице 3.1, 3.2 [1], а термообработку принимают в зависимости от мощности на валу. При Р = 11 кВт > 1 кВт, с целью повышения КПД принимаем;
Червяк
- Сталь 12ХН3А 50…55 HBС,
термообработка цементация, D>пред>
= 125 мм. Средняя твердость
,
НВ = 505.
Выбор марки материала червячного колеса зависит от скорости скольжения. Скорость скольжения определяется по формуле:
,
м/с.
В соответствии со скоростью скольжения из группы 1 принимаем материал колеса;
Колесо – БрО10Н1Ф1 (центробежное литье), σ>в> = 285 Н/мм2, σ>т> = 165 Н/мм2.
Определяем допускаемые контактные напряжения изгиба.
Допускаемые напряжения определяют по табл. 3.6. так как группа материалов 1, а твердость червяка > 45 HRC, то определяем по формуле;
,
где С>υ> = 0,94, коэффициент, учитывающий износ колес,
К>HL> – коэффициент долговечности,
,
где N – число циклов нагружения зубьев червячного колеса;
циклов.
.
Н/мм2.
K>FL> - коэффициент долговечности,
,
где N – число циклов нагружения,
циклов,
Так
как
то
.
.
При нереверсивной передаче
Н/мм2.
4. Расчет зубчатых передач
4.1 Расчёт закрытой цилиндрической прямозубой зубчатой передачи
Определим межосевое расстояние:
,
где К>а> = 49,5 вспомогательный коэффициент для прямозубых передач;
>а> = b>2> / а – коэффициент ширины венца колеса, равны 0,28…0,36;
Т>н> = 1870 Нм – вращающий момент на выходном валу редуктора;
u = 4 - передаточное отношение пары.
К>Н>>> = 1- коэффициент неравномерности нагрузки по длине зуба;
мм.
Принимаем ближайшее по ГОСТ 2185-66 а>w> = 180 мм.
Определим модуль зацепления m, мм:
,
где К>m>=6,8 – вспомогательный коэффициент;
d>2> – делительный диаметр колеса,
мм;
b>2> – ширина венца колеса,
мм;
Примем b>2>=44 мм.
[σ]>F> =469 Н/мм2 – допускаемое напряжение изгиба материала колеса с менее прочным зубом;
.
Принимаем по ГОСТ2185-66 m = 4 мм.
Определим суммарное число зубьев шестерни и колеса:
;
Примем Z>> =90 зубьев.
Определим число зубьев шестерни:
;
Примем Z>1> =18 зуба.
Тогда
Z>2> = Z>> - Z>1> = 90 - 18 =72.
Фактическое значение передаточного числа
Uф = Z>2>/Z>1> = 72/18 =4
U=
=
=
0 %,
что меньше допускаемых 4%.
Определим фактическое межосевое расстояние:
мм.
Определяем основные геометрические параметры шестерни и колеса. Полученные значения сведём в таблицу 4.1.
Таблица 4.1
|
Параметр |
Формула |
Шестерня |
Колесо |
|
|
мм |
||||
Диаметр |
делительный |
d = mZ |
72 |
288 |
|
Вершин зубьев |
d>а> = d+2m |
80 |
296 |
|
|
Впадин зубьев |
d>f> = d-2,4m |
62,4 |
278,4 |
|
|
Ширина венца |
b>2> = >а>а b>1> = b>2> + 4 |
48 |
44 |
Проверочный расчет
Проверим межосевое расстояние:
мм.
Проверка зубьев по контактным напряжениям:
>Н>
=
[]>Н>,
где К>Н> = К>Н>>> К>Н>>> К>Н>>>> >- коэффициент нагрузки.
По таблице 4.2 при
м/с и 9 степени точности К>Н>>>
=1– коэффициент учитывающий распределенные
нагрузки.
По таблице 4.3. для косозубых колёс при и 9 степени точности имеем К>Н>>v>> >= 1,051;
К – вспомогательный коэффициент, К=436;
F>t> – окружная сила в зацеплении,
Н;
Средние крутящий момент на колесе,

.
>Н>
=
Н/мм2.
>Н>= 1011 МПа < []>Н> =1127 Н/мм2
в передаче имеется недогрузка которая не должна превышать 10 %;
,
условие выполняется.
Проверка зубьев на выносливость по напряжениям изгиба:
.
где F>t> – окружная сила в зацепление, Н;
К>Fα> =1 – коэффициент, учитывающий распределенные нагрузки;
К>Fβ> =1 – коэффициент неравномерности нагрузки;
К>Fυ> =1,13 – коэффициент динамической нагрузки;
Y>β>
=
- коэффициент, учитывающий наклон зубьев;
Y>F>>1> и Y>F>>2> – коэффициент формы зуба шестерни и колеса:
>
>Y>F>>1>=
4,2 при
,
Y>F>>2>=3,61
при
.
Н/мм2,
Н/мм2.
условие выполняется.
5. Нагрузки валов редуктора
5.1 Определим силы в зацеплении закрытых передач
Червячная передача
Окружная
Н.
Н,
Радиальная
Н.
Осевая
Н.
Н.
В проектируемом приводе цилиндрические пары с углом наклона зуба β=00, угол зацепления принят α=200.
Цилиндрическая передача.
Окружная
Н,
Н.
Радиальная
Н.
5.2 определение консольных сил
В проектируемом приводе учитывается нагрузка вызываемая муфтами соединяющая редуктор с кормоприготовительным комбайном и двигатель с редуктором.
Консольная сила муфты на быстроходном валу редуктора.
Н×м.
Выберем муфту втулочно-пальцевую 250-38-1.1-32 – 11.2-У2 ГОСТ 21424-75
Консольная сила муфты на тихоходном валу редуктора.
Н×м.
Выберем муфту цепную 2000-80-1.1×80-1.2-У3 ГОСТ 20742-81,
5.3 Силовая схема нагружения валов редуктора

6. Проектный расчет валов
6.1 Выбор материалов валов
В проектируемом редукторе выбираем одинаковую для всех валов сталь 45, термически обработанную.
6.2 Определение допускаемых напряжений на кручение
Предварительный расчет на кручение проводится по пониженным допускаемым напряжениям. Для стали 45 - [>к>] = 10…20 Н/мм2 без учёта влияния изгиба.
Определение геометрических параметров валов
Наименьший диаметр при допускаемом напряжении.
вал быстроходный
Входной элемент открытой передачи (под шкив плоскоременной передачи):
мм.
Под полумуфту d>м>=32 мм.
Примем длину ступени под полумуфту l>м> = 58 мм стр. 401.
Под подшипники
,
где t =2,5 мм значение наименьшей величины бурта.
мм.
примем d>п>=40мм.
Примем длину ступени под подшипник l>п>
=
мм.
Вал средний
Ступень вала под подшипник:
мм.
Под подшипник d>п >= 50 мм.
Примем длину ступени под подшипник l>п>
=
мм.
Под колесо
,
где r = 3 мм значение наименьшей величины бурта.
мм.
примем d>к >= 61 мм.
Вал тихоходный
Выходной элемент вала (под полумуфту):
мм.
примем d>к1 >= 80 мм.
Под подшипники
,
где t =3,5 мм значение наименьшей величины бурта.
мм.
примем d>п>= 90 мм.
Под колесо цилиндрической передачи
,
где r = 3,5 мм значение фаски подшипника.
мм.
примем d>к2 >= 105 мм.
6.4 Предварительный выбор подшипников
По полученным данным при вычерчивании валов (габариты подшипников выбираем по диаметру вала в месте посадки подшипника). принимаем:
Для вала быстроходного:
Роликовые конические – типа 7000, средняя широкая серия α=120.
Для среднего вала
Роликовые конические – типа 7000, легкая серия α=120.
Для тихоходного вала
Шариковые радиальные однорядные – типа 100, особолегкая серия.
|
Валы |
№ Подшипника |
d |
D |
r |
В |
C>r> |
C>or> |
|
мм. |
кН |
||||||
|
Быстроходный |
7608 |
40 |
90 |
2,5 |
33 |
90 |
67,5 |
|
Нейтральный |
7211 |
55 |
100 |
2,5 |
21 |
57,9 |
46,1 |
|
Тихоходный |
118 |
90 |
140 |
2,5 |
24 |
57,2 |
39 |
7. Расчетная схема валов редуктора
7.1 Определим реакцию опор в подшипниках быстроходного вала
Вертикальная плоскость.
Определим опорные реакции, Н:
|
F>a1> |
4 058 |
Н |
|
F>r1> |
1 481 |
Н |
|
F>t1> |
2 583 |
Н |
|
d>1> |
48 |
мм |
|
F>м> |
124 |
Н |
|
a |
103,5 |
мм |
|
b |
103,5 |
мм |
|
e |
108,2 |
мм |
|
L |
207,0 |
мм |


Н.


Н.
Проверка:
.
Строим эпюру изгибающих моментов относительно оси X:

0;
;
;
27,9
,
125,3
.
Горизонтальная плоскость.
Определим опорные реакции, Н:

=1103Н,

=1356
Н,
Проверка:
.
Строим эпюру изгибающих моментов относительно оси Y:
;
;

;

.
Строим
эпюру крутящих моментов ;
:
62Н.
Определяем суммарные радиальные реакции, Н:
1136Н,
Эпюры и схема нагружения подшипников быстроходного вала.
Н.
Определим
суммарные изгибающие моменты в наиболее
нагруженных сечениях,
:
.
.

7.2 Определим реакцию опор в подшипниках среднего вала
|
F>r1> |
4727 |
Н |
|
F>t1> |
12986 |
Н |
|
d>1> |
72 |
мм |
|
F>a2> |
2 583 |
Н |
|
F>r>>2> |
1481 |
Н |
|
F>t>>2> |
4058 |
Н |
|
d>2> |
240 |
мм |
|
a |
97,7 |
мм |
|
b |
63 |
мм |
|
c |
49,7 |
мм |
|
L |
210,4 |
мм |
Вертикальная плоскость.
Определим опорные реакции, Н:

,
=
5833Н.

,
=8634Н.
Проверка:
.
Строим эпюру изгибающих моментов относительно оси X:
=-570
;
-429
.
-119
.


.
Горизонтальная плоскость.
Определим опорные реакции, Н:

=1573Н,

=-904Н,
Проверка:
.
Эпюры и схема нагружения подшипников нейтрального вала.
;
;

.
45
.
Строим эпюру изгибающих моментов относительно оси Y:
Строим
эпюру крутящих моментов ;
:
468
,
487
.
Определяем суммарные радиальные реакции, Н:
8681
Н,
6041
Н.
Определим
суммарные изгибающие моменты в наиболее
нагруженных сечениях,
:
590
.
431
.
7.3 Определим реакцию опор в подшипниках тихоходного вала.
|
F>r1> |
4727 |
Н |
|
F>t1> |
12986 |
Н |
|
d>1> |
288 |
мм |
|
F>м> |
1709 |
Н |
|
a |
124,5 |
мм |
|
b |
109,5 |
мм |
|
e |
178,5 |
мм |
|
L |
234 |
мм |
Вертикальная плоскость.
Определим опорные реакции, Н:


3064
Н.


8213
Н.
Проверка:
.
Строим эпюру изгибающих моментов относительно оси X:
Эпюры и схема нагружения подшипников тихоходного вала.
;
;
305
;
899
.
Горизонтальная плоскость.
Определим опорные реакции, Н:


2212
Н.


2515
Н.
Проверка:
.

Строим эпюру изгибающих моментов относительно оси Y:
;
;
0;
275
.
Строим
эпюру крутящих моментов ;
:
1870
.
Определяем суммарные радиальные реакции, Н:
3779
Н,
8589
Н.
Определим
суммарные изгибающие моменты в наиболее
нагруженных сечениях,
:
940
.
305
.
8. Проверочный расчет подшипников
Подшипник 7608 быстроходного вала, червячной передачи.
Определяем осевые составляющие радиальные реакции:
,
где e = 0,296,
Н,
Н.
Определим
осевые нагрузки подшипников. Так как
и
,
то
Н ,
Н.
Определим отношение
,

По
соотношению
и
выбираем формулу и определим эквивалентные
динамические нагрузки:
,

где V – коэффициент вращения, V=1;
X – коэффициент радиальной нагрузки, X = 0,4;
Y – коэффициент осевой нагрузки, Y = 2,096;
К>б> – коэффициент безопасности, К>б> =1,2;
К>т> – температурный коэффициент, К>т>=1;
Н.
Н.
Рассчитаем динамическую грузоподъемность по более нагруженному подшипнику:
,
где m – показатель степени, m=3,3;
<C>r>>
>= 90000H,
Подшипник пригоден.
Рассчитаем базовую долговечность;
ч>L>h>=4700ч.
Подшипник 7211 промежуточный вала, червячной передачи.
Определяем осевые составляющие радиальные реакции:
,
где e = 0,41,
Н,
Н.
Определим осевые нагрузки подшипников.
Так
как
и
,
то
Н,
Н.
Определим отношение
,

По
соотношению
и
выбираем формулу и определим эквивалентные
динамические нагрузки:
,
,
где V – коэффициент вращения, V=1;
К>б> – коэффициент безопасности, К>б> =1,2;
К>т> – температурный коэффициент, К>т>=1,0;
X – коэффициент радиальной нагрузки, X = 0,4;
Y – коэффициент осевой нагрузки, Y = 1,46;
Н.
Н.
Рассчитаем динамическую грузоподъемность по более нагруженному подшипнику:
,
где m – показатель степени, m=3,33;
<C>r>=57900H,
Подшипник пригоден.
Рассчитаем базовую долговечность;
ч>L>h>=4700ч.
Подшипник 118 тихоходного вала, цилиндрической передачи.
Так как передача является прямозубой, то осевая нагрузка отсутствует, поэтому выбираем формулу и определим эквивалентные динамические нагрузки:
,
где V – коэффициент вращения, V=1;
К>б> – коэффициент безопасности, К>б> =1,2;
К>т> – температурный коэффициент, К>т>=1,0;
Н.
Н.
Рассчитаем динамическую грузоподъемность по более нагруженному подшипнику:
,
где m – показатель степени, m=3;
<C>r>=57200H,
Подшипник пригоден.
Рассчитаем базовую долговечность;
ч>L>h>=4700
ч.
9. Проверочные расчеты
9.1 проверочный расчет шпонок
Используем в приводе шпонки призматические со скругленными торцами. Размеры сечений шпонок и пазов и длины шпонок – по ГОСТ 23360-78. Материал шпонок - сталь 40X нормализованная по ГОСТ 1050-74. Допускаемые напряжения смятия при чугунной ступице [>CM>] = 60 МПа, при стальной ступице [>CM>] = 120 МПа.
Напряжение смятия и условие прочности:
,
где А>с>>м> – площадь смятия;
,
где h, t>1> – стандартные размеры;
l>р> – рабочая длинна шпонки.
тихоходный вал:
Шпонка под полумуфту (колесо чугунное).
d = 32 мм, bh = 108 мм, t>1> = 5 мм, длина шпонки l = 50 мм, момент на валу F>t>=2583 Н.
Н
[>CM>]
= 190 Н.
Нейтральный вал:
Шпонка под червячное колесо червячной передачи (колесо чугунное).
d = 60 мм, bh = 1811 мм, t>1> = 7 мм, длина шпонки l = 32 мм, момент на валу F>t>=4058 Н.
Н
[>CM>]
= 190 Н.
Тихоходный вал:
Шпонка под зубчатое колеса цилиндрической прямозубой передачи (колесо стальное).
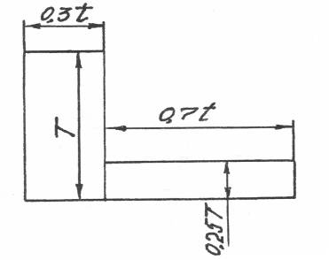
d = 105 мм, bh = 2814 мм, t>1> = 10 мм, длина шпонки l = 62 мм, момент на валу F>t>=12986 Н.
Н
[>CM>]
= 190 Н.
Шпонка под ведущее колесо открытой цепной передачи.
d = 80 мм, bh = 2214 мм, t>1> = 9 мм, длина шпонки l = 114 мм, момент на валу F>t>=12986 Н.
Н
[>CM>]
= 190 Н.
9.2 Проверочный расчет валов
Быстроходный вал.
Определим напряжения в опасном сечении вала, такими сечениями является ступени вала под червяком, сечение в точке 2 – является наиболее нагруженным участком.
Нормальное напряжение
,
где М – суммарный изгибающий момент в опасном сечении, М>2 >= 188 Н×м;
W>нетто> – осевой момент сопротивления,
мм3,
Н/мм2.
Касательное напряжение
,
где М>к> – крутящий момент в опасном сечении, М>к> = 62 Н×м;
W >рнетто> – полярный момент инерции,
мм3,
Н/мм2.
Определим предел выносливости в расчетном сечении,
,
,
где σ>-1>, τ>-1> – пределы выносливости гладких образцов при симметричном цикле изгиба и кручения, σ>-1 >= 420 Н/мм2 , τ>-1> = 0,58 σ>-1 >= 244 Н/мм2;
(К>σ>)>D>, (К>τ>)>D> – коэффициенты концентраций нормальных и касательных напряжений,
,
,
где К>σ> – коэффициент концентраций напряжений, К>σ>=1,7;
К>τ> – коэффициент концентраций напряжений, К>τ>=1,55;
К>d> – коэффициент влияния абсолютных размеров поперечного сечения, К>d>=0,7;
К>F> – коэффициент влияния шероховатости, К>F>=1,5:
1,48,
1,36.
Н/мм2,
Н/мм2.
Определим коэффициент запаса прочности,
,
.
Определим общий коэффициент запаса прочности,

Условие выполняется, вал имеет запас прочности.
Нейтральный вал.
Определим напряжения в опасном сечении вала, такими сечениями является ступени вала под шестерней, сечение в точке 2 – является наиболее нагруженным участком.
Нормальное напряжение
,
где М – суммарный изгибающий момент в опасном сечении, М>2 >= 590 Н×м;
W>нетто> – осевой момент сопротивления,
мм3,
Н/мм2.
Касательное напряжение
,
где М>к> – крутящий момент в опасном сечении, М>к> = 467,5 Н×м;
W >рнетто> – полярный момент инерции,
мм3,
Н/мм2.
Определим предел выносливости в расчетном сечении,
,
,
где σ>-1>, τ>-1> – пределы выносливости гладких образцов при симметричном цикле изгиба и кручения, σ>-1 >= 420 Н/мм2 , τ>-1> = 0,58 σ>-1 >= 244 Н/мм2;
(К>σ>)>D>, (К>τ>)>D> – коэффициенты концентраций нормальных и касательных напряжений,
,
,
где К>σ> – коэффициент концентраций напряжений, К>σ>=1,7;
К>τ> – коэффициент концентраций напряжений, К>τ>=1,55;
К>d> – коэффициент влияния абсолютных размеров поперечного сечения, К>d>=0,67;
К>F> – коэффициент влияния шероховатости, К>F>=1,5:
1,52,
1,41.
Н/мм2,
Н/мм2.
Определим коэффициент запаса прочности,
,
.
Определим общий коэффициент запаса прочности,

Условие выполняется, вал имеет запас прочности.
Тихоходный вал.
Определим напряжения в опасном сечении вала, такими сечениями является ступень вала под колесом, проходящие через точку 2.
Нормальное напряжение
,
где М – суммарный изгибающий момент в опасном сечении, М>2 >= 940,5 Н×м;
W>нетто> – осевой момент сопротивления,
мм3,
Н/мм2.
Касательное напряжение
,
где М>к> – крутящий момент в опасном сечении, М>к> = 1870 Н×м;
W >рнетто> – полярный момент инерции,
мм3,
Н/мм2.
Определим предел выносливости в расчетном сечении,
,
,
где σ>-1>, τ>-1> – пределы выносливости гладких образцов при симметричном цикле изгиба и кручения, σ>-1 >= 380 Н/мм2 , τ>-1> = 0,58 σ>-1 >= 220 Н/мм2;
(К>σ>)>D>, (К>τ>)>D> – коэффициенты концентраций нормальных и касательных напряжений,
,
,
где К>σ> – коэффициент концентраций напряжений, К>σ>=2,15;
К>τ> – коэффициент концентраций напряжений, К>τ>=2,05;
К>d> – коэффициент влияния абсолютных размеров поперечного сечения, К>d>=0,62;
К>F> – коэффициент влияния шероховатости, К>F>=1:
2,67,
2,54.
Н/мм2,
Н/мм2.
Определим коэффициент запаса прочности,
,
.
Определим общий коэффициент запаса прочности,

Условие выполняется, вал имеет запас прочности.
9.3 Тепловой расчет редуктора
Определим температуру масла в редукторе,
,
где Р>1> – мощность на быстроходном валу редуктора, Р>1> = 11 кВт;
η – коэффициент полезного действия, η = 0,72;
К>t> – коэффициент теплопередачи, К>t> = 10;
А – площадь теплоотдающей поверхности, А = 0,56;
t>в> – температура вне корпуса, t>в>> >= 200;
<[t]=800.
