Механизированное хранение продуктов на предприятиях мясной и молочной промышленности
Содержание
Введение
1. Технические средства для складирования грузов на молочных и мясных предприятиях
2. Холодильное оборудование для хранения мясных продуктов
2.1 Холодильные шкафы
2.2 Сборные холодильные камеры
3. Морозильные аппараты с интенсивным движением воздуха
3.1 Туннельный скороморозильный аппарат АСМТ
3.2 Тележечные скороморозильные аппараты
3.3 Конвейерные скороморозильные аппараты
3.4 Скороморозильный универсальный аппарат Я 10-ФАУ
4. Холодильное оборудование для хранения молочных продуктов
4.1 Резервуары для хранения молока типа В2-ОМВ-2,5
4.2 Емкость для хранения молока
4.3 Емкости-термосы для хранения молока ЕТ
Заключение
Список используемой литературы
Введение
В настоящее время качеству продукции во всех отраслях промышленности уделяется огромное внимание. Не стала исключением мясная и молочная промышленность. Как следствие, самые высокие требования предъявляются и к холодильному оборудованию, поскольку от соблюдения технологии охлаждения, заморозки и хранения мясной и молочной продукции зависит товарный вид, качество, величина потерь в процессе переработки.
В условиях сезонности и неритмичности грузопотоков на предприятиях мясной и молочной промышленности необходимо выравнивать ритмы поступления и отправления грузов, чтобы обеспечить непрерывность производственных процессов. Для этого предназначены различные склады для штучных и сыпучих грузов.
1. Технические средства для складирования грузов на молочных и мясных предприятиях
Складирование грузов широко используется в мясной и молочной промышленности. После определения типоразмера укрупненной грузовой единицы необходимо выбрать способ хранения (штабельный или стеллажный), рекомендовать вид штабелирующего оборудования, для работы в зоне хранения и организовать работы на фронтах погрузки и разгрузки.
Основная масса штучных грузов приходится на продукцию, фасованную в мелкую потребительскую тару, которая затем пакетируется в укрупненные единицы. Хранение такой продукции возможно в штабелях, сложенных из пакетов в два или три яруса по высоте (Н=3-4 м) при низком коэффициенте использования склада.
Укладка пакетированного груза в штабель на большую высоту (до 8 м и более) не обеспечивает надежной устойчивости и, следовательно, безопасности ПРТС-работ.
Хранение грузов на стеллажах по сравнению со штабельным хранением имеет следующие преимущества: увеличивает коэффициенты использования объема складов, доступность к любому грузу во время хранения, более легко организовывать учет грузов и лучше сохраняются грузы.
Недостаток состоит в более высокой строительной стоимости и металлоемкости.
Стеллажные склады можно разделить на следующие группы: клеточные, блочные стеллажи подвижного хранения. Наибольшее распространение получили склады клеточные двухрядные каркасные.
Пример компоновки склада штучных грузов, уложенных в тару-оборудование с размещением на стеллажах подвижного хранения на молочном комбинате, показан на рис.1. Укрупненной транспортной единицей является тара-оборудование стандартных размеров 600х400х1200 мм на колесах.
В конце 80-х годов ХХ века литовским филиалом ВНИИ маслосыроделия проведен комплекс научно-исследовательских и опытно-конструктивных работ, позволивших создать комплект оборудования Я17-ОКС для механизированного сырохранилища, обеспечивающий механизацию ПРТС-работ в камерах созревания сыра и увеличения коэффициента их заполнения.
Сборно-разборные стационарные стеллажи с настилом используют на предприятиях мясной промышленности для складирования и хранения различных грузов на поддонах и в таре, а также пакетированных и штучных грузов при температуре -40 – (+40) оС. Стеллажи изготавливают с креплением полок к рамам при помощи скоб, с допускаемой нагрузкой на ячейку до 2 т.
Основными частями стеллажа являются рама и полки. Размеры рамы и полок зависят от условий хранения грузов, конструкции и габаритных размеров складируемой тары, а также от возможной высоты ее размещения. Благодаря наличию перфорации шаг ячеек стеллажа по высоте можно изменить в широких пределах. Полки к рамам стеллажей крепят при помощи быстросъемных скоб.
Конструкция элементов стеллажей дает возможность собирать стеллажи различной длины и с различной высотой. Количество ячеек по высоте должно приниматься в зависимости от размеров грузов, применяемых средств механизации и высоты помещения.

Рис. 1. Компоновка склада тары и продукции молочного комбината: 1 - приемные цепные накопители для порожней тары; 2 - штабеле-ры для перемещения и штабелирования порожней тары - оборудования; 3 - пути штабелеров; 4 - цепные толкающие конвейеры в складе посуды (двухярусные) и в складе продукции (трехярусные); 5-конвейерные коммуникации в цехе розлива
2. Холодильное оборудование для хранения мясных продуктов
В зависимости от задач холодильной обработки и предполагаемых сроков хранения мясо и мясопродукты подвергают охлаждению, подмораживанию и замораживанию.
Охлаждение мяса – это понижение температуры в толще туши до +4…-1 °С. Продолжительность хранения зависит от вида сырья, исходной микробиологической обсемененности, рН, ряда других факторов и составляет от 5 до 16 суток.
Подмораживание мяса ведут при температуре на 2…3 °С ниже криоскопической. Толщина подмороженного слоя не должна превышать 4 см. При этом длительность хранения должна быть не более 20 суток.
Замораживание – один из наиболее распространенных методов консервирования мяса, позволяющий сохранить питательные и большую часть вкусовых качеств свежего мяса в процессе длительного хранения продукта. Замороженное мясо имеет температуру в толще мышц бедра не выше -8 °С. Продолжительность хранения зависит от температуры и вида мяса и составляет 6…12 месяцев и более.
Холодильное оборудование, применяемое на мясоперерабатывающих предприятиях малой и средней мощности, предназначено для холодильной обработки и хранения мяса и продуктов его переработки. С этой точки зрения данное оборудование условно можно разделить на две большие группы – универсальное и специальное.
К универсальному оборудованию, позволяющему наряду с холодильной обработкой и хранить продукцию, относят холодильные шкафы и сборные холодильные камеры.
Группу специального оборудования составляют морозильные аппараты с интенсивным движением воздуха, плиточные морозильные аппараты и криогенные морозильные агрегаты и линии. Это оборудование не предназначено для хранения продукции, а осуществляет только ее холодильную обработку.
2.1 Холодильные шкафы
Холодильные шкафы на малых перерабатывающих предприятиях служат для кратковременного хранения сырья и готовой продукции.
Промышленность выпускает среднетемпературные (ШХ) и низкотемпературные (ШН) холодильные шкафы. Основные технические данные некоторых из них приведены в табл.1.
1.Техническая характеристика холодильных шкафов типа ШХ и ШН
|
Показатель |
ШХ – 0,80 |
ШХ – 1,12 |
ШХ – 1,40 |
ШН – 1,0 |
|
Температура воздуха в шкафу, °С |
1…3 |
1…3 |
0…8 |
-16…-18 |
|
Охлаждаемый объем, м³ |
0,8 |
1,12 |
1,4 |
1 |
|
Площадь поверхности, м Полок и дна Испарителя |
2,7 4 |
3,1 6,5 |
5 |
4,8 |
|
Марка холодильного агрегата |
ВС-500 |
АСТ-3,2 |
ВС630(2) |
ВН-630(2) |
|
Расположение холодильного агрегата относительно охлаждаемой камеры |
нижнее |
верхнее |
верхнее |
Верхнее |
|
Габаритные размеры, мм |
1500х750х1820 |
1565х785х1825 |
1500х800х2000 |
1500х800х2000 |
|
Масса, кг |
300 |
400 |
250 |
215 |

Рис. 2. Холодильный шкаф ШХ-1,40К:1 — Поллом для талой волы; 2 — корпус шкафа; 3— поддон воздухоохладителя; 4— трубка отвода талой воды; 5 — теплоизолированная плита; 6 — терморегулирую-1ШШ вентиль; 7—холодильный агрегат; 8— щит управления и сигнализации; 9—сигнальная лампа; 10 — манометрический термометр; 11 — щит электрооборудования; 12— воздухоохладитель; 13— опорные скобы для функциональных емкостей; /-/—емкость; 15 — дверь; 16— уплотнение дверей.
Холодильный шкаф ШХ-1,40 состоит из корпуса и машинного отделения. Корпус собран из панелей, выполненных в виде металлических рам, облицованных с внутренней стороны листами из алюминиевого сплава, а с наружной – стальными, лицевая сторона которых окрашена в белый цвет. Между обшивками находится теплоизоляция – пенополистирол. В более совершенных конструкциях шкафов пространств между обшивками залито пенополиуретаном.
Плотность прилегания дверей обеспечивается поливинилхлоридной прокладкой, магнитной вставкой и специальным замком с ключом. Охлаждаемый объем освещается лампой накаливания, которая автоматически включается при открывании двери шкафа и выключается при ее закрывании.
В большинстве холодильных шкафов машинное отделение расположено над охлаждаемым объемом. Все узлы холодильной машины установлены на теплоизолированной плите. На ее верхней поверхности размещены холодильный агрегат с фильтром-осушителем, теплообменник, терморегулирующий вентиль и шкаф электрооборудования, на нижней – воздухоохладитель, лампа освещения и микропереключатель.
В холодильных шкафах ШХ – 1,40 и ШН – 1,0 продукт охлаждается за счет активного перемещения воздуха, подаваемого вентилятором воздухоохладителя. В холодильных шкафах с испарителем теплоноситель перемещается благодаря разности удельного веса холодного и теплого воздуха.
2.2 Сборные холодильные камеры
Сборные холодильные камеры служат для кратковременного хранения охлажденных (КХС) или длительного хранения замороженных (КХН) продуктов. Конструктивно оно бывают трех типов: щитовые, панельные и блочные.
Камеры щитового типа собирают из отдельных щитов (стеновых, напольных и потолочных).
Камеры панельного типа имеют унифицированные стеновые плоские панели, угловые и Т-образные элементы для перегородок, что позволяет собирать их с внутренним объемом от 6 до 300 м³. Камеры этого типа наиболее перспективны, так как их панели имеют заливную теплоизоляцию. Камеры удобно транспортировать, они оборудованы встроенными узлами для стыковки, что упрощает их сборку.
Камеры блочного типа состоят из готовых блоков (стеновых, П-образного вида, машинного блока и т.д.). Потребителю их поставляют вместе с холодильным агрегатом, полностью готовым к работе.
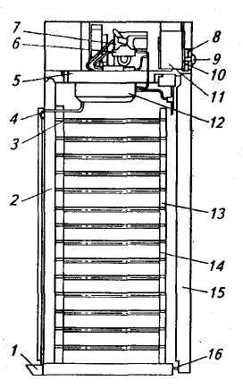
Для мясоперерабатывающих предприятий малой и средней мощности выпускают низкотемпературные камеры КХН-1-8,0 и КХН-1-8,0К панельного типа.

Рис.3. Сборная низкотемпературная камера КХН-1-8,0: о —разрез; б— вид спереди: / — панель пола; .2—боковая панель; 3 — за* ( к двери; 4— дверь: 5 — лампа; б—панель двери; 7—шкаф электрооборудования; 8 — термо; егулируюшмй вентиль; 9 —холодильный агрегат; 10— воздухоохладитель; /7 —короб; /2—отражатель; 13 — труба; 14— крюк; 75—панель потолка; /6—решетка-полка; /7—ограждение холодильного агрегата; 18— щит управления
В камере КХН-1-8,0 (рис.3) замороженные продукты хранят на полках-решетках, а мясные туши подвешивают на крюки. Полки-решетки можно регулировать по высоте. В камере КХН-1-8,0К продукты хранят в передвижных контейнерах (размерами 800х700х1700 мм) с колесами.
Камера КХН-1-8,0 собрана из панелей, соединенных эксцентриковыми стяжками. Плотное прилегание панелей друг к другу достигается соединением типа шип-паз.
Дверь, подвешенная на самозакрывающихся петлях, представляет собой теплоизолированную пенополиуретаном панель с закрепленным по периметру уплотнителем. К дверному проему она прижимается специальным запором, который закрывается снаружи ключом и открывается без ключа изнутри. На панели двери установлен щит управления с расположенными на нем выключателем освещения в камере и манометрическим термометром для контроля температуры в камере.
На потолочных панелях в передней части камеры размещены две блочные низкотемпературные машины МХНК-630. Они снабжены системами автоматического оттаивания испарителя и выпаривания воды, образующейся при таянии снеговой шубы. В потолочных панелях имеются отверстия, обеспечивающие циркуляцию воздуха через воздухоохладители, расположенные над этими отверстиями. Воздухоохладитель герметично закрыт теплоизолированным коробом. Вентилятор воздухоохладителя отключается автоматически микровыключателем при открывании двери.
В передней части камеры над дверью установлен шкаф электрооборудования, в котором размещены приборы автоматики управления, пускозащитная аппаратура и другие элементы электрической схемы машины.
Конструкция среднетемпературных камер КХС-1-8,0 и КХС-1-8,0К аналогична конструкции низкотемпературных. В их состав входит блочная холодильная машина МХК-100, работающая на R-12.
3. Морозильные аппараты с интенсивным движением воздуха
Среди аппаратов, в которых в качестве теплоотводящей среды используется газ (диоксид углерода, воздух), наибольшее распространение получили аппараты с интенсивным движением воздуха. Они состоят из грузового отсека, в котором помещается замораживаемый продукт, и воздухоохладителей. Последние в зависимости от конструкции могут находиться рядом с грузовым отсеком, под ним или над ним.
Секции воздухоохладителей изготавливают из гладких или из оребренных труб, в которых кипит хладагент. Циркуляция его осуществляется с помощью насоса или за счет разности давлений конденсации и кипения. В зависимости от способа замораживания продуктов и типа перемещающих их средств морозильные аппараты делят на туннельные, тележечные, конвейерные и универсальные.
3.1 Туннельный скороморозильный аппарат АСМТ (рис.4) состоит из морозильной камеры, испарителей, вентиляторов воздухоохладителя и тележек
Предназначенные для замораживания продукты укладывают в лотки (ящики), устанавливаемые на тележки, и помещают в морозильную камеру перпендикулярно потоку холодного воздуха. При прохождении через ребристо-трубные испарители воздух охлаждается до температуры – 35 °С. Циркуляция его осуществляется с помощью осевых вентиляторов. В конструкции аппарата применены модульные теплоизоляционные панели, которые соединяются друг с другом по типу шип-паз.
Замораживание продукта до – 18 °С продолжается 3,5…4 ч. Число тележек (от 3 до 6) зависит от длины камеры (2600,3800, 4400 и 5600 мм).
Скороморозильные аппараты АСМТ работают по циклическому принципу – рабочий цикл замораживания чередуется с подготовительным,
При котором в трубы воздухоохладителя насосом подается горячая вода для снятия с них снеговой шубы. Полученная при этом вода стекает в специальный поддон.

Рис. 4. Скороморозильный аппарат туннельного типа АСМТ:1 — морозильная камера; 2— испаритель; 3 — вентилятор; 4 — тележка с продуктом.
3.2 Тележечные скороморозильные аппараты
Тележечные скороморозильные аппараты в конструктивном плане почти не отличаются от сборных низкотемпературных камер. Наиболее существенное отличие – использование более мощных холодильных систем, имеющих, как правило, автономный холодильный агрегат. При этом последний работает только на аммиаке. Недостатки аппаратов тележечного типа и сборных камер также одинаковы: плохо используется длина аппарата, много затрачивается ручного труда при погрузо-разгрузочных операциях.
3.3 Конвейерные скороморозильные аппараты
Конвейерные скороморозильные аппараты позволяют в определенной степени избавиться от указанных недостатков. Эти аппараты состоят из грузового отсека и воздухоохладителей. Последний располагают таким образом, чтобы обеспечить эффективное охлаждение перемещаемого конвейером продукта.
По виду конвейерные аппараты подразделяют на аппараты с ленточным и цепным (зигзагообразным или спиральным) конвейером.
Морозильные аппараты с ленточным конвейером обычно применяют для замораживания фасованных продуктов. Морозильные аппараты со спиральным конвейером широко распространены при охлаждении мяса и рыбы. Ими оснащены суда-рефрижеракторы. Зарубежные фирмы также выпускают целый ряд аппаратов, имеющих спиральный конвейер. Несмотря на сложную пространственную конструкцию спирального конвейера, аппараты этого типа имеют меньшие габариты и большую производительность по сравнению с другими.
3.4 Скороморозильный универсальный аппарат Я 10-ФАУ
Скороморозильный универсальный аппарат Я 10-ФАУ (рис.5) состоит из морозильной камеры, воздухоохладителя, конвейеров, привода и лотка.
Движение конвейеров осуществляется от одного многоскоростного привода. Продукт загружается на одну из двух поверхностей рабочего органа конвейера, которые периодически меняются по мере движения вдоль аппарата. Воздух с помощью вентиляторов подается на трубчатый испаритель, охлажденный до -30…- 35°С, он обдувает движущийся продукт. В конце процесса замораживания продукт поступает на нижний конвейер и по разгрузочному лотку удаляется из аппарата. Время нахождения замораживаемого продукта в аппарате регулируется скоростью движения конвейера и составляет 0,8…3,5 ч. В качестве хладагента в аппарате используют аммиак, циркулирующий в охладительной системе с помощью насоса.
Конструкция аппарата позволяет поставлять его укрупненными узлами, что значительно сокращает длительность монтажных работ. Производительность его при охлаждении мяса 500…1000, при замораживании – 300…500 кг/ч.

Рис. 5. Скороморозильный универсальный аппарат Я10-ФАУ:
1 — морозильная камера; 2 — воздухоохладитель; 3, 4— конвейеры; 5— привод; б — лоток
4. Холодильное оборудование для хранения молочных продуктов
В целях торможения развития микроорганизмов, ферментативных и физико-химических процессов при охлаждении молочного сырья и молочных продуктов температуру понижают до 2 – 10 °С и хранят их при этой температуре до переработки.
Длительное хранение молочного сырья и молочных продуктов можно обеспечить в условиях низких температур за счет торможения развития микробиологических процессов и существенного понижения скорости ферментативных и физико-химических реакций. При замораживании происходят более заметные изменения физико-химических и биохимических процессов, чем при охлаждении, причем глубина их зависит от скорости замораживания и температуры хранения замороженных продуктов. С целью хранения на предприятиях молочной промышленности используют резервуары и емкости различных конструкций.
4.1 Резервуары для хранения молока типа В2-ОМВ-2,5
Резервуары для хранения молока типа В2-ОМВ-2,5 предназначены для хранения охлажденного молока на предприятиях молочной промышленности.
Устройство. Цилиндрический сосуд состоит из внутреннего и наружного корпуса – изготовленного из высококачественной листовой стали. Пространство между корпусами заполнено термоизоляционным материалом.
В верхней части резервуара расположены моечное устройство, датчик верхнего уровня, воздушный клапан и смотровое окно. В нижней части резервуара имеются перемешивающее устройство, датчик нижнего уровня молока, опоры.
Резервуар наполняется и освобождается через нижний патрубок. Перемешивающее устройство включается автоматически или вручную через каждые 4 ч после интенсивного перемешивания в течение 15 мин разность жирности молока в различных точках резервуара составляет не более 0,1%.

Рис.6. Резервуары для хранения молока типа В2-ОМВ-2,5
1 - рабочий резервуар; 2 - теплоизоляция; 3 - кожух; 4 - мешалки; 5 - смотровое окно; 6 - люк; 7 - мешалки; 8 - опорные ножки; 9 - сливной патрубок; 10 - термометр; 11- наливная труба
4.2 Емкость для хранения молока
Емкость для хранения молока ппредназначена для хранения охлажденного молока на предприятиях молочной промышленности.
Емкость состоит из алюминиевого корпуса, защищенного стальным кожухом (пространство между ними заполнено изоляционным материалом).
Для отвода и подвода воздуха при заполнении резервуара молоком и сливе молока предусмотрен воздушный клапан с фильтром.
Контролирующий термометр с дистанционной передачей показаний установлен на переднем днище резервуара, показывающий прибор термометра - в электрошкафу. В резервуар поступает охлажденное молоко через патрубок наполнения, расположенный внизу, что исключает пенообразование.
Насосом автоматически перемешивается молоко, осуществляется контроль температуры и предельных уровней при заполнении и освобождении резервуара, санитарная обработка его внутренней поверхности производится с помощью моечных головок.

Рис.7 Емкость для хранения молока
4.3 Емкости-термосы для хранения молока ЕТ
Емкости-термосы для хранения молока ЕТ предназначены для хранения охлажденного молока на предприятиях молочной промышленности. Емкость состоит из нержавеющего корпуса, защищенного стальным кожухом (пространство между ними заполнено изоляционным материалом). Для отвода и подвода воздуха при заполнении резервуара молоком и сливе молока предусмотрен воздушный клапан с фильтром. Контролирующий термометр с дистанционной передачей показаний установлен на переднем днище резервуара, показывающий прибор термометра в электрошкафу. В резервуар поступает охлажденное молоко через патрубок наполнения, расположенный внизу, что исключает пенообразование. Насосом автоматически перемешивается молоко, осуществляется контроль температуры и предельных уровней при заполнении и освобождении резервуара. Санитарная обработка его внутренней поверхности производится с помощью моечных головок.
Заключение
Холодильная обработка пищевых продуктов является весьма дорогостоящей технологической операцией и нередко связана с применением озонирующих веществ, запрещенных к применению во многих странах мира. Поэтому совершенствование оборудования для хранения мясной и молочной продукции ведут в двух направлениях: улучшение конструктивных параметров морозильных аппаратов и применение принципиально новых источников получения холода.
Первое направление реализуется при создании таких морозильных аппаратов, в которых существенно улучшается процесс теплообмена между охлаждаемым продуктом и хладагентом. В этом отношении наиболее перспективными являются морозильные аппараты со спиральным конденсатором и плиточные аппараты, а также криогенные морозильные аппараты.
Второе направление связано с разработкой озонобезопасных хладагентов и совершенствованием турбохолодильных машин.
Список используемой литературы
1. А.А. Курочкин, В.В. Лященко «Технологическое оборудование для переработки продукции животноводства», М.: Колос, 2001г.
2. Ю.В. Краснокуцкий «Механизация первичной обработки молока», М.: Колос, 1979г.
3. Якушев, Белухин, учебное пособие «Механизация ПРТС работ на предприятиях молочной и мясной промышленности».
4. www.zavprogress.ru
1