Модель системы управления на базе приборов комплекса Контар (КМ800)
Министерство образования и науки Украины
Донбасская государственная машиностроительная академия
Кафедра "Автоматизация производственных процессов"
Практическая работа по ОКИУ
"Модель системы управления на базе приборов комплекса КОНТАР (КМ800)"
Цель работы: изучить приборы комплекса КОНТАР : контроллеры МС8, МС5, модули релейные MR8.
ТЕОРЕТИЧЕСКИЕ СВЕДЕНИЯ
Модель системы управления предназначена для обучения персонала, занимающегося проектированием и эксплуатацией систем автоматического регулирования и управления на базе приборов комплекса КОНТАР (КМ800).
Модель системы позволяет подключить входящие в ее состав приборы, объединенные в сеть по интерфейсу RS485, к последовательному порту персонального компьютера с помощью интерфейса RS232C.
Имеется возможность подключать сеть входящих в состав модели приборов с помощью встроенного миниатюрного Web-сервера к локальной сети Ethernet или к Internet.
С помощью компьютерной программы Console реализуются следующие возможности:
- загрузка во все приборы bin-файлов проекта системы управления, разработанного с помощью инструментальной системы программирования КОНГРАФ;
- контроль входных и выходных сигналов, используемых в системе, а также параметров функциональных узлов, используемых в системе;
- оптимальную настройку замкнутых контуров регулирования, реализованных в проекте;
- переключение режимов управления "автомат-ручное" и "ручное" управление выходами;
- программирование действий системы с помощью планировщика, если это предусмотрено проектом;
- контроль возникновения отказов сиcтемы и действие таймеров, если это предусмотрено проектом.
С помощью встроенного Web-сервера работа модели может быть представлена в локальной сети или в Internet в виде Web-проекта, позволяющего осуществлять мониторинг системы.
Аппаратный состав модели системы управления
Схема подключения оборудования, входящего в состав модели, показана на рис. 1.
Модель включает в себя следующие приборы и узлы: контроллер МС8.2022112 (питание ~24В, симисторные выходы, интерфейсные субмодули RS232C, Ethernet, часы-календарь, процессор C8051F125); контроллер МС5.100 (без пульта, без интерфейсного субмодуля); модуль релейный MR8.1232 или MR8.1222 (с пультом, 2 симисторных + 2 релейных выхода (или 4 релейных выхода), процессор C8051F311 (MR8-C); термисторТМ1 типа 10кОм-2; датчик ACI/RH, включающий термистор ТМ2 типа 10кОм-2 и датчик влажности с выходом 0-10В; тумблеры S1, S2; исполнительный механизм Belimo LM24SM (питание ~24В, управление 2-10В, датчик положения 2-10В); индикаторные лампы HL1, HL2, HL3, HL4 (~24В); лампа накаливания HL5 (-220В, 60Вт); автомат питания QF1 (6,ЗА).
Приборы МС8, МС5, MR8-C объединены в сеть по интерфейсу RS485 (клеммы А, В, SG). MC8 выполняет роль master-контроллера, МС5, MR8-C являются slave-контроллерами.
Master-контроллер МС8 подключается по интерфейсу RS232C к последовательному порту компьютера для работы с программой Console, a также может подключаться к локальной сети Ethernet с возможным выходом в Internet.
В приборе МС8 задействованы следующие аппаратные входы-выходы:
к дискретным входам DM, DI.2 подключены тумблеры S1, S2 (имитаторы датчиков отказа);
к аналоговому входу AI.1 подключен датчик положения Belimo (регулируемый параметр);
к аналоговому входу AI.2 подключен термистор ТМ1, измеряющий температуру поверхности лампы накаливания HL5 (регулируемая температура терморегулятора);
к аналоговому входу AI.3 подключен термистор ТМ2 датчика ACI/RH (контроль температуры в помещении);
к аналоговому входу AI.4 подключен датчик влажности ACI/RH (контроль влажности в помещении);
к аналоговому входу АО.4 подключена цепь управления Belimo (регулирующее воздействие);
дискретный выход DO.1 задействован для сигнализации отказа (внешние цепи не подключены; при необходимости может быть подключен индикатор на 24В постоянного тока).
В приборе МС5:
к дискретным выходам DO.3, DO.4 подключены индикаторы HL1, HL2 для сигнализации предельных отклонений при регулировании положения выходного органа Belimo;
дискретные выходы DO.1, DO.2, DO.5 доступны для ручного управления с Console (внешние цепи не подключены).
В приборе MR8-C:
к дискретному выходу DO.1 подключена лампа накаливания HL5, входящая в состав терморегулятора;
к дискретным выходам DO.3, DO.4 подключены индикаторы HL3, HL4, сигнализирующие работу импульсатора;
дискретный выход DO.2 доступен для ручного управления с Console (внешние цепи не подключены).
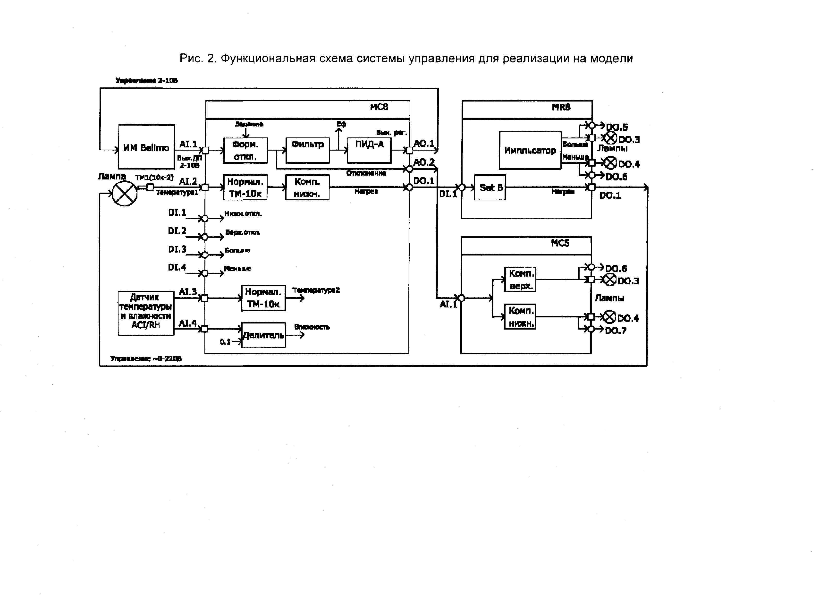
Функциональная схема системы управления для реализации на модели
Пример функциональной схемы системы управления для возможной реализации на модели показан на рис. 2.
В схеме реализованы 2 замкнутых контура регулирования:
регулятор положения выходного органа Belimo с сигнализацией предельных отклонений;
регулятор температуры поверхности лампы HL5 (терморегулятор).Дополнительно реализован контроль температуры и влажности в помещении.
Кроме того, в приборе MR8-C реализован импульсатор, управляющий индикаторами HL3, HL4. Состояние индикаторов передается по интерфейсу RS485 в МС8 для контроля.
Регулятор положения. Выходной сигнал датчика Belimo (ДП) поступает в МС8, где сравнивается с заданием, формируя отклонение. Сигнал отклонения фильтруется фильтром, постоянная времени которого является параметром настройки. Учитывая, что Belimo обладает собственной постоянной времени ИООсек, получаем объект регулирования второго порядка, одну из постоянных которого можно произвольно задавать. Отфильтрованное отклонение Еф отрабатывается аналоговым ПИД-регулятором (ПИД-А), выходной сигнал которого управляет Belimo, обеспечивая соответствие положения выходного органа заданию.
Имеется возможность производить оптимальную настройку ПИД-регулятора для объектов с различными постоянными времени фильтра. Для сигнализации предельных отклонений сигнал отклонения из МС8 передается по интерфейсу RS485 в МС5, где сравнивается с уставками компараторов верхнего и нижнего уровней. Компараторы управляют индикаторами HL1, HL2. Состояние индикаторов передается обратно в МС8 для контроля.
Терморегулятор.Температура поверхности лампы HL5 измеряется термистором ТМ1, сигнал которого поступает в МС8, где после нормализации сравнивается с уставкой компаратора нижнего уровня.Если температура лампы HL5 ("температура 1") ниже уставки, компаратор включен, его сигнал по интерфейсу RS485 передается в MR8-C и управляет симисторным (релейным) выходом D0.1 последнего. Этот выход включает питание лампы (-220В), обеспечивая ее нагрев. При достижении заданного уровня температуры выход компаратора, а значит и выход DO.1 MR8-C отключаются, снимая питание с лампы. Таким образом, осуществляется двухпозиционное регулирование температуры. Параметром настройки регулятора является зона возврата компаратора.
Проект системы управления для реализации на модели
Пример проекта системы управления, разработанный с помощью инструментальной системы программирования КОНГРАФ в соответствии с описанной в п. 3 функциональной схемой, показан на рис. 3-6.
Главный проект "Model_System" показан на рис. 3. На поле главного проекта размещены блоки всех приборов, входящих в сеть (МС8, МС5, MR8-C). С учетом типа процессора нужно выбрать блок МС8-125.В блоке каждого прибора предусмотрено необходимое количество аппаратных дискретных и аналоговых входов-выходов для подключения внешних соединений (в проекте отмечены квадратиками) и виртуальных дискретных и аналоговых входов-выходов для передачи информации по интерфейсу RS485. Общее количество входов-выходов каждого блока, задается при его проектировании на КОНГРАФе в закладке "Arrays" пункта "Properties" (см. описание системы КОНГРАФ). Связь необходимого количества входов-выходов с аппаратными ресурсами блока задается в пункте "I/O Connections". Виртуальные выходы источников информации соединяются при разработке главного проекта линиями с виртуальными входами приемников информации в соответствии с функциональной схемой.
Проект "MC8_Model".
Проект master-контроллера "MC8_Model" показан на рис. 4. Регулятор положения построен следующим образом. Сигнал датчика (2-10В) регулируемого параметра (ДП Belimo) с аппаратного входа А1[1] поступает на функциональный блок (ФБ) нормализатора "Voltage", преобразуется в проценты ФБ "Phisical" и вычитается с помощью ФБ "Diff" из сигнала задатчика "Set A". Полученный параметр "Отклонение" подключен к виртуальному аналоговому выходу АО[2] передачи по сети в МС5 и ко входу ФБ "Filter". Отфильтрованный сигнал Е>ср> подан на вход аналогового ПИД-регулятора (ФБ "PID АО"), который через аппаратный выход АО[1] управляет Belimo. Для организации ручного управления выбран тип ФБ "PID АО with override mode" (с дополнительным воздействием).
Терморегулятор воспринимает сигнал термистора, измеряющего температуру лампы, с аппаратного входа А1[2], который через нормализатор (ФБ "Therm 10K") управляет компаратором (ФБ "LowCmp"), выход которого подключен к виртуальному выходу DO[1]. Последний через сеть и прибор MR8-C управляет нагревом лампы.
Измерение параметров воздуха в помещении организовано следующим образом. Температура измеряется термистором, подключенным к аппаратному входу Al[3] и нормализуется ФБ "Therm 10K". Сигнал датчика влажности, подключенного к аппаратному входу Al[4], преобразуется в проценты путем деления на коэффициент К=0,1 с помощью ФБ "Div".
Индикация работы дискретных выходов МС5 и MR8-C осуществляется путем передачи их по сети на виртуальные дискретные входы МС8 Dl[1]-Dl[4], после чего с помощью ФБ "Set В" каждый из них выводится на индикацию.
Сигнализация отказов реализована следующим образом. Дискретные виртуальные входы Dl[5], Dl[6] подключены к аппаратным дискретным входам соответственно DM, DI.2 (см. рис. 3), на которые подаются сигналы от имитаторов отказов. Далее они суммируются по схеме "И" (ФБ "And") и подаются на фильтр отказов (ФБ "Alarm"). Фильтр "Alarm" отсеивает случайные кратковременные отказы.
Если оба имитатора замкнуты достаточно долгое время (несколько секунд), фильтр срабатывает и включает виртуальный выход DO[2], подключенный к аппаратному дискретному выходу DO.1. Списки параметров. В проекте предусмотрены следующие списки параметров для индикации на Console:
Список "МС8" - для индикации параметров объекта и параметров настройки ПИД-регулятора положения, для переключения в режим "ручное" и ручного управления выходом, предусмотрена возможность "заморозить" выход ПИД-регулятора.
Список "МС5" - индицирует состояние индикаторов предельных отклонений, поступающее из МС5.
Список "МС8" - индицирует состояние выходов импульсатора, поступающее из MR8-C.
Список "Измерения" - индицирует температуру лампы терморегулятора, температуру и влажность воздуха в помещении.
Список "Терморегулятор" - индицирует температуру лампы терморегулятора, состояние выхода "Нагрев", позволяет устанавливать задание и зону возврата.
Список "Отказы" - индицирует срабатывает каждого из имитаторов отказов, возникновение общего отказа/дает возможность сбросить отказ.
Проект "MC5_Model".
Проект slave-контроллера "MC5_Model" показан на рис. 5.На виртуальный аналоговый вход А1[1] по сети подается сигнал отклонения из регулятора положения из МС8. Далее он подается на компараторы верхнего и нижнего уровней (ФБ "UpCmp", "LowCmp"), которые управляют аппаратными выходами DO[3], DO[4] и соединенными с ними виртуальными выходами DO[6] и DO[7] соответственно. Аппаратные выходы управляют индикаторами HL1, HL2 (рис. 2), а виртуальные - передают информацию в МС8.
В проекте предусмотрен список "Выходы", в котором индицируется состояние сигнализаторов предельных отклонений и устанавливаются величины уставок их срабатывания (Е>нижн>>0, Е>верх><0). 4.4.
Проект "MR8_Model".
Проект slave-прибора "MR8_Model" показан на рис. 6. На виртуальный вход Dl[1] по сети поступает сигнал с выхода терморегулятора МС8, который далее через ФБ "Set В" управляет аппаратным дискретным выходом DO[1], к которому подключена лампа HL5 регулятора температуры (рис. 2).
В проекте предусмотрен импульсатор для управления индикаторами HL3. HL4 (рис. 2). Импульсатор включает ФБ "Pulses", вырабатывающий импульсы с заданным периодом и скважностью. В проекте предусмотрена скважность 50%, период Юсек. Таким образом, импульс и пауза равны беек. Пуск импульстора производится с помощью ФБ "Set В". Блок "Pulses" через ФБ задержки "Delay_L" управляет аппаратным дискретным выходом DO[03] и соединенным с ним виртуальным выходом DO[05]. Одновременно блок "Pulses" через логическое звено "Not" и второй блок задержки "Delay_L" управляет аппаратным дискретным выходом DO[4] и соединенными с ним виртуальным выходом DO[6]. Таким образом, аппаратные выходы DO[3], DO[4] включают/выключают в противофазе (с задержкой Исек) индикатора HL3, HL4 (рис. 2), а виртуальные выходы DO[5], DO[6] передают информацию в МС8. В проекте предусмотрен список "Выходы", в котором индицируется состояние выходов импульсатора, состояние выхода "Нагрев" терморегулятора, а также производится пуск или останов импульсатора.



