Модернизация конструкции красочного аппарата офсетной листовой печатной машины с индивидуальными приводами всех его цилиндров и накатных валиков
Министерство образования Российской Федерации
САНКТ-ПЕТЕРБУРГСКИЙ ГОСУДАРСТВЕННЫЙ
ПОЛИТЕХНИЧЕСКИЙ УНИВЕРСИТЕТ
Механико-машиностроительный факультет
Кафедра «Полиграфические машины и автоматизированные комплексы»
Курсовой проект
По дисциплине «Проектирование полиграфических машин»
Тема работы: «Модернизация конструкции красочного аппарата офсетной листовой печатной машины с индивидуальными приводами всех его цилиндров и накатных валиков»
Студент гр/
Матвеев Е.А
Руководитель
Солонец И.П
Санкт – Петербург 2009
Реферат
Курсовой проект включает пояснительную записку и 5 листов чертежей формата А1.
Пояснительная записка содержит страницы машинописного текста, включает рисунков, таблиц.
Ключевые слова: красочный аппарат, растирочные цилиндры, осевое перемещение растирочных цилиндров, регулировка, балансировка, технологичность конструкции, скорость машины.
Аннотация
В данном курсовом проекте описывается способ модернизации красочного аппарата офсетной листовой печатной машины ОФСЕТ - 52 -1, в частности модернизация приводов осевого растира цилиндров. Предлагается метод регулировки с изменением числа двойных ходов с целью получения требуемой толщины красочного слоя. Также предлагается регулировка числа качания передаточного валика с целью получения требуемого количества краски на валиках, в зависимости от сложности изображения на форме.
Введение
Выпуску печатной продукции в России придается большое значение. Правительство уделяет большое внимание развитию полиграфической техники, увеличению выпуска печатной продукции.
Основное назначение печатного оборудования отражено в его названии и заключается в выполнении технологического процесса печатания, т.е. многократного получения идентичных оттисков путем нанесения краски на материал, поэтому построение ротационного печатного аппарата из одних цилиндров исключает необходимость из холостых ходов или неравномерного вращения и позволяет работать с высокой постоянной скоростью. Поэтому листовые ротационные машины строятся только в виде автоматов.
По отношению к запечатываемым материалам листовые ротационные машины универсальны в достаточно широких пределах; на одной и той же машине могут запечатываться листы с поверхностной плотностью от 30 до 1000 г/м2, толщиной от 0,04 до 1,8 мм.
Область применения листовых ротационных машин исключительно широка - от размножения конторской и графической документации и печатания простейшей текстовой продукции до изготовления книг, журналов, плакатов, высокохудожественных открыток; многокрасочных репродукций и ценных бумаг.
Основные классификационные признаки листовых ротационных машин:
- способ печати;
- красочность получаемого за один прогон оттиска;
- число запечатываемых за один прогон сторон; формат;
- тип печатного аппарата.
Красочный аппарат - часть печатной машины, служащая для нанесения на форму краски, необходимой для получения оттиска.
1. Обзор и анализ существующих красочных аппаратов
Различные схемы красочный аппаратов

Схемы красочных аппаратов для офсетных печатных секций: Speedmaster 102 (Heidelberg), Roland 700 (MAN Roland), Rapida 104 (KBA)
Красочный аппарат печатной машины Mitsub>ishi
Красочный аппарат печатных машин Mitsub>ishi содержит 19 валиков различного диаметра (в том числе 4 накатных) (см. рисунок). Два валика накатной группы ( W и Z на рисунке) имеют и аксиальное движение для предотвращения эффекта шаблонирования, заключающегося в образовании на оттисках полос разной интенсивности в полутонах и тенях изображения из-за неправильного распределения слоя увлажняющего раствора и краски на форме.
Отличительной особенностью в конструкции красочного аппарата является и то, что для каждого из раскатных цилиндров и накатных валиков обеспечивается не менее двух путей передачи краски.
В стандартных условиях печати контакт дукторного цилиндра и качающегося передаточного валика красочного аппарата происходит один раз за два оборота формного цилиндра. Однако при печати изображений с предельно малым количеством печатающих элементов на форме и очень тонких фонов, даже при минимальной скорости вращения дукторного цилиндра и практически закрытых сегментах красочного ножа иногда все же наблюдается чрезмерный накат краски на форму. Для снижения уровня перенасыщения красочного аппарата краской конструкторы фирмы Mitsub>ishi предложили оригинальную дополнительную систему управления подачи краски. Суть управления подачи краски состоит в уменьшении времени контакта дукторного цилиндра и передаточного валика в сочетании с демпферной системой из двух валиков в начале красочного аппарата (валики «К» и <«М», см. рис.). В зависимости от особенностей изображения печатной формы, контакт дукторного цилиндра и передаточного валика красочного аппарата происходит один раз за четыре или шесть оборотов формного цилиндра.
Красочный аппарат печатных машин Mitsub>ishi снабжен двумя валиками-балансирами «К» и «М», которые работают в тандеме в самом начале поступления краски в красочный аппарат. Они не только раскатывают краску, но и в большей степени служат демпфером, забирающим краску, когда аппарат перенасыщен, и отдающим краску, когда аппарат истощается. Подобные колебания не могут быть выровнены регулировкой подачи краски из красочного ящика. Истощение или перенасыщение красочного аппарата краской в пределах одного оборота формного цилиндра приводят к неравномерности наката краски на печатную форму, а следовательно, и к неравномерной печати. Это особенно сильно заметно в насыщенных оттисках (фоновых плашках большой площади) или в оттисках с изображением очень малой плотности одной краской.
Красочные съемные ящики с тефлоновым покрытием значительно упрощают процесс смывки и значительно уменьшают накопление краски между регулировочными винтами. Подача краски из красочного ящика регулируется по зонам винтами с точностью 0,5 микрон.
Для поддержания стабильного температурного режима печатания красочный аппарат можно оснастить автоматической системой термостабилизации. Давайте вспомним, что машина работает со скоростью до 16000 листов/час. При таком интенсивном режиме разрыва и раската красочного слоя на валиках и цилиндрах красочного аппарата температура краски возрастает, а следовательно, падает ее вязкость. Изменение вязкости краски приводит к изменению условия печати (переход краски на печатающие элементы и запечатываемую поверхность, ее липкость и когезионно-адгезионные свойства меняются), а следовательно, идентичность оттисков в тираже нарушена. Регуляторы температуры обеспечивают заданный режим с точностью 0,5°С. Термостабилизация красочного аппарата создает предпосылки и для работы по технологии плоской офсетной печати без увлажнения (сухого плоского офсета).
Красочный аппарат оборудован системой автоматической смывки валиков.
В красочном аппарате машин Mitsub>ishi серии Diamond 3000 применены ряд оригинальных решений для достижения высокого качества печати и экономии рабочего времени. К ним следует отнести такие функции как:
- дистанционный контроль и установка мертвой точки аксиального (осциллирующего, осевого) движения красочного валика для минимизации колебаний оптической плотности краски на оттиске;
- автоматическое отключение аксиального движения красочного валика при его работе на холостом ходу;
- включение и отключение аксиального движения красочных накатных валиков проводится дистанционно.

Рис 1.1 Красочный аппарат печатной машины Mitsub>ishi
КРАСОЧНЫЙ АППАРАТ
1. Красочный аппарат для ротационной печатной машины с накатными валиками 12, 13 и формным цилиндром 11, отличающийся тем, что по крайней мере два смежных накатных валика 12, 13 окрашиваются непосредственно от центрального краскоподающего валика 2 и накатные валики 12, 13 дополнительно, посредством валковой ветви 20, 25, исходя от центрального валика 2, окрашиваются второй раз косвенно.
2. Красочный аппарат ротационной печатной машины, при котором вращающемуся в рабочем направлении центральному валику 2 постоянно подается печатная краска и этот валик 2 отдает ее на непосредственно примыкающие смежные первый 12 и второй 13 накатные валики, отличающийся тем, что а) дополнительно к непосредственному накату краски центрального валика 2 предусмотрен первый питаемый накатом краски центрального валика байпас потока краски (D) на первый накатный валик 12, смотря в направлении вращения центрального валика 2, и б) дополнительно к непосредственному накату краски центрального валика 2 предусмотрен второй, питаемый накатом краски центрального валика 2 байпас потока краски (Е) на второй накатный валик 13, смотря против направления вращения центрального валика 2.
3. Красочный аппарат ротационной печатной машины, при котором вращающемуся в рабочем направлении центральному валику 2 постоянно подается печатная краска и этот валик отдает ее на непосредственно примыкающий первый 12 и второй 13 накатные валики, отличающийся тем, что а) предусмотрен первый питаемый накатом краски центрального валика 2 “последовательный” поток краски (F) на первый накатной валик 12, смотря в направлении вращения центрального валика и б) предусмотрен второй питаемый накатом краски центрального валика 2 байпас потока краски (G) на второй накатный валик 13, смотря в направлении вращения центрального валика 2.
4. Поток краски по пп.2 и 3, отличающийся тем, что выборочно каждый из потоков краски (D, Е, F, G) расположен с возможностью подключения и отключения.
5. Поток краски по пп.2 и 3, отличающийся тем, что потоки краски (D, Е, F, G) расположены с возможностью выборочного прерывания.
6. Красочный аппарат для ротационной печатной машины с приспособлением для подачи печатной краски 3 к центральному валику 2, находящемуся в контакте с первым накатным валиком 12, который находится в контакте с формным цилиндром 11, отличающийся тем, что первый накатный валик 12 расположен с возможность поворачивания вокруг оси вращения центрального валика 2 на угол от 45 до 180 из рабочей позиции (А), в которой он контактирует с формным цилиндром 11, в сервисную позицию (S), в которой он отведен от формного цилиндра 11.
7. Красочный аппарат с приспособлением для подачи краски 3 центральному валику 2, находящемуся в контакте с первым накатным валиком 12, который находится в контакте с формным цилиндром 11, отличающийся тем, что первый накатный валик 12 расположен с возможность поворачивания вокруг оси вращения центрального валика из рабочей позиции (А), в которой он контактирует с формным цилиндром 11, в сервисную позицию (S), в которой он отведен от формного цилиндра 11, причем накатные валики расположены с возможностью вращения в кулисной паре 8, 9, и кулисные пары 8, 9 расположены с возможностью поворачивания вокруг оси вращения центрального валика 2, при этом в кулисных парах 8, 9 расположены с возможностью вращения дополнительные валики в форме красочных валиков 16, соответственно, 17 и/или грузовых раскатных валиков 29, соответственно, 31.
8. Красочный аппарат ротационной печатной машины с накатными валиками 12, 13, с центральным валиком 2 и формным цилиндром 11, причем по крайней мере два накатных валика 12, 13 расположены с возможностью контактирования с центральным валиком 2 и формным цилиндром 11, причем дополнительно предусмотрена соединяющая первый накатный валик 12 и центральный валик 2 ветвь 20, 25, отличающийся тем, что дополнительно предусмотрена вторая, соединяющая второй накатный валик 12, 13 и центральный валик 2 ветвь (20, 25).
9. Красочный аппарат по пп.6-8, отличающийся тем, что предусмотрен второй накатный валик 13, который расположен возможностью поворачивания вокруг оси вращения 10 из рабочей позиции (А), в которой он контактирует с формным цилиндром 11, в сервисную позицию (S), в которой он отведен от формного цилиндра 11.
10. Красочный аппарат по пп.6, 7 или 8, отличающийся тем, что оба накатных валика 12, 13 расположены с возможность независимого друг от друга поворачивания.
11. Красочный аппарат по пп.6-10, отличающийся тем, что накатный валик 12 расположен в кулисной паре 8 с возможностью вращения, причем кулисная пара 8, 9 расположены с возможностью поворачивания вокруг оси вращения 10 центрального валика 2.
12. Красочный аппарат по пп.6-11, отличающийся тем, что в кулисной паре 8, 9 дополнительно расположены с возможностью вращения валки в форме красочных валиков 16, соответственно, 17 и/или грузовых раскатных валиков 29, соответственно 31.
13. Красочный аппарат по пп.6-12, отличающийся тем, что красочные валики 16, соответственно, 17 расположены с возможностью подвода к центральному валику 2 и отвода от него.
14. Красочный аппарат по пп.6-13, отличающийся тем, что грузовые раскатные валики 29, соответственно, 31 расположены с возможностью приведения в контакт со смежным им красочным валиком 16, соответственно, 17 и накатным валиком 12, соответственно, 13.
15. Красочный аппарат по пп.6-14, отличающийся тем, что грузовой раскатный валик 29, соответственно, 31 расположен с возможностью подвода и отвода относительно красочного валика 16, соответственно, 17 и с возможностью приведения в контакт с красочным валиком 16, соответственно, 17.
16. Красочный аппарат по пп.6-15, отличающийся тем, что грузовой раскатный валик 29, соответственно, 31 расположены с возможностью подвода и отвода относительно накатного валика 12, соответственно, 13 и с возможностью выведения из контакта с красочным валиком 16, соответственно, 17.
17. Красочный аппарат по пп.1-16, отличающийся тем, что приспособление для подачи краски 3 выполнено в качестве камерного ракеля или красочного резервуара с зонами красок или приспособления напрыскивания краски или насосного красочного аппарата.
18. Красочный аппарат по пп.1-17, отличающийся тем, что центральный валик 2 выполнен в качестве растрового валика или валика с пластмассовым кожухом или резиновым кожухом или с керамическим кожухом или стеклянным кожухом.
КРАСОЧНЫЙ АППАРАТ ДЛЯ ПЕЧАТНОЙ МАШИНЫ
Красочный аппарат содержит блок подачи краски, имеющий приводной валик подачи краски, приводной валик красочного аппарата с по меньшей мере одной последовательно расположенной цепочкой валиков, а также с по меньшей мере одним сопряженным с формным цилиндром накатным валиком. Валик подачи краски расположен непосредственно у приводного первого валика красочного аппарата, при этом между валиками предусмотрена возможность фиксирования заданного зазора с помощью регулировочной системы. За первым валиком красочного аппарата расположено несколько передаточных валиков и за передаточным валиком следует приводной второй валик красочного аппарата, который находится в постоянном фрикционном замыкании с по меньшей мере одним первым смежным установленным с возможностью перемещения в пространстве каландровым валом. Предложенный красочный аппарат обеспечивает возможность регулирования толщины подачи краски, а также возможность периодического прерывания транспортировки краски к цепочке валиков, имеющей по меньшей мере один накатный валик. 2 с. и 6 з.п.ф-лы, 5 ил.

ЛИСТОВАЯ РОТАЦИОННАЯ МАШИНА ДЛЯ ОФСЕТНОЙ ПЕЧАТИ
Изобретение относится к листовой ротационной машине для офсетной печати многокрасочных оттисков и листовой ротационной машине для печати многокрасочных оттисков. В основу изобретения положена задача создать листовую ротационную машину для офсетной печати и листовую ротационную печатную машину, которая позволила бы запечатывать листы как с длиной листа, пригнанной к однократному номинальному диаметру, так и с длиной листа, пригнанной к двойному номинальному диаметру. Листовая ротационная машина для офсетной печати согласно изобретению состоит из формного цилиндра (31), офсетного цилиндра (22) и первого печатного цилиндра (12), оснащенного множеством управляющих систем (14, 16, 17) захвата, и второго печатного цилиндра (86), снабженного, по меньшей мере, одной управляемой системой (83) захватов. Первый или второй печатный цилиндры расположены с возможностью избирательного взаимодействия с офсетным цилиндром (22). Листовая ротационная печатная машина согласно изобретению состоит из формного цилиндра (31) и первого печатного цилиндра (12), снабженного множеством управляемых систем захватов, и второго печатного цилиндра (86), снабженного, по меньшей мере, одной управляемой системой (83) захватов. Первый или второй печатные цилиндры расположены с возможностью избирательного взаимодействия с формным цилиндром.

ЛИСТОВАЯ ОФСЕТНАЯ РОТАЦИОННАЯ ПЕЧАТНАЯ МАШИНА
В листовой офсетной ротационной печатной машине для многокрасочной печати высочайшего качества задача заключается в предотвращении проблем приводки и предоставлении машины с минимальными габаритами. Согласно изобретению это достигается с помощью двух формных цилиндров и офсетных цилиндров, имеющих по меньшей мере по два печатных участка, взаимодействующих с центральным печатным цилиндром, имеющим на один печатный участок больше, чем формный цилиндр, и за счет снятия листа от печатного цилиндра лишь после завершения печатного процесса.

КРАСОЧНЫЙ РЕЗЕРВУАР ДЛЯ ПОДАЧИ КРАСКИ К КРАСОЧНОМУ АППАРАТУ В РОТАЦИОННОЙ ОФСЕТНОЙ МАШИНЕ
Использование: для подачи краски к взаимодействующему с валиком с сетчатой поверхностью красочному аппарату в ротационной офсетной машине. Сущность изобретения: красочный резервуар содержит корпус, снабженный впуском для свежей краски, отличительная особенность которого заключается в том, что он выполнен с камерой накопления и циркуляционной камерой.
ЛИСТОВАЯ ОФСЕТНАЯ ПЕЧАТНАЯ МАШИНА ДЛЯ ПЕЧАТИ ЦЕННЫХ БУМАГ
1. Листовая офсетная печатная машина, содержащая печатную секцию с одним офсетным цилиндром, с которым контактируют, как минимум, два формных цилиндра, печатный цилиндр, красочный аппарат, отличающаяся тем, что на поверхности офсетного цилиндра укреплена форма высокой печати с глубиной пробельных элементов от 5 мк до 150 мк.
2. Печатная машина по п.1, отличающаяся тем, что форма высокой печати выполнена в виде гравированного резинового полотна.
3. Печатная машина по п.2, отличающаяся тем, что гравирование резинового полотна осуществлено в локальной зоне.

КРАСОЧНЫЙ ЯЩИК
Устройство относится к полиграфической промышленности и используется в красочных аппаратах ротационных печатных машин. Красочный ящик ротационной печатной машины содержит ракельные ножи, взаимодействующие с валком с сетчатой поверхностью, и имеет печатную краску с вязкостью более 9000 мПас. Ракельные ножи покрыты, по меньшей мере, на их внутренних поверхностях веществом, обладающим малым запасом поверхностной энергии для образования печатной краски. Данная конструкция красочного ящика позволяет проводить чистку соприкасающихся с краской частей без каких-либо дополнительных приспособлений, а также благоприятствует равномерному смачиванию краской формного цилиндра.

КРАСОЧНЫЙ АППАРАТ ОФСЕТНОЙ ПЕЧАТНОЙ МАШИНЫ
1. Красочный аппарат ротационной офсетной печатной машины, содержащий установленные на основании краскопередающее устройство, краскопередающий цилиндр, снабженный регулярно расположенными углублениями и формный цилиндр, отличающийся тем, что углубления выполнены на упругой оболочке, жестко связанной с краскопередающим цилиндром, а ракель краскопередающего устройства снабжен устройством регулирования и установлен с возможностью регулирования усилия прижима его дистального конца к упругой оболочке краскопередающего цилиндра.
2. Красочный аппарат по п.1, отличающийся тем, что устройство регулирования ракеля выполнено в виде винтовой пары, контактирующей с дистальным концом ракеля.

КРАСОЧНЫЙ РЕЗЕРВУАР ДЛЯ ПОДАЧИ КРАСКИ К КРАСОЧНОМУ АППАРАТУ В РОТАЦИОННОЙ ОФСЕТНОЙ МАШИНЕ
Использование: для подачи краски к взаимодействующему с валиком с сетчатой поверхностью красочному аппарату в ротационной офсетной машине. Сущность изобретения: красочный резервуар содержит корпус, снабженный впуском для свежей краски, отличительная особенность которого заключается в том, что он выполнен с камерой накопления и циркуляционной камерой.
2. Конструкторская часть
2.1 Назначение машины
Машина печатная ротационная офсетной печати листовая Офсет 52-1 предназначена для печати офсетным способом на бумаге или картоне однокрасочной и многокрасочной продукции: плакатов, репродукций цветных вклеек в книги и журналы, этикеток и т.д. Область применения - средние и мелкие полиграфические предприятия.
2.2 Технические данные
|
Тип машины |
Полуавтоматический |
|
Формат бумаги, мм Максимальный Минимальный |
520x720 310x420 |
|
Масса 1 м запечатываемого материала, мм Бумаги Картона |
От 40 до 200 До 380 |
|
Толщина запечатываемого материала, мм Бумаги Картона |
От 0,04 до 0,25 До 0,5 |
|
Максимальный формат печати, мм |
510x720 |
|
Максимальная рабочая скорость формного, офсетного цилиндров при оптимальных условиях эксплуатации, об/ч |
8000 |
|
Регулирование скорости машины |
Бесступенчатое |
|
Высота стопы, максимальная, мм На самонакладе На приемке |
1150 500 |
|
Общее количество валиков в красочном аппарате, шт. |
13 |
|
Количество накатных валиков, шт. |
4 |
|
Диаметр накатных валиков max, мм |
63,57,53,51 |
|
Количество растирочных цилиндров, шт. |
4 |
|
Величина осевого хода растирочных цилиндров, мм |
0-25 |
|
Виды смазки |
Централизованная Циркуляционная местная |
|
Автоматизированные операции |
- подъем стапельного стола самонаклада - отделение и подача листа - выравнивание листов - включение натиска - разблокирование держателей дефектного листа - разблокировка захватов форгрэйфера - разблокирование передаточных валиков красочного и увлажняющего аппаратов - подведение накатных валиков красочного аппарата к форме - печать - спускание стапельного стола приемки |
|
контроль перекоса, неподачи и «двойного листа» -контроль уровня стапеля на приемке |
|
|
Обслуживающий персонал, человек |
2 |
|
Общая установленная мощность, кВт |
12 |
|
Габаритные размеры (ДШВ), мм |
2905/2650/1960 |
|
Масса машины, кг |
3800 |
2.3 Состав и работа машины
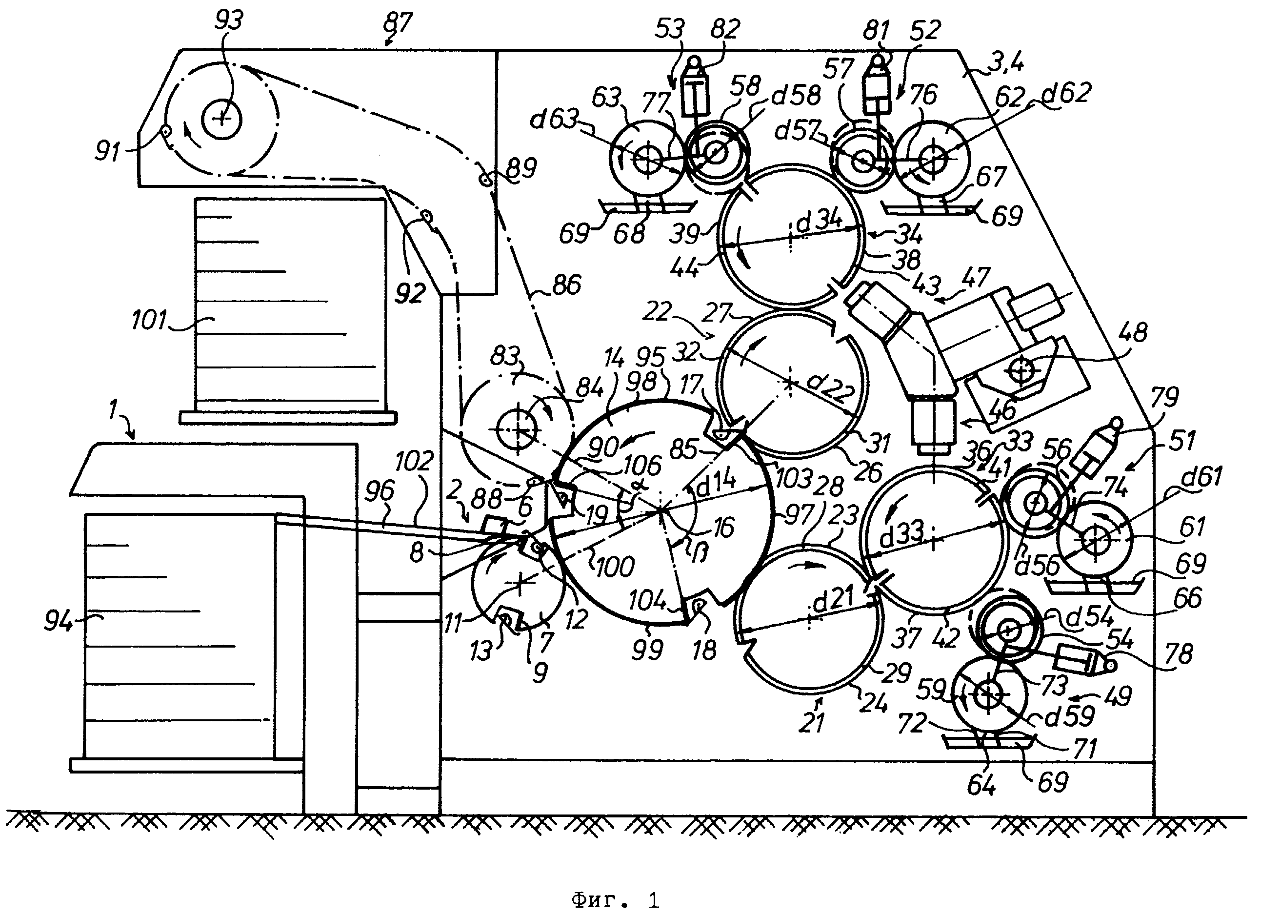
Машина Офсет 52 состоит из: самонаклада, печатной секции, включающей: группу листоподающих механизмов, печатного аппарата, построенного по трехцилиндровой схеме с соотношением печатного к офсетному и формному цилиндрам, как 2:1:1, красочного и увлажняющего аппаратов, приемно-стапельного устройства и привода машины.
Машина может печатать как офсетным, так и типоофсетным способом. При печати типоофсетным способом накатные валики увлажняющего аппарата отводятся от формы. При печати офсетным способом, краска с дукторного цилиндра через передаточный валик переносится на первый растирочный цилиндр, далее через раскатной валик, на второй растирочный цилиндр. С него краска распределяется на два потока, причем основная часть краски передается на первую ветвь по ходу вращения. КА строится таким образом, чтобы одну ветвь можно было отключать, в зависимости от площади запечатывания. В виду того, что пары накатных валиков соединяет связующий валик, его можно отключать, тогда два накатных валика выполняют функцию прикатных.
2.4 Состав и описание красочного аппарата
Красочный аппарат предназначен для дозированной подачи краски, раскатывания и нанесения ее на форму. Красочный аппарат представляет собой развитую систему красочных валиков и цилиндров, состоящую из дукторного цилиндра, передаточного валика, трех раскатных валиков, связующего валика, четырех растирочных цилиндров и четырех накатных валиков. Подача краски осуществляется из красочного корыта. Смывка краски с валиков и цилиндров производится смывным аппаратом. Основной поток краски направлен на первые накатные валики по ходу вращения формного цилиндра.
Компоновка всех механизмов красочного аппарата подчинена условию -обеспечить достаточно удобную и точную регулировку всех механизмов группы.
2.4.1Красочный ящик
Красочный ящик служит емкостью для краски и для образования регулируемой толщины красочного слоя, передаваемого на растирочный цилиндр.
Заливаемая краска размещается между ножом и дукторным цилиндром, а с боковых сторон удерживается ограничительными вкладышами. Ограничительные вкладыши переставляются в зависимости от формата обрабатываемых листов.
Изменение толщины красочного слоя осуществляется регулировочными винтами, через рычажки, путем изменения зазора между ножом и дукторным цилиндром. На корыте закреплена шкала, цифры которые означают номера регулируемых винтов. Такая же шкала имеется на переднем щитке приемно-стапельного устройства. Ориентируясь на последнюю, печатник определяет номер винта, которым необходимо произвести регулировку. Для очистки от краски красочное корыто имеет механизм отставки от дукторного цилиндра при помощи рукоятки. Красочное корыто имеет надежную фиксацию рабочего оложения и достаточно тонкую винтовую регулировку прижима ножа к дукторному цилиндру.
2.4.2 Дукторный цилиндр
Дукторный цилиндр предназначен для подачи краски из красочного корыта. С этой целью дукторный цилиндр имеет постоянное вращение. Механический привод дукторного цилиндра осуществляется от индивидуального электродвигателя.
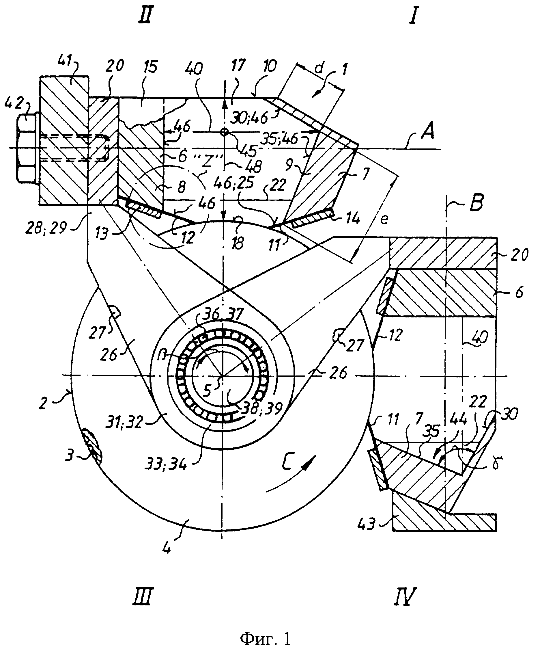
Передаточный валик
Передаточный валик предназначен для перенесения определенного количества краски с дукторного цилиндра на растирочный.
Передаточный валик совершает качательное движение от кулака. Число двойных ходов регулируется скоростью вращения электродвигателя. При выключении натиска передаточный валик блокируется защелкой, управляемой пневмоцилиндром, оставаясь прижатым к растирочному цилиндру.
Растирочные цилиндры
Растирочные цилиндры предназначены для растирания и раскатывания краски. Они приводятся во вращение от шестерни формного цилиндра, а так же имеют собственный привод, который осуществляется от индивидуального двигателя с регулируемой частотой вращения. Кроме вращательного движения, цилиндры могут совершать и возвратно-поступательное движение вдоль своих осей. Привод осевого перемещения их осуществляется от кривошипного механизма.
Раскатные и грузовые валики
Раскатные и грузовые валики предназначены для раската краски с целью создания равномерного слоя ее на форме. Валики установлены в подвесках, закрепленных на стенках машины. Замки позволяют легко производить установку и съем валиков. Регулировка прижатия раскатных валиков к растирочным цилиндрам осуществляется эксцентричными втулками.
Накатные валики
Накатные валики предназначены для нанесения красочного слоя на печатную форму.
Накатные валики крепятся в подвесках с помощью специальных замков. Конструкция позволяет производить регулировку силы прижатия валиков к форме без остановки машины, при помощи шаговых двигателей. Накатные валики установлены в подшипники качения повышенной точности.
Механизм управления накатными валиками
Механизм управления предназначен для подведения накатных валиков к форме и отведения их от нее. Подведение и отведение валиков красочного аппарата осуществляется автоматически от пневмоцилиндра. При выключении натиска шток пневмоцилиндра отводит рычаги, валики при этом отводятся от формы. При включении натиска валики аналогичным образом подводятся к форме. При этом возвращение рычагов в первоначальное положение происходит за счет пневмоцилиндра и шаговых эл.двигателей, которые ограничивают прижатие к форме. Подведение и отведение накатного валика увлажняющего аппарата осуществляется аналогичным способом от пневмоцилиндра. В накатную группу красочного аппарата дополнительно установлен грузовой валик.
Привод осевого перемещения его осуществляется шестернями через ролик от торцевого кулака.
Смывочный аппарат
Смывочный аппарат предназначен для смывки краски с валиков и цилиндров.
Смывочный аппарат состоит из ножа и корыта, установленных у растирочного цилиндра. Сила прижатия ножа к поверхности цилиндра регулируется при помощи винтов. При снятии корыта для очистки от краски необходимо ослабить винты, сдвинуть корыто влево и снять его.
Заключение
Представлен красочный аппарат с разветвленной схемой расположения валиков и цилиндров с новым устройством осевого привода растирочно -раскатных цилиндров. Эффект предложенного технического решения: возможность регулирования осевого растира в зависимости от скорости работы машины и вида изображения на форме. Регулируется числом двойных ходов растирочного цилиндра, смещением его хода, что должно обеспечить улучшение качества печати сложных иллюстрационных изображений.
Библиография
1. Грачев, Тимофеев В.И. Методические указания по дипломному проектированию. Раздел «Технико-машиностроительная часть». М.: МГУП, 2000.
2. Допуски и посадки. Справочник в 2-х томах. М: 1988.
3. Мещеряков, Косимова. Справочник технолога-машиностроителя. В 2-х томах. М.: Машиностроение, 1986.
4. Митрофанов В.П., Тюрин А.А., Бирбраер Е.Г., Штоляков В.И. Печатное оборудование. М.: Книга, 1999, С432.
5. Основы расчета и проектирования полиграфических машин. М.: МПИ, 1987.
6. Тюрин А.А. Печатные машины. М.: Книга, 1986.
7. Тюрин А.А.. Печатные машины-автоматы. М.: Книга, 1980.
8. Федоренко Н.М., Шошин. Справочник по машиностроительному черчению. М.: Книга, 1981.
9. Чехман Я.И, Сенкусь В.Т., Бирбраер Е.Г.. Печатные машины. М.: Книга, 1987.
Ю.Штоляков В.И., Самарин Ю.Н., Зирнзак Л.Ф., Леймонт Л.Л. Листовые
офсетные печатные машины. М.: Книга, 1988, С. 133.
11.Штоляков В.И., Федосеев А.Ф., Зирнзак Л.Ф. Офсетные печатные
машины. М.: МГУП, 1999.
12.Экономика полиграфического предприятия. Методические указания.
М.: МГУП, 1998.
Приложение
Рис. Красочный ящик с красочным ножом и зональными винтами

Рис. Красочный ящик СРС с зональной, свободной от побочного действия регулировки подачи краски: красочный ящик (а), регулируемый эксцентрик и дукторный цилиндр (б), красочный ящик в красочной секции (в), схема зональной подачи краски (Heidelberg) (г)
